ИНФОСАЙТ.ру
Госты, стандарты, нормативы. В библиотеке 60000 документов. Регулярное обновление. Круглосуточный бесплатный доступ!
БИБЛИОТЕКА ГОСТОВ, СТАНДАРТОВ И НОРМАТИВОВ

:: АЛГОТРЕЙДИНГ ::


АЛГОТРЕЙДИНГ
шаг за шагом


БЕСПЛАТНЫЕ УРОКИ по созданию торговых роботов на PYTHON с нуля, шаг за шагом.


Минимальные знания на PYTHON.
Библиотеки BackTrader и Pandas, сигналы с Pine Script из TradingView.
Связка с брокерами, телеграм.
Создание простых интерфейсов.

 

Все документы, представленные в каталоге, не являются их официальным изданием и предназначены исключительно для ознакомительных целей. Электронные копии этих документов могут распространяться без всяких ограничений. Вы можете размещать информацию с этого сайта на любом другом сайте.


Федеральное государственное унитарное предприятие «Научно-исследовательский центр «Строительство»

ФГУП «НИЦ «Строительство»

СТАНДАРТ ОРГАНИЗАЦИИ

Обеспечение сохранности
подземных водонесущих коммуникаций
при строительстве (реконструкции)
подземных и заглубленных объектов

СТО 36554501-008-2007

Москва

2007

Предисловие

Цели и задачи разработки, а также использования стандартов организаций в РФ установлены Федеральным законом от 27 декабря 2002 г. № 184-ФЗ «О техническом регулировании», а правила разработки и оформления - ГОСТ Р 1.0-2004 «Стандартизация в Российской Федерации. Основные положения» и ГОСТ Р 1.4-2004 «Стандартизация в Российской Федерации. Стандарты организаций. Общие положения»

Сведения о стандарте:

1 РАЗРАБОТАН И ВНЕСЕН лабораторией освоения подземного пространства городов НИИОСП им. Н.М. Герсеванова - филиалом ФГУП «НИЦ «Строительство» и группой специалистов (вед. науч. сотр., канд. техн. наук Исаев О.Н., ст. инж. Наятов Д.В., при участии инженеров Бокова И.А. и Потаповой Е.А., под общей редакцией д-ра техн. наук, проф. Петрухина В.П.).

2 РЕКОМЕНДОВАН К ПРИНЯТИЮ научно-техническим советом НИИОСП им. Н.М. Герсеванова 6 сентября 2006 г.

3 УТВЕРЖДЕН И ВВЕДЕН В ДЕЙСТВИЕ приказом и.о. генерального директора ФГУП «НИЦ «Строительство» от 13 марта 2007 г. № 30.

4 ВВЕДЕН ВПЕРВЫЕ

Замечания и предложения следует направлять в НИИОСП им. Н.М. Герсеванова - филиал ФГУП «НИЦ «Строительство»: (т/ф 170-27-31)

СОДЕРЖАНИЕ

Введение

1 Область применения

2 Обеспечение сохранности подземных водонесущих коммуникаций на стадии проектирования

2.1 Инженерно-геологические изыскания

2.2 Сбор исходных данных и обследование подземных водонесущих коммуникаций

2.3 Прогноз деформаций грунтового массива и подземных водонесущих коммуникаций

2.4 Оценка сохранности подземных водонесущих коммуникаций

2.5 Мероприятия по защите подземных водонесущих коммуникаций

3 Обеспечение сохранности подземных водонесущих коммуникаций на стадии строительства (геотехнический мониторинг)

4 Краткие сведения по охране труда и технике безопасности при проведении обследований подземных коммуникаций

4.1 Охрана труда и техника безопасности при обследовании коллекторов проходного типа

4.2 Охрана труда и техника безопасности при обследовании колодцев и камер

Приложение А Нормативная и методическая литература

Приложение Б Термины и определения

Приложение В Краткая характеристика трубопроводов инженерных сетей

Приложение Г Рекомендуемые формы ведомостей для описания камер, смотровых колодцев и трасс подземных водонесущих коммуникаций (водопровода, канализации и теплосети)

Приложение Д Поиск утечек из водонесущих коммуникаций

Приложение Е Перечень основных дефектов трубопроводов водонесущих коммуникаций

Приложение Ж Показатель степени обеспечения сохранности подземных водонесущих коммуникаций

Приложение И Расчет стальных напорных трубопроводов от дополнительных статических воздействий

Приложение К Определение безопасных расстояний до подземных коммуникаций при погружении свай

Введение

Интенсивное освоение подземного пространства больших городов и мегаполисов ведется в плотной городской застройке с разветвленной сетью подземных водонесущих коммуникаций.

В этих условиях особенно актуальны вопросы обеспечения сохранности существующих подземных коммуникаций, расположенных в зоне возможного влияния нового строительства или реконструкции (далее - строительства), а также защиты возводимых сооружений от негативного влияния неисправных коммуникаций.

Утечки из подземных коммуникаций вызывают техногенное подтопление и суффозию окружающего грунтового массива и, как следствие, ухудшение строительных свойств грунтов. Вследствие этого возникают процессы, отрицательно влияющие на надежность основания окружающих зданий и на работу конструкций вновь строящегося сооружения.

До последнего времени вопросам сохранности существующих коммуникаций при строительстве подземных и заглубленных зданий и сооружений уделялось недостаточно внимания.

В настоящем стандарте предлагается системный подход к обеспечению сохранности подземных водонесущих коммуникаций, расположенных в зоне влияния нового строительства. Стандарт охватывает периоды проектирования и строительства новых объектов.

Для использования данного стандарта сторонними научно-исследовательскими, проектными, строительными и эксплуатационными организациями следует заключить договор с НИИОСП им. Н.М. Герсеванова.

При разработке настоящего стандарта были учтены существующие нормативные, методические документы, а также опыт НИИОСП им. Н.М. Герсеванова и других организаций, обеспечивающих эксплуатацию подземных водонесущих коммуникаций.

СТО 36554501-008-2007

ОБЕСПЕЧЕНИЕ СОХРАННОСТИ ПОДЗЕМНЫХ ВОДОНЕСУЩИХ КОММУНИКАЦИЙ ПРИ СТРОИТЕЛЬСТВЕ (РЕКОНСТРУКЦИИ) ПОДЗЕМНЫХ
И ЗАГЛУБЛЕННЫХ ОБЪЕКТОВ

Safety of underground watercarrying communications
at the constructions (reconstructions) of underground
and deepened structures

Дата введения - 1 апреля 2007 г.

1 Область применения

1.1 Настоящий стандарт подготовлен для обеспечения единого подхода к вопросам обследования, оценки влияния, мониторинга и обеспечения сохранности существующих подземных коммуникаций, расположенных в зоне возможного влияния нового строительства либо реконструкции.

1.2 Стандарт организации составлен в развитие существующих нормативных документов (не отменяет и не входит в противоречия с действующими нормами и правилами).

1.3 Настоящий стандарт предназначен для организаций, осуществляющих изыскания, проектирование, обследование, мониторинг и выполнение работ в зоне расположения подземных водонесущих коммуникаций (теплосеть, водопровод, канализация, дождевая канализация), окружающих площадку строительства и попадающих в зону его возможного влияния.

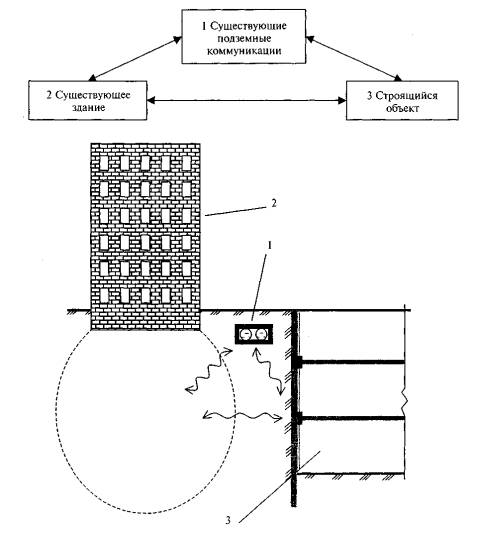
1.4 Вновь строящийся или реконструируемый объект, близрасположенные водонесущие коммуникации и существующие здания, находящиеся в пределах единого участка геомассива, взаимно влияют друг на друга и представляют собой части единой геотехнической системы (рис. 1.1).

Рисунок 1.1 - Схема взаимного влияния строящегося объекта, существующих подземных коммуникаций и существующего здания

1.5 Работы по обеспечению сохранности существующих коммуникаций, а также близрасположенных зданий и сооружений, попадающих в зону возможного влияния строительства, должны входить в состав (либо быть увязаны) работ по проектированию и строительству строящегося объекта.

1.6 Для определения объема работ при инженерных изысканиях, обследовании коммуникаций, оценке влияния строительства на техническое состояние коммуникаций необходимо установить категорию сложности охраняемых коммуникаций, которая зависит от их уровня ответственности (табл. 1.1), уровня ответственности строящегося объекта и инженерно-геологических условий.

Таблица 1.1 - Уровень ответственности подземных водонесущих коммуникаций

Уровень ответственности

Характеристика подземных водонесущих коммуникаций

Повышенный

Головные сооружения теплоснабжения, водоснабжения и канализации, их подводящие и отводящие трубопроводы.

Канализационные коллекторы, водопроводные магистрали, общие коллекторы подземных водонесущих коммуникаций и другие подземные водонесущие коммуникации жизнеобеспечения города, проходящие под транспортными магистралями, в жилой застройке или в зоне влияния на них

Нормальный

Уличные и внутриквартальные сети подземных коммуникаций различного назначения.

Канализационные коллекторы, водопроводные магистрали, общие коллекторы подземных водонесущих коммуникаций и другие подземные водонесущие коммуникации жизнеобеспечения города, не проходящие под транспортными магистралями, расположенные вне жилой застройки и вне зоны влияния на них

1.7 Для установления категории сложности подземных водонесущих коммуникаций вводятся три геотехнические категории: I (простая), II (средней сложности) и III (сложная), которые определяются в соответствии с табл. 1.2.

Таблица 1.2 - Геотехнические категории подземных водонесущих коммуникаций

Категории сложности инженерно-геологических условий

Геотехническая категория коммуникаций при уровне ответственности строящегося объекта

Повышенный

Нормальный

Пониженный

Повышенный уровень ответственности подземных водонесущих коммуникаций

Простая

III

II

I*

Средней сложности

III

III

II

Сложная

III

III

II

Нормальный уровень ответственности подземных водонесущих коммуникаций

Простая

II

II

I*

Средней сложности

III

II

I*

Сложная

III

III

II

* Отсутствуют структурно-неустойчивые грунты и опасные инженерно-геологические процессы.

Примечание - I - простая геотехническая категория; II - средней сложности геотехническая категория; III - сложная геотехническая категория.

1.8 Для средней и сложной геотехнических категорий охраняемых подземных коммуникаций следует предусматривать: расчетную оценку влияния нового строительства (реконструкции) на подземные водонесущие коммуникации; геотехнический мониторинг коммуникаций.

1.9 Основными этапами обеспечения сохранности подземных коммуникаций являются:

для стадии проектирования - инженерно-геологические изыскания, обследование и сбор информации о коммуникациях, прогноз дополнительных деформаций основания коммуникаций и изменения их технического состояния, проверка условий безопасности и надежности работы коммуникаций, при необходимости разработка защитных мероприятий;

на стадии строительства - визуально-инструментальные наблюдения (мониторинг) за техническим состоянием коммуникаций, сравнение получаемых данных с прогнозом, при необходимости его корректировка, выполнение защитных мероприятий.

1.10 Участки подземных трубопроводов, за деформациями которых должен быть организован мониторинг, назначаются по результатам их первичного обследования и оценки влияния на них нового строительства, совместно с эксплуатирующей организацией.

1.11 Мониторинг подземных коммуникаций должен быть увязан с системой мониторинга геологической среды, близрасположенных зданий и сооружений, строящегося объекта.

Он должен проводиться в течение всего периода строительства объекта и затем до стабилизации деформаций подземных трубопроводов и вмещающего их грунтового массива, но не менее чем в течение шести месяцев после завершения строительно-монтажных работ для третьей геотехнической категории (см. табл. 1.2).

1.12 Минимальное расстояние по горизонтали (в свету) от фундаментов строящихся зданий и сооружений до подземных сетей должно приниматься с учетом требований СНиП II-89, СНиП 2.04.07 (табл. 1.3). Уменьшение минимальных расстояний может быть принято на основе заключения специализированной организации.

Таблица 1.3 - Допустимые расстояния по горизонтали (в свету) от подземных сетей до фундаментов зданий и сооружений

№ п.п.

Инженерные сети

Расстояния, м

Водопровод и канализация

1

Водопровод и напорная канализация

5

2

Самотечная канализация и водостоки

3

3

Дренажи

3

4

Каналы, тоннели

2

 

Теплосеть

 

5

При прокладке в каналах и тоннелях и непросадочных грунтах (от наружной бетонной стенки канала, тоннеля) при диаметре труб, мм:

 

 

Ду < 500

2

 

Ду = 500-800

5

 

Ду = 900 и более

8

6

При бесканальной прокладке в непросадочных грунтах (от оболочки бесканальной прокладки) при диаметре труб, мм:

 

 

Ду < 500

5

 

Ду ≥ 500

7

7

До фундаментов опор мостов, путепроводов

2

Примечание - Разработка выемок, устройство насыпей и вскрытие подземных коммуникаций в пределах охранных зон допускаются при наличии письменного разрешения эксплуатирующей организации (СНиП 3.02.01).

1.13 Минимальные расстояния по вертикали (при пересечении в плане) и горизонтали (при параллельной прокладке) между существующими и строящимися водонесущими сетями по бестраншейным технологиям (щитовая проходка, проходка микротоннелепроходческими комплексами, управляемый прокол, горизонтальное направленное бурение) должны приниматься с учетом требований СНиП II-89, СНиП 41-02, но не менее 1 м.

1.14 Согласно требованиям Правил1 для сетевых сооружений водопровода и канализации на открытых территориях Москвы устанавливается следующая охранная зона:

для сетей диаметром менее 600 мм - 10-метровая зона, по 5 м в обе стороны от наружной стенки трубопроводов или от выступающих частей сооружений;

для магистралей диаметром свыше 1000 мм - 20-50-метровая зона в обе стороны от стенки трубопроводов или от выступающих частей сооружений, в зависимости от грунтов и назначения трубопровода.

_________

Правила пользования системами московского городского водопровода и канализации. - М., 1993.

1.15 Для Москвы в пределах охранной зоны без согласования с «Мосводоканалом» запрещается производить любые виды работ, в том числе:

возводить здания и сооружения как постоянного, так и временного характера;

изменять существующий уровень поверхности земли;

использовать буровые или ударные механизмы ближе 15 м от оси трубопроводов или от наружных стенок других сетевых сооружений.

Согласование с «Мосводоканалом» осуществляется, как правило, с учетом заключения об оценке влияния указанных работ на техническое состояние подземных коммуникаций, составляемого специализированной организацией.

2 Обеспечение сохранности подземных водонесущих коммуникаций на стадии проектирования

Система работ по обеспечению сохранности подземных коммуникаций на стадии проектирования представлена в виде блок-схемы на рис. 2.1.

Рисунок 2.1 - Блок-схема системы обеспечения сохранности подземных коммуникаций на стадии проектирования объекта

2.1 Инженерно-геологические изыскания

2.1.1 Инженерно-геологические изыскания в пятне нового строительства должны проводиться в соответствии с требованиями действующих нормативных документов, а в зоне расположения охраняемых коммуникаций - с учетом данных настоящего стандарта.

2.1.2 Для охраняемых подземных коммуникаций I и II геотехнических категорий величины характеристик свойств грунтов могут быть назначены по материалам изысканий прошлых лет, таблицам СНиП 2.02.01, СНиП 2.02.04, результатам зондирования в соответствии с таблицами СП 11-105 и МГСН 2.07.

2.1.3 Для охраняемых подземных коммуникаций III геотехнической категории величины характеристик свойств грунтов должны устанавливаться на основе непосредственных испытаний грунтов в полевых и лабораторных условиях.

Дополнительно должны быть определены состав и свойства специфических грунтов и проведены все необходимые исследования, связанные с развитием опасных геологических и инженерно-геологических процессов.

2.1.4 В состав информации об инженерно-геологических и гидрогеологических условиях участка должны входить следующие сведения:

состав, состояние и физико-механические свойства грунтов;

инженерно-геологические разрезы;

наличие неблагоприятных геологических и инженерно-геологических процессов (карст, суффозия и др.);

наличие структорно-неустойчивых, сильносжимаемых и других неблагоприятных грунтов;

прогноз возможного изменения гидрогеологических условий и физико-механических свойств грунтов в процессе строительства.

2.1.5 В состав инженерно-геологических изысканий на площадке строительства в зоне расположения коммуникаций входят:

сбор и анализ материалов изысканий прошлых лет;

проходка скважин на глубину не менее 5 м ниже уровня залегания подземных коммуникаций;

геофизические исследования;

полевые исследования условий залегания и физико-механических свойств грунтов;

гидрогеологические исследования; лабораторные и полевые исследования подземных вод (химический анализ, температура и пр.);

лабораторные исследования физико-механических свойств грунтов;

оценка воздействия геологических и инженерно-геологических процессов при новом строительстве на вмещающий грунтовый массив существующих подземных коммуникаций;

камеральная обработка материалов.

2.1.6 На участках вблизи коммуникаций в разведочных скважинах выполняются: замеры уровня воды, температуры воды и грунта; химический анализ проб воды и грунта.

2.1.7 Результаты инженерно-геологических изысканий должны обеспечивать возможность выполнения численного моделирования изменения напряженно-деформированного состояния грунтового массива (с использованием упругопластических моделей грунта) и последующей оценки влияния строящегося объекта на близрасположенные подземные коммуникации.

2.1.8 Инженерно-геологическое строение площадки, включая участки расположения коммуникаций, расположенных в зоне возможного влияния, должно быть изучено на глубину не менее указанной в табл. 2.1 и не менее Нпк + 2Dпк, где Нпк - глубина заложения низа подземных коммуникаций, Dпк - поперечный размер подземных коммуникаций в плане.

Таблица 2.1 - Глубина изучения инженерно-геологического строения площадки

Вид нового строительства

Глубина изучения, м

Локальные подземные и заглубленные сооружения:

 

в котлованах с использованием постоянных ограждающих конструкций («стена в грунте», шпунт, сваи разного вида и прочее);

1,5 Нс + 5 м, но не менее 10 м,

где Нс - глубина заложения подошвы ограждающей конструкции,

без применения ограждающих конструкций (при строительстве открытым способом)

1,5 Нк + 5м,

где Нк - глубина котлована от планировочной отметки

Подземные сооружения на свайных фундаментах или на комбинированном свайно-плитном фундаменте:

 

при рядовом расположении свай и нагрузках на сваи до 3 МН;

5 м ниже проектируемой глубины заложения нижних концов свай

при нагрузках на куст более 3 МН и свайных полях размером до 10×10 м;

10 м ниже проектируемой глубины заложения нижних концов свай

при свайных полях размером более 10×10 м и применении комбинированных свайно-плитных фундаментов

Глубина выработок должна превышать предполагаемое заглубление свай не менее чем на ширину свайного поля или плиты, но не менее чем на 15 м

Коллекторы, сооружаемые закрытым способом

Но + 2D

 

где Но - глубина заложения низа обделки,

 

D - диаметр или поперечный размер обделки коллектора в плане

2.1.9 Горные выработки и точки зондирования должны размещаться не только в пределах новой площадки, но и вблизи близрасположенных подземных коммуникаций (табл. 3.2). Расстояние между скважинами (точками зондирования) рекомендуется принимать для охраняемых коммуникаций II и III геотехнических категорий: на участке расположения нового строительства и близрасположенных коммуникаций - не более 15-20 м.

2.1.10 Состав, объемы и методы инженерно-геологических изысканий в особых грунтовых условиях либо в грунтах со специфическими свойствами (вечномерзлые, просадочные, набухающие, засоленные, насыпные, водонасыщенные органоминеральные и органические, эллювиальные, насыпные, намывные и пучинистые грунты) должны назначаться с учетом требований соответствующих нормативно-рекомендательных документов, учитывающих их специфические свойства.

2.2 Сбор исходных данных и обследование подземных водонесущих коммуникаций

2.2.1 Сбор исходных данных и обследование коммуникаций производятся с целью определения их технического состояния, фиксации имеющихся дефектов и повреждений перед началом строительных работ, возможности восприятия ими дополнительных деформаций или других воздействий от влияния нового строительства, а также для разработки в случае необходимости мероприятий по их защите (усилению).

2.2.2 Обследование следует выполнять на основе технического задания, выдаваемого заказчиком.

2.2.3 Сбор исходных данных и обследование близрасположенных коммуникаций должны обеспечить получение следующих сведений:

виды коммуникаций и их назначение;

возраст коммуникаций;

абсолютная отметка поверхности земли;

характеристика труб (материал, диаметр, длина секций, характеристика стыков между трубами, наличие компенсаторов);

оценка технического состояния подземных коммуникаций, их конструктивных особенностей;

наличие и размеры колодцев, камер, защитного канала (коллектора, тоннеля);

абсолютные и относительные отметки верха и днища коллектора и камер, дренажа под коллектором (при наличии), лотков колодцев;

глубина заложения труб или лотков;

углы и направление уклонов трубопроводов;

давление в напорных трубопроводах;

температура пара (горячей воды) в трубопроводе;

данные о зафиксированных протечках (утечках) из коммуникаций в этом районе, падении давления в трубопроводах, результатах проведенных «опрессовок», забитых или бездействующих коммуникациях и т.д.;

2.2.4 Состав и объем работ по обследованию коммуникаций в каждом конкретном случае определяются программой работ, разрабатываемой на основе:

технического задания;

ознакомления с проектно-технической документацией строящегося объекта (геоподосновы участка М 1:500 с нанесенными коммуникациями и контурами возводимого объекта, рабочего проекта с пояснительной запиской, проекта организации строительства и заключения об инженерно-геологических изысканиях);

сбора и изучения архивных данных по подземным водонесущим коммуникациям, подлежащим обследованию;

рекогносцировочного осмотра участка.

2.2.5 Обследованию подлежат подземные коммуникации, попадающие в зону возможного влияния нового строительства. Ориентировочная ширина зоны влияния строительства приведена в табл. 3.2.

2.2.6 В обследование коммуникаций рекомендуется включать следующие виды работ.

Для охраняемых коммуникаций I геотехнической категории:

приближенная оценка участков подземных коммуникаций, попадающих в зону возможного влияния строительных работ;

сбор технической документации, получение информации о состоянии коммуникаций в эксплуатирующих организациях, изучение материалов ранее проводившихся на данных объектах обследований, изучение и анализ собранных материалов;

обход и визуальный осмотр маршрутов проходки трасс подземных коммуникаций;

определение конструктивной схемы трубопроводов, коллекторов и тоннелей, выявление несущих конструкций;

оценка режима эксплуатации коммуникаций (определение бездействующих и заглушённых участков и др.).

Для охраняемых коммуникаций II геотехнической категории (в дополнение к перечню для категории I):

визуальное освидетельствование (совместно с представителями эксплуатирующих служб) проходных тоннелей и коллекторов с фиксацией (в том числе фотофиксацией) дефектов (в том числе наличия трещин, их размера и характера) с составлением ведомости дефектов;

обход и визуальный осмотр подвалов (первого этажа в зданиях без подвала) совместно с представителями владельцев зданий, находящихся в зоне влияния строительства;

для самотечных трубопроводов - нивелировка дна лотков и трубопроводов и проверка условий самотечности;

поиск скрытых утечек воды из водонесущих коммуникаций (см. приложение Д);

анализ причин выявленных дефектов и повреждений;

камеральная обработка материалов и составление технического отчета.

Для охраняемых коммуникаций III геотехнической категории (в дополнение к перечню для категории II):

составление совместных актов осмотра и фиксации состояния коммуникаций с представителями эксплуатирующих организаций;

определение степени износа трубопроводов и конструкций коммуникаций прямыми или косвенными методами;

для проходных тоннелей и коллекторов обмерные работы с составлением чертежей, схем, планов и разрезов;

для проходных тоннелей и коллекторов контрольное определение прочности материалов доступных несущих конструкций неразрушающими методами (для линейных конструкций - не менее десяти точек на 100 м2, для отдельно расположенных конструкций - не менее шести точек);

выборочное выполнение шпуров (зондирование), вскрытие основных несущих элементов и узлов, отбор образцов из конструкций и их испытание в лабораторных условиях (не менее трех точек на 100 м2 либо типовой несущий элемент);

инженерно-геодезические измерения по определению деформаций трубопроводов, коллекторов и тоннелей;

контрольное бурение днища и основания коллекторов и тоннелей (на глубину не менее двух диаметров коллектора или тоннеля; одна скважина на 50 м длины, но не менее трех скважин на обследованный участок трассы) с отбором образцов материала и гидроизоляции конструкций, а также грунтов основания для оценки их состава, свойств и состояния, в том числе на участках с существенными деформациями конструкций (наличие деформационных трещин; просадка днища и др.);

поверочные расчеты трубопроводов и конструкций коммуникаций от существующих нагрузок и воздействий;

определение параметров колебаний конструкций подземных коммуникаций от существующих вибрационных и динамических воздействий (метро, работа механизмов и пр.).

2.2.7 В общем случае в состав технического отчета по первичному обследованию подземных коммуникаций входят:

цели и задачи обследования;

виды и объем выполненных работ;

краткая характеристика инженерно-геологических условий участка;

общая характеристика строящегося объекта;

план участка с нанесенными подземными коммуникациями и контурами строящегося объекта;

методика выполнения обследования, используемые приборы и оборудование;

характеристика подземных коммуникаций, расположенных в зоне возможного влияния строительных работ;

план (схема) коммуникаций с результатами обмеров, нанесенными дефектами, указанием мест проходки скважин, зондирования, вскрытий, отбора проб, фотофиксации;

ведомость дефектов с их привязкой;

фотографии и эскизы дефектов;

графики и таблицы с результатами измерения существующих деформаций коммуникаций, определения физико-механических свойств материалов и грунтов;

таблицы с описанием характеристик и состояния трасс подземных коммуникаций, проходных коллекторов, смотровых колодцев и камер, расположенных на обследуемых трассах;

оценка технического состояния обследованных коммуникаций.

2.3 Прогноз деформаций грунтового массива и подземных водонесущих коммуникаций

2.3.1 Расчетный прогноз должен обеспечивать получение необходимых и достаточных материалов для разработки экономически целесообразных и технически обоснованных решений по обеспечению сохранности существующих подземных водонесущих коммуникаций.

2.3.2 Основными причинами деформаций подземных коммуникаций при строительстве вблизи них новых объектов являются деформации, обусловленные:

дополнительным статическим нагружением (при возведении нового или реконструкции существующего объекта) либо разгрузкой основания (в результате выемки грунта при проходке открытых выработок и котлованов, развития неблагоприятных инженерно-геологических процессов);

изменением гидрогеологических условий (водопонижением, подтоплением, барражным эффектом);

изменением статических условий работы основания коммуникаций в результате устройства котлованов, траншей, проходки микротоннелей, тоннелей или изменения планировочных отметок;

технологическими воздействиями (вибродинамические воздействия, перебор грунта при проходке выработок и др.) при ведении строительных работ - устройстве всех видов свай, фундаментов глубокого заложения, ограждающих конструкций котлованов, инъекционных анкеров, специальных видов работ (замораживание, инъекции и пр.).

2.3.3 Исходные данные для расчетного прогноза должны содержать следующие проектно-изыскательские материалы:

генеральный план площадки М 1:500 с нанесенными контурами и осями проектируемого сооружения, трассами и основными характеристиками существующих подземных инженерных сетей, инженерно-геологическими выработками, планировочными отметками, сведениями о ближайших построенных и предполагаемых к строительству подземных сооружениях;

проектные материалы о возводимом здании или сооружении (рабочий проект, пояснительная записка, проект организации строительства), содержащие сведения о: назначении объекта и условиях эксплуатации; конструкции подземной части (размеры в плане, разрезы, глубина заложения, конструктивная схема, материал конструкций и др.); ограждающих конструкциях и способах их устройства (вид и материал крепи котлована и др.); нагрузках на фундаменты и ограждающие конструкции;

материалы инженерно-геологических изысканий (технический отчет), содержащие сведения согласно п. 2.1 настоящего стандарта;

результаты сбора информации и обследования подземных коммуникаций (технический отчет), содержащие сведения согласно п. 2.2 настоящего стандарта.

2.3.4 Кроме расчетного прогноза деформаций фунтовые основания трубопроводов и коллекторов должны рассчитываться по несущей способности в случаях, приведенных в п. 2.3.5.

2.3.5 Расчет оснований по несущей способности должен производится в случаях:

на основание передаются значительные горизонтальные нагрузки;

коммуникации расположены на откосе или вблизи откоса;

основание сложено медленно уплотняющимися водонасыщенными глинистыми, органоминеральными и органическими грунтами (при степени влажности не менее 0,85 и коэффициенте консолидации не менее 107 см2/год); в этом случае сила предельного сопротивления основания должна определяться с учетом возможного нестабилизированного состояния грунтов за счет избыточного давления в поровой воде.

2.3.6 Расчет оснований по несущей способности в случаях, когда на основание передаются значительные горизонтальные нагрузки, коммуникации расположены на откосе или вблизи откоса, допускается не производить, если конструктивными мероприятиями обеспечена невозможность смещения охраняемых коммуникаций.

2.3.7 Расчетная схема системы «строящийся объект - грунтовый массив - существующие подземные водонесущие коммуникации» должна выбираться с учетом наиболее существенных факторов, определяющих напряженно-деформированное состояние элементов этой системы (статических схем строящегося объекта и существующих подземных коммуникаций, технологии возведения объекта, характера и свойств грунтов основания, возможности изменения свойств грунтов в процессе строительства и эксплуатации объекта и т.д.).

2.3.8 Для подземных коммуникаций III геотехнической категории рекомендуется учитывать пространственную работу конструкций, геометрическую и физическую нелинейность, пластические и реологические свойства материалов и грунтов.

2.3.9. Прогноз изменений гидрогеологического режима и напряженно-деформированного состояния грунтового массива от статических воздействий, как правило, следует выполнять путем математического моделирования численными методами.

2.3.10 Прогнозный расчет деформаций грунтового массива и мульды сдвижения земной поверхности, как правило, должен выполняться методом конечных элементов (МКЭ) путем решения пространственной или плоской задачи.

2.3.11 Порядок проведения расчетов МКЭ следующий:

выбор расчетной области или расчетных сечений (охватывающих проектируемый объект и участки с максимальными ожидаемыми деформациями подземных коммуникаций);

построение геометрической модели и сетки конечных элементов;

составление модели, охватывающей инженерно-геологические и конструктивные элементы;

выбор геотехнической модели грунта, ввод начальных условий и расчетных характеристик прочности и жесткости элементов;

определение этапов строительства сооружаемого объекта, разбивка этапов на расчетные шаги; составление пошаговых расчетных схем и выполнение расчетов.

2.3.12 Моделирование работы грунта, как правило, должно выполняться с использованием упругопластических моделей. Результаты моделирования используются для расчета параметров деформаций оснований охраняемых подземных коммуникаций, а также смещений земной поверхности.

2.3.13 Математическая модель может быть составлена без учета жесткости охраняемых подземных коммуникаций (допускается, что коммуникации имеют гибкую конструктивную схему с нулевой жесткостью). В этом случае коммуникации и их основания претерпевают деформации, соответствующие деформациям грунтового массива в местах их расположения.

2.3.14 Если в результате геотехнических расчетов с использованием математической модели, составленной без учета жесткости охраняемых подземных коммуникаций, прогнозные деформации коммуникаций оказались больше допустимых значений, рекомендуется включить в математическую модель подземные коммуникации с их фактической жесткостью и повторно выполнить расчеты.

2.3.15 Прогноз изменений напряженно-деформированного состояния грунтового массива от технологических воздействий (вибродинамические воздействия, перебор грунта и др.) может выполняться путем математического моделирования численными методами, на основе опыта проектирования и строительства в аналогичных грунтовых условиях со схожими проектно-технологическими решениями либо по результатам опытных работ.

2.4 Оценка сохранности подземных водонесущих коммуникаций

2.4.1 Основными условиями нормальной эксплуатации подземных коммуникаций являются:

для напорных стальных и монолитных железобетонных трубопроводов - обеспечение несущей способности труб и стыковых соединений;

для секционных напорных трубопроводов - сохранение герметичности стыковых соединений;

для самотечных трубопроводов - обеспечение условия самотечности (допустимых уклонов) и герметичности стыковых соединений;

для коллекторных тоннелей - обеспечение несущей способности и герметичности обделки тоннеля, условий нормальной эксплуатации трубопроводов, размещенных в тоннелях.

2.4.2 Методы оценки влияния строительства на близрасположенные подземные коммуникации, рекомендуемые в настоящем разделе, ориентированы на строгое соблюдение всех технологических требований производства работ. Низкое качество работ и технологические отклонения могут приводить к значительно большему влиянию строительства на существующие коммуникации, чем может быть оценено прогнозом.

2.4.3 Оценку сохранности существующих подземных коммуникаций следует выполнять в соответствии с техническим заданием проектной организации. Работы по оценке сохранности охраняемых объектов должны выполняться специализированными организациями.

2.4.4 Исходные данные для оценки сохранности подземных коммуникаций в общем случае должны содержать результаты: сбора информации и обследования охраняемых подземных коммуникаций, прогнозных расчетов изменения напряженно-деформированного состояния грунта (трубопроводов, коллекторных тоннелей) в результате нового строительства.

2.4.5 Степень и характер влияния нового строительства на существующие подземные коммуникации устанавливаются сравнением расчетных показателей дополнительных деформаций с допустимыми. Степень обеспечения сохранности подземных коммуникаций рассчитывается по приложению Ж.

Для сравнения используются следующие показатели деформаций: осадки, относительная разность осадок, относительные горизонтальные деформации растяжения или сжатия, кривизна либо радиус кривизны.

2.4.6 Допустимые дополнительные деформации для подземных коммуникаций должны приниматься на основе нормативных документов с учетом типа, конструктивных особенностей, технического состояния и уровня ответственности коммуникаций.

Для отдельных сооружений специализированным организациям разрешается принимать значения указанных деформаций, отличные от действующих норм, на основе обобщения опыта обследования, специальных прогнозных расчетов и мониторинга охраняемых объектов.

2.4.7 Для напорных трубопроводов следует выполнять расчет по первой группе предельных состояний в случаях когда: расчетные показатели дополнительных деформаций основания трубопровода больше допустимых значений, состояние трубопровода не определено или по данным обследований признано неудовлетворительным; трубопровод имеет повышенный уровень ответственности.

В общем случае для стальных напорных трубопроводов расчет от статических нагрузок и воздействий по первой группе предельных состояний рекомендуется выполнять согласно приложению И.

2.4.8 Определение безопасных расстояний до подземных коммуникаций при забивке железобетонных свай рекомендуется выполнять согласно приложению К.

2.4.9 После завершения оценки влияния на подземные водонесущие коммуникации и разработки защитных мероприятий разрабатывается проект мониторинга технического состояния коммуникаций (на период строительства и первое время после его окончания).

2.5 Мероприятия по защите подземных водонесущих коммуникаций

2.5.1 Мероприятия по защите окружающих площадку строительства подземных водонесущих коммуникаций должны предусматриваться, как правило, во всех случаях, когда расчетные деформации подземных коммуникаций превышают допустимые дополнительные деформации.

2.5.2 Меры защиты подземных коммуникаций, выполняемые до начала или в процессе строительных работ, могут быть условно разделены на три группы - технологические, геотехнические и конструктивные.

Технологические меры (см. рис. 2.2) - уменьшение изменения напряженно-деформированного состояния подземных коммуникаций и грунтового массива обеспечивается за счет применения особых технологий, техники и конструктивно-технологических решений, которые используются непосредственно в процессе выполнения основных строительных работ. Технологические меры применяются в пределах зоны строительства и служат в первую очередь для снижения и компенсации технологических негативных воздействий строительства на существующие подземные коммуникации.

Рисунок 2.2 – Блок–схема технологических мер защиты подземных коммуникаций

Геотехнические меры (см. рис. 2.3) - уменьшение изменения напряженно-деформированного состояния подземных коммуникаций и грунтового массива обеспечивается за счет применения мер, которые выполняются, как правило, в грунтовом массиве между строящимся (реконструируемым) объектом и существующими подземными коммуникациями. Они служат для снижения и компенсации статических и технологических негативных воздействий строительства.

Рисунок 2.3 - Блок-схема геотехнических мер защиты подземных коммуникаций

Конструктивные меры (см. рис. 2.4) - обеспечение сохранности подземных коммуникаций достигается за счет усиления и приспособления конструкций подземных коммуникаций к восприятию дополнительных нагрузок и воздействий нового строительства (реконструкции).

Рисунок 2.4 - Блок-схема конструктивных мер защиты подземных коммуникаций

2.5.3 Выбор мер защиты подземных коммуникаций рекомендуется выполнять на основе: технико-экономического сравнения вариантов, с учетом назначения, уровня ответственности, конструктивных особенностей, минимального влияния на режим эксплуатации коммуникаций, в зависимости от вида и величин прогнозных деформаций.

Приведенные меры защиты могут Применяться раздельно или совместно, в зависимости от конкретных условий. При выборе мер защиты следует отдавать предпочтение методам, позволяющим избежать откопки и вскрытия подземных коммуникаций.

2.5.4 Защита подземных коммуникаций должна выполняться, как правило, на основе специально разработанных проектов (технологических регламентов). Разработку этих проектов следует выполнять в составе проекта строящегося (реконструируемого) объекта. Проекты защиты коммуникаций являются составной частью основного проекта, выполняемого на стадии «РД» или «РП».

2.5.5 Исходными данными для проектирования мер защиты являются:

геоподоснова участка масштаба 1:500 с расположением охраняемых подземных коммуникаций и строящихся объектов;

отчет об инженерно-геологических изысканиях на участке;

проектные материалы по строящемуся объекту (планы и разрезы строящегося объекта, нагрузки, проект организации строительства и др.);

результаты обследования, техническая документация, информация об охраняемых подземных коммуникациях (назначение, год постройки, основные технические характеристики, техническое состояние и др.);

результаты моделирования и прогнозных расчетов по оценке влияния строительства на' техническое состояние охраняемых подземных коммуникаций.

3 Обеспечение сохранности подземных водонесущих коммуникаций на стадии строительства (геотехнический мониторинг)

3.1 Цель геотехнического мониторинга (далее - мониторинг) подземных водонесущих коммуникаций - контроль ил обеспечение сохранности близрасположенных подземных водонесущих коммуникаций на стадии строительства (реконструкции) подземных и заглубленных объектов и после их завершения (не менее года при строительстве или реконструкции уникальных объектов, для III геотехнической категории охраняемых подземных водонесущих коммуникаций):

Система обеспечения сохранности подземных коммуникаций для стадии строительства представлена в виде блок-схемы на рис. 3.1.

Рисунок 3.1 - Блок-схема мониторинга подземных коммуникаций на стадии строительства

3.2 Задачи мониторинга:

определение фактического влияния строительства на состояние охраняемых подземных коммуникаций и вмещающего их массива грунта;

своевременное выявление сверхпрогнозных деформаций и повреждений подземных коммуникаций, установление причин их возникновения, определение степени опасности фактических деформаций для нормального функционирования охраняемых коммуникаций;

принятие своевременных мер по нейтрализации или ликвидации последствий негативных воздействий от возникающих чрезмерных деформаций грунтового массива;

уточнение исходных расчетных данных, корректировка прогнозных расчетов и, при необходимости, защитных мероприятий;

установление эффективности выполняемых защитных мероприятий.

3.3 Мониторингу подлежат подземные коммуникации, попадающие в зону возможного влияния нового строительства.

3.4 Мониторинг подземных коммуникаций должен быть увязан с системами мониторинга строящегося или реконструируемого объекта; близрасположенных зданий, попадающих в зону его влияния; массива грунта. Мониторинг должен проводиться в соответствии с ранее (на стадии проектирования) разработанным проектом.

3.5 Как правило, мониторинг существующих подземных водонесущих коммуникаций, попадающих в зону влияния нового строительства, следует организовывать:

при строительстве и реконструкции уникальных сооружений и объектов повышенного уровня ответственности;

для подземных водонесущих коммуникаций, имеющих II и III геотехнические категории.

3.6 Состав и объем работ по геотехническому мониторингу подземных водонесущих коммуникаций в каждом конкретном случае определяются программой работ, разрабатываемой на основе:

технического задания;

ознакомления с проектно-технической документацией строящегося объекта (геоподосновы участка М 1:500 с нанесенными коммуникациями и контурами возводимого объекта, проекта с пояснительной запиской, проекта организации строительства и заключения об инженерно-геологических изысканиях);

ознакомления с результатами сбора и изучения архивных данных, обследования подземных коммуникаций, оценки влияния и рекомендациями по обеспечению сохранности коммуникаций;

рекогносцировочного осмотра участка.

3.7 Границы зоны влияния строящегося объекта на подземные водонесущие коммуникации рекомендуется принимать согласно табл. 3.1. Если геотехническое моделирование не выполнялось, то ориентировочная ширина зоны влияния строительства может быть принята по табл. 3.2.

Таблица 3.1 - Значения максимальных дополнительных деформаций оснований подземных водонесущих коммуникаций для назначения границ зоны влияния строительства при геотехническом мониторинге

№ п.п.

Наименование

Обозначение

Величина

1

Относительная горизонтальная деформация растяжения*

εг

0,5×10-3

2

Наклон*

iг

0,5×10-3

3

Радиус кривизны, км*

Rг

50

4

Перемещения, мм

sг

4

* Для интервалов 7-10 м.

Таблица 3.2 - Ориентировочная ширина зоны влияния строительства на техническое состояние подземных коммуникаций

Вид нового строительства

Ширина зоны влияния, м

Подземные и заглубленные сооружения в котлованах с ограждением «стена в грунте»:

 

с креплением анкерными конструкциями

ака+1,5*Нка

с креплением распорками

3Нк

Подземные и заглубленные сооружения в котлованах с ограждением из металлических шпунтовых труб (завинчивающихся металлических свай), распорок, раскосов, подкосов, деревянной или металлической забирки

3Нк

Подземные сооружения в котлованах и стволах с ограждением, выполняемым горным способом (металлические рамы, деревянная или металлическая забирка)

3Нк

Подземные и заглубленные сооружения в котлованах и траншеях без применения ограждающих конструкций, при уровне подземных вод ниже дна выработки

2,5Нк

Сооружения в котлованах, создающие дополнительные вертикальные напряжения в основании коммуникаций

Нс

Сооружения и выработки, устраиваемые закрытым способом:

 

тоннели, продавливаемые стальные футляры

1,5Нзв

микротоннели

Нзв

Здания и сооружения с фундаментами из свай, погружаемых забивкой или вибропогружением

25 м

где ака - расстояние в плане между ограждающими конструкциями котлована и крайней точкой корня анкера;

Нка - глубина расположения крайней точки корня анкера от планировочной отметки;

Нк - глубина котлована от планировочной отметки;

Нс - мощность сжимаемой толщи грунтов под новым объектом;

Нзв - глубина заложения низа обделки коллектора, тоннеля, микротоннеля.

3.8 Мониторинг технического состояния коммуникаций II и III геотехнических категорий в общем случае должен включать следующие периодически выполняемые работы:

визуальный осмотр конструкций (проходных коллекторов, колодцев и др.) и трубопроводов, а также подвалов зданий, расположенных вблизи охраняемых подземных коммуникаций;

обход и осмотр поверхности земли вдоль трасс проходки подземных коммуникаций;

измерение температуры и уровня воды в наблюдательных гидрогеологических скважинах;

отбор проб воды и грунта в местах, где брались пробы при первичном обследовании; результаты химанализа воды и грунта используются для выявления следов утечек из водонесущих коммуникаций;

определение вертикальных и горизонтальных перемещений подземных коммуникаций и вмещающего их грунтового массива; для самотечных трубопроводов - нивелировка дна лотков и трубопроводов с последующей проверкой условий самотечности; для напорных трубопроводов - инструментальные измерения деформаций трубопроводов;

наблюдение за развитием неблагоприятных инженерно-геологических процессов (карст, суффозия и др.);

наблюдение за изменением окружающей природной среды при опасности загрязнения грунтов и подземных вод;

измерение уровня колебаний при наличии динамических воздействий (вибродинамический мониторинг);

оценка результатов наблюдений и сравнение их с прогнозными данными;

анализ причин выявленных дефектов и повреждений;

корректировка прогноза изменения технического состояния охраняемых коммуникаций и вмещающего их массива грунта;

в необходимых случаях разработка мероприятий по ликвидации недопустимых деформаций и негативных последствий;

контроль за выполнением принятых решений.

3.9 В общем случае в состав отчета по мониторингу подземных коммуникаций входят:

цели и задачи мониторинга;

краткая характеристика инженерно-геологических условий участка;

общая характеристика строящегося объекта;

характеристика подземных коммуникаций, расположенных в зоне влияния строительных работ; таблицы описания трасс подземных коммуникаций, проходных коллекторов, смотровых колодцев и камер, расположенных на обследуемых трассах;

виды и периодичность выполняемых наблюдений и измерений;

методика выполнения мониторинга, используемые приборы и оборудование;

план участка с нанесенными подземными коммуникациями, контурами строящегося объекта, контрольными точками наблюдений, местами установки марок, измерительных устройств и приборов;

ведомость наблюдаемых и появившихся дефектов с их привязкой, фотографии и эскизы дефектов;

графики и таблицы с результатами наблюдений и измерений контролируемых параметров подземных коммуникаций и вмещающего грунтового массива;

выводы и рекомендации по результатам мониторинга.

4 Краткие сведения по охране труда и технике безопасности при проведении обследований подземных коммуникаций

4.1 Охрана труда и техника безопасности при обследовании коллекторов проходного типа

4.1.1 Коммуникационные коллекторы являются подземными тоннелями, конструктивное устройство которых обеспечивает вентиляцию и работу в них людей без применения средств защиты органов дыхания, за исключением аварийных ситуаций.

4.1.2 Вход в коллекторы допускается только через диспетчерское помещение. Использовать для этой цели аварийные выходы и люки допускается только по специальному разрешению эксплуатационного персонала или при возникновении аварийных ситуаций в коллекторе. Работы по обследованию в коллекторах разрешается вести в дневное время.

4.1.3 Работы по обследованию и мониторингу в коллекторах могут вестись с предварительной проверкой наличия в них опасных газов (углекислого, метана и др.) бригадой в составе не менее двух человек. Ответственный за производство работ в коллекторе обязан постоянно находиться на объекте.

4.1.4 Лица, работающие в коллекторах, должны быть обеспечены приборами для измерения содержания в воздушной среде углекислого газа и кислорода, а также эффективными средствами индивидуальной защиты органов дыхания.

4.1.5 Ответственность за соблюдение установленных норм и правил при ведении работ в подземных сооружениях, обеспечение работников средствами индивидуальной защиты органов дыхания и приборами измерения содержания газов в воздушной среде возлагается на организации, проводящие работы в подземных сооружениях.

4.1.6 Лица, занятые в обследовании и мониторинге конструкций коллекторов, обязаны пройти обучение со сдачей экзаменов на знание требований норм и правил техники безопасности с получением удостоверений в учебных центрах, имеющих соответствующую лицензию на данный вид деятельности.

4.2 Охрана труда и техника безопасности при обследовании колодцев и камер

4.2.1 К работе, связанной со спуском в колодец, допускается бригада не менее чем из трех человек: один для работы в колодце, другой - для работы на поверхности, третий - специально для наблюдения и оказания помощи работающему в колодце. Спускающийся в колодец должен надевать спасательный пояс с веревкой, защитную каску и иметь аккумуляторный фонарь напряжением 12 В. Занимать наблюдающего какой-либо работой при нахождении работающего в колодце запрещается.

4.2.2 До начала работ в колодце и в двух смежных с ним воздух в них должен быть проверен на присутствие углекислого газа и метана. Дальнейшая проверка наличия опасных газов в колодцах производится газоанализаторами через каждый час. Люки смежных колодцев должны быть открыты на все время работ. На них устанавливаются специальные решетчатые крышки и ограждения. Если анализ показал присутствие опасного газа, то работа в подземных сооружениях должна быть прекращена до тех пор, пока не будет устранена причина поступления газа.

4.2.3 При необходимости вскрытия крышек колодцев в местах движения автомобильного транспорта и пешеходов люки ограждаются, обустраиваются средствами сигнализации и временными предупредительными знаками с обозначениями направления объезда или обхода.

4.2.4 Предприятия и организации, выполняющие обследования подземных коммуникаций, обязаны до начала выполнения работ согласовать их проведение с владельцами инженерных объектов и предоставить список сотрудников в установленной форме, участвующих в обследовании. Все работы по обследованию и мониторингу, связанные с нахождением в коллекторах и колодцах (камерах), должны вестись в присутствии представителей организаций (предприятий) - владельцев инженерных сооружений (коллекторов) и коммуникаций.

4.2.5 Запрещается:

самовольное ведение работ;

проводить работы, не согласованные с владельцами инженерных объектов;

проводить работы в ночное время;

производить земляные работы над подземными сооружениями и ближе одного метра от них с применением строительных механизмов и землеройной техники;

оставлять незакрытыми без присмотра вентиляционные шахты (киоски), аварийные выходы, люки и другие конструктивные элементы подземных инженерных сетей;

спускаться в подземные сооружения без разрешения эксплуатационных служб и принятия мер безопасности для жизни людей;

самовольно вскрывать крышки люков, камер и колодцев, решетки вентиляционных шахт, запорные устройства;

нарушать целостность строительных конструкций, сбрасывать воду, промышленные, бытовые и иного рода твердые и жидкие отходы;

становиться или садиться на кабельные консоли и кабели, опирать на них лестницы, класть материалы или инструменты, сдвигать кабели с места;

разводить огонь, курить.

Приложение А

Нормативная и методическая литература

СНиП 2.01.07-85* Нагрузки и воздействия

СНиП 2.01.09-91 Здания и сооружения на подрабатываемых территориях и просадочных грунтах

СНиП 2.02.01-83* Основания зданий и сооружений

СНиП 2.02.02-85* Основания гидротехнических сооружений

СНиП 2.02.03-85 Свайные фундаменты

СНиП 2.02.04-88 Основания и фундаменты на вечномерзлых грунтах

СНиП 2.03.11-85 Защита строительных конструкций от коррозии

СНиП 2.04.02-84* Водоснабжение. Наружные сети и сооружения

СНиП 2.04.03-85 Канализация. Наружные сети и сооружения

СНиП 2.04.12-86 Расчет на прочность стальных трубопроводов

СНиП 2.05.03-84* Мосты и трубы

СНиП 2.05.06-85* Магистральные трубопроводы

СНиП 2.06.07-87 Подпорные стены, судоходные шлюзы, рыбопропускные и рыбозащитные сооружения

СНиП 2.06.14-85 Защита горных выработок от подземных и поверхностных вод

СНиП 2.09.03-85 Сооружения промышленных предприятий

СНиП 3.02.01-87 Земляные сооружения, основания и фундаменты

СНиП 3.02.03-84 Подземные горные выработки

СНиП 3.03.01-87 Несущие и ограждающие конструкции

СНиП 3.05.04-85* Наружные сети и сооружения водоснабжения и канализации

СНиП 3.06.04-91 Мосты и трубы

СНиП 3.06.07-86 Мосты и трубы. Правила обследований и испытаний

СНиП 11-02-96 Инженерные изыскания для строительства. Основные положения

СНиП 12-03-2001 Безопасность труда в строительстве. Часть 1. Общие требования

СНиП 12-04-2002 Безопасность труда в строительстве. Часть 2. Строительное производство

СНиП 41-02-2003 Тепловые сети

СНиП 52-01-2003 Бетонные и железобетонные конструкции. Основные положения

СНиП II-22-81* Каменные и армокаменные конструкции

СНиП II-23-81* Стальные конструкции

СНиП II-89-80* Генеральные планы промышленных предприятий

СНиП II-94-80 Подземные горные выработки

СНиП III-42-80* Магистральные трубопроводы

СНиП III-44-77 Тоннели железнодорожные, автодорожные и гидротехнические. Метрополитены

СП 11-104-97 Инженерно-геодезические изыскания для строительства

СП 11-105-97 Инженерно-геологические изыскания для строительства (ч. 1, 2, 3)

СП 13-102-2003 Правила обследования несущих строительных конструкций зданий и сооружений

СП 40-102-2000 Проектирование и монтаж трубопроводов систем водоснабжения и канализации из полимерных материалов

СП 50-101-2004 Проектирование и устройство оснований и фундаментов зданий и сооружений

СП 50-102-2003 Проектирование и устройство свайных фундаментов

СП 53-101-98 Изготовление и контроль качества стальных строительных конструкций

ГОСТ 286-82 Трубы керамические канализационные. Технические условия

ГОСТ 539-80 Трубы и муфты асбестоцементные напорные. Технические условия

ГОСТ 1497-84* Металлы. Методы испытания на растяжение

ГОСТ 1839-80 Трубы и муфты асбестоцементные для безнапорных трубопроводов. Технические условия

ГОСТ 5180-84 Грунты. Методы лабораторного определения физических характеристик

ГОСТ 5802-86 Растворы строительные. Методы испытаний

ГОСТ 6482-88 Трубы железобетонные безнапорные. Технические условия

ГОСТ 6942-98 Трубы чугунные канализационные и фасонные части к ним. Технические условия

ГОСТ 6996-66 Сварные соединения. Методы определения механических свойств

ГОСТ 10704-91 Трубы стальные электросварные прямошовные. Сортамент

ГОСТ 10705-80* Трубы стальные электросварные. Технические условия

ГОСТ 10706-76* Трубы стальные электросварные прямошовные. Технические требования

ГОСТ 10707-80* Трубы стальные электросварные холоднодеформированные. Технические условия

ГОСТ 12248-96 Грунты. Методы лабораторного определения характеристик прочности и деформируемости

ГОСТ 12536-79 Грунты. Методы лабораторного определения гранулометрического (зернового) и микроагрегатного состава

ГОСТ 12730.0-78 Бетоны. Общие требования к методам определения плотности и водонепроницаемости

ГОСТ 12730.1-78 Бетоны. Методы определения плотности

ГОСТ 12730.2-78 Бетоны. Методы определения влажности

ГОСТ 12730.3-78 Бетоны. Методы определения водопоглощения

ГОСТ 12730.4-78 Бетоны. Методы определения показателей пористости

ГОСТ 12730.5-78 Бетоны. Методы определения водонепроницаемости

ГОСТ 12586.1-83* Трубы железобетонные напорные виброгидропрессованные. Конструкция и размеры

ГОСТ 17624-87 Бетоны. Ультразвуковой метод определения прочности

ГОСТ 17625-83 Конструкции и изделия железобетонные. Радиационный метод определения толщины защитного слоя бетона, размеров и расположения арматуры

ГОСТ 19912-2001 Грунты. Методы полевых испытаний статическим и динамическим зондированием

ГОСТ 20054-82 Трубы бетонные безнапорные. Технические условия

ГОСТ 20276-99 Грунты. Методы полевого определения характеристик прочности и деформируемости

ГОСТ 20522-96 Грунты. Методы статистической обработки результатов испытаний

ГОСТ 22000-86 Трубы бетонные и железобетонные. Типы и основные параметры

ГОСТ 22689.0-89 Трубы полиэтиленовые канализационные и фасонные части к ним. Общие технические условия

ГОСТ 22689.1-89 Трубы полиэтиленовые канализационные и фасонные части к ним. Сортамент

ГОСТ 22689.2-89 Трубы полиэтиленовые канализационные и фасонные части к ним. Конструкция

ГОСТ 22690-88 Бетоны. Определение прочности механическими методами неразрушающего контроля

ГОСТ 22733-2002 Грунты. Метод лабораторного определения максимальной плотности

ГОСТ 22904-93 Конструкции железобетонные. Магнитный метод определения толщины защитного слоя бетона и расположения арматуры

ГОСТ 23061-90 Грунты. Методы радиоизотопных измерений плотности и влажности

ГОСТ 23161-78 Грунты. Методы лабораторного определения характеристик просадочности

ГОСТ 23740-79 Грунты. Методы лабораторного определения содержания органических веществ

ГОСТ 24846-81 Грунты. Методы измерения деформаций оснований зданий и сооружений

ГОСТ 24847-81 Грунты. Методы определения глубины сезонного промерзания

ГОСТ 25100-95 Грунты. Классификация

ГОСТ 25358-82 Грунты. Метод полевого определения температуры

ГОСТ 25812-83 Трубопроводы стальные магистральные. Общие требования к защите от коррозии

ГОСТ 26819-86* Трубы железобетонные напорные со стальным сердечником. Технические условия

ГОСТ 27751-88 Надежность строительных конструкций и оснований. Основные положения по расчету

ГОСТ 27809-95 Чугун и сталь. Методы спектрографического анализа

ГОСТ 28570-90 Бетоны. Методы определения прочности по образцам, отобранным из конструкций

ГОСТ 30416-96 Грунты. Лабораторные испытания. Общие положения

ГОСТ 30672-99 Грунты. Полевые испытания. Общие положения

ГОСТ Р 51232-98 Вода питьевая. Гигиенические требования и контроль за качеством

СН 322-74 Указания по производству и приемке работ по строительству в городах и на промышленных предприятиях коллекторных тоннелей, сооружаемых способом щитовой проходки

СН 550-82 Инструкция по проектированию технологических трубопроводов из пластмассовых труб

ПБ 03-428-02 Правила безопасности при строительстве подземных сооружений. Госгортехнадзор России

ВСН 490-87 Проектирование и устройство свайных фундаментов и шпунтового ограждения в условиях реконструкции промышленных предприятий и городской застройки

МГСН 2.07-01 Основания, фундаменты и подземные сооружения

Правила пользования системами московского городского водопровода и канализации. - М., 1993

Правила производства земляных и строительных работ, прокладки и переустройства инженерных сетей и коммуникаций. - М., 2000

Инструкция № МЭИ-113 по определению мест утечек сетевой воды с помощью красителя-флуоресцеина. - М., 1992

Инструкция по наблюдению за сдвижением земной поверхности и расположенными на ней объектами при строительстве в Москве подземных сооружений. - М., 1997

Инструкция по инженерно-геологическим и геоэкологическим изысканиям. - М.: Москомархитектура, 2004

Эксплуатационная инструкция. Методика отыскания утечек сетевой воды. ЭИ-47. - М.: АО «Мосэнерго», 2000

Руководство по расчету зданий и сооружений, проектируемых на подрабатываемых территориях. - Л., 1968

Руководство по оценке и предотвращению аварийных деформаций зданий и сооружений при строительстве объектов метрополитена. - М.: НИЦ ТМ, 1993

Рекомендации по проектированию мероприятий для защиты эксплуатируемых зданий и сооружений от влияния горных выработок в основных угольных бассейнах. - Л., 1967

Рекомендации по забивке свай вблизи зданий, сооружений и подземных коммуникаций. - Уфа: НИИпромстрой, 1988

Приложение Б

Термины и определения

Арматура трубопроводная - устройства, позволяющие регулировать и распределять жидкости и газы, транспортируемые по трубопроводам, и подразделяющиеся на запорную арматуру (краны, задвижки), предохранительную (клапаны), регулирующую (вентили, регуляторы давления), отводную (воздухоотводчики, конденсатоотводчики), аварийную (сигнальные средства) и др.

Байпас - обводной трубопровод с запорной арматурой для отведения транспортируемой среды (жидкости, газа) из основного трубопровода и подачи ее в этот же трубопровод.

Ввод трубопровода - ответвление трубопровода от наружной сети до узла с запорной арматурой, размещенного внутри здания (сооружения).

Водовод - сооружение в виде тоннеля, канала, лотка или трубопровода для пропуска (подачи) воды под напором или самотеком от водоприемника (водозаборного сооружения) к месту ее потребления.

Водопровод - комплекс инженерных сооружений и устройств для получения воды из природных источников, ее очистки, транспортирования к различным потребителям в необходимом количестве и требуемого качества.

Галерея - надземное или наземное, полностью или частично закрытое, горизонтальное или наклонное протяженное сооружение, соединяющее помещения зданий или сооружений, предназначенное для инженерных или технологических коммуникаций, а также для прохода людей.

Геотехнический мониторинг - система визуально-инструментальных наблюдений и контроля за состоянием и изменением грунтовых, природных и техногенных условий в процессе строительства и эксплуатации объекта.

Геотехническая категория объекта строительства - категория сложности строительства объекта, определяемая в зависимости от его уровня ответственности и сложности инженерно-геологических условий площадки.

Деформация сооружения (трубопровода) - изменение формы и размеров, а также потеря устойчивости сооружения (трубопровода) под влиянием различных нагрузок и воздействий.

Деформация основания - деформация, возникающая в результате передачи усилий от здания (сооружения) на основание или изменения физического состояния грунта основания в период строительства и эксплуатации здания (сооружения).

Дождеприемники - конструкция, служащая для приема с улиц дождевых и талых вод в дождевые и общесплавные сети.

Допустимые деформации подземных коммуникаций - деформации, способные вызвать образование незначительных дефектов, при которых для дальнейшей эксплуатации коммуникаций достаточно проведения текущих наладочных и ремонтных работ.

Жесткость - характеристика конструкции, оценивающая способность сопротивляться деформациям.

Зона влияния - зона, в пределах которой строящийся объект может оказать влияние на техническое состояние и деформации близрасположенных существующих объектов.

Канал - 1) протяженное открытое сооружение, расположенное в выемке или насыпи, предназначенное для безнапорного пропуска воды; 2) закрытое подземное протяженное сооружение высотой менее 2 м до выступающих конструкций, предназначенное для прокладки коммуникаций (кабелей, трубопроводов и т.д.).

Канализация - комплекс инженерных сооружений (трубопроводов, насосных станций, очистных сооружений) и оборудования (санитарных приборов, стояков и др.), обеспечивающих прием, сбор и отведение сточных вод с территории населенных пунктов, промышленных предприятий и других объектов, а также их очистку и обезвреживание перед утилизацией или сбросом в водоем.

Коллектор коммуникационный - 1) подземное протяженное сооружение для транспортирования жидкостей и газов без трубопроводов; 2) подземное протяженное сооружение для комбинированной прокладки трубопроводов и кабелей различного назначения.

Колодцы смотровые - конструкции, служащие для наблюдения за состоянием канализационной сети; используются при работах по очистке и ремонту сети. Устраиваются в местах присоединений, а также изменения направлений, уклонов и диаметров трубопроводов. Колодец состоит из плиты днища, рабочей камеры (круглого или прямоугольного сечения), плиты перекрытия рабочей камеры, горловины и опорного кольца (обечайки), на которое опирается люк. Между присоединяемой и отводящей трубами устраивается лоток.

Колодцы перепадные - колодцы, сооружаемые в местах присоединения притоков к основному коллектору, имеющему большую глубину заложения, при устройстве перепадов на коллекторах в связи с резким изменением рельефа местности, а также при необходимости уменьшения скорости протока сточных вод на последних участках сети перед водоемом для затопленных выпусков.

Колодцы промывные - колодцы, устраиваемые, как правило, в верховых участках бытовой сети, где наблюдаются малые расходы. Они служат для промывки сети от осадков, которые образуются при малых скоростях протока сточных вод.

Локальные очистные сооружения - сооружения и устройства, предназначенные для очистки сточных вод абонента перед их сбросом (приемом) в систему коммунальной канализации.

Лоток - водоворот незамкнутого поперечного сечения с безнапорным движением жидкости.

Общесплавная система канализации - система коммунальной канализации, предназначенная для совместного сбора и отведения всех видов сточных вод, включая дренажные, поверхностные и поливомоечные сточные воды.

Отвод - участок трубопровода для плавного изменения его направления.

Сети инженерные - трубопроводы и кабели различного назначения (водопровод, канализация, отопление, связь и др.), прокладываемые на территориях населенных пунктов и промышленных предприятий, а также в зданиях.

Сеть водопроводная - совокупность трубопроводов и устройств для подачи воды к местам потребления.

Сеть канализационная - совокупность трубопроводов, коллекторов, каналов и лотков для приема и отведения сточных вод к месту расположения очистительных сооружений.

Сеть тепловая - совокупность трубопроводов (теплопроводов), по которым перемещается теплоноситель (горячая вода или пар) от источника теплоснабжения к потребителям.

Соединительные камеры - камеры, устраиваемые на всех системах канализации в местах соединения нескольких канализационных линий в один общий коллектор.

Сточные воды - воды, образующиеся в результате хозяйственной деятельности человека после использования воды из всех источников водоснабжения (питьевого, технического, горячего водоснабжения, пара от теплоснабжающих организаций).

Тоннель - протяженное подземное сооружение высотой 2 м и более до выступающих конструкций, предназначенное для прокладки железных и автомобильных дорог, пешеходных переходов, коммуникаций и т.п.

Приложение В

Краткая характеристика трубопроводов инженерных сетей

Подземная прокладка водонесущих сетей может быть выполнена бесканальной в грунте, в каналах или в городских и внутриквартальных тоннелях совместно друг с другом.

Канализация и водопровод

Для канализационных трубопроводов применяются:

самотечных - безнапорные железобетонные, бетонные, керамические, чугунные, асбестоцементные, пластмассовые трубы и железобетонные детали;

напорных - напорные железобетонные, асбестоцементные, чугунные, стальные и пластмассовые трубы.

Для напорных водоводов и сетей, как правило, применяются неметаллические трубы (железобетонные напорные, асбоцементные напорные, пластмассовые и др.).

Керамические трубы имеют круглое сечение с внутренним диаметром от 150 до 600 мм включительно и длиной 0,8 и 1,2 м.

Керамические трубы малоустойчивы к внешним техногенным процессам, плохо сопротивляются локальным внешним нагрузкам, обладают малой длиной (большое количество стыков), однако устойчивы к воздействию практически любых видов сточных вод, поэтому в керамических трубопроводах не возникает коррозионных повреждений.

Для горячих, а также содержащих сильные растворители сточных вод такие трубы практически не используются.

Асбоцементные трубы изготавливают с гладкими концами для муфтовых соединений. На напорных трубах концы обточены до таких наружных размеров, которые позволяют использовать при монтаже сетевых узлов чугунные водопроводные фасонные части. Имеются асбестоцементные трубы и, соответственно, муфты к ним для безнапорных трубопроводов (диаметром 150-600 мм) и для напорных трубопроводов (диаметром 100-500 мм).

Асбестоцементные трубы хорошо сопротивляются давлению, однако хрупки и слабо сопротивляются истиранию песком; по сравнению с бетонными трубами они имеют более высокую химическую устойчивость.

Бетонные и железобетонные трубы. В канализационных сетях широкое распространение имеют безнапорные раструбные трубы круглого очертания и трубы с гладкими концами, а также трубы круглого очертания с плоской подошвой и фальцевым соединением. Трубы имеют диаметры 200-2500 мм; трубы железобетонные напорные имеют диаметр 500 мм и выше.

Бетонные и железобетонные трубы (при условии качественного производства работ) устойчивы к внешним природным и техногенным процессам, так как обладают достаточной прочностью материала и имеют малое число стыков.

Чугунные трубы имеют диаметр 100-1200 мм; безнапорные - диаметром 150 мм, между собой соединяются в раструб.

Чугунные трубопроводы устойчивы к влиянию природных процессов, плохо сопротивляются таким техногенным процессам, как локальные нагрузки, незначительно чувствительны к коррозии в связи с толстыми стенками и высокой концентрацией углерода.

Литая оболочка, образующаяся на поверхности чугунных труб во время их изготовления, а также продукты инкрустации и коррозии предотвращают дальнейшее развитие коррозионных процессов.

Недостатком является склонность чугунных труб к инкрустациям, скорость роста которых зависит от состава сточной воды.

На чугунных трубопроводах отказы связаны в основном с нарушением герметичности раструбных соединений (более 40 %) и переломами труб (более 40 %).

Стальные трубы имеют диаметр 100-700 мм, между собой соединяются главным образом путем сварки стыков.

Наряду с очевидными достоинствами стальные трубы имеют существенный недостаток - образуется коррозия в результате взаимодействия с водой.

Наиболее часто встречающимся повреждением на стальных трубах являются свищи (более 90 %), которые вызваны воздействием внешней и внутренней коррозии труб.

Пластмассовые трубы соединяются между собой с помощью раструбных, фланцевых и резьбовых соединений, а также сварки и склейки.

Наименьшие уклоны трубопроводов и каналов для всех систем канализации: для труб диаметрами: 150 мм - 0,008, 200 мм - 0,007.

Пластмассовые трубы сильно зависят от механических свойств пластмасс: состава, температуры и возраста материала. Химические свойства пластмасс обеспечивают их высокую стойкость к большинству агрессивных сточных вод.

Наименьшие уклоны водоводов водопроводных сетей - не менее 0,001 по направлению к выпуску; при плоском рельефе местности возможно уменьшение уклона до 0,0005.

На канализационной сети устраиваются колодцы различного технологического назначения - смотровые, перепадные, промывные, а также дождеприемники и соединительные камеры.

Смотровые колодцы на канализационных сетях всех систем предусматриваются:

в местах присоединений;

в местах изменения направления, уклонов и диаметров трубопроводов;

на прямых участках на расстояниях в зависимости от диаметра труб: 150 мм - 35 м; от 200 до 450 мм - 50 м; от 500 до 600 мм - 75 м; от 700 до 900 мм - 100 м; от 1000 до 1400 мм - 150 м; от 1500 до 2000 мм - 200 м; свыше 2000 мм - от 250 до 300 м.

Тепловые сети

Для трубопроводов тепловых сетей в основном применяются стальные электросварные трубы. В отдельных случаях, когда применение сварных труб не допускается, применяются стальные бесшовные трубы. Для трубопроводов тепловых сетей с температурой воды и пара 150 °С и ниже при давлении до 1,6 МПа включительно возможно применение труб из ВЧШГ.

Для трубопроводов тепловых сетей при рабочем давлении пара 0,07 МПа и ниже и температуре воды 115 °С и ниже, при давлении до 1,6 МПА включительно возможно применение неметаллических труб, если качество этих труб удовлетворяет санитарным требованиям и соответствует параметрам теплоносителя в тепловых сетях.

Для сетей горячего водоснабжения в закрытых системах теплоснабжения и от котельных применяются оцинкованные или эмалированные стальные трубы.

Уклон трубопроводов тепловых сетей должен быть не менее 0,002.

Приложение Г

Рекомендуемые формы ведомостей для описания камер, смотровых колодцев и трасс подземных водонесущих коммуникаций (водопровода, канализации и теплосети)

Таблица Г.1 - Описание трассы теплосети, расположенной в зоне влияния строительства

Назначение

 

Вид

 

Возраст

 

Протяженность сети, попадающей в зону влияния строительства, м

 

Количество смотровых люков коллектора и камер, попадающих в зону влияния строительства, шт.

 

Расположение по отношению к поверхности земли

 

Наличие защитного канала (тоннеля)

 

Вид вмещающего грунта

 

Глубина заложения, м:

 

абсолютные отметки низа коллектора

 

относительные отметки низа коллектора от уровня поверхности земли

 

Характеристика труб:

 

материал

 

диаметр, мм

 

длина секций, м

 

характеристика стыка между трубами

 

наличие компенсаторов

 

состояние труб и арматуры

 

Характеристика смотровых колодцев коллектора и камер:

 

материал конструкций

 

состояние конструкций по внешнему виду

 

наличие воды, пара, утечек в колодце

 

Состояние поверхности земли по трассе

 

Таблица Г.2 - Описание камеры, расположенной в зоне влияния строительства

Вид

 

Вид вмещающего грунта

 

Абсолютная отметка поверхности земли, м

 

Глубина заложения днища камеры, м:

 

абсолютная отметка

 

относительная отметка

 

Абсолютные отметки осей труб

 

Характеристика труб:

 

материал

 

диаметр, мм

 

состояние труб и арматуры по внешнему виду

 

Характеристика камеры:

 

материал конструкции

 

состояние конструкций по внешнему виду

 

наличие воды, пара, утечек в камере

 

Состояние поверхности земли вблизи камеры

 

Номер рисунка с фотографией камеры

 

Таблица Г.3 - Описание трассы водопровода, расположенного в зоне влияния строительства

Назначение

 

Вид

 

Возраст

 

Протяженность сети, попадающей в зону влияния строительства, м

 

Количество смотровых колодцев, попадающих в зону влияния строительства, шт.

 

Расположение по отношению к поверхности земли

 

Наличие защитного канала (тоннеля)

 

Вид вмещающего грунта

 

Глубина заложения, м:

 

абсолютные отметки верха труб

 

относительная отметка верха трубы от уровня поверхности земли

 

Характеристика труб:

 

материал

 

диаметр, мм

 

длина секций, м

 

характеристика стыка между трубами

 

наличие компенсаторов

 

состояние труб и арматуры

 

Характеристика колодцев:

 

материал конструкций

 

состояние конструкций по внешнему виду

 

наличие воды, пара, утечек в колодце

 

Состояние поверхности земли по трассе

 

Таблица Г.4 - Описание смотрового колодца водопровода, расположенного в зоне влияния строительства

Вид колодца

 

Вид вмещающего грунта

 

Абсолютная отметка поверхности земли, м

 

Глубина заложения верха трубы в колодце, м:

 

абсолютная отметка

 

относительная отметка

 

Характеристика труб:

 

материал

 

диаметр, мм

 

состояние труб и арматуры по внешнему виду

 

Уклоны труб:

 

присоединяемой трубы

 

отводящей трубы

 

Характеристика колодца:

 

материал конструкции

 

состояние конструкций по внешнему виду

 

наличие воды, пара, утечек в колодце

 

Состояние поверхности земли вблизи колодца

 

Номер рисунка с фотографией колодца

 

Таблица Г. 5 - Описание трассы канализации, расположенной в зоне влияния строительства

Назначение

 

Вид

 

Возраст

 

Протяженность сети, попадающей в зону влияния строительства, м

 

Количество смотровых колодцев, попадающих в зону влияния строительства, шт.

 

Расположение по отношению к поверхности земли

 

Наличие защитного канала (тоннеля)

 

Вид вмещающего грунта

 

Глубина заложения, м:

 

абсолютные отметки лотков

 

относительные отметки лотков от уровня поверхности земли

 

Характеристика труб:

 

материал

 

диаметр, мм

 

длина секций, м

 

характеристика стыка между трубами

 

наличие компенсаторов

 

состояние труб

 

Характеристика колодцев:

 

материал конструкций

 

состояние конструкций по внешнему виду

 

уровень воды, наличие пара и др.

 

Состояние поверхности земли по трассе

 

Прочие сведения

 

Таблица Г.6 - Описание смотрового колодца канализации, расположенного в зоне влияния строительства

Вид колодца

 

Вид вмещающего грунта

 

Абсолютная отметка поверхности земли, м

 

Глубина заложения лотка колодца, м:

 

абсолютная отметка

 

относительная отметка

 

Характеристика труб:

 

материал

 

диаметр, мм

 

состояние труб и арматуры по внешнему виду

 

Уклоны труб:

 

присоединяемой трубы

 

отводящей трубы

 

Характеристика колодца:

 

материал конструкции

 

состояние конструкций по внешнему виду

 

уровень воды, наличие пара и др.

 

Состояние поверхности земли вблизи колодца

 

Номер рисунка с фотографией колодца

 

Таблица Г.7 - Описание трассы дождевой канализации, расположенной в зоне влияния строительства

Назначение

 

Вид

 

Возраст

 

Протяженность сети, попадающей в зону влияния строительства, м

 

Количество колодцев, попадающих в зону влияния строительства, шт.

 

Расположение по отношению к поверхности земли

 

Наличие защитного канала (тоннеля)

 

Вид вмещающего грунта

 

Глубина заложения, м:

 

абсолютные отметки лотков в колодцах

 

относительные отметки лотков в колодцах от уровня поверхности земли

 

Характеристика труб:

 

материал

 

диаметр, мм

 

длина секций, м

 

характеристика стыка между трубами

 

состояние труб

 

Характеристика колодцев:

 

материал конструкций

 

состояние конструкций по внешнему виду

 

уровень воды, наличие пара и др.

 

Состояние поверхности земли по трассе

 

Прочие сведения

 

Таблица Г.8 - Описание смотрового колодца дождевой канализации, расположенного в зоне влияния строительства

Вид колодца

 

Вид вмещающего грунта

 

Абсолютная отметка поверхности земли, м

 

Глубина заложения лотка колодца, м:

 

абсолютная отметка

 

относительная отметка

 

Характеристика труб:

 

материал

 

диаметр, мм

 

состояние труб по внешнему виду

 

Уклоны труб:

 

присоединяемой трубы

 

отводящей трубы

 

Характеристика колодца:

 

материал конструкции

 

состояние конструкций по внешнему виду

 

Состояние поверхности земли вблизи колодца

 

Номер рисунка с фотографией колодца

 

Приложение Д

Поиск утечек из водонесущих коммуникаций

Причинами появления утечек из подземных водонесущих коммуникаций являются: возникновение гидравлических ударов; вибрация стыков, приводящая к нарушению стыковых соединений; повышение напоров в сетях с целью поддержания расчетных расходов воды при загрязнении труб отложениями; электрохимическая и почвенная коррозия; блуждающие токи; недоброкачественное выполнение монтажных работ; постороннее воздействие на трубопроводы (например, при производстве земляных работ вблизи них).

Число повреждений увеличивается начиная с октября по февраль.

При выполнении работ по мониторингу подземных водонесущих коммуникаций необходимо систематически проводить работу по выявлению утечек. Основные методы поиска утечек из подземных водонесущих коммуникаций представлены в табл. Д.1.

Таблица Д.1 - Методы поиска утечек из подземных водонесущих коммуникаций

Методы выявления

Признаки утечек

Визуальный осмотр

Парение над люками, зимой появление проталин или парение на поверхности земли, шум вытекающей струи, вода на днище камер или повышение уровня воды в колодцах

Периодические измерения характеристик геомассива в наблюдательных скважинах либо контрольных точках

 

измерение уровня воды в гидрогеологических скважинах

Повышение уровня воды;

измерение температуры грунта в скважинах или с помощью зондов

Повышение температуры грунта или воды;

определение химсостава грунта или подземных вод

Изменение химического состава подземных вод (повышение концентрации хлоридов, железа, аммоний-иона и др.)

Измерение напора и расхода воды в напорных трубопроводах

Снижение напора и расхода воды

Акустическая инспекция путем прослушивания напорного трубопровода через арматуру

Появление шумов

Диагностика трубопроводов с помощью электронно-акустических приборов поиска повреждений

Определение координат утечек по генерируемым в результате утечек шумам (узкого частотного диапазона) в трубопроводах

Дистанционная (с поверхности земли) термография с помощью тепловизоров

Анализ тепловых карт участков местности с выделением зон аномального повышения температуры

Приложение Е

Перечень основных дефектов трубопроводов водонесущих коммуникаций

Наименование дефектов

Краткая характеристика дефекта

Причины появления дефекта

Нарушения в стыках труб с раструбными соединениями

Неплотная стыковка

Наличие незначительного зазора (в пределах длины раструба), проектная ось не нарушена

Некачественные укладка и заделка стыков во время строительства, дефект эластичной прокладки, деформации вмещающего массива грунта, изменение свойств грунтов основания

Нарушение (изменение) угла стыковки

Наличие угла между продольными осями

Нарушение стыковки по горизонтали и (или) по вертикали

Несовпадение продольных осей при их параллельности и одинаковых диаметрах труб

Продольное смещение труб без нарушения соосности

Расхождение стыка при неизменности продольных осей

Разрушение торцов в пределах стыков

Наличие закрытой круговой трещины в пределах стыка

Заводской либо строительный дефект торцов труб

Дефект эластичных прокладок

Выход эластичной прокладки из торцевого паза трубы и ее провисание

Неплотность прилегания к пазу трубы, дефект заводского изготовления паза

Дефект заделки стыка (чеканки) кольцевого пространства раствором

Выход заделочного раствора из стыка внутрь трубопровода

Некачественная заделка стыков

Изменение положения трубопроводов

Несоответствие размеров труб направлению потока

Диаметр труб в направлении потока уменьшается

Дефект укладки во время строительства

Нарушение проектного уклона

Нарушение уклона отдельных труб по трассе, в том числе образование обратного уклона

Дефект укладки во время строительства, вертикальная подвижка грунтов в результате динамических и статических воздействий

Смещение и деформации в плане

Смещение и изгиб плетей трубопроводов в плане между колодцами

Дефект укладки во время строительства, горизонтальная подвижка грунтов в результате динамических и статических воздействий

Деформации труб

Продольные трещины (сквозные и несквозные)

Изменение первоначальной формы, образование продольных трещин в днище, стенках и своде трубы в результате ее сдавливания

Подвижки грунтов в результате значительных динамических и статических воздействий

Поперечные круговые трещины (сквозные и несквозные)

Образование поперечных круговых трещин по контуру трубы, в том числе в результате ее излома

Изгиб труб в результате значительных динамических и статических воздействий

Повреждение трубы в районе стыка

Образование трещин, выбоин, сколов в районе стыка

Дефект заводского изготовления, некачественные строительные работы

Дефекты поверхности труб

Образование сквозных отверстий (свищей)

Образование сквозных отверстий в стенках и своде

Дефект заводского изготовления, результат воздействия агрессивных вод и грунтов к материалу труб

Коррозия

Коррозия внутренней и внешней поверхностей труб с образованием коррозионных кратеров

Внутренняя поверхность - воздействие транспортируемых вод и образующихся газов. Наружная поверхность - воздействие агрессивных вод и грунтов

Абразивный износ

Истирание внутренней поверхности трубы

Воздействие на стенки транспортируемой жидкости с твердыми включениями

Наличие препятствий (засоров)

Наносы в виде осадившегося песка

Выпадение песка в лотковой части

Изменение гидравлического режима

Наличие случайных предметов

Перекрытие живого сечения посторонними предметами

Отсутствие решеток, некачественная заделка стыков, повреждение стенок трубы

Отложения жировых и солевых наносов

Отложения на внутренних стенках и днище минеральных и органических солей, а также жиров

Состав транспортируемых жидкостей

Нарушения герметичности трубопроводов

Сквозные трещины в трубах

Фильтрация транспортируемых и подземных вод через сквозные трещины в трубах

Повреждения и деформации труб

Зазоры в стыках труб

Фильтрация транспортируемых и подземных вод сквозь зазоры в стыках труб

Повреждения и деформации труб

Приложение Ж

Показатель степени обеспечения сохранности подземных водонесущих коммуникаций

При анализе влияния нового строительства на существующие коммуникации удобно использовать показатель степени обеспечения сохранности подземных водонесущих коммуникаций. Он наглядно показывает соотношение между прогнозными и предельными значениями деформаций и фактически указывает на степень обеспечения сохранности существующих коммуникаций. Расчет показателя степени обеспечения сохранности коммуникаций выполняется по формулам (Ж.1) - (Ж.3):

ni = ([i] – i) / [i]) 100 %;                                                                (Ж.1)

nR = ([R] - R) / [R]) 100 %;                                                            (Ж.2)

nε = ([ε] - ε) / [ε]) 100 %,                                                               (Ж.3)

где nε, ni nR - показатели степени обеспечения сохранности коммуникаций, рассчитанные для различных видов деформаций подземных коммуникаций. Степень запаса со знаком «+» означает превышение предельных дополнительных деформаций над прогнозными, знаком «-» - наоборот;

i = (sm - sm-1) / Δх и [i] - прогнозный (расчетный) и допустимый наклон секций труб, где sm и sm-1 - соответственно величины вертикальных перемещений в точках т и т - 1, Δх - длина интервала между точками m и т - 1;

R = Δхср / (in - in-1) и [R], км - прогнозный (расчетный) и допустимый радиус кривизны, где in in-1 - соответственно величины наклонов n-го и n-1 интервалов, Δхср – средняя длина интервалов;

ξ, мм - прогнозное (расчетное) горизонтальное перемещение;

ε = (ξт - ξm-1) / Δх и [ε] - прогнозная (расчетная) и допустимая относительная горизонтальная деформация растяжения или сжатия, где ξт и ξm-1 - соответственно величины горизонтальных сдвижений в точках т и т - 1, Δх - длина интервала между точками т и т - 1.

Приложение И1

Расчет стальных напорных трубопроводов от дополнительных статических воздействий

В общем случае для стальных напорных трубопроводов повышенной степени ответственности, а также состояние которых не определено или по данным обследований признано - неудовлетворительным (большой срок эксплуатации, плохое качество сварных швов и др.), расчет трубопроводов производится по первой группе предельных состояний для определения необходимости и достаточности мероприятий по их защите и заключается в проверке продольных напряжений исходя из условия:

σсmcRp;                                                                                        (И.1)

σс = σд + ψ(σи + σΔt + σсг)                                                              (И.2)

где

σс

- растягивающее напряжение в трубопроводе, возникающее в результате действия статических воздействий и нагрузок;

тс

- коэффициент условий работы, принимаемый равным 0,75 для напорных трубопроводов диаметром 500 мм и более, равным 0,9 для напорных трубопроводов диаметром менее 500 мм;

Rp

- расчетное сопротивление материала (сварных соединений) трубопровода растяжению;

σд = μ(PDв/2δ)

- растягивающее напряжение в трубопроводе, возникающее при эксплуатации трубопроводов от действия внутреннего давления;

μ

- коэффициент Пуассона, принимается равным для стали 0,3;

Р

- внутреннее избыточное давление транспортируемого продукта, принимаемое с коэффициентом перегрузки 1,15;

Dв

- внутренний диаметр трубопровода;

δ

- толщина стенки трубопровода;

ψ

- коэффициент сочетания нагрузок, принимаемый по СНиП 2.01.07;

σΔt = αtEΔt

- растягивающее напряжение в трубопроводе, возникающее при эксплуатации трубопроводов от изменения температуры стенок труб;

αt

- коэффициент линейного расширения стали, принимаемый равным 12·10-6 С-1;

Е

- модуль упругости металла труб;

Δt

- расчетный перепад температур, устанавливаемый как максимально возможная разность между температурой трубопровода при укладке в траншее и минимально возможной температурой грунта на уровне заложения трубы в период эксплуатации;

σи

- растягивающее напряжение в трубопроводе, возникающее от изгиба трубопровода в результате дополнительных деформаций грунта в основании трубопровода;

σсг

- растягивающее напряжение в трубопроводе, возникающее от дополнительных статических воздействий в результате горизонтальных сдвижений грунта.

_____________

1Составлено с использованием «Руководства по расчету зданий и сооружений, проектируемых на подрабатываемых территориях» (Л., 1968).

Приложение К1

Определение безопасных расстояний до подземных коммуникаций при погружении свай

Проектирование свайных фундаментов вблизи действующих подземных коммуникаций следует выполнять без учета влияния забивки свай на сохранность коммуникаций, если выполняются следующие условия:

при забивке свай и шпунта молотами массой до 3,5 т расстояние до коммуникаций не менее 10 м;

при вибропогружении свай и шпунта расстояние до коммуникаций не менее 15 м;

при забивке свай и шпунта молотами массой до 3,5 т для подземных стальных напорных трубопроводов, находящихся в удовлетворительном состоянии, проложенных в каналах, стальных кожухах или защитных коробах, при внутреннем давлении до 2 МПа расположенных на расстоянии более 5 м.

Для стальных трубопроводов повышенной степени ответственности, а также состояние которых не определено или по данным обследований признано неудовлетворительным (большой срок эксплуатации, плохое качество сварных швов и др.), безопасные расстояния определяются из условий:

σс + ψ(σк + σвг) ≤ mcRp,                                                             (K.1)

где

σс

- растягивающее напряжение в трубопроводе, возникающее в результате действия статических воздействий и нагрузок (см. приложение И);

ψ

- коэффициент сочетания нагрузок, принимаемый по СНиП 2.01.07;

σк

- дополнительное растягивающее напряжение в трубопроводе, возникающее при колебаниях грунта в основании;

σвг

- дополнительное растягивающее напряжение в трубопроводе, возникающее при изгибе трубопровода от давления вытесняемого сваей грунта;

mc

- коэффициент условий работы;

Rp

- расчетное сопротивление материала (сварных соединений) трубопровода растяжению.

Для составных безнапорных трубопроводов из керамических, чугунных, асбоцементных и других раструбных труб допустимые расстояния до погружаемых свай и шпунта определяются из условия, что трубопровод находится за пределами зоны остаточных деформаций грунта вокруг погружаемых свай, определяемой по табл. К.1. При необходимости погружения свай больших сечений или в других грунтовых условиях радиус зоны деформаций грунта определяется экспериментально по перемещениям грунтовых марок и грунтовым инклинометрам, устанавливаемым на различных расстояниях от свай в радиальном направлении с шагом 0,15 м. Расстояние, за пределами которого перемещения марок и инклинометров не будет, принимается за радиус зоны деформаций грунта.

Таблица К.1

Характеристика грунта

Радиус зоны деформации грунта, м, при забивке свай сечением, см

20×20

30×30

40×40

Пески и супеси

1,5

2,5

3,5

Глины и суглинки

1,5

2,0

3,0

___________

1Составлено с использованием ВСН 490-87 и «Рекомендаций по забивки свай вблизи зданий, сооружений и подземных коммуникаций» (Уфа: НИИпромстрой, 1988).

Ключевые слова: проектирование и строительство, сохранность, подземные водонесущие коммуникации, защита



уроки по алготрейдингу на Python с нуля



Яндекс цитирования

   Copyright © 2008-2026 ,  www.infosait.ru

backtrader - уроки алготрейдинга на python