ИНФОСАЙТ.ру
Госты, стандарты, нормативы. В библиотеке 60000 документов. Регулярное обновление. Круглосуточный бесплатный доступ!
БИБЛИОТЕКА ГОСТОВ, СТАНДАРТОВ И НОРМАТИВОВ

:: АЛГОТРЕЙДИНГ ::


АЛГОТРЕЙДИНГ
шаг за шагом


БЕСПЛАТНЫЕ УРОКИ по созданию торговых роботов на PYTHON с нуля, шаг за шагом.


Минимальные знания на PYTHON.
Библиотеки BackTrader и Pandas, сигналы с Pine Script из TradingView.
Связка с брокерами, телеграм.
Создание простых интерфейсов.

 

Все документы, представленные в каталоге, не являются их официальным изданием и предназначены исключительно для ознакомительных целей. Электронные копии этих документов могут распространяться без всяких ограничений. Вы можете размещать информацию с этого сайта на любом другом сайте.


ГОСУДАРСТВЕННЫЙ СТАНДАРТ СОЮЗА ССР

БЕТОНЫ

УЛЬТРАЗВУКОВОЙ МЕТОД ОПРЕДЕЛЕНИЯ ПРОЧНОСТИ

ГОСТ 17624-87

ГОСУДАРСТВЕННЫЙ СТРОИТЕЛЬНЫЙ КОМИТЕТ СССР

Москва

ГОСУДАРСТВЕННЫЙ СТАНДАРТ СОЮЗА ССР

БЕТОНЫ

Ультразвуковой метод определения прочности

Concrete. Ultrasonic method

of strength determination

ГОСТ

17624-87

Дата введения 01.01.88

Настоящий стандарт распространяется на конструкционные тяжелый, легкий и плотный силикатный бетоны сборных и монолитных бетонных и железобетонных изделий, конструкций и сооружений (далее - конструкций) и устанавливает ультразвуковой импульсный метод (далее - ультразвуковой метод) определения прочности бетона классов В7,5-В35 (марок М100-М400) на сжатие, в том числе в процессе твердения бетонов в тепловых установках (кроме бетонов, изготовляемых автоклавной обработкой) или в естественных условиях.

Прочность бетона монолитных конструкций определяют только способом сквозного прозвучивания.

Контроль прочности бетона конструкций проводят по ГОСТ 18105.

1. ОБЩИЕ ПОЛОЖЕНИЯ

1.1. Ультразвуковой метод применяют для определения прочности бетона: отпускной, передаточной, в установленном нормативно-технической и проектной документацией промежуточном и проектном возрастах, в процессе твердения, а также при экспертном контроле.

1.2. Ультразвуковой метод основан на связи между скоростью распространения ультразвуковых колебаний и его прочностью.

1.3. Ультразвуковые измерения в бетоне проводят способами сквозного или поверхностного прозвучивания в соответствии с приложением 1.

1.4. Прочность бетона в конструкциях определяют по экспериментально установленным градуировочным зависимостям "скорость распространения ультразвука - прочность бетона" (далее - скорость - прочность) или "время распространения ультразвука - прочность бетона" (далее - время - прочность) в зависимости от способа прозвучивания.

1.5. Прочность бетона определяют на участках конструкций, не имеющих видимых повреждений (отслоения защитного слоя, трещин, каверн и др.).

1.6. Ультразвуковые испытания проводят при положительной температуре бетона.

Допускается проведение ультразвуковых испытаний конструкций при отрицательной температуре бетона не ниже минус 10 °С при условии, что в процессе их хранения относительная влажность воздуха не превышала 70 %.

2. СРЕДСТВА КОНТРОЛЯ

2.1. Ультразвуковые измерения проводят приборами, предназначенными для измерения времени распространения ультразвука в бетоне и аттестованными в установленном порядке по ГОСТ 8.383.

2.2. Предел допускаемой абсолютной погрешности измерения времени распространения ультразвука на стандартных образцах, входящих в комплект прибора, не должен превышать значения

                                                                                        (1)

где t - время распространения ультразвука, мкс.

2.3. Типы ультразвуковых приборов и их технические характеристики приведены в приложении 2.

Допускается применение других ультразвуковых приборов, предназначенных для испытания бетона, удовлетворяющих требованиям пп. 2.1, 2.2.

2.4. Приборы для контроля процессов ускоренного твердения бетона должны быть укомплектованы термостойкими преобразователями, которые крепят на бортоснастке формы, или акустическими зондами, погружаемыми в бетонную смесь.

2.5. Между бетоном и рабочими поверхностями ультразвуковых преобразователей должен быть обеспечен надежный акустический контакт, для чего применяют вязкие контактные материалы (солидол по ГОСТ 4366, технический вазелин по ГОСТ 5774 и др.).

Допускается применение переходных устройств или прокладок, обеспечивающих сухой способ акустического контакта и удовлетворяющих требованиям п.п. . 2.1, 2.2.

Способ контакта должен быть одинаковым при контроле бетона в конструкции и установлении градуировочной зависимости, кроме случаев, предусмотренных п. 4.5.

3. ПОДГОТОВКА ИСПЫТАНИЯ

3.1. Подготовка испытания включает проверку используемых приборов в соответствии с инструкциями по эксплуатации и установку градуировочных зависимостей в соответствии с выбранным способом прозвучивания.

3.2. Градуировочную зависимость "скорость - прочность" устанавливают при испытании конструкций способом сквозного прозвучивания. Градуировочную зависимость "время - прочность" устанавливают при испытании конструкций способом поверхностного прозвучивания.

Допускается при испытании конструкций способом поверхностного прозвучивания использовать градуировочную зависимость "скорость - прочность" с учетом коэффициента перехода, определяемого в соответствии с приложением 3.

3.3. Градуировочную зависимость устанавливают по результатам ультразвуковых измерений в бетонных образцах-кубах и механических испытаний тех же образцов.

Механические испытания образца проводят по ГОСТ 10180 непосредственно после ультразвуковых измерений.

При необходимости проведения ультразвуковых испытаний бетона конструкций непосредственно после термообработки (горячего) для определения отпускной прочности бетона этих конструкций после их остывания допускается устанавливать градуировочную зависимость по результатам ультразвуковых измерений горячих образцов и механических испытаний тех же образцов после их остывания.

3.4. Градуировочную зависимость устанавливают отдельно по каждому виду нормируемой прочности, указанному в п. 1.1, для чего используют не менее 15 серий образцов-кубов.

3.5. При установлении градуировочной зависимости для приемочного контроля образцы изготовляют в соответствии с требованиями ГОСТ 10180 в разные смены в течение не менее 3 сут из бетона того же номинального состава, по той же технологии, при том же режиме твердения, что и конструкции, подлежащие контролю.

В случае применения на производстве способов и режимов уплотнения бетона конструкций, приводящих к изменению его состава за счет отжатия воды затворения, способ приготовления образцов необходимо указывать в нормативно-технической или проектной документациях на эти конструкции.

Допускается изготовление до 40 % общего числа образцов из бетонной смеси, состав которой отличается от номинального по цементно-водному отношению не более 0,4.

3.6. При определении прочности бетона в процессе его ускоренного твердения для установления градуировочной зависимости в тепловую установку помещают образцы, число которых равно числу промежутков времени, на которое разбивают период изотермического прогрева. На каждом из этих этапов испытывают по одной серии образцов. Например, если период изотермического прогрева разбит на равные четыре промежутка времени, то в тепловую установку закладывают четыре серии образцов.

Общее число образцов для установления градуировочной зависимости должно отвечать требованиям п. 3.4.

3.7. При установлении градуировочной зависимости для определения прочности бетона в процессе естественного твердения сроки испытаний образцов необходимо выбирать из следующего параметрического ряда: 3, 7, 14, 28, 60, 90, 180, 365 сут. Образцы испытывают не менее чем в трех возрастах, один из которых является проектным. В каждом возрасте испытывают не менее 4 серий образцов.

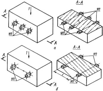
3.8. Время распространения ультразвука в образцах при установлении градуировочной зависимости "скорость - прочность" измеряют способом сквозного прозвучивания в соответствии с черт. 1.

База прозвучивания должна быть не менее 100 мм. Допускается базу прозвучивания снизить до 70 мм при проведении контроля мелкозернистых бетонов и бетона на ранних стадиях твердения (скорость ультразвука менее 2000 м/с).

3.9. Время распространения ультразвука в образцах при установлении градуировочной зависимости "время - прочность" измеряют способом поверхностного прозвучивания в соответствии с черт. 1.

Минимальная база прозвучивания должна быть не менее 120 мм.

Время распространения ультразвука следует измерять на поверхности, занимающей при изготовлении то же положение относительно формы и направления формования, что и контролируемая поверхность изделия.

3.10. В зоне контакта ультразвуковых преобразователей с поверхностью бетона не должно быть раковин и воздушных пор глубиной более 3 мм и диаметром более 6 мм, а также выступов более 0,5 мм. Поверхность бетона должна быть очищена от пыли.

3.11. Относительная погрешность измерения базы прозвучивания не должна превышать 0,5 %.

3.12. Число измерений времени распространения ультразвука в каждом образце должно быть при сквозном прозвучивании 3, при поверхностном - 4.

3.13. Отклонение отдельного результата измерения времени распространения ультразвука в каждом образце от среднего арифметического значения результатов измерений для данного образца не должно превышать 2 %.

Результаты измерения времени распространения ультразвука в образцах, не удовлетворяющих этому условию, не учитывают при расчете среднего арифметического значения скорости распространения ультразвука в данной серии образцов. При наличии в серии двух образцов, не удовлетворяющих этому условию, результаты испытаний серии бракуют.

3.14. Градуировочную зависимость устанавливают по единичным значениям скорости (времени) ультразвука и прочности бетона.

а - схема испытания кубов способом сквозного прозвучивания;

б - схема испытания кубов способом поверхностного прозвучивания;

УП - ультразвуковые преобразователи; 1 - направление формования;

2 - направление испытания при сжатии; l - база прозвучивания

Черт. 1

За единичное значение прочности бетона принимают среднюю прочность бетона в серии образцов, определенную по ГОСТ 10180.

За единичное значение скорости (времени) ультразвука принимают среднее арифметическое значение этих величин в серии образцов, используемых для определения единичного значения прочности.

3.15. Установление, проверку градуировочной зависимости и оценку ее погрешности проводят в соответствии с методикой, приведенной в приложении 4.

Примеры установления градуировочной зависимости и оценки погрешности определения прочности бетона приведены в приложении 5.

3.16. Градуировочную зависимость устанавливают заново при изменении номинального состава бетона по ГОСТ 27006.

4. ПРОВЕДЕНИЕ ИСПЫТАНИЙ И ОПРЕДЕЛЕНИЕ ПРОЧНОСТИ БЕТОНА В КОНСТРУКЦИЯХ

4.1. Число и расположение контролируемых участков на конструкции должны отвечать требованиям ГОСТ 18105 и указываться в технологических картах на контроль или в нормативно-технической и проектной документации на конструкции или устанавливаться программой обследования, согласованной с проектной организацией. На каждом контролируемом участке проводят одно измерение времени распространения ультразвука при сквозном и не менее двух при поверхностном прозвучивании. В последнем случае прочность бетона определяют по среднему значению полученных результатов измерения времени распространения ультразвука.

Качество поверхности бетона контролируемого участка конструкции в зоне контакта с ультразвуковыми преобразователями должно соответствовать требованиям п. 3.10. Допускается проведение измерений времени распространения ультразвука в конструкциях через облицовочные материалы и декоративные покрытия по методикам, согласованным с головными научно-исследовательскими организациями.

4.2. Сборные линейные конструкции (балки, ригели, колонны и др.) испытывают, как правило, способом сквозного прозвучивания в поперечном направлении.

Изделия, конструктивные особенности которых затрудняют осуществление сквозного прозвучивания, а также плоские конструкции (плоские, ребристые и многопустотные панели перекрытия, стеновые панели и т. д.) испытывают способом поверхностного прозвучивания. При этом база прозвучивания при измерениях на конструкциях должна быть такой же, как на образцах при установлении градуировочной зависимости.

Возраст бетона контролируемых конструкций не должен отличаться от возраста бетона образцов, испытанных для установления градуировочной зависимости, более чем на 50 % - при контроле нормируемой прочности бетона, и 25 % - при определении прочности бетона в процессе твердения.

4.3. Измерение времени распространения ультразвука в бетоне конструкций следует проводить в направлении, перпендикулярном уплотнению бетона. Расстояние от края конструкции до места установки ультразвуковых преобразователей должно быть не менее 30 мм.

4.4. Измерение времени распространения ультразвука в бетоне конструкций следует проводить в направлении, перпендикулярном направлению рабочей арматуры. Концентрация арматуры вдоль выбранной линии прозвучивания не должна превышать 5 %.

Допускается прозвучивание вдоль линии, расположенной параллельно рабочей арматуре, если расстояние от этой линии до арматуры составляет не менее 0,6 длины базы.

4.5. При определении прочности бетона в процессе его твердения места установки и число зондов или преобразователей устанавливают в зависимости от конструктивных и технологических особенностей контролируемых конструкций.

При контроле ускоренного твердения бетона в нескольких однотипных конструкциях преобразователи устанавливают в конструкции, находящейся в наименее благоприятных условиях тепловой обработки.

Схемы установки преобразователей приведены в приложении 6.

Преобразователи, устанавливаемые на бортоснастке формы, должны быть электрически и акустически изолированы от нее термостойкими прокладками, например, из пористой резины толщиной не менее 5 мм. Акустический зонд в бетон конструкции устанавливают в процессе формования. При этом не допускается нанесение смазки на рабочие поверхности преобразователей.

4.6. Прочность бетона контролируемого участка конструкции определяют по градуировочной зависимости, установленной в соответствии с разд. 3 при условии, что измеренное по п. 4.1 значение скорости (времени) ультразвука находится в пределах между наименьшим и наибольшим значениями скорости (времени) ультразвука в образцах, испытанных при построении градуировочной зависимости.

При контроле прочности бетона в конструкциях по ГОСТ 18105 полученное значение прочности принимают за среднюю прочность контролируемого участка конструкции.

4.7. Экспертный контроль прочности бетона в строящихся и эксплуатируемых конструкциях и сооружениях проводят в соответствии с методикой приложения 7.

5. ОФОРМЛЕНИЕ РЕЗУЛЬТАТОВ

5.1. Результаты измерений по п.п. 3.5-3.14 заносят в журнал испытаний по форме, указанной в приложении 8.

5.2. Результаты измерений по п. 4.6 заносят в журнал испытаний по форме, указанной в приложении 9.

ПРИЛОЖЕНИЕ 1

Справочное

СПОСОБЫ ПРОЗВУЧИВАНИЯ БЕТОНА

1. При измерении времени распространения ультразвука способом сквозного прозвучивания ультразвуковые преобразователи устанавливают с противоположных сторон образца или конструкции в соответствии с черт. 2а.

Скорость ультразвука (v), м/с, вычисляют по формуле

                                                                                                     (2)

где t - время распространения ультразвука, мкс;

l - расстояние между центрами установки преобразователей (база прозвучивания), мм.

2. При измерении времени распространения ультразвука способом поверхностного прозвучивания ультразвуковые преобразователи устанавливают на одной стороне образца или конструкции в соответствии с черт. 2б.

а - схема испытания бетона способом сквозного прозвучивания; б - схема испытания бетона способом поверхностного прозвучивания;

УП - ультразвуковые   преобразователи;

l - база прозвучивания

Черт. 2

ПРИЛОЖЕНИЕ 2

Справочное

ТЕХНИЧЕСКИЕ ХАРАКТЕРИСТИКИ

ультразвуковых приборов для определения прочности бетона

Таблица 1

 

Характеристика

 

Тип прибора

Бетон-12

УК-14П*

УК-10ПМ*

УФ-10П*

Диапазон измерения времени распространения ультразвуковых колебаний, мкс

 

20-999,9

20-9000

8-8500 в ручном режиме, до 9999 в автоматическом режиме

20-999,9

Режим измерения

Автоматический

Автоматический, ручной

 

Автоматический

Индикация

Цифровая

Цифровая

Электрическое питание

 

Автономное

Универсальное

Сетевое

Наличие ЭЛТ

-

-

Да 

Да

Число каналов измерения

1

1

1

12

Наличие микропроцессора

-

-

-

Да

Конструктивное исполнение

Портативный

Переносной

Стационарный

Масса, кг

2,6

1,5

10,0

28,0

Предприятие-изготовитель

Опытный завод ВНИИжелезобетон,

г. Москва

"Электроточприбор", г. Кишинев

_____________

* В комплекте с акустическими зондами применяются для контроля твердения бетона. Предприятие-изготовитель зондов - завод "Электроточприбор".

ПРИЛОЖЕНИЕ 3

Рекомендуемое

ЭКСПЕРИМЕНТАЛЬНОЕ ОПРЕДЕЛЕНИЕ КОЭФФИЦИЕНТОВ ПЕРЕХОДА ОТ СКОРОСТИ УЛЬТРАЗВУКА ПРИ ПОВЕРХНОСТНОМ ПРОЗВУЧИВАНИИ К СКОРОСТИ ПРИ СКВОЗНОМ ПРОЗВУЧИВАНИИ

1. Коэффициенты перехода (К) от скорости ультразвука при поверхностном прозвучивании к скорости при сквозном прозвучивании устанавливают в период подготовки к проведению испытаний конструкций и не реже одного раза в год.

2. Изготовляют не менее 6 призм размером не менее 100´100´200 мм в соответствии с требованиями ГОСТ 10180 из разных замесов бетона номинального состава по той же технологии и при том же режиме твердения, что и конструкции, подлежащие контролю способом поверхностного прозвучивания.

3. Измеряют время распространения ультразвука в каждой призме способом сквозного и поверхностного прозвучивания при постоянной базе по схеме, приведенной на черт. 3. Участки измерения времени распространения ультразвука при поверхностном прозвучивании должны соответствовать  требованиям п. 3.9. настоящего стандарта.

Способом поверхностного прозвучивания проводят не менее трех измерений времени распространения ультразвука на каждом участке измерения.

4. Коэффициент перехода (К) вычисляют по формуле

                                                                                                (3)

где Ki - значение коэффициента перехода, определенное по результатам ультразвуковых испытаний i-го образца по формуле

                                                                                                    4)

vi, viпов - средние значения скоростей ультразвука в i-том образце, измеренные соответственно при сквозном и поверхностном способах прозвучивания;

п - общее число призм, испытанных для определения коэффициента перехода К.

а - схема испытания призм способом сквозного прозвучивания; б - схема испытания призм способом поверхностного прозвучивания;

УП - ультразвуковые преобразователи; l - направление

формования

Черт. 3

5. Среднеквадратическое отклонение (Sк) коэффициента перехода вычисляют по формуле

                                                                                                         (5)

где 

Кмакс; Кмин - максимальное и минимальное из значений коэффициентов Кi (1 £ i £ n);

dn - коэффициент, значение которого в зависимости от числа призм (n) приведено в табл. 2.

Таблица 2

n

6

7

8

9

10

dn

2,51

3,0

3,47

3,92

4,35

Среднеквадратическое отклонение (Sк) коэффициента перехода следует учитывать при расчете погрешности градуировочной зависимости в соответствии с п. 3 приложения 4.

6. Ультразвуковые измерения, предусмотренные п. 3 настоящего приложения, возможно, проводить на участке контролируемых конструкций, допускающих техническую возможность как сквозного, так и поверхностного способов прозвучивания.

Число участков измерений должно быть не менее 6.

7. Прочность бетона в контролируемых участках конструкций при поверхностном прозвучивании с учетом коэффициента К определяют по градуировочной зависимости "скорость - прочность" в соответствии со скоростью ультразвука (v), м/с, вычисляемой по формуле

                                                                                           (6)

где tпов - время распространения ультразвука при поверхностном прозвучивании контролируемого участка конструкции, мкс;

l - база прозвучивания, мм.

База прозвучивания должна быть одинаковой при определении коэффициента перехода и проведении контроля прочности бетона в конструкциях и не должна превышать 400 мм.

ПРИЛОЖЕНИЕ 4

Обязательное

МЕТОДИКА УСТАНОВЛЕНИЯ ГРАДУИРОВОЧНЫХ ЗАВИСИМОСТЕЙ И ОЦЕНКИ ПОГРЕШНОСТИ ОПРЕДЕЛЕНИЯ ПРОЧНОСТИ

1. Градуировочные зависимости устанавливают в виде графика (или таблицы), построенного по уравнению, которое принимают:

1) линейного вида

                                                                                               (7)

при     

2) экспоненциального вида

                                                                                                  (8)

где х - скорость (время) распространения ультразвука;

Rн - прочность, определенная по уравнению

                                                                                              (9)

                                                                          (10)

                                                                   (11)

                                                                                                (12)

                                                                                                (13)

                                                                                                    (14)

                                                                                         (15)

- средняя прочность бетонов, испытанных при установлении градуировочной зависимости, МПа;

N - число серий образцов, испытанных при установлении градуировочной зависимости;

Rjф, xj - единичные значения прочности и скорости (времени) распространения ультразвука для j-й серии образцов, определяемые в соответствии с п. 3.14 настоящего стандарта;

Rмакс, Rмин - максимальное и минимальное значения прочности по испытанным сериям образцов, МПа.

2. Корректировку установленной градуировочной зависимости проводят путем отбраковки единичных результатов испытаний, не удовлетворяющих условию

                                                                                              (16)

где  S - остаточное среднее квадратическое отклонение, определенное

по формуле

                                                                                  (17)

Rjн - прочность бетона в j-й серии образцов, определенная по градуировочной зависимости

                                                  (18)

После отбраковки градуировочную зависимость устанавливают заново по оставшимся результатам испытаний.

Корректировку градуировочной зависимости проводят до тех пор, пока все единичные результаты испытаний будут удовлетворять условию (16).

3. Погрешность определения прочности бетона по установленным градуировочным зависимостям вычисляют по формуле

                                                                                         (19)

где   - среднеквадратическое отклонение коэффициента перехода (К), определенного в соответствии с приложением 3. Если коэффициент перехода не используют, то Sк = 0.

                                                       (20)

Если  то определение прочности бетона по настоящему стандарту не допускается.

4. Допускается использовать уравнение (7) при отклонениях, превышающих указанные в п. 1 в случаях, когда погрешность, определяемая по п. 3 настоящего приложения, находится в допускаемых пределах.

5. Проверка градуировочной зависимости

Проверку градуировочной зависимости проводят не реже одного раза в 2 мес.

5.1. Изготовляют не менее 6 серий образцов в соответствии с п. 3.5 настоящего стандарта. Определяют в каждой серии образцов в соответствия с разд. 3 настоящего стандарта единичные значения скорости ультразвука vj и прочности Rjф. В соответствии с единичным значением скорости ультразвука vj по градуировочной зависимости определяют прочность Rjн.

Вычисляют среднее значение скорости ультразвука  всех образцов, испытанных для проверки градуировочной зависимости.

Разделяют серии образцов на две группы. К первой группе относят серии образцов, единичные значения скорости ультразвука которых не превышают . Все остальные серии относят ко второй группе.

5.2. Градуировочная зависимость допускается к дальнейшему применению при одновременном выполнении следующих условий:

1) разность Rjф - Rjн не имеет одинакового знака в пяти из шести последовательных серий образцов:

2)

где                                                                            (21)

п - число серий образцов, испытанных для проверки градуировочной зависимости;

3) разность Rjф - Rjн не имеет одинакового знака для серий образцов первой и второй групп.

5.3. При невыполнении хотя бы одного из условий, предусмотренных п. 5.2 настоящего приложения, градуировочную зависимость устанавливают заново.

6. При изменении типа прибора и рабочей частоты преобразователей проверку градуировочной зависимости проводят по п. 5 настоящего приложения.

ПРИЛОЖЕНИЕ 5

Справочное

ПРИМЕРЫ УСТАНОВЛЕНИЯ ГРАДУИРОВОЧНОЙ ЗАВИСИМОСТИ И ОЦЕНКИ ПОГРЕШНОСТИ ОПРЕДЕЛЕНИЯ ПРОЧНОСТИ

1. Установление градуировочной зависимости „скорость - прочность" для контроля отпускной прочности

Прочность бетона класса В25 контролируют в конструкции способом сквозного прозвучивания. Для установления градуировочной зависимости между скоростью ультразвука и прочностью было испытано в течение 5 сут 20 серий образцов-кубов размером 100´100´100 мм в возрасте от 4 до 8 ч после тепловой обработки.

Результаты испытаний приведены в табл. 3.

Таблица 3

Номер серии

Скорость ультразвука,

vj, м/с

Прочность, МПа

Примечание

по ре-зультатам испытаний на сжатие Rjф

по градуировочной зависимости Rjн

до отбра-ковки

после от-браковки

до отбраковки

после отбраковки

1

4029

20,6

21,35

21,26

0,27

0,27

Серия от-

2

4371

26,0

31,65

-

2,02

-

бракована

3

4080

22,0

22,89

22,92

0,32

0,37

 

4

4097

26,3

23,40

23,47

-1,04

-1,14

 

5

4116

21,1

23,97

23,09

1,03

1,21

 

6

4137

23,4

24,60

24,77

0,43

0,55

 

7

4136

26,0

24,57

24,74

-0,51

-0,51

 

8

4187

26,4

26,11

26,40

-0,10

0

 

9

4195

29,2

26,35

26,66

-1,02

-1,03

 

10

4248

25,5

27,94

28,38

0,87

1,16

 

11

4232

28,5

27,46

27,86

-0,37

-0,26

 

12

4285

25,0

29,06

29,58

1,45

1,85

 

13

4267

31,6

28,52

29,00

-1,10

-1,05

 

14

4037

21,7

21,59

21,52

-0,04

-0,07

 

15

4316

34,3

30,00

30,59

-1,54

-1,50

 

16

4352

30,5

31,08

31,76

0,21

0,51

 

17

4398

36,9

32,46

33,26

-1,59

-1,47

 

18

4393

34,5

32,31

33,09

-0,78

-0,57

 

19

4475

33,0

34,78

35,76

0,64

1,11

 

20

4436

33,3

33,60

34,49

0,11

0,48

 

Средние значения прочности (), МПа, и скорости ультразвука (), м/с, составляют

Минимальное и максимальное значения прочности составляют: Rмин = 20,6 МПа и Rмакс = 36,9 МПа (1 и 17-я серии образцов). Поскольку Rмакс - Rмин = 36,9 - 20,6 = 16,3 МПа, т. е. менее чем  МПа, то уравнение искомой зависимости принимают линейным:

Коэффициенты а0 и а1 определяют по формулам (9) и (10)

Таким образом градуировочная зависимость имеет вид Rн = 0,0301v- 99,92. Значения црочностей Rjн, рассчитанные по градуировочной зависимости, приведены в табл. 3.

Остаточное средние квадратическое отклонение, определенное по формуле (17), составляет

 МПа.

Сравнивая значения фактической прочности Rjф в сериях образцов с прочностью Rjн, определенной по градуировочной зависимости (см. табл. 3), устанавливают, что условие (16) не выполняется для серии 2, которая подлежит отбраковке.

По оставшимся 19 сериям образцов рассчитывают новые значения   и коэффициенты скорректированной зависимости а0 и а1:

 МПа;

м/с;

 

Определив значения Rjн, рассчитывают среднее квадратическое отклонение

 МПа.

Для скорректированной градуировочной зависимости по всем сериям образцов. Таким образом дальнейшую корректировку проводить не требуется и искомая градуировочная зависимость имеет вид

Графики градуировочных зависимостей до и после корректировки приведены на черт. 4.

- - - градуировочная зависимость до отбраковки;

- - - градуировочная зависимость скорректированная;

х - отбракованные результаты испытаний

Черт. 4

2. Оценка погрешности определения прочности по результатам ультразвуковых измерений

Прочность бетона в конструкциях контролируют по установленной в п. 1 градуировочной зависимости.

1) Контроль осуществляют способом сквозного прозвучивания без использования переходных коэффициентов. В этом случае погрешность определения прочности по формуле (19) составит

 МПа.

Поскольку  полученная градуировочная зависимость может быть использована для определения прочности бетона по настоящему стандарту.

2) Контроль осуществляют способом поверхностного прозвучивания с использованием переходного коэффициента, определенного в соответствии с приложением 3. При этом среднее квадратическое отклонение установленного коэффициента составляет Sк = 0,01.

Погрешность определения прочности составит

Поскольку  определение прочности бетона по установленной градуировочной зависимости с использованием данного переходного коэффициента может производиться по настоящему стандарту.

3. Установление градуировочной зависимости „скорость - прочность" для контроля прочности бетона в процессе твердения

Для установления градуировочной зависимости „скорость - прочность" были изготовлены в разные смены по 3-4 серии образцов-кубов размером 100´100´100 мм, которые испытывались в горячем состоянии непосредственно после их извлечения из тепловой установки. Сроки твердения и результаты испытаний приведены в табл. 4.

Градуировочную зависимость для контроля прочности в процессе твердения устанавливают по уравнению (8)

                                                                                                    (22)

Таблица 4

Дата испытаний

Серия

Время твер-дения, ч

Rjф, МПа

vj, м/с

- vj, м/с

( - vj)2, (м/с)2

ln Rjф

 

(- vj) х

х

Rjн, МПа

Rjф - Rjн, МПа

(Rjф - Rjн)2, (МПа)

(Rjф - ), МПа

(Rjф - )2, (МПа)2

1

2

3

4

5

6

7

8

9

10

11

12

13

14

15

01.02

1

3

1,41

2160

1187

1408969

0,34

1,71

2029,81

1,7

0,29

0,0841

8,3

68,89

01.02

2

5

9,75

3500

-153

23409

2,28

-0,23

35,19

9,4

0,35

0,1225

0,04

0,0016

01.02

3

7

13,15

3775

-428

184041

2,58

-0,53

226,84

14,2

1,05

1,1025

3,44

11,834

01.02

4

9

15,30

3920

-573

328329

2,73

-0,68

389,64

15,4

0,10

0,010

5,59

31,248

02.02

5

3

1,63

2235

1112

1236544

0,49

1,56

1734,72

1,8

0,17

0,0289

8,08

65,286

02.02

6

4

4,40

2880

467

218089

1,48

0,59

275,53

4,2

0,20

0,040

5,31

28,196

02.02

7

6

11,43

3640

-293

85849

2,44

-0,39

114,27

10,8

0,63

0,3969

1,72

2,958

02.02

8

9

15,70

3880

-533

284089

2,75

-0,70

373,10

14,9

0,80

0,64

5,99

35,88

03.02

9

4

4,15

2780

567

321489

1,42

0,63

357,21

3,8

0,35

0,1225

5,56

30,914

03.02

10

5

8,05

3365

-18

324

2,09

-0,04

0,72

7,8

0,25

0,0625

1,66

2,756

03.02

11

9

18,35

3980

-633

400689

2,91

-0,86

544,38

16,6

1,75

3,0625

8,64

74,65

04.02

12

3

2,65

2390

957

935089

0,98

1,08

1033,35

2,2

0,40

0,16

7,11

50,552

04.02

13

4

6,05

3115

232

53824

1,80

0,25

58,0

5,6

0,45

0,2025

3,66

13,396

04.02

14

6

11,25

3540

-193

37249

2,42

-0,37

71,4

11,8

0,55

0,3025

2,54

  2,372

04.02

15

7

11,65

3670

-323

104329

2,46

-0,41

132,43

11,6

0,05

0,0025

1,94

3,7636

05.02

16

5

9,60

3530

-183

33489

2,26

-0,21

38,43

11,0

1,40

1,96

0,11

0,0121

05.02

17

6

14,75

3920

-573

328329

2,69

-0,64

366,72

15,2

0,45

0,2025

5,04

25,402

05.02

18

7

15,62

3965

-618

381924

2,75

-0,7

432,60

15,8

0,18

0,0324

5,91

34,928

                    Суммы                                                                     9366054                                              8214,34 

;           м/с;   

Коэффициенты b0 и b1 вычисляют по формулам (11) и (12).

Искомая градуировочная зависимость имеет вид

 МПа,                                                                              (23)

и приведена на черт. 5.

Черт. 5

Так как контроль прочности осуществляют способом сквозного прозвучивания, погрешность полученной градуировочной зависимости вычисляют по формуле (17) при q = 0

 МПа.

Поскольку  · 100 % = 7,5 % < 12 %, полученная градуировочная зависимость может быть использована для контроля твердения бетона.

ПРИЛОЖЕНИЕ 6

Справочное

СХЕМЫ УСТАНОВКИ УЛЬТРАЗВУКОВЫХ ПРЕОБРАЗОВАТЕЛЕЙ ПРИ КОНТРОЛЕ ТВЕРДЕНИЯ БЕТОНА

Способы крепления ультразвуковых преобразователей на бортоснастке формы представлены на черт. 6 и 7.

Схема установки акустического зонда в бетоне конструкций представлена на черт. 8

1 - втулка; 2 - рабочая поверхность преобразователя; 3 - ультразвуковой преобразователь; 4 - узел прижима; 5 - акустическая изоляция; 6 - бетон

Черт. 6

1 - бетон; 2 - разделительные листы кассеты; 3 - преобразователи;

4 - рабочие поверхности преобразователей; 5 - акустическая изоляция;

6 - паровая рубашка; 7 - теплоизоляция

Черт. 7

1 - ручка зонда; 2 - корпус; 3 - бетон; 4 - преобразователь;

5 - рабочая поверхность преобразователя

Черт. 8

ПРИЛОЖЕНИЕ 7

Рекомендуемое

МЕТОДИКА ЭКСПЕРТНОГО КОНТРОЛЯ ПРОЧНОСТИ БЕТОНА В СТРОЯЩИХСЯ И ЭКСПЛУАТИРУЕМЫХ КОНСТРУКЦИЯХ И СООРУЖЕНИЯХ

1. Определение прочности бетона при экспертизе конструкций и сооружений проводят в зонах конструкций, изготовленных из бетона на одном виде крупного заполнителя.

2. Измеряют время распространения ультразвука не менее чем в 10 участках контролируемой зоны конструкции. Вычисляют среднюю скорость ультразвука () в контролируемой зоне.

В контролируемой зоне намечают участки, в которых измеренная скорость ультразвука имеет максимальное (vмакс) и минимальное (vмин) значения, а также участок, где скорость ультразвука имеет величину (vn), наиболее близкую к средней скорости ультразвука ().

Из каждого намеченного участка в соответствии с ГОСТ 10180 выбуривают и испытывают не менее двух кернов. По данным испытаний кернов определяют значения прочностей Rф.макс, Rф.мин, Rфn в участках, имеющих скорости ультразвука vмакс, vмин, vn.

3. Прочность бетона в любом участке контролируемой зоны конструкции определяют по уравнению (7).

Коэффициенты а1 и а0 вычисляют по формулам

                                                                                     (24)

                                                         (25)

4. При выполнении условия ´100 % £ 10 % допускается ориентировочно определять прочность:

для бетонов классов прочности до В25 по формуле

                                                                                                       (26)

где  

для бетонов классов прочности выше В25 по формуле

                                                                      (27)

Значения скоростей ультразвука vмакс, vмин,  и прочностей Rф.макс,  определяют в соответствии с п. 2 настоящего приложения.

5. Контроль прочности бетона в конструкциях по ГОСТ 18105 по методике, приведенной в настоящем приложении, не допускается.

ПРИЛОЖЕНИЕ 8

Рекомендуемое

ФОРМА ЖУРНАЛА ИСПЫТАНИЙ ОБРАЗЦОВ

Класс (марка)

бетона

по проч-ности*

Дата изготовления

 

Дата испытаний

 

Номер

 

Масса, г

 

Рабочая площадь,

см2

Результаты

ультразвуковых измерений

Результаты

механических испытаний

Тип ультразвукового

прибора

и рабочие частоты преоб-разователей

Приме-чание

 

номер точки прозву-чивания

база прозву-чивания, мм

время рас-пространения ультразвука, мкс

скорость ультразвука, м/с

средняя скорость (время) ультразвука в образце, м/с

средняя скорость (время) ультра-звука в серии образцов, м/с

разрушающая нагрузка, кН

прочность образца, МПа

средняя прочность серии образцов, МПа

 

 

 

 

 

 

 

 

 

 

 

 

 

 

 

 

 

_____________

* Указать номинальный состав бетона.

Начальник лаборатории ______________________

ПРИЛОЖЕНИЕ 9

Рекомендуемое

ФОРМА ЖУРНАЛА ОПРЕДЕЛЕНИЯ ПРОЧНОСТИ БЕТОНА В КОНСТРУКЦИЯХ

Наименование

конструкции

(для сборных - марка, серия рабочих чертежей)

Вид и класс

(марка) прочности бетона

Дата

Номер

контролируемого участка

База

прозвучивания, мм

Время

распространения ультразвука, мкс

Скорость

ультразвука, м/с

Прочность

бетона в участке конструкции, определенная ультразвуковым методом, МПа

Тип

ультразвукового

прибора и рабочие частоты преобразователей

Приме

чание

изготовления

испытания

 

 

 

 

 

 

 

 

 

 

 

Начальник лаборатории ______________________

ИНФОРМАЦИОННЫЕ ДАННЫЕ

1. РАЗРАБОТАН И ВНЕСЕН Министерством промышленности строительных материалов СССР

ИСПОЛНИТЕЛИ

Ю.Н. Мизрохи, канд. техн. наук (руководитель темы); З.М. Брейт-ман; А.Я. Гойхман, канд. физ.-мат. наук; С.Р. Котляр, канд. техн. наук; А.С. Зальцман; П.С. Витюк; Д.М. Вайнблат; В.А. Клевцов, д-р техн. наук; Г.В. Сизов, канд. техн. наук; М.Г. Коревицкая, канд. техн. наук; В.В. Судаков, канд. техн. наук; В.Е. Гринберг; В.А. Волохов, канд. техн. наук; И.Э. Школьник, канд. техн. наук; Г.В. Шмаков, канд. техн. наук; И.И. Вайншток, канд. техн. наук; В.А. Дорф, канд. техн. наук; Р.О. Красновский, канд. техн. наук; М.Ю. Лещинский, канд. техн. наук; Г.Ф. Надарейшвили, канд. техн. наук; И.А. Нестеренко; И.Н. Нагорняк

2. УТВЕРЖДЕН И ВВЕДЕН В ДЕЙСТВИЕ Постановлением Государственного строительного комитета СССР от 26.12.86 № 67

3. ВЗАМЕН ГОСТ 17624-78, ГОСТ 24467-80

4. ССЫЛОЧНЫЕ НОРМАТИВНО-ТЕХНИЧЕСКИЕ ДОКУМЕНТЫ

Обозначение НТД,

на который дана ссылка

Номер пункта, подпункта,

приложения

ГОСТ 8.383-80

2.1

ГОСТ 4366-76

2.5

ГОСТ 5774 -76

2.5

ГОСТ 10180-78

3.3; 3.5; 3.14; приложения 3, 7

ГОСТ 18105 -86

Вводная часть; 4.1; 4.6; приложение 7

ГОСТ 27006-86

3.16

5. ПЕРЕИЗДАНИЕ (август 1989 г.) с поправками.

СОДЕРЖАНИЕ

1. ОБЩИЕ ПОЛОЖЕНИЯ.. 1

2. СРЕДСТВА КОНТРОЛЯ.. 1

3. ПОДГОТОВКА ИСПЫТАНИЯ.. 2

4. ПРОВЕДЕНИЕ ИСПЫТАНИЙ И ОПРЕДЕЛЕНИЕ ПРОЧНОСТИ БЕТОНА В КОНСТРУКЦИЯХ.. 3

5. ОФОРМЛЕНИЕ РЕЗУЛЬТАТОВ.. 4

ПРИЛОЖЕНИЕ 1. 4

СПОСОБЫ ПРОЗВУЧИВАНИЯ БЕТОНА.. 4

ПРИЛОЖЕНИЕ 2. 5

ТЕХНИЧЕСКИЕ ХАРАКТЕРИСТИКИ.. 5

ультразвуковых приборов для определения прочности бетона. 5

ПРИЛОЖЕНИЕ 3. 5

ЭКСПЕРИМЕНТАЛЬНОЕ ОПРЕДЕЛЕНИЕ КОЭФФИЦИЕНТОВ ПЕРЕХОДА ОТ СКОРОСТИ УЛЬТРАЗВУКА ПРИ ПОВЕРХНОСТНОМ ПРОЗВУЧИВАНИИ К СКОРОСТИ ПРИ СКВОЗНОМ ПРОЗВУЧИВАНИИ.. 5

ПРИЛОЖЕНИЕ 4. 7

МЕТОДИКА УСТАНОВЛЕНИЯ ГРАДУИРОВОЧНЫХ ЗАВИСИМОСТЕЙ И ОЦЕНКИ ПОГРЕШНОСТИ ОПРЕДЕЛЕНИЯ ПРОЧНОСТИ.. 7

ПРИЛОЖЕНИЕ 5. 9

ПРИМЕРЫ УСТАНОВЛЕНИЯ ГРАДУИРОВОЧНОЙ ЗАВИСИМОСТИ И ОЦЕНКИ ПОГРЕШНОСТИ ОПРЕДЕЛЕНИЯ ПРОЧНОСТИ.. 9

ПРИЛОЖЕНИЕ 6. 12

СХЕМЫ УСТАНОВКИ УЛЬТРАЗВУКОВЫХ ПРЕОБРАЗОВАТЕЛЕЙ ПРИ КОНТРОЛЕ ТВЕРДЕНИЯ БЕТОНА.. 12

ПРИЛОЖЕНИЕ 7. 13

МЕТОДИКА ЭКСПЕРТНОГО КОНТРОЛЯ ПРОЧНОСТИ БЕТОНА В СТРОЯЩИХСЯ И ЭКСПЛУАТИРУЕМЫХ КОНСТРУКЦИЯХ И СООРУЖЕНИЯХ.. 13

ПРИЛОЖЕНИЕ 8. 14

ФОРМА ЖУРНАЛА ИСПЫТАНИЙ ОБРАЗЦОВ.. 14

ПРИЛОЖЕНИЕ 9. 14

ФОРМА ЖУРНАЛА ОПРЕДЕЛЕНИЯ ПРОЧНОСТИ БЕТОНА В КОНСТРУКЦИЯХ.. 14

ИНФОРМАЦИОННЫЕ ДАННЫЕ. 14

 



уроки по алготрейдингу на Python с нуля



Яндекс цитирования

   Copyright © 2008-2026 ,  www.infosait.ru

backtrader - уроки алготрейдинга на python