ИНФОСАЙТ.ру
Госты, стандарты, нормативы. В библиотеке 60000 документов. Регулярное обновление. Круглосуточный бесплатный доступ!
БИБЛИОТЕКА ГОСТОВ, СТАНДАРТОВ И НОРМАТИВОВ

:: АЛГОТРЕЙДИНГ ::


АЛГОТРЕЙДИНГ
шаг за шагом


БЕСПЛАТНЫЕ УРОКИ по созданию торговых роботов на PYTHON с нуля, шаг за шагом.


Минимальные знания на PYTHON.
Библиотеки BackTrader и Pandas, сигналы с Pine Script из TradingView.
Связка с брокерами, телеграм.
Создание простых интерфейсов.

 

Все документы, представленные в каталоге, не являются их официальным изданием и предназначены исключительно для ознакомительных целей. Электронные копии этих документов могут распространяться без всяких ограничений. Вы можете размещать информацию с этого сайта на любом другом сайте.


ГОСТ P 52203-2004

НАЦИОНАЛЬНЫЙ СТАНДАРТ РОССИЙСКОЙ ФЕДЕРАЦИИ

ТРУБЫ НАСОСНО-КОМПРЕССОРНЫЕ
И МУФТЫ К НИМ

Технические условия

ГОССТАНДАРТ РОССИИ

Москва

Предисловие

1 Разработан Центром науки и образования «Нефть и газ» Самарского государственного технического университета, независимой научно-технической компанией «Нефтепромдиагностика» и РосНИТИ

Внесен Техническим комитетом по стандартизации ТК 357 «Стальные и чугунные трубы и баллоны»

2 Утвержден и введен в действие Постановлением Госстандарта России от 19 января 2004 г. № 20-ст

3 Введен впервые

СОДЕРЖАНИЕ

ГОСТ Р 52203-2004

ГОСУДАРСТВЕННЫЙ СТАНДАРТ СОЮЗА ССР

ТРУБЫ НАСОСНО-КОМПРЕССОРНЫЕ И МУФТЫ К НИМ

Технические условия

Tubing and coupling.
Specifications

Дата введения 2004-09-01

1 Область применения

Настоящий стандарт распространяется на стальные бесшовные и электросварные прямошовные насосно-компрессорные трубы и муфты к ним, применяемые при эксплуатации и ремонте нефтяных и газовых скважин, а также скважин другого назначения.

2 Нормативные ссылки

В настоящем стандарте использованы ссылки на следующие стандарты:

ГОСТ 12.1.005-88 Система стандартов безопасности труда. Общие санитарно-гигиенические требования к воздуху рабочей зоны

ГОСТ 12.2.003-91 Система стандартов безопасности труда. Оборудование производственное. Общие требования безопасности

ГОСТ 12.2.061-81 Система стандартов безопасности труда. Оборудование производственное. Общие требования безопасности к рабочим местам

ГОСТ 26.008-85 Шрифты для надписей, наносимых методом гравирования. Исполнительные размеры

ГОСТ 32-74 Масла турбинные. Технические условия

ГОСТ 162-90 Штангенглубиномеры. Технические условия

ГОСТ 166-89 (ИСО 3599-76) Штангенциркули. Технические условия

ГОСТ 427-75 Линейки измерительные металлические. Технические условия

ГОСТ 577-68 Индикаторы часового типа с ценой деления 0,01 мм. Технические условия

ГОСТ 6507-90 Микрометры. Технические условия

ГОСТ 7502-98 Рулетки измерительные металлические. Технические условия

ГОСТ 7565-81 (ИСО 377-2-89) Чугун, сталь и сплавы. Метод отбора проб для определения химического состава

ГОСТ 7661-67 Глубиномеры индикаторные. Технические условия

ГОСТ 8026-92 Линейки поверочные. Технические условия

ГОСТ 8695-75 Трубы. Метод испытания на сплющивание

ГОСТ 9012-59 (ИСО 410-82, ИСО 6506-81) Металлы. Метод измерения твердости по Бринеллю

ГОСТ 9013-59 (ИСО 6508-86) Металлы. Метод измерения твердости по Роквеллу

ГОСТ 10006-80 (ИСО 6892-84) Трубы металлические. Метод испытания на растяжение

ГОСТ 10007-80 Фторопласт-4. Технические условия

ГОСТ 10197-70 Стойки и штативы для измерительных головок. Технические условия

ГОСТ 10654-81 Калибры для треугольной резьбы насосно-компрессорных труб и муфт к ним. Типы. Основные размеры и допуски

ГОСТ 10692-80 Трубы стальные, чугунные и соединительные части к ним. Приемка, маркировка, упаковка, транспортирование и хранение

ГОСТ 11358-89 Толщиномеры и стенкомеры индикаторные с ценой деления 0,01 и 0,1 мм. Технические условия

ГОСТ 12345-2001 (ИСО 671-82, ИСО 4935-89) Стали легированные и высоколегированные. Методы определения серы

ГОСТ 12347-77 Стали легированные и высоколегированные. Методы определения фосфора

ГОСТ 14782-86 Контроль неразрушающий. Соединения сварные. Методы ультразвуковые

ГОСТ 15150-69 Машины, приборы и другие технические изделия. Исполнения для различных климатических районов. Категории, условия эксплуатации, хранения и транспортирования в части воздействия климатических факторов внешней среды

ГОСТ 16350-80 Климат СССР. Районирование и статистические параметры климатических факторов для технических целей

ГОСТ 17410-78 Контроль неразрушающий. Трубы металлические бесшовные цилиндрические. Методы ультразвуковой дефектоскопии

ГОСТ 20799-88 Масла индустриальные. Технические условия

ГОСТ 25576-83 Калибры для соединений с трапецеидальной резьбой насосно-компрессорных труб и муфт к ним. Типы, основные размеры и допуски

ГОСТ 29329-92 Весы для статического взвешивания. Общие технические требования

ГОСТ 30432-96 Трубы металлические. Методы отбора проб, заготовок и образцов для механических и технологических испытаний

3 Сортамент

3.1 Трубы по способу изготовления подразделяют на два типа: бесшовные и электросварные прямошовные.

3.2 В соответствии с заказом трубы должны быть:

- без резьбы - Н;

- гладкие с треугольной резьбой и муфтой - Г;

- с высаженными наружу концами с треугольной резьбой и муфтой - В;

- гладкие и с высаженными наружу концами и муфтами с треугольной резьбой и уплотнительными кольцами из неметаллических материалов - ПГ и ПВ;

- гладкие высокогерметичные с трапецеидальной резьбой и муфтой - Т;

- высокогерметичные безмуфтовые с высаженными наружу концами и трапецеидальной резьбой - Б.

Сортамент труб приведен в таблице 1.

Таблица 1 - Сортамент труб

В миллиметрах

Условный диаметр трубы

Номинальный наружный диаметр D

Номинальная толщина стенки s

Группы прочности

Дс

Д

Кс

К

Е, Eс

Л, Лс

М, МС

Р, Рс

27

26,7

3,0

В Н

Н

4,0

Н

33

33,4

3,5

в г н

Н

4,5

Н

42

42,2

3,5

в г н

Н

5,0

Н

48

48,3

4,0

в г н

В Н

5,0

Н

6,5

8,0

60

60,3

5,0

Б В Г Н Т

6,5

 

7,5

Н

8,5

 

73

73,0

5,5

Б В Г Н Т

7,0

8,0

Н

9,0

10,0

11,5

102

101,6

6,0

Н

6,5

Б В Г Н Т

8,5

Н

10,5

13,0

15,5

114

114,3

7,0

Б В Г Н Т

8,0

Н

10,0

11,0

13,0

14,5

16,0

Примечания

1 Бесшовные трубы и муфты изготовляют групп прочности Д, К, Е, Л, М и Р; электросварные трубы - ДС, КС, ЕС, ЛС, МС и РС.

2 Обозначения труб:

Н - без резьбы;

Г - гладкие с треугольной резьбой и муфтой;

В - с высаженными наружу концами с треугольной резьбой и муфтой;

Т - гладкие высокогерметичные с трапецеидальной резьбой и муфтой;

Б - высокогерметичные безмуфтовые с высаженными наружу концами и трапецеидальной резьбой.

3.3 Трубы и муфты к ним должны соответствовать размерам и массам, указанным:

- для труб без резьбы - в таблицах 1 - 5;

- для труб гладких с треугольной резьбой и муфт к ним - на рисунке 1 и в таблице 2;

- для труб с высаженными наружу концами с треугольной резьбой и муфт к ним - на рисунке 2 и в таблице 3;

- для труб гладких высокогерметичных с трапецеидальной резьбой и муфт к ним - на рисунке 3 и в таблице 4;

- для труб высокогерметичных безмуфтовых с высаженными наружу концами и трапецеидальной резьбой - на рисунке 4, в таблице 5 и в разделе 4 настоящего стандарта.

Примечание - При определении приведенной в таблицах 2 - 5 массы труб и муфт плотность стали принята равной 7,85 г/см3.

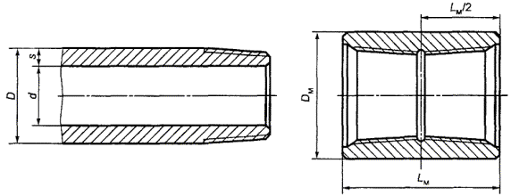
Рисунок 1 - Гладкая труба с треугольной резьбой и муфта к ней

Таблица 2 - Размеры и массы гладких труб с треугольной резьбой и муфт к ним

В миллиметрах

Условный диаметр трубы

Труба

Муфта

Номинальный наружный диаметр D

Номинальная толщина стенки s

Внутренний диаметр d

Теоретическая масса 1 м q, кг

Наружный диаметр Dм

Длина LM

Масса, кг

33

33,4

3,5

26,4

2,6

42,2

84,0

0,4

42

42,2

3,5

35,2

3,3

52,2

90,0

0,6

48

48,3

4,0

40,3

4,4

55,9

96,0

0,5

60

60,3

5,0

50,3

6,8

73,0

110,0

1,3

73

73,0

5,5

62,0

9,2

88,9

132,0

2,4

7,0

59,0

11,4

89

88,9

6,5

75,9

13,2

108,0

146,0

3,6

102

101,6

6,5

83,6

15,2

120,6

150,0

4,5

114

114,3

7,0

100,3

18,5

132,1

156,0

5,1

Примечание - теоретическую массу 1 м тела трубы q, кг, определяют по формуле

,                                                                              (1)

где D - номинальный наружный диаметр трубы, мм;

s - номинальная толщина стенки трубы, мм.

3.4 Кромки торцов труб без резьбы всех групп прочности с гладкими и высаженными наружу концами необходимо притупить.

3.5 По требованию потребителя муфты для труб с треугольной резьбой гладких и с высаженными наружу концами могут изготовляться с уплотнительными кольцами из неметаллических материалов с техническими требованиями не ниже указанных в ГОСТ 10007 для чистого политетрафторэтилена с 25 % стеклоткани (рисунок 5).

3.6 Трубы должны быть двух групп длин, приведенных в таблице 6.

Рисунок 2 - Труба с высаженными наружу концами с треугольной резьбой и муфта к ней

Таблица 3 - Размеры и массы труб с высаженными наружу концами с треугольной резьбой и муфт к ним

В миллиметрах

Условный диаметр трубы

Труба

Муфта

Номинальный наружный диаметр D

Номинальная толщина стенки s

Внутренний диаметр d

Наружный диаметр высаженной части DB (пред. откл. +1,5)

Длина высаженной части lB min

Теоретическая масса 1 м гладкой трубы, кг

Увеличение массы трубы вследствие высадки обоих концов, кг

Наружный диаметр DМ

Длина LM

Масса, кг

27

26,7

3,0

20,7

33,4

40,0

1,8

0,1

42,2

84,0

0,4

33

33,4

3,5

26,4

37,3

45,0

2,6

0,1

48,3

90,0

0,5

42

42,2

3,5

35,2

46,0

51,0

3,3

0,2

55,9

96,0

0,7

48

48,3

4,0

40,3

53,2

57,0

4,4

0,4

63,5

100,0

0,8

60

60,3

5,0

50,3

65,9

89,0

6,8

0,7

77,8

126,0

1,5

73

73,0

5,5

62,0

78,6

95,0

9,2

0,9

93,2

134,0

2,8

7,0

59,0

11,4

89

88,9

6,5

75,9

95,2

102,0

13,2

1,3

114,3

146,0

4,2

8,0

72,9

16,0

102

101,6

6,5

88,6

108,0

15,2

1,4

127,0

154,0

5,0

114

114,3

7,0

100,3

120,6

108,0

18,5

1,6

141,3

160,0

6,3

Для 1 % и менее от объема поставки электросварных труб допускается иметь отклонения по длине не более 0,25 м.

3.7 Предельные отклонения по размерам и массе труб и муфт к ним не должны превышать значений, приведенных в таблице 7.

Рисунок 3 - Гладкая высокогерметичная труба с трапецеидальной резьбой и муфта к ней

Таблица 4 - Размеры и массы гладких высокогерметичных труб с трапецеидальной резьбой и муфт к ним

В миллиметрах

Условный диаметр трубы

Труба

Муфта

Номинальный наружный диаметр D

Номинальная толщина стенки s

Внутренний диаметр d

Масса 1 м, кг

Наружный диаметр DM

Длина LM

Масса, кг

60

60,3

5,0

50,3

6,8

73,0

135,0

1,8

73

73,0

5,5

62,0

9,2

88,9

135,0

2,5

7,0

59,0

11,4

89

88,9

6,5

75,9

13,2

108,0

155,0

4,1

8,0

72,9

16,0

102

101,6

6,5

88,6

15,2

120,6

5,1

114

114,3

7,0

100,3

18,5

132,1

205,0

7,4

Рисунок 4 - Высокогерметичная безмуфтовая труба с высаженными наружу концами и трапецеидальной резьбой

Таблица 5 - Размеры и массы высокогерметичных безмуфтовых труб с высаженными наружу концами и трапецеидальной резьбой

В миллиметрах

Условный диаметр трубы

Номинальный наружный диаметр D

Номинальная толщина стенки s

Внутренний диаметр d

Наружный диаметр высаженной части DB (пред. откл. ± 0,5)

Внутренний диаметр в плоскости торца ниппельного конца dвн mах

Внутренний диаметр в конце высаженной части dв

Длина высаженной части lB min

Масса 1 м гладкой трубы, кг

Увеличение массы трубы с учетом высадки концов, кг

60

60,3

5,0

50,3

71,0

53,5

48,3

95,0

6,8

1,8

73

73,0

5,5

62,0

84,0

65,5

60,0

100,0

9,2

2,2

7,0

59,0

86,0

63,0

57,0

11,4

2,6

89

88,9

6,5

75,9

102,0

79,5

73,9

13,2

3,2

8,0

72,9

104,0

77,0

70,9

16,0

3,7

102

101,6

6,5

88,6

116,0

92,0

86,6

15,2

4,0

114

114,3

7,0

100,3

130,0

104,0

98,3

18,5

4,8

Рисунок 5 - Муфта с уплотнительным кольцом из неметаллического материала для гладких труб и труб с высаженными наружу концами

Таблица 6 - Группы длин труб

В метрах

Наименование параметра

Группа длин

I

II

Длина трубы L

6,1 - 7,3

8,3 - 10,0

Допустимое отклонение по длине отдельной трубы в партии:

 

- бесшовной

±0,05 L

- электросварной прямошовной

±0,01 L

Примечания

1 Длина трубы L определяется как расстояние между ее торцами, а при наличии навинченной муфты - расстояние от свободного торца муфты до конца сбега резьбы противоположного конца трубы.

2 По требованию потребителя допускается изготовление труб других длин, определяемых заказом.

Таблица 7 - Предельные отклонения по размерам и массе труб и муфт к ним

Показатель

Предельное отклонение для труб

бесшовных

электросварных

Номинальный наружный диаметр труб, мм:

 

 

до 102 включ.

114

±0,8 мм

±0,6 %

±0,9 мм

±0,7 мм

Номинальная толщина стенки, мм:

-12,5 %

±0,35 мм

до 8,0 включ.

св. 8,0

±0,40 мм

Наружный диаметр муфты

±1,0 %

Длина муфты

±2,0 мм

Масса для:

 

 

отдельной трубы

+6,5 %

±3,5 %

-3,5 %

партии труб общей массой 60 т и более

-1,75 %

партии труб общей массой до 60 т

Не регламентируется

Допускается увеличение наружного диаметра сверх плюсового допуска до 1,0 мм за переходным участком высадки на длине не более 100 мм для труб В и не более 150 мм для труб Б.

Плюсовые отклонения по толщине стенки трубы ограничиваются допусками по наружному диаметру и массе отдельной трубы.

3.8 На концевых участках, равных одной трети длины труб Г, Н и Т, и на расстоянии от 125 до 150 мм за переходным участком высадки труб Б и В не допускается изогнутость более 1,0 мм на 1 м длины.

Кривизна, измеренная на середине трубы диаметром 114 мм, не должна превышать 1/2000 ее длины; для труб других диаметров кривизна регламентируется прохождением цилиндрической оправки внутри трубы.

3.9 При заказе труб потребитель должен указать следующее:

- обозначение трубы по 3.2 настоящего стандарта;

- условный диаметр;

- толщину стенки;

- группу прочности;

- группу (диапазон) длины;

- массу (количество) труб;

- обозначение настоящего стандарта.

При заказе муфт потребитель должен указать:

- обозначение муфты для трубы: муфта для труб с гладкими Г или с высаженными наружу В концами с треугольной резьбой; муфты с треугольной резьбой и уплотнительным кольцом из неметаллических материалов П или без него; муфта для труб гладких высокогерметичных с трапецеидальной резьбой Т;

- условный диаметр трубы, соответствующий данной муфте;

- группу прочности;

- наличие проточки под уплотнительные кольца из неметаллических материалов и условия поставки колец (в муфтах и отдельно от них);

- количество;

- обозначение настоящего стандарта.

Примеры условных обозначений труб и муфт к ним приведены в приложении А.

3.10 При заказе потребитель может указывать дополнительные требования:

- контроль механических свойств (например, по испытанию материала на ударный изгиб при пониженных температурах);

- материал покрытия (кроме фосфатирования) резьбы муфты;

- нанесение защитных покрытий на внутреннюю поверхность труб;

- применение специальных смазок или уплотнителей при свинчивании резьбовых соединений в условиях изготовителя;

- величину испытательных гидравлических давлений;

- по маркировке и упаковке;

- по условиям проведения проверки труб у изготовителя (или поставщика), а также другие возможные дополнительные требования или соглашения.

4 Технические требования

4.1 Трубы и муфты должны быть изготовлены в соответствии с требованиями настоящего стандарта.

4.2 На наружной и внутренней поверхностях труб и муфт не должно быть плен, раскатанных загрязнений, раковин, закатов, расслоений, трещин, рванин, заусенцев и других дефектов, ведущих к снижению эксплуатационной надежности труб.

Заварка, зачеканка и заделка дефектных мест не допускаются.

На теле труб допускается наличие забоин, вмятин, рисок, остатков окалины и других обусловленных способом производства повреждений, а также произведенная вдоль оси трубы их вырубка и зачистка при условии, что все указанное не выводит толщину стенки конкретной трубы за предельное минусовое отклонение от ее номинальных значений.

У труб в местах, где толщина стенки s может быть измерена непосредственно, глубина этих повреждений может превышать предельные минусовые отклонения при условии сохранения минимальной толщины стенки, определяемой как разность между номинальной толщиной стенки трубы и предельным для нее минусовым отклонением, указанным в таблице 7.

4.3 На наружной и внутренней поверхностях высаженных наружу концов труб Б и В не должно быть более трех поврежденных мест (ремонтных или незаполненных металлом), при этом для каждого из них протяженность по окружности не должна быть более 25,0 мм, ширина - не более 15,0 мм и глубина - не более 2,0 мм.

4.4 Поверхность перехода от высаженной части к основному телу трубы Б или В должна быть плавной.

Толщина стенки в переходной части всех труб Б и В не должна быть меньше минимально допустимой толщины стенки гладкой части трубы.

На высаженных концах труб В на расстоянии (lв min ± 25) мм от каждого из ее торцов допускается внутренняя технологическая конусность не более 1:50.

4.5 Электросварные прямошовные трубы должны иметь не более одного продольного сварного шва.

4.6 Бесшовные трубы должны изготовляться групп прочности Д, К, Е, Л, М и Р, а электросварные - групп прочности Дс, Кс, Ес, Лс, Мс и Рс.

Марка стали должна быть выбрана изготовителем с учетом выполнения требований по механическим свойствам, указанным в таблице 8.

4.7 Муфты труб всех групп прочности должны изготовляться только из бесшовных труб.

Допускается изготовлять муфты из индивидуальных муфтовых заготовок.

Механические свойства сталей муфт должны соответствовать свойствам сталей труб, для которых они предназначены.

4.8 Механические свойства металла трубы и муфты должны соответствовать характеристикам, приведенным в таблице 8.

4.9 Массовые доли серы и фосфора, %, должны быть в сталях групп прочности:

- Дс, Д, Кс, К, Ес и Е - не более 0,025 каждого элемента;

- Лс, Л, Мс, М, Рс и Р - не более 0,020 фосфора и не более 0,015 серы.

По требованию потребителя содержание массовых долей серы и фосфора в сталях в соответствии с заказом может быть ниже.

4.10 Безмуфтовые трубы Б и трубы с высаженными наружу концами В всех групп прочности, а также все трубы групп прочности Кс, К и выше и муфты (муфтовые заготовки) к ним должны быть подвергнуты термической или термомеханической обработке по всей длине. Для электросварных труб групп прочности Дс и Кс допускается локальная термическая обработка сварного соединения после снятия грата при температуре не ниже 538 °С.

Таблица 8 - Механические свойства основного металла труб и муфт к ним при температуре (20 ± 3) °С

Наименование показателя

Группа прочности труб

Дс

Д

Кс

К

Е, Ес

Л, Лс

М, Мс

Р, Рс

Временное сопротивление sв, МПа (кгс/мм2), не менее

517

(52,7)

655

(66,8)

595

(60,6)

687

(70,0)

689

(70,3)

758

(77,3)

823

(83,9)

1000

(101,9)

Предел текучести sт, МПа (кгс/мм2):

 

 

 

 

 

 

не менее

379

(38,7)

491

(50,0)

552

(56,2)

654

(66,8)

724

(73,8)

930

(94,9)

не более

552

(56,2)

600

(61,0)

600

(61,0)

758

(77,3)

862

(87,9)

921

(93,9)

1137

(116,0)

Относительное удлинение d5 %, не менее

18

14,3

15,0

14,0

13,0

12,3

11,3

9,5

Число твердости по Виккерсу HV, не более

Не определяют

235

255

277

320

Примечания

1 Значения временного сопротивления для металла тела электросварных труб групп прочности Дс, Кс, Ес, Лс, Мс и Рс по согласованию между изготовителем и потребителем могут отличаться от приведенных в настоящей таблице.

2 По требованию потребителя испытания на ударный изгиб могут проводиться при пониженных температурах, при этом значения температуры и ударной вязкости принимаются по согласованию потребителя с изготовителем.

4.11 Для электросварных труб изготовителем должны быть разработаны нормативные документы по процессу выполнения контактной сварки, обеспечивающие качественную характеристику сварных соединений для труб всех типоразмеров и групп прочности, характерных для конкретного производства.

4.12 Для электросварных труб групп прочности Мс и Рс производитель обязан согласовать план контроля качества производства труб с потребителем.

4.13 Наружный и внутренний грат должны быть удалены заподлицо с основным металлом.

Допускается наличие у труб внутреннего грата высотой не более 0,30 мм.

В месте снятия грата допускается утонение стенки трубы, не выводящее толщину за предел минусового допуска.

4.14 Значения временного сопротивления сварного соединения должны быть не менее значений, приведенных в таблице 8 для соответствующих групп прочности.

4.15 Значения твердости металла в зонах сварного соединения электросварных труб групп прочности Ес и выше и металла бесшовных труб и муфт не должны превышать значений, указанных в таблице 8.

4.16 Электросварные трубы должны выдерживать испытание на сплющивание.

Расстояние между параллельными плоскостями после испытания не должно быть более значений, указанных в таблице 9.

4.17 При поставке труб с муфтами последние должны быть закреплены на трубах на муфто-наверточном станке.

По требованию потребителя допускается поставка труб с муфтами, навинченными вручную, и поставка как труб, так и муфт раздельно.

4.18 Резьбы и уплотнительные конические расточки муфт должны иметь фосфатное, цинковое или другое согласованное с потребителем покрытие толщиной от 6 до 20 мкм.

Толщина покрытия должна обеспечиваться изготовителем технологией производства труб и муфт.

Покрытия резьбы и уплотнительных конических поверхностей труб Б должны согласовываться потребителем с изготовителем.

Таблица 9 - Расстояние между параллельными плоскостями после испытания на сплющивание образцов электросварных труб

В миллиметрах

Условный диаметр трубы

Группа прочности

Расстояние между параллельными плоскостями

27 - 89; 102 (кроме толщины стенки 6,0 мм) и 114 (кроме толщины стенки 7,0 мм)

Дс

D (0,98 - 0,0206 D/s)

Кс и Ес

D (1,074 - 0,0194 D/s)

Лс

D (1,086 - 0,0163 D/s)

102 (с толщиной стенки 6,0 мм) и 114 (с толщиной стенки 7,0 мм)

Дс

0,70 D

Кс и Ес

0,75 D

Лс

0,78 D

Примечания

1 Расстояния между параллельными плоскостями для электросварных труб групп прочности Мс и Рс устанавливаются по согласованию изготовителя и потребителя.

2 Обозначения:

D - номинальный наружный диаметр труб, мм;

s - номинальная толщина стенки трубы, мм.

4.19 С целью предохранения от коррозии при транспортировании наружная поверхность каждой трубы и муфты должна быть окрашена.

По требованию потребителя допускается изготовление труб и муфт без окраски или с покрытием нейтральной смазкой.

4.20 По требованию потребителя трубы могут изготовляться с защитными покрытиями внутренней поверхности, выполненными в соответствии с технической документацией, утвержденной в установленном порядке.

4.21 При свинчивании труб с муфтами должна применяться резьбовая смазка по [1], обеспечивающая герметичность соединения и предохраняющая резьбу от задиров.

По требованию потребителя могут применяться специальные смазки или уплотнители резьбовых соединений.

4.22 Трубы после высадки, а также термической обработки (при проведении) с навинченными муфтами, а также трубы, поставляемые без муфт, должны выдерживать по всей длине испытание внутренним гидравлическим давлением без образования течи.

Расчетные значения испытательных давлений для труб указаны в таблице 10.

Таблица 10 - Значения внутренних гидравлических испытательных давлений труб

Условный диаметр трубы, мм

Номинальная толщина стенки s, мм

Испытательное давление р, МПа (кгс/см2), для труб групп прочности

Д, Дс

К, Кс

Е, Ес

Л, Лс

М, Мс

Р, Рс

27

3,0

68,1

(696)

88,3

(899)

99,2

(1010)

117,6

(1201)

122,6

(1250)

4,0

90,8

(928)

103,0

(1199)

122,6

(1250)

33

3,5

63,5

(649)

82,3

(838)

92,6

(942)

109,7

(1120)

121,4

(1237)

122,6

(1250)

4,5

81,7

(834)

105,8

(1078)

119,0

(1211)

122,6

(1250)

42

3,5

50,5

(515)

65,2

(665)

73,6

(750)

86,8

(886)

96,1

(979)

122,6

(1250)

5,0

71,8

(734)

93,1

(948)

107,6

(1065)

122,6

(1250)

48

4,0

50,2

(513)

65,1

(663)

73,1

(745)

86,7

(885)

95,9

(978)

122,6

(1250)

5,0

62,8

(641)

81,3

(828)

91,4

(931)

108,3

(1106)

119,9

(1222)

122,6

(1250)

6,5

81,6

(833)

105,7

(1077)

118,9

(1210)

122,6

(1250)

8,0

100,4

(1026)

122,6

(1250)

60

5,0

50,3

(513)

65,1

(663)

73,2

(746)

86,8

(886)

96,1

(979)

122,6

(1250)

6,5

65,4

(667)

84,7

(862)

95,2

(969)

112,8

(1152)

122,6

(1250)

7,5

75,4

(770)

97,7

(995)

109,9

(1118)

122,6

(1250)

8,5

85,5

(873)

110,7

(1128)

122,6

(1250)

73

5,5

45,7

(467)

59,2

(603)

66,5

(677)

78,8

(805)

87,3

(890)

112,1

(1144)

7,0

58,1

(594)

75,3

(767)

84,7

(862)

100,3

(1025)

111,1

(1132)

122,6

(1250)

8,0

66,5

(679)

86,1

(877)

96,8

(985)

114,7

(1171)

122,6

(1250)

9,0

74,8

(763)

96,9

(986)

108,9

(1109)

122,6

(1250)

10,0

83,1

(848)

107,6

(1096)

121,0

(1232)

122,6

(1250)

11,5

95,5

(975)

122,6

(1250)

89

6,0

40,9

(453)

53,0

(540)

59,6

(607)

70,6

(721)

78,2

(797)

100,4

(1025)

6,5

44,3

(453)

57,4

(585)

64,6

(657)

76,5

(781)

84,7

(863)

108,8

(1110)

7,5

51,2

(522)

66,3

(675)

74,5

(759)

88,3

(902)

97,7

(996)

122,6

(1250)

8,0

54,6

(557)

70,7

(720)

79,5

(809)

94,2

(962)

104,2

(1063)

122,6

(1250)

9,5

64,8

(662)

84,0

(855)

94,4

(961)

111,8

(1142)

122,6

(1250)

11,0

75,0

(766)

97,2

(990)

109,3

(1113)

122,6

(1250)

12,0

81,9

(836)

106,0

(1080)

119,2

(1214)

122,6

(1250)

13,5

92,1

(940)

119,3

(1215)

122,6

(1250)

102

6,0

35,8

(366)

46,4

(472)

52,2

(531)

61,8

(631)

68,4

(697)

87,9

(897)

6,5

38,8

(396)

50,3

(512)

56,5

(575)

66,9

(684)

74,1

(755)

95,2

(971)

8,5

50,7

(518)

65,7

(669)

73,9

(752)

87,5

(894)

96,9

(988)

122,6

(1250)

10,5

62,7

(640)

81,2

(827)

91,3

(929)

108,1

(1105)

119,7

(1220)

122,6

(1250)

13,0

77,6

(792)

100,5

(1024)

122,6

(1250)

15,5

92,5

(945)

119,9

(1220)

122,6

(1250)

114

7,0

37,1

(379)

48,1

(490)

54,1

(551)

64,1

(655)

70,9

(723)

91,1

(930)

8,5

45,1

(460)

58,4

(595)

65,7

(669)

77,8

(795)

86,1

(878)

110,7

(1129)

10,0

53,1

(542)

68,7

(700)

77,3

(787)

91,5

(935)

101,3

(1033)

122,6

(1250)

11,0

58,4

(596)

75,6

(770)

85,0

(865)

100,7

(1029)

111,5

(1136)

122,6

(1250)

13,0

69,0

(704)

89,4

(910)

100,5

(1023)

119,0

(1216)

122,6

(1250)

14,5

76,9

(786)

99,7

(1015)

112,0

(1141)

122,6

(1250)

16,0

84,9

(867)

110,0

(1120)

122,6

(1250)

Примечание - Приведенные значения внутренних гидравлических испытательных давлений p, МПа (кгс/см2), определяют по формулам:

,                                                                                      (2)

,                                                                                     (3)

где s - номинальная толщина стенки, мм;

D - номинальный наружный диаметр трубы, мм;

R - допускаемое напряжение, МПа (кгс/см2), принимаемое равным 0,8 sт min.

Если расчетное испытательное давление превышает 68,6 МПа (700 кгс/см2), труба испытывается давлением не более 68,6 МПа (700 кгс/см2).

По требованию потребителя испытательное давление принимают равным расчетному, но в любом случае давление не должно быть свыше 122,6 МПа (1250 кгс/см2).

По согласованию изготовителя с потребителем испытательное давление может ограничиваться значением:

19,7 МПа (200 кгс/см2) - для труб групп прочности Дс, Д, Кс, К;

29,4 МПа (300 кгс/см2) - для труб групп прочности Ес и выше.

4.23 Основные размеры соединений гладких труб с треугольной резьбой и муфт к ним приведены на рисунках 6 - 8 и в таблицах 11 - 14.

____________

* Размеры для справок.

1 - линия, параллельная оси резьбы трубы или муфты; 2 - линия среднего диаметра резьбы трубы или муфты; 3 - ось резьбы трубы или муфты

Рисунок 6 - Форма профиля резьбы гладких труб и труб с высаженными наружу концами и муфт к ним

____________

* Размеры для справок.

1 - конец сбега резьбы трубы или муфты; 2 - нитки резьбы со срезанными вершинами; 3 - основная плоскость резьбы трубы или муфты; 4 - линия среднего диаметра резьбы трубы или муфты

Рисунок 7 - Размеры резьбы и соединений гладких труб и труб с высаженными наружу концами и муфт к ним

1 - измерительная плоскость резьбового калибра-кольца; 2 - резьбовой калибр-кольцо; 3 - труба; 4 - резьбовой калибр-пробка; 5 - муфта; 6 - измерительная плоскость резьбового калибра-пробки

Рисунок 8 - Схема определения натяга резьбы гладких труб и труб с высаженными наружу концами и муфт к ним

Таблица 11 - Размеры резьбы гладких труб и труб с высаженными наружу концами и муфт к ним

В миллиметрах

Наименование показателя

Значение показателя при числе ниток резьбы

(на длине 25,4 мм)

10

8

Шаг резьбы Р

2,540

3,175

Высота исходного профиля H*

2,200

2,750

Высота профиля h1

Рабочая высота профиля h*

1,336

1,734

Угол профиля a*

60°

Угол наклона стороны профиля a/2

30° ± 1°

Радиус закругления:

 

 

вершины профиля r

впадины профиля r1

Зазор z*

0,076

Угол уклона j

1°47’24”

Конусность 2 tg j

1:16

* Размеры для справок.

Примечания

1 Шаг резьбы Р измеряют параллельно оси резьбы трубы и муфты.

2 Предельные отклонения значений радиусов r и r1 даны для проектирования резьбообразующего инструмента и контролю не подлежат.

Таблица 12 - Предельные отклонения от номинальных размеров для треугольной резьбы гладких труб и труб с высаженными наружу концами и муфт к ним

В миллиметрах

Предельное отклонение

шага резьбы

конусности (на длине резьбы 100 мм)

на длине резьбы 25,4 мм

на всей длине резьбы с полным профилем

трубы

муфты

±0,075

±0,120

+0,36

+0,22

-0,22

-0,36


Таблица 13 - Размеры резьбовых соединений гладких труб и муфт к ним

В миллиметрах

Условный диаметр трубы

Наружный диаметр трубы D

Шаг резьбы P

Средний диаметр резьбы в основной плоскости dср*

Диаметр резьбы в плоскости торца трубы

Длина резьбы трубы

Внутренний диаметр резьбы в плоскости торца муфты d3*

Диаметр цилиндрической расточки муфты d0 (пред. откл. плюс 0,8)

Глубина выточки муфты l0, пред. откл.

Ширина торцовой плоскости муфты B min

Расстояние от торца муфты до конца сбега резьбы на трубе при свинчивании вручную (натяг) А

общая (до конца сбега) L

до основной плоскости (с полным профилем) l*

сбег резьбы l1 max

наружный d1*

внутренний d2*

номинальная

пред. откл.

33

33,4

2,540

32,065

32,382

29,568

29,0

±2,5

16,3

8,0

31,210

35,0

8,0

2,0

5,0

42

42,2

40,828

40,948

38,124

32,0

19,3

39,973

43,8

2,5

48

48,3

46,924

46,866

44,042

35,0

22,3

46,069

49,9

1,5

60

60,3

58,989

58,494

55,670

42,0

29,3

58,134

61,9

4,0

73

73,0

71,689

70,506

67,682

53,0

40,3

70,834

74,6

5,5

89

88,9

87,564

85,944

83,120

60,0

47,3

86,709

90,5

6,5

102

101,6

3,175

99,866

98,519

94,899

62,0

±3,2

49,3

10,0

98,519

103,2

9,5

6,5

6,5

114

114,3

112,566

111,031

107,411

65,0

52,3

111,219

115,9

6,0

* Размеры для справок.

Примечание - За конец сбега резьбы принята точка пересечения образующей конуса ее сбега с образующей цилиндра, диаметр которого равен наружному диаметру трубы.


Таблица 14 - Размеры уплотнительного кольца, устанавливаемого в муфтах гладких труб, и внутренней проточки (канавки) для него

В миллиметрах

Условный диаметр трубы

Номинальный наружный диаметр трубы D

Расстояние от торца муфты до плоскости окончания проточки Wk (пред. откл. ±3,2)

Ширина проточки qk (пред. откл. ±0,13)

Диаметр проточки Dk (пред. откл. ±0,25)

Уплотнительное кольцо

Наружный диаметр Dr (пред. откл. ±0,19)

Толщина Еr (пред. откл. плюс 0,38)

Высота Fr (пред. откл. плюс 0,38)

33

33,4

20,7

3,96

34,19

34,62

2,03

3,18

42

42,2

42,95

43,38

48

48,3

48,74

49,20

60

60,3

25,4

4,78

60,81

61,26

3,96

73

73,0

73,51

73,96

89

88,9

89,38

89,84

102

101,6

28,6

4,78

102,31

102,77

2,54

114

114,3

115,01

115,47

4.23.1 Форма и размеры профиля резьбы гладких труб и муфт к ним должны соответствовать указанным на рисунке 6 и в таблице 11.

4.23.2 Размеры соединений гладких труб и муфт к ним должны соответствовать указанным на рисунках 7 и 8 и в таблицах 11 - 14.

4.23.3 Минимальную толщину стенки под резьбой в плоскости торца трубы t, мм, следует вычислять (округляя до 0,1 мм) по формуле

,                                                       (4)

где s - номинальная толщина стенки, мм;

D - номинальный наружный диаметр трубы, мм;

D - значение верхнего предельного отклонения наружного диаметра трубы, мм (указано в таблице 7);

d2 - внутренний диаметр резьбы в плоскости торца трубы, мм.

Если расчетное значение t окажется менее 1,0 мм для труб условным диаметром до 48 мм (включительно) и менее 2,0 мм для остальных диаметров труб, то это значение должно приниматься равным 1,0 и 2,0 мм соответственно.

4.23.4 Образование острой кромки на торце трубы при схождении наружной и внутренней фасок не допускается.

4.23.5 Размеры внутренней проточки (канавки) в муфте для установки уплотнительного кольца из неметаллического материала и размеры самого кольца приведены на рисунке 5 и в таблице 14.

4.23.6 Для выхода резьбообразующего инструмента на середине муфты может быть проточена канавка на глубину, не превышающую высоту профиля h1 более чем на 0,5 мм. Канавка не должна иметь острых углов (подрезов).

При отсутствии канавки допускается перерез встречных ниток на расстоянии, считая от середины муфты в обе стороны, не более (13,0 - Р) мм.

4.23.7 У торца муфты допускается коническая выточка, образующая которой должна быть параллельна образующей конуса резьбы.

Наименьший диаметр конической выточки должен быть равен d0 цилиндрической выточки муфты.

4.23.8 Предельные отклонения от номинальных размеров для треугольной резьбы должны соответствовать значениям, указанным в таблице 12.

Предельные отклонения шага резьбы на длине, не превышающей 25,4 мм, допускаются для расстояния между любыми двумя нитками с полным профилем.

Для расстояния между нитками более 25,4 мм допускается увеличение предельных отклонений пропорционально увеличению расстояния, но не свыше указанных в таблице 12 для всей длины резьбы с полным профилем.

Предельные отклонения конусности (отклонения от разности двух диаметров) приняты на длине резьбы 100 мм и относятся к среднему диаметру резьбы трубы и муфты, а также к наружному диаметру резьбы трубы и внутреннему диаметру резьбы муфты.

4.23.9 Натяг резьбы муфты по резьбовому калибру-пробке должен быть равен натягу А, принятому для свинчивания муфт с трубами вручную, в соответствии с рисунком 7 и приведенному в таблице 13.

Предельные отклонения натяга не должны превышать ±Р1.

Примечание - Значение Р1 соответствует шагу резьбы и принято равным 2,5 мм - для труб и муфт с шагом резьбы 2,540 мм и 3,2 мм - для труб и муфт с шагом резьбы 3,175 мм.

4.23.10 Натяг резьбы трубы АТ по резьбовому калибру-кольцу должен быть равен Р.

Предельные отклонения натяга не должны превышать ±Р1.

4.23.11 При свинчивании вручную муфт с трубами натяг в соответствии с рисунком 8 должен быть равен значению А, приведенному в таблице 13.

Предельные отклонения натяга при свинчивании вручную муфты с трубой не должны превышать ±Р1.

4.23.12 После свинчивания трубы и муфты на станке торец муфты должен совпадать с концом сбега резьбы на трубе в соответствии с рисунком 7.

Предельные отклонения натяга не должны превышать ±Р1.

4.24 Основные размеры соединений труб с высаженными наружу концами с треугольной резьбой и муфт к ним приведены на рисунках 5 - 8 и в таблицах 11, 12, 15 и 16.


Таблица 15 - Размеры соединений труб с высаженными наружу концами с треугольной резьбой и муфт к ним

В миллиметрах

Условный диаметр трубы

Наружный диаметр трубы D

Шаг резьбы Р

Средний диаметр резьбы в основной плоскости dcp

Диаметр резьбы в плоскости торца трубы

Длина резьбы трубы

Внутренний диаметр резьбы в плоскости торца муфты d3

Диаметр цилиндрической расточки муфты d0 (пред, откл. плюс 0,8)

Глубина выточки муфты l0, (пред, откл.

Ширина торцовой плоскости муфты Bmin

Расстояние от торца муфты до конца сбега резьбы на трубе при свинчивании вручную (натяг) А

общая (до конца сбега) L

до основной плоскости (с полным профилем) l*

сбег резьбы l1 max

наружный d1*

внутренний d2*

номинальная

пред. откл.

27

33,4

2,540

32,065

32,383

29,568

29,0

±2,5

16,3

8,0

31,210

35,0

8,0

2,0

5,0

33

37,3

35,970

36,100

33,276

32,0

19,3

35,115

38,9

3,0

42

46,0

44,701

44,643

41,819

35,0

22,3

43,846

47,6

2,5

48

53,2

51,845

51,662

48,833

37,0

24,3

50,990

54,8

2,5

60

65,9

3,175

64,148

63,551

59,931

50,0

±3,2

37,3

10,0

62,801

67,5

9,5

3,5

6,5

73

78,6

76,848

76,001

72,381

54,0

41,3

75,501

80,2

4,5

89

95,2

93,516

92,294

88,674

60,0

47,3

92,169

96,9

6,5

102

108,0

106,216

104,744

101,124

64,0

51,3

104,869

109,6

6,5

114

120,6

118,916

117,256

113,636

67,0

54,3

117,569

122,3

7,5

* Размеры для справок.

Примечание - За конец сбега резьбы принята точка пересечения образующей конуса ее сбега с образующей цилиндра, диаметр которого равен наружному диаметру высаженной части.


Таблица 16 - Размеры уплотнительного кольца, устанавливаемого в муфте труб с высаженными наружу концами, и внутренней проточки (канавки) для него

В миллиметрах

Условный диаметр трубы

Номинальный наружный диаметр трубы D

Расстояние от торца муфты до плоскости окончания проточки Wk (пред. откл. ±3,2)

Ширина проточки qk (пред. откл. ±0,13)

Диаметр проточки Dk (пред. откл. ±0,25)

Уплотнительное кольцо

Наружный диаметр Dr (пред. откл. ±0,19)

Толщина Er (пред. откл. плюс 0,127)

Высота Fг пред. откл.

27

26,7

22,2

3,96

34,09

34,54

2,03

3,18

33

33,4

38,00

38,43

42

42,2

22,2

4,78

46,74

47,17

2,03

3,96

48

48,3

53,87

54,31

60

60,3

28,6

66,60

67,06

2,54

73

73,0

79,30

79,76

89

88,9

95,96

96,42

102

101,6

108,66

109,12

114

114,3

121,36

121,82

4.24.1 Форма и размеры профиля резьбы труб с высаженными наружу концами и муфт к ним должны соответствовать указанным на рисунке 6 и в таблице 11.

4.24.2 Предельные отклонения от номинальных размеров для резьбы должны соответствовать требованиям, приведенным в 4.23.2.

4.24.3 Размеры соединений труб с высаженными наружу концами и муфт к ним приведены на рисунках 5 и 7 и в таблицах 3 и 15.

4.24.4 Канавка на середине муфты и коническая выточка у ее торца должны соответствовать требованиям, приведенным в 4.23.6 и 4.23.7, соответственно.

4.24.5 Размеры внутренней проточки (канавки) в муфте для установки уплотнительного кольца из неметаллического материала и размеры кольца приведены на рисунке 5 и в таблице 16.

4.24.6 Натяг резьбы муфты по резьбовому калибру-пробке должен быть равен натягу А, принятому для свинчивания муфт с трубами вручную, в соответствии с рисунком 8 и приведенному в таблице 15.

Предельные отклонения натяга не должны превышать ±Р1.

4.24.7 Натяг резьбы трубы Ат по резьбовому калибру-кольцу должен быть равен Р1.

Предельные отклонения натяга не должны превышать ±Р1.

4.24.8 При свинчивании вручную муфт с трубами натяг должен быть равен А в соответствии с рисунком 7 и значением, приведенным в таблице 15.

Предельные отклонения натяга при свинчивании вручную муфты с трубой не должны превышать ±Р1.

4.24.9 После свинчивания трубы и муфты на станке торец муфты должен совпадать с концом сбега резьбы на трубе в соответствии с рисунком 7.

Предельные отклонения натяга не должны превышать ±Р.

4.25 Основные размеры соединений гладких высокогерметичных труб с трапецеидальной резьбой Т и муфт к ним приведены на рисунках 9 - 12 и в таблицах 17 - 20.

____________

* Размеры для справок.

1 - ось резьбы трубы Т или ниппельного конца трубы Б; 2 - линия, параллельная оси резьбы трубы Т или ниппельного конца трубы Б; 3 - ось резьбы муфты для трубы Т или раструбного конца трубы Б; 4 - линия, параллельная оси резьбы муфты для трубы Т или раструбного конца трубы Б

Рисунок 9 - Форма профиля трапецеидальной резьбы гладких высокогерметичных труб Т условным диаметром от 60 до 102 мм (включительно) и муфт к ним и всех диаметров безмуфтовых труб Б с высаженными наружу концами

____________

* Размеры для справок.

1 - ось резьбы муфты для трубы Т; 2 - линия, параллельная оси резьбы муфты для трубы Т; 3 - ось резьбы трубы Т; 4 - линия, параллельная оси резьбы трубы Т

Рисунок 10 - Форма профиля трапецеидальной резьбы гладких высокогерметичных труб условным диаметром 114 мм и муфт к ним

____________

* Размеры для справок.

1 - конец сбега резьбы; 2 - нитки резьбы со срезанными вершинами; 3 - основная плоскость резьбы трубы или муфты; 4 - длина резьбы с полным профилем; 5 - сбег резьбы; 6 - расчетная плоскость

Рисунок 11 - Размеры резьбовых соединений гладких высокогерметичных труб с трапецеидальной резьбой и муфт к ним

____________

* Размеры для справок.

1 - измерительная плоскость резьбового калибра-кольца; 2 - резьбовой или гладкий калибр-кольцо; 3 - труба; 4 - резьбовой калибр-пробка; 5 - гладкий калибр-пробка; 6 - муфта; 7 - измерительная плоскость резьбового калибра-пробки; 8 - измерительная плоскость гладкого калибра-пробки; 9 - гладкий калибр-кольцо для проверки труб условным диаметром от 60 до 102 мм включительно; 10 - гладкий калибр-кольцо для проверки труб условным диаметром 114 мм; 11 - измерительная плоскость гладкого калибра-кольца; 12 - конец сбега резьбы; 13 - соединение, свинченное вручную; 14 - соединение, свинченное на станке

Рисунок 12 - Схема определения натяга трапецеидальной резьбы гладких высокогерметичных труб и муфт к ним

Таблица 17 - Размеры профиля трапецеидальной резьбы гладких высокогерметичных труб и муфт к ним и безмуфтовых труб с высаженными наружу концами

В миллиметрах

Наименование показателя

Значение показателя

для труб Т условным диаметром от 60 до 102 мм (включительно) и муфт к ним и для всех диаметров труб Б

для труб Т условным диаметром 114 мм и муфт к ним

Шаг резьбы P

4,233

5,080

Высота профиля h1:

1,20+0,05

1,60 ± 0,03

наружная резьба

внутренняя резьба

1,30+0,05

Угол профиля a*

33°

13°

Угол наклона стороны профиля:

a1

3° ± 1°

a2

30° ± 1°

10° ± 1°

Радиус закругления профиля:

r

-

0,20+0,05

r1

0,20-0,05

r2

0,25-0,05

-

r3

-

0,80+0,05

r4

-

0,80-0,05

Ширина фаски c

0,30+0,05

-

Ширина вершины профиля:

1,659

2,29

b*

b1*

1,600

Ширина впадины профиля:

1,800+0,05

2,43+0,05

b2

b3

1,794+0,05

Угол наклона j

2°23’09”

1°47’24”

Конусность 2 tg j

1:12

1:16

* Размеры для справок.

Примечания

1 Шаг резьбы P измеряют параллельно оси резьбы трубы и муфты.

2 Все предельные отклонения на элементы профиля резьбы, за исключением предельных отклонений на углы наклона сторон и высоту профиля, даны для проектирования резьбообразующего инструмента и контролю не подлежат.

3 Высота профиля наружной резьбы h1 безмуфтовых труб Б контролю не подлежит.

Таблица 18 - Размеры соединений трапецеидальной резьбы ниппельных концов гладких высокогерметичных труб

В миллиметрах

Условный диаметр трубы

Наружный диаметр D

Конусность К

Внутренний диаметр резьбы в основной плоскости dвн*

Наружный диаметр резьбы в плоскости торца d1*

Диаметр уплотнительного конического пояска в плоскости торца трубы d2*

Расстояние от торца до конца сбега резьбы L (пред. откл. плюс 3,0 мм)

Расстояние от торца до основной плоскости l*

Расстояние от торца до начала резьбы l1

Длина уплотнительного конического пояска l2

Сбег резьбы l3 mах

Глубина канавки f (пред. откл. плюс 0,25 мм)

(пред. откл. минус 1,0 мм)

60

60,3

1:12

57,925

56,575

54,175

65,0

45,0

20,0

10,0

10,0

1,6

73

73,0

70,625

69,275

66,875

65,0

45,0

89

88,9

86,500

84,317

81,917

75,0

55,0

102

101,6

99,200

97,017

94,617

75,0

55,0

114

114,3

1:16

111,100

110,175

106,375

98,0

66,0

29,0

14,0

13,0

2,0

* Размеры для справок.

Примечание - За конец сбега резьбы принято окончание стороны впадины исчезающей нитки, наиболее удаленной от торца трубы.

Таблица 19 - Размеры соединений трапецеидальной резьбы муфт для гладких высокогерметичных труб

В миллиметрах

Условный диаметр трубы

Конусность К

Внутренний диаметр резьбы в основной плоскости dвн*

Внутренний диаметр резьбы в плоскости торца d3*

Диаметр уплотнительной конической расточки в расчетной плоскости dупл*

Диаметр фаски плоскости торца d0 (пред. откл. плюс 1,0 мм)

Внутренний диаметр dM (пред. откл. ± 0,5)

Расстояние от торца до упорного уступа L1 (пред. откл. плюс 1,0 мм)

Расстояние от торца до расчетной плоскости l4*

Длина резьбового конуса l5 (пред. откл. минус 1,0 мм)

Длина резьбы с полным профилем l6 min

Расстояние от торца до основной плоскости l7*

Ширина торцовой плоскости В min

60

1:12

57,925

59,225

54,475

62,5

50,0

63,0

57,0

53,0

43,0

15,6

3,5

73

70,625

71,875

67,125

75,0

60,0

15,0

5,0

89

86,500

87,700

82,117

91,0

74,0

73,0

67,0

63,0

53,0

14,4

6,5

102

99,200

100,350

94,767

104,0

88,0

13,8

6,0

114

1:16

111,100

112,475

106,425

116,5

100,0

96,0

88,0

82,0

72,0

22,0

5,5

* Размеры для справок.

Примечание - Конец сбега резьбы может находиться на фаске, расположенной между резьбой и уплотнительной конической расточкой.

Таблица 20 - Предельные отклонения от номинальных размеров трапецеидальной резьбы гладких высокогерметичных труб и муфт к ним и безмуфтовых труб с высаженными наружу концами

В миллиметрах

Шаг резьбы

Предельное отклонение

шага резьбы

конусности (на длине резьбы 100 мм)

на длине резьбы 25,4 мм

на всей длине резьбы с полным профилем

наружной

внутренней

4,233

±0,04

±0,08

+0,15

-0,15

5,080

±0,05

±0,10

Примечание - Предельные отклонения конусности (отклонения от разности двух диаметров) приняты на длине резьбы 100 мм и относятся к наружному диаметру резьбы.

4.25.1 Размеры профиля трапецеидальной резьбы труб Т и муфт к ним и безмуфтовых труб Б приведены на рисунках 9 - 10 и в таблице 17.

Формы и размеры профиля и резьбовых соединений труб Т условным диаметром от 60 до 102 мм (включительно) и муфт к ним должны соответствовать указанным на рисунке 9 и в таблицах 17 и 20, а для труб условным диаметром 114 мм и муфт к ним - указанным на рисунке 10 и в таблицах 18 и 20.

Фаску с профиля выступа резьбы трубы Т и резьбы муфты к ней допускается заменять радиусом закругления r = 0,2+0,05 мм.

4.25.2 Размеры соединений должны соответствовать указанным на рисунке 11 и в таблице 18 - для труб и на рисунке 11 и в таблице 19 - для муфт к ним.

У торца муфт допускается замена фаски радиусом закругления 35° ± 5° при условии сохранения при этой замене ширины фаски.

4.25.3 Минимальную толщину стенки уплотнительного конического пояска в плоскости торца трубы t следует вычислять как в 4.23.3, при этом за d2 принимают диаметр уплотнительного конического пояска в плоскости торца трубы.

Если вычисленное значение t окажется менее 1,8 мм, то t принимают равным 18 мм, кроме труб диаметрами 60 и 73 мм (толщиной стенки 5,5 мм), для которых t принимают равным 1,2 и 1,5 мм соответственно.

4.25.4 Предельные отклонения от номинальных размеров трапецеидальной резьбы гладких высокогерметичных труб Т и муфт к ним и безмуфтовых труб Б должны соответствовать указанным в таблице 20.

4.25.5 Предельные отклонения шага трапецеидальной резьбы на длине, не превышающей 25,4 мм, допускаются для расстояния между любыми двумя нитками с полным профилем.

На длине между нитками, превышающей 25,4 мм, допускается увеличение предельных отклонений шага резьбы пропорционально увеличению расстояния, но не более значений для всей длины резьбы с полным профилем, указанных в таблице 20.

4.25.6 Предельные отклонения конусности на всей длине уплотнительного конического пояска труб не должны превышать ±0,03 мм, а на длине уплотнительной конической расточки муфт к ним - плюс 0,06 мм.

Конусность по внутреннему диаметру резьбы муфт для труб Т должна проверяться на длине резьбы с полным профилем и со срезанными вершинами (до начала сбега резьбы).

4.25.7 При определении натяга резьбы трубы измерительная плоскость калибра-кольца должна находиться на расстоянии Н от ее торца в соответствии с рисунком 12:

- для труб условным диаметром от 60 до 102 мм включительно:

20-1,2 мм - при использовании резьбового калибра-кольца с полным или неполным профилем,

20-2,4 мм - при использовании гладкого калибра-кольца;

- для труб условным диаметром 114 мм;

24-2,5 мм - как при использовании резьбового, так и гладкого калибра-кольца.

4.25.8 При определении диаметра уплотнительного конического пояска труб условным диаметром от 60 до 102 мм включительно измерительная плоскость гладкого калибра-кольца должна совпадать с торцом трубы или переходить за торец не более чем на значение Н1 = 1,2 мм в соответствии с рисунком 12.

Для труб условным диаметром 114 мм измерительная плоскость гладкого калибра-кольца должна совпадать с торцом трубы или не доходить до торца на значение H1 = 1,6 мм в соответствии с рисунком 12.

4.25.9 Натяг резьбы муфты к трубам Т по резьбовому калибру-пробке должен быть равен Н2 в соответствии с рисунком 12:

5,0-1,2 мм - для муфт к трубам условным диаметром от 60 до 102 мм включительно;

6,0-2,5 мм - для муфт к трубам условным диаметром 114 мм.

Измерительная плоскость гладкого калибра-пробки при проверке натяга резьбы муфт гладких высокогерметичных труб Т условным диаметром от 60 до 102 мм включительно должна совпадать с торцом муфты или утопать относительно торца муфты не более чем на H3, равное 1,2 мм, в соответствии с рисунком 12.

При проверке натяга резьбы муфт труб Т условным диаметром 114 мм измерительная плоскость гладкого калибра-пробки должна утопать относительно торца муфты на значение H3, ограниченное диапазоном от 6,0 до 8,5 мм в соответствии с рисунком 12.

4.25.10 При определении диаметра уплотнительной конической расточки муфты измерительная плоскость гладкого калибра-пробки должна находиться от торца муфты на расстоянии H4 в соответствии с рисунком 12, равном:

45-1,2 мм - для труб условными диаметрами 60 и 73 мм;

55-1,2 мм      »        »            »              »            89 и 102 мм;

 мм    »        »            »              »            114 мм.

4.25.11 При свинчивании вручную гладкой высокогерметичной трубы с муфтой с нанесенным на ее резьбу фосфатным или цинковым покрытием натяг должен быть равен H5 в соответствии с рисунком 12:

4,4 мм - для труб условным диаметром 60 мм;

5,0 мм         »        »          »            »        73 мм;

5,6 мм         »        »          »            »        89 мм;

6,2 мм         »        »          »            »        102 мм;

8,0 мм         »        »          »            »        114 мм.

Предельные отклонения натяга не должны превышать ±2,0 мм.

4.25.12 После свинчивания трубы и муфты на станке должно быть обеспечено сопряжение торца трубы и упорного уступа муфты по всему периметру стыка упорных поверхностей в соответствии с рисунком 12.

4.25.13 Торцы трубы и упорные уступы муфты должны быть перпендикулярны к оси резьбы.

Предельные отклонения от перпендикулярности и от плоскостности на ширине упорных поверхностей не должны превышать 0,06 мм.

4.25.14 Оси резьбы и уплотнительных конических поверхностей труб и муфт должны совпадать.

Предельное отклонение от соосности не должно превышать 0,04 мм.

4.26 Основные размеры резьбовых соединений высокогерметичных безмуфтовых труб с высаженными наружу концами и трапецеидальной резьбой приведены на рисунках 9, 13 и 14 и в таблицах 17, 20 - 22.

4.26.1 Форма и размеры профиля резьбы ниппельного и раструбного концов труб Б должны соответствовать указанным на рисунке 9 и в таблицах 17, 20 - 22.

4.26.2 Размеры соединений труб Б должны соответствовать указанным на рисунке 13 и в таблице 21 - для ниппельного и на рисунке 13 и в таблице 22 - для раструбного концов соответственно.

4.26.3 Предельные отклонения от номинальных размеров трапецеидальной резьбы должны соответствовать указанным в таблице 20.

4.26.4 Предельные отклонения конусности на всей длине уплотнительной конической расточки раструбного конца труб Б должны быть не более 0,06 мм, а уплотнительного конического пояска ниппельного конца труб - не более 0,03 мм.

4.26.5 При определении натяга резьбы ниппельного конца трубы Б измерительная плоскость гладкого и резьбового калибров-колец с полным и неполным профилем не должна отступать от торца трубы более чем на 18+1,2 мм в соответствии с рисунком 14.

____________

* Размеры для справок.

1 - основная плоскость резьбы; 2 - сбег резьбы; 3 - расчетная плоскость

Рисунок 13 - Размеры резьбовых соединений высокогерметичных безмуфтовых труб с высаженными наружу концами и трапецеидальной резьбой

____________

* Размеры для справок.

1 - конец трубы Б; 2 - гладкий калибр-кольцо; 5 - гладкий калибр-пробка; 4 - резьбовой калибр-пробка; 5 - резьбовой (с полным или неполным профилем) калибр-кольцо; ИП - измерительная плоскость калибра

Примечание- При использовании резьбового (с полным или неполным профилем) калибра-кольца для определения натяга резьбы ниппельного конца трубы Б требования к величине натяга идентичные, как и при использовании гладкого калибра-кольца.

Рисунок 14 - Схема определения натяга резьбы высокогерметичных безмуфтовых труб с высаженными наружу концами и трапецеидальной резьбой

Таблица 21 - Размеры соединения ниппельного конца высокогерметичных безмуфтовых труб с высаженными наружу концами и трапецеидальной резьбой

В миллиметрах

Условный диаметр трубы

Внутренний диаметр резьбы в основной плоскости dвн*

Наружный диаметр большого основания резьбового конуса D1*

Наружный диаметр резьбы в плоскости торца d1*

Диаметр уплотнительного конического пояска в плоскости торца трубы d2*

Расстояние от торца ниппеля до

упорного уступа А L+05

начала сбега резьбы l min

основной плоскости l1*

60

62,267

66,0

60,167

57,167

70,0

62,0

54,0

73

75,267

79,0

72,750

69,750

89

91,267

95,0

88,750

85,750

75,0

67,0

59,0

102

104,267

108,0

101,750

98,750

114

117,267

121,0

114,750

111,750

* Размеры для справок.

Таблица 22 - Размеры соединения раструбного конца высокогерметичных безмуфтовых труб с высаженными наружу концами и трапецеидальной резьбой

В миллиметрах

Условный диаметр трубы

Внутренний диаметр резьбы

Диаметр уплотнительной конической расточки в расчетной плоскости dупл*

Диаметр конической выточки в плоскости торца d0*

Расстояние от торца до

Длина резьбового конуса l3 (пред. откл. ±0,5)

Длина резьбы с полным профилем l4 min

в основной плоскости dвн*

в плоскости торца d3*

упорного уступа Г L1 (пред, откл. минус 0,5)

расчетной плоскости l2*

60

62,267

63,4

57,30

65,8

70,0

66,0

60,0

50,0

73

75,267

76,5

69,80

78,8

75,0

72,0

65,0

55,0

89

91,267

92,4

85,80

94,8

102

104,267

105,4

98,80

107,8

114

117,267

118,4

111,80

120,8

* Размеры для справок.

Примечание - Конец сбега резьбы для труб условным диаметром 114 мм может находиться на фаске, расположенной между резьбой и уплотнительной конической расточкой.

4.26.6 При определении диаметра уплотнительного конического пояска ниппельного конца труб Б измерительная плоскость гладкого калибра-кольца должна совпадать с торцом трубы или не доходить до торца не более чем на 1,2 мм в соответствии с рисунком 14.

4.26.7 Натяг резьбы раструбного конца труб Б по резьбовому калибру-пробке должен быть равен 5-1,2 мм в соответствии с рисунком 14.

Измерительная плоскость гладкого калибра-пробки при проверке натяга резьбы раструбного конца труб Б должна совпадать с торцом трубы или утопать относительно ее торца не более чем на 1,2 мм в соответствии с рисунком 14.

4.26.8 При определении диаметра уплотнительной конической расточки раструбного конца труб Б измерительная плоскость гладкого калибра-пробки должна находиться от ее торца на расстоянии Н, равном 54,0 мм, - для труб условным диаметром 60 мм и 59,0 мм - для труб диаметром более 60 мм в соответствии с рисунком 14.

Предельное отклонение диаметра уплотнительной конической расточки не должно превышать плюс 1,2 мм.

4.26.9 При определении диаметра конической выточки раструбного конца труб Б измерительная плоскость гладкого калибра-пробки должна совпадать с торцом трубы или не доходить до торца не более чем на 1,2 мм в соответствии с рисунком 14.

4.26.10 Упорные поверхности А. Б, В и Г труб Б должны быть перпендикулярны к оси резьбы.

Предельное отклонение от перпендикулярности и от плоскостности на ширине упорных поверхностей труб не должно превышать 0,06 мм каждое.

4.26.11 Оси резьбы и уплотнительных конических поверхностей ниппельного и раструбного концов трубы должны совпадать.

Предельное отклонение от соосности не должно превышать 0,04 мм.

4.26.12 Поверхность гладкой части резьбового конуса ниппельного конца трубы Б, расположенная за сбегом резьбы, должна являться продолжением поверхности, образованной вершинами профиля резьбы.

4.26.13 Разностенность в плоскости торцов В (ниппельного конца) и Б (раструбного конца) не должна превышать 1,0 мм.

4.26.14 Ширина упорных поверхностей А (ниппельного конца) и Г (раструбного конца) должна быть не менее указанной в таблице 23.

Таблица 23 - Минимальная ширина упорных поверхностей ниппельного А и раструбного Г концов высокогерметичных безмуфтовых труб с высаженными наружу концами с трапецеидальной резьбой

В миллиметрах

Условный диаметр трубы

Номинальная толщина стенки

Минимальная ширина упорных поверхностей

А

Г

60

5,0

1,75

2,00

73

5,5

1,75

2,25

7,0

2,75

3,50

89

6,5

2,75

3,25

8,0

3,75

4,50

102

6,5

3,25

3,50

114

7,0

3,75

4,00

4.27 Поверхности резьбы насосно-компрессорных труб, уплотнительных конических поверхностей, упорных торцов и уступов труб Т и муфт к ним, а также конической выточки безмуфтовых (раструбных) труб Б должны быть гладкими, без заусенцев, рванин и других дефектов, нарушающих их непрерывность и прочность.

Параметр шероховатости поверхности резьбы Rz не должен быть более 20 мкм.

4.28 Оси резьбы обоих концов отдельной муфты должны совпадать.

Предельные отклонения от соосности, мм, не более:

в плоскости торца муфты - 0,75;

на длине 1,0 м - 3,0.

4.29 Нитки с черновинами по вершинам резьбы не допускаются на расстоянии менее (1 - h) мм от торца трубы.

Значение h устанавливается равным:

7,5 мм - для резьбы с шагом   2,54 мм;

8,5 мм       »     »      »        »      4,233 мм;

10,0 мм     »     »      »        »      3,175 и 5,080 мм.

4.30 Предельная разность диаметров резьбы муфт всех труб и раструбных концов труб Б в одном сечении (овальность) не должна превышать:

0,10 мм - для муфт и раструбных концов труб условным диаметром от 27 до 60 мм включительно;

0,13 мм - условным диаметром 73 и 89 мм включительно;

0,15 мм - условным диаметром 102 и 114 мм.

4.31 Каждая труба и заготовка для муфт должны быть подвергнуты неразрушающему контролю на наличие дефектов:

- продольных и поперечных - по всей длине трубы (в том числе сварного шва - для электросварных прямошовных труб) и заготовки;

- поперечных - для высаженных концов труб Б и В обязательно.

5 Маркировка

5.1 Маркировка труб должна соответствовать ГОСТ 10692 с дополнениями.

5.2 На каждой трубе на расстоянии 300 - 700 мм от ее муфтового или раструбного (для труб Б) конца должна быть нанесена четкая маркировка клеймами шрифтом не менее 6 - Пр3 или 8 - Пр3 по ГОСТ 26.008.

Маркировка наносится ударным способом или накаткой вдоль образующей в один или несколько рядов в следующей последовательности:

- буква П - только для труб Г и В с установленным в муфте уплотнительным кольцом из полимерных материалов;

- условный диаметр трубы, мм, - до трех цифр;

- номинальная толщина стенки (целое число, а для труб с дробной толщиной стенки - числа без запятой, разделяющей целые и десятичные доли), мм, - до трех цифр;

- группа прочности (с индексом «с» - для электросварных труб, например Дс - буква и индекс (только для электросварных труб);

- номер партии - до пяти цифр;

- товарный знак предприятия-изготовителя - знак или до пяти букв;

- месяц и год выпуска (последние две цифры) - до четырех цифр.

5.3 Место нанесения маркировки ударным способом или накаткой должно быть выделено (обведено или подчеркнуто) устойчивой светлой краской.

5.4 На каждой трубе за местом маркировки, нанесенной ударным способом или накаткой, должна быть нанесена маркировка устойчивой светлой краской в следующей последовательности:

- буква П - только для труб Г и В с установленным в муфте уплотнительным кольцом из полимерных материалов;

- обозначение трубы;

- условный диаметр трубы, мм;

- номинальная толщина стенки в целых числах или числах без запятой, разделяющей целые и десятичные доли числа (для труб с дробной толщиной стенки), мм;

- группа прочности;

- длина трубы, см;

- товарный знак предприятия-изготовителя;

- масса трубы, кг;

- обозначение настоящего стандарта.

Допускается нанесение маркировки по белому фону темными красками (черная, фиолетовая или другая контрастирующая).

5.5 Высота знаков маркировки выбирается в зависимости от диаметра трубы, но не более 50 мм.

Для труб условными диаметрами от 27 до 60 мм включительно допускается проводить замену маркировки каждой трубы краской на маркировку, наносимую ударным способом или накаткой на металлическую бирку, надежно прикрепляемую к каждому пакету. При этом в данной маркировке должны быть приведены общая длина и общая масса находящихся в пакете труб.

5.6 На каждой муфте должна быть четко нанесена маркировка ударным способом или накаткой, включающая товарный знак предприятия-изготовителя и группу прочности.

Муфты с уплотнительным кольцом (или проточкой для него) перед товарным знаком должны дополнительно маркироваться буквой П.

5.7 Все знаки маркировки должны быть нанесены вдоль образующей трубы или муфты.

Допускается при нанесении маркировки способом накатки знаки маркировки размещать перпендикулярно к образующей.

5.8 По согласованию потребителя с изготовителем допускается в маркировку вносить дополнительную информацию с выполнением соответствующей записи в сопроводительных документах качества на поставляемые трубы.

6 Упаковка

6.1 Упаковка труб должна соответствовать ГОСТ 10692 с дополнениями.

6.2 Резьбы, упорные торцы и уступы, уплотнительные конические поверхности труб и муфт должны быть защищены металлическими предохранительными деталями (кольцами и ниппелями) от возможных механических повреждений.

По согласованию потребителя и изготовителя допускается изготовление предохранительных деталей из других материалов, обеспечивающих надежную защиту вышеуказанных элементов при погрузочно-разгрузочных работах и транспортировании.

6.3 Конструкция предохранительных деталей должна обеспечивать возможность их многократного использования потребителем.

6.4 Перед навинчиванием на трубу предохранительных деталей уплотнительные конические поверхности, упорные торцы труб и раструбов, упорные уступы муфт и резьбы труб и муфт должны быть покрыты антикоррозионной смазкой.

Допускается применять для этих целей согласованную с потребителем резьбовую смазку.

6.5 Предохранительная деталь должна закрывать резьбу ниппельного конца трубы на длине не менее L минус 3 нитки, а резьбу муфты и/или раструбного конца безмуфтовых труб - на длине, составляющей не менее 2/3 длины L.

Все предохранительные детали должны выступать за края торцов труб и муфт не менее чем на 10,0 мм.

6.6 Трубы поставляют в пакетах, прочно увязанных по ГОСТ 10692 не менее чем в трех местах.

При увязке труб в пакеты муфты на трубах и раструбные концы безмуфтовых труб должны быть ориентированы в одну сторону.

Масса пакета труб не должна превышать 5 т, а по требованию потребителя - 3 т.

По согласованию изготовителя с потребителем допускается поставка труб в пакетах массой более 5 т.

6.7 При погрузке в одном вагоне должны быть трубы только одной партии.

Допускается отгрузка в одном вагоне труб разных партий при условии разделения их пакетов.

7 Правила приемки

7.1 Изготовитель должен проводить приемочный контроль труб и муфт, их приемосдаточные и периодические испытания для проверки их на соответствие требованиям настоящего стандарта.

При поставке муфт отдельно от труб каждая муфта должна быть принята приемочным контролем, а их партия - приемосдаточными испытаниями.

7.2 Приемочному контролю подвергают:

- каждую трубу - на соответствие требованиям, изложенным в 3.3; 3.5 - 3.8; 4.2 - 4.5; 4.13 - 4.16; 4.18; 4.19; 4.21; 4.23.10; 4.23.12; 4.24.1 - 4.24.3; 4.25 - 4.31; разделах 5 и 6;

- каждую муфту - на соответствие требованиям, изложенным в 3.3; 3.5; 3.7; 4.2; 4.18; 4.19; 4.23.5; 4.23.6; 4.23.9; 4.23.11; 4.23.12; 4.24.1 - 4.24.3; 4.24.6; 4.24.8; 4.24.9; 4.25.1; 4.25.2; 4.25.4 - 4.25.6; 4.25.9 - 4.25.14; 4.29 - 4.31; в разделах 5 и 6.

7.3 Приемосдаточным испытаниям на соответствие требованиям 4.6; 4.8; 4.9; 4.22; 4.27 - для труб и требованиям 4.7 - 4.9; 4.18; 4.27; 4.28 - для муфт подвергаются трубы и муфты, принятые приемочным контролем и укомплектованные в партии.

7.4 Трубы предъявляются к приемке партиями.

Объем партии труб - не более 60 т или 500 шт. (выбирается меньшее).

По согласованию изготовителя с потребителем объем партии допускается увеличивать.

Партия должна состоять из труб или муфт одного типа, одного условного диаметра, одной толщины стенки и группы прочности и сопровождаться документом качества, удостоверяющим соответствие их требованиям настоящего стандарта и содержащим:

- наименование предприятия-изготовителя;

- условный наружный диаметр труб, мм;

- номинальную толщину стенки, мм;

- группу прочности (для электросварных труб в обозначение группы прочности вводится индекс «с»);

- тип резьбового соединения;

- отметку о наличии в муфте уплотнительных колец из неметаллических материалов (только для муфт к трубам с треугольной резьбой);

- общую длину труб, м;

- общую массу труб, кг;

- номер плавки;

- номер партии (от ¼ до ... для каждой плавки);

- количество труб в партии;

- массовую долю серы и фосфора для всех входящих в партию плавок;

- результаты испытаний (для труб или муфт, принятых с определением ударной вязкости при пониженных температурах, должна быть указана температура проведения испытаний);

- обозначение настоящего стандарта.

7.5 Каждая труба и каждая муфта партии должны быть подвергнуты проверке на соответствие требованиям настоящего стандарта с выполнением, при необходимости, измерений дефектов.

7.5.1 Проверке соосности резьб должно быть подвергнуто не менее 1 % муфт каждой партии.

7.5.2 Проверку натяга свинченных вручную труб и муфт следует проводить только при выполнении заказа потребителя на поставку труб с незакрепленной муфтой.

7.5.3 Проверку внутреннего диаметра и общей изогнутости труб Б допускается проводить до высадки концов.

7.5.4 Проверку качества сопряжения торца трубы Т и упорного уступа муфты к ней следует выполнять у каждого соединения этих труб.

7.6 Проверка массы должна проводиться на каждой трубе.

По согласованию с потребителем изготовитель может не проводить данную проверку, при этом трубы принимают по расчетной массе.

Муфты принимают по расчетной массе.

7.7 Массовая доля серы и фосфора должна проверяться в пробе от каждой плавки.

Для труб, изготовляемых из приобретенного металла, массовая доля серы и фосфора удостоверяется документом о качестве предприятия-изготовителя металла.

7.8 Проверке механических свойств металла труб и муфт должна подвергаться одна труба и одна муфта (муфтовая заготовка) от каждой плавки.

7.9 Испытание сварного соединения на твердость, растяжение и ударную вязкость следует проводить на образцах произвольно выбранной трубы от партии.

7.10 Проверке на сплющивание должна подвергаться одна электросварная труба от каждой партии.

При пуске трубоэлектросварочного стана после каждой его остановки испытанию на сплющивание следует подвергать не менее чем первые две готовые трубы.

7.11 Испытанию внутренним гидравлическим давлением должна быть подвергнута каждая труба.

Испытание труб Б допускается проводить после термической обработки, до нарезания резьбы.

7.12 Каждая труба и муфтовая заготовка должны быть подвергнуты неразрушающему контролю.

7.13 При получении неудовлетворительных результатов приемосдаточных испытаний хотя бы по одному из показателей по нему проводят повторные испытания на удвоенном количестве труб, взятых от той же партии.

Результаты повторных испытаний распространяют на всю партию, кроме труб с неудовлетворительными результатами испытаний.

7.14 Периодическим испытаниям подвергают трубы и муфты, прошедшие приемосдаточные испытания.

Испытания проводят организации, имеющие соответствующие лицензии, не реже одного раза в три года или при изменении технологии изготовления труб по программам и методикам, утвержденным в установленном порядке.

При проведении периодических испытаний следует подвергать проверке:

- шаг резьбы (на длине 25,4 мм и на всей длине резьбы с полным профилем);

- углы наклона сторон профиля, конусность по среднему диаметру резьбы труб и муфт к ним;

- конусность по внутреннему диаметру резьбы труб Т и ниппельных концов труб Б и по наружному диаметру резьбы муфт труб Т и раструбных концов труб Б;

- высоту профиля резьбы труб и муфт;

- перпендикулярность и плоскостность упорных поверхностей, соосности резьбы и уплотнительных конических поверхностей соединений труб Т и муфт к ним и труб Б, ширину упорных поверхностей А (ниппельного конца) и Г (раструба) труб Б;

- другие, приведенные в разделе 4 настоящего стандарта, линейные и угловые размеры резьбы труб и муфт.

8 Методы испытаний

8.1 Наружную и внутреннюю поверхности труб, маркировку и упаковку проверяют визуально.

При проверке внутренней поверхности труб следует использовать источники света мощностью не менее 60 Вт, устанавливаемые поочередно у торца ниппеля или навинченной на трубу муфты со стороны, противоположной месту расположения проверяющего (контролера, оператора).

8.2 Глубину залегания дефектов следует проверять после надпиловки в одном-трех местах глубиномером (ГОСТ 7661), индикатором (ГОСТ 577), стенкомером (ГОСТ 11358) и другими средствами линейных измерений, обеспечивающими выполнение требований настоящего стандарта.

8.3 Проверку размеров труб и муфт следует проводить с помощью универсальных измерительных средств или специальных приборов.

8.3.1 Длину трубы следует проверять рулеткой (ГОСТ 7502) или другими средствами линейных измерений, обеспечивающими выполнение требований настоящего стандарта.

8.3.2 Проходной диаметр и общую кривизну трубы следует проверять по всей ее длине цилиндрической оправкой длиной 1250 мм и наружным диаметром, указанным в таблице 24.

Таблица 24 - Наружные диаметры цилиндрических оправок для проверки внутренних диаметров и общей кривизны труб

В миллиметрах

Условный диаметр трубы

Номинальная толщина стенки трубы s

Труба

В, Г, Н (кроме раструбных), Т

Б, Н (только раструбные)

Проходной диаметр трубы

Наружный диаметр цилиндрической оправки dопр

Проходной диаметр (в конце высаженной части) трубы dв

Наружный диаметр, цилиндрической оправки dопр

27

3,0

20,7

18,3

-

-

4,0

18,7

16,3

33

3,5

26,4

24,0

4,5

24,4

22,0

42

3,5

35,2

32,8

5,0

32,2

29,8

48

4,0

40,3

37,9

5,0

38,3

35,9

6,5

35,3

32,9

8,0

32,3

29,9

60

5,0

50,3

47,9

48,3

46,3

6,5

47,3

44,9

-

-

7,5

45,3

42,9

8,5

43,3

40,9

73

5,5

62,0

59,6

60,0

58,0

7,0

59,0

56,6

59,0

57,0

8,0

57,0

54,6

-

-

9,0

55,0

52,6

10,0

53,0

50,6

11,5

50,0

47,6

89

6,0

76,9

73,7

-

-

6,5

75,9

72,7

73,9

71,9

7,5

73,9

70,7

-

-

8,0

72,9

69,7

70,9

68,9

9,5

69,9

66,7

-

-

11,0

66,9

63,7

12,0

64,9

61,7

13,5

61,9

58,7

102

6,0

89,6

86,4

6,5

88,6

85,4

86,6

84,6

8,5

84,6

81,4

-

-

10,5

80,6

77,4

13,0

75,6

72,4

15,5

70,6

67,4

114

7,0

100,3

97,1

98,3

96,3

8,5

97,3

94,1

-

-

10,0

94,3

91,1

11,0

92,3

89,1

13,0

88,3

85,1

14,5

85,3

82,1

16,0

82,3

79,1

Примечание - Наружный диаметр цилиндрической оправки рассчитан:

- для труб В, Г, Н (кроме раструбных) и Т:

условным диаметром от 27 до 89 мм по формуле

dопр = (d - 2,4 мм);                                                                          (5)

условным диаметром 89 мм и выше по формуле

dопр = (d - 3,2 мм),                                                                          (6)

где d - внутренний диаметр трубы, указанный в таблицах 2 - 4;

- для труб Б всех диаметров и раструбных труб Н по формуле

dопр = (dВ - 2,0 мм),                                                                          (7)

где dв - внутренний диаметр в конце высаженной части трубы.

По согласованию изготовителя с потребителем трубы В, Г, Н и Т условным диаметром 60 мм и толщиной стенки 5,0 мм могут быть проверены оправками увеличенного диаметра, равного 49,0 мм, а трубы условным диаметром 73 мм и толщиной стенки 5,5 мм - оправками увеличенного диаметра, равного 60,5 мм.

Предельное отклонение наружного диаметра цилиндрических оправок не должно превышать плюс 0,25 мм.

8.3.3 Изогнутость на концевых участках трубы следует проверять поверочной линейкой длиной 1000 мм типа ШД-2 (ГОСТ 8026) и штангенглубиномером (ГОСТ 162).

Для измерения визуально выбирают участок трубы с максимальной изогнутостью.

Общую изогнутость труб диаметром 114 мм следует контролировать на середине трубы натянутой струной (леской), прикладываемой к наружной поверхности трубы со стороны вогнутости, а измерения выполнять линейкой (ГОСТ 427).

При измерении изогнутости длина высаженной части трубы в расчет не принимается.

Допускается применение для контроля других средств, обеспечивающих выполнение требований настоящего стандарта.

8.4 Проверку размеров резьбы труб и муфт следует выполнять с помощью универсальных измерительных средств или специальных приборов.

8.4.1 Конусность резьбы проверяют калибрами и щупами или специальными приборами.

Конусность по наружному диаметру резьбы труб В и Г и по внутреннему диаметру резьбы муфт следует проверять гладким коническим калибром по ГОСТ 10654 или специальными приборами.

Конусность по наружному диаметру резьбы труб Б и Т и ниппельных концов труб Б, раструбных концов труб Б и муфт труб Т, а также конусность уплотнительных конических поверхностей труб Т и муфт к ним и труб Б следует проверять гладким коническим калибром по ГОСТ 25576 или специальными приборами.

Конусность определяется как частное от деления разности диаметров (наружных, средних или внутренних) двух любых ниток на длину резьбы (измеренную параллельно ее оси) между этими нитками.

При проверке конусности резьбы с применением гладкого калибра для измерения ее значения необходимо использовать, как правило, щуп шириной до 7,0 мм (включительно) и проводить последующий пересчет полученного значения с учетом длины калибра-кольца или калибра-пробки (без ширины конструктивной проточки).

При использовании для измерения конусности щупа шириной свыше 7,0 мм к полученным значениям следует добавлять поправку, определяемую как

,                                                         (8)

где d - средний (для труб В и Г) или внутренний (для труб Б и Т) диаметр резьбы в основной плоскости, мм;

b - ширина щупа, мм.

8.4.2 Проверку натяга резьбовых соединений каждой трубы и каждой муфты следует проводить калибрами для треугольной (ГОСТ 10654) или трапецеидальной (ГОСТ 25576) резьбы или специальными приборами.

Допускается проводить контроль натяга резьбы муфты до нанесения на нее фосфатного или цинкового покрытия.

Перед проведением контроля калибр тщательно очищают волосяной щеткой, а его рабочую поверхность смазывают тонким слоем минерального (например по ГОСТ 32) или индустриального (например по ГОСТ 20799) масла.

Калибр должен иметь одинаковую температуру с проверяемым изделием.

Натяг определяют как расстояние между измерительной плоскостью калибра и торцом трубы или муфты и он должен соответствовать требованиям настоящего стандарта.

Измерение натяга следует проводить штангенциркулем (ГОСТ 166) или штангенглубиномером (ГОСТ 162) с использованием калибров.

Натяг треугольной резьбы труб В и Г и муфт к ним следует проверять резьбовыми калибрами-кольцами и калибрами-пробками по ГОСТ 10654.

Натяг резьбы труб Т и ниппельных концов труб Б следует проверять гладкими и резьбовыми калибрами-кольцами, а диаметр уплотнительного конического пояска - гладкими калибрами-кольцами по ГОСТ 25576.

Натяг резьбы муфт к трубам Т и раструбных концов труб Б следует проверять гладкими и резьбовыми калибрами-пробками, а диаметры уплотнительной конической расточки и конической выточки - гладкими калибрами-пробками по ГОСТ 25576.

Примечание - При наличии разногласий между потребителем и изготовителем по фактической величине натяга окончательным считается измерение, выполненное при полном удалении покрытия резьбы способами химического или анодного растворения.

8.4.3 Проверку натяга при свинчивании муфты с трубой вручную следует проводить измерением штангенциркулем (ГОСТ 166).

8.4.4 Соосность резьбы муфт для труб В, Г и Т следует проверять на специальном стенде или токарном станке с использованием стойки или штатива (ГОСТ 10197), индикатора часового типа по ГОСТ 577 ценой деления не более 0,01 мм и цилиндрических стержней.

Муфту следует навинчивать на цилиндрический стержень, точно выверенный и центрированный в патроне токарного станка или специального приспособления.

На каждом цилиндрическом стержне при его изготовлении на одном станке и с одной установки должна быть выполнена нарезка резьбы и обточка его по наружному диаметру.

В свободный конец муфты должен ввинчиваться другой цилиндрический, изготовленный аналогично, чисто обработанный стержень длиной не менее 250 мм.

Вращая муфту с использованием зажатого в стойке или штативе индикатора, определяют биение (удвоенное значение отклонения от соосности) стержня у торца муфты и у конца стержня.

Отсчет биения у конца стержня ведется от середины муфты.

8.4.5 Высоту (глубину) профиля резьбы следует измерять специальным индикаторным глубиномером (ГОСТ 7661).

Наконечник измерительного стержня индикатора должен соответствовать типу резьбы.

Установку индикаторного глубиномера перед проведением измерений проводят по эталону или по плоской доведенной поверхности чистотой класса не ниже RZ20.

Допускается проводить контроль профиля резьбы другими средствами и методами, обеспечивающими выполнение требований настоящего стандарта.

8.4.6 Длину резьбы следует проверять штангенциркулем (ГОСТ 166) или линейкой (ГОСТ 427) непосредственным измерением от торца трубы до конца сбега резьбы (для труб) или от начала резьбы до середины (до перереза ниток резьбы) муфты.

8.4.7 Толщину стенки под резьбой t следует проверять стенкомером (ГОСТ 11358) или микрометром (ГОСТ 6507) во впадине первой нитки резьбы, расположенной со стороны торца трубы.

Подвижный измерительный наконечник стенкомера или микромера должен иметь форму, которая позволит провести данные измерения соответствующей резьбы.

8.4.8 Проверку сопряжения торца трубы Т с упорным уступом муфты для нее следует проводить пластинчатым щупом толщиной не более 0,03 мм, при этом щуп не должен проходить по всему периметру стыка.

8.5 Определение массы трубы следует проводить на специальных средствах для взвешивания (например по ГОСТ 29329) по методике производителя труб.

8.6 Содержание серы и фосфора в сталях следует определять по ГОСТ 12345 и ГОСТ 12347 соответственно.

Пробы следует отбирать в соответствии с требованиями ГОСТ 7565.

8.7 Проверку механических свойств металла следует проводить на образцах, вырезанных из произвольно отобранной трубы методом, не вызывающим изменения структуры и механических свойств металла, в соответствии с ГОСТ 30432.

Образцы всех труб с высаженными концами следует вырезать из высаженной части.

Образцы для проведения испытаний должны быть отобраны от трубы или муфтовой заготовки в трех местах по дуге в 120° ± 15°, при этом образцы от электросварных труб не должны отбираться из зоны термического влияния сварного шва.

Допускается выпрямлять концы образца для захвата зажимами испытательной машины.

8.7.1 Испытание на растяжение следует проводить по ГОСТ 10006 на коротких продольных образцах.

Для испытаний отбирают по одному образцу от произвольно выбранной из партии трубы или муфтовой заготовки (муфты).

8.7.2 Испытание на твердость металла трубы (сварного соединения - у электросварных труб) или муфты следует проводить по ГОСТ 9012 или ГОСТ 9013 по их наружным или внутренним поверхностям либо на трех образцах, вырезанных из их тела.

Испытания труб или образцов от них толщиной стенок менее 7,0 мм необходимо проводить с применением оправки, исключающей их прогиб.

Метод проведения испытаний на твердость определяет изготовитель.

8.7.3 Испытание на сплющивание электросварных труб следует выполнять по ГОСТ 8695 на кольцевых образцах шириной 60 мм, вырезанных с обоих концов готовых труб (или у труб - до нарезки резьбы).

У образцов сварной шов должен находиться в зоне наибольшего изгиба (3 или 9 ч).

Допускается наличие на образцах фаски не более 1 ´  45°.

Расстояние между плоскостями в момент появления в образце признаков разрушения (трещина, излом, расслоение) не должно превышать значений, полученных при расчете по формулам, приведенным в таблице 9.

8.8 Испытание внутренним гидравлическим давлением следует проводить по методике производителя.

Продолжительность испытания каждой трубы должна быть не менее 10 с.

Трубы, у которых в соединении обнаружен пропуск испытательной жидкости, подлежат перенарезанию резьбы, навороту (при необходимости) новой муфты и последующему проведению повторного гидравлического испытания.

Трубы, у которых в теле или сварном шве обнаружена течь испытательной жидкости, подлежат отбраковке.

8.9 Неразрушающий контроль труб и муфтовых заготовок следует проводить:

- для тела труб (в том числе электросварных) и муфтовых заготовок - ультразвуковым по ГОСТ 17410 или магнитным индукционным методом;

- для высаженных концов бесшовных труб - магнитопорошковым методом;

- для сварного шва и концов (на расстоянии 150 мм от ее торцов) электросварных труб - ультразвуковым методом по ГОСТ 14782.

По согласованию с потребителем допускается применение других неразрушающих методов контроля, обеспечивающих выполнение требований настоящего стандарта.

Неразрушающий контроль проводят после всех операций, связанных с термообработкой и правкой труб и муфтовых заготовок, по нормативным документам.

Перед проведением контроля настройка чувствительности аппаратуры должна проводиться по стандартному образцу предприятия (СОП), изготовленному из гладкой части трубы или муфтовой заготовки контролируемого размера и имеющему специальные искусственные дефекты, рекомендуемые размеры которых приведены в таблицах 25 и 26, а пространственное расположение стандартных образцов представлено на рисунке 15.

Таблица 25 - Рекомендуемые размеры искусственных дефектов стандартного образца предприятия (СОП), используемого для настройки чувствительности аппаратуры неразрушающего контроля бесшовных труб, муфтовых заготовок и тела электросварных труб

В миллиметрах

Группа прочности труб

Метод неразрушающего контроля

ультразвуковой

магнитный индукционный

Вид и размеры искусственного дефекта

Риска прямоугольного профиля продольного или поперечного образца, параллельная его оси

Отверстие (сквозное) в стенке образца, перпендикулярное к его оси

на наружной поверхности

на внутренней поверхности

Длина

Глубина

Ширина

Длина

Глубина

Ширина

Диаметр

Для всех групп прочности

50 min

0,05s ± 15 %, но не менее 0,30 ± 0,05

1,0 max

50 min

0,ls ± 15 %, но не менее 0,50 ± 0,05

0,30 ± 0,05

1,6 ± 0,1

Только для групп прочности Дс, Д, Кс, К, Ес, Е - по согласованию изготовителя с потребителем

0,125s ± 15 %, но не менее 0,30 ± 0,05

1,5 max

0,30 ± 0,05

3,2 ± 0,1

Примечание - s - номинальная толщина стенки трубы или муфтовой заготовки.

Таблица 26 - Рекомендуемые размеры искусственных дефектов стандартного образца предприятия (СОП), используемого для настройки чувствительности аппаратуры неразрушающего контроля сварного шва электросварных труб

В миллиметрах

Группа прочности труб

Метод неразрушающего контроля

ультразвуковой

магнитный индукционный

Вид и размеры искусственного дефекта

Риска прямоугольного профиля продольного образца, параллельная его оси

Отверстие (сквозное) в стенке образца, перпендикулярное к его оси

на наружной поверхности

на внутренней поверхности

Длина

Глубина

Ширина

Длина

Глубина

Ширина

Диаметр

Для всех групп прочности, кроме Pc

50 min

0,10s ± 15 %, но не менее 0,30 ± 0,05

1,0 max

50 min

0,10s ± 15 %, но не менее 0,30 ± 0,05

1,0 max

3,2 ± 0,1

Для группы прочности Рc

0,05s ± 15 %, но не менее 0,30 ± 0,05

0,05s ± 15 %, но не менее 0,30 ± 0,05

1,6 ± 0,1

Примечание - s - номинальная толщина стенки трубы.

Дефекты, сигнал от которых превышает полученный при настройке на испытательном образце сигнал дефектоскопа, считаются критическими; труба или муфтовая заготовка, содержащая критические дефекты, должна быть забракована.

Разрешается проводить зачистку обнаруженного повреждения при условии сохранения впоследствии минимально допустимой толщины стенки.

Контролю высаженных концов трубы магнитопорошковым методом на наличие поперечных дефектов подвергаются наружная и внутренняя поверхности на расстоянии 150 мм от ее торцов до выполнения операций по обрезке концов и навороту муфты (только для труб В).

Трубы, не выдержавшие испытаний неразрушающими методами, должны быть забракованы.

Допускается выполнять их ремонт с обязательным последующим проведением приемки и испытаний по разделам 7 и 8 настоящего стандарта.

8.10 Результаты испытаний распространяются на все трубы и муфты проверяемой партии.

При получении отрицательных результатов испытаний хотя бы по одному из показателей по нему должны быть проведены повторные испытания на удвоенном количестве образцов. Если и в этом случае полученные результаты не удовлетворяют требованиям настоящего стандарта, бракуются все трубы данной партии.

Изготовитель вправе провести повторную обработку всей партии отбракованных труб в соответствии с принятой им технологией и вновь провести испытания этих изделий.

8.11 При проведении испытаний следует соблюдать требования безопасности по ГОСТ 12.2.003.

8.12 Условия на рабочих местах должны соответствовать требованиям ГОСТ 12.1.005 и ГОСТ 12.2.061.

А - поперечный образец в зоне сварного шва; Б - продольный образец по телу трубы или муфты; С - сварной шов электросварных труб; s - толщина стенки трубы

Рисунок 15 - Схема отбора образцов для испытания материала труб и муфт на ударный изгиб

9 Транспортирование и хранение

9.1 Условия транспортирования и хранения труб должны соответствовать ГОСТ 10692 со следующими дополнениями.

9.1.1 При транспортировании труб железнодорожным транспортом в одном вагоне должны находиться трубы только одного типа высадки, одного условного диаметра, одной группы прочности.

Допускается отгрузка в одном вагоне труб разных типоразмеров при условии разделения пакетов.

9.1.2 При транспортировании труб другими видами транспорта условия отгрузки определяются договором (контрактом) между изготовителем и получателем (потребителем) труб.

9.2 Транспортирование труб в части воздействия климатических факторов внешней среды - по группе условий хранения 8 ГОСТ 15150.

9.3 Условия хранения - по ГОСТ 15150, группа 7.

10 Указания по эксплуатации

10.1 Изготовленные по настоящему стандарту трубы могут применяться во всех климатических районах по ГОСТ 16350.

Условия эксплуатации - по ГОСТ 15150, группа 5.

10.2 Области применения изготовленных по настоящему стандарту труб ограничиваются средами с параметрами, приведенными в таблице 27.

Таблица 27 - Области применения труб и муфт к ним в сероводородосодержаших средах в зависимости от газового фактора, абсолютного давления абс), парциального давления сероводорода (Рн2s) и его концентрации (Сн2s)

Области применения труб для многофазного флюида «нефть-газ-вода» с газовым фактором менее 890 Нм33)

Области применения труб для влажного газа или обводненной нефти с газовым фактором, равным 890 Нм33 и более

Рн2s £ 1,83 МПа (18,6 кгс/см2)

Рабс > 1,83 МПа

(18,6 кгс/см2),

Сн2s £ 0,02 % (объемных) и Рн2s £ 0,000345 МПа

Рабс £ 0,450 МПа (4,6 кгс/см2),

Сн2s £ 10 % (объемных)

Рабс > 0,450 МПа

(4,6 кгс/см2),

Cн2s £ 0,075 % (объемных) и  Рн2s £ 0,000345 МПа

Cн2s £ 4 % (объемных)

4 % £ Cн2s £ 15 %

Рн2s £ 0,073 МПа

Примечание - Парциальное давление сероводорода (Рн2s) вычисляется как произведение его концентрации (Сн2s) на абсолютное давление (Рабс).

10.3 Другие требования по эксплуатации, ремонту и расчету насосно-компрессорных труб устанавливаются нормативными документами.

11 Гарантии изготовителя

11.1 Изготовитель должен гарантировать соответствие насосно-компрессорных труб требованиям настоящего стандарта при соблюдении условий транспортирования, хранения и правил эксплуатации.

11.2 Гарантийный срок предъявления претензий потребителя по качеству труб и муфт должен составлять не менее 12 мес со дня ввода труб в эксплуатацию и 18 мес - со дня изготовления.

12 Контроль со стороны потребителя

12.1 Потребитель имеет право проводить проверку качества и соответствия насосно-компрессорных труб требованиям настоящего стандарта при их производстве.

12.2 Условия проведения потребителем проверки труб определяются договором (контрактом) на их поставку. Изготовитель обязан обеспечить доступ представителя потребителя в подразделения производителя в период выполнения работ по договору.

ПРИЛОЖЕНИЕ А

(обязательное)

Примеры условных обозначений насосно-компрессорных труб и муфт к ним

Таблица А1

Наименование

Условное обозначение

Труба насосно-компрессорная

Без резьбы Н, бесшовная, с гладкими концами, условным диаметром 60 мм, толщиной стенки 5,0 мм, из стали группы прочности Д, 1 группы длины

Н-60´5-Д-I ГОСТ Р 52203-2004

То же, II группы длины

Н-60´5-Д-II ГОСТ Р 52203-2004

То же, с высаженными наружу концами

НВ-60´5-Д-II ГОСТ Р 52203-2004

Без резьбы Н, электросварная прямошовная, с гладкими концами, условным диаметром 73 мм, толщиной стенки 5,5 мм, из стали группы прочности Дс, I группы длины

Н-73´5,5-Дс-I ГОСТ Р 52203-2004

То же, II группы длины

Н-73´5,5-Дс-П ГОСТ Р 52203-2004

Без резьбы Н, электросварная прямошовная, с высаженными наружу концами, условным диаметром 73 мм, толщиной стенки 5,5 мм, из стали группы прочности Дс, I группы длины

НВ-73´5,5-Дс-1 ГОСТ Р 52203-2004

То же, II группы длины

НВ-73´5,5-Дс-II ГОСТ Р 52203-2004

С гладкими концами Г, с треугольной резьбой, бесшовная, условным диаметром 60 мм, толщиной стенки 5,0 мм, из стали группы прочности Д, I группы длины

Г-60´5-Д-I ГОСТ Р 52203-2004

То же, II группы длины

Г-60´5-Д-I ГОСТ Р 52203-2004

То же, с уплотнительным кольцом из полимерных материалов в муфте

ПГ-60´5-Д-II ГОСТ Р 52203-2004

С гладкими концами Г, с треугольной резьбой, электросварная прямошовная, условным диаметром 73 мм, толщиной стенки 5,5 мм, из стали группы прочности Дс, I группы длины

Г-73´5,5-Дс-I ГОСТ Р 52203-2004

С гладкими концами Г, с треугольной резьбой, бесшовная, условным диаметром 60 мм, толщиной стенки 5,0 мм, из стали группы прочности Д, принятой с определением ударной вязкости при пониженных температурах, II группы длины

Г-60´5-ДХ-II ГОСТ Р 52203-2004

С высаженными наружу концами В, с треугольной резьбой, бесшовная, условным диаметром 60 мм, толщиной стенки 5,0 мм, из стали группы прочности Е, I группы длины

В-60´5-Е-I ГОСТ Р 52203-2004

С высаженными наружу концами В, с треугольной резьбой, электросварная прямошовная, условным диаметром 60 мм, толщиной стенки 5,0 мм, из стали группы прочности Ес, II группы длины

В-60´5-Ес-II ГОСТ Р 52203-2004

То же, с уплотнительным кольцом из полимерных материалов в муфте

ПВ-60´5-Ес-II ГОСТ Р 52203-2004

Труба насосно-компрессорная

Гладкая высокогерметичная, с трапецеидальной резьбой Т и муфтой, бесшовная, условным диаметром 60 мм, толщиной стенки 5,0 мм, из стали группы прочности Е, II группы длины

Т-60´5-Е-II ГОСТ Р 52203-2004

Гладкая высокогерметичная, с трапецеидальной резьбой Т и муфтой, электросварная прямошовная, условным диаметром 60 мм, толщиной стенки 5,0 мм, из стали группы прочности Ес, I группы длины

Т-60´5-Ес-I ГОСТ Р 52203-2004

Высокогерметичная, безмуфтовая Б, с трапецеидальной резьбой, бесшовная, условным диаметром 60 мм, толщиной стенки 5,0 мм, из стали группы прочности Е, II группы длины

Б-60 ´ 5-Е-II ГОСТ Р 52203-2004

Высокогерметичная, безмуфтовая Б, с трапецеидальной резьбой, бесшовная, условным диаметром 60 мм, толщиной стенки 5,0 мм, из стали группы прочности Е, принятой с определением величины ударной вязкости при пониженных температурах, II группы длины

Б-60´5-ЕХ-II ГОСТ Р 52203-2004

Муфта к насосно-компрессорной трубе

Группы прочности Д, с треугольной резьбой, к бесшовной (горячекатаной) или прямошовной (электросварной) трубе с гладкими концами Г, условным диаметром 73 мм, из стали группы прочности Д или Дс (для электросварной)

Г 73-Д ГОСТ Р 52203-2004

Группы прочности Д. с треугольной резьбой, к бесшовной (горячекатаной) или прямошовной (электросварной) трубе с гладкими концами Г, условным диаметром 60 мм, из стали группы прочности Д или Дс (для электросварной), принятой с определением ударной вязкости при пониженных температурах.

Г 60-ДХ ГОСТ Р 52203-2004

Группы прочности Д, с треугольной резьбой, к бесшовной (горячекатаной) или прямошовной (электросварной) трубе с высаженными наружу концами В, условным диаметром 73 мм из стали группы прочности Д или Дс (для электросварной)

Г 73-Д ГОСТ Р 52203-2004

Группы прочности Д, с треугольной резьбой к бесшовной (горячекатаной) или прямошовной (электросварной) трубе с высаженными наружу концами В, условным диаметром 60 мм из стали группы прочности Д или Дс (для электросварной), принятой с определением ударной вязкости при пониженных температурах

В 60-ДХ ГОСТ Р 52203-2004

Группы прочности Д, с треугольной резьбой и проточкой для установки уплотнительных колец из полимерных материалов, к бесшовной или прямошовной (электросварной) трубе с гладкими концами Г, условным диаметром 73 мм, из стали группы прочности Д или Дс (для электросварной)

ПГ 73-Д ГОСТ Р 52203-2004

Группы прочности Д, с треугольной резьбой и проточкой для установки уплотнительных колец из полимерных материалов, к бесшовной или прямошовной (электросварной) трубе с гладкими концами Г, условным диаметром 60 мм, из стали группы прочности Д или Дс (для электросварной), принятой с определением ударной вязкости при пониженных температурах

ПГ 60-ДХ ГОСТ Р 52203-2004

Муфта к насосно-компрессорной трубе

Группы прочности Д, с треугольной резьбой и проточкой для установки уплотнительных колец из полимерных материалов, к бесшовной или прямошовной (электросварной) трубе с высаженными наружу концами В, условным диаметром 73 мм, из стали группы прочности Д или Дс (для электросварной)

ПВ 73-Д ГОСТ Р 52203-2004

Группы прочности Д, с треугольной резьбой и проточкой для установки уплотнительных колец из полимерных материалов, к бесшовной или прямошовной (электросварной) трубе с высаженными наружу концами В, условным диаметром 60 мм из стали группы прочности Д или Дс (для электросварной), принятой с определением ударной вязкости при пониженных температурах

ПВ 60-ДХ ГОСТ Р 52203-2004

Группы прочности Е, с трапецеидальной резьбой, к гладкой высокогерметичной трубе Т, условным диаметром 60 мм, из стали группы прочности Е

Т 60-Е ГОСТ Р 52203-2004

Группы прочности Е, с трапецеидальной резьбой, к гладкой высокогерметичной трубе Т, условным диаметром 60 мм, из стали группы прочности Е, принятой с определением ударной вязкости при пониженных температурах

Т 60-ЕХ ГОСТ Р 52203-2004

ПРИЛОЖЕНИЕ Б

(справочное)

Библиография

[1] ТУ 301-04-020-92 Резьбоуплотнительные смазки Р402 и Р113

Ключевые слова: стальные трубы, бесшовные трубы, прямошовные электросварные трубы, размеры, группы прочности, механические свойства металла, допуски, приемка продукции, гарантии изготовителя



уроки по алготрейдингу на Python с нуля



Яндекс цитирования

   Copyright © 2008-2026 ,  www.infosait.ru

backtrader - уроки алготрейдинга на python