ИНФОСАЙТ.ру
Госты, стандарты, нормативы. В библиотеке 60000 документов. Регулярное обновление. Круглосуточный бесплатный доступ!
БИБЛИОТЕКА ГОСТОВ, СТАНДАРТОВ И НОРМАТИВОВ

:: АЛГОТРЕЙДИНГ ::


АЛГОТРЕЙДИНГ
шаг за шагом


БЕСПЛАТНЫЕ УРОКИ по созданию торговых роботов на PYTHON с нуля, шаг за шагом.


Минимальные знания на PYTHON.
Библиотеки BackTrader и Pandas, сигналы с Pine Script из TradingView.
Связка с брокерами, телеграм.
Создание простых интерфейсов.

 

Все документы, представленные в каталоге, не являются их официальным изданием и предназначены исключительно для ознакомительных целей. Электронные копии этих документов могут распространяться без всяких ограничений. Вы можете размещать информацию с этого сайта на любом другом сайте.


ФЕДЕРАЛЬНОЕ ГОСУДАРСТВЕННОЕ УНИТАРНОЕ
ПРЕДПРИЯТИЕ «СОЮЗДОРНИИ»

Акционерное общество «РАСТРО»

УТВЕРЖДАЮ
Генеральный директор
АОЗТ «Растро»
Д
. Е. Веселков

Генеральный директор
ФГУП «Союздорнии
»
В. М. Юмашев

РЕКОМЕНДАЦИИ
ПО ПРИМЕНЕНИЮ МАСТИК
«СЛАВЯНКА» И
«ИЖОРА»
В КОНСТРУКЦИЯХ АВТОДОРОЖНЫХ
МОСТОВЫХ СООРУЖЕНИЙ

РАЗРАБОТЧИК
ФГУ
П «СОЮЗДОРНИИ»

ЗАВ. ОИС                                                                       И. Д. САХАРОВА

ЗАВ. СЕКТОРОМ МП                                                   В. Ю. КАЗАРЯН

Санкт-Петербург

2001

СОДЕРЖАНИЕ

1. Общие положения. 1

2. Характеристики мастик «Ижора» и «Славянка». 2

2.1. Мастика «Ижора». 2

2.2. Мастика «Славянка». 3

3. Устройство гидроизоляции с применением мастик «Ижора» и «Славянка». 3

3.1. Гидроизоляция из мастики «Ижора». 3

3.2. Устройство гидроизоляции из мастики «Славянка». 9

4. Порядок выполнения гидроизоляции и ее примыкания к элементам мостового полотна. 9

5. Устройство дренажной системы. 11

6. Устройство конструкций деформационных швов и швов в примыканиях. 13

7. Условия производства работ по устройству гидроизоляции. 15

8. Требования к оборудованию и гидроизолировщикам при выполнении гидроизоляционных работ. 16

9. Контроль качества выполнения гидроизоляции, правила приёмки. 16

10. Техника безопасности при выполнении гидроизоляционных работ. 17

11. Охрана окружающей среды.. 18

Перечень ссылочных материалов. 18

1. ОБЩИЕ ПОЛОЖЕНИЯ

1.1. Настоящие рекомендации предназначены для руководства при проектировании и производстве работ по выполнению в мостовых сооружениях гидроизоляции и конструкций деформационных швов с использованием мастик «Ижора» и «Славянка», разработанных АОЗТ «Растро» (193019, Санкт-Петербург, ул. Хрустальная, д. 18, оф. 419, тел.: (812) 567 9060, 567 2587, факс (812) 567 2809, Internet: www.rastro.ru; E-mail: tpo@rastro.ru).

1.2. Рекомендации разработаны с учетом требований и в развитие в части гидроизоляции и конструкций деформационных швов следующих нормативных документов: СНиП 2.05.03-84*, СНиП 3.06.04-91 «Мосты и трубы», СНиП 2.03.11-85 «Защита строительных конструкций от коррозии», СНиП 3.04.01-87 «Изоляционные и отделочные покрытия», СНиП 3.04.03-85 «Защита строительных конструкций и сооружений от коррозии», ВСН 32-81 «Инструкция по устройству гидроизоляции конструкций мостов и труб на железных, автомобильных и городских дорогах».

1.3. Применение мастик «Славянка» и «Ижора» для гидроизоляции и заполнения деформационных швов должны быть предусмотрены проектной документацией, утвержденной в установленном порядке.

В проекте должны быть указаны конструктивные элементы и мероприятия, обеспечивающие защиту гидроизоляции и отвод воды, попадающей на уровень гидроизоляции.

1.4. Рекомендации составлены с учетом исследований, выполненных в ЗАО «Испытательный центр ВНИИГС» (г. Санкт-Петербург), 26 ЦНИИ МО РФ (г. Москва), Дорожно-строительной испытательной лаборатории Комитета по благоустройству и дорожному хозяйству Администрации Санкт-Петербурга ГУДП «Дортехнология», специализированной лаборатории нефтяных вяжущих Дорожного комитета Ленинградской области, испытательной лабораторией «Полимертест» (г. Санкт-Петербург).

2. ХАРАКТЕРИСТИКИ МАСТИК «ИЖОРА» И «СЛАВЯНКА»

2.1. Мастика «Ижора».

2.1.1. Мастика «Ижора» - ТУ 5775-002-11149403-97 с изм. № 4 - битуморезиновая горячего применения - сертификат соответствия № ССВТ 2.А2.05.59/М.002-2000, гигиеническое заключение № 78.1.6.577.Т.203.1.0.

2.1.2. Мастика «Ижора» выпускается пяти марок:

МБР-Г-90; МБР-Г/К-90; МБР-Г/Ш-80; МБР-Г/Шм-75, где индексы марок имеют следующие значения:

МБР - мастика битуморезиновая;

Г - горячая;

К - с полимерными добавками;

Ш - шовная;

М - модифицированная;

90 (80; 75) - теплостойкость в °С.

В соответствии с настоящими рекомендациями применяют:

для устройства гидроизоляции мастику марки МБР-Г/К-90;

для заполнения швов в примыканиях конструкции дорожной одежды к элементам мостового полотна - мастику марок МБР-Г/Ш-80 и МБР-Г/Шм-75;

для заполнения деформационных швов мастичных с петлевым компенсатором типа «Торма-Джойнт» - мастику марки МБР-Г/Шм-75.

2.1.3. Характеристики мастик рекомендованных для применения марок приведены в табл. 2.1.

2.1.4. Область применения мастики «Ижора» для целей, указанных в настоящих рекомендациях, - все климатические зоны Российской Федерации.

2.1.5. Мастика «Ижора» поставляется потребителю в брикетах весом 16,5-22,5 кг, упакованных в коробки или мешки с антиадгезионной бумагой с силиконовым покрытием. Мастика легко отделяется от упаковки.

2.1.6. Гарантийный срок хранения мастики 12 месяцев. По истечении гарантийного срока хранения мастика должна быть проверена на соответствие требованиям ТУ. Для исключения деформации тарного места во время длительного хранения при температуре выше +30 °С шовные мастики, упакованные в брикеты, необходимо укладывать на поддоны не более трех слоев по высоте.

Таблица 2.1.

Характеристики мастики «Ижора»

Наименование показателей

Норма для мастики по маркам

Методы испытаний

МБР-Г/К-90

МБР-Г/Ш-80

МБР-Г/Шм-75

Температура размягчения, °С, не ниже (КиШ)

90

80

80

ГОСТ 11506-73

Теплостойкость в течение 3 ч., °С, не менее

90

80

75

ГОСТ 2889-80

Глубина проникания иглы при температуре +25 °С, 0,1 мм, не менее

25

35

50

ГОСТ 11501-78

Растяжимость, %, не менее

 

 

 

ГОСТ 11505-75

при +25 °С

160

160

2000

при минус 20 °С

не нормир.

35

140

Эластичность, %, не ниже, при +25 °С

65

75

90

ОСТ 218.010-98

Прочность сцепления с бетоном, МПа, не менее

 

 

 

ГОСТ 26589-94 п. 3.4 метод Б

ТУ 5775-002-11149403-97 п. 5.8

ТУ 5775-001-32989231-98 п. 3.9

при +20 °С

0,2

0,1

0,2

при минус 20 °С

не нормир.

0,45

0,6

Прочность сцепления со сталью при +20 °C, МПа, не менее

0,8

0,8

0,8

ГОСТ 26589-94 п. 3.4 метод А

ТУ 5775-002-11149403-97 п. 5.8

Гибкость на стержне диаметром, мм, при минус 15 °С

20

20

10

ГОСТ 26589-94 п. 3.14

ТУ 5775-002-11149403-97 п. 3.9

Водопоглощение в течение 24 ч., % по массе, не более

0,2

0,2

0,2

ГОСТ 26589-94 п. 3.9

Температура хрупкости по Фраасу, °С, не выше

минус 50

минус 50

минус 50

ГОСТ 11507-78

Температура прилипания к пневматикам колес, °С, не выше

не нормир.

50

50

ТУ 5775-001-32989231-98 п. 3.15

2.2. Мастика «Славянка».

2.2.1. Мастика «Славянка» - ТУ 5775-003-11149403-2001 с изменением № 1 битумно-полимерная холодного применения. Гигиеническое заключение № 78.01.06.577.Т.002174.10.01.

2.2.2. Характеристики мастики «Славянка» приведены в табл. 2.2.

2.2.3. Мастика «Славянка» поставляется потребителю в пластиковой таре с герметичной крышкой массой нетто 10-20 кг.

2.2.4. Условия хранения мастики «Славянка» - в заводской упаковке в закрытом складе в температурном интервале от минус 20 °С до +30 °С. Не допускается хранение мастики вблизи отопительных приборов.

2.2.5. Гарантийный срок хранения мастики - 12 месяцев со дня изготовления. Использование мастики по истечении гарантийного срока хранения допускается после проверки ее на соответствие требованиям технических условий.

2.2.6. Область применения мастики «Славянка» для гидроизоляции конструкций мостовых сооружений - все климатические зоны Российской Федерации.

Таблица 2.2.

Характеристики мастики «Славянка»

Параметр

Ед. измерения

Величина

Условная прочность при разрыве, не менее

МПа

1,0

Относительное удлинение при разрыве, не менее

%

500

Прочность сцепления с бетоном, не менее

МПа

0,7

Прочность сцепления с металлом, не менее

МПа

0,8

Водопоглощение за 24 ч., не более

%

0,4

Гибкость без образования трещин на брусе радиусом 5 ± 2 мм при температуре

°С

минус 50

Теплостойкость, не менее

°С

110

Водонепроницаемость при давлении 0,1 МПа за 24 ч.

 

отсутствие мокрого пятна

Содержание сухого вещества, не менее

%

50

Условная вязкость через сопло 6 мм

сек.

150-200

Содержание воды, не более

%

0,3

3. УСТРОЙСТВО ГИДРОИЗОЛЯЦИИ С ПРИМЕНЕНИЕМ МАСТИК «ИЖОРА» И «СЛАВЯНКА»

3.1. Гидроизоляция из мастики «Ижора».

3.1.1. Гидроизоляцию из мастики «Ижора» выполняют на проезжей части пролетных строений с железобетонной плитой проезжей части, на вертикальных поверхностях устоев, засыпаемых землей, фундаментах опор при сооружении их в условиях агрессивной среды, а также на звеньях крутых и прямоугольных труб в соответствии с ВСН 32-81.

3.1.2. При устройстве гидроизоляции железобетонных и сталежелезобетонных пролетных строений конструкцию дорожной одежды выполняют с устройством бетонного защитного слоя (рис. 3.1).

3.1.3. Бетонные слои дорожной одежды: выравнивающий и защитный выполняют из мелкозернистого бетона с водоцементным отношением не выше 0,42, имеющего класс по прочности на сжатие не ниже В25 по ГОСТ 26633-91, водонепроницаемость не ниже W6 по ГОСТ 12730.5-84* и марку по морозостойкости не ниже F300 по ГОСТ 10060-95, для бетона защитного слоя определяемую в хлористых солях.

3.1.4. Гидроизоляцию выполняют по подготовленной поверхности выравнивающего слоя или плиты проезжей части.

Поверхности бетонных или железобетонных конструкций не должны иметь раковин, наплывов бетона, трещин, неровностей с острогранными кромками, масляных пятен, пыли. Масляные пятна удаляют выжиганием, наплывы бетона срубают.

Гидроизолируемая поверхность должна быть ровной и соответствовать классу шероховатости 2-Ш, при котором допускается суммарная площадь отдельных раковин и углублений не более 3 мм до 0,2 % на 1 м2 при расстоянии между выступами и впадинами 1,2-2,5 мм (СНиП 3.04.03-85 табл. 2.3).

При наличии на гидроизолируемой поверхности отдельных неровностей глубиной 10-15 мм их устраняют заполнением шпаклевочными массами, которые должны быть удобоукладываемыми и в них не должны образовываться трещины после высыхания.

К началу выполнения гидроизоляционных работ прочность бетона конструкции должна быть не ниже 10 МПа.

Перед непосредственным устройством гидроизоляции гидроизолируемая поверхность должна быть очищена от строительного мусора, пыли, пленки цементного молока. На проезжей части мостовых сооружений снятие пленки цементного молока производят сухой или влажной струйно-абразивной очисткой. Окончательное удаление пыли производят промышленным пылесосом. Обработка поверхности фрезами, образующими бороздки в бетоне, не допускается.

1 - плита пролетного строения; 2 - выравнивающий слой; 3 - гидроизоляция; 4 - арматурная сетка защитного слоя; 5 - бетонный защитный слой; 6 - двухслойное асфальтобетонное покрытие.

Рис. 3.1. Конструкция дорожной одежды на пролетных строениях с железобетонной плитой проезжей части

3.1.5. Поскольку бетон плиты проезжей части или выравнивающего слоя имеет марку по водонепроницаемости W6, при которой не происходит впитывания грунтовки, грунтование поверхности не производят. При высокой пористости бетона основания на основе пробного применения грунтовки (если она впитывается в бетон) производят грунтование поверхности.

3.1.6. Гидроизоляцию выполняют состоящей из двух слоев мастики «Ижора», армированных одним слоем антисептированной льно-джуто-кенафной ткани по ГОСТ 5530-81 суммарной толщиной 8-9 мм с расходом мастики 8-9 кг/м2. При необходимости (см. п. 3.1.5) применяют грунтовочный слой.

1 - слой мастики; 2 - грунтовка; 3 - армирующий материал; 4 - изолируемая поверхность.

Рис. 3.2. Конструкция мастичной гидроизоляции армированной мастикой

3.1.7. Характеристики армирующих тканей приведены в табл. 3.1.

Таблица 3.1.

Характеристики армирующих тканей

Показатели по ГОСТ

Ткань льно-джуто-кенафная

Паковочная

Технического назначения

№ 2

№ 3

№ 1

№ 2

Номер пряжи*

2,5 / 2,3

2,5 / 2,3

2,9 / 2,9

2,9 / 2,9

Ширина, см

112

150

216

140

Число нитей на 10 см:

 

 

 

 

основы

42 ± 1

35 ± 1

42 ± 1

42 ± 2

утка

42 ± 1

35 ± 5

50 ± 1

50 ± 1

Разрывная нагрузка, Н (кгс) на менее:

 

 

 

 

вдоль полотна

570 (57)

450 (45)

600 (60)

570 (57)

поперек полотна

540 (54)

430 (57)

670 (67)

630 (63)

* Номер пряжи: в числителе - по основе, в знаменателе - по утку.

3.1.8. Для антисептирования тканей применяют один из масляных антисептиков:

каменноугольное масло для пропитки древесины ГОСТ 2770-74*;

каменноугольное масло для креолина;

сланцевое масло для пропитки древесины ГОСТ 10835-78*.

3.1.9. Возможно устройство гидроизоляции с применением рулонного материала толщиной не менее 4,5 мм, наклеиваемого с помощью мастики «Ижора», наносимой слоем толщиной 2 мм (рис. 3.3).

1 - слой мастики; 2 - грунтовка; 3 - рулонный гидроизоляционный материал.

Рис. 3.3. Конструкция гидроизоляции с применением рулонных материалов

Гидроизоляционный материал при этом не должен иметь на нижней поверхности полиэтиленовой пленки.

Характеристики рулонного материала должны соответствовать требованиям табл. 3.2.

Таблица 3.2.

Требования к гидроизоляционным рулонным материалам

Характеристика

Количественный показатель

ГОСТ, ТУ

Масса вяжущего с наплавляемой стороны, кг/м2, не менее

2,0-0,3

 

Материал основы

полиэстер

 

Толщина полотна, мм, при однослойной укладке материала, не менее

4,5

ГОСТ 2678-94

Разрывная сила при растяжении образца шириной 50 мм в произвольном направлении, Н (кгс), не менее

600(60)

ГОСТ 2678-94

Относительное удлинение при разрыве, %, не менее

20

ГОСТ 2678-94

Водонепроницаемость при давлении без признаков проникновения воды в течение 2-х часов, МПа, (кгс/м)

0,1(1)

ГОСТ 2678 94

Гибкость на холоде на брусе радиусом 10 мм, отсутствие трещин при температуре, °С,

 

ГОСТ 2678-94

для I климатической зоны (tнхс до минус 20 °С)

минус 10

для II климатической зоны (tнхс до минус 40 °С)

минус 15

для III климатической зоны (tнхс ниже минус 40 °С)

минус 25

Температура хрупкости по Фраасу, С, не менее

 

ГОСТ 11507-78*

для I климатической зоны

минус 17

для II климатической зоны

минус 25

для III климатической зоны

минус 35

Температура размягчения по КиШ, °С, не менее

85

ГОСТ 11506-73*

3.1.10. Засыпаемые землей фундаменты опор, задние стенки и открылки устоев, а также подпорных стенок гидроизолируют мастикой «Ижора» слоем толщиной 2 мм без дополнительного защитного слоя.

3.1.11. На конструкциях, засыпаемых землей (путепроводах тоннельного типа, подпорных стенах), где возможен приток воды и необходим ее отвод, поверх гидроизоляции устраивают пристенный дренаж.

3.1.12. Для пристенного дренажа применяют дренажный материал германской фирмы «Ewald Dorken AG « марки Delta®MS, поставляемой фирмой «Триада-холдинг». Может быть применен также отечественный материал Дрениз по ВСН 35-95 «Инструкция по технологии применения полимерно-фильтрующих оболочек для защиты подземных частей зданий и сооружений от подтопления грунтовыми водами», ЦНИИС, 1998 г. Характеристики дренажных материалов приведены в табл. 3.3. Полотнища пристенного дренажа укладывают выступами к поверхности стены. В верхней части стены в соответствии с проектом гидроизоляцию и дренажное полотно заводят под козырек, выступ которого равен 20-25 мм. Дренажное полотно не доводят до козырька на 10-15 мм для обеспечения вентиляции за ним.

Таблица 3.3.

Характеристики материалов для пристенного дренажа

Материал Delta®MS фирма “Eyvald Darken AG” Германия

Сырье

Специальный полиэтилен высокой плотности

Толщина полотна:

ок. 0,6 мм

Высота выступов:

ок. 8 мм

Размеры рулонов:

3,0 × 20 м

2,4 × 20 м

2,0 × 20 м

1,5 × 20 м

1,0 × 20 м

Прочность на сжатие:

> 250 кН/м2 (0,25 МПа)

Объем пространства между выступами:

ок. 5,3 л/м2

Температура эксплуатации:

от -30 до +80 °С

Химические свойства:

Высокая химическая стойкость: препятствует прорастанию корней; разрешен для контакта с питьевой водой

Конструкция гидроизоляции и пристенного дренажа приведена на рис. 3.4. Крепление дренажного материала к стене производят либо специальными крепежными профилями-плинтусами «Delta® - MS Profil», либо строительными гвоздями с шайбами «Delta® - MS Washer», забиваемыми с помощью монтажного пистолета, либо шурупами, вкручиваемыми в пластиковые дюбели (длина 70 мм, внешний диаметр 9 мм, внутренний - 8 мм) «Delta® - MS Anchor», вставленные в просверленные отверстия.

3.1.13. Деформационные швы целесообразно организовывать с применением резиновых трехкулачковых лент. Удержание ленты в вертикальном положении в зазоре следует обеспечивать закреплением ее за арматурные каркасы, либо за опалубку (рис. 3.5).

1 - тело стены; 2 - гидроизоляция; 3 - полотно пристенного дренажа.

Рис. 3.4. Конструкция гидроизоляции и пристенного дренажа

а) рабочих швов; 6) температурных (деформационных) швов; в) установка ленты в деформационном шве; г) установка ленты в рабочем шве.

1 - лента деформационного шва; 2 - заполнение стыка; 3 - лента рабочего стыка; 4 - монолитная бетонная стена; 5 - опалубка

Рис. 3.5. Резиновые ленты для уплотнения стыков

ЗАСЫПАЕМАЯ СТОРОНА СТЕНЫ

НАРУЖНАЯ СТОРОНА СТЕНЫ

1 - тело подпорной стены; 2 - пористый лист; 3 - пористая трубки; 4 - мастика или герметик; 5 - гидроизоляция стены; 6 - лента герлен; 7 - дополнительная гидроизоляция.

Рис. 3.6. Схема перекрытия деформационного шва

Температурный зазор между секциями стены может быть заполнен пороизолом, вилатермом, другим пористым жгутом (по спецификации производителя). Наружные зоны зазора внутри и снаружи стены должны быть заполнены мастикой (рис. 3.6).

3.1.14. На прямоугольных звеньях водопропускных труб гидроизоляцию выполняют аналогично применяемой на плите проезжей части пролетных строений (см. рис. 3.2, 3.3) в соответствии с рис. 3.1 без устройства защитного слоя на горизонтальной и вертикальной поверхностях.

Стыки между звеньями труб заполняют по аналогии с деформационным швом на рис. 3.6. На звеньях круглых труб гидроизоляцию выполняют обмазкой мастикой «Ижора» в один слой толщиной 1 мм в соответствии с рис. 3.8. Стыки звеньев перекрывают оклеечной гидроизоляцией из рулонного материала.

При необходимости грунтования изолируемой поверхности используют грунтовку производства АО «Растро», нанося ее кистью или распылителем с расходом 100-200 г/м2.

3.1.16. Брикеты мастики «Ижора» освобождают от упаковки, гильотинными ножницами разделяют на более мелкие куски и разогревают в битумоплавильной установке, предпочтительно имеющей вал с перемешивающими лопастями и масляную рубашку.

1 - тело звен трубы; 2 - гидроизоляция

Рис. 3.7. Гидроизоляция прямоугольных труб

Температура нагрева мастики 160-180 °С; мастику не следует доводить до кипения. Время от достижения рабочей температуры мастики до ее использования не должно превышать 12 часов.

3.1.17. Расплавленную мастику с помощью раздаточных бачков разливают на горизонтальную изолируемую поверхность и распределяют гребками слоем необходимой толщины.

На вертикальную поверхность мастику наносят кистями.

3.1.18. При выполнении гидроизоляции, армированной льно-джуто-кенафной тканью, дожидаются, когда мастика нижнего слоя остынет до состояния, когда по ней можно ходить, расстилают слой ткани, приклеивая его в отдельных местах горячей мастикой, затем, аналогично первому слою, выполняют второй мастичный слой.

1 - фундаментный блок; 2 - тело звена трубы; 3 - конструкция деформационного шва; 4 - оклеенная гидроизоляция; 5 - гидроизоляция мастикой «Ижора»; 6, 7 - заполнение стыка между звеньями; 8 - заполнение стыка между фундаментными блоками

Рис. 3.8. Гидроизоляция круглых труб

3.1.19. При устройстве гидроизоляции с применением рулонных материалов работа может быть выполнена двумя способами.

Сначала разливают мастику слоем необходимой толщины, дожидаются его остывания, а затем наклеивают рулонный материал, оплавляя его пламенем газовой горелки (в этом случае материал может иметь пленку на нижней поверхности), либо разогревая поверхностный слой мастики газовой горелкой или горячим воздухом (в этом случае рулонный материал не должен иметь полиэтиленовой пленки на нижней поверхности). Наклеиваемый рулонный материал разглаживают и прижимают шпателем.

Возможно производить наклейку материала, подливая под разматываемый рулон материала горячую мастику и прижимая его шпателем.

3.2. Устройство гидроизоляции из мастики «Славянка».

3.2.1. Мастику «Славянка» следует использовать для выполнения гидроизоляции вертикальных поверхностей устоев, фундаментов опор, засыпаемых землей, в том числе находящихся в условиях агрессивной среды, водопропускных труб.

3.2.2. Мастику наносят на тщательно подготовленное бетонное основание (см. п. 3.1.4) при помощи кисти, шпателя или резиновой швабры с расходом 2-3 кг/м2.

3.2.3. Упакованная в емкость мастика «Славянка» готова к применению. Перед применением ее необходимо тщательно перемешать до однородного состояния.

3.2.4. Мастика «Славянка» может быть нанесена на влажные (без признаков капельной влаги) поверхности.

3.2.5. Через 1 час после нанесения мастичное покрытие противостоит дождю. Полное высыхание мастики происходит через 25-35 часов. При высыхании на поверхности образуется эластичное блестящее черное покрытие.

3.2.6. Мастика «Славянка» может быть применена для приклейки рулонных гидроизоляционных материалов, не имеющих полиэтиленовой пленки на нижней поверхности. В этом случае производят розлив мастики на небольшой площади под раскатываемый рулон. Конструкция дорожной одежды в этом случае должна быть выполнена в соответствии с рис. 3.1.

Физико-механические характеристики и свойства мастики «Славянка» делают привлекательным использование ее для гидроизоляции на проезжей части мостовых сооружений как самостоятельный гидроизоляционный ковер без армирования и без наклейки рулонных материалов с укладкой непосредственно на него асфальтобетонного покрытия, как это имеет место в английской системе Servidek - Servipak. Для этого необходимо производить укладку мастики на небольшой площади и сразу укладывать защитные плиты толщиной 6 мм (Servipak) с последующей проклейкой стыков самоклеющейся лентой.

Английские защитные плиты Servipak (1 × 2 м) представляют собой два слоя пропитанного битумом кровельного картона, между которыми находится известняково-битумная масса, спрессованная при их изготовлении. Отечественная промышленность такие плиты не производит.

В случае организации производства таких плит мастика «Славянка» может получить исключительно широкое применение.

4. ПОРЯДОК ВЫПОЛНЕНИЯ ГИДРОИЗОЛЯЦИИ И ЕЕ ПРИМЫКАНИЯ К ЭЛЕМЕНТАМ МОСТОВОГО ПОЛОТНА

4.1. На строительном объекте гидроизоляционные работы начинают с выполнения узлов примыкания гидроизоляции и только после их завершения переходят к гидроизоляции основных поверхностей.

4.2. Проектная документация на сооружение должна содержать чертежи деталей и узлов гидроизоляции в местах ее примыкания к тротуарным блокам, ограждениям, карнизам, конструкциям деформационных швов, мачтам освещения и т.п.

4.3. В местах установки тротуарных блоков и железобетонных парапетных ограждений гидроизоляцию выполняют в зависимости от их конструкции.

Гидроизоляция при сборных тротуарных блоках и парапетных ограждениях должна быть выполнена на полную ширину плиты проезжей части. Тротуарные блоки и ограждения устанавливают на несхватившийся слой мелкозернистого бетона. В этом случае на тротуарных блоках устраивают независимую от проезжей части гидроизоляцию (рис. 4.1).

Рис. 4.1. Устройство гидроизоляции при сборных тротуарных блоках.

Рис. 4.2. Примыкание гидроизоляции к вертикальной поверхности.

В местах ее примыкания к цоколю перильного и парапетного ограждений она должна быть заведена под устроенный в цоколе козырек. Глубина козырька должна быть 15-20 мм с тем, чтобы надежно закрыть гидроизоляцию слоями дорожной одежды (рис. 4.2). Все места примыкания гидроизоляции к элементам мостового полотна должны быть выполнены с обязательным армированием или применением рулонного материала.

Края гидроизоляции должны быть выполнены таким образом, чтобы исключить затекание воды под гидроизоляцию.

4.4. При наличии на проезжей части отдельных столиков, к которым крепят стойки барьерного ограждения, вокруг каждого столика должна быть выполнена гидроизоляция с выведением ее на вертикальную поверхность столика до уровня верхней плоскости столика (рис. 4.3).

1 - изолируемая поверхность; 2 - закладная деталь в плите проезжей части; 3 - столик ограждения; 4 - стойка ограждения; 5 - гидроизоляция столика; 6 - гидроизоляция проезжей части; 7 - мастика

Рис. 4.3. Устройство гидроизоляции в месте расположения стойки ограждения.

1 - сектора; 2 - дополнительная полоса

Рис. 4.4. Примыкание гидроизоляции к мачтам освещения.

4.5. При пересечении плиты проезжей части или тротуарного блока трубами, мачтами освещения и т.п. вокруг пересекающего элемента устраивают гидроизоляцию с заведением ее на стенки мачты, трубы и т.п. (рис. 4.4).

4.6. Гидроизоляцию в местах примыкания к конструкциям деформационных швов выполняют в зависимости от конструкции перекрытия шва, но в любом случае она должна исключать протечки воды через плиту проезжей части.

4.7. Укладку рулонных гидроизоляционных и армирующих материалов производят в продольном направлении, начиная с пониженных мест (рис. 4.5). Полотна рулонных и гидроизоляционных материалов наклеивают внахлест на 6-10 см по продольным сторонам и не менее 15 см в поперечных стыках. При выполнении стыков материалов, имеющих каменную или песчаную посыпку, ее счищают металлическими щетками (рис. 4.6).

Рис. 4.5. Порядок укладки рулонных гидроизоляционных и армирующих материалов.

4.8. Наклеиваемые полотнища материалов не должны иметь складок, морщин, волнистости. Но если это случится, допускаемая высота складки, расположенной вдоль уклона, не должна превышать 10 мм.

Рис. 4.6. Соединение полотен армирующего и гидроизоляционного материалов.

Для приклейки материалов по всей поверхности и недопущения указанных выше дефектов полотнища приглаживают мягкими щетками или валиками, движениями от оси рулона по диагонали к его краям. Особенно тщательно прикатывают кромки материала (рис. 4.7).

Рис. 4.7. Схема прикатки рулонных материалов.

5. УСТРОЙСТВО ДРЕНАЖНОЙ СИСТЕМЫ.

5.1. Согласно требованиям п. 1.77 СНиП 2.05.03-84* во всех пониженных и замкнутых местах, в местах со встречными уклонами, где возможен застой воды, должны устанавливаться дренажные устройства, назначение которых - отвести из конструкции дорожной одежды воду, которая попала на уровень гидроизоляции (рис. 5.1).

5.2. Дренажные трубки и каналы следует располагать как в продольном, так и в поперечном направлении сооружения через 3-6 м.

5.3. Верх дренажных трубок должен быть в уровне верха или чуть ниже (на толщину слоя гидроизоляции) уровня верха гидроизоляции. Дренажные каналы должны располагаться над гидроизоляцией в толще защитного слоя.

5.4. Устройство дренажа осуществляют после выполнения работ по укладке выравнивающего слоя, гидроизоляции и защитного слоя.

5.5. При устройстве защитного слоя в местах, обозначенных проектом, образуют штрабы постановкой опалубочных элементов, которые после набора прочности бетоном удаляют. Ширина штрабы 150-200 мм.

5.6. В штрабах производят бурение отверстий диаметром 80 мм на глубину 50 мм (в толще выравнивающего слоя и защитного слоя плиты проезжей части), затем производят бурение отверстий диаметром 40-42 мм глубиной на полную толщину плиты проезжей части. Бурение производят буровыми установками с использованием шнековых или колонковых буров с алмазными гранями.

5.7. Для дренажных трубок используют стальные трубы из нержавеющей стали или с антикоррозионным покрытием, или полиэтиленовые (полипропиленовые) трубы диаметром 40 мм. Трубы нарезают отрезками необходимой длины. Длину трубы назначают таким образом, чтобы вода из нее не попадала на элементы опор.

5.8. Отверстие в бетоне вокруг трубки глубиной 50 мм заполняют мастикой, обеспечивая ее плотный контакт с гидроизоляцией.

5.9. До отверждения мастики вокруг трубки на нее накладывают кусок стеклосетки размером 100 × 100 мм с ячейкой 2 × 2 - 5 × 5 мм. Стеклосетку приклеивают к мастике вокруг трубки. Назначение стеклосетки - воспрепятствовать попаданию в трубку материала дренажного канала.

5.10. После установки дренажных трубок в штрабы производят укладку дренирующего материала, приготовленного по рецепту Союздорнии (в порядке закладки в мешалку) (табл. 5.1).

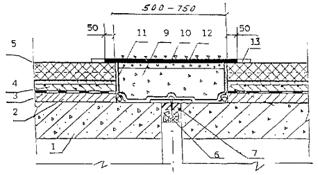
1 - изолируемая поверхность; 2 - закладная деталь в плите проезжей части; 3 - столик ограждения; 4 - стойка ограждения; 5 - гидроизоляция столика; 6 - гидроизоляция проезжей части; 7 - мастика

Рис. 5.1. Устройство гидроизоляции в месте расположения стойки ограждения.

Введение большего количества эпоксидной смолы не допустимо по причине уменьшения дренирующих свойств смеси.

Приготовление состава дренажной смеси выполняют в смесительных установках любого типа.

Время перемешивания 10-12 мин.

Таблица 5.1.

Рецепт дренирующего материала

Компонент смеси

ГОСТ, ТУ

Количество масс. ч.

Мытый сухой щебень (гравий) фракции 3-10 мм (либо 10-15 мм)

ГОСТ 8267-93

1700-1800

Смола эпоксидная ЭД-20 или другая аналогичная

ГОСТ 10587-93

100

Пластификатор - фуриловый спирт (может быть предварительно совмещен со смолой)

ГОСТ 8728-88*

8-15

Отвердитель: полиэтиленполиамин или УП 0633 М

ТУ 6-02-594-85

ТУ 6-05-241-46-75

9-12

18-20

5.11. Приготовленная дренажная смесь должна быть уложена в штрабу в течение 40 мин. Укладывают смесь с легким уплотнением трамбовкой, поверхность заглаживают. В отвержденном виде дренажная смесь имеет прочность 5-6 МПа. Через 1,5-2 часа дренажная смесь имеет прочность, позволяющую ходить по дренажному каналу.

5.12. После набора дренажной смесью прочности, проверяют функционирование дренажного канала заливкой его определенным количеством воды, которую улавливают через дренажные трубки. Сравнивают объемы воды. Коэффициент фильтрации должен быть не менее 0,9. В противном случае «канал» разбирают и выполняют заново.

5.13. В процессе укладки асфальтобетонного покрытия необходимо следить, чтобы дренажные каналы не покрывали битумной грунтовкой.

5.14. При проектировании и устройстве дренажной системы должны быть приняты меры по предотвращению размыва конусов под дренажными трубками.

6. УСТРОЙСТВО КОНСТРУКЦИЙ ДЕФОРМАЦИОННЫХ ШВОВ И ШВОВ В ПРИМЫКАНИЯХ

6.1. Во всех местах примыкания асфальтобетонного покрытия к вертикальным поверхностям конструкции мостового полотна, к стальным элементам деформационных швов, к бетонным приливам у деформационных швов в соответствии с проектом должны быть выполнены штрабы, заливаемые мастикой (рис. 6.1).

Образование штраб производят путем закладки и последующего извлечения деревянной рейки необходимого сечения, либо путем нарезки швонарезчиком. Последнее - предпочтительно.

1 - секция резиноплитного элемента; 2 - водоотводный лоток; 3 - подстилающий раствор; 4 - переходной раствор; 5 - элемент крепления; 6 - дренаж; 7 - битумная мастика.

Конструкция Waboflex

Рис. 6.1. Штраба в примыканиях покрытия

6.2. Стенки подготовленной штрабы должны быть чистыми и сухими, свободно лежащие куски покрытия должны быть удалены. Стенки штрабы должны быть разогреты горелкой - газовой или предпочтительно инфракрасной.

6.3. Поверхность штрабы покрывают грунтовкой производства АО «Растро» с расходом 100 г/м2, нанося ее кистью.

6.4. Для заполнения штраб применяют разогретую до температуры 160-180 °С мастику «Ижора» марки МБР-Г/Ш-80 или МБР-Г/Шм-75. Время от достижения мастикой рабочей температуры до момента ее заливки не должно превышать 3 часа.

6.5. Для заливки мастики в штрабу используют лейки или специальные ручные швозаливщики (рис. 6.2).

1 - кожух; 2 - изоляция; 3 - блок; 4 - рукоятка управления; 5 - конус; 6 - шарик конуса; 7 - колеса.

Рис. 6.2. Ручной швозаливщик

6.6. В конструкциях деформационных швов с латунными компенсаторами производят заливку мастики в зазор в слоях дорожной одежды (рис. 6.3). Для этих целей применяют разогретую мастику «Ижора» марок МБР-Г/Ш-80 или МБР-Г/Шм-75 с предварительным грунтованием стенок зазора грунтовкой (см. п. 6.2-6.5).

1 - плита проезжей части; 2 - компенсатор; 3 - заполнение петли компенсатора (вилатерм, гернит); 4 - гидроизоляция; 5 - защитный слой; 6 - асфальтобетонное покрытие; 7 - мастика; 8 - стальное окаймление; 9 - бетонный прилив; 10 - дренаж

Рис. 6.3. Конструкции деформационных швов с латунным компенсатором и окаймлением

6.7. При выполнении конструкции деформационного шва типа «Торма-Джойнт» руководствуются техническими условиями ТУ 5718-002-29438177-98 «Шов деформационный Ш-IД-РСМ-30Щ с щебеночным заполнением для автодорожных мостов с железобетонными пролетными строениями» и «Руководством по применению и монтажу конструкций деформационного шва системы «Торма-Джойнт» в проезжей части автодорожных мостовых сооружений», Союздорнии, 1998 г.

6.8. При выполнении конструкции деформационного шва типа «Торма-Джойнт» (рис. 6.4) производят нарезку штрабы необходимой ширины в асфальтобетонном покрытии с помощью швонарезчика с алмазными дисками, производят очистку штрабы, прогрев ее стенок горячей газовой или инфракрасной горелкой, грунтуют стенки штрабы грунтовкой производства АО «Растро» с расходом 100-200 г/м2 и производят послойное заполнение штрабы щебнем и горячей мастикой с перемешиванием их граблями. Соотношение между щебнем фракции 15-20 мм и мастикой по массе 3:0,8.

Максимальная толщина укладываемого за один раз щебня 20-40 мм.

Уложенную массу уплотняют легкими трамбовками.

После заполнения штрабы по ее поверхности разливают мастику с перекрытием кромок штрабы в каждую сторону на 50 мм. Поверх мастики рассыпают каменные высевки и слегка прикатывают.

1 - пролетное строение; 2 - выравнивающий слой; 3 - гидроизоляция; 4 - защитный слой; 5 - асфальтобетонное покрытие; 6 - заполнение шва; 7 - мастика, 8 - перекрытие шва; 9 - щебень, перемешанный с мастикой на месте; 10 - щебень, перемешанный с мастикой в мешалке; 11 - мастика; 12 - мастика с посыпкой каменной мелочью; 13 - полосы скотча (удаляют после нанесения мастики)

Рис. 6.4. Конструкция деформационного шва типа «Торма-Джойнт»

6.9. Для выполнения конструкции деформационного шва применяют мастику «Ижора» марки МБР-Г/Шм-75. Количество мастики, необходимое для выполнения конструкции шва равно 2/3 от объема штрабы. Последовательность операций при заполнении штрабы мастикой см. п.п. 6.2-6.5.

7. УСЛОВИЯ ПРОИЗВОДСТВА РАБОТ ПО УСТРОЙСТВУ ГИДРОИЗОЛЯЦИИ

7.1. В соответствии с требованиями СНиП 3.06.03-85 п. 10.16 устройство асфальтобетонных покрытий может выполняться осенью при температуре не ниже плюс 10 °C, поэтому организация работ на объекте должна быть построена таким образом, чтобы завершить гидроизоляционные работы до наступления низких температур воздуха.

7.2. В случае необходимости производства работ по устройству гидроизоляции при низких температурах воздуха ее следует выполнять в тепляках.

7.3. В целях обеспечения надлежащего качества гидроизоляции при производстве работ следует иметь в виду, что укладку гидроизоляционных материалов без тепляков следует производить при температуре воздуха и изолируемой поверхности на 3 °C превышающей точку росы (точка росы - температура воздуха, при достижении которой относительная влажность воздуха поднимается до 100 %).

8. ТРЕБОВАНИЯ К ОБОРУДОВАНИЮ И ГИДРОИЗОЛИРОВЩИКАМ ПРИ ВЫПОЛНЕНИИ ГИДРОИЗОЛЯЦИОННЫХ РАБОТ

8.1. По гидроизоляции не допускается движение транспортных средств, кроме подвозящих бетонную смесь для защитного слоя или асфальтобетонную смесь для покрытия.

8.2. На выполненной гидроизоляции не допускается резкое торможение и разворот автомобилей. Движение гладковальцовых катков по гидроизоляции не допускается.

8.3. Рабочие, занимающиеся укладкой гидроизоляции, должны быть обуты в обувь с гладкой подошвой, чтобы избежать повреждения гидроизоляции.

8.4. Протекторы на всём оборудовании, перемещающемся по гидроизоляции, должны регулярно проверяться и застрявшие в них каменные материалы удаляться (автосамосвалы, подвозящие бетонную смесь и асфальтобетонную смесь, асфальтоукладчик).

9. КОНТРОЛЬ КАЧЕСТВА ВЫПОЛНЕНИЯ ГИДРОИЗОЛЯЦИИ, ПРАВИЛА ПРИЁМКИ

9.1. Устройству гидроизоляции должна предшествовать приёмка выравнивающего слоя. Исполнитель должен представить заказчику журнал производства работ, протоколы испытаний материала выравнивающего слоя по определению показателей прочности, водонепроницаемости, морозостойкости, а также акты на скрытые работы по результатам инструментального контроля ровности и уклонов поверхности, влажности бетона.

При приёмке выравнивающего слоя определяют его соответствие требованиям разд. 3 настоящих Рекомендаций.

9.2. Определение водонепроницаемости, прочности, морозостойкости бетона производят при пооперационном контроле соответственно по ГОСТ 12730.5-84*; ГОСТ 10180-90; ГОСТ 10060.0-95 - 10060.4-95.

9.3. Уклоны выравнивающего слоя производят общими методами геодезических работ, применяя методы нивелировки, угломеры.

Ровность основания и его шероховатость проверяют трёхметровой рейкой по ГОСТ 2789-75*. Рейку укладывают на поверхность выравнивающего слоя в продольном и поперечном направлениях и с помощью имеющегося в комплекте измерителя зазора определяют зазоры по длине, округляя результаты измерений до 1 мм.

9.4. Влажность основания оценивают непосредственно перед устройством гидроизоляции неразрушающим методом при помощи поверхностного влагомера, например, ВСКМ-12.

Допускается определять влажность основания на образцах, выбуренных из материала основания под гидроизоляцию, в соответствии с ГОСТ 5802-86 или ГОСТ 17177-94.

Влажность определяют в трёх точках изолируемой поверхности. При превышении площади 500 м2 количество точек измерения увеличивается на одну на каждые 500 м2, но не более шести точек.

9.5. Перед выполнением гидроизоляции производят приёмку гидроизоляционных материалов по паспортам в соответствии с ГОСТ 2678-94 и ГОСТ 26589-94, сопоставляя физико-механические характеристики с приведёнными в ТУ.

По требованию заказчика о проверке физико-механических характеристик материалов испытания выполняют в соответствии с ТУ на эти материалы. Определение количественных показателей характеристик материалов должно быть выполнено также в случае просроченного гарантийного срока на материал.

В случае несоответствия поступивших материалов нормативным требованиям составляют акт на брак и такие материалы при производстве работ не применяют.

9.6. При приёмке гидроизоляции производят визуальный контроль для оценки её сплошности по всей гидроизолируемой поверхности, проверяют сопряжение её с элементами мостового полотна, толщину, определяют наличие дефектов приклейки гидроизоляции.

9.7. При выявлении наличия пузырей в гидроизоляции, свидетельствующих об отсутствии её приклейки к основанию, такие дефекты устраняют, разрезая пузырь крест-накрест (рис. 9.1). Отгибают неприклеенные концы материала, производят их приклейку способом, соответствующим выполнению гидроизоляции, и повреждённое место промазывают мастикой. Допускается не более трёх заплат на 100 м2.

9.8. Наличие приклейки гидроизоляции определяют визуально по наличию пузырей и путём простукивания гидроизоляции металлическим стержнем. Места непроклея определяются по глухому звуку.

9.9. При выполнении мастичной гидроизоляции проверяют ее толщину - на площади 250 м2 в 10 точках, указанных заказчиком. Толщину определяют проколом остро заточенным штырем с последующей заливкой места прокола мастикой.

Рис. 9.1 Устранение дефекта - разрезка пузыря

10. ТЕХНИКА БЕЗОПАСНОСТИ ПРИ ВЫПОЛНЕНИИ ГИДРОИЗОЛЯЦИОННЫХ РАБОТ

10.1. Гидроизоляционные работы выполняют с соблюдением правил безопасности, предусмотренных главой СНиП «Техника безопасности в строительстве», «Правилами техники безопасности и производственной санитарии при сооружении мостов и труб».

10.2. Гидроизоляционные работы должны выполнять гидроизолировщики, сдавшие в установленном порядке техминимум по технологии производства работ и технике безопасности. Руководство работами и контроль качества должны выполнять лица, имеющие опыт в области гидроизоляции мостов. Каждый рабочий при допуске к работе должен пройти инструктаж на рабочем месте с соответствующей записью в журнале.

10.3. На объекте должны быть руководящие материалы по производству работ и технике безопасности работы с применяемыми материалами.

10.4. Работы по устройству гидроизоляции должны проводиться с соблюдением требований пожарной безопасности. Рабочие места должны быть оборудованы средствами пожаротушения.

При работе с битумными материалами необходимо иметь в виду следующие их особенности:

температура воспламенения битума в емкостях ниже, чем на открытом воздухе;

при нагревании битум увеличивается в объеме, поэтому загрузку битумных котлов производят не более чем на % их объема;

вода или лед при попадании в горячий битум превращаются в пар и вызывают вспенивание битума;

при попадании на кожу битум вызывает тяжелые ожоги.

При тушении горячего битума категорически запрещается использовать воду. Горячий битум засыпают песком или прекращают доступ воздуха специальным покрывалом; горячую емкость закрывают несгораемой крышкой.

В смеси с воздухом пары разжижителей и битума образуют взрывоопасную смесь. Возгорание может произойти от открытого огня или статического электричества. Поэтому при работе в закрытых помещениях применяемая спецодежда должна быть выполнена из материалов, исключающих искрообразование, например, хлопка. Во время гидроизоляционных работ запрещается курение, пользование открытым огнем, производство сварочных работ.

10.5. Укрытия для производства гидроизоляционных работ должны быть оборудованы эффективной вентиляцией. При недостаточной вентиляции необходимо использовать респираторы с угольным фильтром.

10.6. Кожу лица и рук следует защищать специальными защитными пастами и кремами для предотвращения повреждения ее растворителями, битумом, эпоксидными компаундами.

10.7. Производство струйно-абразивной очистки следует осуществлять в защитных шлемах пескоструйщика и специальных комбинезонах для пескоструйных работ.

10.8. Уровень шума газовых горелок и пескоструйных аппаратов может достигать 88-96 децибелл, что требует защиты органов слуха. Из-за низкого уровня шума предпочтительнее использовать маломощные горелки.

10.9. При работе с газовыми баллонами и оборудованием струйно-абразивной очистки следует соблюдать правила работы с аппаратами, находящимися под давлением.

10.10. На рабочем месте должны быть средства индивидуальной защиты: защитные очки, наушники, респираторы, перчатки, защитная одежда и обувь. Обувь должна иметь подошву, препятствующую скольжению; обувь должна выдерживать также повышенную температуру.

11. ОХРАНА ОКРУЖАЮЩЕЙ СРЕДЫ

11.1. Перед началом гидроизоляционных работ на территории объекта должны быть выделены места складирования материалов, баллонов с горючими газами, установки для приготовления и разогрева битумных мастик.

11.2. Место установки битумоварочного котла должно быть обваловано на высоту не менее 0,3 м.

11.3. При работе с гидроизоляционными материалами высвобождаются поддоны, полиэтиленовая пленка, силиконовая бумага, тара из-под разжижителей, обрезки гидроизоляционных материалов, куски мастики. Их утилизация должна быть предусмотрена в специально отведённых местах.

ПЕРЕЧЕНЬ ССЫЛОЧНЫХ МАТЕРИАЛОВ

1. СНиП 2.03.11-85 «Защита строительных конструкций от коррозии»

2. СНиП 2.05.03-84* «Мосты и трубы»

3. СНиП 3.04.01-87 «Изоляционные и отделочные покрытия»

4. СНиП 3.04.03-85 «Защита строительных конструкций и сооружений от коррозии»

5. СНиП 3.06.03-85 «Автомобильные дороги»

6. СНиП 3.06.04-91 «Мосты и трубы»

7. СНиП 12-03-99 «Безопасность труда в строительстве, ч. 1. Общие требования»

8. ВСН 32-81 «Инструкция по устройству гидроизоляции конструкций мостов и труб на железных, автомобильных и городских дорогах»

9. ВСН 35-95 «Инструкция по технологии применения полимерно-фильтрующих оболочек для защиты подземных частей зданий и сооружений от подтопления грунтовыми водами»

10. «Правила техники безопасности и производственной гигиены при сооружении мостов и труб»

11. ГОСТ 2678-94 «Материалы рулонные кровельные и гидроизоляционные. Методы испытаний»

12. ГОСТ 2770-74* «Каменноугольное масло»

13. ГОСТ 2889-80 «Мастика битумная кровельная горячая. Технические условия»

14. ГОСТ 5530-81 «Ткань льно-джуто-кенафная паковочная или технического назначения»

15. ГОСТ 5802-86 «Растворы строительные. Методы испытаний»

16. ГОСТ 8267-93 «Щебень из природного камня для строительных работ»

17. ГОСТ 8728-80 «Пластификаторы. Дибутилфталат»

18. ГОСТ 10060-95 «Бетоны. Методы контроля морозостойкости»

19. ГОСТ 10180-90 «Бетон тяжелый. Методы определения прочности»

20. ГОСТ 10587-93 «Смолы эпоксидно-диановые неотвержденные»

21. ГОСТ 10835-78* «Сланцевое масло С-1»

22. ГОСТ 11501-78* «Битумы нефтяные. Метод определения глубины проникания иглы»

23. ГОСТ 11505-75 «Битумы нефтяные. Метод определения растяжимости»

24. ГОСТ 11506-73* «Битумы нефтяные. Метод определения температуры размягчения по кольцу и шару»

25. ГОСТ 11507-78* «Битумы нефтяные. Метод определения температуры хрупкости по Фраасу»

26. ГОСТ 12730-84* «Бетоны. Методы определения водонепроницаемости»

27. ГОСТ 17177-94 «Материалы и изделия строительные теплоизоляционные. Методы испытаний»

28. ГОСТ 26589-94 «Мастики кровельные и гидроизоляционные. Метод определения прочности сцепления с основанием»

29. ГОСТ 26627-85 «Материалы рулонные кровельные и гидроизоляционные. Правила приемки»

30. ГОСТ 26633-91 «Бетоны тяжелые и мелкозернистые. Технические условия»

31. ОСТ 218.010-98 «Дивенилстирольный термоэластопласт»

32. ТУ 5775-002-11149403-97 «Мастика битуморезиновая горячая «Ижора»

33. ТУ 5775-003-11149403-2001 «Мастика битумно-полимерная «Славянка»

34. ТУ 5775-001-32989231-98

35. ТУ 6-02-594-85 Отвердитель Полиэтиленполиамин

36. ТУ 6-05-241-46-75 Отвердитель УП-0633М

37. ТУ 5718-002-29438177-98 «Шов деформационный Ш-1Д-РСМ-30Щ с щебеночным заполнением для автодорожных мостов с железобетонными пролетными строениями» Росдорнии, 1998 г.

38. «Руководство по применению и монтажу конструкций деформационного шва системы «Торма-Джойнт» в проезжей части автодорожных мостовых сооружений» Союздорнии, 1998 г.



уроки по алготрейдингу на Python с нуля



Яндекс цитирования

   Copyright © 2008-2026 ,  www.infosait.ru

backtrader - уроки алготрейдинга на python