ИНФОСАЙТ.ру
Госты, стандарты, нормативы. В библиотеке 60000 документов. Регулярное обновление. Круглосуточный бесплатный доступ!
БИБЛИОТЕКА ГОСТОВ, СТАНДАРТОВ И НОРМАТИВОВ

:: АЛГОТРЕЙДИНГ ::


АЛГОТРЕЙДИНГ
шаг за шагом


БЕСПЛАТНЫЕ УРОКИ по созданию торговых роботов на PYTHON с нуля, шаг за шагом.


Минимальные знания на PYTHON.
Библиотеки BackTrader и Pandas, сигналы с Pine Script из TradingView.
Связка с брокерами, телеграм.
Создание простых интерфейсов.

 

Все документы, представленные в каталоге, не являются их официальным изданием и предназначены исключительно для ознакомительных целей. Электронные копии этих документов могут распространяться без всяких ограничений. Вы можете размещать информацию с этого сайта на любом другом сайте.


ГОСУДАРСТВЕННЫЙ СТАНДАРТ СОЮЗА ССР

БИТУМЫ НЕФТЯНЫЕ

Метод определения температуры хрупкости по Фраасу

Petroleum bitumen. Method for determination of brittle point

ГОСТ
11507-78*

СТ СЭВ 5031-85

Взамен
ГОСТ 11507-65

Постановлением Государственного комитета СССР по стандартам от 11 декабря 1978 г. № 3281 срок введения установлен

с 01.01.80

Проверен в 1986 г. Постановлением Госстандарта от 13.05.86 № 1222 срок действия продлен

до 01.01.94

Несоблюдение стандарта преследуется по закону

Настоящий стандарт распространяется на нефтяные битумы и устанавливает метод определения температуры хрупкости по Фраасу.

Сущность метода заключается в охлаждении и периодическом изгибе образца битума и определении температуры, при которой появляются трещины или образец битума ломается.

Стандарт полностью соответствует СТ СЭВ 5031-85.

1. АППАРАТУРА, РЕАКТИВЫ, МАТЕРИАЛЫ

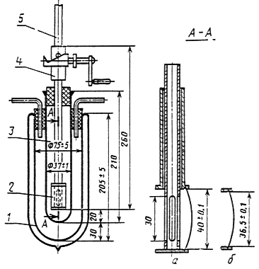
1.1. Аппарат Фрааса (см. чертеж), в который входят:

устройство для сгибания пластинки, состоящее из двух концентрических трубок из теплоизоляционного материала, и приспособления для перемещения внутренней трубки относительно внешней трубки. Зазор между трубками не должен превышать 1 мм. На нижних концах трубок жестко укреплены захваты с пазами. Часть внутренней трубки, находящаяся между захватами, имеет четыре прорези (размером 30´4 мм), устраняющие экранирование резервуара термометра (или термопары). При перемещении внутренней трубки расстояние между пазами захватов должно равномерно уменьшаться на (36,5 ± 0,1) мм от максимального расстояния (40 ± 0,1) мм за 10 - 12 с.

1 - сосуд Дьюара; 2 - пластинка; 3 - пробирка; 4 - устройство для сгибания пластинки; 5 - термометр

а - начальное положение пластинки; б - конечное положение пластинки

Приспособление для перемещения внутренней трубки состоит из конуса или двух клиньев, по поверхности которых движется штифт, соединенный с внутренней трубкой. Приспособление приводится в действие вращением рукоятки или автоматически;

пластинки стальные длиной (41 ± 0,05) мм, шириной (20 ± 0,2) мм и толщиной (0,15 ± 0,02) мм, изготовленные из стальной ленты 65Г-Ш-С-Н-0,15´20 по ГОСТ 2283-79. В ненапряженном состоянии пластинки должны быть плоскими. Не допускается применять пластинки со следами коррозии.

Пробирка стеклянная диаметром (37 ± 1) мм, высотой около 210 мм, в которую вставляется изгибающее устройство;

устройство для охлаждения, состоящее из несеребренного сосуда Дьюара, снабженного резиновой пробкой с прорезями для пробирки с изгибающим устройством для подачи охлаждающего агента (воронка для подачи углекислоты или трубка для подачи газообразного азота) и отводящей трубки. Вместо сосуда Дьюара может быть использована широкая пробирка, которая укрепляется при помощи пробки в стакане. На дно пробирки и стакана помещают небольшое количество хлористого кальция или другого осушителя.

Допускается применять аппарат другой конструкции по основным размерам рабочей части, условиям проведения и результатам испытаний соответствующий аппарату Фрааса.

Термометр ртутный стеклянный с длиной погружаемой части 250 - 260 мм, диаметром не более (5 + 0,5) мм, ртутным резервуаром цилиндрической формы длиной 15 - 20 мм, с диапазоном измерения от минус 35 до плюс 30 °С, ценой деления 1 °С и погрешностью ±0,5 °С или термопара хромель-копелевая малоинерционная с длиной погружаемой части не менее 250 мм, с потенциометром класса точности 0,5 с диапазоном измерения от минус 50 до плюс 50 °С и ценой деления 1 °С.

Устройство для расплавления битума на пластинке, состоящее из двух металлических плиток любой формы (60´60 мм), расположенных друг над другом на расстоянии примерно 50 мм. Верхняя плитка толщиной 5 мм, нижняя - отражатель толщиной 1 - 2 мм. Устройство закрепляется на штативе горизонтально. Для расплавления битума допускается устройство другой конструкции, обеспечивающее отсутствие перегрева битума и равномерное распределение его на пластинке, например, электрическая плитка с горизонтальной качающейся поверхностью или магнитный блок, состоящий из плоскошлифованной магнитной стальной пластины размером 40´60´8 мм, обеспечивающей полное соприкосновение всей поверхности пластинки для испытания при расплавлении битума и электрической плитки с устройством, обеспечивающим горизонтальность поверхности.

Секундомер.

Сито с металлической сеткой № 07 по ГОСТ 6613-86. Допускается применять импортные сита с аналогичными размерами сетки.

Плитка керамическая размером 100´100´5 мм для выдерживания пластинок после расплавления битума.

Кальций хлористый технический по ГОСТ 450-77.

Толуол нефтяной по ГОСТ 14710-78 или толуол каменноугольный по ГОСТ 9880-76, или керосин осветительный по нормативно-технической документации.

Охлаждающая смесь: этиловый технический регенерированный спирт или сырец или технический изооктан с твердой углекислотой; жидкий азот или жидкая углекислота. Допускается использовать другие охлаждающие смеси.

Весы лабораторные 3-го класса точности.

Держатель для помещения пластинок в пазы захватов. Ширина концов держателя не должна превышать 8 мм. Он должен быть снабжен устройством, предотвращающим сближение концов на расстояние менее 38 мм.

(Измененная редакция, Изм. № 1, 2, 3).

2. ПОДГОТОВКА К ИСПЫТАНИЮ

2.1. Образец битума при наличии влаги обезвоживают осторожным нагреванием без перегрева до температуры на 80 - 100 °С выше температуры размягчения, но не ниже 120 °С и не выше 180 °С при перемешивании стеклянной палочкой. Обезвоженный и расплавленный до подвижного состояния битум процеживают через металлическое сито и тщательно перемешивают по полного удаления пузырьков воздуха.

2.2. Две стальные пластинки тщательно промывают толуолом или керосином, высушивают и взвешивают с погрешностью не более 0,01 г.

Испытанием на изгиб вручную устанавливают, в какую сторону изгибается стальная пластинка. Наносят (0,40 ± 0,01) г битума на выпуклую при изгибе сторону пластинки.

2.3. Пластинку с навеской битума кладут на верхнюю плитку устройства для расплавления битума и осторожно нагревают нижнюю плитку-отражатель газовой горелкой или другим источником тепла до тех пор, пока битум не растечется равномерно по поверхности пластинки.

Пламенем шириной около 5 мм и длиной 5 - 10 мм осторожно прогревают поверхность, удаляют возможные пузырьки воздуха и получают гладкое, равномерное покрытие. При этом следует избегать местных перегревов. Время расплавления и распределения битума составляет 5 - 10 мин.

Подготовленные пластинки с битумом сдвигают на гладкую плоскую горизонтально установленную керамическую плитку. Защищенные от пыли пластинки с битумом выдерживают при комнатной температуре не менее 30 мин.

2.4. В захваты устройства для сгибания (при расстоянии между пазами захватов 40,0 ± 0,1 мм) вставляют пластинку так, чтобы битумный слой был расположен наружу. При этом надо избегать образования трещин в битумном покрытии при сгибании пластинки. Если покрытие треснуло, то в устройство для сгибания помещают пластинку с другим покрытием.

2.2. - 2.4. (Измененная редакция, Изм. № 2).

2.5. Собирают устройство для охлаждения и сосуд Дьюара заполняют изооктаном или спиртом, примерно, на 1/2 высоты.

3. ПРОВЕДЕНИЕ ИСПЫТАНИЯ

3.1. Устройство для сгибания пластинки вставляют в стеклянную пробирку с небольшим количеством хлористого кальция.

Термометр или термопару устанавливают так, чтобы ртутный резервуар термометра или рабочий конец термопары находились на уровне середины стальной пластинки. Температура в пробирке к началу испытания должна быть не ниже 15 °С.

(Измененная редакция, Изм. № 2).

3.2. Вводят порциями охлаждающий агент и понижают температуру в пробирке со скоростью 1 °С/мин, при этом допускаемые отклонения не должны превышать ±1 °С за 10 мин.

3.3. Сгибать пластинку начинают при температуре, примерно, на 10 °С выше ожидаемой температуры хрупкости.

Сгибают и распрямляют пластинку равномерным вращением рукоятки со скоростью около 1 об/с сначала в одну сторону до достижения максимального прогиба пластинки (при уменьшении расстояния между пазами захватов (до 36,5 ± 0,1) мм, а затем в обратную сторону до достижения исходного положения.

Весь процесс сгибания и распрямления пластинки должен заканчиваться за 20 - 24 с. Операцию повторяют в начале каждой минуты и отмечают температуру в момент появления первой трещины. Для уточнения появления трещины допускается кратковременно извлекать пробирку с битумом из сосуда Дьюара или широкой пробирки. В ходе испытания устройство для сгибания нельзя вынимать из пробирки.

При недостаточном освещении используют люминисцентный светильник или лампу мощностью не более 15 Вт, находящуюся на расстоянии 100 мм от аппарата. Лампой пользуются в момент максимального сгибания пластинки, включая ее на короткое время.

Аналогичные испытания проводят с другой пластинкой с битумом, при этом сгибать пластинку начинают при температуре на 10 °С выше температуры появления трещины на первой пластинке.

Если полученные значения различаются на величину, превышающую 3 °С, то проводят третье определение.

Время с момента нанесения битумного покрытия до конца испытания не должно превышать 4 ч.

(Измененная редакция, Изм. № 1, 2).

4. ОБРАБОТКА РЕЗУЛЬТАТОВ

4.1. За температуру хрупкости принимают среднее арифметическое значение двух определений, округленное до целого числа.

(Измененная редакция, Изм. № 1).

4.2. Сходимость

Два результата определения, полученные одним лаборантом на одном и том же аппарате и пробе битума, признаются достоверными (при доверительной вероятности 95 %), если расхождение между ними не превышает 3 °С.

4.3. Воспроизводимость

Два результата испытания, полученные разными лаборантами, в двух разных лабораториях на одной и той же пробе битума, признаются достоверными (при доверительной вероятности 95 %), если расхождения между ними не превышают 8 °С.

4.2, 4.3. (Введены дополнительно, Изм. № 1).

4.4. Допускаемые точностные характеристики действительны до температуры минус 30 °С.

(Введен дополнительно, Изм. № 2).

СОДЕРЖАНИЕ

 



уроки по алготрейдингу на Python с нуля



Яндекс цитирования

   Copyright © 2008-2026 ,  www.infosait.ru

backtrader - уроки алготрейдинга на python