|
|
Все документы, представленные в каталоге, не являются их официальным изданием и предназначены исключительно для ознакомительных целей. Электронные копии этих документов могут распространяться без всяких ограничений. Вы можете размещать информацию с этого сайта на любом другом сайте.
ПРАВИТЕЛЬСТВО МОСКВЫ НОРМАЛИ 1999 ПРЕДИСЛОВИЕ 1. РАЗРАБОТАНЫ коллективом в составе: проф. Григорьева Ю. П., инж. Гриневского А. А., с.н.с., к.т.н. Максименко В. А., инж. Никитина Е. Е., инж. Суркова В. И., арх., к.арх. Яхкинд С. И. (МНИИТЭП); проф., к.т.н. Рахманова В. А., инж. Казарина С. К., с.н.с., к.т.н. Мелихова В. И., с.н.с., к.т.н. Лемыша Л. Л., с.н.с., к.т.н. Довжика В. Г. (ВНИИжелезобетон). 2. ПОДГОТОВЛЕНЫ к утверждению и изданию Управлением перспективного проектирования и нормативов Москомархитектуры (архитекторы Зобнин А. П., Ревкевич Л. П., инженеры Щипанов Ю. Б., Шевяков И. Ю.) 3. СОГЛАСОВАНЫ: Комплексом перспективного развития города, ЦНИИСК им. Кучеренко, УГПС ГУВД г. Москвы, Мосгосэкспертизой, Центром Госсанэпиднадзора г. Москвы. 4. УТВЕРЖДЕНЫ: приказом Москомархитектуры от 02.07.99 г. №. 91. СОДЕРЖАНИЕ ВВЕДЕНИЕНастоящие нормали, предназначенные для проектных и строительных организаций, дают принципиальные решения жилых домов системы "ЮНИКОН" с навесными наружными стенами из сплошных полистиролбетонных блоков. При конкретном проектировании технические решения могут изменяться в зависимости от особенностей проектируемого объекта. Нормали включают в себя две подсистемы: монолитные железобетонные несущие конструкции и наружные ограждающие конструкции. При этом допускается использование нормалей и для других целей при соответствующем обосновании, например, для внутренних ограждающих конструкций. Нормали учитывают допуски на кладку и на выполнение монолитных железобетонных работ, но не дают порядовки кладки, являющейся обязательной в конкретном проектировании. Нормали также не дают принципов назначения осей здания, которые являются общими, а для продольных наружных стен назначаются исходя из конкретных особенностей проекта. Нормали предполагают разработку монолитных железобетонных конструкций только после принятия решений о форме и конструкции наружных ограждений. Кроме обычных статических расчетов при использовании системы "ЮНИКОН" необходимы расчеты фасадной стены (фахверка фасадной стены) на ветровые нагрузки, в том числе в процессе ее возведения. При использовании нормалей с облицовкой фасадной стены другими (кроме кирпича) облицовочными материалами необходимо учитывать возможную разницу в усадках материала стены и облицовки. Технические решения представленные в нормалях наиболее эффективны для наружных стен здания, возводимых изнутри здания или при использовании монтажных навесных лесов. Настоящие нормали не рассматривают другие подсистемы системы «ЮНИКОН», например с несущими и самонесущими стенами и стенами из перекрестно-пустотных элементов. НОРМАТИВНЫЕ И РЕГЛАМЕНТИРУЮЩИЕ ДОКУМЕНТЫ1. СНиП II-22-81. Каменные и армокаменные конструкции. 2. Пособие по проектированию каменных и армокаменных конструкций ЦНИИСК им. Кучеренко. 3. Блоки из полистиролбетона стеновые сплошные. Технические условия ТУ 5741-159-00284807-96* (с изменениями № 1, 2). Зарегистрированы ВНИИстандартом Госстандарта России 27.05.96 г. № 200/012291. 4. Плиты полистиролбетонные теплоизоляционные. Технические условия ТУ 5760-160-00284807-96. Зарегистрированы ВНИИстандартом Госстандарта России 27.05.96 № 200/012290. 5. Гигиенический сертификат 05РЦ/562 от 23.05.96. Блоки из полистиролбетона стеновые сплошные плотностью 400 - 500 кг/м3. 6. Гигиенический сертификат 05РЦ/563 от 23.05.96. Плиты полистиролбетонные теплоизоляционные плотностью 150 - 270 кг/м3. 7. Сертификат соответствия на блоки стеновые из полистиролбетона № ГОСТ PP.9001.1.4.0063 № 00018075 Госстандарта России от 15.12.1997. 8. Сертификат соответствия на плиты теплоизоляционные из полистиролбетона № ГОСТ PP.9001.1.4.0064 № 00018074 Госстандарта России от 15.12.1997. 9. Композиции минеральные клеевые для изделий из особолегких бетонов системы "ЮНИКОН". Технические условия ТУ 2513-203-00284807-98. Зарегистрированы ВНИИстандартом Госстандарта России 28.10.98 № 200/020126. 10. Гигиенический сертификат № 50.ЭР.03.570.П.00027.0.98 от 12.06.98 г. Департамента государственного санитарно-эпидемиологического надзора. 11. Заключение на применение клеевой композиции КМК ин-та Гигиены им. Эрисмана от 12.06.98 № 03/ПМ-28. 12. СНиП 3.03.01-87 «Несущие и ограждающие конструкции». 13. МГСН 2.01-99 «Энергосбережение в зданиях». 14. СНиП II-3-79* (изд. 1998 г.) «Строительная теплофизика» ПОЯСНИТЕЛЬНАЯ ЗАПИСКАОБЩАЯ ЧАСТЬ Жилые дома системы "ЮНИКОН" в конструктивном отношении представляют собой монолитные железобетонные несущие системы в виде плоских рам расположенных с широким шагом и объединенных перекрытием и фасадными скрытыми или открытыми ригелями. При этом рамы могут находиться на поперечных осях здания или со смещением с осей. Общая устойчивость и работа на горизонтальные нагрузки обеспечивается рамами и ядром жесткости. Фундаменты - монолитные железобетонные ленточные для малоэтажных или коробчатые для многоэтажных домов. Пространство внутри рам при необходимости заполняется штучным материалом. Перегородки из штучных материалов. Наружные стены навесные из полистиролбетонных блоков оштукатуренных с двух сторон или оштукатуренных изнутри и облицованных кирпичом снаружи. Утепление кровли осуществляется полистиролбетонными плитами. В качестве материала перегородок возможно также использование полистиролбетонных изделий. АРХИТЕКТУРНО-ПЛАНИРОВОЧНЫЕ РЕШЕНИЯ Основой архитектурно-планировочных решений секций многоэтажных (до 25 этажей) монолитных жилых домов системы "ЮНИКОН" является широкий шаг несущих вертикальных конструкций-рам 6,0 - 7,2 м, обеспечивающий возможность последующих перепланировок квартир и секций без нарушения несущих конструкций. Для этой цели вертикальные инженерные коммуникации (вентиляционные короба, стояки отопления, водоснабжения и канализации) максимально приближены к неизменяемым несущим конструкциям. Система предусматривает различные виды трансформации квартир: в одном уровне и в двух уровнях; трансформация в пределах одной квартиры; трансформация в пределах двух квартир, в том числе с их объединением; трансформация в пределах трех квартир. Конструктивная система жилого дома позволяет выполнять трансформацию и в пределах секции. При этом возможно изменение соотношения типов квартир в секции за счет трансформации с попарным изменением комнатности квартир. Трансформация внутри квартир достигается за счет изменения положения внутриквартирных перегородок, что позволяет получить различные площади основных помещений таких, как кухня, гостиная и спальни. Кроме того, имеется возможность получения квартир различной комнатности (при одинаковой их площади), в том числе с анфиладным построением квартиры с объединением помещений (кухни-столовой-гостиной, гостиной-холла-кабинета). При объединении на этаже двух или трех квартир возможно получение многокомнатных квартир с числом жилых комнат от двух до семи. При таком объединении (в случаях сохранения в квартирах вышележащих этажей типовой планировки) в объединяемых квартирах на местах ранее занимаемых кухнями выполняются подсобные или дополнительные помещения, например хозяйственного назначения (гардеробная или постирочная), кабинет и другие. Планировочные решения квартир предусматривают кухни с естественным освещением, которые могут объединяться раздвижной перегородкой с гостиной. Санузлы в однокомнатных квартирах совмещенные, в двухкомнатных - раздельные. В трех-, четырех- и пятикомнатных квартирах предусматривается, как правило, два санитарно-гигиенических помещения - туалет с умывальником при входе, приближенный к кухне, и совмещенный санузел в зоне спален. В квартирах предусмотрены антресоли, подстолья под мойки и встроенные шкафы. Принятые конструктивные решения позволяют создавать различные варианты композиционного построения фасадов. Основа плана дает крупные вертикальные членения массива стены. Облицовка "щек" лоджий позволяет создавать непрерывные пилоны, подчеркивающие крупный шаг несущих конструкций. Данная тема используется в сочетании с эффектом "эркерности" - введением на плоскости фасадов выступающих объемов. На фасадах также используется прием ритмического повторения полулоджий, имеющих непрямоугольную форму плана. Горизонтальные членения фасада по высоте здания выполняются за счет пространственных элементов - лоджий и эркеров. Горизонтальные членения вводятся в основании дома и в его завершении, а также на различных по высоте уровнях. Тема подчеркнута нависающей плоскостью ограждающей стены в уровне чердака. Усложнение ритмического построения фасадов дома данной конструктивной системы возможно также за счет введения балконов различной формы на ризалитах дома. Возможно получение композиции фасада и без выделения горизонтальных и вертикальных членений за счет введения эркеров на различных по высоте уровнях. Вестибюльно-входная зона в каждой секции дома имеет двухстороннюю ориентацию: входной вестибюль ориентирован на одну сторону дома, эвакуационный выход из незадымляемой лестничной клетки 2-го типа и выход из мусоросборной камеры - на другую. При этом входной вестибюль каждой секции решается в пределах основного объема дома в одном конструктивном шаге. Для обеспечения доступности квартир в доме каждой секции предусматривается увеличенная ширина тамбуров, а также место для последующей установки подъемников для перемещения инвалидов-колясочников на перепаде уровне в вестибюле. Техническое подполье используется для разводки инженерных коммуникаций. Возможен вариант с размещением в торцовой секции ниже уровня технического подполья помещений для автостоянки на 25 машиномест, предназначенной только для жителей дома. При привязке дома с данным вариантом решения подземного пространства предусматривается разработка дополнительных мероприятий для решения вопросов инженерного обеспечения автостоянки и экологической защиты жилой среды. Межквартирные стены могут быть решены из кирпича толщиной 25 или 12 см со штукатуркой с двух сторон, при этом общая толщина 18 см межквартирных стен - равна толщине несущих конструкций. Стены санузлов кирпичные толщиной 6,5 см или 12 см. Межкомнатные перегородки: гипсокартонные каркасно-обшивные - толщиной 16 см, а в рамах между несущими элементами толщиной 18 см из кирпича 12 см со штукатуркой. Допустимым вариантом является использование для межквартирных и межкомнатных стен мелкоразмерных блоков из полистиролбетона, ячеистого бетона или камней типа "Бессер" со штукатуркой типа "Драйвит". Отделка помещений квартир принимается с учетом экологических требований к отделке помещений. Жилой дом обеспечивается системами отопления, вентиляции, водоснабжения, канализации, вертикальным транспортом, системой мусороудаления, электрооборудованием и электроосвещением, связью и сигнализацией, автоматизированной системой учета электропотребления, автоматикой систем незадымляемости, элементами объединенной диспетчерской связи. Системы инженерного оборудования принимаются в соответствии с требованиями действующих норм, с учетом новейших достижений по распоряжению Правительства Москвы № 99-РЗП от 31.01.97 г. Противопожарные мероприятия разрабатываются в соответствии с требованиями к проектированию системы противопожарной защиты путей эвакуации в многоэтажных жилых домах с незадымляемыми лестничными клетками 2-го типа для зданий высотой до 17 этажей с поэтажными входами в них через общий внеквартирный коридор и лифтовой холл согласно МГСН 3.01-96 "Жилые здания". Незадымляемость основных путей эвакуации обеспечивается следующими проектными решениями: поэтажные входы в незадымляемые лестничные клетки с подпором воздуха из лифтовых холлов; на всех этажах в проемах, ведущих из лифтовых холлов в лестничную клетку, устанавливаются самозакрывающиеся двери с уплотнением в притворах; лифтовые холлы на всех этажах отделяются от общих внеквартирных коридоров самозакрывающимися дверями с уплотнением в притворах; для обеспечения нормальной работы приборов самозакрывания (доводчиков) на дверях лифтовых холлов и лестничных клеток "фартуки" не устанавливаются, величина зазора между полотном двери и покрытием пола не более 15 мм; притворы входных дверей в квартиры и окна лестничной клетки оборудуются уплотняющими прокладками; лестничная клетка однозонная по высоте. В качестве вторых путей эвакуации в каждой квартире, начиная с 6-го этажа, предусматриваются лоджии или балконы с глухим простенком шириной 1,2 м. При этом в секции предусматривается лестница 3-го типа с выходом на нее из лифтового холла, ведущая до пола 2-го этажа. Для зданий до 25 этажей включительно следует предусматривать незадымляемые лестничные клетки 1-го типа. Система рассчитана для территории с обычным шумовым фоном, уровень звука которого не превышает: в дневное время суток - 65 дБА; в ночное время суток - 55 дБА. В условиях конкретной градостроительной ситуации предусматривается выполнение акустического расчета по конкретным шумовым характеристикам и определяется вариант заполнения оконных (дверных) проемов в наружных стенах: ПХВ 1500 производства ДСК-1; шумозащитные окна типа ОРТШВ. Узлы установки столярки показаны на листах № 69, 70. Для защиты от шума помещений, расположенных рядом и над электрощитовой в угловых секциях предусматривается: выделение помещения электрощитовой дополнительными стенами; установка стен электрощитовой на собственных фундаментах; выполнение дополнительного подвесного потолка (аналогично конструкции, принятой в серии П44). Снятие шума от лифтовых установок достигается отделением монолитных элементов шахт и перекрытий над ними от несущих конструкций здания упругими прокладками и воздушными зазорами. В части энергосберегающих мероприятий могут быть предусмотрены такие, как установка терморегуляторов РТД на приборах отопления; выполнение оконных и дверных блоков теплозащитными из ПВХ 1500 с приведенным сопротивлением теплопередаче в соответствии с нормами Ro... 0,55 - 0,56 м2 °С/Вт. НЕСУЩИЕ КОНСТРУКЦИИ Основными несущими конструкциями являются железобетонные пилоны несущих стен, ядро жесткости, ограждающее лестнично-лифтовой узел, неразрезные перекрытия и фундаментная плита. Несущая система может рассматриваться как связевый каркас, в котором вертикальные нагрузки воспринимаются перекрытиями, пилонами и ядром жесткости, а горизонтальные - ядром жесткости и пилонами, объединенными в единую систему диском перекрытия. Перекрытия плоские, снабженные ригелями в плоскости рам (пилонов) и при необходимости контурными балками, обеспечивающими устройство наружных ограждающих конструкций и дополнительную опору плит перекрытия. Рекомендуемые размеры конструкций см. лист № 25. Балконы и лоджии, а также поддерживающие их краевые участки отделяются от основных конструкций терморазъемами, обеспечивающими необходимые теплофизические характеристики наружных ограждающих конструкций. НЕОСНОВНЫЕ НЕСУЩИЕ КОНСТРУКЦИИ Неосновными несущими конструкциями являются конструкции лестниц и шахты лифтов. Лестницы выполняются в сборно-монолитном железобетоне: площадки - монолитные железобетонные, марши - сборные железобетонные, выполняемые на заводе или стройплощадке. Шахты лифтов - монолитные железобетонные, отрезанные от основных несущих конструкций (путем прокладки пенополистирольных плит между основными несущими конструкциями и лифтовой шахтой) или путем создания воздушной прослойки за счет использования извлекаемой опалубки. Пол машинного отделения, на который опирается подъемное оборудование, опирается на конструкции лифтовой шахты. Возможен вариант сборных железобетонных шахт лифтов. НАРУЖНЫЕ ОГРАЖДАЮЩИЕ КОНСТРУКЦИИ В качестве наружных ограждений использована кладка из полистиролбетонных блоков со штукатуркой снаружи и изнутри или со штукатуркой изнутри и облицовкой кирпичом снаружи. В подземной части наружные ограждения выполняются в монолитном железобетоне с утеплением в пределах глубины промерзания грунта кирпичной кладкой с прокладкой пенополистирольных плит или утепляются сборным полистиролбетоном. Кладка стен навесной конструкции поэтажно опирается на перекрытия, а в месте "глухих" фасадных стен - на специально организованные консоли с терморазъемами. Полистиролбетон - новый в отечественном строительстве материал на основе гранул полистирольного пенопласта, цемента, воды затворения и химических добавок, имеющий высокие технико-экономические и эксплуатационные показатели. Объемная масса полистиролбетона в пределах 150 - 750 кг/м3; оптимальный интервал объемной массы исходя из прочностных и теплотехнических показателей - от 250 до 500 кг/м3. Прочность полистиролбетона на сжатие в пределах 0,2 - 1,5 МПа. Расчетный коэффициент теплопроводности (для условий эксплуатации Б) в пределах 0,06 - 0,16 Вт/м °С, что обеспечивает требования II этапа энергосбережения. Полистиролбетон относится к классу негорючих и трудносгораемых материалов (степень трудносгораемости увеличивается при увеличении его объемной массы). Эти свойства позволяют использовать сплошнотелые блоки из полистиролбетона (заявка ВНИИЖБа № 94005054/33 на авторское свидетельство от 25.04.96) как стенообразующий материал для ненесущих стен, выполняющий одновременно функции утеплителя. Полистиролбетон позволяет формировать стены с разнообразной геометрией (форма в плане, высота этажа, размеры проемов, ниши-отдавлины, выступы, карнизы) из ограниченной номенклатуры исходных изделий при условии доработки блоков на постройке ручным или механизированным инструментом. При этом запады могут образовываться как за счет выемки (вырубки) материала на постройке, так и за счет применения в нужном месте блоков меньшей толщины. Выступы более 30 - 40 мм образуются за счет выдвижения блоков по отношению к основной фасадной поверхности до одной трети их толщины. Выступы до 40 мм могут быть образованы за счет местного утолщения слоя штукатурки по сетке или наклейкой тонких плит полистиролбетона. Стены из полистиролбетона позволяют устраивать скрытую электропроводку в штрабах, устраиваемых на постройке до выполнения внутреннего отделочного слоя. Основным решением является штукатурка по сетке толщиной 20 мм из цементно-песчаного или смешанного раствора с полимерными добавками с последующей окраской атмосферостойкими составами. Возможно применение накладных сборных декоративных элементов из гипса, композиционных материалов, кирпича и др. Над проемами используются горизонтально расположенные блоки с внутренним армированием плоскими или пространственными легкими арматурными каркасами. Полистиролбетон трудносгораемый материал. При огневом воздействии происходит медленное разрушение материала, вызванное расплавлением гранул полистирольного пенопласта, который не успевает разрушиться до степени, представляющей угрозу зданию. Опасность представляют вредные газы, выделяющиеся при расплавлении гранул. Для предотвращения этого стена защищается с внутренней и наружной стороны штукатурным слоем толщиной не менее 20 мм, армированным стальной, мелкоячеистой сеткой, исключающей отслоение штукатурного слоя во время огневого воздействия и проникновение горячего воздуха или пламени в образовавшийся зазор. Для надежного крепления металлической штукатурной сетки применяют сетки или анкера из гибкой арматурной стали, укладываемые в швы кладки. Блоки на откосах оконных и дверных проемов отштукатуриваются цементно-песчаным раствором толщиной не менее 50 мм. В цокольной части фасадной стены и первых (нежилых) этажах здания (на высоту не менее 3,0 м.) применение полистиролбетона во избежание механических повреждений стены не рекомендуется. Стена формируется из эффективной кирпичной кладки или иным способом. ВНУТРЕННИЕ НЕНЕСУЩИЕ КОНСТРУКЦИИ Внутренние ограждающие конструкции выполняются из каркасно-обшивных систем для внутриквартирных перегородок, из мелко- и среднештучных элементов для межквартирных стен и санузлов. Вентиляционные системы - из гипсобетонных типовых блоков, монтируемых через отверстия в перекрытиях или из мелкоштучных материалов. АНТИКОРРОЗИОННАЯ ЗАЩИТА Антикоррозионная защита закладных деталей и связей в узлах сопряжения наружных стек с внутренними конструкциями жилых зданий осуществляется в соответствии со СНиП 2.0311-85 "Защита строительных конструкций от коррозии". При этом возможна замена протекторного грунта ХВ-784 с цинковым наполнителем на менее дефицитные и менее трудоемкие материалы. Одним из таких материалов для использования в летний, осенний и весенний периоды является полиуретановый протекторный грунт германской фирмы Стилпейнт. Во всех случаях закладные детали, кроме этого, должны быть защищены слоем цементно-песчаного раствора на портландцементе класса не ниже В15 (марки 150) толщиной не менее 20 мм. БЕТОН Бетон класса В25 и В30. Возможно применение высокомарочных бетонов. В соответствии с информационным письмом НИИЖБ от 29.11.95 № 18-349 рекомендуется применение высокомарочных бетонов классов до В90 с 120 МПа для различных видов сооружений, включая каркасы многоэтажных зданий. Эти бетоны основаны на цементах стандартных марок (М500, М550, М600), расход которых не превышает расхода цемента в бетоне класса В45 (600 кгс/см2). По рекомендации НИИЖБ прочностные и деформативные характеристики для бетонов классов до В60 включительно могут приниматься в соответствии с действующими нормативами (СНиП 2.03.01-84). В настоящее время в Москве для массового производства высокомарочных бетонов оснащены два завода № 3 комбината "Мосинжбетон" и передвижный завод "Мосинжстроя". АРМАТУРА В качестве основной сжатой (пилоны) и растянутой арматуры применяется арматурная сталь класса АIII диаметром от 8 до 40 мм с расчетным сопротивлением : растяжению Rs = 365 МПа = 3750 кгс/см2; сжатию Rsg = 365 МПа = 3750 кгс/см2. В качестве неосновной арматуры принимается арматура класса AI с расчетным сопротивлением растяжению, сжатию Rs = Rsc = 2850 кгс/см2. ОПАЛУБКА Опалубка - с металлической палубой. Высота щитов, к которым прибавляется высота надстроечных элементов, применяемых при необходимости, позволяет возводить стены трех размеров: 2,58; 2,78 и 3,08 м. Применение специальных угловых элементов обеспечивает возведение стен любой толщины и ортогональной ориентации, а также лестничных и лифтовых шахт размерами кратными 100 мм. Указанные параметры и возможности опалубки удовлетворяют принятым в проекте габаритам и формам несущих конструкций, выполняемых в монолитном железобетоне. Опалубка переставляется с помощью крана малой грузоподъемности. Щиты такого же типа применяются для возведения перекрытий, используя в качестве суппора сборные конструкции столов для укладки на них опалубки перекрытий. Щиты с листовой опалубкой представляют собой сочлененную конструкцию: листовую палубу, ребристый каркас из гнутого профильного листа, приваренного к листовой палубе для придания ей необходимой несущей способности и жесткости; каркаса из балок, устанавливаемых ортогонально относительно ребер жесткости и соединяемый болтами с ребрами. Стеновая опалубка имеет основной размер по высоте 2580 мм с доборами высотой 200 и 500 мм. В качестве торцевых элементов используются вертикальные бортики, вставляемые между щитами и блокируемые специальными соединениями. Для образования дверных и оконных проемов используются специальные вкладыши с регулируемыми размерами. Для бетонирования перекрытий применяются сборные металлические конструкции - столы с телескопическими стойками оснащенными колесами, что позволяет использовать опалубку в качестве тоннельной. Стойки позволяют регулировать высоту стола от 2500 до 3300 мм. К столам крепится палуба с металлическими или деревянными щитами. В целях обеспечения удобства и безопасности ведения работ опалубка комплектуется кронштейнами для рабочей площадки и выступающих мостиков. На установку 1 м2 опалубки требуется 0,25 чел. часа. ПРОИЗВОДСТВО РАБОТ Бетон на стройплощадку доставляется с бетонных заводов бетоновозами (миксерами) и разгружается в специальные емкости (бадьи), которые краном доставляют бетон к месту укладки в заранее смонтированную опалубку. Монолитная железобетонная плоская фундаментная плита бетонируется безопалубочным методом на подготовленном основании картами, имеющими сетчатые ограничители. Монолитные стены и перекрытия бетонируются поэтажно с применением щитовой опалубки, переставляемой башенным краном. Для уплотнения бетонной смеси используются стандартные глубинные вибраторы. При укладке бетона при температурах наружного воздуха от 0,0 до -10,0 °С используются противоморозные добавки; при температуре ниже -10,0 °С используется электропрогрев с помощью электродов, устанавливаемых в опалубку до бетонирования стен и перекрытий. В качестве арматуры стен и перекрытий используется горячекатанная арматура классов AI и АIII диаметром от 8 до 40 мм, а также монтажная арматура диаметром 3 - 5 мм класса ВрI. Арматура поставляется на стройплощадку россыпью и монтируется отдельными стержнями, закрепляемыми вязальной проволокой. Основной вид стыков арматуры - перехлест. Для соединений арматуры диаметров 25 - 40 мм в балках и фундаментной плите используется ванная сварка в стальных несъемных формах. Для отдельных видов конструкций, например, ригелей и балок может использоваться арматура заранее объединенная в плоские или пространственные каркасы на стройплощадке. Подъем арматуры на монтажный горизонт осуществляется башенным краном. Переход на следующий монтажный горизонт определяется проектом производства работ, но не ранее семи дней после укладки бетона перекрытия предыдущего горизонта. Внешние ограждающие конструкции возводятся в основном с перекрытий после достижения бетоном перекрытий необходимой прочности. Доставка полистиролбетонных блоков на кладочные горизонты осуществляется в контейнерах башенным краном, подъемниками или лебедками, устанавливаемыми на навесных лесах. При наличии в несущей системе внешних железобетонных стен, облицовываемых блоками и высоте зданий, не допускающей применение для целей облицовки внешних приставных лесов или при нецелесообразности их применения, применяются навесные леса, см. приложение VI. Внутренние ограждающие конструкции возводятся после бетонирования перекрытий, в связи с чем они выполняются из мелко- и среднеразмерных элементов "ручным" способом. Вентблоки, марши лестниц и ограждения шахт лифтов монтируются с помощью башенного крана через отверстия в перекрытии, позволяющие пропускать их через несколько перекрытий. УСЛОВНЫЕ ОБОЗНАЧЕНИЯ
НОМЕНКЛАТУРА ПОЛИСТИРОЛБЕТОННЫХ БЛОКОВ
Примечания: 1. Выбор класса по прочности на сжатие производится при проектировании. ПРИНЦИПИАЛЬНАЯ СХЕМА ЖИЛЫХ ДОМОВ СИСТЕМЫ «ЮНИКОН». ПОПЕРЕЧНЫЙ РАЗРЕЗ
1. Фундаментальная плита 2. Монолитные стены ограждения техподполья 3. Плоские рамы 4. Перекрытие 5. Фасадный ригель 6. Навесные внешние ограждающие конструкции 7. Термовкладыши. Терморазъемы ПРИНЦИПИАЛЬНАЯ СХЕМА ЖИЛЫХ ДОМОВ СИСТЕМЫ «ЮНИКОН». ПЛАН
3. Плоские рамы 4. Перекрытие 5. Фасадный ригель 6. Навесные внешние ограждающие конструкции 7. Термовкладыши. Терморазъемы 8. Ядро жесткости ФРАГМЕНТ ФАСАДНОЙ СТЕНЫ. ПРИМЕР РАСКЛАДКИ СБ
РЕКОМЕНДУЕМЫЕ РАЗМЕРЫ И ПАРАМЕТРЫ ЖИЛЫХ ДОМОВ СИСТЕМЫ «ЮНИКОН»Таблица рекомендуемых размеров и параметров жилых домов системы «ЮНИКОН»
НОРМАЛЬ 4Н-1
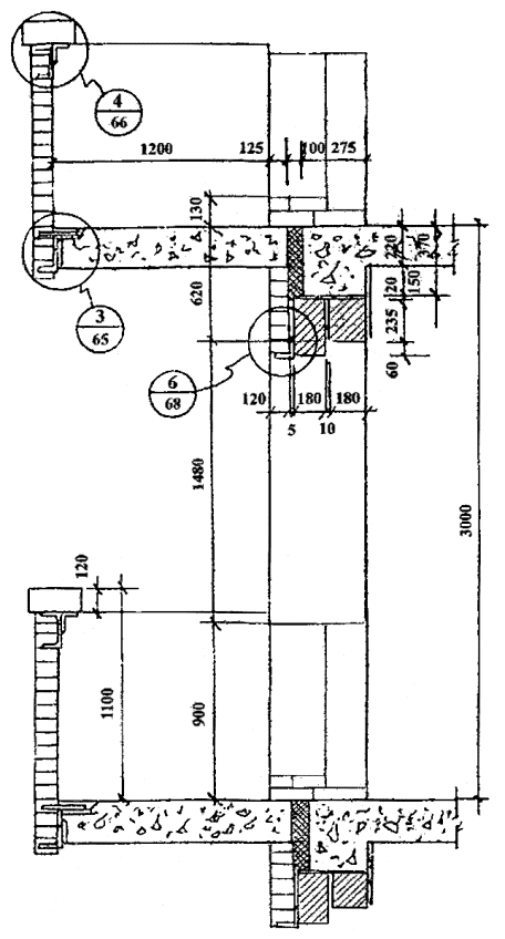
ПОЯСНЕНИЯ К 4Н-1Нормаль 4Н-1 представляет собой принципиальное решение наружной стены (вертикальный разрез по оконному проему) из полистиролбетонных блоков, облицованных с фасадной стороны кирпичом с расшивкой швов (без штукатурки фасадной поверхности) и штукатуркой с внутренней стороны. В подоконной части укладываются три ряда блоков с перевязкой швов, что соответствует номинальной высоте оконного проема 1500 мм. Возможна укладка в подоконной части стены четырех рядов блоков, что соответствует номинальной высоте оконного проема 1200 мм. В надоконной части оконного проема укладываются две разновысоких перемычки, обеспечивающие образование четверти, скрывающей раму оконного блока и позволяющие устройство открытого фасадного ригеля, воспринимающего вертикальные нагрузки от фасадной стены и перекрытия. При этом низкая перемычка укладывается на прокладку из полистиролбетона (кирпича). Торец фасадного ригеля утепляется эффективным утеплителем толщиной 100 мм. Часть внешней кирпичной облицовки в пределах высоты фасадного ригеля и перемычки опирается на металлическую перемычку, имеющую в опорных зонах уширенные участки. Кирпичная облицовка на участках между перекрытиями приклеивается к полистиролбетонным блокам при поэтажном опирании на металлический лист, расположенный в уровне верха перекрытий и приваренный к закладным деталям фасадного ригеля. Кирпичная кладка, кроме того, в уровне швов полистиролбетонных блоков связана с ними стальными арматурными каркасами (сетками). Возможным вариантом вертикального закрепления кирпичной облицовки является ее опирание на стальной уголок, приваренный к закладным деталям фасадного ригеля, располагаемых на его торцевой поверхности (на нормали изображен на нижнем перекрытии). Металлические детали (кроме арматурных каркасов или сеток) надежно защищаются от коррозии. В рабочей документации обязательно указание о порядовке полистиролбетонных блоков и кирпичной облицовки. При этом следует иметь в виду, что швы кирпичной кладки и полистиролбетонных блоков должны совпадать по уровню, а расположение опорных металлических деталей может быть как в швах кладки, так и в пропиленных пазах кирпича. НОРМАЛЬ 4Н-2
НОРМАЛЬ 4Н-2. РАЗРЕЗ 1-1
НОРМАЛЬ 4Н-2. РАЗРЕЗ 2-2
ПОЯСНЕНИЯ К 4Н-2Нормаль 4Н-2 представляет собой принципиальное решение наружной стены (вертикальный разрез по оконному проему) из полистиролбетонных блоков, облицованных с фасадной стороны кирпичом с расшивкой швов (без штукатурки фасадной поверхности) и штукатуркой с внутренней стороны. Нормаль 4Н-2 идентична нормали 4Н-1 с тем отличием, что утепление фасадного ригеля эффективным утеплителем производится не снаружи фасадного ригеля как в 4Н-1, а внутри ригеля. При этом две части ригеля соединяются шпонками, расположенными с шагом около 1200 мм. Данное решение обеспечивает более надежную работу металлических опорных конструкций (не проходят через слой утеплителя), полное опирание полистиролбетонных блоков на фасадный ригель, однако усложняет конструкцию ригеля, ухудшает теплофизические характеристики стены и приводит, как правило, к немодульной горизонтальной раскладке блоков, требующей их подрезки у вертикальных монолитных железобетонных стен. По комплексу показателей нормали 4Н-1 и 4Н-2 можно считать равнозначными. Для улучшения теплофизических показателей стены соединительные шпонки могут уменьшаться по ширине при соответствующем обосновании прочностным расчетом. НОРМАЛЬ 4Н-3
ПОЯСНЕНИЯ К 4Н-3Нормаль 4Н-3 представляет собой принципиальное решение наружной стены (вертикальный разрез по балконной двери) из полистиролбетонных блоков облицованных с фасадной стороны кирпичом с расшивкой швов (без штукатурки фасадной поверхности) и штукатуркой с внутренней стороны. В качестве элементов нижней части стены (порог) используется эффективная кирпичная кладка с утеплением эффективным утеплителем (пенополистирол). В надоконной части проема укладываются две разновысоких перемычки обеспечивающие образование четверти, скрывающей раму балконной двери и позволяющие устройство открытого фасадного ригеля, воспринимающего вертикальные нагрузки от стены, перекрытия и балконной плиты. Балконная плита отделена от фасадного ригеля слоем эффективного утеплителя толщиной 100 мм и соединена с фасадным ригелем шпонками, расположенными на расстоянии около 1200 мм друг от друга. Часть внешней облицовки в пределах высоты фасадного ригеля и перемычки опирается на металлическую перемычку, имеющую в опорных зонах уширенные участки (по аналогии с 4Н-1). На нормали 4Н-3 дано также принципиальное решение балконного кирпичного ограждения, исключающего железобетонные пояса, образуемые при постановке ограждения непосредственно на железобетонную плиту балкона (лоджии). При этом при широком шаге несущих поперечных стен необходимо для исключения работы ограждения как вертикальной консоли устройство горизонтальной металлической балки-ригеля, расположенного в верхней части ограждения, закрепляемой на концевых участках к элементам поперечных стен ("щекам" балконов или лоджий). Металлические конструкции требуют тщательной и надежной антикоррозионной защиты. НОРМАЛЬ 4Н-4
НОРМАЛЬ 4Н-5
ПОЯСНЕНИЯ К 4Н-4 и 4Н-5Нормали 4Н-4 и 4Н-5 представляют собой принципиальное решение наружной стены (вертикальный разрез по оконному проему и глухому участку стены) из полистиролбетонных блоков, облицованных с фасадной стороны кирпичом с расшивкой швов (без штукатурки фасадной поверхности) в случаях, когда на фасадной стороне здания расположены (несущие) монолитные железобетонные стены. В подобных случаях плита перекрытия выпускается консольно за грань фасадной поверхности монолитной железобетонной стены с устройством в консольной части терморазъема в виде эффективного утеплителя. При этом две части консоли соединяются между собой шпонками, располагаемыми на расстоянии около 1200 мм друг от друга. В подоконной части укладываются три ряда блоков с перевязкой швов, что соответствует номинальной высоте оконного блока 1500 мм. В варианте "глухой стены" укладываются 9 блоков с добором из разрезанного полистиролбетона в случае необходимости. В надоконной части укладываются две разновысотных перемычки, обеспечивающие образование четверти, скрывающей раму оконного блока и позволяющие над перемычками укладывать (резаные) части блоков полистиролбетона. Облицовка кирпичом надоконной части стены, выполняется на металлической перемычке, имеющей в опорных зонах уширенные участки. Участки фасада, имеющие железобетонные пояса (в уровне перекрытий), могут облицовываться резаным кирпичом, имитирующим сплошную кирпичную кладку фасадной стены. При этом резаный кирпич так же, как и другой облицовочный кирпич соединяются с прилегающим материалом с помощью клеев. Данный вариант стены наиболее просто решается при наличии балконов или лоджий, позволяющий выполнять работы по утеплению и облицовке фасадов с перекрытий, без монтажных лесов или других монтажных устройств (люлек). Возможным вариантом является применение полистиролбетонных блоков плотностью 250 кг/м3 и толщиной 300 мм. НОРМАЛЬ 4Н-6
ПОЯСНЕНИЯ К 4Н-6, (4Н-15)Нормаль 4Н-6 представляет собой принципиальное решение наружной стены (вертикальный разрез по оконному проему) из полистиролбетонных блоков, облицованных с фасадной стороны кирпичом с расшивкой швов (без штукатурки фасадной поверхности) и штукатуркой с внутренней стороны (для 4Н-15 фасадная сторона оштукатурена). Нормаль 4Н-6 по техническому решению близка к нормали 4Н-1, однако, имеет ряд принципиальных различий, главные из которых использование в кладке блоков с плотностью 250 кг/м3 (в 4Н-1 плотность 350 кг/м3) и шириной кладки 300 мм (при высоте 375 мм). Из этого вытекает ряд существенных последствий: 1. Кладка должна быть рассчитана на ветровые нагрузки в рабочем (проектном) положении и в процессе возведения кладки, что без специальных мероприятий ограничивает возможность ее применения до определенной высоты, выше которой необходим комплекс мероприятий, обеспечивающих работу кладки на изгиб вне ее плоскости (фахверк, временные крепления и др.). 2. Подоконная и надоконная часть кладки имеют пониженный или повышенный размер, что может оказывать влияние на архитектурные решения, и влиять на функциональные особенности помещений. 3. Перемычки в надоконной части разной ширины, создающие эффект приближения "столярки" к внутренней грани наружной стены, что может отрицательно влиять на ее теплофизические показатели. 4. При применении в одном здании нормалей 4Н-1 и 4Н-6 могут возникнуть проблемы "распознания" блоков, несмотря на различие в их маркировке. В остальном все соображения и пояснения к 4Н-1 относятся и к 4Н-6. НОРМАЛЬ 4Н-7.ПЛАНЫ ПРОСТЕНКОВ С ОБЛИЦОВКОЙ КИРПИЧОМ
НОРМАЛЬ 4Н-8
НОРМАЛЬ 4Н-9
НОРМАЛЬ 4Н-10
НОРМАЛЬ 4Н-11
ПОЯСНЕНИЯ К 4Н-8, 4Н-9, 4Н-10, 4Н-11Нормаль 4Н-8 представляет собой принципиальное решение наружной стены (вертикальный разрез по оконному проему) из полистиролбетонных блоков, оштукатуренных с фасадной и внутренней стороны здания. В подоконной части укладываются три ряда блоков с перевязкой швов, что соответствует номинальной высоте оконного проема 1500 мм. Возможна укладка в подоконной части стены четырех рядов блоков, что соответствует номинальной высоте оконного проема 1200 мм. В надоконной части оконного проема укладываются две разновысоких перемычки или одна высокая "лежа" с добором из резаного полистиролбетона в зависимости от высоты этажа и геометрических размеров фасадного ригеля, фасадная часть которого утепляется эффективным утеплителем (пенополистирол) толщиной 100 мм и защищается кирпичом "на ребро" или резаным полистиролбетоном толщиной 60 мм. Опирание полистиролбетонных блоков на перекрытие осуществляется не полностью, площадкой шириной 215 мм и консольным свесом 160 мм. При необходимости в качестве перемычки может использоваться металл. НОРМАЛЬ 4Н-12
НОРМАЛЬ 4Н-12. РАЗРЕЗ 1-1
ПОЯСНЕНИЯ К 4Н-12Нормаль 4Н-12 представляет собой принципиальное решение наружной стены (вертикальный разрез по оконному проему) из полистиролбетонных блоков, оштукатуренных с фасадной и внутренней стороны здания. В подоконной части укладываются три ряда блоков с перевязкой швов, что соответствует номинальной высоте оконного проема 1500 мм. Возможна укладка в подоконной части стены четырех рядов блоков, что соответствует номинальной высоте оконного проема 1200 мм. В надоконной части оконного проема укладываются две разновысоких перемычки, обеспечивающие образование четверти, скрывающей раму оконного блока и позволяющие устройство открытого фасадного ригеля, воспринимающего вертикальные нагрузки от фасадной стены перекрытия и балконной плиты. Торец фасадного ригеля утепляется эффективным утеплителем толщиной 100 мм. При этом утеплитель в пределах высоты плиты перекрытия (балконной плиты) закладывается в процессе ее бетонирования, а утеплитель, расположенный ниже плиты перекрытия, устанавливается после выполнения монолитных железобетонных работ. Связь балконной плиты с фасадным ригелем осуществляется шпонками, располагаемыми на расстоянии около 1200 мм друг от друга. Кроме того, возможно опирание балконной плиты на "щеки" балконов (лоджий), соединенных шпонками с поперечными несущими стенами. Между балконной плитой и перемычкой (защита эффективного утеплителя) располагается кирпичная кладка или пиленые фрагменты полистиролбетонных блоков. На нормали 4Н-12 не дается принципиального решения балконного ограждения, т.к. таких решений может быть большое разнообразие и каждое из решений требует определенной системы закладных деталей в монолитном железобетоне. Одним из возможных решений балконного ограждения является решение близкое к представленному в нормали 4Н-3 (кирпичное ограждение) с постановкой ограждения непосредственно на балконную плиту и оштукатуриванием фасадной поверхности ограждения. НОРМАЛЬ 4Н-13
НОРМАЛЬ 4Н-14
НОРМАЛЬ 4Н-15
НОРМАЛЬ 4Н-16
НОРМАЛЬ 4Н-17
ПОЯСНЕНИЯ К НОРМАЛЯМ 4Н-16, 4Н-17Нормали 4Н-16 и 4Н-17 дают принципиальное решение усиления кладки из полистиролбетонных блоков для обеспечения ее работы на горизонтальные нагрузки (ветровой напор), что может быть необходимым на высоких отметках, большой высоте этажей и при применении блоков с объемной массой 300 кг/м3 (толщиной кладки 295 мм без штукатурки и облицовки). В нормалях показано усиление стены. Эти же решения могут быть использованы и для простенков. Усиление выполняется вертикальными стальными или стеклопластиковыми профилями, располагаемыми в четвертях блоков СБПр и закрепляемых различными способами в смежных перекрытиях. Профили (в случаях усиления стен) утепляются изнутри здания пенополистиролом и резаным полистиролбетоном. При усилении стена работает в горизонтальной плоскости между элементами усиления, являющимися опорами стены. Металлические элементы усиления могут выполняться из различных профилей, выбираемых в проекте в зависимости от действующих на них усилий. При этом профили считаются работающими без участия стены и рассчитываются по условиям прочности и жесткости. Рекомендуется, чтобы прогиб элементов усиления не превышал 1/400 пролета. Профили из стеклопластика выполняются по специальному заказу и закладываются в проект только после подтверждения предприятием-изготовителем возможности их изготовления (ОАО НПО "Композит"). В связи с тем, что арматуру швов кладки можно закреплять к стеклопластиковым профилям путем пропуска ее в отверстия в профилях, рекомендуется блоки закреплять в пропиленных пазах. Однако в этом случае необходимо иметь в виду сложность устройства кладки между двумя смонтированными и закрепленными профилями. НОРМАЛЬ 4Н-18
ПОЯСНЕНИЯ К НОРМАЛИ 4Н-18Нормаль 4Н-18 иллюстрирует один из возможных вариантов организации угла здания. На плане показаны железобетонные несущие конструкции (рамы, перекрытия, фасадные ригели, консоли) с закладными деталями, полистиролбетонные блоки, лицевая кирпичная кладка, утеплитель из пенополистирола и металлические детали для крепления кирпичной кладки. Совмещение различных конструктивных элементов носит условный характер. Нормаль поясняет конструктивные решения и может использоваться для назначения размеров монолитных железобетонных конструкций и проектирования закладных и крепежных деталей и узлов их креплений. Арматура в швах блоков и кирпичной кладки, а также выпуски арматуры и внутренний штукатурный слой условно не показаны. Пространство между элементами рам (между ригелем и стойками), образующее нишу в помещениях может заполняться полистиролбетонными блоками (резаными блоками) или иным штучным материалом. Перевязка блоков в углу здания не обязательна. Разрез 1-1 смотри нормаль 4Н-1, разрез 2-2 смотри нормаль 4Н-5. НОРМАЛЬ 4Н-19. ВОЗМОЖНЫЕ СОЧЕТАНИЯ ПОЛИСТИРОЛБЕТОННЫХ БЛОКОВ И ЭФФЕКТИВНОЙ КИРПИЧНОЙ КЛАДКИ
Примечания: 1. Нормаль 4Н-19 может быть использована для участков стен, где с фасада необходимо закрепление навесного оборудования и устройств. НОРМАЛЬ 4Н-20. ПРИНЦИП АРМИРОВАНИЯ ПЕРЕКРЫТИЯ
ПОЯСНЕНИЯ К 4Н-20Нормаль 4Н-20 дает принципиальную схему армирования средней ячейки перекрытия пролетом 6,0 - 7,2 м, опирающегося на стены и ригели (фасадный ригель). Контурное опирание и наличие балкона (лоджии) приводит к следующим решениям. Вся арматура в виде отдельных стержней (россыпью) объединяемых вязкой в местах пересечений с рабочей или монтажной арматурой сварка арматуры не предусматривается. Нижняя (пролетная) арматура двух направлений с доведением до опор не менее 3 стержней на 1 п.м (шаг 300 мм). Дополнительная нижняя арматура длиной две трети пролета укладывается в средней части пролета с разбежкой (смещением) стержней по отношению друг к другу в двух направлениях. Арматура укладывается на пластмассовые фиксаторы, устанавливаемые на палубу опалубки с расстояниями, обеспечивающими исключение провисания арматуры в процессе укладки бетона. Верхняя, надопорная арматура укладывается по всему периметру ячейки с разбежкой (смещением) стержней по отношению друг к другу. Фиксация верхней арматуры осуществляется монтажными стержнями и, возможно, отгибами концевых участков арматуры. Верхняя арматура, армирующая лоджию, проходит в шпонках перекрытия и, при необходимости, например, для увеличения размера температурных разъемов, концентрируется в пучки. При этом возможным вариантом армирования плиты перекрытия лоджии является нижняя, продольная арматура, доходящая до "щек" лоджии. Класс и площадь поперечного сечения арматуры назначаются исходя из усилий, определяемых статическим расчетом перекрытия в целом. Шаги арматуры следует увязывать с арматурой смежных конструкций. Верхняя арматура плит перекрытия располагается над верхней арматурой ригеля рам. НОРМАЛЬ 4Н-21. ПРИНЦИП АРМИРОВАНИЯ РАМ
ПОЯСНЕНИЯ К 4Н-21Нормаль 4Н-21 дает принципиальную схему армирования рам, содержащих вертикальные пилоны и межпилонные ригели. Пилоны армируются по длинным граням пилона вертикальной и горизонтальной арматурой. При этом шаг вертикальной арматуры не более 200 мм, горизонтальной не более 300 мм. Арматура двух граней соединяется монтажной арматурой. Пересечения арматуры двух направлений фиксируются вязальной проволокой. У узких граней пилонов устанавливается дополнительная (фибровая) арматура класса АIII, диаметром не менее 20 мм поэтажно или через этаж соединяемая ванной сваркой с нижерасположенной фибровой арматурой. Возможен вариант перехлестного соединения фибровой арматуры. У внутренних граней пилонов фибровая арматура спаренная, расположенная по оси пилона для обеспечения возможности пропуска арматуры ригеля, расположенной у граней пилона. У внешних граней пилонов фибровая арматура располагается у его длинных граней. При наличии "щек" лоджий (на высоту этажа или на часть высоты этажа), отсекаемых от пилонов терморазъемами, устанавливается дополнительная (расчетная) арматура в соединительных шпонках, располагаемая по оси пилона для возможности прохода между фибровой арматурой. Поле "щек" лоджий армируется аналогично пилону рам. Арматура пилонов стержневая (россыпью). Ригели рам армируются по их граням верхней, отдельной, обрываемой в пролете арматурой и каркасами (пространственными каркасами). Возможен вариант замены каркасов отдельными арматурными стержнями. Класс и площадь поперечного сечения арматуры рам назначаются исходя из усилий, определяемых статическим расчетом всех рам несущей системы, включая ядро жесткости при его наличии. Местоположение арматуры следует увязывать с арматурой смежных конструкций. При этом верхняя арматура ригеля располагается под верхней арматурой перекрытия. НОРМАЛЬ 4Н-22. ПРИНЦИП АРМИРОВАНИЯ ФАСАДНЫХ РИГЕЛЕЙ
ПОЯСНЕНИЯ К 4Н-22Нормаль 4Н-22 дает принципиальную Схему армирования фасадного многопролетного ригеля, опирающегося на пилоны рам. Ригели армируются по их граням верхней, отдельной, обрываемой в пролете арматурой и каркасами (пространственными каркасами). Возможен вариант замены каркасов отдельными арматурными стержнями. Возможно включение верхней арматуры в состав каркаса при выполнении соединений верхней арматуры смежных каркасов ванной сваркой. Класс и площадь поперечного сечения арматуры фасадных ригелей назначаются исходя из усилий, определяемых статическим расчетом. Шаги арматуры и ее местоположение увязываются с арматурой смежных конструкций. При наличии балконов (лоджий) верхняя арматура плиты перекрытия располагается над верхней арматурой фасадного ригеля. УЗЕЛ 1
Примечания: 1. Полоса - 250 ´ 10 в целях улучшения теплофизических качеств стены может укладываться с зазорами 2 - 5 мм от поверхности бетона. 2. Под полосой возможна организация зазора над кирпичом с заполнением его упругой прокладкой. 3. Все металлические детали и их крепления должны назначаться на основе расчетов. УЗЕЛ 2
Примечания: 1. Все металлические детали и их крепления должны назначаться на основе расчетов. УЗЕЛ 3
Примечания: 1. Все металлические детали и их крепления должны назначаться на основе расчетов. УЗЕЛ 4
Примечания: 1. Все металлические детали и их крепления должны назначаться на основе расчетов. УЗЕЛ 5
Примечания: 1. Все металлические детали и их крепления должны назначаться на основе расчетов. УЗЕЛ 6
Примечания: 1. Все металлические детали и их крепления должны назначаться на основе расчетов. УЗЕЛ 7, 8.УСТАНОВКИ И КРЕПЛЕНИЯ СТОЛЯРНЫХ ИЗДЕЛИЙ
Примечания: 1. Штыри забивают в засверленные в раме и блоках отверстия. УЗЕЛ 9, 10.УСТАНОВКИ СТОЛЯРНЫХ ИЗДЕЛИЙ
УЗЕЛ 11
Примечания: 1. Металлическая сетка с ячейками ориентировочно 10 ´ 10 - 20 ´ 20 мм для Ø1 и 30 ´ 30 - 50 ´ 50 для Ø3. УЗЕЛ 12.ДЕТАЛИ КРЕПЛЕНИЙ ОБОРУДОВАНИЯ И УСТРОЙСТВ. РАЗРЕЗ
УЗЕЛ 13. КОНСТРУКЦИЯ КРОВЛИ
ПРИЛОЖЕНИЕ I
| ||||||||||||||||||||||||||||||||||||||||||||||||||||||||||||||||||||||||||||||||||||||||||||||||||||||||||||||||||||||||||||||||||||||||||||||||||||||||||||||||||||||||||||||||||||||||||||||||||||||||||||||||||||||||||||||||||||||||||||||||||||||||||||||||||||||||||||||||||||||||||||||||||||||||||||||||||||||||||||||||||||||||||||||||||||||||||||||||||||||||||||||||||||||||||||||||||||||||||||||||||||||||||||||||||||||||||||||||||||||||||||||||||||||||||||||||||||||||||||||||||||||||||||||||||||||||||||||||||||||||||||||||||||||||||||||||||||||||||||||||||||||||||||||||||||||||||||||||||||||||||||||||||||||||||||||||||||||||||||||||||||||||||||||||||||||||||||||||||||||||||||||||||||||||||||||||||||||||||||||||||||||||||||||||||||||||||||||||||||||||||||||||||||||||||||||||||||||||||||||||||||||||||||||||||||||||||||||||||||||||||||||||||||||||||||||||||||||||||||||||||||||||||||||||||||||||||||||||||||||||||||||||||||||||||||||||||||||||||||||||||||||||||||||||||||||||||||||||||||||
|
Основные размеры мм |
Объем бетона м3 |
Масса блока, кг |
||||||
|
250 |
300 |
350 |
400 |
500 |
500с отделкой |
|||
|
СБР1 |
597 |
0,053 |
16,4 |
19,6 |
- |
26,75 |
33,1 |
- |
|
СБР2 |
1197 |
0,1067 |
33,1 |
39,5 |
47,2 |
53,9 |
- |
- |
|
СБР3 |
597 |
0,0523 |
16,2 |
19,3 |
- |
26,4 |
- |
- |
|
СБР4 |
1197 |
0,1067 |
33,1 |
39,5 |
- |
53,9 |
- |
- |
|
СБР5 |
517 |
0,046 |
14,2 |
17,0 |
- |
- |
29,0 |
32,2 |
|
СБПр1 |
597 |
0,0495 |
- |
- |
- |
25,0 |
31,3 |
- |
|
СБПр2 |
1197 |
0,1063 |
- |
- |
- |
53,7 |
- |
- |
|
СБПр3 |
517 |
0,043 |
- |
- |
- |
- |
27,1 |
30,2 |
|
СБУ1 |
517 |
0,039 |
- |
- |
- |
- |
24,6 |
28,4 |
|
СБУ2 |
597 |
0,044 |
- |
- |
- |
- |
27,6 |
30,7 |
|
СБП1 |
2397 |
0,107 |
- |
- |
- |
54,1 |
67,6 |
- |
|
СБП2 |
2397 |
0,107 |
- |
- |
- |
- |
- |
74,4 |
ПРИМЕЧАНИЯ: 1. Масса блока дана с учетом отпускной влажности по объему для бетона 500 - 12 %, 400 - 10 %, 350 - 8 %, 300 -7 %, 250 - 6 %.
2. Блоки СБР5, СБУ1, СБУ2, СБПр3 и СБП2 изготавливают с отделкой под кирпич.
3. Допускается, по согласованию с потребителем, выпуск блоков других типоразмеров, в т.ч. без фасок по контуру блока.
4. Применение блоков СБП1 и СБП2 - согласовать с разработчиком.
ИЗМЕНЕНИЕ № 1
2. ТЕХНИЧЕСКИЕ ТРЕБОВАНИЯ
2.2. Стальные формы для изготовления блоков должны удовлетворять требованиям ГОСТ 25781-83.
2.3. Требования к полистиролбетону.
цемент - ГОСТ 10178-85;
заполнитель полистирольный - ТУ 5712-161-00284807-96;
вода - ГОСТ 23732-79;
добавка для бетона - ГОСТ 24211-90.
2.3.2. Класс (марку) полистиролбетона по прочности на сжатие в зависимости от назначения блоков принимают: В0.35(М5), В0.5(М7.5), В0.75(М10), В1(М15), В1.5(М20) и В2,0(М25) - изм. №1.
Значение нормируемой отпускной прочности следует принимать равным 90 % от класса (марки) полистиролбетона по прочности на сжатие.
2.3.3. Марку полистиролбетона по средней плотности принимают 300, 350, 400, 500. Допускается по согласованию с заказчиком изготовление блоков из полистиролбетона марок по средней плотности 250 и 550. (изм. № 1). Фактическая средняя плотность полистиролбетона не должна превышать номинальное значение более чем на 10 %.
2.3.4. Предел прочности на растяжение при изгибе должен быть не менее, МПа: 0,25 для класса В0.35(М5), 0,35 - для В0.5(М7.5); 0,5 - для В0.75(М10), 0,6 - для В1(М15); 0,65 - для В1.5(М20); 0,7 - для В2(М25). (изм. № 1).
2.3.5. Отпускная влажность полистиролбетона в процентах по объему не должна превышать:
12 - для бетона 500; 8 - для бетона 350; 6 - для бетона 250
10 - для бетона 400; 7 - для бетона 300;
2.3.6. Марка полистиролбетона по морозостойкости должна быть не ниже Р25.
2.3.7. Коэффициент теплопроводности в сухом состоянии должен быть не более, Вт/(м.°С): 0,08 - для полистиролбетона марки 250, 0,09 - для 300, 0,1 - для 350, 0,11 - для 400; 0,12 - для 450; 0,13 - для 500; 0,15 - для 550 (изм. № 1).
2.3.8. Требования безопасности и охраны окружающей среды.
2.3.8.1. Требования безопасности и охраны окружающей среды к материалам, применяемым для приготовления полистиролбетона, по действующим стандартам и техническим условиям на эти материалы согласно п. 2.3.1 настоящих технических условий.
2.3.8.2. Требования безопасности изготовления и применения полистиролбетонных блоков - по настоящим техническим условиям и технологическим инструкциям ТИ.0-3-00284807-95, предусматривающим комплекс мероприятий по обеспечению экологической безопасности применения полистиролбетонных изделий и конструкций из них в жилищном строительстве.
Приложение к Извещению об изменении № 1 к ТУ 5741-159-00084807-96 Лист 5.
2.3.8.3. Блоки полистиролбетонные, изготовленные в соответствии с требованиями пп. 2.1 и 2.3.1 настоящих технических условий, - экологически безопасны. Выделение вредных примесей не превышает ПДК, утвержденных Госкомсанэпиднадзором РФ.
п. 2.3.8.4. Исключен (Изменением № 1).
2.4. Требования к точности геометрических параметров блоков.
2.4.1. Требования к точности геометрических параметров блоков обеспечиваются точностью изготовления металлических форм (бортоснастки) или калибровкой.
2.4.2. Значения действительных отклонений геометрических параметров блоков от номинальных, приведенных в рабочих чертежах, не должны превышать предельных, указанных в таблице 2.
Таблица 2 В миллиметрах
|
Геометрический параметр |
Предельное отклонение |
|
|
Отклонение от линейного размера |
Длина |
±2,0 |
|
Высота |
±1,5(изм. №1) |
|
|
Ширина (толщина) |
±3,0 |
|
|
Отклонения от прямолинейности |
Прямолинейность профиля калиброванных поверхностей: |
|
|
на участке длиной 1000 |
1,0 |
|
|
на всей длине блока |
2,0 |
|
|
некалиброванных поверхностей, предназначенных для склеивания: |
(изм. №1) |
|
|
на участке длиной 1000 |
2,0 |
|
|
на всей длине блока: |
|
|
|
до 1500 |
3,0 |
|
|
свыше 1500 |
4,0 |
|
|
предназначенных под отделку: |
|
|
|
на участке длиной 1000 |
5,0 |
|
|
на всей длине блока: |
|
|
|
до 1500 |
7,0 |
|
|
свыше 1500 |
8,0 |
|
|
Отклонение от перпендикулярности |
Перпендикулярность граней смежных плоскостей на участке длиной 300 |
(изм. №1) 1,0 |
2.5. Требования к качеству поверхности и внешнему виду блоков. Приложение к Извещению № 1 об изменении ТУ 5741-159-00284807-96.
2.5.1. Размеры раковин и местных выемок на поверхностях блоков не должны превышать указанных в таблице 3.
Таблица 3 В миллиметрах
|
Местные выемки |
|||
|
диаметр |
глубина |
наибольший размер на поверхности |
глубина |
|
30 |
7 |
40 |
5 |
2.5.2. Глубина повреждений ребер не должна быть более 5 мм (изм. №1), их длина на 1 м ребра не более 50 мм.
2.5.3. Глубина повреждения углов блоков не должна быть более 15 мм. (изм. № 1).
2.5.4. В бетоне блоков не должно быть трещин, за исключением местных поверхностных усадочных и других технологических трещин шириной не более 0,1 мм.
2.5.5. Блоки могут изготовляться без декоративного отделочного слоя и с отделочным слоем, имитирующим кирпичную кладку, мраморную или гранитную облицовки.
2.5.6. Толщина защитного отделочного слоя должна быть 10 ± 1 мм.
2.5.7. Прочность отделочного слоя должна быть не менее 5,0 и не более 10,0 МПа; марка по морозостойкости - не менее Г 35.
2.5.8. На поверхности блоков жировые пятна не допускаются.
2.6. Требования к массе блоков.
2.6.1. Фактическая масса блоков при отпуске их потребителю не должна превышать номинальную массу, указанную в таблице 1 более чем на 10 %.
2.7. Маркировка.
2.7.1. Маркировку блоков следует производить по ГОСТ 13015.2-81.
2.7.2. Маркировку следует наносить на боковой поверхности несмываемой краской.
2.7.3. На сертифицированные блоки наносят знак соответствия по ГОСТ Р 50460-92.
2.8. Комплектность.
2.8.1. В случаях, предусмотренных в рабочих чертежах и/или заказе, блоки поставляются комплектно.
Изменение № 1
2.9. Требования к пожарно-техническим характеристикам продукции.
2.9.1. В соответствии со СНиП 21-01-97 пожарная опасность блоков из полистиролбетона стеновых сплошных определяется следующими пожарно-техническими характеристиками: горючестью, воспламеняемостью, дымообразующей способностью.
2.9.2. Пожарно-технические характеристики блоков из полистиролбетона стеновых сплошных по ТУ 5741-159-00284807-96 (марки по плотности 400, 500, 550) должны соответствовать следующим:
- группа горючести по ГОСТ 30244 Г1
- группа по воспламеняемости по ГОСТ 30402 В1
- группа дымообразующей способности по Д1
ГОСТ 12.1.044 (п. 2.14.2 и п. 4.18)
2.9.3. Пожарно-технические характеристики должны соответствовать протоколу сертифицированных испытаний № 32/2-96 от 31 июля 1996 г.
2.9.4. Пожарно-технические характеристики определяют: каждые три года, и/или при постановке продукции на производство, и/или при изменениях в составе продукции или технологии изготовления.
2.9.5. При сертификации продукции периодичность испытаний определяется требованиями Системы сертификации ГОСТ Р в строительстве и/или Системы сертификации в области пожарной безопасности.
3. ПРАВИЛА ПРИЕМКИ
3.1. Приемку блоков следует производить партиями в соответствии с требованиями ГОСТ 13015.1-81 и настоящих Технических условий.
В состав партии включают блоки, изготовленные из материалов одного вида и качества по одной технологии в течение суток.
3.2. Приемку блоков по показателям точности геометрических параметров и качества бетонных поверхностей следует производить по результатам выборочного одноступенчатого контроля. Для этой цели из группы блоков одного типа и (или) вида отбирают 5 % блоков, но не менее пяти штук.
3.3. Приемку блоков по прочности полистиролбетона при сжатии производят для каждой партии изделий по результатам испытаний не менее кубов 10 ´ 10 ´ 10 см.
3.4. Приемку блоков по средней плотности полистиролбетона и отпускной влажности изделий производят для каждой партии блоков путем изготовления, и испытаний контрольных образцов 10 ´ 10 ´ 10 см.
3.5. Приемку блоков по прочности полистиролбетона на растяжение при изгибе, показателям морозостойкости и теплопроводности следует производить по результатам периодических испытаний, которые проводят вначале массового изготовления, при каждом изменении технологии или применяемых материалов.
3.7. До начала приемки необходимо отбраковывать блоки с явным отступлением от требований настоящих технических условий, выявленным путем внешнего осмотра всех блоков.
3.8. Блоки выборки, в которых значение хотя бы одного из действительных геометрических параметров отличается от номинального на величину, превышающую предельные значения отклонений, установленных настоящими техническими условиями (таблица 2), подлежат отбраковке. Браковочное число блоков из выборки по ГОСТ 13015.1-81 - не более одного. При этом если отклонения от геометрических размеров отбракованного блока отличаются от указанных в таблице 2 более чем в полтора раза, партия не принимается. В этом случае применяется сплошной контроль блоков.
3.9. Каждую партию блоков следует сопровождать документом о качестве по ГОСТ 13015.3-81 и сертификатом соответствия для сертифицированных блоков. Документ о качестве может содержать указания по применению.
4. МЕТОДЫ КОНТРОЛЯ
4.1. Размеры, отклонение от прямолинейности и перпендикулярности, ширину раскрытия трещин, размеры раковин и наплывов проверяют методами, установленными ГОСТ 26433.0-85 и ГОСТ 26433.1-89.
4.2. Контроль глубины повреждения ребер и углов проводят по методике ГОСТ 21520-89.
4.3. Прочность бетона на сжатие и растяжение при изгибе определяют по ГОСТ 10180-90.
4.4. Определение средней плотности полистиролбетона и отпускной влажности изделий производят по ГОСТ 12730.1-78 и ГОСТ 12730.2-78 на образцах, предназначенных для определения прочности бетона по п. 4. Сушку бетона производят при температуре не выше 80 °С.
4.5. Морозостойкость полистиролбетона определяют по ГОСТ 10060.0-95 и ГОСТ 10060.1-95.
Для полистиролбетона с маркой по средней плотности 350 и менее морозостойкость следует определять по ГОСТ 25485-89.
4.6. Теплопроводность полистиролбетона определяют по ГОСТ 7076-80.
4.7. Группу горючести полистиролбетона блоков определяют по ГОСТ 30244-94, группу воспламеняемости - по ГОСТ 30402-96 (изм. № 1), дымообразующую способность - по ГОСТ 12.1.044-89.
5. ТРАНСПОРТИРОВАНИЕ И ХРАНЕНИЕ
5.1. Транспортировать и хранить блоки следует в соответствии с требованиями ГОСТ 13015.4-84 и настоящих Технических условий.
5.2. Хранение блоков должно производиться в штабелях. Число рядов в штабеле не более шести. Штабели должны быть защищены от атмосферных осадков.
5.3. Запрещается производить погрузку блоков навалом и разгрузку их сбрасыванием.
5.4. Погрузку, разгрузку и транспортирование блоков можно осуществлять как поштучно, так и целиком штабелями. При этом должны быть приняты меры, исключающие механические повреждения изделий или их падение. Рекомендуется при транспортировании применять инвентарные контейнеры.
5.5. При перевозке блоки следует укладывать правильными рядами продольной осью в направлении движения транспортных средств.
5.6. Блоки следует хранить на складе рассортированными по маркам и укладывать при хранении так, чтобы были видны маркировочные надписи.
6. УКАЗАНИЯ ПО ПРИМЕНЕНИЮ
6.1. При монтаже наружных стен блоки укладывают вручную без кранового оборудования со склеиванием по технологическому регламенту, утвержденному изготовителем.
6.2. Для склеивания блоков применяют композиции клеевые минеральные по ТУ 2513-128-00284807-94 и ТУ 2513-165-00284867-96.
6.4. Допускается обработка - резка блоков на строительной площадке.
1. Расчетные сопротивления блоков и кладки
1.1. Расчетные сопротивления блоков
Таблица 1
|
Вид сопротивления |
Нормативные сопротивления полистиролбетона Rвn, Rвtn, Rвtfn, и расчетные сопротивления для предельных состояний второй группы Rвser, Rвtser и Rвtfser при классе бетона по прочности на сжатие, МПа |
|||
|
|
В 0,5 |
В 0,75 |
В 1,0 |
В 1,5 |
|
Сжатие осевое (призменная прочность) Rвn и Rвser |
0,5 |
0,75 |
1,0 |
1,5 |
|
Растяжение осевое Rвtn и Rвtser |
0,15 |
0,21 |
0,26 |
0,3 |
|
Растяжение при изгибе Rвtfn и Rвtfser |
0,27 |
0,38 |
0,47 |
0,55 |
Таблица 2
|
Вид сопротивления |
Расчетные сопротивления полистиролбетона для предельных состояний первой группы Rв, Rвt, Rвtf при классе бетона по прочности на сжатие, МПа |
|||
|
|
В 0,5 |
В 0,75 |
В 1,0 |
В 1,5 |
|
Сжатие осевое (призменная прочность) Rв |
0,35 |
0,55 |
0,75 |
1,05 |
|
Растяжение осевое Rвt |
0,09 |
0,12 |
0,15 |
0,18 |
|
Растяжение при изгибе Rвtf |
0,16 |
0,22 |
0,28 |
0,32 |
1.2. Расчетные сопротивления кладки.
Таблица 3
|
Расчетные сопротивления R, МПа, сжатию кладки из полистиролбетонных блоков на клеевых составах |
|
|
7,5 (В 0,5) |
0,24 |
|
10 (В 0,75) |
0,39 |
|
15 (В 1,0) |
0,52 |
|
20 (В 1,5) |
0,65 |
Таблица 4
|
Вид напряженного состояния |
Обозначение |
Расчетные сопротивления R, МПа, кладки из полистиролбетонных блоков на клеевых составах осевому растяжению, растяжению при изгибе и срезу при расчете сечений кладки, проходящих по горизонтальным и вертикальным швам при марке блока (класс полистиролбетона по прочности) |
|||
|
|
|
7,5 (В 0,5) |
10 (В 0,75) |
15 (В 1,0) |
20 (B 1,5) |
|
А. Осевое растяжение |
Rt |
|
|
|
|
|
1. По неперевязанному сечению |
|
0,08 |
0,10 |
0,13 |
0,16 |
|
2. По перевязанному сечению |
|
0,085 |
0,11 |
0,14 |
0,17 |
|
Б. Растяжение при изгибе |
Rtв |
|
|
|
|
|
3. По неперевязанному сечению |
|
0,14 |
0,19 |
0,24 |
0,28 |
|
4. По перевязанному сечению |
|
0,15 |
0,21 |
0,26 |
0,30 |
|
В. Срез |
Rsq |
|
|
|
|
|
5. По неперевязанному сечению |
|
0,16 |
0,20 |
0,26 |
0,32 |
Таблица 5
|
Вид напряженного состояния |
Обозначение |
Расчетные сопротивления R, МПа, кладки из полистиролбетонных блоков на клеевых составах осевому растяжению, растяжению при изгибе и срезу при расчете сечений кладки по перевязанному сечению, проходящему по полистиролбетонным блокам при марке блока (классе полистиролбетона по прочности) |
|||
|
|
|
7,5 (В 0,5) |
10 (В 0,75) |
15 (В1,0) |
20 (В1,5) |
|
1. Осевое растяжение |
Rt |
0,085 |
0,115 |
0,145 |
0,175 |
|
2. Растяжение при изгибе |
Rtв |
0,155 |
0,215 |
0,27 |
0,31 |
|
3. Срез |
Rsq |
0,17 |
0,23 |
0,29 |
0,35 |
Расчетное сопротивление кладки смятие Rс определяется согласно п. 4.14 СНиП 11-22-81.
При этом коэффициент ζ1 принимается по табл. 21, поз. 3.
2. Начальный модуль упругости блоков и кладки и упругая характеристика кладки.
2.1. Модуль упругости блоков
Таблица 6
|
Марка полистиролбетона по средней плотности |
Начальный модуль упругости полистиролбетона при сжатии и растяжении Ев’10, МПа, при классе (марке) бетона по прочности на сжатие |
|||
|
В 0,5 (7,5) |
В 0,75 (10) |
В 1,0 (15) |
В 1,5 (20) |
|
|
D 250 |
0,45 |
|
|
|
|
D 300 |
0,50 |
0,6 |
|
|
|
D 350 |
0,65 |
0,7 |
1,1 |
|
|
D 400 |
|
0,8 |
1,2 |
1,3 |
|
D 450 |
|
|
1,3 |
1,4 |
|
D 500 |
|
|
|
1,45 |
2.2. Модуль упругости кладки, упругая характеристика кладки.
Модуль упругости определяется по формуле (1) п. 3.20 СНиП 11-22-81. Упругая характеристика равна: для кладки из полистиролбетонных блоков марки 7,5 и 10 - α = 750; марки 15 и 20 - α = 1000.
Коэффициент К в формуле (3) принимается равным 2,25.
3. Коэффициент ползучести
При определении деформаций по формуле (9) СНиП 11-22-81 коэффициент ползучести принимается равным V = 3,5.
4. Коэффициент линейного расширения
Коэффициент линейного расширения кладки dt равен 0,000008 град-1.
5. Коэффициент трения кладки по кладке и бетону
Коэффициент трения кладки по кладке или бетону равен: при сухом состоянии поверхности u = 0,7, при влажном состоянии поверхности u = 0,6.
6. Нормативные и расчетные средние плотности блоков и кладки
Таблица 7
|
Марка полистиролбетона по средней плотности |
|
|
В 0,5 |
D 250, D 300, D 350 |
|
В 0,75 |
D 300, D 350, D 400 |
|
В 1,0 |
D 350, D 400, D 450 |
|
В 1,5 |
D 400, D 450, D 500 |
Фактическая средняя плотность полистиролбетона не должна превышать номинальные значения более чем на 10 %.
Плотность клея - 1370 кг/м3.
Плотность кладки равна сумме плотности полистиролбетона и 30 кг/м3 клея.
Коэффициент надежности по нагрузке γf = 1,2
7. Марка блоков по морозостойкости
Таблица 8
|
Класс по прочности на сжатие |
Марка по морозостойкости |
|
В 0,5 |
F 35 - F 50 |
|
В 0,75 |
F 35 - F 50 |
|
В 1,0 |
F 35 - F 50 |
|
В 1,5 |
F 35 - F 50 |
8. Отпускная влажность блоков
Отпускная влажность полистиролбетона в процентах по объему не должна превышать:
12 - для бетонов D - 500;
10 - для бетонов D - 400;
8 - для блоков D - 350;
7 - для блоков D - 300;
6 - для блоков D - 250.
9. Значение нормируемой отпускной прочности и усадки
Значение нормируемой отпускной прочности составляет 90 % от массы (марки) полистиролбетона по прочности на сжатие.
Класс бетона по прочности на сжатие и марке по средней плотности указывается в марке блока и принимается в зависимости от назначения блоков.
Деформации усадки полистиролбетонных блоков не превышают 0,6 мм/м. При этом 90 % от полной усадки имеет место к 7 суткам твердения при положительной температуре после тепловой обработки (пропаривание или электропрогрев). Полная усадка происходит через 60 - 90 суток.
10. Коэффициент теплопроводности в отпускном и сухом состоянии
Таблица 9
|
Марка блоков по средней плотности |
Коэффициент теплопроводности в сухом состоянии λ0, Вт/(м°С) |
Расчетные коэффициенты теплопроводности λ при условиях эксплуатации, Вт/(м°С) |
|
|
А |
Б |
||
|
150 |
0,055 |
0,057 |
0,060 |
|
200 |
0,065 |
0,070 |
0,080 |
|
250 |
0,075 |
0,085 |
0,095 |
|
300 |
0,085 |
0,090 |
0,110 |
|
350 |
0,095 |
0,110 |
0,125 |
|
400 |
0,105 |
0,120 |
0,135 |
|
450 |
0,115 |
0,130 |
0,145 |
|
500 |
0,125 |
0,140 |
0,160 |
Коэффициент теплопроводности блоков в отпускном состоянии допускается принимать как для условий эксплуатации Б.
При определении термического сопротивления кладки влияние клеевых швов учитывается путем умножения термического сопротивления блоков Rk на коэффициент rкл = 0,98.
11. Водопоглощение и паропроницаемость блоков и кладки
Таблица 10
|
Марка блоков по средней плотности |
Расчетное массовое отношение влаги в материале W, %, при условиях эксплуатации |
Расчетный коэффициент паропроницаемости, мг/(м . ч . Па) |
|
|
А |
Б |
||
|
150 |
4 |
9 |
0,125 |
|
200 |
4 |
9 |
0,11 |
|
250 |
4 |
9 |
0,10 |
|
300 |
4 |
9 |
0,095 |
|
350 |
4 |
9 |
0,085 |
|
400 |
4 |
9 |
0,08 |
|
450 |
4 |
9 |
0,075 |
|
500 |
4 |
9 |
0,07 |
12. Коэффициент условий работы кладки для простенков начиная от длины 600 мм
В табл. 3 расчетные сопротивления сжатия кладки определены с учетом понижающего коэффициента λс = 0,8 как для крупнопористых и ячеистых бетонов.
Уменьшить приведенные в табл. 3 значения для простенков площадью сечения более 0,3 м2 путем умножения на коэффициент λс не следует.
13. Коэффициент вариации блоков по прочности и по плотности
По данным выпуска промышленных партий блоков коэффициент вариации по прочности составляет 16 - 20 %.
Соотношение между классами и марками (табл. 3) получены при нормативном коэффициенте вариации 18 %.
Фактическая средняя плотность полистиролбетона не должна превышать номинальных значений (табл. 7) более чем на 10 %. Коэффициент вариации по плотности 5 - 10 %.
14. Адгезия блоков к клеям, растворам, штукатурке
14.1. Адгезия блоков к клеям.
Начальная прочность сцепления (конфекционная липкость) клея КМК с полистиролбетоном - 0,004...0,008 МПа, через 30...60 мин после склеивания блоков - 0,04...0,06 МПа, через 4...6 часов после склеивания 0,24...0,3 МПа и через 24 часа склеивания равнопрочное соединение с ПСБ.
Разрыв происходит по полистиролбетону D 250...D 500.
14.2. Адгезия блоков к штукатурке. Испытание на морозостойкость оштукатуренных образцов показали, что они выдержали 35 циклов переменного замораживания и оттаивания без нарушения отделки и ее сцепления с полистиролбетоном.
Исследованиями по адгезии цементно-известково-песчаной штукатурки к поверхности полистиролбетонных блоков установлено, что при условии предварительной огрунтовки поверхности полимерцементным составом уже через 14 суток естественного твердения обеспечивается необходимая адгезия штукатурки к полистиролбетону (отрыв происходит по телу блока).
Использование металлической сетки, укрепляемой на гвоздях, практически не влияет на эти результаты, однако необходимо для исключения осыпания штукатурки при огневых воздействиях.
15. Данные по клеям (растворам), включая прочностные связывающие характеристики и условия применения, в т.ч. температурные и временные
Клей КМК; возраст 28 суток.
15.1. Rсж = 17...20 МПа, Rиз = 3...4 МПа; Rt = 2,8...3,1 МПа, модуль упругости 0,7...0,9 МПа . 10-4, усадка клеевого шва ПСБ - не более 0,5 мм/м. Полная усадка происходит через 10 - 14 суток твердения при положительной температуре.
15.2. Теплопроводность клея λ, Вт/(м°С): при влажности 11...13 % - 0,5...0,53; в сухом состоянии - 0,33...0,38.
15.3. Морозостойкость клеевого шва ПСБ при объемном замораживании по 2 методу ГОСТ 10060.2-95 и при одностороннем замораживании по ГОСТ 7025-91 - не менее 75 циклов.
15.4. Атмосферостойкость клеевого шва ПСБ при переменном насыщении склеенных образцов в воде и последующей сушке при 60 °С в течение 8 ч - не менее 100 циклов. Коэффициент атомосферостойкости - 1...1,3.
15.5. Температура твердения клея КМК - выше + 3 °С, клея КМК-Х не ниже -20 °С.
Кинетика твердения клея КМК-Х при -20 °С (Rt клеевого шва ПСБ):
1 сут. - 0,17 МПа; 2 сут. - 0,2 МПа; 14 сут. - 0,26 МПа (разрыв по ПСБ); 180 сут. - 0,27 МПа (разрыв по ПСБ).
16. Коэффициент Пуассона полистиролбетона
Коэффициент Пуассона V = 0,25.
17. Противопожарные требования органов государственной противопожарной службы
Испытания по пожарной безопасности проведены в ВНИИПО МВД РФ. Стеновые панели 2,1 ´ 2,1 м и толщиной 0,3 м из полистиролбетона плотностью 300 - 350 кг/м3 с оштукатуренной поверхностью δ = 20 мм были испытаны на определение предела распространения огня. На основании исследований установлено, что стены соответствуют III степени огнестойкости по СНиП 2.01.02-85*.
Полистиролбетон отнесен к группе трудногорючих материалов с малой дымообразующей способностью.
По результатам натурных огневых испытаний фрагментов зданий с дополнительной теплоизоляцией, экспертный совет УГПC считает возможным применение полистиролбетонных блоков в качестве ненесущих стен жилых домов без ограничения этажности при следующих условиях: блоки оштукатуриваются цементно-песчаным раствором толщиной не менее 20 мм по анкерованной металлической сетке, а на откосах оконных и дверных проемов толщиной не менее 50 мм (письмо ГУПС МВД РФ от 23.07.98 г. № 25/18/4131- передано МНИИТЭП 30.12.98 г.).
18. Данные о скорости коррозии арматуры, расположенной в кладке
Полистиролбетон с плотностью 250 - 500 кг/м3 надежно защищает арматуру от коррозии. После 6 мес. хранения в комнатных и атмосферных условиях и 180 циклов попеременного увлажнения и высушивания на стержнях из арматурной стали признаков коррозии не наблюдалось.
19. Комментарии
19.1. В СНиП 11-22-81 в качестве показателя прочности используется марка. Минимальная марка полистиролбетонных блоков с плотностью 250 кг/м3 и выше - 7,5 кг/см2. Такая марка для легких бетонных блоков допускается п. 2.1а СНиП 11-22-81, данные для расчета стен с применением таких блоков приведены в табл. 7 и 26. По табл. 26 кладки из камней марок 7...15 отнесены к 3 и 4 группам. В соответствии с этими группами устанавливаются расстояния между поперечными жесткими конструкциями здания (табл. 27).
Требование о применении в качестве утеплителей бетонов с пределом прочности не ниже 7 кг/см2 связано с проектированием многослойных стен (п. 6.306). При утеплителях из таких бетонов связи между конструктивными слоями считаются жесткими. При меньшей прочности бетона утеплителя связи рассматриваются как гибкие и экономически целесообразно использовать более эффективные утеплители.
19.2. Одному и тому же классу по прочности на сжатие в зависимости от состава бетона могут соответствовать несколько марок полистиролбетона по средней плотности (табл. 7). Например, Полистиролбетон плотностью D 350 может иметь прочность класса В 0,75 для одного состава бетона и прочность В 1,0 для несколько измененного другого состава. В проекте должны указываться оба требуемых показателя: класс по прочности и марка по плотности. При маркировке блоков предусмотрено указывать и то и другое.
ТРЕБОВАНИЯ ПО ВЕТРОВОЙ НАГРУЗКЕ
Прочность
на сжатие и минимальная плотность для обеспечения несущей способности простенка
(наружная штукатурка по сетке) для восприятия ветровой нагрузки
(г. Москва: район 1, тип местности В)
Стадия эксплуатации, высота этажа - 3 м, ширина окна - 2,1 м.
Размеры простенка: b (ширина), δ (толщина стены).
Сечение стены - по кладке из блоков.
|
Высота здания |
δ = 30 см |
δ = 40 см |
||||
|
b = 60 см |
b = 90 см |
b = 120 см |
b = 60 см |
b = 90 см |
b = 120 см |
|
|
12 эт. |
В 0,5 |
В 0,5 |
В 0,5 |
В 0,5 |
В 0,5 |
В 0,5 |
|
D 250 |
D 250 |
D 250 |
D 250 |
D 250 |
D 250 |
|
|
17 эт. |
В 1,0 |
В 0,75 |
В 0,75 |
В 0,5 |
В 0,5 |
В 0,5 |
|
D 350 |
D 300 |
D 300 |
D 250 |
D 250 |
D 250 |
|
|
25 эт. |
В 1,5 |
В 1,0 |
В 0,75 |
В 0,75 |
В 0,5 |
В 0,5 |
|
D 400 |
D 350 |
D 300 |
D 300 |
D 250 |
D 250 |
|
Примечания: 1. Ветровая нагрузка определена по СНиП 2.01.07-85.
2. Несущая способность кладки из блоков определена по СНиП 11-22-81.
3. Жирным шрифтом показаны варианты для бетона плотностью 250 кг/м2.


ПРИЛОЖЕНИЕ III. СБП - 10 АРМАТУРА. КАРКАС К -1

ПРИЛОЖЕНИЕ III. СБП-10 СПЕЦИФИКАЦИЯ АРМАТУРЫ
|
марка |
ЭСКИЗ |
поз. |
сечен. |
длина мм |
к-во поз. |
ВЕС КГ |
||
|
поз. |
всех поз. |
марки |
||||||
|
К-1 |
2380
|
1 |
Ø8AI |
2380 |
2 |
0,94 |
1,88 |
6,07 |
|
2000
|
2 |
Ø8AI |
2000 |
2 |
0,80 |
1,60 |
||
|
|
3 |
Ø6AI |
3130 |
2 |
0,70 |
1,40 |
||
|
140
|
4 |
-40 ´ 3 |
140 |
9 |
0,13 |
1,19 |
||
ПРИЛОЖЕНИЕ III. РАСЧЕТ ПЕРЕМЫЧКИ СБП 10
РАСЧЕТНАЯ СХЕМА I ФЕРМЫ

Перемычка рассчитывается в предположении работы только арматурного каркаса (работа полистиролбетона на изгиб не учитывается)
![]()
![]()
MG = FА . RA . h = 0,503 . 2100 . 24,5 = 25880 кгсм = Мl/2;
![]()
![]()
Несущая способность подкоса
NAC = Fa . Ra . φ = 0,283 . 2100 . 0,8 = 475 кг ≈ NAC
Собственный вес перемычки:
qс.в. = 0,295 . 0,18 . 350 = 18,6 кг/м;
Несущая способность перемычки:
qн = q . 2 - qс.в. = 2 . 270 - 20 = 520 кг/м;
При весе одного ряда блоков:
qб = 0,3 . 0,375 . 350
= 37 кг/м, перемычка (одна) может нести кладку высотой
рядов или h = 4,2 (без учета веса
штукатурки).
ПРИМЕЧАНИЕ:
1. Несущая способность перемычки уточняется по результатам испытаний.
По СНиП II-3-79* "Строительная теплотехника" (изд. 1998 г.) приведенное сопротивление теплопередаче R0пр наружной стены должно быть не ниже требуемого сопротивления теплопередаче R0тр.
Для жилых зданий строящихся в Москве по СНиП II-3-79* и МГСН 2.01-99 R0тр установлена не менее 3,15 м2 °С/Вт (II этап).
В нормалях рассматриваются семь различных решений наружной стены толщиной от 340 до 680 мм. При этом толщина теплоизоляционно-конструктивного материала (полистиролбетона) в стенах колеблется от 300 до 375 мм. В качестве наружного отделочного слоя рассматривается керамический пустотный кирпич либо штукатурка.
Условные сопротивления теплопередаче R0усл стены, т.е. без учета влияния теплопроводных включений и стыковых соединений с другими конструкциями, рассматриваемых в нормалях решений стены приведены в табл. 1
Наибольшую величину R0усл имеет 7-ой вариант конструкционного решения стены. Для этого варианта проведены теплотехнические расчеты фрагмента стены (см. нормаль 4Н-4) в строительных осях 2700 ´ 3000 мм.
Таблица 1
|
Нормаль № |
Конструкция стены и толщина ее слоев, мм |
Толщина стены, |
Коэф-т теплопроводности полистиролбетона Вт/м°С |
R0усл |
|
|
1 |
2 |
3 |
4 |
5 |
6 |
|
1 |
4Н-15 |
штукатурка - 20 |
340 |
0,110 |
2,93 |
|
полистиролбетон - 300 |
|
0,125 |
2,60 |
||
|
штукатурка - 20 |
|
0,135 |
2,42 |
||
|
2 |
4Н-8 |
штукатурка - 30 |
435 |
0,110 |
3,63 |
|
полистиролбетон - 375 |
|
0,125 |
3,22 |
||
|
штукатурка - 30 |
|
0,135 |
3,00 |
||
|
3 |
4Н-6 |
кирпич - 125 |
445 |
0,110 |
3,12 |
|
полистиролбетон - 300 |
|
0,125 |
2,80 |
||
|
штукатурка - 20 |
|
0,135 |
2,62 |
||
|
4 |
4Н-1, 4Н-2 |
кирпич - 125 |
520 |
0,110 |
3,80 |
|
полистиролбетон - 375 |
|
0,125 |
3,40 |
||
|
штукатурка - 20 |
|
0,135 |
3,17 |
||
|
5 |
4Н-13 |
штукатурка - 20 |
575 |
0,110 |
3,68 |
|
полистиролбетон - 375 монол. |
|
0,125 |
3,27 |
||
|
железобетон -180 |
|
0,135 |
3,04 |
||
|
6 |
4Н-5 |
кирпич - 125 |
605 |
0,110 |
3,19 |
|
|
полистиролбетон - 300 монол. |
|
0,125 |
2,86 |
|
|
|
железобетон - 180 |
|
0,135 |
2,68 |
|
|
7 |
4Н-4, 4Н-5 |
кирпич- 125 |
680 |
0,110 |
3,87 |
|
|
полистиролбетон - 375 монол. |
|
0,125 |
3,46 |
|
|
|
железобетон- 180 |
|
0,135 |
3,24 |
Расчетные коэффициенты теплопроводности материалов, формирующих стену и конструкции примыкающие к ней, приняты по СНиП II-3-79* и сведены в табл. 2.
Фрагмент разбивается на
характерные расчетные участки, рис. 1. Для каждого из них на ЭВМ рассчитываются
тепловые потоки. Зная тепловой поток и расчетный перепад температур воздуха
находится приведенное сопротивление теплопередаче характерного участка
. Результаты определений
сведены в табл. 3.
Приведенное сопротивление
теплопередаче фрагмента стены
данной конструкции
зависит от коэффициента теплопроводности полистиролбетона:
- при λ = 0,125 Вт/м°С
= 2,68 м2 °С/Вт;
- при λ = 0,110 Вт/м°С
= 2,93 м2 °C/Bт.
Коэффициент теплотехнической однородности "i" фрагмента стены в первом случае равен 0,77, а во втором - 0,76.
Чтобы увеличить приведенное сопротивление теплопередаче до необходимой величины (3,15 м2°С/Вт) рекомендуется:
- сделать внутренний штукатурный слой толщиной не менее 20 мм из цементно-перлитового раствора плотностью 400 кг/м3 в сухом состоянии;
- увеличить с 50 до 100 мм в перекрытии толщину теплоизоляционных вкладышей (ПСБ марки "35").
Результаты определений
фрагмента с
вышеприведенными рекомендациями и при λ = 0,11 Вт/м °С даны в табл. 3.
Таблица 3
|
Наименование материала |
Плотность, кг/м3 |
Коэффициент теплопроводности |
|
|
1. |
Железобетон |
2500 |
2,4 |
|
2. |
Цементно-песчаный раствор |
1800 |
0,93 |
|
3. |
Кирпичная кладка из керамического пустотного кирпича γ = 1300 кг/м3 |
1400 |
0,58 |
|
4. |
Полистиролбетон* |
350 |
0,125 |
|
300 |
0,11 |
||
|
5. |
Пенополистирол |
35 |
0,05 |
|
6. |
Пенополиуретан |
100 |
0,06 |
|
7. |
Древесина хвойная |
500 |
0,18 |
|
8. |
Цементно-перлитовый раствор |
400 |
0,12 |
* - коэффициенты теплопроводности полистиролбетона приняты по данным ВНИИжелезобетона.
Рис 1. Схема разбивки на расчетные участки фрагмента стены
Таблица 4
|
№ пп |
Расчетный участок |
Коэффициент теплопроводности полистиролбетона, Вт/м °С |
Коэффициент теплопроводности полистиролбетона, 0,110 Вт/м °С |
|||||||
|
Размеры м |
Площадь f, м2 |
0,125 |
0,110 |
Вкладыш 100 мм |
Вкладыш 100 мм плюс дополн. штукатурка |
|||||
|
|
f/ |
|
f/ |
|
f/ |
|
f/ |
|||
|
1. |
0,30´0,62 |
0,1860 |
3,025 |
0,0615 |
3,343 |
0,0556 |
3,343 |
0,0556 |
3,455 |
0,0538 |
|
2. |
0,18´0,62 |
0,1116 |
2,930 |
0,0381 |
3,251 |
0,0343 |
3,251 |
0,343 |
3,380 |
0,0330 |
|
3. |
0,17´0,62 |
0,1054 |
3,214 |
0,0328 |
3,523 |
0,0299 |
3,523 |
0,0299 |
3,654 |
0,0288 |
|
4. |
1,22´0,62 |
0,7564 |
1,872 |
0,4040 |
1,985 |
0,3810 |
2,390 |
0,3164 |
2,444 |
0,3095 |
|
5. |
0,18´0,62 |
0,1116 |
1,031 |
0,1082 |
1,052 |
0,1061 |
1,052 |
0,1061 |
1,096 |
0,1018 |
|
6. |
0,56´0,62 |
0,3472 |
2,826 |
0,1228 |
3,103 |
0,1119 |
3,103 |
0,1119 |
3,190 |
0,1088 |
|
7. |
0,09´0,62 |
0,0558 |
3,162 |
0,0176 |
3,522 |
0,0158 |
3,522 |
0,0158 |
3,668 |
0,0152 |
|
8. |
2´0,65´1,48 |
1,9240 |
2,973 |
0,6472 |
3,303 |
0,5825 |
3,303 |
0,5825 |
3,395 |
0,5667 |
|
9. |
0,3´0,90 |
0,2700 |
3,380 |
0,0799 |
3,768 |
0,0716 |
3,768 |
0,0716 |
3,892 |
0,0694 |
|
10. |
0,18´0,90 |
0,1620 |
3,307 |
0,0490 |
3,679 |
0,0440 |
3,679 |
0,0440 |
3,818 |
0,0424 |
|
11. |
0,17´0,90 |
0,1530 |
3,410 |
0,0449 |
3,805 |
0,0402 |
3,805 |
0,0402 |
3,945 |
0,0388 |
|
12. |
1,22´0,90 |
1,0980 |
2,785 |
0,3942 |
3,050 |
0,3600 |
3,215 |
0,3415 |
3,306 |
0,3321 |
|
13. |
0,18´0,90 |
0,1620 |
2,320 |
0,0698 |
2,487 |
0,0651 |
2,487 |
0,0651 |
2,603 |
0,0622 |
|
14. |
0,56´0,90 |
0,5040 |
3,337 |
0,1510 |
3,711 |
0,1358 |
3,711 |
0,1358 |
3,814 |
0,1321 |
|
15. |
0,09´0,90 |
0,0810 |
3,377 |
0,0240 |
3,766 |
0,0215 |
3,766 |
0,0215 |
3,918 |
0,0207 |
|
|
ИТОГО: |
6,0280 |
Итого: |
2,2452 |
Итого: |
2,0556 |
Итого: |
1,9723 |
Итого: |
1,9153 |
Приведенное сопротивление теплопередаче фрагмента при увеличенной в перекрытии до 100 мм толщине теплоизоляционных вкладышей составило 3,06 м2°С/Вт, а при выполнении обеих рекомендаций - 3,15 м2°С/Вт.
Выводы
Стена рассмотренной
конструкции удовлетворяет по приведенному сопротивлению теплопередаче
требованию СНиП II-3-79*
"Строительная теплотехника" (изд. 1998 г.) при следующих
условиях.
1) плотность полистиролбетона 350 кг/м3 (в сухом состоянии), эксплуатационная влажность по графе "А", дополнительно внутренний штукатурный слой толщиной не менее 20 мм из цементно-перлитового раствора 400 кг/м3; толщина теплоизоляционных вкладышей (ПСБ марки "35") в перекрытии увеличена до 100 мм;
в связи с принятой по графе "А" эксплуатационной влажностью (4 %) необходим расчет конструкции на влагонакопления; в зависимости от результатов расчета между штукатуркой и монолитным железобетонным слоем может быть введена пароизоляция.
2) плотность полистиролбетона 300 кг/м3 (в сухом состоянии), эксплуатационная влажность (9 %) по графе "Б", дополнительно штукатурный слой и увеличена толщина теплоизоляционных вкладышей в перекрытии.
1. ОБЩИЕ ПОЛОЖЕНИЯ
1.1. Настоящая Инструкция разработана в развитие СНиП 3.01.01-85* «Организация строительного производства», М.1990 г. и СНиП 3.03.01-87 «Несущие и ограждающие конструкции», M. 1998 г.
Указания Инструкции распространяются на производство и приемку работ, выполненных при кладке ненесущих наружных стен из полистиролбетонных блоков на клеевых композициях.
Блоки должны удовлетворять требованиям ТУ 5741-159-00284807-96* «Блоки из полистиролбетона стеновые сплошные».
Для склеивания полистиролбетонных блоков применяют клеевые минеральные композиции, соответствующие техническим условиям ТУ 2513-203-00284807-98.
1.2. Работы по возведению полистиролбетонных стен следует производить по утвержденному проекту производства работ (ППР), в котором наряду с общими требованиями СНиП 3.01.01-85* должны быть предусмотрены: последовательность установки конструкций и мероприятия, обеспечивающие требуемую прочность установки, устойчивость конструкций и частей здания в процессе возведения.
1.3. При перевозке и временном складировании полистиролбетонные блоки должны находиться, как правило, в положении, соответствующему проекту, и должны быть предохранены от намокания.
1.4. Блоки должны быть надежно закреплены для предохранения от опрокидывания, продольного и поперечного смещения, взаимных ударов друг о друга или о конструкции транспортных средств.
1.5. Блоки при складировании следует сортировать по маркам и укладывать с учетом очередности монтажа.
1.6. Запрещается перемещение блоков волоком.
2. ТРЕБОВАНИЯ НА ПРОИЗВОДСТВО РАБОТ ПО ВОЗВЕДЕНИЮ НЕНЕСУЩИХ НАРУЖНЫХ СТЕН ИЗ ПОЛИСТИРОЛБЕТОННЫХ БЛОКОВ
2.1. Работы по возведению полистиролбетонных стен должны быть выполнены в соответствии с проектом.
2.2. Не допускается ослабление стен отверстиями, бороздами, нишами, монтажными проемами, не предусмотренными проектом.
2.3. Кладку заполнения несущих каркасов здания следует выполнять в соответствии с требованиями, предъявляемыми к возведению несущих каменных конструкций.
2.4. Толщина горизонтальных и вертикальных швов стен из полистиролбетонных блоков должна составлять 2 - 3 мм, а армированных швов - 3 - 4 мм.
2.5. Полистиролбетонные перемычки устанавливают в проектное положение аналогично кладке блоков - вручную и на клеевых композициях. При этом следует проверить, чтобы грань перемычки с надписью несмываемыми красками «верх» находилась в верхнем положении.
2.6. При кирпичной облицовке стен кладка из кирпича производится на цементно-песчаном растворе одновременно с кладкой полистиролбетонных блоков в соответствии с указаниями СНиП 3.03.01-87.
Для совместной работы кирпичной облицовки и кладки из полистиролбетонных блоков они должны иметь гибкие связи в виде арматурных сеток, укладываемых в швы согласно проекту.
2.7. Если, согласно метеоданным, ожидаемая скорость ветра превысит 8 м/с при возведении стен зданий с высотой этажа Н < 3 м из блоков плотностью 250 кг/м3 или 13 м/с для таких же зданий из блоков плотностью 350 кг/м3, то до наступления соответствующего ветрового напора на высоте возводимой стены кладка должна быть выведена до уровня перекрытия и закреплена на этом уровне (например, с помощью уплотняющей пены). В противном случае предельная высота свободно стоящtй стены не должна превышать значений, указанных в табл. 1, или для восприятия ветрового напора стену следует закрепить путем установки временных креплений. В качестве последних могут быть использованы инвентарные подкосы, применяемые при монтаже панельных стен. Через 1 сутки клеевая композиция набирает требуемую прочность, и временные крепления могут быть сняты. При кладке стен производитель работ должен быть постоянно информирован об ожидаемой скорости ветра.
Таблица 1
|
Объемная масса (плотность) блоков, кг/м3 |
Допустимая высота стен, см, при скоростном напоре ветра, Н/м2 (скорость ветра, м/с) на высоте возводимой кладки |
||||||
|
55 (8) |
120 (13) |
150 (15) |
270 (21) |
450 (27) |
1000 (40) |
||
|
295 |
250 |
300 |
120 |
90 |
60 |
30 |
- |
|
375 |
350 |
660 |
300 |
240 |
120 |
90 |
30 |
Примечание: 1. Таблица составлена по аналогии с табл. 28 СНиП 3.03.01-87 (глухая стена, раствор или клей еще не набрали прочность).
2. При скоростных напорах ветра, имеющих промежуточные значения, допустимая высота свободно стоящих стен определяется интерполяцией.
2.8. Вертикальность граней и углов кладки из полистиролбетонных блоков, горизонтальность ее рядов необходимо проверять по ходу выполнения кладки (через 0,6 м) с устранением обнаруженных отклонений в пределах яруса.
2.9. Процесс кладки состоит из следующих основных операций: очистка поверхности блоков, подготовка клеевой композиции; укладка блоков на слой клея, проверка горизонтальности и вертикальности уложенных рядов.
Работу рекомендуется вести звеном «четверка». Квалифицированный каменщик выкладывает верстовые ряды, следит за перевязкой швов, за горизонтальностью и вертикальностью кладки; два каменщика-подручных подносят блоки, очищают их поверхность, расстилают клеевую композицию, помогают укладывать блоки в проектное положение; третий подручный занят приготовлением клеевой композиции.
На одной захватке ведется кладка стен, на другой подготавливается рабочее место: устанавливаются подмостки, заготавливаются материалы.
3. ТРЕБОВАНИЯ К КЛЕЕВЫМ КОМПОЗИЦИЯМ
Для склеивания полистиролбетонных блоков применяют разработанные ВНИИжелезобетоном клеевые минеральные композиции КМК (температура твердения до + 5 °С) и КМК-х (температура твердения от + 5 °С до -20 °С). Через 4 - 6 часов после склеивания при 20 ± 5 °С прочность сцепления достигает 0,17 - 0,24 МПа, через 1 сутки разрыв склеенных образцов происходит по полистиролбетону.
Морозостойкость соединения не ниже F75. Клеевые композиции КМК и КМК-х нетоксичны, негорючи и экологически безопасны.
4. ТЕХНОЛОГИЯ КЛАДКИ СТЕН
4.1. Возведение полистиролбетонных стен представляет собой поштучную кладку полистиролбетонных блоков на клеевой композиции. Блоки укладываются ложками вдоль стены. Блоки вышележащего ряда необходимо укладывать так, чтобы они перекрывали вертикальные швы между блоками в продольном и поперечном направлениях, т.е. с перевязкой швов. Рекомендуется однорядная (цепная) система перевязки швов.
Для обеспечения прочности и отсутствия продуваемости горизонтальные и вертикальные (поперечные) швы должны быть полностью заполнены клеевой композицией.
Кладка стен производится ярусами высотой 1 - 1,2 м. Допускается уменьшать высоту яруса до 0,8 - 0,9 м.
В каждом ряду монтаж начинается с установки в проектное положение маячных блоков, располагаемых в углах и в промежутках через 10 - 15 м один от другого. По маячным блокам натягивают причалку и по ней производят установку остальных блоков на предварительно размеченные места.
Перед укладкой блоков подлежащие склеиванию поверхности очищают от грязи и пыли, в сухую погоду выбирают влажной тряпкой. После этого наносят клеевую постель, верхний блок устанавливают в проектное положение с выверкой плоскостей по уровню и отвесу. Перед нанесением клея склеиваемые поверхности блоков обрабатывают металлической щеткой и очищают от образовавшейся пыли.
Клеевая постель должна быть ровной и не доходить на 1,5 - 2 см до поверхности стены. Разравнивание клеевой композиции производится при помощи гребенки.
В случае плохого заполнения монтажного шва или смещения установленного блока его приподнимают, поверхность очищают от старого клея, и блок устанавливают на свежую клеевую композицию.
4.2. Композиции КМК и КМК-х поставляются в комплекте с блоками в виде двух упаковок, содержащих раздельно: модифицированное жидкое стекло и порошкообразный материал, состоящий из смеси наполнителя и отвердителя жидкого стекла. Клей приготавливается непосредственно перед употреблением путем смешивания указанных компонентов.
Клеевые композиции приготавливают порционно перед приготовлением. Массу приготовляемой композиции рассчитывают с учетом ее жизнеспособности и полного использования до начала схватывания (отвердевания).
Вначале в емкость до 10 - 15 л на подставке с гнездом загружается расчетное количество порошкообразного материала и производится перемешивание в течение 3 - 5 мин. до его полной гомогенизации. Затем порошкообразный компонент затворяют расчетным количеством жидкого связывающего и перемешивают смесь до однородного состояния в течение 3 - 5 мин. Ориентировочно клей должен непрерывно готовиться партиями по 10 - 15 кг.
Массовое отношение жидкого компонента к твердому (порошкообразному) должно находиться в отношении от 1 : 1,9 до 1 : 2,3 и назначаться с учетом консистенции (от жидкой до сметанообразной) и жизнеспособности клея. Жизнеспособность клея, приготовленного в указанных соотношениях, составляет не менее 15 - 20 мин.
Схватившийся клей, по истечению указанного времени, утилизируется.
4.4. Клей наносится на поверхность стеновых элементов и блоков, как правило, находящихся в горизонтальном положении.
Через 5 - 10 минут после нанесения, клей, благодаря тиксотропным свойствам, утрачивает свою текучесть и не стекает с вертикальной плоскости изделия.
Способ нанесения клея на изделие зависит от консистенции клея. Жидкотекучие клеи литьевой консистенции наносят механизированным способом или вручную методом разлива, пастообразные клеи - с помощью шпателя или мастерка (жидкотекучий клей через 10...40 мин после приготовления приобретают пастообразную консистенцию). Поэтому при нанесении такого клея методом «разлива» он должен быть использован по назначению до перехода в пастообразное состояние.
Для механизированного нанесения клея допускается применять краскопульты (типа «Щит»), устройства для нанесения мелкозернистых покрытий (СМЖ-468) и др. В виду значительной адгезии минеральных клеев к металлу рабочие металлические поверхности краскопульта должны быть защищены антиадгезионным покрытием.
Клеевые композиции наносят на склеиваемые поверхности изделий в виде сплошных «клеевых дорожек», располагая их параллельно длинным ребрам изделий, причем крайние «клеевые дорожки» должны находиться от этих ребер на расстоянии 1 - 2 см.
Ширина каждой «клеевой дорожки» должна составлять 30 - 50 мм, высота 6 - 8 мм, а просвет между ними 20 - 30 мм. Затем клеевая композиция распределяется с помощью гребенки равномерно по поверхности блока толщиной примерно 3 мм, за исключением незаполненных клеем полосок шириной 1 - 2 см вдоль длинных ребер блоков (для лучшего сцепления штукатурного слоя с блоками).
Консистенция клея перед нанесением на изделие, а также расположение крайних «клеевых дорожек», ограничивающих с внешней и внутренней сторон изделие, должны быть таковыми, чтобы исключить вытекание клея из клеевого шва.
4.5. Монтаж конструкций должен производится сразу после нанесения клея на элементы или блоки. Выверку проектного положения склеиваемого элемента в конструкции допускается производить в течение не более 10 мин. после начала склеивания. Расход клея КМК и КМК-х (расчетная плотность 1400 кг/м3) следует ориентировочно принимать 5 ± 7 кг на 1 м2 склеиваемой поверхности блоков и уточнять в каждом конкретном случае.
Для сохранения проектного положения блока рекомендуется применять фиксирующие устройства в виде скоб, шаблонов и т.п.
4.6. Для соблюдения горизонтальных рядов кладки применяют порядовки - деревянные или металлические рейки, на которых нанесены деления с расстоянием, равным толщине одного ряда блоков.
К порядовкам крепят шнур-причалку для проверки правильности рядов кладки. Для проверки горизонтальности рядов используется рейка-уровень, для проверки вертикальности стены и столбов - отвес, для проверки правильности сопряжении - угольник. Измерение геометрических размеров стены производится с помощью рулетки и складного метра.
Кроме указанных в п. 4.3 приспособлений для приготовления и нанесения клея используются кельма, стойка-гнездо под бачок для приготовления клея, бачок из пластмассы 3 - 5 л с ручкой и носиком.
Поскольку полистиролбетон по способу обработки подобен дереву, для резки и изменения формы блоков используются ножовки, шаблоны, молотки-кирочки, стамески, скобы металлические и другие инструменты для плотничных работ.
Для временного крепления стен от возможного ветрового давления применяют подкосы, скобы, связи.
Звено каменщиков имеет лестницу для безопасного подъема на подмостки.
Необходимые для производства кладки оборудование, инструмент, инвентарь и приспособления приведены в табл. 2.
Таблица 2
Номенклатура средств малой механизации для кладки стен из полистиролбетонных блоков (по данным ЦНИИОМТП)
|
Наименование |
Назначение |
|
|
1 |
2 |
3 |
|
1. |
Стеллаж |
Складирование связей, подкосов, скоб |
|
2. |
Бункер для строительного мусора |
Сбор и транспортирование строительного мусора |
|
3. |
Лестница |
Безопасный подъем на подмости |
|
4. |
Бачок для нанесения клея из пластмассы емкостью 10 л с ручкой и носиком |
Склеивание блоков, нанесение (разлив) клея на блоки |
|
5. |
Мерный стакан из пластмассы емкостью 5 - 7 л для порошка |
Для замера порции порошка при приготовлении клеевой композиции |
|
6. |
Мерный стакан из пластмассы емкостью 3 - 5 л для жидкой фазы |
Для замера порции жидкой фазы при приготовлении клеевой композиции |
|
7. |
Пластмассовая емкость (10 - 15л) |
Для приготовления клея (затворения порошка жидкой фазой) |
|
8. |
Шпатель металлический или дрель с насадкой (20 - 50 об/мин) |
Приготовление клея |
|
9. |
Мачта прожекторная |
Освещение рабочих мест |
|
10. |
Кисть флейцевая типа КС |
Нанесение клея |
|
11. |
Гребенка |
Нанесение клея |
|
12. |
Кельма типа КБ |
Для подсобных работ |
|
13. |
Молоток-кирочка типа МКИ |
Сколка и теска полистиролбетонных блоков |
|
14. |
Лом монтажный типа ЛМА или ЛМВ |
Смещение и рихтовка сборных элементов при монтаже |
|
15. |
Ключ разводной |
Вспомогательные работы |
|
16. |
Пила-ножовка |
Резка блоков, плотничные работы |
|
17. |
Контрольно-измерительный инструмент: |
|
|
|
рейка с уровнем |
выверка горизонтальности рядов кладки |
|
|
рейка |
проверка прямолинейности |
|
|
угольник стальной 500 х 240 |
проверка прямоугольности элементов |
|
|
катушка с отвесом |
для причального шнура |
|
|
отвес типа 0-600 строительный |
проверка вертикальности стен |
|
|
уровень типа УС1-300 строительный |
проверка горизонтальности кладки |
|
|
рулетка металлическая типа РС-1 |
разметка проемов, отверстий и толщины стен |
|
|
рулетка типа PC-20 |
разметка осей здания |
|
18. |
Средства защиты: |
|
|
|
ограждение оконных проемов |
безопасные условия работы |
|
|
каска винилопластиковая |
безопасные условия работы |
|
|
защитные очки |
безопасные условия работы |
|
|
перчатки резиновые технические |
безопасные условия работы |
|
|
резиновые сапоги |
безопасные условия работы |
|
|
пояс предохранительный |
безопасные условия работы |
|
19. |
Мачта поэтажная |
Освещение рабочих мест |
|
20. |
Ножницы ручные |
Резка арматуры |
|
21. |
Машина сверлильная электрическая типа ИЭ-1022А |
Сверление отверстий в железобетонных конструкциях для крепления полистиролбетонных стен |
|
22. |
Точило настольное электрическое типа БЭТ-1 |
Заточка инструмента |
|
23. |
Подмости типа ППУ-4 |
Производство каменной кладки |
|
24. |
Рейка-порядовка |
Контроль правильности ведения кладки и точности выдержки толщины швов |
|
25. |
Скобы причальные |
Зачаливание шнура при кладке стен |
|
26. |
Топор строительный |
Вспомогательные работы |
|
27. |
Конопатка типа К-50 стальная |
Проконопачивание щелей |
|
28. |
Шкаф бригады каменщиков |
Хранение инструментов и приспособлений |
|
29. |
Щиты деревянные инвентарные |
Средства подмащивания |
|
30. |
Плоскогубцы |
Подготовительные работы |
5. ДОПОЛНИТЕЛЬНЫЕ ПРАВИЛА ПО АРМИРОВАНИЮ КЛАДКИ ИЗ ПОЛИСТИРОЛБЕТОННЫХ БЛОКОВ
С целью повышения несущей способности каменных конструкций, обеспечения связи с элементами каркаса, со штукатурными слоями или кирпичной облицовкой кладку армируют путем укладки металлических сеток в горизонтальные швы. Для надежной анкеровки арматуры и ее защиты от коррозии швы должны быть полностью заполнены клеевой композицией. Композиции КМК и КМК-х содержат жидкое стекло, в связи с чем создают щелочную среду, аналогичную среде в цементно-песчаном растворе, что обеспечивает требуемую защиту арматуры от коррозии.
Для получения армированных швов толщиной 3 - 4 мм при применении стержней диаметром 3 мм поступают следующим образом. При использовании сварных прямоугольных сеток перед их окончательной укладкой на поверхности блоков размечают фактическое положение поперечных стержней сетки, затем в полистиролбетоне прорезают пазы сечением 5´5 мм и укладывают сетки так, чтобы поперечные стержни были заглублены в указанные пазы. Для этих же целей возможно применение зигзагообразных сеток, в которых поперечные и продольные стержни диаметром 3 мм расположены в одной плоскости. Для еще большего уменьшения толщины швов и для повышения термического сопротивления стены рекомендуется использовать сетки для армоцементных конструкций из стержней диаметром 0,5 - 1,2 мм (СНиП 2.03.03-85, приложение 2).
Для армирования штукатурного слоя с заведением стержней в горизонтальные швы кладки могут быть использованы мелкоячеистые металлические сетки с размерами ячеек 10 - 20 мм. При поперечном армировании простенков сетки следует изготавливать и укладывать так, чтобы не менее двух арматурных стержней выступало на 2 - 3 мм на внутреннюю поверхность простенка.
6. КОНТРОЛЬ КАЧЕСТВА РАБОТ
Технический контроль качества работ по приготовлению клеевых композиций и клеевых соединений полистиролбетонных блоков должен производиться в соответствии с требованиями ТУ-2513-203-00284807-98 и включать следующие операции:
- контроль за технологией приготовления клеев и их применением;
- проверку качества монтажа конструкций из полистиролбетонных блоков с клеевыми стыками.
Контроль качества работ по монтажу конструкций из склеенных блоков производится внешним осмотром и испытанием на осевое растяжение склеенных контрольных полистиролбетонных образцов-кубов размером 10 х 10 х 10 см. Образцы хранятся в тех же условиях, что и склеенные конструкции.
Внешним осмотром конструкции устанавливают степень заполнения соединения клеевым составом и соответствие проектного положения блоков в конструкции.
Адгезионную прочность на отрыв клеевых соединений контрольных образцов определяют по ГОСТ 22690 в сроки, регламентируемые п. 12 таблицы технических требований ТУ 2513-208-00284807-98.
Число контрольных образцов на каждом этаже должно быть не менее 12 на каждые две секции дома.
При возведении зданий в зимних условиях с использованием КМК-Х образцы в возрасте 5 - 7 суток испытывают после 3-часового оттаивания при температуре не ниже 20 + 5 °С.
7. ПРИЕМКА ПОЛИСТИРОЛБЕТОННЫХ СТЕН
7.1. Приемку выполненных работ по возведению стен необходимо производить до оштукатуривания их поверхностей.
Элементы конструкций, скрытых в процессе производства работ, в том числе:
места опирания перемычек;
закрепление сборных железобетонных конструкций: балконов и др.;
уложенная в каменные конструкции арматура;
плитный утеплитель - следует принимать по документам, удостоверяющим их соответствие проекту и нормативно-технической документации.
7.2. При приемке законченных работ необходимо проверять: правильность перевязки швов, их толщину и заполнение, а также горизонтальность рядов и вертикальность рядов кладки;
качество кирпичной облицовки стен и ее крепления;
геометрические размеры и положение конструкций;
крепление полистиролбетонных стен к капитальным стенам, каркасу и перекрытию.
7.3. Отклонения в размерах и положении каменных конструкций из полистиролбетонных блоков от проектных не должны превышать указанных в табл. 34 СНиП 3.03.01-87, за исключением толщины швов кладки, которые не должны превышать + 0,5 мм при отсутствии армирования швов и - 0,5 + 1,0 мм при наличии их армирования.
8. ТЕХНИКА БЕЗОПАСНОСТИ
8.1. Высоту каждого яруса кладки устанавливают с таким расчетом, чтобы уровень кладки после каждого перемещения был не менее чем на два ряда блоков выше уровня подмостей или перекрытия. Кладку следует вести только с междуэтажного перекрытия и инвентарных подмостей. Запрещается возводить стены, стоя на них. При возведении кладки в опасных зонах, каменщики должны использовать предохранительные пояса, прикрепляясь с их помощью к устойчивым частям здания.
8.2. При работе с клеевыми минеральными композициями следует исключить воздействие жидкого компонента (жидкого стекла) и свежеприготовленного клея на слизистую оболочку глаз во избежание щелочного ожога.
При работе с минеральными клеями следует пользоваться спецодеждой, резиновыми рукавицами и сапогами по ГОСТ 12.4.103, защитными очками или щитками по ГОСТ 12.4.013.
При попадании жидкого компонента или свежеприготовленной композиции КМК на кожу их следует смыть чистой водой, после чего смазать кожу вазелином. При попадании в глаза - обильно промыть их водой, закапать 2 %-ный раствор борной кислоты или альбуцид, после чего обратиться к окулисту.
При разливе жидкого компонента или свежеприготовленной композиции их следует аккуратно собрать, а остатки смыть водой. В местах, где нельзя смыть остатки жидкого компонента, для уменьшения скользкости следует посыпать их песком.
На потребительной таре жидкого компонента маркировка должна содержать предупредительную надпись: «При попадании в глаза промыть водой».

ОДНОЯРУСНЫЕ ЛЕСА
1 - рама; 2 - опора; 3 - настил; 4 - щит; 5 - ограждение; 6 - сетка; 7 - навес; 8 - петля; 9 - лестница

ПОЯСНЕНИЯ К ПРИЛОЖЕНИЮ VI
Приложение VI представляет собой извлечение из Инструкции по применению навесных монтажных лесов для производства работ на фасадах строящихся зданий 522541-002-02495276-98 ЦНИИОМТП и МНИИТЭП. Леса могут выполняться двух типов: одноярусными и двухъярусными. Тип и конструкция навесных монтажных лесов определяется конструкцией здания и его несущих элементов, видом выполняемых работ.
Одноярусные навесные монтажные леса представляют собой раму с опорами, взаимодействующими с элементами здания.
На раме предусмотрены рабочие настилы в виде щита, кроме того, на высоте 1,5 м устанавливается промежуточный щит (настил). Ограждение представляет собой пространственную каркасную сварную конструкцию из швеллеров и уголков. С наружной стороны лесов устанавливается защитная металлическая сетка.
Монтаж и демонтаж лесов производится грузоподъемными кранами (башенными, стреловыми) с строповкой как обычным канатным двухветвевым стропом, так и с помощью специальных траверс.
При монтаже лесов на зданиях должны быть предусмотрены проемы в стене, в которые монтируются опорные кронштейны, фиксируемые в проемах посредством деревянных клиньев.
В проем стены вставляется упорная прокладка.
Стены, в которых устраиваются отверстия, должны быть рассчитаны на нагрузку от лесов, с учетом их загрузки материалами, оборудованием и людьми согласно проекту производства работ.
Рама лесов должна быть рассчитана на прочность от нагрузки и собственного веса.
В соответствии с конструктивной характеристикой здания и шагом несущих внутренних стен разрабатывается необходимое количество типоразмеров навесных монтажных лесов, отличающихся друг от друга только продольными размерами платформ.
Навесные монтажные леса оборудуются ограждениями, в торцах могут устраиваться переходы на соседние леса. Поверх лесов устраивают съемное покрытие из сплошного профнастила. Внутри лесов устраивают несколько промежуточных настилов из досок толщиной 50 мм. Зазор между промежуточными настилами и возводимой наружной стеной должен составлять 50 мм.
Крепление монтажных лесов может осуществляться двумя вариантами. Первый вариант - крепление за перекрытие посредством опорных кронштейнов и анкеров. Отверстия в перекрытиях в этом случае необходимо образовывать во время бетонирования, согласно проекту и производству работ.
Второй вариант крепления лесов - за внутренние несущие стены. Крепление производится с помощью кронштейнов и пальцев.
Подъем и установку лесов производят автомобильным или башенным краном за специальные петли.
Подачу грузов на навесные леса производят после их окончательного закрепления. Кирпич, раствор, арматурные сетки в рабочую зону подают краном. Монтаж и подачу оконных перемычек производят краном.
Рабочее место звена каменщиков, маляров и других рабочих включает участок возводимой стены и часть навесных лесов, где размещаются материалы и находятся рабочие. Ширина рабочего места должна располагаться между несущими подкосными рамами. На консолях навесных лесов размещать грузы запрещено. Рабочая зона должна составлять 0,6 - 0,7 м.
|