ИНФОСАЙТ.ру
Госты, стандарты, нормативы. В библиотеке 60000 документов. Регулярное обновление. Круглосуточный бесплатный доступ!
БИБЛИОТЕКА ГОСТОВ, СТАНДАРТОВ И НОРМАТИВОВ

:: АЛГОТРЕЙДИНГ ::


АЛГОТРЕЙДИНГ
шаг за шагом


БЕСПЛАТНЫЕ УРОКИ по созданию торговых роботов на PYTHON с нуля, шаг за шагом.


Минимальные знания на PYTHON.
Библиотеки BackTrader и Pandas, сигналы с Pine Script из TradingView.
Связка с брокерами, телеграм.
Создание простых интерфейсов.

 

Все документы, представленные в каталоге, не являются их официальным изданием и предназначены исключительно для ознакомительных целей. Электронные копии этих документов могут распространяться без всяких ограничений. Вы можете размещать информацию с этого сайта на любом другом сайте.


ПРАВИТЕЛЬСТВО МОСКВЫ

КОМПЛЕКС ПЕРСПЕКТИВНОГО РАЗВИТИЯ ГОРОДА

 

ТЕХНИЧЕСКИЕ РЕКОМЕНДАЦИИ
по технологии устройства облицовок стен и покрытий полов из крупноразмерных керамических плиток

 

ТР 98-99

 

 

МОСКВА - 2000

 

Настоящие технические рекомендации представляют собой практическое руководство для производства работ по устройству облицовок стен и покрытий полов из крупноразмерных керамических плиток в жилых, общественных и промышленных (в административно-бытовых помещениях) зданиях.

Технические рекомендации разработаны ГУП «НИИМосстрой» (д.т.н., профессор Е.Д. Белоусов, инж. А.Н. Шевченко, инж. А.Ю. Сатирский) с участием ГП «Мосстройлицензия» (Ю.П. Емельянов) на основании лабораторных и опытно-производственных исследований, а также на основании обобщения отечественного и зарубежного опыта устройства облицовок стен и покрытий полов из крупноразмерных керамических плиток, с учетом требований СНиП 2.03.13-88 «Полы», СНиП 3.04.01-87 «Изоляционные и отделочные покрытия», а также действующих стандартов и ТУ на материалы, применяемые при устройстве таких облицовок и покрытий.

Технические рекомендации согласованы с ГП «Мосстройлицензия», АОХК «Главмосстрой», Управлением развития Генплана.

При пользовании настоящими техническими рекомендациями следует учитывать утвержденные изменения, внесенные в стандарты и технические условия на материалы, применяемые при устройстве облицовок стен и покрытий полов из крупноразмерных керамических плиток.

 

Правительство Москвы

Комплекс перспективного развития города

Технические рекомендации
по технологии устройства облицовок стен и покрытий полов из крупноразмерных керамических плиток

ТР 98-99

вводятся впервые

1. ОБЩИЕ ПОЛОЖЕНИЯ

1.1. Настоящие Технические рекомендации распространяются на технологию устройства облицовок стен и покрытий полов из крупноразмерных керамических плиток (с размером сторон от 200 до 400 мм), укладываемых на тонком слое клеящих мастик или растворных смесей, приготовленных из специальных сухих цементно-песчаных смесей. Технология предназначена для применения в жилых и общественных зданиях, а также в административно-бытовых помещениях промышленных зданий.

1.2. Технические рекомендации разработаны с учетом требований СНиП 2.03.13-88 «Полы», СНиП 3.04.01-87 «Изоляционные и отделочные покрытия», ВСН 9-94 «Инструкция по устройству полов в жилых и общественных зданиях» и ВСН 50-96 «Инструкция по облицовке стен керамическими и полимерными плитками на клеях и клеящих мастиках».

1.3. Данные рекомендации не распространяются на устройство полов в помещениях с агрессивными средами. Такие полы должны выполняться в соответствии с требованиями СНиП 3.04.03-85 «Защита строительных конструкций от коррозии».

 

Разработаны НИИМосстроем

Внесены:
Управлением развития Генплана

Утверждены:
Начальник Управления инвестиционной политики и финансирования из городских источников

А.И. Воронин

«26» ноября 1999 г.

Дата введения
в действие

«1» января 2000 г.

 

1.4. К устройству облицовок стен и покрытий полов из крупноразмерных керамических плиток следует приступать после окончания общестроительных и специальных работ (гидроизоляция, прокладка скрытых коммуникаций и др.), при производстве которых могут быть повреждены облицовка стен и готовое покрытие пола. Температура воздуха в помещениях при устройстве таких облицовок и покрытий полов должна быть не ниже + 10°С.

1.5. Устройство указанных облицовок и покрытий полов предусмотрено по готовым основаниям, качество которых должно отвечать требованиям соответствующих разделов СНиП 3.04.01-87, с применением материалов (керамических плиток и клеящих составов), отвечающих требованиям государственных стандартов и технических условий на данные материалы.

2. МАТЕРИАЛЫ И ТРЕБОВАНИЯ К НИМ

2.1. Для устройства облицовок стен и покрытий полов, указанных в п. 1.1., применяются следующие материалы:

- керамические плитки, образующие лицевой слой (основное поле облицовки);

- растворные смеси и клеящие составы для крепления керамических плиток к основанию;

- растворные смеси для расшивки швов между плитками;

- растворные смеси для выравнивания поверхностей.

2.2. Керамические плитки.

2.2.1. Применяемые для облицовок стен и покрытий полов керамические плитки могут иметь квадратную и прямоугольную форму с гладкой и рифленой лицевой поверхностью, глазурованной и не глазурованной.

Тип, форма, геометрические размеры, физико-механические свойства плиток должны отвечать требованиям ГОСТ 6141-91 и ГОСТ 6787-90, а также соответствовать ТУ, паспортам и сертификатам предприятий-изготовителей.

2.2.2. Плитки должны иметь правильную геометрическую форму, с четкими гранями и прямыми углами, без выпуклостей, выбоин, трещин, а также зазубрин и щербин на кромках лицевой поверхности. Лицевая поверхность должна быть равномерно покрыта глазурью, не должна иметь недоливов, затеканий, пузырьков и цека (поверхностных волосяных трещин). Поверхность тыльной стороны плиток должна иметь рифление, обеспечивающее надежное сцепление плиток с раствором. Высота (глубина) рифления должна быть не менее 1,5 мм.

2.2.3. Физико-механические свойства плиток имеют существенное значение для производства работ и эксплуатации покрытий. Получение керамических плиток от предприятия-изготовителя сопровождается документом, в котором указывают водопоглощение, предел прочности при изгибе, степень износостойкости и область применения.

2.2.4. По основным физико-механическим показателям плитки должны отвечать требованиям, указанным в табл. 2.1.

 

Таблица 2.1

Наименование показателей

Тип плиток

 

для облицовки стен

для покрытий полов

 

 

не глазурованных

глазурованных

Водопоглощение, % не более

16

4,5

3,5-3,8

Предел прочности при изгибе, МПА (кгс/см2), не менее

15 (150)

25 (250)

25 (250)

Твердость глазури по шкале МООСа

5

-

6-7

Износостойкость

 

 

I-IV степень*

Потеря массы при истирании, г/см2, не более

 

 

 

при применении кварцевого песка

-

0,18

 

при применении корундового порошка

-

0,54

 

Термическая стойкость глазури, °С

125-150

 

 

 

*) в зависимости от назначения помещений: в помещениях квартир, в проходах, коридорах, на лестничных площадках – I, II степени износостойкости; жилых и бытовых помещениях промышленных зданий – III степени износостойкости; в помещениях общественных зданий и сооружений – IV степени износостойкости.

 

2.3. Растворные смеси и клеящие составы, рекомендуемые для крепления плиток, и способы их приготовления.

2.3.1. Для крепления керамических плиток при устройстве облицовок стен и покрытий полов рекомендуется использовать растворные смеси и клеящие составы (мастики), приготовляемые на месте производства работ из сухих растворных смесей заводского изготовления, которые представляют собой состав на основе цемента, фракционированного песка и комплекса химических добавок.

2.3.2. Указанные составы должны отвечать требованиям, приведенным в табл. 2.2.

 

Таблица 2.2.

Наименование показателей

Растворные смеси

Клеящие составы (мастики) для облицовки стен и покрытия полов

 

для облицовки стен

для покрытия полов

 

Прочность на сжатие, МПа

10-15

15-20

15

Срок годности растворной смеси, ч, не менее

2

2

2

Температура применения, °С

+5…+35

+5…+35

+5…+35

Время корректировки, мин

10

10

10

Прочность сцепления с основанием, Н/мм2, не менее

0,5

0,5

1

Подвижность, см

6-7

6-7

-

Условная вязкость по Суттарду, мм

-

-

90-110

Максимальная крупность заполнителя, мм

0,5

1,2

0,5

Оптимальная толщина слоя, мм

5-7

5-7

2-3

 

2.3.3. Для приготовления растворных смесей и мастик сухую смесь высыпают в чистую воду, постоянно помешивая до получения однородной массы вручную или механизированно. Соотношение воды к сухой смеси регулируется показателем требуемой подвижности или условной вязкости (см. табл. 2.2) и составляет по массе 0,17-0,2 : 1. Составы пригодны для употребления через 5 минут и должны быть использованы в течение 2 ч после приготовления.

2.4. Растворные смеси для расшивки швов.

2.4.1. Для расшивки (заполнения) швов между керамическими стеновыми и напольными плитками рекомендуется применять следующие составы:

- цементно-песчаную растворную смесь в соотношении 1:1:0,6 (цемент белый : мелкий песок : вода) с добавлением щелочестойких пигментов или колерных паст для швов на стенах шириной 2-2.5 мм;

- жесткую цементную растворную смесь марки 100…150 для швов шириной 3-4 мм;

- клеящие мастики с добавлением мелкого песка;

- готовые сухие смеси заводского изготовления.

Сухие смеси изготавливаются на основе белого цемента и высококачественных природных наполнителей с комплексом химических добавок. Приготовленная растворная смесь пластична, удобна в работе, позволяет заполнять швы между плитками шириной до 5 мм. Затвердевший состав обладает повышенной прочностью, устойчивостью к истиранию и образованию трещин, влагостойкостью, высокой прочностью сцепления.

2.4.2. Растворные смеси должны отвечать следующим требованиям:

прочность на сжатие:

для облицовки стен – 10 МПа

для покрытия полов – 15 МПа

готовность растворной смеси к употреблению – через 5 минут

срок годности растворной смеси – не менее 2 ч

температура применения - +5°С…+35°С

максимальная крупность наполнителя – 0,2…0,5 мм

прочность сцепления с основанием, не менее:

для облицовки стен – 0,5 Н/мм2

для покрытия полов – 1,0 Н/мм2

2.4.3. Процесс приготовления растворной смеси для расшивки швов аналогичен изложенному в п. 2.3.3. Соотношение воды и сухой смеси – 0,25:1. Расход материала зависит от геометрических размеров плиток и ширины швов.

2.5. Выравнивающие растворные смеси.

2.5.1. Указанные смеси применяют для выравнивания облицовываемых поверхностей (оснований), имеющих отклонения от вертикали и горизонтали, превышающих величины, допустимые для облицовки стен и покрытий полов крупноразмерными керамическими плитками.

2.5.2. Выравнивающие растворные смеси готовят на месте производства работ из сухих цементно-песчаных смесей марки 150 и пластифицированной поливинилацетатной дисперсии 10% концентрации (соотношение дисперсии и воды по массе 1:4). Полимерцементная растворная смесь должна иметь подвижность 5…6 см по стандартному конусу.

2.5.3. Для выравнивания облицовываемых поверхностей рекомендуется использовать сухие цементно-песчаные смеси заводского изготовления с учетом указаний и рекомендаций предприятия-изготовителя.

2.5.4. Предприятия-изготовители должны гарантировать качество сухих смесей и стабильность таких свойств, как водоудерживающая способность, подвижность, удобонаносимость, прочность раствора в возрасте 28 суток и других в соответствии с нормативной документацией на продукцию.

2.5.5. Выравнивающие растворные смеси должны отвечать требованиям, приведенным в таблице 2.3.

 

Таблица 2.3.

Наименование показателей

Выравнивающие растворные смеси

 

для облицовываемых стен

под покрытия полов

Прочность на сжатие в возрасте 28 суток, Мпа, не менее

10

20

Прочность сцепления с основанием, Н/мм2, не менее

0,5

1

Температура применения, °С

+5…+30

+5…+30

Срок годности, ч

до 2

до 0,5

Максимальная крупность заполнителя

0,6-0,8

1,5

Рекомендуемая толщина слоя, наносимого за один прием, мм

5-10

8-15

 

2.5.6. Для приготовления выравнивающих составов сухую смесь высыпают в воду, количество которой указывается в паспорте (0,16-0,2 л на 1 кг смеси), тщательно перемешивают до полного исчезновения комков и воздушных пузырей механическим или ручным способом, затем смесь выдерживают в течение 5 минут и вновь интенсивно перемешивают. Растворная смесь должна быть использована в течение времени, указанного в таблице 2.3 или паспорте.

2.5.7. Выравнивающие растворные смеси наносят тонким слоем на очищенную от грязи и огрунтованную 7-10% раствором поливинилацетатной дисперсии поверхность при помощи кельмы или гладкой стальной терки и разравнивают. Через 30-60 мин в зависимости от температуры и водопоглощения основания нанесенный слой затирают; через 48 часов на выровненную поверхность можно наклеивать плитки.

3. ТРЕБОВАНИЯ К ОСНОВАНИЯМ ПОД УСТРОЙСТВО ОБЛИЦОВОК СТЕН И ПОКРЫТИЙ ПОЛОВ

3.1. Перед началом производства работ необходимо проверить прочность и жесткость основания, наличие незаполненных швов кирпичной кладки, неровностей слоев штукатурки, убедиться в отсутствии уклона или недостаточного уклона основания, выцветов (высолов), жировых пятен, трещин от напряжений и усадки, чрезмерно гладких и мерзлых поверхностей, поверхностей чрезмерно поглощающих влагу, оснований, выполненных из гипса и оставшихся гипсовых и растворных наплывов на поверхности основания.

3.2. При облицовке поверхностей стен (перегородок) качество оснований должно отвечать следующим требованиям.

3.2.1. Допустимая влажность облицовываемых кирпичных, бетонных и оштукатуренных поверхностей - не более 8%;

гипсокартонных, гипсоволокнистых - не более 1%.

3.2.2. Допустимые отклонения облицовываемых поверхностей от вертикали при облицовке:

на цементно-растворной смеси - до 10 мм;

на мастиках - не более 2 мм на 1м высоты.

3.2.3. На облицовываемой поверхности при облицовке на мастиках не допускается наличие неровностей более 1,5 мм, высолов и масляных пятен, непрочных участков лицевой поверхности кирпичной кладки.

3.2.4. Кирпичная кладка под облицовку керамическими плитками должна быть выполнена с незаполненными раствором швами на глубину 5...10 мм. При полном заполнении швов кладочным раствором выполняется насечка облицовываемой поверхности.

3.2.5. Толщина штукатурного слоя, нанесенного на деревянную поверхность по металлической сетке с прокладкой гидроизоляционного материала, должна быть не менее 15 мм.

3.3. При устройстве покрытий полов качество оснований должно отвечать следующим требованиям.

3.3.1. Прочность бетонного основания или стяжки должна быть не менее 15 МПа.

3.3.2. Основание должно быть ровным, горизонтальным или соответствовать заданному проектному уклону.

3.3.3. Допустимые отклонения:

- расстояния между контрольной рейкой длиной 2 м и поверхностью не должны превышать при укладке плиток:

на слое раствора - 6 мм;

на слое мастики - 2 мм;

плоскости основания пола от горизонтали или заданного уклона - 0,2%, а при ширине и длине помещения 25 м и более - 40-50 мм.

4. ТЕХНОЛОГИЯ УСТРОЙСТВА ОБЛИЦОВКИ СТЕН

Работы по устройству облицовки стен выполняются в следующей технологической последовательности:

провешивание и подготовка поверхности;

разметка поверхности стен с установкой маяков; сортировка, резка плиток и сверление в них отверстий;

установка плиток;

расшивка (заполнение швов);

очистка облицованной поверхности.

4.1. Проверку вертикальности стен проводят для определения необходимой толщины выравнивающего слоя.

4.2. До разметки поверхности под облицовку и до установки маяков необходимо:

произвести устранение неровностей, нанести выравнивающий слой по отметкам предварительного провешивания, подготовить облицовываемую поверхность для повышения качества облицовки.

4.3. Отдельные неровности и отклонения от вертикали, превышающие допустимые величины, указанные в пунктах 3.2.2 и 3.2.3, исправляют путем срубки выпуклостей на поверхности и выравниванием растворными смесями впадин и отклонений от вертикали.

4.4. Бетонные, оштукатуренные и кирпичные стены с незаполненными швами необходимо очистить от пыли, грязи, потеков раствора и следов гипса, оказывающего отрицательное влияние на прочность сцепления раствора с основанием. При наличии на поверхности жировых пятен их следует удалить 2-3% раствором соляной кислоты или 5% раствором кальцинированной соды. После обработки кислотой поверхность тщательно промывают чистой водой.

4.5. Недостаточно шероховатые бетонные поверхности и кирпичные стены с заполненными швами перед облицовкой должны быть насечены.

4.6. Поверхности кирпичной кладки рекомендуется облицовывать на клеящих мастиках, по предварительно Нанесенной по маякам штукатурке марки не ниже 75. Последний накрывочный слой штукатурки не наносят, так как мастики хорошо сцепляются с выровненным грунтом.

4.7. Деревянные поверхности, подлежащие облицовке, накрывают металлической (штукатурной) сеткой по брускам или металлическому каркасу, прикрепляемому гвоздями с прокладкой гидроизоляционного слоя (рубероида, гидростеклоизола). Между металлической сеткой и облицовываемой поверхностью должен быть оставлен зазор, равный 20-25 мм. Металлическая сетка должна быть полностью оштукатурена цементной растворной смесью с добавлением волокнистых веществ (очесов, асбеста). Толщина слоя раствора должна быть не менее 16 мм (рис. 1).

 

Рис. 1. Облицовка керамическими плитками по дереву:

1 – керамические плитки;

2 – прослойка из растворной смеси;

3 – грунт из цементной растворной смеси;

4 – тканая проволочная сетка;

5 – гидроизоляционный слой (рубероид, гидростеклоизол);

6 – обшивка деревянной перегородки;

7 – бруски 20 х 30 мм

 

4.8. Облицовка керамическими плитками гипсолитовых перегородок производится также по сетке.

4.9. Разметка облицовываемой поверхности и установка на ней маяков производится по выровненной и подготовленной поверхности в следующей последовательности.

4.9.1. Определяют верхнюю границу панели (при облицовке стен не на всю высоту) и низ облицовки, если не выполнено покрытие пола. Производят провешивание стен для определения номинальной толщины облицовки.

4.9.2. На отметке чистого пола по уровню укладывают деревянные рейки по периметру стен, подлежащих облицовке; забивают стальные штыри выше уровня верха облицовки и ниже уровня чистого пола.

4.9.3. Между верхними и нижними штырями натягивают по отвесу и закрепляют шнуры, которые фиксируют направление вертикального шва и боковые грани облицовки; их сохраняют до окончания работ.

4.9.4. Устанавливают насухо на деревянную рейку первый ряд плиток для определения необходимого количества целых плиток в ряду и разметки положения горизонтальных и вертикальных швов.

4.9.5. В одной плоскости с первым рядом устанавливают маячные плитки (две вверху -на пересечении отбитой линии верха облицовки и опущенных шнуров с верхних штырей на нижние; две внизу - выше первого ряда плиток и опущенных шнуров с верхних штырей и закрепленных ниже отметок чистого пола) на слое из растворной смеси или мастики. При длине облицовываемой поверхности более 4 м устанавливают промежуточные маячные плитки (рис.2).

 

Рис. 2. Схема облицовки стены:

1 – металлические штыри;

2 – маячные плитки;

3 – маяк;

4 – переставной штырь;

5 – доска (брусок)

6 – вертикальный шнур;

7 – горизонтальный шнур

 

4.10. Сортировка, резка плиток и сверление в них отверстий.

4.10.1. Плитки, доставленные на объект, до начала облицовки сортируют: по размерам при помощи шаблона или специальных приспособлений; по цвету, тону и рисунку, сравнивая с принятыми эталонами. Особое внимание обращают на внешний вид плиток. Они должны отвечать требованиям, изложенным в п. 2.2.2. Отсортированные плитки укладывают на ребро в ящики-кассеты. Отбракованные плитки укладывают в отдельные ящики для использования на других работах. При сортировке по цвету в качестве образца принимают одну из плиток преобладающего в доставленной партии тона.

4.10.2. Для облицовки смежных поверхностей одной и той же конструкции (стен, столбов) допускается применять в одном помещении плитки разного оттенка. Можно также применять в одном помещении плитки несколько различающиеся по размерам, соблюдая при этом основное условие - для каждого горизонтального ряда облицовки используют плитки только одного размера по высоте, допуская при этом разную их ширину и подбирая для каждого вертикального ряда комплект одноразмерных плиток по ширине.

4.10.3. В процессе установки плиток в местах их примыкания к стенам, трубным разводкам и т.п. производят резку плиток рычажным плиткорезом, резцом с победитовой вставкой или стеклорезом с победитовым роликом, а для сверления отверстий - развертку и др. инструменты, в т.ч. коловорот, специальные кусачки.

4.10.4. При диаметре отверстий более 8 см необходимо разрезать плитку на две части, проходящие через центр отверстия, после чего из этих частей вырезают полукруги. При пропуске через облицовку труб горячего водоснабжения или отопления отверстия выполняют с зазором 2-3 мм между плиткой и поверхностью трубы для компенсации возможных температурных деформаций.

4.11. Установка плиток на мастике.

4.11.1. Керамические плитки, наклеенные на мастике, имеют более прочное сцепление с основанием, чем на растворной смеси. Это свойство мастик особенно важно при наклеивании плиток в помещениях, подверженных резким перепадам температур, вибрации, а также при облицовке крупнопанельных стен и перегородок с оштукатуренной (гладкой) поверхностью.

4.11.2. Наклеивание плиток на основание выполняют различными способами: флоутинга - нанесение мастики непосредственно на основание, батеринга - нанесение мастики на тыльную сторону плиток, комбинированный - нанесение мастики как на поверхность основания, так и на тыльную сторону плиток.

4.11.3. Выбор вида мастики и способа наклеивания плиток зависит от условий их применения. В любом случае необходимо соблюдать инструкцию изготовителя по применению.

4.11.4. Установку плиток на мастике рекомендуется начинать с огрунтовки подготовленной поверхности 7 % поливинилацетатной дисперсией, подготовки плиток и мастик.

4.11.5. По установленным маячным плиткам (п. 4.1.9.) натягивают шнур, который служит верхней границей следующего ряда плиток.

4.11.6. К установке плиток приступают после того, как грунтовка впитывается в основание, но еще сохраняет липкость. На огрунтованную поверхность основания мастику наносят тонким слоем гладкой стороной шпателя, затем новый слой мастики, который разглаживают зубчатой стороной шпателя так, чтобы образовалась шероховатая поверхность для плотного прилегания плиток. Толщина слоя мастики - 2...3 мм, которая зависит от рельефа тыльной стороны плиток, вида мастики, высоты и шага зубьев шпателя (гладилки). Мастику нельзя наносить одновременно на слишком большую поверхность, т.к. мастика сохраняет свои клеящие свойства ограниченное время, в течение 15-30 мин (в зависимости от типа основания, вида мастики и температурно-влажностного режима в помещении).

4.11.7. С тыльной стороны плиток влажной кистью удаляют пыль. Плитки поочередно прикладывают к слою мастики и плотно прижимают к основанию так, чтобы под плитками не оказалось пустот. Излишки мастики сразу же удаляют с поверхности облицовки влажной ветошью. Тыльную сторону плиток не увлажняют, т.к. это снижает прочность ее сцепления с мастикой.

4.11.8. После того, как плитки установлены в ряду, в швы закладывают фиксаторы крестовидной формы, регулирующие ширину вертикальных и горизонтальных швов облицовки. Ширина швов между приклееными плитками должна быть 2-3 мм в зависимости от геометрических размеров плиток.

4.11.9. В процессе облицовки систематически проверяют качество приклеивания плиток, которые должны плотно прилегать к основанию.

4.11.10. Во время облицовки швы расчищают и оставляют незаполненными для того, чтобы влага могла свободно испаряться из мастики.

4.11.11. Расшивка швов производится после того, как мастика затвердеет, но не ранее, чем через 48 ч после установки плиток.

4.11.12. Для расшивки швов применяют растворные смеси и составы, технические требования к которым изложены в п. 2.4. Перед нанесением смеси швы необходимо расчистить и увлажнить. Растворную смесь наносят на плитки и уплотняют в швах резиновой пластинкой, излишки удаляют.

4.11.13. Спустя 30-45 мин в зависимости от температуры и влажности воздуха поверхность облицовки очищают от следов раствора сначала влажной, а потом сухой ветошью. Для удаления масляных пятен и следов мастики применяют керосин или другие чистящие вещества.

4.12. Установка плиток на растворной смеси.

4.12.1. Установку плиток на растворной смеси предпочтительно выполнять, когда:

- керамические плитки имеют четко выраженную рельефную тыльную сторону;

- поверхность под облицовку имеет значительные отклонения от плоскости и ее выравнивание слоем растворной смеси нецелесообразно.

4.12.2. Для крепления керамических плиток рекомендуется использовать растворные смеси, приготовленные из сухих смесей, отвечающих техническим требованиям, изложенным в п.2.3.

4.12.3. Установку плиток на растворной смеси ведут в той же последовательности, что и на мастиках. Толщина раствора должна быть 5-7 мм.

4.12.4. Перед облицовкой подготовленную поверхность необходимо увлажнить кистью-макловицей. Это уменьшает впитывание влаги из растворной смеси и повышает прочность сцепления с основанием.

4.12.5. Перед установкой тыльную поверхность плиток следует очистить от пыли влажной ветошью, а затем этой стороной провести по растворной смеси, находящейся в ящике. Такая обработка тыльной стороны плиток повышает прочность сцепления ее с раствором. Не следует погружать плитки в воду. Растворная смесь наносится плиточной лопаткой (мастерком) на тыльную сторону плитки равномерным слоем в виде усечённой пирамидки. Излишки растворной смеси срезают лопаткой. Под плиткой не должно оставаться пустот.

4.12.6. Плитку с растворной смесью подносят в горизонтальном положении к месту установки, а затем быстро поворачивают в вертикальное положение, прижимают к облицовываемой поверхности и осаживают до общей плоскости облицовки. Выступившую с краев плитки растворную смесь снимают лопаткой.

4.12.7. Для соблюдения заданной ширины швов между плитками устанавливают пластмассовые фиксаторы. Ширина швов между плитками должна быть 2-3 мм.

4.12.8. В процессе облицовки систематически проверяют ровность облицованной поверхности рейкой длиной 2 м.

4.12.9. Во время облицовки швы расчищают поставляют незаполненными. Расшивка швов производится через 24 ч после установки плиток по технологии, изложенной в п. 4.11.13.

5. ТЕХНОЛОГИЯ УСТРОЙСТВА ПОКРЫТИЯ ПОЛОВ

5.1. Покрытия полов из крупноразмерных керамических плиток выполняются по бетонным основаниям, железобетонным плитам перекрытий или по стяжкам из цементно-песчаной растворной смеси марки не ниже 150. Устройство таких покрытий полов по асфальтобетонным стяжкам не допускается.

5.2. Качество оснований под покрытия полов должно отвечать требованиям, изложенным в п. 3.3.

5.3. Работы по устройству покрытий полов выполняются в следующей технологической последовательности:

- проверка пригодности основания;

- подготовка основания (очистка от грязи, промывка, выравнивание и др.);

- разметка площади пола и установка маячных плиток;

- сортировка и подготовка плиток;

- укладка и разравнивание слоя растворной смеси;

- укладка плиток;

- заполнение швов между плитками и очистка покрытия пола.

5.4. Ровность основания контролируют рейкой длиной 2 м, перемещаемой по поверхности в продольном и поперечном направлениях. В просвет между основанием и рейкой вставляют шаблон или пластинчатый щуп для определения величины просвета. Горизонтальность основания проверяют гибким (водяным) уровнем или контрольной рейкой и строительным уровнем.

5.5. Неровность и отклонения от горизонтали, превышающие допустимые величины, подлежат исправлению. Выпуклости срубают, а впадины, выбоины выравнивают полимерцементной смесью или другими, указанными в п. 2.5. Увеличение толщины слоя сверх нормативов (см. табл. 2.2.) приводит не только к снижению качества покрытия пола, но и к значительному увеличению стоимости. Выравнивание основания производится по предварительно очищенной и огрунтованной поверхности 7 % поливинилацетатной дисперсией. Участки основания, загрязненные маслом или жиром, вырубают и заделывают свежеуложенной растворной смесью.

5.6. После исправления дефектов, выявленных на поверхности основания, производится его очистка от пыли, грязи, раствора и разметка площади пола с установкой маяков. Форму пола проверяют шнуром, натянутым из противоположных углов помещения по его диагоналям. Одинаковый размер диагоналей свидетельствует о наличии прямых углов. В таких помещениях разметка покрытия пола сводится к разметке фриза (если предусмотрено проектом) и установке маяков по заданным отметкам пола. Если диагонали не равны, то поверхность пола имеет неправильную форму. В этом случае основной фон и фризы настилают правильной формы, а между фризом и стеной закладывают "заделку". Для заделки рекомендуется применять плитки того цвета, который имеет основной фон покрытия.

5.7. Разметку пола рекомендуется производить с таким расчетом, чтобы по длине и ширине помещения укладывалось целое число плиток. При необходимости плитки режут рычажным плиткорезом.

5.8. Разметка завершается установкой маяков, фиксирующих уровень чистого пола. Отметку уровня чистого пола необходимо увязывать с уровнем полов и площадок примыкающих помещений.

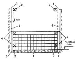
5.9. Установку маяков начинают с установки реперного маяка у стены, а по нему устанавливают все остальные. Схема размещения маячных плиток приведена на рис. 3.

 

Рис. 3. Схема размещения маячных плиток при настилке пола:

I-IV – угловые фризовые плитки; 1-6 – промежуточные маячные фризовые плитки; 7, 8 – промежуточные маячные рядовые плитки; 9 – реперный маяк у стены

 

5.10. Перед устройством покрытия пола плитки сортируют по размеру, цвету, оттенку, рисунку и т.д. (см. п. 4.10.1).

5.11. После укладки фриза и поперечных полос, приступают к укладке "заделки" и основного фона. Работы ведут отдельными полосами-захватками, которые располагают вдоль стены большей длины. Поскольку более ровными получаются швы, расположенные вдоль шнура-причалки, рекомендуется в тех помещениях, где двери и окна находятся в продольных стенах, назначать захватки поперек помещения. Примерная разбивка фронта работ на захватки приведена на рис. 4.

 

Рис. 4. Разбивка фронта работ на захватки:

I-IV – продольные захватки; V – захватка, настилаемая поперек помещения; 1 – провеска; 2 – фризы

 

5.12. Последовательность работ на каждой захватке различная и зависит от расположения входа в помещение. Показанная на рис. 4 последовательность работ на захватках I-V исключает хождение по свежеуложенным плиткам, что повышает качество покрытия пола.

5.13. Крупноразмерные керамические плитки толщиной 7,5-9 мм рекомендуется укладывать на слой растворных смесей и клеящих мастик, приготовленных из сухих смесей заводского изготовления. Технические характеристики и способы их приготовления приведены в пп. 2.3.2 и 2.3.3. Указанные составы наносятся более тонкими слоями, обеспечивая лучшее сцепление плиток с основанием, чем применение обычных цементно-песчаных растворных смесей с толщиной слоя около 15 мм.

5.14. Устройство покрытия пола из крупноразмерных керамических плиток на обычных цементно-песчаных растворных смесях рекомендуется выполнять, когда толщина плиток более 13 мм, они имеют четко выраженную профилированную тыльную сторону, основание под покрытие пола имеет большие неровности и его необходимо выравнивать.

5.15. Укладка плиток в покрытие пола должна начинаться с маячных плиток в углах помещения, от которых параллельно двум противоположным стенам помещения настилают маячные ряды по шнуру и рейке с уровнем с предварительной раскладкой плиток насухо. После этого приступают к окончательной укладке маячных рядов плиток вдоль разбивочных осей и по контуру от угловых маяков и среднего маячного ряда.

5.16. Захватку на всю ширину и длину не менее 1 м заполняют лопатой растворной смесью, по основанию, предварительно смоченному водой. Смесь разравнивают зубчатым шпателем до толщины слоя 5-7 мм. Ширина уложенного слоя должна превышать ширину захватки на 20-30 мм. Не рекомендуется растворную смесь наносить сразу на большую поверхность, т.к. она сохраняет свои клеящие свойства в течение 15-20 мин.

5.17. Перед укладкой тыльную сторону плиток увлажняют кистью или ветошью, удаляя пыль и загрязнения. В противном случае плитка впитывает воду из растворной смеси, снижая прочность сцепления с основанием.

5.18. Плитки укладывают по угольнику поперек захватки на слой свежеуложенной растворной смеси (рис. 5), осаживая их легкими ударами плиточной лопатки (мастерка). После того, как плитки будут уложены по всей длине захватки, в швы между кромками плиток укладывают фиксаторы, регулирующие ширину поперечных и продольных швов. Для устранения возможных искривлений ряда к кромкам плиток прикладывают правило и, ударяя по нему молотком, выправляют весь уложенный ряд. После настилки 5-6 поперечных рядов уложенную часть покрытия выравнивают легкими ударами молотка по уложенной на плитки доске. Правильность укладки плиток систематически проверяют во всех направлениях контрольной рейкой.

 

Рис. 5. Укладка полосок из одного ряда плиток по угольнику

 

5.19. При укладке керамических плиток толщиной 7,5-9 мм на мастике, последнюю наносят на сухое основание лопаткой, а затем обрабатывают зубчатым шпателем. Размер и форма зубьев шпателя должны обеспечивать нанесение мастики слоем 2-3 мм. После укладки плиток их прикатывают широким мягким валиком для того, чтобы равномерно и плотно пригнать их к основанию.

5.20. Независимо от способа укладки и вида растворной смеси или мастики плитки необходимо укладывать с шириной швов 3-4 мм. Для обеспечения заданной ширины швов рекомендуется применять крестообразные пластмассовые фиксаторы.

5.21. Наличие таких швов между плитками дает возможность учитывать отклонения по форме и размерам, неизбежные в процессе их производства при обжиге.

5.22. При устройстве покрытия в помещениях площадью более 15 м2 рекомендуется применять различные шаблоны: сетчатые - из металлических стержней диаметром 2,5-3 мм или клеточные - из пластмассы (рис. 6).

 

 

Рис. 6. Укладка плиток на прослойку из растворной смеси при помощи клеточного шаблона:

1 – крупноразмерная керамическая плитка, приготовленная для укладки; 2 – укладка плитки в шаблон; 3 – контрольная рейка; 4 – подножка; 5 – нанесенная на основание прослойка из растворной смеси

 

5.23. Заделку швов плиток, уложенных на слой мастики, следует производить только после полного высыхания мастики (не ранее 48 ч).

5.24. Законченное покрытие очищают от грязи и следов раствора или мастики, засыпают древесными опилками слоем толщиной 20-30 мм и выдерживают в течение 7-10 суток во влажном состоянии (в зависимости от влажности и температуры воздуха в помещении).

6.ТРЕБОВАНИЯ К КАЧЕСТВУ ОБЛИЦОВОК СТЕН И ПОКРЫТИЙ ПОЛОВ ИЗ КРУПНОРАЗМЕРНЫХ КЕРАМИЧЕСКИХ ПЛИТОК

6.1. На облицованной поверхности стен и покрытий пола не допускаются сколы, трещины, пятна, подтеки клеящих составов.

6.2. Цвет и рисунок облицовочных и напольных плиток и всей облицованной поверхности должен соответствовать проекту.

6.3. Швы между плитками должны быть заполненными, прямолинейными, взаимно перпендикулярными и одинаковой ширины. Отклонения расположения швов: от вертикали и горизонтали для облицовок стен (на 1 м длины) не должны превышать 1,5 мм (на этаж - 4 мм); от прямолинейного направления в покрытии полов (на 10 м длины ряда) - 10 мм.

6.4. Отклонения ширины шва от заданной проектом ±0,5 мм.

6.5. Не допускается наличие пустот между облицовываемой поверхностью, слоем раствора и плитками.

6.6. Не допускается отслоение покрытия пола от прослойки и облицовки стен от облицовываемой поверхности.

6.7. Неровности плоскости (при контроле рейкой длиной 2 м):

- облицовки стен - до 2 мм;

- покрытий полов - до 4 мм.

6.8. Отклонения покрытий пола от горизонтальной плоскости или заданного уклона не должны быть более 0,2 % размеров помещения, но не более 50 мм на всю длину или ширину помещения.

6.9. Смежные плитки для покрытий полов не должны иметь уступы, превышающие 1 мм.

7. ТРЕБОВАНИЯ БЕЗОПАСНОСТИ

7.1. При проведении работ необходимо соблюдать требования безопасности, предусмотренные СНиП III-4-80 "Техника безопасности в строительстве", "Руководства по учету техники безопасности и производственной санитарии в проектах производства работ", а также инструкций и указаний по применению растворных и сухих смесей, клеящих, составов, по эксплуатации машин, грузоподъемных механизмов, электрифицированного инструмента, лесов и подмостей при работе на высоте.

7.2. В помещениях, где производятся работы по облицовке стен и настилке полов, не должно быть сквозняков. В них необходимо поддерживать нормальный температурный режим.

7.3. Рабочее место, место подъема и приемки материалов и все помещения, по которым материалы доставляются к месту работы, должны быть освещены постоянными или переносными светильниками. Переносные светильники должны быть только заводского изготовления и исключать возможность прикосновения к токоведущим частям. Для переносных светильников напряжение должно быть не выше 36 В, а в особо опасных местах- не выше 12 В. Ручной переносной светильник должен иметь металлическую сетку для защиты лампы, устройство для его подвески или установки и шланговый провод с вилкой, исключающей возможность его включения в розетку с напряжением сети выше 36 В.

7.4. Во время насечки бетонных, железобетонных поверхностей вручную или механизированным способом рабочие должны пользоваться защитными очками с небьющимимся стеклами, работать в рукавицах.

7.5. Подколка, сверление отверстий в плитках производится только исправным инструментом в рукавицах и защитных очках. Запрещается указанные работы производить на коленях.

7.6. Осмотр, чистку и ремонт растворосмесителей разрешается производить после полной их остановки при выключенном и запертом на замок рубильнике.

7.7. При производстве облицовочных работ необходимо предохранять руки от соприкосновения с растворными смесями и клеящими мастиками, работать в резиновых перчатках.

7.8. Приготовляя растворы кислот, следует осторожно вливать небольшими порциями кислоту в воду, а не наоборот. При этом необходимо иметь 10% раствор соды для нейтрализации кислоты в случае неосторожного обращения с ней.

7.9. При работе с цементом, сухими смесями и пигментами необходимо пользоваться защитными очками и респираторами.

7.10. Не допускается: производить облицовочные работы на не огражденных рабочих местах, расположенных на высоте более 1,3 м над уровнем пола или перекрытия; использовать приставные лестницы при облицовке стен; производить облицовочные работы со случайных средств подмащивания.

 

Приложение

Перечень инструментов, приспособлений, оборудования и инвентаря, рекомендуемых при устройстве облицовок стен и покрытий полов из крупноразмерных керамических плиток

№ п/п

Наименование

Индекс, марка, ГОСТ, ТУ

Назначение

1

Молоток слесарный с квадратным бойком

ГОСТ 2310-77*

Для различных операций

2

Скребок для очистки поверхности ИР-700

ТУ 22-4629-80

Очистка поверхностей от наплывов раствора

3

Скарпель для плиточных работ

ТУ 22-4399-79

Скалывание неровностей на подготавливаемой поверхности

4

Зубило слесарное 20х60°

ГОСТ 7211-86*

Рубка бетона и арматуры, скалывание бетона

5

Бучарда штукатурная

ТУ 22-1066-67

Насечка бетонных поверхностей

6

Щетка стальная прямоугольная

ТУ 494-01-104-76

Очистка поверхностей от пленки и грязи

7

Кисть-макловица

ГОСТ 10597-87*

Смачивание водой облицовываемых поверхностей

8

Резец для плиток

ГОСТ 19259-73*

Резка керамических плиток

9

Плиткорез рычажный

Р.ч. ЕН/18.005 СКБ Мосстрой

Резка керамических плиток

10

Молоток плиточный

ГОСТ 11042-90

Околка и подтеска кромок керамических плиток

11

Молоток-кирочка для плиточных работ

Р.ч. 145 Минстройдормаш

То же

12

Приспособление для сверления отверстий

Трест Киевгорстрой-2

Сверление отверстий в плитках

13

Коловорот

Р.ч. ЕН/18-008 СКБ Мосстрой

Вырезка отверстий в керамических плитках

14

Развертка для плиточных работ

ТУ 22-3561-76

Образование отверстий в керамических плитках

15

Кусачки для плиточных работ

ТУ 22-2758-73

Расширение отверстий в керамических плитках

16

Лопата растворная

 

Перелопачивание растворных смесей в ящике и его выгрузка

17

Ковш для отделочных работ

 

Набрасывание растворной смеси на облицовываемую поверхность

18

Лопатка плиточная

ГОСТ 9533-81

Нанесение и разравнивание растворной смеси

19

Шпатели зубчатые разные

ТУ 22-3058

Разравнивание растворной смеси, мастики

20

Штыри для плиточных работ

ТУ 22-4401

Закрепление шнура при облицовке стен и полов

21

Фиксаторы пластмассовые

 

Фиксация ширины шва между кромками плиток

22

Отрезовка

ГОСТ 9533-81

Осаживание плитки и снятие выступающей растворной смеси

23

Киянка прямоугольная деревянная

ТУ 3946-77

Осаживание плиток в растворную смесь

24

Молоток резиновый

 

Осаживание плиток

25

Шпатель стальной с обрезиненной рукояткой

 

Очистка швов, снятие излишков раствора, осаживание керамических плиток

26

Расшовка с набором фигурных полотен

 

Расшивка швов при облицовке плитками

27

Рулетка металлическая

ГОСТ 7502-89*

Линейные измерения

28

Угольник металлический

ТУ 22-4400-79

Разметка и проверка прямых углов

29

Шнур разметочный в корпусе

ТУ 22-4633-80

Провешивание поверхностей и разбивка осей

30

Шнур разметочный хлопчатобумажный или капроновый

 

То же

31

Уровень строительный

ГОСТ 9416-83

Проверка горизонтальности и вертикальности поверхностей

32

Уровень строительный

 

Проверка горизонтальности поверхностей

33

Уровень гибкий (водяной)

ТУ 25-11-760-72

То же

34

Отвес стальной строительный

ГОСТ 7948-80

Провешивание поверхностей стен

35

Рейка-правило

 

Проверка горизонтальности и вертикальности поверхностей

36

Конус стандартный

ГОСТ 5802-86

Определение подвижности растворной смеси

37

Контрольная рейка

 

Для проверки ровности оснований и облицовок

38

Линейка металлическая

ГОСТ 427-75*

Для линейных измерений

39

Клетчатый или решетчатый шаблон

 

Для укладки плиток

40

Ручная тележка

 

Для транспортирования плиток и растворной смеси

41

Шаблон

 

Для сортировки плиток по размеру

42

Ведра

 

Для транспортировки воды, мастик и др.

43

Растворосмеситель

СО-46А, СО-46Б, СО-23В, СО-26В

Для приготовления растворной смеси

 

 



уроки по алготрейдингу на Python с нуля



Яндекс цитирования

   Copyright © 2008-2026 ,  www.infosait.ru

backtrader - уроки алготрейдинга на python