|
|
Все документы, представленные в каталоге, не являются их официальным изданием и предназначены исключительно для ознакомительных целей. Электронные копии этих документов могут распространяться без всяких ограничений. Вы можете размещать информацию с этого сайта на любом другом сайте.
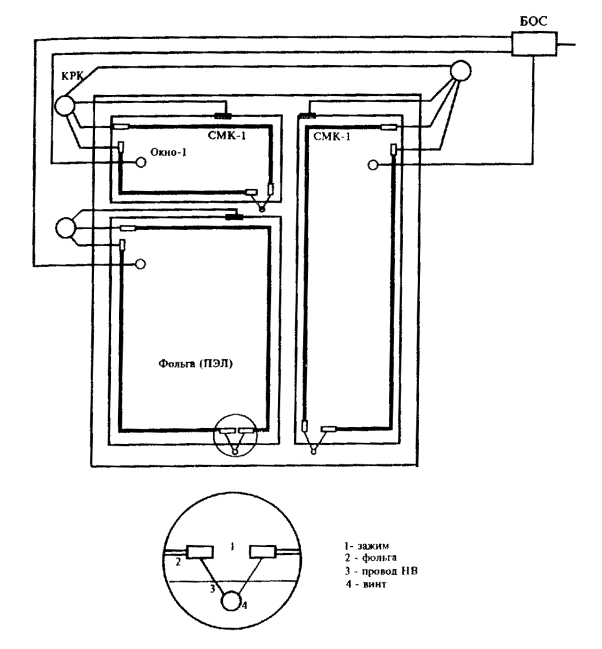
МИНИСТЕРСТВО ВНУТРЕННИХ ДЕЛ РОССИЙСКОЙ ФЕДЕРАЦИИ Главное управление вневедомственной охраны Утверждено Начальником ГУВО МВД России В.С. Рябовым «22» декабря 1993 г. ПОСОБИЕ РД 78.145-93 МОСКВА 1995 г. РАЗРАБОТАНО НИЦ ''Охрана'' вниипо мвд россии гуво мвд россии УТВЕРЖДЕНО ГУВО МВД РОССИИ РАЗРАБОТЧИКИ В.Г. Синилов, А.А. Антоненко, Е.П. Тюрин, Л.И. Савчук, В.Д. Беляев ВВЕДЕНО взамен Пособия к Всн 25.09-85 (Минприбор) Содержание 1. ОБЩИЕ ПОЛОЖЕНИЯ1.1. Настоящие требования распространяются на производство работ по монтажу, настройке и сдаче в эксплуатацию объектовых и периметральных технических средств охранной, пожарной и охранно-пожарной сигнализации (далее по тексту "сигнализации"), устанавливаемых в зданиях, строениях, помещениях, на ограждениях (далее по тексту "объектах"). 1.2. К монтажным работам допускаются организации и частные лица, имеющие лицензии установленного образца, дающие право на проведение этих работ. 1.3. При монтаже объектовых и периметральных технических средств сигнализации должны соблюдаться требования СНиП, ПУЭ, РД 78.145-92 "Системы и комплексы охранной, пожарной и охранно-пожарной сигнализации. Правила производства и приемки работ", действующих государственных и отраслевых стандартов, других нормативных документов. 1.4. Настоящие требования обязательны для выполнения всеми организациями и частными лицами проводящими, работы по монтажу, настройке и сдаче в эксплуатацию технических средств сигнализации. Требования к проектно-сметной документации 1.5. Порядок получения, рассмотрения, согласования и утверждения проектно-сметной документации должен соответствовать требованиям СНиП 1.02.01-85. По объектам, охраняемым или подлежащим передаче подразделениям вневедомственной охраны при органах внутренних дел (в дальнейшем - "подразделения охраны"), проектно-сметная документация должна согласовываться с данными подразделениями. Срок рассмотрения и согласования проектно-сметной документации - один месяц. Срок действия согласования - два года. 1.6. Заказчик (генподрядчик) передает монтажно-наладочной организации рабочую документацию в составе: проектную - в двух экземплярах; сметную - в одном экземпляре. 1.7. При приеме проектно-сметной документации монтажно-наладочная организация проверяет ее комплектность, наличие штампа "Разрешено к производству" и утверждающую подпись ответственного представителя заказчика, заверенную печатью. 1.8. Проектно-сметная документация, по которой со времени утверждения и по истечении двух лет по каким-либо причинам не были начаты монтажные работы, повторно рассматривается проектной организацией - разработчиком проекта, согласовывается и утверждается в установленном порядке, а заказчик ставит новый штамп "Разрешено к производству". 1.9. Монтажно-наладочная организация рассматривает проектно-сметную документацию и представляет заказчику обоснованные замечания. 1.10. В случае если в переданную проектно-сметную документацию заказчик вносит изменения в установленном порядке, он должен в согласованные сроки до начала производства работ дополнительно передать монтажно-наладочной организации два экземпляра измененной документации и перечень аннулированных чертежей и документов. При наличии разногласий между заказчиком и монтажно-наладочной организацией, возникших при согласовании проектно-сметной документации, они рассматриваются в установленном порядке. 1.11. Отступления от проектной документации при монтаже технических средств сигнализации не допускаются без согласования с проектной организацией-разработчиком проекта, а по объектам, охраняемым или подлежащим передаче под вневедомственную охрану - и с подразделениями охраны. 1.12. На объектах, охраняемых или подлежащих передаче под вневедомственную охрану, допускается производить монтажные работы по актам обследования в соответствии с типовыми проектными решениями за исключением объектов: нового строительства; находящихся под надзором органов государственного контроля за использованием памятников истории и культуры; имеющих взрывоопасные зоны. Для составления акта обследования создается комиссия в составе представителей заказчика, подразделения охраны, подразделения госпожнадзора и, при необходимости, монтажно-наладочной организации. 1.13. В отдельных случаях, по согласованию с органами государственного контроля использования памятников истории и культуры, допускается выполнение монтажных работ по актам обследования. 1.14. Срок действия акта обследования - не более двух лет. Действие акта может быть продлено на тот же срок комиссией в составе, указанном в п. 1.12. Форма акта обследования приведена в рекомендуемом приложении 1. Отступления от актов обследования и типовых проектных решений в процессе монтажа технических средств сигнализации не допускаются без согласования с заказчиком, подразделениями госпожнадзора и подразделениями охраны. Подготовка к производству работ 1.15. К производству работ по монтажу технических средств сигнализации приступают в сроки, предусмотренные договором. При этом монтажно-наладочной организацией должна быть произведена следующая подготовительная работа: принята и изучена проектно-сметная документация; принята строительная часть объекта согласно СНиП 3.05.06-85; приняты от заказчика (генподрядчика) материалы, технические средства сигнализации, подлежащие монтажу, в количестве и номенклатуре предусмотренных проектом; проверено наличие электрического освещения в зоне монтажа; изготовлены металлоконструкции; разработаны и утверждены проект производства работ в соответствии с РД 78.145-92 или с актом обследования. 1.16. Технические средства сигнализации, материалы, техническая документация предприятий-изготовителей (паспорт, монтажно-эксплуатационные инструкции на технические средства, сертификаты на материалы) передаются заказчиком (генподрядчиком), монтажно-наладочной организации в порядке и сроки, установленные действующими "Правилами о договорах подряда на капитальное строительство", "Положением о взаимоотношениях организаций - генеральных подрядчиков с субподрядными организациями" и графиком поставки материалов, входящим в состав проекта производства работ. Приемка зданий, строений, сооружений (ограждений зон периметра) и помещений для монтажа (под монтаж) технических средств сигнализации 1.17. На объектах, сдаваемых под оборудование техническими средствами сигнализации, должны быть выполнены строительные работы, предусмотренные к этому времени комплексным сетевым графиком или календарным планом производства работ, в том числе: обеспечены условия безопасного производства монтажных работ, отвечающие санитарным и противопожарным нормам; проложены постоянные или временные сети, подводящие к объекту электроэнергию, с устройствами для подключения электропроводок потребителей; выполнены в соответствии с архитектурно-строительными чертежами для производства монтажа проемы, отверстия, штробы, борозды, ниши и гнезда в фундаментах, стенах, перегородках и перекрытиях, а также установлены в них закладные устройства; укреплены строительные конструкции (проемы окон, дверей и т.п.), стекла вставлены и очищены от загрязнений, подвесные потолки и фальшполы раскрыты; установлены ограждения (забор) по периметру объекта или периметрам охраняемых площадок, отвечающие требованиям СН 441-72; установлены силами заказчика бетонные опоры, фундаменты, колодцы, колонны, стойки и столбы; выделены и расчищены зоны под монтаж периметральных технических средств охранной сигнализации (ПОС.), в которых не должно быть кустарника, деревьев. При необходимости защиты от случайных проникновений людей и животных в охраняемую зону, установлены дополнительные ограждения высотой не менее 1 м (в виде металлической сетки или других материалов), предусмотренные проектом или актом обследования; проложены защитные трубы или смонтированы сооружения кабельной канализации в грунтах, под проезжей частью асфальтобетонных дорог и железнодорожными путями, через водные преграды, для последующего монтажа кабельных линий связи и другой проводной продукции; обеспечена строительная готовность и ввод двух независимых источников электроснабжения. В помещениях, где устанавливаются приемно-контрольные приборы (ПКП), сигнально-пусковые устройства (СПУ) или пульты централизованного наблюдения (ПЦН); 1.18. Оборудуемое техническими средствами ПОС ограждение должно быть прямолинейным, без лишних поворотов, ограничивающих наблюдение и затрудняющих их (средств) применение, без наружных выступов и впадин, облегчающих его преодоление. К ограждению с внешней и внутренней стороны не должны примыкать какие-либо пристройки кроме зданий, выходящих на периметр и являющихся его частью. Периметр ограждения разбивается на отдельные зоны (блок участки) с выдачей самостоятельных сигналов на ПКП или ПЦН. Длина блок участка выбирается, исходя из рельефа местности, конфигурации внешнего ограждения и технических требований к размещению конкретного технического средства ПОС. 1.19. При расширении и реконструкции предприятий строящаяся часть объекта должна отгораживаться от действующей временным охраняемым ограждением. 1.20. К производству работ по монтажу технических средств сигнализации приступают после подписания акта готовности объекта, согласно рекомендуемому приложению 2. Поставка, хранение и сдача технических средств сигнализации 1.21. Технические средства сигнализации поставляются заказчиком комплектно в соответствии со спецификациями проекта или акта обследования и передаются в монтаж по заявкам монтажно-наладочной организации согласно "Положению о взаимоотношениях организаций - генеральных подрядчиков с субподрядными организациями". Передача заказчиком технических средств сигнализации монтажно-наладочной организации оформляется актом по форме Госкомстата РФ. 1.22. Условия хранения технических средств ПОС. на складах должны отвечать требованиям, приведенным в технической документации предприятий-изготовителей, а также требованиям правил пожарной безопасности. Условия хранения кабельной продукции и материалов должны отвечать требованиям СНиП 3.05.06-85 и СНиП 3.05.07-85. 1.23. Перед передачей в монтаж технические средства сигнализации подвергаются входному контролю. Основными документами, по которым проводится контроль качества изделия и материалов, являются ГОСТ 24297-87, СНиП 3.01.01-85, инструкция по организации входного контроля, либо другой документ ее заменяющий. Входной контроль технических средств сигнализации проводится в следующем порядке: проверка наличия и полноты технической документации; внешний осмотр; проверка комплектности изделий; проверка характеристик (параметров) изделий; наличие специального инструмента и приспособлений, поставляемых предприятиями-изготовителями. Результат входного контроля оформляется по форме рекомендуемого приложения 3. 2. ОБЩИЕ ТРЕБОВАНИЯ ПО МОНТАЖУ ТЕХНИЧЕСКИХ СРЕДСТВ СИГНАЛИЗАЦИИ2.1. Монтаж объектовых технических средств сигнализации. 2.1.1. Объекты оборудуются, как правило, раздельными охранными и пожарными шлейфами сигнализации. Допускается включение охранных и пожарных извещателей в один шлейф сигнализации при круглосуточной работоспособности пожарной сигнализации в соответствии со схемой, приведенной в рекомендуемом приложении 4. 2.1.2. Работы по монтажу объектовых технических средств сигнализации при строительстве объекта должны осуществляться в три этапа. 2.1.3. На первом этапе должны выполняться работы, указанные в п. 1.17 настоящего пособия. Работы первого этапа должны выполняться одновременно с производством основных строительных работ. 2.1.4. На втором этапе должны выполняться работы по монтажу защитных труб электропроводок, извещателей, оповещателей, щитов, приемно-контрольных приборов, сигнально-пусковых устройств и подключению к ним электропроводок. Работы второго этапа должны выполняться после окончания строительных и отделочных работ. 2.1.5. На третьем этапе должны выполняться работы по электрической проверке, регулировке установленных технических средств сигнализации. ПРИМЕЧАНИЕ. Работы третьего этапа завершаются оформлением акта об окончании монтажных работ по форме рекомендуемого приложения 5, если подрядная организация выполняет только монтаж технических средств сигнализации. При этом подрядная организация должна участвовать в комиссии по сдаче смонтированных технических средств в эксплуатацию. 2.1.6. На действующих и реконструируемых объектах работы по монтажу технических средств сигнализации должны осуществляться в два этапа: первый этап - согласно п. 2.1.4., второй этап - согласно п. 2.1.5. настоящего пособия. 2.2. Монтаж периметральных технических средств сигнализации. 2.2.1. Работы по монтажу периметральных технических средств сигнализации должны осуществляться в два этапа. 2.2.2. На первом этапе должны выполняться работы по монтажу защитных трубопроводов электропроводок, извещателей, оповещателей, щитов, ПКП, промышленных телевизионных установок (ПТУ) и подключению к ним электрических проводок. Работы первого этапа должны выполняться после окончания строительных и отделочных работ. 2.2.3. На втором этапе должны выполняться работы по электрической проверке, регулировке и настройке периметральных технических средств согласно п. 2.1.5. Работы второго этапа должны выполняться после окончания монтажных работ. 2.2.4. При организации охраны территории объекта наряду с ограждениями следует блокировать ворота, калитки, крыши зданий, построек, навесов, примыкающих непосредственно к внешнему ограждению, согласно проекту или акту обследования. 2.2.5. Для охраны территории объекта дополнительно к периметральным техническим средствам следует также применять следующие средства усиления охраны: охранное телевидение; охранное электроосвещение; средства постовой связи и оповещения. 2.2.6. В состав ПОС. должно входить световое табло с мнемосхемой защищаемого периметра, которое размешается в помещении охраны. 2.3. Технический надзор за производством работ должен осуществляться ответственными представителями заказчика, а на объектах, охраняемых или подлежащих передаче под охрану - подразделениям охраны и работниками этих подразделений. 2.4. Технические средства, подлежащие установке на объекте, должны соответствовать спецификации проекта или акту обследования. Их установка должна производиться в местах, определенных проектом или актом обследования в соответствии с технологическими картами, требованиями технической документации предприятий-изготовителей, ПУЭ и РД 78.145-93. 3. МОНТАЖ ОБЪЕКТОВЫХ ОХРАННЫХ И ОХРАННО-ПОЖАРНЫХ ИЗВЕЩАТЕЛЕЙ3.1. Магнитоконтактные извещатели СМК-1, СМК-З предназначены для блокировки дверей, окон, люков, витрин и других подвижных конструкций на открывание и выдачу тревожного извещения в виде размыкания электрической цепи шлейфа сигнализации. Диапазон рабочих температур - (минус 40 - +50) °С. 3.1.1. Извещатели СМК-1 должны устанавливаться, как правило, по одному на каждый блокируемый элемент скрытым или открытым способом. (По требованию подразделения охраны, в обоснованных случаях при блокировке на открывание внутренних дверей, на них могут устанавливаться по два извещателя СМК-1 на каждый блокируемый элемент). Извещатели следует размещать в верхней части блокируемого элемента на расстоянии до 200 мм от вертикальной линии раствора с внутренней стороны охраняемого помещения. Магнитоуправляемый контакт должен устанавливаться на неподвижной части блокируемого элемента, а узел постоянного магнита на его подвижной части с учетом параллельности и допустимым расстоянием между узлами не более 8 мм. Допускается устанавливать магнитоуправляемый контакт на подвижной части блокируемого элемента с одновременной блокировкой на пролом или разбитие и выполнением гибкого перехода для соединений извещателей с электропроводками шлейфа сигнализации. При монтаже открытым способом узлы извещателя крепятся непосредственно к поверхности блокируемого элемента. Крепление узлов извещателя на поверхности производится: шурупами - на деревянной; винтами - на металлической (на стальных и других магнитных металлических поверхностях с прокладкой из дерева, текстолита, эбонита или гетенакса толщиной 25-30 мм); клеем (марки ВГО-1, БМК-5, эластосил 11-06, КНЭ-2/60 или им аналогичным) - на стеклянной. Выводы контакта соединяются со шлейфом сигнализации проводами типа НВМ-0,35 скруткой с последующей пропайкой мест соединения припоем марки ПОС-61, согласно требования ГОСТ 21931-76. Места паек изолируются поливинилхлоридными трубками по ГОСТ 19034-82. 3.1.2. Извещатели СМК-З должны устанавливаться скрытым способом при блокировке конструктивных деревянных элементов, а также элементов, выполненных из немагнитных материалов (алюминия). Извещатели следует размещать по одному в верхней части блокируемого элемента на расстоянии не более 200 мм от вертикальной линии раствора двери, окна. При монтаже узлы извещателя должны устанавливаться соосно в предварительно подготовленные отверстия соответствующих размеров. Установка узлов магнитоуправляемого контакта и постоянного магнита на подвижной либо неподвижной части конструкции выполняется аналогично п. 3.1.1. Несоосность должна быть не более 5 мм. В подготовленные отверстия устанавливаются соответственно магнит и магнитоуправляемый контакт на эмали типа ПФ-15 или шпатлевке так, чтобы они были утоплены в них на 0,5 - 1 мм. Расстояние между магнитом и магнитоуправляемым контактом должно быть не более 6 мм. Провода шлейфа сигнализации, подходящие к выводам магнитоуправляемого контакта, прокладываются скрыто в штробах (глубина и ширина штроба - не менее двух диаметров провода) и соединяются с выводами магнитоуправляемого контакта скруткой с последующей пайкой припоем ПОС-61. Места паек должны быть изолированы поливинилхлоридными трубками согласно требованиям ГОСТ 19034-82. При монтаже извещателей не допускается: подвергать ударам узлы извещателя; изгибать выводы узла магнитоуправляемого контакта. 3.2. Выключатели путевые конечные серий ВК-200, ВК-300, ВПК-4000 предназначаются для блокировки на открывание строительных конструкций, имеющих значительные массу и линейные размеры распашные, раздвижные и подъемные ворота, люки и т.п. Диапазон рабочих температур - (минус 40 - +40) °С. 3.2.1. Для обеспечения необходимых эксплуатационных характеристик, выключатели должны устанавливаться на наиболее массивных неподвижных деталях блокируемой конструкции на кронштейне, позволяющем проводить регулировку положения выключателя. Допустимый зазор между упором и нажимным штоком выключателя должен быть в пределах 3-5 мм. Упоры, действующие на исполнительный механизм выключателя, крепятся на подвижных створках и должны иметь возможность регулировки их положения. Ввод проводов в выключатели должен производиться через основание или резьбовые отверстия труб диаметром 1/2 дюйма. Места ввода проводов должны быть защищены уплотнениями от попадания внутрь пыли, влаги и масла. К каждому зажиму выключателя допускается подсоединять не более двух медных проводов сечением не более 1,5 кв. мм каждый или одного алюминиевого провода сечением не более 2,5 кв. мм. Выключатели должны быть заземлены проводом согласно п. 10.14. 3.3. Извещатели охранные поверхностные ударно-контактные типа "Окно-1", "Окно-1M" (ИО 303-1), "Окно-2", "Окно-2М" (ИО 303-2), "Окно-4" (ИО 303-3) предназначены для обнаружения разрушения остекленных проемов в охраняемых помещениях и выдачи тревожного извещения в шлейф охранной сигнализации приемно-контрольных приборов: УОТС-1-1, УОТС-М, УОТС-А,"Сигнал-45", "Рубин-3", "Рубин-6" (см.п.п.5.1, 5.2), обеспечивающих следующие электрические параметры извещателей: напряжение постоянного тока - (10-30) В или напряжение пульсирующего тока (амплитуда) - (15-30) В с частотой, не менее 100 Гц; ток, потребляемый извещатслем (БОС) в дежурном режиме, не более -0,00003 А; остаточное напряжение на извещателе в режиме "Тревога" при коммутируемом токе (20±1) мА , не более - 5,2 В. Извещатель состоит из блока обработки сигнала (БОС) и датчиков разрушения стекла (ДРС). Блокируемая площадь сплошного полотна стекла при толщине от 2 до 8 мм: одним ДРС - до 4 кв. м; комплектом ДРС - до 20 кв. м; Радиус действия ДРС - до 2,5 м; Диапазон рабочих температур - (минус 40 - +50) °С. Извещатель размещается с внутренней стороны как наружных, так и внутренних стекол, проемов, таким образом, чтобы исключалась возможность умышленного или случайного повреждения составных частей извещателя или соединительных линий. Место установки БОС и ДРС определяется с учетом следующих требований: максимальная длина соединяющей линии БОС и ДРС должна быть не более 10 м двухпроводной линии ДРС на один БОС; на стеклах площадью до 3 кв. м, если диагональ полотна не более 2,5 м, ДРС должны устанавливаться на расстоянии 10-15 см от обвязки в средней точке верхней стороны полотна. Допускается устанавливать ДРС в одном из углов у верхних боковых сторон полотна на тех же расстояниях от обвязки, если при этом обеспечиваются минимальная длина линии от ДРС до БОС и количество соединительных коробок; на стеклах площадью от 3 до 4 кв. м и с диагональю полотна более 2,5 м, ДРС следует размещать в 10-15 см от обвязки в середине наибольшей стороны или на такой ее длине, чтобы расстояние от ДРС до наиболее удаленной точки оконного полотна не превышало 2,5 м; на стеклах площадью более 4 кв. м устанавливаются два и более ДРС в 10-15 см от обвязки верхней стороны полотна так, чтобы расстояние от ДРС до наиболее удаленных точек стекла было не более 2 м; при блокировке остекленных проемов с большим количеством мелких полотен, расположенных в одном оконном проеме, количество ДРС, подключаемых к одному БОС, допустимо увеличивать до 6 шт., если при этом суммарная длина линии ДРС не превышает 10 м, а световая индикация БОС обеспечивает удобство и однозначность определения места несанкционированного нарушения. При необходимости допускается подключать к БОС менее пяти ДРС. Крепление ДРС к поверхности стекла должно производиться клеем ЭПО или герметиком У-ЗО согласно требования ГОСТ 13489-79. При установке ДРС фиксирующая стрелка на его корпусе должна быть направлена параллельно плоскости стекла в сторону защищаемой поверхности. Для удобства наблюдения блоки БОС устанавливают на стене или на неподвижной части конструкции рамы на высоте 1,5-2 м с таким расчетом, чтобы световой индикатор блока был обращен в сторону наблюдателя и защищен от освещения прямыми солнечными лучами или иным источником интенсивного освещения. При монтаже извещателей необходимо соблюдать полярность и порядок включения выводов БОС в шлейф сигнализации. Соединения извещателя, особенно в линии ДРС, должны производиться пайкой или под винт. Блоки БОС должны крепиться к металлической поверхности винтами ("саморезами"), а к деревянной поверхности и к стенам с помощью шурупов. Допускается крепление блоков к указанным поверхностям, а также к стеклу с помощью соответствующих клеев. 3.4. Извещатель охранный поверхностный пьезоэлектрический "Грань-1"(ИО 304-2) предназначен для обнаружения попыток проникновения нарушителя путем пролома стен, пола, потолка помещения-при ударах молотком, ломом или другим тяжелым предметом и формирует три вида извещений: "Норма" (замыкание контактов первого исполнительного реле); "Тревога" (размыкание контактов первого исполнительного реле); "Неисправность" (замыкание контактов второго исполнительного реле; Извещатель состоит из одного блока обработки сигнала (БОС) и десяти датчиков сигналов вибрации (ДСВ). Напряжение питания от сети переменного тока - (187 - 242) В. Диапазон рабочих температур - (минус 10 - +50) °С. Блокируемая площадь при толщине бетонной конструкции более 120 мм или кирпичной более - 150 мм составляет для: одного ДСВ - до 15 кв. м; комплекта ДСВ - до 150 кв. м; Радиус действия ДСВ - до 2,2 м. При определении мест установки необходимо исходить из того, что ДСВ можно использовать как со 100 %, так и с 75 % -ным охватом охраняемой площади. При использовании ДСВ при 100 % -ном охвате площади извещатель будет регистрировать разрушающие воздействия в прилегающих помещениях. 100 % -ный охват охраняемой площади принимается тогда, когда площадь, не охваченная окружностью с радиусом действия ДСВ, не превышает 0,1 кв. м, что обуславливается невозможностью проникновения человека в такое отверстие, и может быть сведена до нуля в зависимости от важности объекта. При охране немонолитных стен, пола или потолка при толщине плит или блоков более 1 м необходимо ДСВ устанавливать на каждой плите или блоке. Для блокировки пола или потолка в помещении шириной не более 3 м установку ДСВ допускается производить на стенах на расстоянии не более 10 см от пола или потолка соответственно. При высоте помещения не более 4 м, стены, на которых установлены ДСВ для охраны пола или потолка, тоже будут охраняться. При высоте помещения более 4 м для охраны стен следует дополнительно устанавливать необходимое количество ДСВ. При установке БОС необходимо учитывать, что суммарная длина линии, связывающей ДСВ и БОС, не должна превышать 50 м. Если в линию, связывающую ДСВ и БОС, включено меньше 10 ДСВ, то ее длину можно увеличить на 2,5 м на каждый неиспользуемый ДСВ и она должна быть не более 72,5 м при использовании только одного ДСВ. Не допускается включать в линию, связывающую ДСВ и БОС более 10 ДСВ. Для удобства наблюдения БОС, должен устанавливаться на стене, на высоте 1,5-2 м от пола с таким расчетом, чтобы световой индикатор хорошо просматривался хозорганом при сдаче помещения под охрану. 3.5. На объектах, подверженных действию вибрационных и ударных помех, для блокировки остекленных поверхностей применяется алюминиевая фольга А-1 толщиной 0,008-0,01 мм, шириной б-8 мм. Фольга приклеивается по стеклу на расстоянии: 2-5 мм - от боковой стороны деревянной рамы; 7-10 мм - от боковой стороны металлической рамы; до 50 мм - от нижнего основания рамы одинарных окон и витрин, а во влажных местах, где нет доступ посторонним лицам - на расстоянии - не более 200 мм; до 200 мм - от боковых сторон рамы, если фольга является частью декоративного оформления витрины. Блокировка двойных окон, если между ними не размещаются материальные ценности, проводится по периметру внутренних рам со стороны помещения. Допускается блокировку производить по периметру стекла на 2/3 общей высоты от нижнего края. Для исключения возможности "закорачивания" шлейфов сигнализации с целью деблокирования оконных проемов рекомендуется к блокируемой конструкции подводить две линии шлейфа сигнализации по схеме, показанной на рисунках 1,2 приложения 6. В местах переходов с одного участка фольги на другой в непосредственной близости друг от друга должны находиться только линии разных участков шлейфа сигнализации. Фольга приклеивается на подсушенную до "прилипания" масляную краску, нанесенную на сухую, обезжиренную ацетоном, очищенную от грязи и пыли поверхность стекла. Цвет краски должен быть подобран по цвету рамы или фона стеклянной поверхности. Наклейка фольги может также производиться на грунты, кремнийорганический лак КО-85 со смолой БМК-5. Допускается наклеивать фольгу на цинковые белила или синтетические краски и эпоксидные эмали ЭП. Запрещается применять краски на искусственной олифе (оксоле), т.к. она разрушает алюминиевую фольгу. Рекомендуются краски МС-042, ПФ-218 и др. Наклеенная на стекло фольга прокрашивается двумя слоями краски, причем второй слой наносится после высыхания первого. Полосы краски должны выходить за край фольги не более чем на 2 мм. Соединение "фольга - линия" должно осуществляться пайкой специальным припоем марки "А" (для пайки алюминия) следующим образом. Концы, приклеенной к поверхности стекла фольги, зачищаются, облуживаются с двух сторон и припаиваются к предварительно приклеенным к стеклу клеем БФ-2 или ему аналогичным и облуженным латунным пластинам размером 10 ´ 20 мм и толщиной 0,1 - 0,5 мм каждая. К этим же пластинам припаивается провод типа НВМ - 0,35 мм или аналогичный ему по параметрам с таким расчетом, чтобы был оставлен запас провода, равный 15 - 20 мм, для свободного открывания и закрывания окна или двери. Допускается соединение фольги с проводом производить при помощи специальных зажимов. Для повышения надежности пайки, соединяемые поверхности следует протравливать "пастой для пайки". При наличии нескольких витринных стекол, отделенных друг от друга металлической или деревянной рамой, монтажные провода переходных узлов должны соединяться между собой через разветвительную коробку, которая устанавливается между переходными узлами. После выполнения монтажных работ по наклейке фольги на остекленные проемы следует с помощью омметра проверить целостность шлейфа сигнализации. 3.6. Блокировка строительных конструкций (дверей, люков, ворот, некапитальных стен, перегородок, потолков и т.п.) на пролом производится проводом типа НВМ, ПЭЛ, ПЭВ или аналогичным с диаметром 0,18-0,25 мм, скрытым или открытым способом. Для исключения возможности "закорачивания" шлейфов сигнализации с целью деблокирования строительных конструкций рекомендуется к блокируемой конструкции подводить две линии шлейфа сигнализации или включать в шлейф сигнализации диод, как показано на рис. 3 приложения 6. Провод должен прокладываться по внутренней стороне блокируемых строительных конструкций по всей площади конструкций параллельно контурным линиям с шагом не более 200 мм и крепиться скобами. Расстояние между скобами - не более 200 мм. Под скобу в местах крепления подкладывается неразрезанная поливинилхлоридная трубка согласно требованиям ГОСТ 19034-82, длиной 10 мм. Расстояние от края блокируемой поверхности до блокирующего провода должно быть 150 +/_5 мм. При открытом способе прокладки провода крепятся непосредственно к поверхности элементов строительных конструкций с последующей защитой их от случайных повреждений фанерой, оргалитом и другими изолирующими материалами. При скрытом способе прокладки провод прокладывается и крепится в штробах с последующей клеевой шпатлевкой и закрашиванием. Глубина и ширина штроба должны быть не менее двух диаметров провода. При блокировке строительных конструкций на пролом должна предусматриваться установка ответвительной коробки на каждые 5 кв. м блокируемой поверхности. Блокировка внутренних зарешеченных проемов должна производиться обвиванием горизонтальных и вертикальных прутьев двойным проводом НВМ диаметром 0,2 мм или аналогичным, с шагом витка 30-70 мм и выполнением узлов через 150-200 мм. Переход провода с одного прута решетки на другой должен производиться по деревянной обвязке рамы скрытым способом в штробе. Провод в штробе крепится скобами с последующей шпатлевкой. В местах крепления на провод должна быть одета поливинилхлоридная трубка длиной 10 мм. Внутренние решетки, защищающие остекленные проемы размером более 200 ´ 200 мм и решетки, изготовленные из арматуры диаметром менее 10 мм, могут блокироваться проводом при обязательном блокировании самих остекленных проемов средствами сигнализации на разбитие и открывание. По окончании монтажных работ решетки, провода и рамы должны быть окрашены краской одного цвета. 3.7. При блокировке дверей, окон и других открывающихся конструкций, соединение извещателей (блокирующих проводов), установленных на подвижной части строительной конструкции со шлейфом сигнализации выполняется гибким переходом - проводом типа НВМ-0,35, или с помощью специальной дверной петли типа ПН-1-11ОП. Подсоединение гибкого перехода (провода с предварительно надетой поливинилхлоридной трубкой по ГОСТ 19034-82) к электропроводке шлейфа сигнализации и извещателям осуществляется с помощью розеток или ответвительных коробок. У входа в ответвительную коробку провод должен быть закреплен скобой. На каждый блокируемый элемент (окно, дверь и т.п.) предусматривается установка ответвительной коробки. При блокировке двухстворчатых дверей, ворот или окон необходимо предусматривать установку двух ответвительных коробок. 3.8. Для блокировки проемов из профилированного стекла и стеклоблоков допускается использовать алюминиевую фольгу. Наклейка фольги производится в соответствии с п. 3.4. настоящего пособия, параллельно контурным линиям проема через середину каждого стеклоблока, с шагом не более 200 мм. 3.9. Блокировка калориферных решеток, решеток вентиляционных коробов, дымоходов и кондиционеров производится проводом типа НВМ в соответствии с п. 3.6. 3.10. Извещатели емкостные поверхностные предназначены для блокировки металлических сейфов и шкафов, отдельных предметов, проемов и строительных конструкций внутри помещений. Они срабатывают при приближении человека к блокируемому предмету или касании предмета (металлического) человеком. 3.10.1. Извещатель охранный "Риф-М" состоит из блока сигнализации (БС-М) и блока питания (БП-М), конструктивно выполненных в металлических корпусах настенного исполнения. Максимальная емкость блокируемых предметов и антенного провода извещателя "Риф-М" составляет 1500 пФ. Напряжение питания от сети переменного тока - (187 - 242) В. Диапазон рабочих температур - (+1 - +40) °С. Блок сигнализации БС-М изнещателя должен устанавливаться как можно ближе к блокируемому предмету так, чтобы исключить возможность доступа к нему посторонних лиц. Крепление БС-М и БП-М к стене - "под винт" (шурупами). Не допускается установка блоков извещателя в помещениях в которых имеются: электрические установки мощностью более 15 кВА на расстоянии менее 10 м от блокируемого предмета; металлические предметы объемом более 2 куб. м. на расстоянии менее одного метра от блокируемого предмета; коммуникационные линии силовой, осветительной, трансляционной и других сетей на расстоянии менее 0,5 м. Блокировка металлических шкафов и сейфов осуществляется подключением к их корпусу антенного провода. В качестве антенного провода, соединяющего БС-М извещателя с блокируемыми предметами, следует использовать однопарный телефонный провод типа ТРП 2 ´ 0,5 или ТРВ 2 ´ 0,5 (ГОСТ 20575-75). Блокируемые сейфы, металлические шкафы должны устанавливаться на полу с хорошим изоляционным покрытием. При установке сейфов на бетонных и других полах с низким сопротивлением изоляции, необходимо размещать под ними резиновый коврик или другой аналогичный изоляционный материал. Для обеспечения нормальной работы двух емкостных извещателей "Риф-М" в одном помещении, расстояния должны быть не менее: между антенными проводами - 0,7 м; между блокируемыми предметами - 2 м. Сопротивление заземления извещателя не должно превышать 4 Ом. Если на охраняемом объекте нет шины заземления, то его следует сделать при помощи металлического стержня, вбиваемого в землю на глубину 1,3-1,5 м. В качестве естественных заземлителей следует использовать выводы металлических конструкций электрощитов, а также арматуры железобетонных зданий и сооружений, имеющих надежное соединение с землей. Запрещается использовать в качестве заземлителей трубопроводы горячей и холодной воды, горючих жидкостей и газов, теплоснабжения. При выборе заземлителя для извещателя следует руководствоваться положениями ПУЭ. Сопротивление утечки между заземлением и соединительным проводом вместе с блокируемым предметом должно быть для извещателей "Риф-М" не менее 10 кОм. Условия установки извещателя "Риф-М" должны исключить возможность приближения людей и других движущихся объектов (снаружи помещения с блокируемым предметом) к антенне и блокируемому предмету на расстояние менее 1 м. В случаях, когда возможно свободное движение людей и других объектов с обратной стороны стены, у которой расположен блокируемый предмет или антенна, необходимо установить его (сейф, металлический шкаф) и соответственно переместить антенну на расстоянии не менее 0,2 м от стены. 3.10.2. Извещатель охранный "Них" (ИО 305-3) конструктивно выполнен в виде блока настенной установки в металлическом корпусе, обеспечивающем его настенную установку "под винт" (шурупы). Максимальная емкость блокируемых предметов и антенного провода извещателя "Пик" составляет 2000 пФ. Напряжение питания - (10,2-13,2) В. Питание осуществляется от источника постоянного тока "Электроника Д2-27", входящего в комплект поставки прибора. Диапазон рабочих температур - (минус 10 - +50) °С. Условия выбора места установки извещателя "Пик" на объекте, его заземления, аналогичны изложенным в п. 3.10.1. (за исключением того, что в данном случае мощность устанавливаемых на расстоянии менее 10 м от блокируемого предмета электрических установок не должна превышать 1,5 кВА и сопротивление утечки между заземлением и соединительным проводом вместе с блокируемым предметом должно быть не менее 120 кОм). В случае необходимости, одним извещателем "Пик" в помещении может блокироваться несколько металлических сейфов (шкафов). В качестве антенного провода следует использовать одинарный телефонный провод типа ТРП 2´0,5 или ТРВ 2´0,5 по ГОСТ 20575-75. При этом с учетом допустимой максимальной емкости антенны извещателя и конструктивных особенностей здания необходимо: в помещениях железобетонных зданий подключая к извещателю до 4-6 сейфов с лицевой поверхностью каждого около 0,8 кв. м и до 2-3 металлических шкафов с лицевой поверхностью каждого около 1,9 кв. м; в помещениях кирпичных, деревянных и других зданий, не имеющих заземленной металлической арматуры в строительных конструкциях подключать к извещателю до 8-10 указанных сейфов и до 4-5 металлических шкафов. В каждом случае сейфы или шкафы должны соединяться последовательно, причем непосредственно к извещателю подключается ближайший из них. При блокировке дверных проемов, антенна извещателя располагается на внутренней стороне деревянной двери аналогично блокировке "на пролом" (п. 3.6.). Расстояние между горизонтальными участками провода должно быть не более 10 см. При блокировке оконных проемов с шириной остекленных полотен не более 0,4 м, антенна извещателя располагается на внутренней поверхности деревянных ран по конфигурации обвязки. Оконные проемы с металлическими рамами блокировать извещателем "Пик" не рекомендуется. При блокировке оконных проемов, защищенных внутренней металлической решеткой, антенна извещателя прокладывается по горизонтальным и вертикальным прутьям решетки, закрепив ее витком в местах перекрестий. При установке в помещении нескольких извещателей "Пик" для блокировки различных предметов к одному извещателю "Пик" целесообразно подключать только однотипные блокируемые предметы - двери, окна, сейфы и т.п. Допустимая длина линии питания от извещателя до блока питания "Электроника Д2-27" должна быть не более 50 м. Проводка питающей линии от блока питания к извещателю должна быть выполнена проводом марки ТРП, ТРВ, АГРП, АГРВ с диаметром жилы 0,4-0,7 мм. Блок питания "Электроника Д2-27" совместно с резервным источником постоянного тока устанавливается, либо на приборном щите (в шкафу) в специально выделенном помещении, в котором устанавливаются все приемно-контрольные приборы, либо в охраняемом помещении, в котором размешается извещатель, на стене на высоте 1-2 м от уровня пола. Длина соединительного сетевого провода от розетки до блока питания не должна превышать 2 м. При невозможности соблюдения данного условия, в охраняемом помещении допускается установка дополнительной стационарной розетки в соответствии с требованиями ПУЭ. 3.11. Извещатели радиоволновые предназначены для обнаружения перемещения человека в охраняемой зоне посредством сравнения излученного и отраженного радиосигнала и выдачи тревожного извещения. В зависимости от тактикотехнических характеристик, извещатели могут использоваться как в закрытых помещениях, так и на открытых площадках. 3.11.1. Радиоволновые охранные извещатели "Волна-2" (ИО 307-1), "Волна-М" (ИО 407-3А/1) предназначены для охраны материальных ценностей в помещениях. Максимальная дальность обнаружения - (12+4) м, площадь зоны обнаружения до 90 кв. м. Напряжение питания - (10,2-13,2) В. Питание осуществляется от источника постоянного тока "Электроника Д2-27", входящего в комплект поставки прибора. Диапазон рабочих температур: "Волна-2" - (минус 20 - +50) °С; "Волна-М" - (минус 10 - +50) °С. При установке в помещениях возможны три основных варианта размещения извещателя: размещение, при котором зона обнаружения извещателя касается стен, т.е. линейные размеры помещения меньше линейных размеров зоны обнаружения. В этом случае, в результате переотражений излучения, помещение (при отсутствии затеняющих предметов) практически заполнено СВЧ энергией и не заблокированные извещателем проходы в помещении отсутствуют. Такой вариант рекомендуется для защиты объема изолированных помещений сравнительно небольших размеров и имеющих капитальные стены; размещение, при котором зона обнаружения извещателя не касается стен помещения, т.е. линейные размеры помещений больше линейных размеров зоны обнаружения. В этом случае охраняются лишь предметы, находящиеся в зоне обнаружения, а вдоль стен помещения могут быть незаблокированные извещателем проходы. Такой вариант размещения извещателя рекомендуется для охраны одиночных предметов, групп предметов, локализованных на ограниченной площади; размещение, при котором зона обнаружения извещателя одной стороной касается стены (пола, потолка), а другой свободно располагается в пространстве. В этом случае охраняемая зона образуется вдоль стены, и такой вариант рекомендуется для защиты предметов, расположенных вдоль стены, оконных, дверных и т.п. проемов. Для реализации указанных вариантов размещения в помещении рекомендуется два способа установки извещателя: в углу, с направлением максимума излучения по диагонали помещения; на стене, когда направление максимума излучения перпендикулярно стене. Этот способ рекомендуется также для больших помещений при охране их одновременно несколькими извещателями. При выборе места установки извещателя (извещателей) в охраняемом помещении необходимо учитывать следующие требования: установку извещателя необходимо производить на жестких, устойчивых к вибрации опорах (капитальные стены, колонны и т.п.); извещатель должен быть ориентирован в помещении таким образом, чтобы он не был направлен прямо на оконные проемы, вытяжные вентиляторы, тонкие перегородки, за которыми возможно движение людей, транспорта, оборудования; в зоне обнаружения извещателя не должны находиться предметы больших габаритов, крупные металлические поверхности (типа шкафов, перегородок), которые могут создавать "радиотени" (зоны нечувствительности); на период охраны в охраняемом помещении не допускается включение люминесцентных ламп, расположенных к извещателю ближе 12 м, оставлять кошек, собак и других домашних животных; при использовании двух или более извещателей в одном помещении извещатели должны иметь различные частотные литеры. Высота установки извещателя, в зависимости от размеров охраняемого помещения, должна быть в пределах 2-3 м от пола. Установка блока питания "Электроника Д2-27" и резервного источника постоянного тока, выбор марки питающего провода производится аналогично п. 3.10.2. При этом максимальная длина линии питания не должна превышать 100 м. 3.12. Извещатели ультразвуковые предназначены для обнаружения перемещения человека в охраняемой зоне закрытого помещения или возникновения в ней очага пожара посредством сравнения излученного и отраженного ультразвукового сигнала и выдачи тревожного извещения. 3.12.1. Ультразвуковой поверхностный охранно-пожарный извещатель "Эхо-2" (ИОП 308-3) имеет 3 варианта конструктивного исполнения: блок основной синхронизирующий (БОС) и два блока выносных ультразвуковых (БВУ) - контролируют общую площадь до 90 кв. м; блок БОС и один блок БВУ - контролируют общую площадь до 60 кв. м; один блок БОС - контролирует площадь до 30 кв. м. Каждый блок извещателя, как БОС так и БВУ, формирует зону обнаружения длиной не менее 6 м и шириной не менее 5 м на удалении от блока 3±0,1 м. Напряжение питания - (10,2-16,0) В. Питание осуществляется от источника постоянного тока "Электроника Д2-27", входящего в комплект поставки прибора. Диапазон рабочих температур -(+1- +40) °С. Извещатель помехоустойчив к акустическому шуму в охраняемом помещении до 60 дБ. Все блоки извещателя, выполненные в настенном исполнении, должны крепиться с помощью механизма юстировки шарнирного типа к стене тремя шурупами. При выборе места установки извещателя необходимо соблюдать следующие требования: различные ограждающие поверхности (щиты, перегородки, стены, шкафы, и т.п.) должны находиться не ближе 2 м от лицевой части блоков извещателей и не ближе 1 метра от каждой боковой стенки блока (т.е. охраняемое помещение не должно иметь длину, ширину и высоту менее 2 м); высота установки БОС и БВУ от пола должна быть в пределах 1,5-2,5 м, необходимо ориентировать зону обнаружения извещателя таким образом, чтобы перед ней находилась большая часть охраняемой площади помещений. В охраняемом помещении на период охраны должно быть предусмотрено отключение: принудительной вентиляции, калориферов, силовых переключающих устройств, телефонов, электрических звонков и других звуковых приборов. Не допускается установка БОС и БВУ непосредственно над батареями отопления, над форточками или фрамугами (при наличии низких окон), вблизи оконных штор, вблизи декоративных растений и цветов, ветви которых могут колебаться под действием движения воздуха в помещении. При выполнении монтажных работ следует учитывать, что поскольку соединения ведутся неэкранированным проводом, то для повышения устойчивой работы извещателя, соединительные провода между БОС и БВУ должны прокладываться на расстоянии не менее 0,2 м от силовых сетевых линий и от линий, которыми производится подсоединение сетевых световых и звуковых оповещателей к ПКП. Установка блока питания "Электроника Д2-27" и резервного источника постоянного тока, выбор марки питающего провода производится аналогично п. 3.10.2. При этом максимальная длина линии питания не должна превышать 30 м. 3.12.2. Ультразвуковой поверхностный охранный извещатель "Эхо-3" (ИО 308-1) формирует зону обнаружения шаровидной формы диаметром 8 м, т.е. максимальная дальность извещателя равна 8 м. Извещатель применяется для охраны отдельных помещений или локальных зон площадью до 60 кв. м. Напряжение питания - (10,2-16,0) В. Питание осуществляется от источника постоянного тока "Электроника Д2-27", входящего в комплект поставки прибора. Диапазон рабочих температур - (+1 - +40) °С. Извещатель помехоустойчив к акустическому шуму в охраняемом помещении до 75 дБ. Конструктивно извещатель выполнен в виде одного приемно-передающего блока ультразвуковой энергии, который аналогичен блоку БОС извещателя "Эхо-2". Установка извещателя в помещении производится аналогично установке извещателя "Эхо-2" (п. 3.12.1). 3.13. Оптико-электронные активные извещатели предназначены для обнаружения проникновения человека через контролируемый барьер в помещение (на объект) или задымление, вызванное загоранием, путем регистрации изменения принимаемого ИК-потока от пересечения луча или уменьшения прозрачности среды. При установке извещателей должны быть выполнены следующие общие требования: излучатель и приемник следует устанавливать на жестких, устойчивых к вибрации опорах (капитальные стены, колонны и т.п.); недопустимо попадание на объективы прямых солнечных лучей, приводящих к перегреву и преждевременному выходу из строя фото- и светодиодов; недопустимо, чтобы на объектив приемника попадали солнечные блики и свет автомобильных фар; пространство, по которому проходит луч, по ширине и высоте на 0,5 м должно быть свободно от посторонних предметов. 3.13.1. Извещатель охранно-пожарный "Квант-1" предназначен для блокировки помещений, коридоров, витрин и других проемов путем создания инфракрасного (ИК) луча. Максимальная длина блокируемого участка: без светоотражающей пленки - 30 м; со светоотражающей пленкой - 50 м. Напряжение питания от сети переменного тока - (187 - 242) В. Диапазон рабочих температур - (минус 10 - +50) °С. Конструктивно извещатель выполнен в виде одного приемно-передающего блока. Извещатель должен устанавливаться так, чтобы передняя панель была обращена в сторону контролируемого пространства. При использовании извещателя в качестве охранного, высота его установки должна быть в пределах 0,6-1,2 м от уровня пола. При использовании извещателя в качестве пожарного, он должен устанавливаться на расстоянии не менее 0,3 м от потолка помещения, при этом необходимо направлять ИК луч параллельно поверхности потолка. Крепление извещателя производится шурупами на кронштейне или без него к опоре (стена, колонна) на несгораемом основании. При использовании светоотражающей пленки, ее шероховатая поверхность должна быть обращена к прибору. Подводка сетевого питания напряжением 220 В и резервного питания от аккумуляторных батарей напряжением 24 В, емкостью порядка 10 А/ч производится проводом ШБПВ сечением 2´0,5 кв. мм или ему аналогичным. 3.13.2. Извещатели охранные линейные оптико-электронные "Вектор-2" (ИО 209-1), "Вектор-4" (ИО 209-7) предназначены для блокировки в помещениях подходов к охраняемым участкам по периметру, и через коридоры, вдоль стеллажей хранилищ и припотолочных пространств складских и других помещений. Извещатель "Вектор-2" формирует однолучевой ИК барьер, а "Вектор-4" соответственно - двухлучевой с расстоянием между лучами 30 см. Максимальная длина блокируемого участка: "Вектор-2" в режиме А-100 м, в режиме Б-20 м; "Вектор-4" -150 м. Напряжение питания - (10,2-13,2) В. Питание осуществляется от источника постоянного тока "Электроника Д2-27", входящего в комплект поставки прибора. Диапазон рабочих температур: "Вектор-2" - (минус 10 - +50) °С; "Вектор-4" - (минус 30 - +60) °С. В состав извещателя "Вектор-2" входят блок излучения (БИ) и блок приемника (БП), а в состав извещателя "Вектор-4" соответственно колонка излучателей (КИ) и колонка фотоприемников (КФ). Конструкция БИ (КИ) и БП (КФ) извещателей обеспечивает угол поворота оптической системы по вертикали не менее 20 (30)° , по горизонтали не менее 180 (200)°. Извещатели должны крепиться на неподвижных поверхностях стен или других несущих конструкциях внутри помещений. При определении места установки БИ (КФ) и БП (КФ) извещателя должны учитываться следующие условия: необходимо направлять ИК луч так, чтобы он проходил вблизи уязвимых, с точки зрения возможного проникновения, мест. Крепление блоков извещателя осуществляется с помощью шурупов непосредственно к стене или через деревянные прокладки между корпусом и стеной. Установка блока питания "Электроника Д2-27" и резервного источника постоянного тока, выбор марки питающего провода производится аналогично п. 3.10.2. При этом максимальная длина линии питания не должна превышать 100 м. 3.13.3. Извещатель охранно-пожарный линейный оптико-электронный "Вектор-3" (ИОП 209-4) предназначен для обнаружения проникновения нарушителя через витрины, оконные, дверные и другие проемы в закрытое помещение или возникновения в нем очага пожара. Извещатель "Вектор-3" формирует однолучевй ИК барьер. Максимальная длина блокируемого участка - 10 м. Напряжение питания - (10,2-13,2) В. Питание осуществляется от источника постоянного тока "Электроника Д2-27", входящего в комплект поставки прибора. Диапазон рабочих температур - (минус 30 - +50)°С. Извещатель выполнен по однопозиционному принципу, когда в одном блоке совмещены излучатель и фотоприемник. В рабочем состоянии ИК поток от излучателя проходит через контролируемое пространство до световозвращателя и возвращается на фотоприемник. Конструкция извещателя позволяет крепить его на неподвижных плоских поверхностях стен или других конструкциях внутри помещений. При этом извещатель и световозвращатель должны размещаться на противоположных сторонах контролируемого пространства. При определении места установки извещателя и световозвращателя должно учитываться следующее: извещатель должен размешаться так, чтобы ИК луч проходил вблизи уязвимых, с точки зрения проникновения, мест; максимальное расстояние между извещателем и световозвращателем - 10 м, минимальное - 0,5 м; Монтаж извещателя производится с помощью кронштейна, который обеспечивает возможность плавного поворота извещателя на угол ±90° в горизонтальной плоскости и на ±15° в вертикальной плоскости. Светоотражатель крепится - на двери, стене или оконной раме с помощью шурупов. Установка блока питания "Электроника Д2-27" и резервного источника постоянного тока, выбор марки питающего провода производится аналогично п. 3.10.2. При этом максимальная длина линии питания не должна превышать 100 м. 3.14. Оптико-электронные пассивные извещатели предназначены для защиты площадей и объемов охраняемых помещений от проникновения или от возникновения в них очага пожара в виде открытого пламени путем восприятия и обработки ИК излучения температурного фона от нарушителя или очага пожара с последующей выдачей тревожного извещения. При выборе места установки пассивного извещателя в помещении необходимо руководствоваться следующими положениями: извещатель в процессе эксплуатации не должен освещаться солнцем, особенно если перед окном имеются деревья, крона которых может создавать световые блики; извещатель не следует устанавливать так, чтобы он или стена напротив него освещалась автомобильными фарами или прожекторами; извещатель не следует устанавливать на расстоянии менее 1,5 м от вентиляционного отверстия и от батареи центрального отопления, при этом не рекомендуется устанавливать извещатель над батареей центрального отопления. В исключительных случаях, когда охраняемое помещение имеет большие остекленные проемы, расположено на первом этаже здания и возможно появление засветок отраженным светом от фар проезжающего автотранспорта, на извещателе необходимо устанавливать светозащитный фильтр. 3.14.1. Извещатель охранно-пожарный объемный оптико-электронный "Квант-3" (ИОП 409-2) предназначен для локальной защиты отдельных предметов помещений площадью до 40 кв. м. Извещатель формирует конусообразную зону обнаружения с углом обзора в горизонтальной плоскости не менее 72°. Максимальная высота установки: стена, угол стены - 2 м; потолок - 5 м. Напряжение питания - (10,2-13,2) В. Питание осуществляется от источника постоянного тока "Электроника Д2-27", входящего в комплект поставки прибора. Диапазон рабочих температур - (минус 30 - +50) °С. Конструкция извещателя позволяет устанавливать его как на потолке, так и на стене помещения. Крепление осуществляется с помощью шурупов непосредственно к стене (потолку) или через деревянные прокладки между корпусом и стеной (потолком). Соотношение высоты подвеса извещателя и размеров защищаемой площади помещения при установке извещателя на потолке приведено в табл. 3.1. Таблица 3.1
Установка блока питания "Электроника Д2-27" и резервного источника постоянного тока, выбор марки питающего провода производится аналогично п. 3.10.2. При этом максимальная длина линии питания не должна превышать 50 м. 3.14.2. Иэвещатель охранно-пожарный линейный оптико-электронный "Фотон-1М" (ИОП 409-1/1) формирует дискретную зону обнаружения в форме сектора круга для блокировки участков отапливаемых и не отапливаемых закрытых помещений площадью до 90 кв. м. Угол обзора в горизонтальной плоскости не менее 75°, а вертикальной не менее 2°. Зона обнаружения состоит из шести элементарных чувствительных зон, расходящихся от входного окна извещателя по радиальным направлениям в горизонтальной плоскости. Дальность действия при обнаружении человека или открытого пламени: до 12 м без применения светозащитного фильтра; до 6 м с применением светозащитного фильтра. Напряжение питания - (10,2-13,2) В. Питание осуществляется от источника постоянного тока "Электроника Д2-27", входящего в комплект поставки прибора. Диапазон рабочих температур - (минус 30 - +50)°С. Конструкция извещателя обеспечивает возможность: плавного наклона зоны обнаружения извещателя на угол до 15°; плавного поворота зоны обнаружения извещателя в горизонтальной плоскости на угол до 30°. При необходимости расширения предела поворота зоны обнаружения более чем на ±30°, применяют кронштейн. Изменение угла поворота достигается уменьшением или увеличением угла раскрытия кронштейна. Требуемый угол поворота фиксируется установочными винтами. Крепление осуществляется с помощью шурупов. Установка блока питания "Электроника Д2-27" и резервного источника постоянного тока, выбор марки питающего провода производится аналогично п. 3.10.2. При этом максимальная длина линии питания не должна превышать 50 м. 3.14.3. Извещатель охранно-пожарный линейный оптико-электронный "Фотон-2"(ИОП 209-3) формирует зону обнаружения в виде четырехлучевого вертикального барьера для контроля подступов к остекленным проемам стен, коридорам, стеллажам внутри закрытых отапливаемых помещений. Угол обзора в горизонтальной плоскости не менее 2°, а вертикальной не менее 54°. Зона обнаружения состоит из четырех элементарных чувствительных зон, расходящихся от входного окна извещателя по радиальным направлениям в вертикальной плоскости. Дальность действия при обнаружении человека или открытого пламени (при высоте установки извещателя - 2,5 м): до 30 м без применения светозащитного фильтра; до 15мс применением светозащитного фильтра. Напряжение питания - (10,2-13,2) В. Питание осуществляется от источника постоянного тока "Электроника Д2-27", входящего в комплект поставки прибора. Диапазон рабочих температур -(+5- +50) °С. При необходимости изменения углового положения извещателя в горизонтальной плоскости применяют кронштейн. Изменение угла поворота достигается уменьшением или увеличением угла раскрытия кронштейна. Требуемый угол поворота фиксируется установочными винтами. Крепление осуществляется с помощью шурупов. Установка блока питания "Электроника Д2-27" и резервного источника постоянного тока, выбор марки питающего провода производится аналогично п. 3.10.2. При этом максимальная длина линии питания не должна превышать 50 м. 3.14.4. Извещатель охранный объемный оптико-электронный "Фотон-4" (ИО 409-1) предназначен для использования в закрытых помещениях. Контролируемая извещателем площадь не менее 120 кв. м при максимальной дальности действия - (12 +1,2) м. Зона обнаружения извещателя представляет собой сектор, состоящий из шестнадцати элементарных чувствительных зон конической формы, расходящихся от входного окна извещателя по радиальным направлениям в горизонтальной и вертикальной плоскостях. Максимальный угол раскрытия зоны в горизонтальной плоскости - 90°, в вертикальной - 30°. Напряжение питания - (9,0-18,0) В. Питание осуществляется от источника постоянного тока "Электроника Д2-27", входящего в комплект поставки прибора. Диапазон рабочих температур - (минус 30 - +50) °С. По конструктивным и тактическим возможностям извещатель имеет четыре варианта установки. Первый вариант предусматривает установку извещателя на стене непосредственно при помощи установочного основания. Установка по данному варианту обеспечивает возможность дискретной юстировки извещателя в вертикальной плоскости с наклоном 7° или 10°. Второй вариант предусматривает установку извещателя в углу помещения непосредственно при помощи установочного основания с углом наклона в вертикальной плоскости 10°. Данный вариант позволяет наиболее удачно "вписать" зону обнаружения в габариты помещения. Третий вариант предусматривает установку извещателя на потолке при помощи П-образного кронштейна. Данный вариант позволяет локализовать зону обнаружения в любом месте большого помещения, ориентировать зону обнаружения в горизонтальной плоскости в пределах 360° и по вертикали в пределах (0-20)°. Допустимая высота установки не более 3,5 м. Четвертый вариант предусматривает установку извещателя на стене при помощи Г-образного кронштейна, получаемого из П-образного. Установка по данному варианту обеспечивает возможность плавной юстировки извещателя в горизонтальной плоскости в пределах ± 15° при фиксированном угле наклона в вертикальной плоскости 0°. При установке извещателя необходимо: выбрать вариант установки извещателя и режим его работы, руководствуясь наилучшим использованием параметров зоны обнаружения; учесть при выборе расположения зоны обнаружения извещателя соотношение высоты установки (Н, м), угла визирования (наклона в вертикальной плоскости) (F,°) и дальности обнаружения (R, м), приведенные в табл.3.2. Крепление кронштейна или установочного основания следует производить шурупами. Установка блока питания "Электроника Д2-27" и резервного источника постоянного тока, выбор марки питающего провода производится аналогично п. 3.10.2. При этом максимальная длина линии питания не должна превышать 50 м. Таблица 3.2
3.14.4. Извещатель охранный поверхностный оптико-электронный "Фотон-5" (ИО 309-1) формирует зону обнаружения в виде сплошного вертикального барьера размером 5´12 м для блокировки подступов к охраняемым участкам в закрытых отапливаемых и не отапливаемых помещениях. Угол обзора в горизонтальной плоскости не менее 5°, а вертикальной не менее 80°. Максимальная дальность действия извещателя - 12 м. Высота установки извещателя до 5 м. Напряжение питания - (10,2-13,2) В. Питание осуществляется от источника постоянного тока "Электроника Д2-27", входящего в комплект поставки прибора. Диапазон рабочих температур - (минус 40 - +50) °С. При необходимости изменения углового положения извещателя в горизонтальной плоскости применяют кронштейн. Изменение угла поворота достигается уменьшением или увеличением угла раскрытия кронштейна. Требуемый угол поворота фиксируется установочными винтами. Крепление осуществляется с помощью шурупов. Установка блока питания "Электроника Д2-27" и резервного источника постоянного тока, выбор марки питающего провода производится аналогично п. 3.10.2. При этом максимальная длина линии питания не должна превышать 30 м. 3.15. Извещатель охранный объемный комбинированный "Сокол-1" (ИО 40709-1) предназначен для обнаружения проникновения человека в контролируемую зону путем одновременной регистрации доплеровской частоты СВЧ сигнала и изменения уровня инфракрасного излучения, вызванных движением человека. Извещатель формирует зону обнаружения эллипсоидной формы размером 12´9 м для объемного контроля участков охраняемых отапливаемых и не отапливаемых помещений площадью до 90 кв. м. Угол обзора зоны обнаружения составляет: в горизонтальной плоскости не менее 70°; в вертикальной плоскости не менее 30°. Напряжение питания - (10,2–13,2) В. Питание осуществляется от источника постоянного тока "Электроника Д2-27", входящего в комплект поставки прибора. Диапазон рабочих температур - (минус 10 - +50) °С. При выборе места установки извещателя в помещении необходимо руководствоваться требованиями, изложенными в п. 3.11.1 и п. 3.14. Конструкция извещателя - одноблочная, состоящая из двух сенсоров: ИК-пассивного датчика и микроволнового доплеровского датчика. Конструкция основания извещателя позволяет осуществлять его установку непосредственно на стене при помощи шурупов, при этом наклон извещателя в вертикальной плоскости может быть равен 0°, 7°, или 10°, а в горизонтальной плоскости - 45° или 90° по отношению к стене. Установка извещателя должна производиться на капитальных стенах, не подверженных вибрациям. При размещении извещателя в помещениях, площадь которых превышает площадь зоны обнаружения одного извещателя, допускается использовать два и более извещателей. Выносной световой индикатор должен располагаться на окне охраняемого помещения таким образом, чтобы его состояние можно было наблюдать, не входя в помещение. Перед установкой извещателя необходимо: определить расположение зоны обнаружения с учетом того, что извещатель имеет наилучшую обнаруживающую способность при движении нарушителя поперек чувствительных зон; учесть при выборе расположения зоны обнаружения, соотношения высоты установки (Н, м), угла визирования (наклона в вертикальной плоскости) (L,°) и дальности обнаружения (R, м), приведенные в табл. 3.3. Крепление установочного основания следует производить шурупами. Таблица 3.3
Установка блока питания ''Электроника Д2-27'' и резервного источника постоянного тока, выбор марки питающего провода производится аналогично п. 3.10.2. При этом максимальная длина линии питания не должна превышать 50 м. 4. монтаж пожарных извещателей4.1. Автоматические пожарные извещатели, за исключением световых, устанавливаются в помещениях на потолке. При невозможности размещения извещателей на потолке из-за архитектурно-художественных особенностей объекта, допускается установка извещателей на стенах, колоннах на расстоянии не более 300 мм от потолка при условии соблюдения максимально допустимых расстояний между извещателями. В случаях, когда здания имеют сложные железобетонные, металлические и стеклянные потолочные перекрытия, а также перекрытия, имеющие световые фонари, допускается подвеска извещателей на тросах (струнах). При этом прогиб троса (струны) с вертикального расположенными на нем извещателями не должен превышать 300 мм от потолочного перекрытия, включая габариты извещателя. 4.2. В помещениях, где имеются стеллажи или штабели различных предметов, верхние края которых отстоят от потолка на расстоянии 600 мм и менее, извещатели должны устанавливаться в каждой зоне помещения, образованной штабелями или стеллажами. В помещениях, перекрытия которых имеют выступающие более чем на 400 мм конструкции (балки, прогоны, ребра жесткости железобетонных плит), извещатели должны устанавливаться в каждой зоне потолка. 4.3. Одним шлейфом должно блокироваться не более пяти помещений при условии их расположения на одном этаже. Для административных зданий (помещений) допускается блокировка одним шлейфом пожарной сигнализации до 10, а при наличии выносной сигнализации из каждого помещения-до 20 помещений с общим коридором или смежных. Для прокладки шлейфа сигнализации может применяться любой провод, разрешенный для этих целей (см. п. 9.21). 4.4. Пожарные извещатели, применяемые для обнаружения загораний в местах прохода проводов, кабелей и других горючих материалов, проложенных между перекрытием и подвесным потолком, должны устанавливаться за подвесным потолком на перекрытии или кронштейнах и должны быть включены в отдельный шлейф сигнализации. 4.5. Извещатели пожарные тепловые: максимальные, дифференциальные, магнитные предназначены для контроля температуры окружающей среды на охраняемых объектах и (или) скорости ее возрастания и формирования электрического сигнала при достижении контролируемыми параметрами нормируемого уровня. Площадь, контролируемая одним тепловым пожарным извещателем, а также максимальные расстояния между извещателями и извещателем и стеной, должны определяться по табл. 4.1, но не должны превышать величин, указанных в технических условиях и паспортах на конкретные типы извещателей. Таблица 4.1.
В помещениях с плоскими потолками тепловые извещатели должны устанавливаться равномерно по площади потолка. В помещениях высотой 3,5 м и с выступающими на потолках строительными конструкциями, размером свыше 200 мм, контролируемая одним извещателем площадь не должна превышать 15 кв. м. Количество тепловых извещателей, включаемых в один шлейф пожарной сигнализации, должно определяться возможностью своевременного определения мест загораний и техническими характеристиками ПКП, но не должно превышать 50 шт. В одном помещении следует устанавливать не менее двух тепловых пожарных извещателей. 4.5.1. Извещатель пожарный максимальный-ИП 104-1 обыкновенного использования предназначен для выдачи сигнала тревоги при повышении температуры воздуха выше установленной нормы. Температура срабатывания (разрыва электрической цепи) (70+3/-1) °С. Инерционность срабатывания, не более - 90 с. Диапазон рабочих температур - (минус 50 - +50) °С. Извещатель состоит из корпуса, теплового замка и основания. Контакты теплового замка спаяны сплавом Вуда. Для закрепления теплового замка внутри корпуса, а также для подключения извещателя к цепи сигнализации применяют винты МЗ´12 и гайки МЗ. Основание извещателя крепят к потолку с помощью шурупа или клея. После этого к основанию прикрепляют корпус. 4.5.2. Извещатель пожарный тепловой магнитный ИП 105-2/1 предназначен для работы в закрытых помещениях наземных стационарных объектов с целью выдачи информации о пожаре при повышении температуры воздуха выше установленной нормы. Температура срабатывания (разрыва электрической цепи) (70 ± 7)°С. Инерционность срабатывания, не более - 90 с. Диапазон рабочих температур - (минус 50 - +50)°С. При монтаже извещателя его основание закрепляют с помощью шурупов или клея, имеющего адгезию к материалу основания - полистиролу УПМ - 0612Л (ОСТ 05-406-80), при этом температура сушки клеевого соединения не должна превышать 60 °С. При установке должны исключаться механические удары, а также затекание клея на токоведущие проводники и детали извещателя. Закрепленный извещатель подключают в шлейф сигнализации. Выводы шлейфа необходимо пропустить в имеющиеся окна в основании, закрепить токоведущими шайбами и зажать винтами. После подключения шлейфа сигнализации следует установить крышку, обеспечив срабатывание замка защелки. 4.6. Извещатели пожарные дымовые: радиоизотопные, оптико-электронные, комбинированные предназначены для обнаружения загораний, сопровождающихся обильным выделением дыма. Площадь, контролируемая одним дымовым пожарным извещателем, а также максимальное расстояние между извещателями и извещателем и стеной необходимо определять по табл. 4.2, но не превышая величин, указанных в технических условиях и паспортах на конкретные типы извещателей. 4.6.1. Извещатель пожарный радиоизотоппый РИД - 6М (РПИ-Д-6/О) предназначен для обнаружения очагов загорания по появлению дыма в закрытых помещениях и подачи сигнала тревоги в виде скачкообразного увеличения тока в шлейфе сигнализации. Инерционность срабатывания, не более 10 с. Питание извещателя осуществляется от шлейфа сигнализации напряжением постоянного тока - (20+4/-2) В, с ограничителем тока (16-20) мА. Диапазон рабочих температур - (минус 30 - +70) °С. Извещатель содержит источники ионизирующего излучения. Во всех режимах эксплуатации при соблюдении мер безопасности извещатель является радиационно-безопасным. Однако в случае его механического повреждения может возникнуть опасность радиоактивного загрязнения внешней среды. Поэтому перед монтажом извещателя обязателен его внешний осмотр на предмет отсутствия механических повреждений (трещин, сколов, вмятин и т.п.) корпуса извещатели. Обязательна целостность пломб. При невыполнении этих условий монтаж извещателя не допускается.
Конструкция извещателя позволяет его устанавливать как в горизонтальном, так и в вертикальном положениях. Извещатель подсоединяется к двухпроводному шлейфу сигнализации с помощью унифицированной розетки, крепящейся к панели шурупами или клеем. Перед установкой извещателя необходимо выдержать его при комнатной температуре не менее 4 часов, если до этого извещатель находился в условиях действия отрицательных температур. При монтаже извещателя необходимо учитывать вероятную динамику воздушных потоков в помещении, (не допускается устанавливать извещатель в месте, где скорость потока воздуха может превышать 5 м/с); Не рекомендуется устанавливать извещатель в пыльных помещениях и в местах, где возможно выделение газов, паров и аэрозолей, способных вызвать коррозию, привести к загрязнению извещателя и нарушить его работоспособность. ВНИМАНИЕ! После установки извещателя обязательна проверка его безопасности органами санитарно-эпидемиологической службы. Не рекомендуется установка извещателя в жилых помещениях и детских учреждениях. В извещателе предусмотрено подключение выносного устройства оптической сигнализации (ВУОС). 4.6.2. Извещатели пожарные оптико-электронные ДИП-3 (ИП 212-5), ДИП-9 (ИП 212-9), ДИП-10 (ИП 212-10) предназначены для обнаружения очагов загорания по появлению дыма в закрытых помещениях и подачи сигнала тревоги в виде скачкообразного увеличения тока в шлейфе сигнализации. Инерционность срабатывания, не более - 5 с. Питание извещателя осуществляется от шлейфа сигнализации напряжением постоянного тока - (20+4/-2) В, с ограничителем тока (16-20) мА. Диапазон рабочих температур - (минус 30 - +60) °С. Конструкция извещателей позволяет устанавливать их как в горизонтальном, так и в вертикальном положениях. Извещатели подсоединяются к двухпроводному шлейфу сигнализации с помощью унифицированной розетки, крепящейся к панели шурупами или клеем. Площадь, защищаемая одним извещателем, - не менее 150 кв. м при высоте установки до 4 м, и не менее 50 кв. м при высоте установки 15 м. При монтаже извещателей необходимо учитывать вероятную динамику воздушных потоков в помещении. Не допускается устанавливать извещатель в местах, где скорость потока воздуха может превышать 10 м/с. Запрещается использовать извещатели в помещениях, имеющих технологическое оборудование, излучающее мощные электромагнитные поля высокой и сверхвысокой частоты (рентгеновские установки, аппараты физиотерапии и т.д.). По окончании монтажа извещателей необходимо проверить их работоспособность по оптическому индикатору. В извещателях предусмотрено подключение ВУОС. 4.7. Извещатели пожарные пламени (ультрафиолетового или инфракрасного излучения) предназначены для обнаружения загорания по появлению открытого пламени. Извещатели малоинерционны и позволяют контролировать большие площади. Извещатели устанавливаются в помещениях на потолке, стенах и других строительных конструкциях зданий и помещений, а также на технологическом оборудовании таким образом, чтобы каждая точка защищаемой поверхности контролировалась не менее, чем двумя извещателями. 4.7.1. Извещатель пожарный "Аметист" (ИП 329-2) предназначен для обнаружения загораний, сопровождающихся появлением ультрафиолетового излучения от пламени очага загорания в закрытых помещениях различных зданий и сооружений. При этом площадь, контролируемая извещателем при его установке на высоте 20 м составляет 1000 кв. м без пылеотражателя и 200 кв. м с пылеотражателем. Инерционность срабатывания, не более - 5 с. Питание извещателя осуществляется от шлейфа сигнализации напряжением постоянного тока - (20+4/-2) В, с ограничителем тока (16-20) мА. Диапазон рабочих температур - (минус 30 - +50)°С. Порядок установки и подготовки извещателя к работе следующий: закрепить розетку извещателя в пылезащитном корпусе; соединить поворотное устройство с пылезащитным корпусом розетки; закрепить поворотное устройство на месте установки с помощью винтов или шурупов; подключить провода шлейфа сигнализации к клеммам розетки; установить пылеотражатель на блоке извещателя; вставить блок извещателя в розетку; сориентировать извещатель на очаг возможного загорания и зафиксировать винтами на поворотном устройстве; в розетке последнего в шлейфе сигнализации извещателя к клеммам подключить диод и резистор в соответствии с паспортом. 4.8. Извещатель ручной пожарный ИПР предназначен для выдачи сигнала тревоги при воздействии на него человека. Диапазон рабочих температур - (минус 50 - +50) °С. Извещатели устанавливаются на стенах и стойках внутри и вне зданий, и крепится шурупами или винтами на высоте 1,5 м от уровня пола (земли). К извещателям должен быть свободный доступ, место установки должно иметь достаточную освещенность. Внутри помещения извещатели следует устанавливать в коридорах, на площадках, лестничных клетках, около выходных дверей, в проходах (на расстоянии не более 50 м друг от друга). Вне помещений извещатели устанавливаются в доступных местах, на расстоянии не более 150 м друг от друга. 5. МОНТАЖ ПРИЕМНО-КОНТРОЛЬНЫХ ПРИБОРОВ, СИГНАЛЬНО-ПУСКОВЫХ УСТРОЙСТВ И ОПОВЕЩАТЕЛЕЙ5.1. Приемно-контрольные приборы (ПКП) и сигнально-пусковые устройства (СПУ) малой информационной емкости (от 1 до 5 шлейфов охранно-пожарной сигнализации) предназначены для приема, обработки информации, поступающей от охранных и пожарных извещателей, включения выносных световых и тревожных звуковых оповещателей и/или средств пожарной автоматики, передачи информации на оконечные устройства систем передачи тревожных извещений. Основные технические характеристики ПКП и СПУ малой информационной емкости приведены в табл. 5.1. Таблица 5.1
Установка ПКП малой информационной емкости производится: при отсутствии специально выделенного помещения - на высоте не менее 2,2 м от уровня пола; при наличии специально выделенного помещения на высоте не менее 1,5 м. Установка приборов в местах, доступных посторонним лицам (торговые залы, магазины и т.п.), должна производиться в запираемых металлических шкафах или ящиках, заблокированных на открывание, на высоте, удобной для обслуживания. Не допускается установка приборов в сгораемых шкафах, а также на расстоянии менее 1 м от отопительных систем. Крепление должно осуществляться "под винт" (шурупами). Выносные элементы ПКП (СПУ), входящие в комплект поставки, скрытно устанавливаются внутри охраняемого объекта, на оконечном участке шлейфов сигнализации. 5.2. Приемно-контрольные приборы средней (от 6 до 50 шлейфов) и большой информационной емкости (более 50 шлейфов) предназначены для приема тревожных извещений от ПКП малой информационной емкости или непосредственно от охранных или пожарных извещателей, включения звукового и светового оповещателей и передачи сигнала тревоги на пульты централизованного наблюдения. С ПКП малой информационной емкости или извещателями ПКП средней и большой информационной емкости соединяются посредством специально прокладываемых линий связи, а с пультами централизованного наблюдения, как выделенными линиями связи, так и с помощью абонентских телефонных линий. Основные технические характеристики ПКП средней и большой информационной емкости приведены в табл. 5.2. ПКП средней и большой информационной емкости состоят, как правило, из базовых и линейных блоков, позволяющих, в зависимости от потребности, изменять количество контролируемых шлейфов сигнализации (направлений). Установка ПКП средней и большой информационной емкости, сигнально-пусковых устройств производится, как правило, в специально выделенных помещениях (на столе) или на стене, на высоте не менее 1,5 м от уровня пола. 5.2.1. Приемно-контрольный охранный прибор "Буг" (ППКО 0312-2/60-1) предназначен для организации автоматизированной охраны банков. ПКП состоит из блока обработки и управления (БОУ) и 10, 20 или 30 (в зависимости от комплекта поставки) блоков оконечных (БО) и позволяет контролировать до 60 шлейфов сигнализации. ПКП защищен от несанкционированного доступа и повреждения линий связи. В нем предусмотрена возможность подключения резервного источника питания, а также сохранения всей информации о контролируемых шлейфах сигнализации в случае отключения и основного, и резервного источника питания. БОУ устанавливается в специально выделенном помещении (пункте охраны) на столе или на стене помещения с учетом удобства обслуживания и эксплуатации.
БО, в зависимости от функционального назначения его шлейфов сигнализации устанавливаются как внутри, так и вне охраняемой зоны. В первом случае БО устанавливаются вблизи входной двери вне зоны действия активных извещателей, если такие имеются. Во втором случае - перед входной дверью в охраняемую зону. Для прокладки магистральной линии связи, шлейфов сигнализации и линий отвода от распределительных коробок до блоков оконечных рекомендуется применять провод марки ТРП 2´0,5 ГОСТ 20575-75. 5.2.2. Приемно-контрольный охранно-пожарный прибор "Рубин-3" состоит из 10-ти номерного базового и до 4-х 10-ти номерных линейных блоков, позволяющих увеличить емкость до 50 номеров. При использовании только базового блока его можно эксплуатировать как в настенном, так и в настольном вариантах. При емкости ПКП от 20 до 50 шлейфов сигнализации, базовый и линейные блоки устанавливаются, как правило, на стене в месте, удобном для монтажа и обслуживания. Порядок установки ПКП следующий: На стене, на высоте порядка 1,5 м, укрепляется основание базового блока, затем над ним устанавливаются основания линейных блоков так, чтобы штифты нижнего основания вошли в пазы верхнего с последующим закреплением их к стене. ПКП работает с пультами централизованного наблюдения, обеспечивающими ток в линии связи от 3 до 50 мА. 5.2.3. Приемно-контрольный охранно-пожарный прибор "Рубин-6" (ППКОП 0104064-20-2) позволяет контролировать 20 шлейфов сигнализации по трем признакам: "Норма", "Неисправность", "Проникновение". В ПКП предусмотрена возможность выделения из 20 контролируемых направлений нескольких функциональных групп (пожарных, охранных, тревожных шлейфов) и передачи соответствующих извещений на пульты централизованного наблюдения. ПКП имеет модульную конструкцию. Модули взаимозаменяемые. 5.2.4. Приемно-контрольные охранно-пожарные устройства "Топаз", "Топаз-М" (УПКОП 01041-10/50-1, УПКОП 01041-10/50-1/1) состоят из устройства базового и 1 или 2 блоков линейных и позволяют контролировать состояние до 50 охранных или пожарных шлейфов ("Тревога", "Пожар" - раздельно). Приемно-контрольные устройства охранно-пожарные устройства (ПКУ) обеспечивают световую и звуковую индикацию нарушения шлейфов сигнализации, передачу тревожных извещений на пульт централизованного наблюдения и формирование команд телеуправления установками автоматического пожаротушения и дымоудаления. ПКУ контролируют исправность шлейфов сигнализации с отображением поступающей информации при помощи выносных световых и звуковых сигнализаторов. Сигнализаторы устанавливаются в местах, удобных для визуального контроля за их работой. ПКУ позволяют организовать следующие варианты сигнализации: однорубежную охранную сигнализацию; двухрубежную охранную сигнализацию; пожарную сигнализацию с использованием автоматических средств пожаротушения и дымоудаления; совмещенную охранно-пожарную сигнализацию с независимыми пожарным и охранным каналами. 5.2.5. Сигнально-пусковое пожарное устройство "ППС-З" (КСПП-019-20/60-2) предназначено для приема извещений (пожар, неисправность шлейфа сигнализации) от автоматических и ручных пожарных извещателей с нормально-замкнутыми и нормально-разомкнутыми контактами, а также от активных пожарных извещателей типа ДИП-2, РИД-6М с совмещенными питающими и сигнальными цепями. СПУ может контролировать до 60 шлейфов сигнализации, в каждый из которых включается не более 20 извещателей типа ДИП-2 или не более 40 пожарных извещателей с нормально-замкнутыми или нормально-разомкнутыми контактами. СПУ состоит из устройства базового, осуществляющего контроль 20 шлейфов сигнализации, и блока линейного, который контролирует еще 40 шлейфов. Устройство базовое выполнено в виде настенного шкафа с открывающейся передней дверцей. С целью визуального доступа к оптическим индикаторам в передней дверце имеется прозрачное окно. Блок линейный соединяется с устройством базовым посредством жгута с разъемами на его концах. Конструкция блока линейного аналогична конструкции устройства базового. СПУ устанавливается в специальном помещении. Для установки устройства базового необходимо на несущей вертикальной поверхности надежно закрепить 4 шпильки диаметром 6 мм (в соответствии с установочными размерами) с таким расчетом, чтобы нижний край устройства при его установке находился на расстоянии около 1,5 м от поверхности пола. Длина закрепленной в стену шпильки должна быть не менее 80 мм. Навесить базовое устройство на установленные шпильки и закрепить четырьмя гайками с шайбами. Аналогично установить линейный блок непосредственно под базовым устройством. После установки к СПУ подключается заземление, шлейфы сигнализации, линии питания, линии пуска средств пожаротушения или дымоудаления. 5.2.6. Приемно-контрольный пожарный прибор "ППК-2" предназначен для контроля шлейфов сигнализации, состоящих из автоматических и ручных пожарных извещателей с нормально-замкнутыми и нормально-разомкнутыми контрактами. Количество подключаемых шлейфов до 60 шт. Прибор должен устанавливаться в специально отведенном помещении. Для установки прибора на несущей вертикальной поверхности, следует надежно закрепить 4 шпильки диаметром 6 мм и длиной не менее 80 мм в соответствии с установочными размерами так, чтобы нижний край прибора при его установке находился на расстоянии около 1,5 м от пола. Снять планки, закрывающие два окна на задней панели, предназначенные для ввода внешних кабелей. Закрепить прибор на установленных шпильках четырьмя гайками и шайбами. Аналогично устанавливается линейный блок непосредственно под прибором, или сбоку от него. 5.3. Прибор-сигнализатор "Атлас-6" предназначен для организации централизованной охраны до 15 объектов (квартир граждан) по занятым абонентским линиям ГТС при совместной работе с системами передачи извещений с ручной тактикой управления. Прибор используется на объектах с ограниченным количеством абонентских телефонных линий, для организации многорубежной охраны, а также на нетелефонизированных объектах. Напряжение питания от сети переменного тока оконечных устройств - (187- 42) В. Напряжение источника питания ретранслятора - (43-72) В. Диапазон рабочих температур: оконечного устройства и блока подключения - (минус 30 - +45) °С; ретранслятора - (+1 - +45)°С. Прибор включает в себя 15 устройств оконечных (УО), 15 блоков подключения (БП), 15 кассет резервного питания и 1 ретранслятор (РТ). Каждое УО осуществляет контроль двух шлейфов сигнализации с сопротивлением шлейфа не более 100 Ом, каждого. В каждом УО и РТ предусмотрена возможность визуального контроля состояния шлейфов сигнализации (световая индикация). В шлейфы сигнализации допускается включать контактные извещатели на основе герконов, пожарные извещатели, работающие на обрыв, выходные контакты ПКП, омические, электроконтактные извещатели. На охраняемом объекте устанавливаются УО, БП и кассета резервного питания, при этом БП должен включаться в разрыв абонентской линии связи до телефонного аппарата или до места параллельного включения телефонных аппаратов. УО, БП и кассета выполнены в виде конструкций настенного типа, крепящихся к стене "под винт" (шурупами). Между собой блоки соединяются двухпроводной линией, "под винт", с соблюдением полярности. Длина линии, соединяющей УО и БП, не должна превышать 50 м. РТ устанавливается на кроссе АТС. Он выполнен в виде конструкции настенного типа, крепящейся к стене "под винт" (шурупами). До подключения РТ к станционному источнику питания его корпус необходимо заземлить. При проведении работ, связанных с изъятием РТ, необходимо к ответной (кабельной) части разъема РТ подключать заглушку, входящую в комплект ЗИП "Атлас-6". 5.4. Оповещатели предназначены для подачи сигналов тревоги и подразделяются на световые и звуковые. В качестве световых оповещателей используются лампы накаливания и неоновые, а в качестве звуковых - различные звонки и сирены. Оповещатели должны, как правило, устанавливаться на охраняемом объекте с фасадной стороны в местах, удобных для визуального и звукового контроля (наружные стены, межоконные и межвитринные пространства, тамбуры выходных дверей). Оповещатели устанавливаются на высоте не менее 2,5 м. Место установки светового оповещателя выбирается с учетом минимального расстояния от установленных ПКП и обеспечения возможности его просмотра с возможно большего расстояния при закрытии двери здания (помещения). Способ установки светового оповещателя должен обеспечивать его защиту от механических повреждений: при наружной установке лампа устанавливается в защитной металлической арматуре, укрепленной на металлическом кронштейне или стене здания (помещения). Звуковые оповещатели: сигнальная сирена (СС-1), звонок громкого боя (M3-1) устанавливаются в местах, затрудняющих вывод их из строя, как правило, на стене снаружи охраняемого здания (помещения). 6. МОНТАЖ ПЕРИМЕТРАЛЬНЫХ ТЕХНИЧЕСКИХ СРВДСТВ ОХРАННОЙ СИГНАЛИЗАЦИИ (ПОС)6.1. Монтаж охранных извещателей. 6.1.1. Извещатели охранные линейные оптико-электронные "Рубеж-1М" (ИО 209-5), "Рубеж-ЗМ" (ИО 209-4А) предназначены для обнаружения проникновения нарушителя через контролируемый рубеж охраняемой территории объекта. Извещатель "Рубеж-1М" формирует четырехлучевой ИК барьер высотой 1,5 м, а "Рубеж-ЗМ" соответственно - два отдельных независимых однолучевых или один совместный двухлучевой. Максимальная длина блокируемого участка: "Рубеж-1М" - 200 м; "Рубеж-3М" - 300 м. Напряжение питания от сети переменного тока -(187-242) В. Диапазон рабочих температур - (минус 45 - +50)°С. В состав извещателя "Рубеж-1М" входят две идентичных по внешнему виду колонки излучателей (КИ) и фотоприемников (КФ). В состав извещателя "Рубеж-3М" входят два блока излучателей (БИ) два блока фотоприемников (БФ) и один блок питания и контроля (БПК). Конструкция юстировочного механизма (БИ) и (БФ) извещателя "Рубеж-1М" ("Рубеж-3М") обеспечивает поворот блоков: в горизонтальной плоскости на угол 360 (300)°; в вертикальной плоскости на угол 30 (30)°. Монтаж извещателя "Рубеж-1M". КИ и КФ извещателя должны устанавливаться на границах блокируемого участка на бетонных фундаментах размером 250´250 мм и глубиной, не менее 500 мм. На фундаментах должны быть укреплены либо платформа с четырьмя отверстиями с резьбой М10, либо четыре анкерных болта М10, выступающих из фундамента на 30-35 мм. Колонки извещателя крепятся к платформам болтами М10´30 или к анкерным болтам гайками М10. Провода питания, сигнализации и связи подводятся к каждой колонке. Монтаж провода может быть проведен в металлических трубах или металлорукавах в зависимости от типов используемых кабелей и условий эксплуатации на данном объекте. Сетевое питание КИ должно производиться через отдельный выключатель так, чтобы КФ могли оставаться включенными при выключенных КИ. Это необходимо для дистанционного контроля работоспособности извещателя. Монтаж извещателя "Рубеж-3М". Блоки извещателя могут устанавливаться на стенах, специальных столбах или стойках, обеспечивающих отсутствие колебаний амплитудой более 0,1 мм при воздействии внешних возмущающих воздействий. Для защиты блоков извещателя от посторонних лиц рекомендуется размещать блоки в специальных кожухах. Крепление блоков производится болтами с гайками М6. Подключение соединительных проводов и БПК должно производиться через входные штуцера по одному кабелю круглого сечения в каждый штуцер. Диаметр оболочки вводимого кабеля не должен превышать 11,5 мм. При диаметре оболочки кабеля 9-11,5 мм на оболочку одевается резиновая втулка с диаметром внутреннего отверстия 11,5 мм, при диаметре кабеля 6-9 мм - 6,8 мм соответственно. Ввод в БПК проводов от двух БИ должен производиться через соединительную коробку СК-1 или аналогичную по назначению, при этом в соединительной коробке провода от двух БИ разводятся на один четырехпроводный кабель сечением не менее 4´0,35 кв. мм, который затем непосредственно вводится в штуцер БПК с маркировкой БИ. Ввод в БПК проводов от двух БФ должен производиться через соединительную коробку СК-1 или аналогичную по назначению, при этом провода от двух БФ разводятся на один восьмипроводный кабель сечением не менее 8´0,35 кв. мм, который затем непосредственно вводится в штуцер БПК с маркировкой БФ. Ввод в БПК проводов сигнализации, резервного и сетевого питания должны производиться через штуцера кабелями круглого сечения. Соединительные провода прокладываются в трубах или металлорукавах в зависимости от требований на охраняемом объекте и типов используемых проводов. Сетевое питание извещателя должно осуществляться через отдельный выключатель так, чтобы при необходимых переключениях в БПК извещатель можно было выключить. Длина общего соединительного кабеля между БПК и БФ должна быть не более 5 м, а между БПК и БИ - не более 320 м. 6.1.2. Извещатель радиоволновой линейный "Радий-1" (ИО 207-1) предназначен для охраны периметров различных объектов путем создания зоны обнаружения длиной от 20 до 200 м, шириной не более 6 м и высотой до 2,5 м. Напряжение питания от сети переменного тока - (187-242) В. Диапазон рабочих температур - (минус 40 - +50)°С. Извещатель помехоустойчив к воздействию дождя и снега, мелких одиночных животных и птиц с максимальным линейным размером не более 18 см. Конструктивно извещатель состоит из двух блоков: блока передатчика и блока приемника, снабженных юстировочными механизмами, с помощью которых блоки крепятся к столбу. Извещатель может быть использован в трех вариантах размещения на охраняемом объекте: вдоль забора; над забором; вдоль здания на большой высоте. Для размещения извещателя с горизонтальным расположением антенн вдоль забора периметра охраняемого участка должна быть выделена зона отторжения шириной В, которая зависит от длины L зоны, охраняемой одним извещателем, и определяется из выражения:
В этой зоне не должно быть построек, кустарника, деревьев, травы выше 0,1 м и т.п. Установку извещателя на выделенной зоне отторжения необходимо производить на жестких устойчивых к вибрациям опорах (капитальные стены, столбы диаметром от 60 до 120 мм) на высоте Н, которая висит от длины зоны L и определяется выражением:
Длина "мертвой" зоны определяется из выражения:
Высота охраняемой зоны определяется из выражения:
При выборе места установки извещателя необходимо учитывать, что он должен находится от забора на расстоянии, равном половине ширины зоны отторжения. Размещение извещателя над забором можно производить в случае, если ограждение имеет высоту не менее 2 м. Подсоединение кабелей к извещателю должно осуществляться через соединительные коробки, от которых кабель, подводимый к блокам извещателя, должен быть заключен в металлорукав. Тип и марка кабелей приведен в технической документации на извещатель. Соединительные коробки следует располагать вблизи блоков, извещателя на расстоянии не более 5 м. 6.1.3. Радиоволновой объемный охранный извещатель "Фон-1" (ИО 407-4) предназначен для охраны материальных ценностей на открытых площадках с ограждением периметра площадью до 300 кв. м или в помещениях объемом до 1000 куб. м. Извещатель позволяет формировать эллипсоидную форму зоны обнаружения размером 30´15 м. Напряжение питания от сети переменного тока - (187-242) В. Диапазон рабочих температур - (минус 45 - +50)°С. Извещатель помехоустойчив к воздействию дождя и снега, мелких одиночных животных и птиц с максимальным линейным размером не более 18 см. Конструктивно извещатель выполнен в виде отдельного блока с юстировочным механизмом, который дает возможность формировать зону обнаружения в требуемом месте открытой площадки или помещения. При выборе места установки извещателя на охраняемом объекте необходимо учитывать следующее: размещение извещателя должно быть произведено с помощью механизма юстировки на жестких опорах, не подверженных вибрациям (колонне, столбе, капитальной стене); включение питающих напряжений должно осуществляться внешними выключателями, а к специальному винту на корпусе извещателя должно быть подключено защитное заземление; при использовании двух или более извещателей, их зоны обнаружения не должны пересекаться (это достигается параллельной ориентацией векторов излучений, разнесением извещателей на расстояние, превышающее максимальную ширину зон обнаружения). Если подобную установку извещателей осуществить невозможно, то необходимо использовать извещатели с разными частотными литерами; при установке извещателя в отапливаемых и не отапливаемых помещениях в них на период охраны должны быть выключены вентиляционные установки, должны отсутствовать вибрирующие и колеблющиеся предметы. Допускается кратковременная вибрация отдельных предметов (стекол окон), амплитуда колебаний которых не превышает 1,0 мм. Допускается движение людей в соседнем помещении, если это помещение отделено от охраняемого капитальной стеной. На расстоянии не менее 5 м от окон охраняемого помещения не должно быть деревьев. Окна охраняемого помещения должны быть удалены от транспортной магистрали на расстояние не менее 10 м, а от железнодорожной линии - не менее 100 м. Допускается работа УКВ - радиостанций мощностью до 8 Вт на расстояние не менее 5 м от стен охраняемого помещения; необходимо ориентировать извещатель таким образом, чтобы его лицевая панель (обтекатель) не была направлена на окна тонкие перегородки, вытяжные вентиляторы; при охране извещателем открытой площадки, материальные ценности должны находиться в центре зоны обнаружения извещателя (суммарной зоны обнаружения нескольких извещателей). Высота ограждения площадки должна быть не менее 1,0 м, (например, сетка "рабица" с размером ячеек не менее 6´6 см). На площадке не допускается наличие кустов и деревьев, допускаются отдельные участки травы высотой не более 0,15 м по периметру площадки. Не допускается сток воды с крыши здания, если на внешней стороне стены здания установлен извещатель. На охраняемой площадке могут быть отдельные вибрирующие предметы, амплитуда колебаний которых не превышает 1 мм. Допускаются кратковременные ударные колебания ограждения площадки с амплитудой до 1 см. Вне пределов охраняемой площадки (5-7 м от границы охраняемой зоны) допускается наличие кустов и крон деревьев, построек. Охраняемая площадкам должна быть удалена на расстояние не менее 300 м от железнодорожных линий и не менее 1 км от аэропортов и мощных радиопередающих станций. Допускается функционирование УКВ-радиостанций с мощностью до 8 Вт вне территории объекта, на котором находится охраняемая площадка. Высота установки извещателя определяется высотой охраняемых предметов. Высота подвеса и угол наклона извещателя должны выбираться таким образом, чтобы перед зоной тени существовал участок зоны обнаружения, защищающий подход к охраняемому предмету. Рекомендуется высота подвеса 3,0-7,0 м. 6.2. Монтаж устройств охранного телевидения 6.2.1. Охранное телевидение предназначено для передачи визуальной информации о состоянии охраняемого периметра и территории объекта на пост охраны. Применение телевизионного контроля позволяет в случае получения сигнала о нарушении определить без выхода на место нарушения характер нарушения, место нарушения, направление движения нарушителя и принять необходимые меры. Комплекс технических средств охранного телевидения состоит из: промышленной телевизионной установки (ПТУ); линий связи устройства электропитания и дополнительных устройств, обеспечивающих необходимое освещение объекта. 6.2.2. В состав ПТУ могут входить: телевизионные камеры (КТП-82, КТП-83, КТП-83-1, КТП-84, КТП-85); видеоконтрольное устройство (ВК23 В102, ВК50 В100); устройство наведения телекамер (УН-24, УН-29, УН-34); приемник видеосигналов (блок коммутации, линейный усилитель, линейный блок) для приема и обработки команд телеуправления и информационных сигналов от телекамер; пульт управления (ПУ-121, ПУ-122, ПУ-128, ПУ-137). Для организации телевизионного контроля территории и периметра объектов небольшой площади следует применять ПТУ-67,-68,-69 или им подобные с числом телевизионных камер 3-4. Для крупных объектов следует применять многокамерные установки ПТУ-74,-75 с числом камер соответственно 16 и 20. Телевизионные камеры должны иметь защиту от механических повреждений и устанавливаться в местах, исключающих возможность их умышленного повреждения и позволяющих осуществлять обзор участков охраняемого периметра и территории. 6.2.3. Состав ПТУ различных типов представлен в табл. 6.1. 6.2.4. Аппаратуру ПТУ на местах эксплуатации следует размещать по рабочим чертежам проекта после проверки и определения пригодности всех приборов и блоков путем предварительного испытания на настроечных кабелях, поставляемых предприятием-изготовителем. Начинать размещение и крепление аппаратуры следует одновременно с приемной и с передающей сторон. Закрепив все приборы и блоки ПТУ, их сразу же заземляют, т.е. подключают к выводным клеммам "Земля" или металлическим корпусам аппаратуры, заранее подведенным к месту размещения заземляющих проводнике от естественных или искусственных заземлителей. После подключения заземления производят контрольные измерения сопротивления заземляющих устройств, которые не должны превышать 4 Ом. Таблица 6.1
6.2.5. При наличии больших фоновых помех (7 В и более), вызванных разностью потенциалов заземлителей далеко удаленных приборов, рекомендуется применять для заземления всех приборов установки одно общее заземляющее устройство. В этом случае все приборы должны быть изолированы от земли и присоединены к общему заземляющему проводнику, который соединяется только с одним заземлителем. 6.2.6. При размещении приборов передающей стороны ПТУ соблюдают следующие правила: телевизионную передающую камеру располагают в пределах прямой видимости наблюдаемого объекта так, чтобы в поле зрения объектива не попадало прямое освещение постороннего источника света; вблизи камеры не должно быть больших магнитных масс и сильных источников электрических полей; к приборам передающей стороны должен быть обеспечен свободный и безопасный доступ обслуживающего персонала. Приборы передающей стороны устанавливают в следующей последовательности: закрепляют устройство наведения на месте эксплуатации болтами, при этом на разъемы приборов и камерных кабелей должны быть кадеты заглушки, предохраняющие разъемы от климатических воздействий и случайных ударов; устанавливают и закрепляют на устройстве наведения защитный кожух; устанавливают в защитный кожух телевизионную передающую камеру. Стойки с телевизионными блоками следует крепить к деревянному полу глухарями, к бетонному - анкерными болтами. Диаметры анкерных болтов и глухарей должны соответствовать диаметрам отверстий в стойках. 6.2.7. Передающие телевизионные камеры необходимо в зависимости от условий мест размещения крепить к колонкам, бетонным и кирпичным стенам, металлоконструкциям, а также устанавливать на специальных стойках и площадках. Передающие телекамеры с устройствами наведения следует устанавливать не в центре площадки, а с краю (слева или справа), что создает лучшие условия эксплуатации. При установке передающих телекамер на высоте более 2,5 м, монтажную лестницу снабжают защитной "корзиной". Передающие телекамеры с устройствами наведения необходимо крепить к площадкам, светофорным мачтам и кронштейнам болтами и гайками, с обязательной прокладкой шайб. В местах повышенной вибрации следует предусматривать пружинные или резиновые амортизаторы. Кронштейны и площадки необходимо приваривать к металлоконструкциям, если конструкция при этом не ослабляется. 6.2.8. Наблюдение за объектом телевизионной камерой (КТП) возможно в пределах прямой видимости, при этом КТП располагается так, чтобы в поле зрения объектива не падало прямое освещение постороннего источника света. Максимальная длина линии связи от КТП до поста наблюдения определяется типом применяемого ПТУ (от 500 м до 10000 м). При определении места установки камеры рекомендуется пользоваться формулой (1):
где: a - необходимый линейный размер изображения на экране ВКУ, мм; А - линейный размер наблюдаемого объекта, мм; F - фокусное расстояние объектива, мм; S - расстояние от передней линзы объектива до наблюдаемого объекта, мм; Н - высота растра на кинескопе, мм; h - высота растра на видиконе, мм (h= 9,5 мм). Для определения не просматриваемой камерой зоны (слепой зоны) рекомендуется пользоваться формулой (2):
где: L - длина слепой зоны, м; h - высота установки камеры, м; b - угол зрения объектива с учетом рабочей поверхности планшайбы видикона в градусах; у - угол, образованный оптической осью камеры и вертикалью в градусах. 6.2.9. Вблизи камеры не должно быть больших магнитных масс и источников сильных электрических полей. Напряженность магнитного поля должна быть не более 13 А/м в продольном направлении и не более 40 А/м в поперечном направлении по отношению к расположению камеры. Схема размещения камеры приведена в рекомендуемом приложении 7. 6.2.10. В случае, когда освещенность наблюдаемых объектов недостаточна для получения удовлетворительного изображения, необходимо применять дополнительную подсветку, для чего используются светильники белого света любого типа. Удовлетворительное изображение обеспечивается при освещенности объекта наблюдения в пределах 20-100 лк при относительном отверстии объектива камеры 1:4. 6.2.11. Приемную часть ПТУ, видеоконтрольные устройства, пульты управления размещают в помещении охраны. 6.2.12. Видеоконтрольные устройства (ВКУ) предназначены для воспроизведения на экране кинескопа черно-белого телевизионного изображения наблюдаемого объекта. При размещении ВКУ соблюдаются следующие условия: экран ВКУ должен находиться от глаз оператора на расстоянии не менее шестикратной высоты кинескопа; не должно быть прямого освещения экрана ВКУ посторонними источниками света; вблизи ВКУ не должно быть больших магнитных полей и сильных источников, электрических полей; к ВКУ должен быть обеспечен свободный доступ для подключения соединительных кабелей; между нижней частью ВКУ и подставкой, на которой оно устанавливается, не должно находится никаких предметов, затрудняющих свободный доступ воздуха к воздухофильтрам. 6.2.13. Пульт управления (ПУ) предназначен для управления телевизионными камерами и размещается на расстоянии до 10 м от ВКУ. 6.2.14. Аппаратуру и отдельные элементы линейных устройств крепят к бетонным, кирпичным, стальным и шлакоблочным конструкциям зданий и сооружений, как правило, дюбелями, пристреливаемыми при помощи монтажного пиротехнического инструмента (пистолет ПЦ-84, оправки ОДП-6 и т.п.), в отдельных случаях - анкерными болтами. Отверстия после установки анкерных болтов разделывают цементно-песчаным раствором (в пропорции 1:1). 6.2.15. При монтаже телевизионных установок применяются кабели: РК-75-2-12; РК-75-2-13: РК-75-4-11; РК-75-4-12; РК-75-4-15; РК-75-4-16; РК-75-7-15; РК-75-7-16; РК-75-9-12; РК-75-9-13 - внутри помещений, по стенам зданий, в канализации; РПЦ - по стенам зданий, в канализации. 6.2.15. После размещения и окончательного крепления всей аппаратуры ПТУ, подключают соединительные и сетевые кабели, соблюдая при этом следующие правила: кабели не должны иметь перегибов и повреждений, а также находиться в натянутом состоянии; кабели, подходящие к телевизионным блокам, должны быть надежно закреплены так, чтобы их вес не действовал на штепсельные разъемы блоков. 6.2.16. Прокладка коаксиальных кабелей, кабелей питания и управления, заземляющих проводников производится в соответствии с требованиями "Правила устройства электроустановок" (ПУЭ-87), "Инструкцией по монтажу сооружений устройств связи, радиовещания и телевидения" ВСН 600-81 Минсвязи РФ. 6.2.17. Для разделки и распайки коаксиальных кабелей необходимо использовать специальные штепсельные разъемы из состава монтажных комплектов, поставляемых совместно с оборудованием ПТУ, а также разъемы, указанные в рабочих чертежах проекта. При заделке кабелей в штепсельные разъемы рекомендуется максимально использовать предварительную заготовку кабелей в монтажно-заготовительных участках. Винты разъемов необходимо вывертывать и завертывать отвертками с лезвиями, имеющими посередине вырез шириной и глубиной 3 мм. 6.2.18. В соответствии со схемой кабельных соединений следует разделывать и распаивать коаксиальные кабели всех линий связи (в том числе для передачи высокочастотных сигналов, сигнальных для передачи сигналов управления) на штепсельный разъем. 6.2.19. Разделка концов кабелей заключается в снятии с них защитной оболочки, экранирующей оплетки, изоляции и зачистке жил. Для снятия защитной полиэтиленовой и поливинилхлоридной оболочки на кабеле делают продольный и кольцевой надрез специальным монтажным ножом. В зависимости от типа и модификации штепсельного разъема оболочку снимают на длину 60...130 мм. Далее сдвигают экранирующую оплетку (от конца жилы), разрезают вдоль боковыми кусачками или ножницами с острыми концами и скручивают. После этого снимают изоляцию жилы на длину, необходимую для запайки жилы в разъем. Изоляцию жил площадью сечением 0,5 кв. мм снимают протягиванием конца жилы между сложенной вдвое мелкой наждачной бумагой; с жил площадью сечением 0,75;1,0;1,5 кв. мм изоляцию удаляют монтажными клещами КК-1, а жил площадью сечения 2,5 кв. мм клещами КСИ-1. 6.2.20. Нельзя делать кольцевые надрезы на изоляции обыкновенным ножом и выкусывать отдельные проволоки многопроволочных жил. Перед зачисткой многопроволочные жилы расплетают и каждую проволоку токоведущих жил зачищают наждачной бумагой, сложенной вдвое. После этого проволоки скручивают под углом 15...30° так, чтобы их концы не выступали из закруток. 6.2.21. Пайка жил кабелей к хвостовиками контактов штепсельных разъемов должна обеспечивать надежность и необходимую прочность электрического контакта. Пайка осуществляется припоем ПОС-61 с канифольно-спиртовым флюсом или паяльным жиром паяльника с Г-образным стержнем диаметром 4…5 мм. Пайка данной жилы не должна длиться более 5…7с во избежание перегрева и повреждения проводника и изолятора разъема. Температура разогрева места пайки должна быть на 30…50° выше температуры плавления припоя и флюса. При более низкой температуре происходит так называемая холодная пайка, обладающая малой механической прочностью и создающая ненадежный электрический контакт. 6.2.22. Жилы кабелей перед пайкой предварительно облуживают (это делают и с жилами из луженых проволок), для чего конец зачищенной жилы покрывают флюсом, погружают в ванночку или стаканчиковый электропаяльник с расплавленным припоем, выдерживают так в течение 5…7с, затем вынимают и дают остыть. Во избежание повреждения изоляции участков, жилы длиной 2…3 мм от среза изоляции не облуживают. Для предотвращения соприкосновения жил, на их концы перед пайкой иногда надевают полиэтиленовые или поливинилхлоридные трубки. Перед распайкой жил в разъем, хвостовики его контактов заполняют припоем. При пайке хвостовик контакта нагревают паяльником до расплавления в нем припоя и вставляют в его гнездо конец облуженной жилы, так чтобы срез изоляции на жиле не доходил до хвостовика на 1…2 мм (во избежание повреждения изоляции жилы). Пайку жил выполняют по рядам, начиная с наиболее удаленного от монтажника, слева направо, при этом разъемы устанавливают так, чтобы срезы контактов (отверстия) были обращены в сторону монтажника. 6.2.23. Паяльная поверхность должна быть глянцевой, без раковин, пор, загрязнений, наплывов, острых выпуклостей припоя, инородных вкраплений. Припой должен заливать место соединения со всех сторон, заполняя зазоры между жилами и стенками гнезда в хвостовиках контактов. Если хвостовик имеет гнездо диаметром более 2 мм или боковое отверстие, допускаются плоские наплывы припоя на наружной поверхности хвостовика; каплевидные и шиповидные наплывы недопустимы. Место пайки, а также детали разъема очищают от брызг флюса и припоя. Очищать разъемы режущим инструментом не разрешается. 6.2.24. Если при прокладке кабелей возникает необходимость срастить коаксиальные кабели, то эту операцию необходимо выполнить следующим образом: снять с концов кабеля, предназначенных для соединения, верхнюю полиэтиленовую оболочку на длине не менее 30 мм от концов; распустить металлическую оплетку, состоящую из тонких медных проволок на одном конце кабеля на 20 мм, на другом конце обрезать на такую же длину и из распущенных медных проволок оплетки скрутить 4 жгута и залудить; залудить оплетку второго конца кабеля по окружности на длине не менее 5 мм (во избежание расплавления полиэтиленовой изоляции центральной жилы, под оплетку, необходимо положить предохраняющую изоляцию из кабельной бумаги в 2 слоя); освободить центральную жилу кабеля от изоляции на длину не менее 15 мм; скрутить центральные жилы двух кабелей между собой и паять. Длина оголенного слоя должна быть 15 мм; разрезать снятую изоляцию центральной жилы, наложить ее на спай центральных жил и, расправляя паяльником, заделать спай; припаять облуженные четыре жгута к облуженной оплетке второго кабеля симметрично со всех сторон; надеть на готовое соединение двух кабелей снятую разрезанную вдоль наружную изоляцию и оплавить ее с помощью паяльника с основной изоляцией кабеля. При такой заделке кабеля его однородность практически не нарушается. В противном случае, на экране видеоконтрольного устройства могут появиться повторы, вертикальные полосы и ухудшается помехозащищенность кабеля. 7. МОНТАЖ УСТРОЙСТВ ОХРАННОГО ЭЛЕКТРООСВЕЩЕНИЯ7.1. Охранное электроосвещение предусматривается для обеспечения необходимых условий видимости границ периметра и территории объекта. Охранное электроосвещение включает в себя: осветительные приборы; аппаратуру управления освещением; кабельные сети. 7.2. Охранное электроосвещение объекта должно удовлетворять требованиям СНиП II-4-79. 7.3. Сеть охранного электроосвещения по периметру и на территории должна выполняться отдельно от сети наружного освещения и разделяться на самостоятельные участки. Тип светильников, их размещение и схема управления освещением должны соответствовать ТПР 9-88 ГПКИ "Спецавтоматика" г. Новосибирск. В момент нарушения должно происходить одновременное срабатывание охранной сигнализации, автоматическое включение охранного электроосвещения и телевизионной установки. 7.4. В качестве осветительных приборов охранного электроосвещения объектов необходимо применять светильники подвесные, консольного типа, прожекторы. В качестве источника света следует использовать лампы накаливания напряжением 220 В. При монтаже осветительных установок необходимо, чтобы тип светильников, их размещение и схема управления освещением соответствовали проекту. Все отступления от проекта должны быть согласованы с проектной организацией. 7.5. Охранное электроосвещение должно обеспечивать: необходимую равномерную освещенность охраняемых зон с расчетом, чтобы светоточки от светильников перекрывались и образовывали сплошную полосу шириной 3-4 м; возможность автоматического включения электроосвещения на одном участке (зоне) всей охраняемой территории (периметре) при срабатывании ПОС; возможность управления электроосвещением из поста охраны (включение любого участка или всего периметра); совместимость с техническими средствами охранной сигнализации и телевидения; непрерывность работы на контрольно-пропускных пунктах (КПП) и постах охраны. 7.6. КПП объекта должны иметь две раздельные, независимые сети электроосвещения: рабочую и аварийную. Светильники аварийного электроосвещения следует выделять из числа светильников рабочего электроосвещения. Самостоятельные светильники аварийного электроосвещения следует предусматривать в случае их питания от аккумуляторных батарей. При питании от аккумуляторных батарей, аварийное электроосвещение должно включаться автоматически при отключении рабочего электроосвещения. Аварийное электроосвещение должно обеспечивать не менее 5 % освещенности, нормируемой для рабочего электроосвещения. 7.7. Нормальное состояние сети охранного электроосвещения "выключено". 7.8. Постоянно ночью должно работать дежурное электроосвещение, а охранное электроосвещение включается только при нарушении охраняемых участков в ночное время и в дневное время при плохой видимости из-за погодных условий. 7.9. Магистральная и распределительная сети охранного электроосвещения по периметру объекта должны выполняться, как правило, подземными. Воздушные сети должны располагаться достаточно глубоко на территории объекта, чтобы исключить возможность повреждения их из-за ограждения. Электропитание приборов охранного освещения должно обеспечиваться от сети переменного тока напряжением 380/220 В. Воздушная сеть должна прокладываться на крюках с изоляторами, устанавливаемых через 2,5-3,0 м с внутренней стороны охраняемого периметра. С целью создания равномерной освещенности по всей ширине охранной зоны светильники должны располагаться на ограждении объекта, крышах близлежащих зданий и сооружений на кронштейнах к опорам или подвешиваться на тросах, натянутых между опорами. 7.10. Светильники охранного электроосвещения должны устанавливаться в непосредственной близости к линии ограждения периметра или внутри территории, в местах удобных и безопасных для обслуживания. Светильники по периметру следует устанавливать не выше ограждений. Осветительные лампы светильников должны быть запущены металлическими сетками. Светильники устанавливаются на кронштейнах, укрепленных на ограждении. Установку светильников необходимо выполнять под углом по отношению к охранной полосе и таким образом, чтобы тропа наряда оставалась в тени. Соединение проводников внутри кронштейнов или труб, при помощи которых устанавливается арматура, запрещается. Светильники с резьбой и кольцом необходимо устанавливать на стенах, колоннах и фермах при помощи кронштейнов, закрепленных дюбелями или приваркой. 7.11. Светильники, к металлическим и железобетонным фермам, а также к ограждениям необходимо прикреплять при помощи подвесов различной длины с резьбой 3/4 или трубчатыми кронштейнами, а также стойками, закрепленными при помощи потолочных закрепов и/или ввертываемыми в осветительные коробки. Крепление светильников на тросе необходимо устанавливать: на тросовых подвесках с обоймами; на крюке, приваренном к металлической пластинке с ответвительной коробкой. Загнутые края пластинки необходимо обжать вокруг троса. Светильники должны быть укреплены неподвижно так, чтобы они устойчиво сохраняли приданное им положение. Светильники подвижной конструкции должны надежно фиксироваться в рабочем положении без применения инструмента. Светильники, подверженные вибрациям и сотрясениям, должны иметь конструкцию, не допускающую самоотвинчивания или выпадения ламп. 7.12. Винтовые токоведущие гильзы патронов для ламп накаливания в сетях с глухозаземленной нейтралью должны быть присоединены к нулевому, а не к фазному проводнику. Если патрон имеет нетоковедущую винтовую гильзу, нулевой рабочий проводник может присоединиться к любому контакту патрона. 7.13. Проводники должны вводиться в осветительную арматуру так, чтобы в месте ввода они не подвергались механическим повреждениям, а контакты патронов были разгружены от механических условий. Предохранители или автоматы должны устанавливаться на ответвлениях от кабельного ввода к светильникам в цоколе каждой опоры. Установка предохранителей, автоматов, включателей в нулевых рабочих проводах запрещается. На ответвлениях от кабельного ввода к светильникам в цоколе каждой опоры следует устанавливать предохранители или автоматы, конструктивное выполнение которых должно обеспечивать безопасность их обслуживания. 7.14. Все металлические части светильников, щитков и конструкций для крепления должны иметь защиту от коррозии (окраску, оцинковку и т.п.). 7.15. Монтаж светильников следует выполнять со стремянок, приставных лестниц или лестниц-платформ. 7.16. При выполнении охранного электроосвещения прожекторами, опоры должны устанавливаться на линии ограждения, а лучи прожектора следует направлять вдоль ограды в одну сторону. При применении ПТУ должно исключаться прямое попадание лучей в объективы телекамер. При монтаже прожекторов следует установить лиру на опорной плите, закрепленной на болтах или винтах к установочной площадке. Фокусировку прожекторов следует выполнять наведением луча прожектора с расстояния 30-40 м на экран (побеленный участок стены) и с помощью фокусирующего приспособления лампы добиться получения на экране равномерно освещенного пятна. 7.17. Кроме автоматического включения охранного электроосвещения необходимо обеспечить возможность дистанционного управления из помещения поста охраны для проверки состояния электроосвещения и проверки охраняемых зон в ночное время. Аппаратура автоматического и дистанционного управления охранным электроосвещением (реле, кнопки, сигнальные лампы) должна размещаться в шкафах управления и сигнализации. Шкафы располагаются в центре нагрузки каждой зоны. 7.18. Охранное электроосвещение должно включаться магнитным пускателем при получении сигнала от ПКП периметральной сигнализации. Магнитные пускатели размещаются на опорах освещения. Потеря напряжения, согласно требования ПУЭ не должна превышать 5 %. Для управления охранным электроосвещением применяется пульт, который устанавливается в посту охраны. Пульт управления охранным электроосвещением рекомендуется сблокировать с ПКП (пультом) охранной сигнализации. 7.19. Электрические сети охранного освещения должны иметь защиту от токов короткого замыкания с наименьшим временем отключения. Аппараты защиты по своей отключающей способности должны соответствовать токам короткого замыкания в начале защищаемого участка сети. Аппараты защиты следует располагать в доступных для обслуживания местах таким образом, чтобы была исключена возможность их механических повреждений. В сетях охранного электроосвещения, если защитный аппарат обслуживает 20 светильников на фазу, ответвления к светильникам должны защищаться индивидуальными предохранителями или автоматами. 7.20. Электропитание схемы охранного освещения предусматривается от сети переменного тока 380/220 В. Сеть охранного электроосвещения прокладывается на крюках с изоляторами, устанавливаемых через 2,5-3 м с внутренней стороны основного ограждения, с условием исключающим возможность намеренного повреждения сети из-за ограждения. 7.21. В снежных районах, для защиты сети охранного электроосвещения от заноса снегом, провода следует прокладывать в стальных водогазопроводных трубах, закрепляемых на заборе скобами. Для перехода электросети охранного освещения через автодороги предусматриваются к установке деревянные концевые опоры с железобетонными приставками, для перехода через железную дорогу деревянные повышенные анкерные опоры с железобетонными приставками. 7.22. Питание электроэнергией щита охранного освещения предусматривается, как правило, от двух источников: рабочего и резервного. 8. МОНТАЖ УСТРОЙСТВ ПОСТОВОЙ СВЯЗИ И ТРЕВОЖНОЙ СИГНАЛИЗАЦИИ8.1. Средства постовой связи и тревожной сигнализации предназначены для оперативного оповещения о проникновении на охраняемые участки (периметра, территории) объекта и отдачи распоряжений по его ликвидации. 8.2. Для передачи мощных звуковых сигналов при срабатывании извещателей ПОС, следует применять различные звонки, ревуны, сирены, усилители, громкоговорители, микрофоны. 8.3. На каждый блок-участок необходимо устанавливать звонок громкого боя и сигнальную лампу. Звонки громкого боя должны устанавливаться на вертикальной плоскости чашками вниз, а сигнальные лампы - в местах удобных для визуального контроля. Проводка проводов питания к клеммной колодке звонка должна производиться через сальниковый ввод диаметром 10 мм. Регулировку звучания звонка следует производить перемещением стоек с чашками в пазах основания звонка и перемещением электромагнита и ограничителя в пазах. 8.4. Для обеспечения направленности команд следует применять рупорные громкоговорители. Рупорные громкоговорители должны устанавливаться на опорах освещения, стенах зданий и т.п. Правильность расстановки и количество громкоговорителей на периметре определяются расчетом и уточняются экспериментальным путем на месте на разборчивость передаваемых речей, но не менее одного 10-ваттного громкоговорителя на каждый блок-участок. 8.5. Громкоговорящая сеть оповещения выполняется стальной проволокой 3 мм, подвешиваемой по полотну забора или по опорам ограждения (если их высота от 2,5 м до 5 м). В помещениях охраны устанавливаются громкоговорители мощностью 0,25 Вт. Абонентская сеть внутри зданий выполняется проводом ПТПЖ-2´0,6, прокладываемым открыто по стенам. 8.6. Для выполнения радиооповещения следует применять усилители У-100, У-101 с микрофоном. Усилители необходимы для усиления мощности звуковой частоты при работе от микрофонов, от отдельного звукоснимателя или радиоприемника. 8.7. С целью обеспечения двухсторонней связи персонала охраны, находящегося на периметре, с постом охраны, следует применять устройство телефонной связи, осуществляемой с помощью концентраторов телефонных К-1151-1 - К-1151-7 в зависимости от требуемой емкости. К устройству телефонной связи относятся штепсельные розетки, к которым подключается микротелефонная трубка. Постовая связь должна обеспечивать передачу распоряжений с поста охраны лицам служебного наряда и своевременное получение донесений об обстановке на постах. При монтаже технических средств постовой связи необходимо учитывать следующие требования: непрерывность действия и устойчивость в работе; быстроту установления связи постов с караулом и караула с постами; четкую и достаточную слышимость вызывных сигналов и разговора; возможность одновременной и немедленной передачи распоряжений служебным нарядам; независимость работоспособности от состояния питающих электросетей. 8.8. Станционное оборудование телефонной связи и радиооповещения устанавливается в посту охраны. Штепсельные розетки следует устанавливать на внешнем ограждении в удобных для обслуживания и защищаемых от атмосферных осадков местах вдоль ограждения на расстоянии, предусмотренном проектом. Розетки соединяются между собой изолированными кабелями П-275, прокладываемыми по полотну забора. 8.9. Аппаратуру устройств радиооповещения и телефонной связи необходимо устанавливать согласно расположения и привязок, указанных в проекте. 8.10. Крепление аппаратуры и отдельных элементов линейных сооружений к бетонным, кирпичным, стальным и шлакоблочным основаниям зданий и сооружений необходимо осуществлять дюбелями (дюбель-винт, дюбель-гвоздь), пристреливаемыми пиротехническими инструментами ПЦ-84, ОДТ-6 и др. Типы и размеры дюбелей необходимо выбирать в соответствии с диаметром отверстий и толщиной крепящих деталей закрепляемой аппаратуры и отдельных элементов, а также в соответствии с их массой и материалом основания (бетон, кирпич, сталь и т.д.). 8.11. Если способ пристрелки дюбелей не удовлетворяет условиям требуемой прочности, аппаратуру конструкции и отдельные элементы необходимо крепить анкерными болтами, шурупами на спиралях, глухарями, болтами с гайками. При размещении аппаратуры необходимо проверять правильность ее установки в вертикальной и горизонтальной плоскостях по отвесу и ватерпасу. 8.12. При креплении аппаратуры анкерными болтами к бетонным и кирпичным основаниям необходимо предварительно пробить гнезда глубиной 70...150 мм с внутренним диаметром, обеспечивающим свободный проход разведенных концов болта до упора, после чего их необходимо замазать бетонным раствором или алебастром. После затвердения раствора аппаратуру следует установить на место и закрепить гайками, подкладывая под них шайбы. 8.13. К деревянным основаниям аппаратуру необходимо крепить глухарями или болтами с гайками и шайбами. Глухари необходимо ввертывать в дерево на глубину не менее 30 мм. Крепление болтами необходимо осуществлять через сквозные отверстия, просверленные в стене. 8.14. Крепление аппаратуры на колоннах необходимо осуществлять при помощи обхватных скоб (хомутов). 8.15. Допускается крепление аппаратуры болтами с гайками на специальных кронштейнах, привариваемых сваркой к металлоконструкциям. 9. ТРЕБОВАНИЯ ПОЖАРНОЙ БЕЗОПАСНОСТИ ПРИ УСТАНОВКЕ ТЕХНИЧЕСКИХ СРЕДСТВ СИГНАЛИЗАЦИИ В ПОЖАРООПАСНЫХ ЗОНАХ9.1. Технические средства сигнализации, работающие от сети переменного тока, как правило, должны устанавливаться вне пожароопасных зон. 9.2. При установке ПКП, СПУ и блоков ПТУ открыто на несгораемых вертикальных строительных основаниях и в закрывающемся несгораемом шкафу, должен быть обеспечен естественный теплообмен. Вентиляционные отверстия выполняются в виде жалюзи. 9.3. При монтаже технических средств на горючих основаниях (деревянные стены, монтажный щит из дерева или ДСП толщиной не менее 10 мм) необходимо применять огнезащитный листовой материал (металл - не менее 1 мм, асбоцемент, гетинакс, текстолит, стеклопластик - 3 мм), закрывающий монтажную поверхность под прибором или металлическим щиток в соответствии с требованиями ГОСТ 9413-78, ГОСТ 8709-82Е. При этом листовой материал должен выступать за контуры установленного на нем прибора не менее чем на 50 мм. 9.4. При установке нескольких ПКП (СПУ) в ряд должны соблюдаться следующие расстояния: между ПКП (СПУ) в ряду - не менее 50 мм, между рядами ПКП (СПУ) - не менее 200 мм. 9.5. Расстояние от открыто смонтированных ПКП (СПУ), извещателей и блоков ПТУ, работающих от сети переменного тока, до расположенных в непосредственной близости горючих материален или веществ (за исключением монтажной поверхности, согласно п. 9.3. настоящего пособия), должно быть не менее 600 мм. 9.6. Конструктивное исполнение стационарных световых и звуковых оповещателей, допустимых для применения в установках ОС, ПС и ОПС, должно быть не ниже УР2Х согласно требованиям ГОСТ 14254-80. 9.7. Установка световых и звуковых извещателей, работающих от сети переменного тока, допускается только на стандартной негорючей арматуре. 9.8. При установке световых оповещателей, работающих от сети переменного тока, внутри помещения выбор места установки производится в соответствии с п. 9.5. настоящего пособия. При этом расстояние от колбы лампы до деревянного потолка, стены и оконной рамы должно быть не менее 50 мм. 9.9. При установке одного или нескольких световых оповещателей в непосредственной близости от ПКП (СПУ), а также между самими оповещателями, расстояние должно быть не менее 50 мм. 9.10. При установке световых оповещателей внутри помещения не допускается использовать лампы накаливания мощностью более 25 Вт. 9.11. В пожароопасных зонах любого класса должны применяться кабели и провода, имеющие покров и оболочку из материалов, не распространяющих горение. Применение кабелей и проводов с горючей полиэтиленовой изоляцией не допускается. 9.12. Через пожароопасные зоны любого класса, а также на расстояниях менее 1 м по горизонтали и вертикали от пожароопасной зоны не допускается прокладывать транзитные электропроводки и кабельные линии всех напряжений. 9.13. В пожароопасных зонах любого класса допускаются все виды прокладок кабелей и проводов. Расстояние от кабелей и изолированных проводов, прокладываемых открыто непосредственно по конструкциям, на изоляторах, лотках, тросах до мест хранимых (размещаемых) горючих веществ, должно быть не менее 1 м. Прокладка незащищенных изолированных проводов с алюминиевыми жилами в пожароопасных зонах любого класса должна производится в трубах и коробах. 9.14. Стальные трубы электропроводки, стальные трубы и короба с небронированными кабелями и бронированные кабели следует прокладывать на расстоянии не менее 0,5 м от трубопроводов, по возможности со стороны трубопроводов с негорючими веществами. 9.15. Соединительные и ответвительные коробки, применяемые в электропроводках в пожароопасных зонах любого класса, должны иметь степень защиты оболочки не менее IР43 согласно ПУЭ. Применение соединительных кабельных муфт в пожароопасных зонах не допускается. 9.16. При всех случаях прохода проводов или одножильных кабелей сквозь стены из одного пожароопасного помещения в другое, а также наружу провод или кабель необходимо прокладывать в отдельном отрезке стальной тонкостенной трубы, при этом ток в проводниках не должен превышать 25 А. Зазоры между проводами или кабелями и трубой в месте прохода должны быть плотно заделаны легко пробиваемым составом из несгораемых материалов. 10. СПЕЦИАЛЬНЫЕ ТРЕБОВАНИЯ ПРИ УСТАНОВКЕ ТЕХНИЧЕСКИХ СРЕДСТВ СИГНАЛИЗАЦИИ ВО ВЗРЫВООПАСНЫХ ЗОНАХ10.1. Технические средства сигнализации (за исключением извещателей, включаемых в искробезопасные цепи), предназначенные для монтажа во взрывоопасных зонах, должны, в зависимости от классов взрывоопасных зон, иметь исполнение, отвечающее требованиям ПУЭ. При этом взрывозащищенные технические средства сигнализации должны по взрывозащите соответствовать категории и группе взрывоопасных смесей, могущих образоваться в зоне, и иметь соответствующую маркировку по взрывозащите. Допускается установка технических средств сигнализации во взрывоопасных зонах любого класса при условии, что уровень их взрывозащиты или степень защиты являются более высокими. 10.2. Серийно выпускаемые извещатели (удовлетворяющие требованиям соответствующих технических условий на изготовление или ГОСТ), не имеющие собственного источника тока, а также не обладающие индуктивностью или емкостью (например, извещатели типа ИП-104, СМК и аналогичные), допускается устанавливать во взрывоопасных зонах при условии включения их в искробезопасные цепи (шлейфы) приемно-контрольных приборов, имеющих соответствующую маркировку по взрывозащите. 10.3. Перед монтажом технических средств сигнализации, предназначенные для установки во взрывоопасных зонах, другие технические средства сигнализации, искробезопасные цепи которых заходят во взрывоопасные зоны, должны быть тщательно осмотрены с целью проверки наличия маркировки по взрывозащите, предупредительных надписей, пломб, заземляющих устройств, отсутствия повреждения оболочек. Не допускается устанавливать технические средства сигнализации с обнаруженными дефектами. 10.4. Монтаж электропроводок. 10.4.1. Во взрывоопасных зонах классов В-1 и В-1а должны применяться провода и кабеля с медными жилами. Допускается применение проводов и кабелей с алюминиевыми жилами во взрывоопасных зонах классов В-16, В-1г, В-II, B-IIa. 10.4.2. Во взрывоопасных зонах любого класса допускается применять: провода с резиновой, поливинилхлоридной изоляцией; кабели с резиновой, поливинилхлоридной и бумажной изоляцией в резиновой, поливинилхлоридной и металлической оболочках. Не допускается применение кабелей: с алюминиевой оболочкой во взрывоопасных зонах классов В-1 и В-1а; с полиэтиленовой изоляцией и оболочкой во взрывоопасных зонах любого класса. 10.4.3. Способы прокладки кабелей и проводов во взрывоопасных зонах приводится в табл. 10.1. 10.4.4. Допускаются для искробезопасных цепей во взрывоопасных зонах любого класса все перечисленные в табл. 12.1, 12.2 способы прокладки проводов и кабелей. Таблица 10.1.
10.4.5. При прокладке искробезопасных цепей должны соблюдаться следующие требования: искробезопасные цепи должны отделяться от других цепей с соблюдением требований ГОСТ 22782.5-78; использование одного кабеля для искробезопасных и искроопасных цепей не допускается; изоляция проводов искробезопасных цепей должна иметь отличительный синий цвет. Допускается маркировать синим цветом только концы проводов; провода искробезопасных цепей должны быть защищены от наводок нарушающих их искробезопасность. 10.4.6. Проходы кабелей сквозь внутренние стены и междуэтажные перекрытия в зонах классов В-1, В-1а и В-II следует выполнять в отрезках водогазопроводных труб Зазоры между трубами и кабелями должны быть заделаны уплотнительным составом на глубину 100-200 мм от конца трубы, с общей толщиной, обеспечивающей огнестойкость строительных конструкций. 10.4.7. Прокладка электропроводок в защитных трубах производится согласно п.п. 12.17 - 12.19, 12.22.1-12.22.15: в коробах согласно п.п. 12.23.1 - 12.23.5; в траншеях - согласно п.п. 12.25.1 - 12.25.8 настоящего пособия. 10.4.8. При переходе труб электропроводки из помещения с взрывоопасной зоной класса В-1 или В-1а в помещение с нормальной средой, или взрывоопасную зону другого класса, с другой категорией или группой взрывоопасной смеси, или наружу труба с проводами в местах прохода через стену должна иметь разделительное уплотнение в специально для этого предназначенной коробке, Допускается установка разделительных уплотнений со стороны невзрывоопасной зоны или снаружи, если во взрывоопасной зоне установка разделительных уплотнении невозможна. 10.4.9. Не допускается использование соединительных и ответвительных коробок для выполнения разделительных уплотнений. 10.4.10. Разделительные уплотнения, установленные в трубах электропроводки должны испытываться избыточным давлением воздуха 250 кПа (около 2,5 ат) в течение 3 мин. При этом допускается падение давления не более чем до 200 кПа (около 2 ат). По результатам испытаний составляется акт по форме рекомендуемого приложения 8. 10.4.11. Во взрывоопасных зонах любого класса не допускается устанавливать соединительные и ответвительные кабельные муфты, за исключением искробезопасных цепей. 10.4.12. Вводы кабелей в технические средств должны выполняться при помощи вводных устройств. Места вводов должны быть уплотнены. Не допускается ввод защитных электроприводов в технические средства, имеющие вводы только для кабелей. 10.4.13. Отверстия в стенах и в полу для прохода кабелей и труб электропроводки должны быть плотно заделаны несгораемыми материалами. 10.4.14. Через взрывоопасные зоны любого класса, а также на расстоянии менее 5 м по горизонтали и вертикали от взрывоопасный зоны не допускается прокладывать транзитные электропроводки и кабельные линии всех напряжений. Допускается их прокладка в трубах, в закрытых коробах, в полах. 10.5. Заземление и зануление. 10.5.1. Во взрывоопасных зонах любого класса заземлению или занулению при всех напряжениях переменного и постоянного тока с помощью специально-проложенных проводников подлежат: металлические корпуса извещателей во взрывоопасном исполнении; металлические кронштейны (тросы), применяемые для установки извещателей; металлические оболочки кабелей; стальные трубы электропроводок. Трубы электропроводок на фитингах заземляются с помощью перемычек, выполняемых монтажной организацией. Устройство перемычек должно быть оговорено в проекте. 11. ЭЛЕКТРОСНАБЖЕНИЕ ТЕХНИЧЕСКИХ СРЕДСТВ СИГНАЛИЗАЦИИ11.1. Обеспечение электроснабжением технических средств сигнализации должно соответствовать требованиям СНиП 2.04.09-84 и РД 78.143-92. 11.2. Технические средства сигнализации, установленные на объектах следует относить к 1-й категории электроприемников по надежности электроснабжения согласно ПУЭ, в силу чего их электропитание должно быть бесперебойным (либо от двух независимых источников переменного тока, либо от одного источника переменного тока с автоматическим переключением в аварийном режиме на резервное питание от аккумуляторных батарей). 11.3. При использовании в качестве резервного источника питания резервной аккумуляторной батареи или сухих элементов, должна обеспечиваться работа технических средств сигнализации в течение не менее одних суток в дежурном режиме и в течение не менее 3 часов в режиме тревоги. 11.4. Если объект, подлежащий оборудованию техническими средствами сигнализации, не может быть обеспечен электроснабжением согласно требованиям п.п. 11.2, 11.3, вопросы электроснабжения решаются и согласовываются с органами пожарной охраны и подразделениями охраны в каждом конкретном случае, о чем делается соответствующая запись в проектной документации или акте обследования. Исключением являются случаи, когда электропитание осуществляется: от сухих элементов; по абонентским линиям телефонной сети (42 В или 60 В). 11.5. Электроснабжение технических средств сигнализации осуществляется от свободной группы щита дежурного освещения. При отсутствии на объекте щита дежурного освещения или свободной группы на нем, заказчик устанавливает самостоятельный щит электропитания на соответствующее количество групп. Щит электропитания, устанавливаемый вне охраняемого помещения, должен размещаться в запираемом металлическом шкафу и заблокирован на открывание. 11.6. Аккумуляторные батареи, как правило, размещаются в специальных аккумуляторных помещениях на стеллажах или полках шкафа, в соответствии с требованиями ТУ 45-4-ДО.610.236-87 в поддонах, стойких к воздействию агрессивных сред. 11.7. Свинцовые аккумуляторы емкостью не более 72 А/ч и щелочные аккумуляторные батареи емкостью не более 100 А/ч и напряжением до 60 В могут устанавливаться в общих производственных невзрыво- и непожароопасных помещениях в металлических шкафах с обособленной приточно-вытяжной вентиляцией. 11.8. Аккумуляторные установки должны быть оборудованы в соответствии с требованиями ПУЭ. 11.9. При длительном отключении электроэнергии на объектах должны использоваться агрегаты бензоэлектрические унифицированные типа АБ или аналогичные. 12. МОНТАЖ ЭЛЕКТРОПРОВОДОК ОБЪЕКТОВЫХ ТЕХНИЧЕСКИХ СРЕДСТВ СИГНАЛИЗАЦИИ12.1. Требования настоящего раздела распространяются на монтажные работы по прокладке электропроводок объектовых технических средств сигнализации при напряжении в сети переменного тока до 42 В и свыше 42 В. 12.2. Монтаж электропроводок должен выполняться в соответствии с проектом (актом обследования и типовыми проектными решениями) с учетом требований ПУЭ, СНиП 3.05.06-85, "Общей инструкцией по строительству линейных сооружений городских телефонных сетей". 12.3. Перед началом монтажных работ кабели и провода должны быть проверены монтажно-наладочной организацией на обрыв, сообщение жил и на соответствие изоляции требованиям государственных стандартов или технических условий и составлен акт согласно рекомендуемому приложению 9. 12.4. Выбор видов электропроводки, проводов, кабелей и способов их прокладки должен осуществляться с учетом требований электро- и пожарной безопасности в соответствии с табл. 12.1. 12.5. Прокладка проводов, кабелей, труб и коробов с проводами и кабелями по условиям пожарной безопасности должна удовлетворять требованиям табл. 12.2. 12.6. При открытой прокладке защищенных проводов (кабелей) с оболочками из сгораемых материалов и незащищенных проводов, расстояние от провода (кабеля) до поверхности оснований, конструкций, деталей из сгораемых материалов должно быть не менее 10 мм. При невозможности обеспечить указанное расстояние провод (кабель) следует отделять от поверхности слоем несгораемого материала, выступающим с каждой стороны провода (кабеля) не менее чем на 10 мм. 12.7. При скрытой прокладке защищенных проводов (кабелей) с оболочками из сгораемых материалов и незащищенных проводов в бороздах и т.п. с наличием сгораемых конструкций необходимо защищать провода и кабели сплошным слоем несгораемого материала со всех сторон. 12.8. При открытой прокладке труб и коробов из трудносгораемых материалов по сгораемым и трудносгораемым основаниям и конструкциям расстояние от трубы (короба) до поверхности конструкций, деталей из сгораемых материалов должно составлять не менее 100 мм. При невозможности обеспечить указанное расстояние, трубу (короб) следует отделять со всех сторон от этих поверхностей сплошным слоем несгораемого материала (штукатурка, алебастр, цементный раствор, бетон и т.п.) толщиной не менее 10 мм.
12.9. В сырых и особо сырых помещениях и наружных установках изоляция проводов и изолирующие опоры, а также опорные и несущие конструкции, трубы, короба и лотки должны быть влагостойкими. 12.10. В местах, где возможны механические повреждения электропроводки, открыто проложенные провода, и кабели должны быть защищены от них своими защитными оболочками или трубами, коробами, ограждениями или применением скрытой электропроводки. 12.11. Открытую прокладку незащищенных изолированных проводов и кабелей непосредственно по основаниям, на роликах, изоляторах, на тросах и лотках следует выполнять: при напряжении выше 42 В в помещениях без повышенной опасности и при напряжении до 42 В в любых помещениях - на высоте не менее 2 м от уровня пола или площадки обслуживания; при напряжении выше 42 В в помещениях с повышенной опасностью и особо опасных - на высоте не менее 2,5 м от уровня пола или площадки обслуживания. 12.12. При высоте прокладки незащищенных изолированных проводов и кабелей менее указанной в п. 12.11. необходимо предусмотреть их защиту от механических повреждений трубами и коробами. 12.13. При пересечении незащищенных изолированных проводов с незащищенными или защищенными изолированными проводами с расстоянием между проводами менее 10 мм, то в местах пересечения на каждый незащищенный провод должна быть наложена дополнительная изоляция (резиновая или полихлорвиниловая трубка, концы которой должны выступать на 4-5 мм с каждой стороны перехода). 12.14. При пересечении незащищенных и защищенных проводов и кабелей с трубопроводами расстояние между ними в свету должны быть не менее 50 мм, а с трубопроводами, содержащими горючие или легковоспламеняющиеся жидкости и газы, - не менее 100 мм. При расстоянии от проводов и кабелей до трубопроводов менее 250 мм провода и кабеля должны быть дополнительно защищены от механических повреждений на длине не менее 250 мм в каждую сторону от трубопровода. 12.15. При параллельной прокладке расстояние от проводов и кабелей до трубопроводов должно быть не менее 10 мм, а до трубопроводов с горючими или легковоспламеняющимися жидкостями и газами - не менее 400 мм. 12.16. На лотках, опорных конструкциях, тросах, струнах, полосах и других несущих конструкциях допускается прокладывать провода и кабели вплотную один к другому пучками (группами) различной формы Провода и кабели каждого пучка должны быть скреплены между собой. 12.17. Трубы, короба и гибкие металлические рукава электропроводок должны прокладываться так, чтобы в них не могла скапливаться влага, в том числе от конденсации паров, содержащихся в воздухе. 12.18. В сухих непыльных помещениях, в которых отсутствуют пары и газы, отрицательно воздействующие на изоляцию и оболочку проводов и кабелей, допускается соединение труб, коробов и гибких металлических рукавов без уплотнения. 12.19. Соединение труб, коробов и гибких металлических рукавов между собой, а также с коробами, корпусами технических средств должно быть выполнено: в помещениях, которые содержат пары или газы, отрицательно воздействующие на изоляцию или оболочки проводов и кабелей, в наружных установках и в местах, где возможно попадание в трубы, короба и рукава масла, воды или эмульсии, - с уплотнением фторопластовым уплотнительным материалом (лента ФУМО) или пеньковым волокном на сурике; короба в этих случаях должны быть со сплошными стенками и со сплошными уплотнительными крышками, либо глухими; разъемные короба - с уплотнениями в местах разъема, а гибкие металлические рукава - герметичными; в пыльных помещениях - с уплотнением соединений и ответвлений труб, рукавов и коробов для защиты от пыли. 12.20. Монтаж электропроводок воздушными линиями при напряжении до 42 В 12.20.1. Наружные проводки сигнализации как, правило, не допускается выполнять воздушными линиями, за исключением электропроводок для одношлейфных приемно-контрольных приборов в сельской местности при условии установки абонентских защитных устройств (типа АЗУ-1, АЗУ-5) как на оборудуемом сигнализацией объекте, так и в месте установки приемно-контрольных приборов, а также электропроводок на тросах между зданиями при невозможности прокладки подземных трасс. 12.20.2. Абонентское защитное устройство (АЗУ) должно устанавливаться на строительной балке чердачного помещения или внутри здания на стене. 12.20.3. В чердачных помещениях кабели и провода прокладываются открытым и скрытым способами: открыто - по строительным балкам и другим чердачным конструкциям. При этом на высоте до 0,65 м провода и кабели защищают металлическими или деревянными желобами; скрыто - в стенах и перекрытиях из несгораемых материалов на любой высоте. 12.20.4. Для прокладки в чердачных помещениях электропроводки открытым способом должны применяться кабели и провода с медными жилами. Провода и кабели с алюминиевыми жилами допускаются в чердачных помещениях: зданий с несгораемыми перекрытиями - при открытой прокладке их в стальных трубах или скрытой прокладке их несгораемых стенах и перекрытиях; производственных зданий сельскохозяйственного назначения со сгораемыми перекрытиями - при открытой прокладке их в стальных трубах с исключением проникновения пыли внутрь труб и соединительных (ответвительных) коробок; при этом должны быть применены резьбовые соединения. 12.20.5. При устройстве ввода проводки АЗУ непосредственной с чердачного помещения в потолочном перекрытии должно быть просверлено отверстие на расстоянии 100-150 мм от стены, через которое протягивают провод. Со стороны помещения в отверстие следует вставлять изолированную втулку, а со стороны чердачного помещения его заделывают паклей или алебастром. 12.20.6. При оборудовании ввода от стойки по стене здания отверстие для проводки АЗУ должно быть просверлено в оконной колодке. Со стороны улицы в отверстие необходимо вставить изоляционную воронку, а со стороны помещения - изоляционную втулку. Отверстие для заземляющего провода должно быть просверлено ниже отверстия для проводки АЗУ. Устройство отверстий в оконном переплете не допускается. 12.20.7. Для заземления АЗУ используют изолированные провода с диаметром медной жилы 1,5-1,7 мм. В качестве заземления АЗУ следует использовать стальные стержни, забиваемые в грунт, или трубы водопроводной сети. Сопротивление заземления АЗУ должно составлять не более 50 Ом для одного-двух комплектов АЗУ и не более 30-20 Ом соответственно для трех и четырех. Заземляющие провода от АЗУ должны крепиться стальными скобами. 12.20.8. При устройстве ввода проводки АЗУ со столбовой линии воздушные провода должны подаваться на стойку типа СПТ-1, устанавливаемую на крыше малоэтажного здания или к крюкам, заделываемым в стену. На деревянных стенах крюки необходимо ввертывать в просверливаемые отверстия, а в бетонных, кирпичных, шлакоблочных и других стенах их укреплять в заготовленные отверстия гнезда при помощи цементного раствора. Крюки следует размещать вблизи места ввода проводов на высоте 2,75-3 м от земли и располагать горизонтально на расстоянии 250 мм друг от друга. 12.20.9. При подаче проводов со столба на стену здания с отклонением от перпендикулярности в горизонтальной и вертикальной плоскостях, крюки должны располагаться один выше другого так, чтобы расстояние между проводами в пролете было не менее 250 мм. 12.20.10. Для ввода проводов от крюков в стене здания должно быть пробито или просверлено отверстие, в которое со стороны улицы вставляют изоляционную воронку, а со стороны помещения - изолированную втулку. Между воронкой и втулкой вставляют резиновую или полихлорвиниловую трубку. 12.20.11. Линейные провода от столбовой линии должны заделываться на изоляторах крюков оконечной вязкой. От заделки линейных проводов до АЗУ, устанавливаемого в помещении, должен прокладываться провод типа АТВ-В или ЛТР-В. Расплетенные концы этого провода должны укладываться в желобки изоляторов, затем должны быть освобождены от оплетки и изоляции и заделаны на отростке линейного провода. 12.20.12. При устройстве ввода проводов через оконную колоду или боковую стену АЗУ должны устанавливаться в помещении на расстоянии 0,5-1 м от вводного отверстия. 12.21. Монтаж электропроводок с напряжением в цепи до 42 В. 12.21.1. Для монтажа электропроводок шлейфа сигнализации применяются провода марки ТРП, ТРВ, а выводы от блокируемых элементов до ответвительных коробок типа УК-2П - проводами марки НВМ, МСВ или аналогичными по параметрам. 12.21.2. Соединительные силовые цепи электропроводок выполняются, как правило, кабелями марки ТГ, ТБ, ТПВЭП, ТППЭП, ТППБ с жилами, диаметром не менее 0,4 мм и емкостью от пяти пар и более. 12.21.3. Трассы электропроводок следует выбирать наикратчайшими, с учетом расположения силовых, ответвительных, радиотрансляционных сетей, водопроводных и газовых магистралей, а также других коммуникаций. 12.21.4. Прокладка проводов и кабелей по стенам внутри охраняемых зданий должна производиться на расстоянии не менее 0,1 м от потолка и в соответствии с п.п. 12.11, 12.12. Прокладка проводов шлейфа сигнализации, присоединяемых к извещателям, выполняется, как скрыто, так и открыто в соответствии с проектом или актом обследования. 12.21.5. Электропроводки, проходящие по наружным стенам на высоте менее 2,5 м или через помещения, которые не подлежат защите, должны быть выполнены скрытым способом или в металлических трубах. 12.21.6. При открытой параллельной прокладке расстояние между проводами и кабелями шлейфа сигнализации и соединительных линий с силовыми и осветительными проводами и кабелями должны быть не менее 0,5 м. При необходимости прокладки этих проводов и кабелей на расстоянии менее 0,5 м от силовых и осветительных проводов они должны иметь защиту от наводок. Допускается уменьшение расстояния до 0,25 м от проводов и кабелей шлейфов сигнализации и соединительных линий без защиты от наводок до одиночных осветительных проводов и контрольных кабелей. При скрытой параллельной прокладке в одной штробе эти провода должны быть отделены негорючими перегородками (прокладками) с огнестойкостью не менее 0,75 ч (асбест и аналогичные). 12.21.7. При пересечении силовых и осветительных сетей кабели и провода шлейфа сигнализации и соединительных линий должны быть выполнены требования п. 12.13. 12.21.8. При пересечении, кабели большей емкости должны прилегать к стене, а меньшей емкости огибать их сверху. Кабели меньшей емкости допускается пропускать под кабелями большей емкости при прокладке их в штробах. 12.21.9. В зависимости от длины параллельной прокладки кабелей и проводов сигнализации и радиотрансляционной сети расстояние между ними должно быть не менее: 50 мм при длине параллельной прокладки до 70 м; 30 мм при длине параллельной прокладки до 50 м; 25 мм при длине параллельной прокладки до 30 м; 20 мм при длине параллельной прокладки до 20 м; 15 мм при длине параллельной прокладки до 10 м. Совместная прокладка кабеля сигнализации с проводом радиотрансляционной сети допускается на расстоянии не свыше 7 м. 12.21.10. При прокладке кабеля в местах поворота под углом 90 град. или близких к нему радиус изгиба должен быть не менее семи диаметров кабеля. 12.21.11. Кабели и провода должны крепиться к строительным конструкциям при помощи скреп или скоб из тонколистовой оцинкованной стали, эластичных полиэтиленовых скоб. Установка крепежных деталей должна производится с помощью шурупов или клея. 12.21.12. Крепление проводов следует выполнять: с разделительными основаниями типа ТРВ, ТРП - стальными гвоздями при условии, что диаметр шляпки гвоздя не больше расстояния между жилами провода; без разделительного основания НВМ, ПМВГ - скобами. В местах крепления провода под скобы должна подкладываться неразрезанная или разрезанная, но большего диаметра полихлорвиниловая трубка длиной не менее 10 мм. Шаг крепления при горизонтальных прокладках - 0,25 м, при вертикальных - 0,35 м. Сращивание и ответвление проводов марок ТРП, ТРВ (и аналогичные им) следует производить в коробах методом пайки или под винт. 12.21.13. При прокладке нескольких проводов по одной трассе допускается располагать их вплотную друг к другу. Гвозди и скобы, крепящие провод, располагать в шахматном или последовательном порядке (взаимно сдвинутые по длине провода на 20 мм). 12.21.14. При переходе провода с горизонтального хода на вертикальный и наоборот расстояние от начала изгиба до ближайшего гвоздя или скобы должно быть равно 10-15 мм. 12.21.15. При прокладке провода по бетону или другому прочному материалу по трассе прокладки провода насверливают отверстия. В отверстия вбиваются деревянные пробки, к которым при помощи стальных гвоздей или клея крепится провод. 12.21.16. Провода закрепляются гвоздями или скобами у вводов в приборы и распределительные коробки на расстоянии 50-100 мм от них. Для удобства обслуживания в приборе или распределительной коробке должен быть предусмотрен запас провода, равный 5-100 мм. 12.21.17. Для соединения и ответвления проводов необходимо применять коробки типа УК-2П, КО-1, КО-2. 12.21.18. Расстояние от кабелей и изолированных проводов, прокладываемых открыто, непосредственно по элементам строительной конструкции помещения до мест открытого размещения (хранения) горючих материалов должно быть не менее 0,6 м. 12.21.19. При выполнении скрытой проводки в полу и междуэтажных перекрытиях кабели должны прокладываться в каналах и трубах. Заделка кабелей в строительные конструкции наглухо не допускается. На прокладку скрытой проводки составляется акт по формам рекомендуемого приложения 10. 12.22. Прокладка электропроводок в защитных трубах 12.22.1. Стальные трубы допускается применять для защиты электропроводок только в случаях, специально обоснованных в проекте. 12.22.2. В сухих, жарких, влажных и пыльных помещениях для открытых и скрытых проводок, включая стоянки, для защиты электропроводок следует применять стальные электросварные прямошовные трубы согласно требованиям ГОСТ 10704-91. 12.22.3. В помещениях сырых, особо сырых, с химически активной средой, в наружных установках (по наружным стенам и для зашиты при выходе кабеля из траншеи или канализации на стену здания) следует применять стальные водогазопроводные трубы по ГОСТ 3262-75. 12.22.4. Применяемые для электропроводок стальные трубы должны иметь внутреннюю поверхность, исключающую повреждение изоляции проводов при их затягивании в трубу. Трубы, прокладываемые в помещениях с химически активной средой, внутри и снаружи должны иметь антикоррозийное покрытие, стойкое в условиях данной среды. В местах выхода проводов из стальных труб следует устанавливать изоляционные втулки. 12.22.5. Изменение направлений защитных труб осуществляется изгибом. При изгибе труб следует, как правило, применять нормализованные углы поворота - 90, 120 и 135°. и нормализованные радиусы изгиба - 400, 800 и 1000 мм. В качестве гибких вставок в защитные трубы при наличии сложных поворотов и углов переходных труб из одной плоскости в другую и для устройства температурных компенсаторов следует применять гибкие металлические рукава. 12.22.6. Расстояние между точками крепления открыто проложенных стальных труб не должны превышать величин, указанные в табл. 12.3. Крепление стальных труб электропроводки непосредственно к технологическим трубопроводам, а также их приварка непосредственно к различным конструкциям не допускаются.
12.22.7. Расстояние между точками крепления металлорукавов не должно превышать величин, указанных в табл. 12.4.
12.22.8. Для ответвления и соединений стальных труб электропроводок следует применять коробки, ящики и т.п. изделия. Соединения стальных труб в сухих и жарких помещениях следует выполнять: соединительными частями по ГОСТ 8734-75; электрофитингами без уплотнения резьб и протяжными коробками без уплотнения крышек и мест ввода труб в коробки; муфтами с накатанной резьбой. Расстояния между протяжными коробками (ящиками) не должны превышать, м: на прямых участках - 75, при одном изгибе трубы 50, при двух - 40, при трех - 20. 12.22.9. Стальные трубы электропроводок должны быть закреплены на опорных конструкциях на расстоянии от ввода: в приборы - не далее 0,8 м; в соединительные и протяжные коробки (ящики) - не далее 0,3; в гибкие металлические рукава - 0,5 - 0,75 м. 12.22.10. Провода и кабели в трубах должны лежать свободно, без натяжения, суммарное сечение их не должно превышать 20 % от сечения трубы. Не допускается совмещенная прокладка силовых кабелей и шлейфа сигнализации в одной трубе. 12.22.11. Прокладку проводов и кабелей в неметаллических (пластмассовых) трубах следует выполнять в помещениях при температуре воздуха не ниже минус 20 и не выше плюс 60°С. 12.22.12. Область применения полиэтиленовых и поливинилхлоридных труб для электропроводок приведена в табл. 12.5. 12.22.13. Неметаллические трубы должны прокладываться в толще полов помещений на глубине, обеспечивающей замоноличивание труб слоем бетонного раствора не менее 20 мм. 12.22.14. Крепление прокладываемых открыто неметаллических труб должно допускать их свободное перемещение (подвижное крепление) при линейном расширении или сжатии от изменения температуры окружающей среды. Расстояние между точками установки подвижных креплений должны соответствовать указанным в табл. 12.6. Крепление следует выполнять скобами, хомутами и накладками. 12.22.15. Соединение пластмассовых труб должно быть выполнено: полиэтиленовых - плотной посадкой с помощью муфт, горячей обсадкой в раструб, муфтами из термоусаживаемых материалов, сваркой; поливинилхлоридных - плотной посадкой в раструб или с помощью муфт. Допускается соединение склеиванием. 12.23. Прокладка электропроводок в коробах. 12.23.1. В помещениях короба должны устанавливаться на конструкциях по стенам, колоннам, под площадками, перекрытиями и т.п. При наружной установке короба необходимо прокладывать по техническим и кабельным эстакадам. 12.23.2. Для открытых электропроводок короба должны иметь, как правило, съемные или открывающиеся крышки. При скрытых прокладках следует применять глухие короба. 12.23.3. Соединения коробов между собой следует выполнять без сварки – болтовыми соединениями. Крепление коробов к конструкциям производят специальными скобами с расстоянием между ними не более 3 м. 12.23.4. Крепление незащищенных проводов и кабелей с металлической оболочкой металлическими скобами или бандажами должны быть выполнены с прокладками из эластичных изоляционных материалов.
При вертикальном расположении коробов крепление проводов и кабелей необходимо выполнять с расстоянием в 1 м. 12.23.5. В коробах провода и кабели допускается прокладывать многослойно с упорядочением и произвольным (россыпью) взаимным расположением. Сумма сечений проводов и кабелей, рассчитанных по их наружным диаметрам, включая изоляцию и наружные оболочки, не должна превышать: для глухих коробов 35 % сечения короба в свету; для коробов с открываемыми крышками – 40 %. 12.24. Монтаж электропроводок с напряжением в цепи выше 42 В. 12.24.1. Электропроводки с напряжением в сети выше 42 В следует выполнять только самостоятельно, включение их в комплексную слаботочную сеть не допускается. 12.24.2. При параллельной прокладке кабелей сигнализации расстояние по горизонтали в свету между ними и другими кабелями должно быть не менее: 100 мм - до силовых кабелей напряжением до 10 кВ включительно; 500 мм - до кабелей связи. До контрольных кабелей расстояние не нормируется. 12.24.3. Расстояние от незащищенных и защищенных проводов и кабелей до мест открытого размещения (хранения) горючих материалов должно быть не менее 1 м. При наружной прокладке кабелей в зоне насаждений расстояние от кабелей после стволов деревьев должно быть не менее 2 м. При прокладке кабелей и проводов параллельно с теплопроводом расстояние в свету должно быть не менее 2 м, дополнительный нагрев земли теплопроводом в месте прохождения кабеля не должен превышать 10 °С. 12.24.4. В цепях сигнализации и управления, как правило, применяются кабели: ПРППМ, ПРППА - внутри помещения, по стенам зданий, в земле (траншее) открыто и в трубах; АКВВГ, АКПВГ - внутри помещений, в каналах, тоннелях, в земле, в агрессивной среде при отсутствии механических воздействий на кабель; КНРГ, АКНРГ - внутри помещений, в тоннелях, каналах (допускается прокладка в земле и трубах); КВВГ, АКВВГ - в пожароопасных зонах, каналах, тоннелях, в земле, в условиях агрессивной среды при отсутствии механических воздействий на кабель; КПВГ, КГ с ВГ - внутри зданий, в каналах, тоннелях, в земле в условиях агрессивной среды при отсутствии механических воздействий на кабель (допускается прокладка во взрывоопасных зонах классов В-1, В-П, В-IIа); ТПП, ТПВ - внутри зданий, в канализации; ТСВ - при монтаже оборудования. 12.24.6. Для электроснабжения технических средств сигнализации применяются провода и кабели: провода марки ПВ, АПВ, ПРГ - в металлических трубах и металлорукавах; провода марки ППВ - открыто по несгораемым основаниям, а по сгораемым основаниям подкладкой листового асбеста толщиной 3 мм; провода марки АППВ - скрыто в слое штукатурки; кабелями марки БРГ, ВВГ, АВГ, АВРГ -внутри помещений, в каналах, тоннелях, в агрессивной среде, при отсутствии механических воздействий. 12.24.7. При монтаже электропроводок не допускается: применять неизолированные электрические провода; использовать кабели и провода с поврежденной изоляцией; объединять слаботочные и сильноточные электропроводки в одной защитной трубе; перекручивать, завязывать провода; заклеивать участки проводов и кабелей бумагой (обоями); использовать плинтусы, оконные и дверные деревянные рамы. 12.24.8. Соединение, ответвление и оконцевание жил проводов и кабелей должны производиться при помощи опрессовки сварки, пайки или сжимов (винтовых, болтовых и т.п.). 12.24.9. В местах соединения, ответвления и присоединения жил проводов или кабелей должен быть предусмотрен запас провода (кабеля), обеспечивающий возможность повторного соединения, ответвления или присоединения. 12.24.10. Соединение и ответвление проводов и кабелей, за исключением проводов, проложенных на изолирующих опорах, должны выполняться в соединительных и ответвительных коробках, в изоляционных корпусах соединительных и ответвительных сжимов, внутри корпусов технических средств. При прокладке на изолирующих опорах соединение или ответвление проводов следует выполнять непосредственно у изолятора, клицы или на них, также на ролике. 12.24.11. Не допускается применение винтовых соединений в местах с повышенной вибрацией или влажностью. 12.24.12. В местах прохождения проводов и кабелей электроснабжения технических средств сигнализации через стены или перекрытия должны быть предусмотрены огнестойкие уплотнения (асбест, шлаковата, песок и т.п.) 12.24.12. Прокладка кабелей в сооружениях подземной канализации должна производиться в соответствии с проектом и оформляться актом по форме рекомендуемого приложения 11. 12.25. Прокладка кабелей в траншеях 12.25.1. При прокладке кабельных линий непосредственно в земле кабели должны прокладываться в траншеях. 12.25.2. Траншея перед прокладкой кабеля должна быть осмотрена для выявления мест на трассе, содержащих вещества, разрушительно действующие на металлический покров и оболочку кабеля (солончаки, известь, вода, насыпной грунт, содержащий шлак или строительный мусор, участки, расположенные ближе 2 м от выгребных и мусорных ям и т.п.). При невозможности обхода этих мест кабель следует прокладывать в чистом нейтральном грунте в безнапорных асбестоцементных трубах, покрытых снаружи и внутри битумным составом, и т.п. При засыпке кабеля нейтральным грунтом траншея должна быть дополнительно расширена с обеих сторон на 0,5-0,6 м и углублена на 0,3-0,4 м. 12.25.3. При прокладке линий в зоне насаждений расстояние от кабелей до стволов деревьев должно быть, как правило, не менее 2 м, в пределах кустарниковой зоны допускается уменьшение расстояния до 0,75 м. 12.25.4. Кабель в траншее должен быть уложен свободно, при этом следует оставлять запас кабеля длиной, необходимой для проверки изоляции на влажность и монтажа муфты, а также укладки дуги компенсатора (длиной на каждом конце не менее 350 мм). 12.25.5. Глубина укладки кабеля должна быть не менее 0,7 м. 12.25.6. На участках пересечения кабеля другими кабельными линиями они должны разделяться слоем земли толщиной не менее 0.5 м. 12.25.7. При прокладке в одной траншее двух или более кабелей следует располагать их параллельно с расстоянием между ними не менее 0,5 м. 12.25.8. Проложенный в траншее кабель должен быть присыпан слоем земли, уложена механическая защита (плиты или глиняный обыкновенных кирпич в один слой поперек трассы кабелей) или сигнальная лента, после чего производится осмотр трассы и составляется акт на скрытые работы по форме рекомендуемого приложения 12. 12.25.9. Прокладка кабелей в холодное время без предварительного прогрева допускается только в тех случаях, когда температура воздуха в течение 24 ч до начала работ не снижалась, хотя бы временно: а) для контрольных кабелей с резиновой и пластмассовой изоляцией; для небронированных в свинцовой оболочке - ниже минус 20 °С; для небронированных в резиновой или поливинилхлоридной оболочке, а также для бронированных одной профилированной стальной оцинкованной лентой - ниже минус 15 °С. б) для стальных бронированных - минус 7 °С. 12.25.10. Кратковременные в течение 2-3 ч понижения температуры (ночные заморозки) не должны приниматься во внимание при условии положительной температуры в предыдущий период времени. 12.25.11. При температуре воздуха ниже указанной в п. 12.25.9. кабели должны предварительно подогреваться и укладываться в следующие сроки: не более 1 ч... от 0 до минус 10 °С; не более 40 мин ... от минус 10 до минус 20 °С; не более 30 мин ... от минус 20 °С и ниже. 12.25.12. При температуре окружающего воздуха ниже минус 40 °С прокладка кабелей всех марок не допускается. 12.25.13. Прогрев кабеля оформляется актом по форме согласно рекомендуемому приложению 13. 12.25.14. Подогретый кабель при прокладке не должен подвергаться изгибу по радиусу меньше допустимого. Укладывать его в траншее змейкой необходимо по длине согласно п. 12.8. Немедленно после прокладки кабель должен быть засыпан первым слоем разрыхленного грунта. Окончательно засыпать траншею грунтом и уплотнять засыпку следует после охлаждения кабеля. 13. МОНТАЖ ЭЛЕКТРОПРОВОДОК ЛИНЕЙНОЙ ЧАСТИ ПЕРИМЕТРАЛЬНЫХ ТЕХНИЧЕСКИХ СРЕДТВ ОХРАННОЙ СИГНАЛИЗАЦИИ13.1. Электропроводки линейной части технических средств ПОС представляют собой комплекс, состоящий из линий кабельных и электрических приводов, соединительных и присоединительных устройств, металлических конструкций и коробов, проложенных и закрепленных на элементах зданий и сооружений, для прокладки кабелей и проводов, устройств их крепления и защиты от механических повреждений. Монтаж линейной части должен выполняться в соответствии с проектом и учетом требований главы 2.1, 2.3 ПУЭ-87. СНиП 3.05.07-85. ВСН 600-81 "Инструкция по монтажу сооружений и устройств связи, радиовещания и телевидения". 13.2. Для монтажа электропроводок, как правило, применяются кабели и провода, перечень которых приведен в табл. 13.1. 13.3. Прокладка электропроводок, в зависимости от требований на охраняемом объекте, должна выполняться: изолированными проводами - в неметаллических трубах; бронированными кабелями - в земле, открыто на кабельных конструкциях. Стальные трубы разрешается применять для защиты электропроводок только в случаях, специально обоснованных в проекте. 13.4. При скрытом способе, кабели прокладываются в траншеях или устройствах подземной канализации, тоннелях, коллекторах. 13.5. Перед началом монтажных работ кабели и провода проверяются на обрыв и на соответствие норм сопротивления изоляции между жилами. 13.6. После окончания монтажа электропроводок измеряется сопротивление изоляции электрических цепей как между всеми жилами кабеля (всеми жилами проводов в трубе (коробе)), так и между каждой жилой и металлической защитной оболочкой кабеля (между каждой жилой провода или кабеля в неметаллической оболочкой и трубой, коробом, лотком, конструкцией). 13.7. Измерение сопротивления изоляции электропроводок (цепей измерения, управления, питания, сигнализации и т.п.) проводится мегомметром на напряжение 1000 В. Сопротивление изоляции должно быть не менее 0,5 МОм. Продолжительность приложения испытательного напряжения - 1 мин. По результатам проверки сопротивления изоляции составляется акт по форме согласно рекомендуемому приложению 9. 13.8. Стальные трубы, применяемые для прокладки электропроводок, должны иметь внутреннюю поверхность, исключающую повреждения изоляции кабелей и проводок при их затягивании в трубы, а также антикоррозийное покрытие наружной поверхности. 13.9. Трубы для проводок, укладываемые в фундаменты под блоки извещателей ПОС, закрепляются до бетонирования фундамента, на опорных конструкциях или в арматуре. 13.10. В местах выхода труб из фундамента в грунт должны быть предусмотрены проектом компенсирующие устройства против среза труб, при осадках грунта или фундамента. Соединения труб, требующие уплотнения, выполняются с помощью муфт на резьбе с уплотнением лентой ФУМ или пеньковым волокном на сурике. Для электропроводок, не требующих уплотнения соединений труб, допускаются безрезьбовые соединения раструбами, манжетами или гильзами. 13.11. Расстояние между точками крепления, открыто проложенных металлических труб, приводится в табл. 12.3. 13.12. Трубы, прокладываемые открытым способом, должны крепиться так, чтобы было возможно их свободное перемещение при линейном расширении или сжатии, от изменения температуры окружающей среды. Крепление выполняется скобами, хомутами или накладками. 13.13. Крепление стальных труб с электропроводками к техническим трубопроводам, а также крепление непосредственной приварки труб к строительным или технологическим конструкциям не допускается. 13.14. Расстояние между протяжными коробками (ящиками) не должно превышать на прямых участках - 75 м, при одном изгибе трубы - 50 м, при двух изгибах трубы - 20 м. 13.15. Провода и кабели в трубах должны лежать свободно, без натяжения. Диаметр трубы должен приниматься в соответствии с проектом. 13.16. Изменение направлений защитных трубопроводов осуществляется изгибом труб. При наличии сложных поворотов и углов переходных труб из одной плоскости в другую и для устройства температурных компенсаторов, в качестве гибких вставок в защитные трубопроводы применяются металлические рукава. Производить гибку труб с предварительно протянутыми в них проводами не допускается. Радиусы изгиба труб должны быть не менее допустимых радиусов изгиба проводов и кабелей, прокладываемых в данных трубах.
13.17. Расстояние между точками крепления металлорукавов не должно превышать расстояний, указанных в табл. 12.4. Трубы с электропроводами закрепляются на опорных конструкциях на расстоянии от ввода: в приборы - не далее 0,8 м, в соединительные и протяжные коробки - не далее 0,3 м; в гибкие металлорукава - 0,5-0,75 м. При прокладке нескольких электрических проводов в одной трубе или металлорукаве их суммарное сечение должно быть не более 20 % от сечения труб или металлорукава. Количество проводов не должно превышать 30. Не допускается совмещенная прокладка силовых кабелей и линии связи. 13.18. Перед прокладкой кабельных линий непосредственно в земле, траншее в случае скальных грунтов устраивается подсыпка из разрыхленной земли или песка толщиной не менее 100 мм. На участках, где вероятны механические повреждения, кабели защищаются плитами или кирпичом (кроме силикатного). В траншеях кабель укладывают свободно, на середине, с запасом 1-3 % по длине достаточным для компенсации возможных смещений почвы и температурных деформаций. Глубина укладки кабеля не менее 0,6 м. При пересечении кабеля другими кабельными линиями, они разделяются слоем земли, толщиной не менее 0,5 м. При прокладке в одной траншее двух h.ih более кабелей следует их располагать параллельно с расстоянием между ними не менее 100 мм. Для кабельных линий, прокладываемых в земле или воде должны применяться преимущественно бронированные кабели. Металлические оболочки этих кабелей должны иметь внешний покров для защиты от химических воздействий. Кабели с другими конструкциями внешних защитных покрытий (небронированные) должны обладать необходимой стойкостью к механическим воздействиям при прокладке во всех вилах грунтов, а также при протяжке в блоках и трубах. На прокладку кабелей в траншее составляется акт на скрытые работы согласно рекомендуемому приложению 12. 13.19. Прокладка кабелей в сооружениях подземной канализации, в тоннелях и коллекторах должна осуществляться в соответствии с проектом, требованиями СНиП 3.05.06-85, главы 2-3 ПУЭ-87, ВСН 600-81 "Инструкция по монтажу сооружений устройств связи, радиовещания и телевидения" и "Общей инструкции по строительству линейных сооружений городских телефонных сетей". 13.20. При прокладке кабельных линий в сооружениях подземной канализации, тоннелях и коллекторах размещение и них кабелей следует производить: при двухстороннем расположении кабельных конструкций кабели связи и контрольные должны, по возможности, размещаться на противоположных сторонах; при одностороннем расположении кабельных конструкций контрольные кабели связи размешаются под силовыми кабелями, при этом их следует разделять несгораемыми перегородками, имеющими предел огнестойкости не менее 0.25 ч (алебастровые перегородки, стальной прокат). 13.21. В тоннелях, коллекторах и сооружениях подземной канализации прокладка бронированных кабелей должна нестись по сплошным несгораемым перегородкам, уложенным на указанные конструкции. Рекомендуется применять перегородки из асбестоцементных плит. В холодное время гола размотка, переноска и прокладка контрольного и силового кабелей выполняться после предварительного подогрева если температура в течение 24 ч. до начала прокладки снижалась хотя бы временно: 1) для контрольных кабелей с резиновой и пластмассовой изоляцией; для не бронированных в резиновой или поливинилхлоридной оболочке, а также для бронированных одной профилированной стальной оцинкованной лентой - ниже минус 15 °С; 2) для остальных бронированных - ниже минус 7 °С. Кратковременные, в течение 2-3 ч. заморозки не принимаются во внимание при условии положительной температуры в предыдущий период. По результатам прогрева кабеля на барабанах составляется протокол согласно рекомендуемому приложению 13. Не допускается прокладывать кабели при температуре окружающей среды ниже минус 40 °С. 14. ЗАЗЕМЛЕНИЕ ТЕХНИЧЕСКИХ СРЕДСТВ СИГНАЛИЗАЦИИ14.1. Заземление или зануленне технических средств сигнализации следует выполнять: при напряжении 380 В и выше переменного тока и 440 В и выше постоянного тока - во всех электроустановках; при номинальных напряжениях выше 42 В, но ниже 380 В переменного тока и выше 110 В, но ниже 440 В постоянного тока - только в помещениях с повышенной опасностью, особо опасных и в наружных установках. 14.2. Заземление или зануление технических средств сигнализации не требуется при номинальных напряжениях до 42 В переменного тока и до 110 В постоянного тока во всех случаях, кроме металлических оболочек, и брони контрольных и силовых кабелей и проводов, проложенных на общих металлических конструкциях, в том числе в общих трубах, коробах, лотках и т.п. вместе с кабелями и проводами, металлические оболочки и броня, которых подлежат заземлению или занулению; корпусов приемно-контрольных приборов, сигнально-пусковых устройств, приборов управления. 14.3. Заземлению не подлежат корпуса электроприемников с двойной изоляцией, а также подключаемые к сети через разделительный трансформатор. 14.4. Для заземления должны быть использованы естественные заземлители. При отсутствии или невозможности использования естественного заземлителя (обычно указывается в технической документации на используемый прибор) необходимо сооружение искусственного заземлителя. 14.5. Сопротивление заземляющего устройства, используемого для заземления электрооборудования, должно быть не более 4 Ом. В качестве естественных заземлительных используются: проложенные в земле водопроводные и другие металлические трубопроводы, за исключением трубопроводов горючих жидкостей, горючих или взрывчатых газов и смесей; металлические и железобетонные конструкции зданий и сооружений, находящиеся в соприкосновении с землей: обсадные трубы скважин; металлические шунты гидротехнических сооружений, водоводы, затворы и т.п.; свинцовые оболочки кабелей, проложенных в земле. Алюминиевые оболочки кабелей и неизолированные алюминиевые проводники не допускается использовать в качестве естественных заземлителей. 14.6. Для искусственных заземлителей следует применять сталь. Искусственные заземлители не должны иметь окраски. Размеры стальных искусственных заземлителей должны быть не ниже: диаметр круглых (прутковых) заземлителей, мм: неоцинкованных…...............................................10; оцинкованных…...................................…..............6; сечение прямоугольных заземли гелей, кв. мм....48; толщина прямоугольных заземлителей, мм.........4; толщина полок угловой стали, мм........................4. В качество искусственных заземлителей допускается применение заземлителей из электропроводящего бетона. 14.7. Не допускается использование металлических оболочек трубчатых проводов, несущих тросов при тросовой электропроводке, металлических изоляционных трубок, металлорукавов. а также брони и свинцовых оболочек. 14.8. В помещениях и в наружных установках, в которых требуется применение заземления, эти элементы должны быть заземлены, и иметь надежные соединения на всем протяжении. Металлические соединительные муфты и коробки должны быть присоединены к броне и к металлическим оболочкам пайкой или болтовыми соединениями. 14.9. В цепи заземляющих и нулевых защитных проводников не должно быть разъединяющих приспособлений и предохранителей. 14.10. В помещениях сухих, без агрессивной среды, заземляющие проводники прокладываются непосредственно по стенам, а во влажных, сырых и особо сырых помещениях и в помещениях с агрессивной средой - на расстоянии не менее чем 10 мм от стен. 14.11. Прокладка заземляющих проводников в местах прохода через стену и перекрытия должна выполняться, как правило, с их непосредственной заделкой. В этих местах проводники не должны иметь соединений и ответвлений. У мест ввода заземляющих проводников в здание должны быть предусмотрены опознавательные знаки. 14.12. Каждая часть электроустановки должна быть присоединена к сети заземления при помощи отдельного ответвления. Последовательное включение в заземляющий проводник нескольких заземляющих частей электроустановки не допускается. 14.13. Минимальные размеры заземляющих проводников приведены в табл. 14.1. Таблица 14.1
14.14. Присоединение заземляющих и нулевых защитных проводников к частям электрооборудования должно быть выполнено сваркой или болтовым соединением. 15. ПУСКОНАЛАДОЧНЫЕ РАБОТЫ15.1. Пусконаладочные работы должны выполняться монтажно-наладочной организацией в соответствии с требованиями РД 78.145-93 и с обязательным приложением 1 СНиП 3.05.05-84, СНиП 3.05.06-85 и СНиП 3.05.07-85. 15.2. Для проведения пусконаладочных работ заказчик должен: согласовать с монтажно-наладочной организацией сроки выполнения работ, предусмотренные в общем графике; обеспечить наличие источников электроснабжения; обеспечить общие условия безопасности труда. 15.3. До начала пусконаладочных работ в процессе производства монтажных работ должны быть проведены индивидуальные испытания (настройка, регулировка, юстировка составных частей установок; извещателей, приемно-контрольных приборов, сигнально-пусковых устройств и т.п.) в соответствии с техническими описаниями, инструкциями, ПУЭ. 15.4. Производство пусконаладочных работ производится в следующей последовательности: выполнение подготовительных работ; наладочные работы; индивидуальные испытания; комплексная наладка оборудования. 15.5. На этапе выполнения подготовительных работ должны быть изучены эксплуатационные документы на технические средства сигнализации: оборудованы необходимым инвентарем и вспомогательными техническими средствами рабочие места наладчиков. 15.6. На этапах наладочных работ и комплексной наладки оборудования должна производится корректировка ранее проведенной регулировки технических средств сигнализации, в том числе: доведение параметров настройки до значений, при которых установка может быть использована в эксплуатации: вывод технических средств на рабочий режим, проверка работоспособности в режимах "Тревога", "Пожар", "Неисправность" и т.п. 15.7. Пусконаладочные работы считаются законченными после получения предусмотренных проектом и технической документацией параметров и режимов, обеспечивающих устойчивую и стабильную работу технических средств сигнализации (без ложных сигналов тревоги). 15.8. Монтажная организация, выполняющая пусконаладочные работы оформляет акт, согласно рекомендуемому приложению 14. 15.9. Перечень приборов, применяемых при наладке технических средств сигнализации, приводится в рекомендуемом приложении 15. 16. ПРИЕМКА В ЭКСПЛУАТАЦИЮ ТЕХНИЧЕСКИХ СРЕДСТВ СИГНАЛИЗАЦИИ16.1. Для приемки в эксплуатацию установленных технических средств сигнализации приказом руководителя организации (предприятий) заказчика назначается рабочая комиссия. Порядок и продолжительность работы рабочей комиссии определяется заказчиком в соответствии с СНиП 3.01.04-87 и РД 78.145-93. 16.2. В состав рабочей комиссии включаются представители: организации (предприятия) - заказчика (председатель комиссии); монтажно-наладочной организации; пусконаладочной организации; подразделения охраны; органов государственного пожарного надзора. При необходимости могут быть привлечены другие специалисты. 16.3. Комиссия должна приступить к работе по приемке не позднее трех суток (не считая общевыходных и праздничных дней) со дня уведомления монтажно-наладочной организацией о готовности технических средств к сдаче. 16.4. При приемке в эксплуатацию технических средств монтажно-наладочная организация должна предъявлять рабочей комиссии: исполнительскую документацию (комплект рабочих чертежей с внесенными в них изменениями); техническую документацию предприятий - изготовителей; сертификаты, технические паспорта или другие документы; удостоверяющие качество материалов, изделий и оборудования, применяемых при производстве монтажных работ; акт обследования (приложение 1): акт передачи оборудования, изделий и материалов в монтаж (по форме Госкомстата РФ); акт готовности зданий, сооружений к производству монтажных работ (приложение 2); акт о проведении входного контроля (приложение 3); акт об окончании монтажных работ (приложение 5); акт испытания защитных трубопроводов с разделительными уплотнениями на герметичность (приложение 8); акт измерения сопротивления изоляции электропроводок (приложение 9); акт освидетельствования скрытых работ по прокладке электропроводок по стенам, потолкам, в полу (приложение 10); акт освидетельствования скрытых работ (канализация) (приложение 11); акт освидетельствования скрытых работ (прокладка кабельных линий в земле) (приложение 12); протокол прогрева кабелей на барабанах (приложение 13); акт об окончании пусконаладочных работ (приложение 14); ведомость смонтированных приборов, извещателей (приложение 16). ПРИМЕЧАНИЯ. 1. При сдаче и приемке в эксплуатацию технических средств сигнализации на объектах, где монтажные работы проводились по актам обследования, предъявляется техническая документация предприятий-изготовителей, а также документы в соответствии с приложениями 1, 3, 9, 10, 14, 16 и акт передачи оборудования, изделий и материалов в монтаж по форме Госкомстата РФ. 2. Акт передачи оборудования изделий и материалов в монтаж (форма Госкомстата РФ) представляется в том случае, если монтажно-наладочная организация производит приемку технических средств сигнализации в монтаж от заказчика. 3. Акт об окончании монтажных работ представляется в том случае, если монтажная организация выполняла только монтаж технических средств сигнализации. 4. Акты согласно приложениям 11 и 12 настоящего пособия представляется в том случае, если монтажно-наладочная организация производила работы по прокладке линий в канализации и земле. 5. Протокол прогрева кабелей на барабанах представляется в том случае, когда при размотке кабеля при отрицательных температурах был произведен прогрев его. 16.5. Приемка в эксплуатацию установленных технических средств сигнализации без проведения комплексной наладки (комплексного опробования) не допускается. 16.6. При приемке в эксплуатацию выполненных работ по монтажу, наладке технических средств сигнализации рабочая комиссия производит: проверку качества и соответствие выполненных монтажно-наладочных работ проектной документации (акту обследования), технологическим картам и технической документации предприятий-изготовителей; проверку состояния инженерно-технических средств оснащения периметра объекта и средств усиления охраны; измерение сопротивления изоляции шлейфа сигнализации, которое должно быть не менее 1 МОм; измерение сопротивления шлейфа сигнализации; испытание работоспособности смонтированных ПКП, СПУ и извещателей. Комиссия в необходимых случаях производит и другие проверки и измерения параметров, оговоренные техническими условиями на смонтированную аппаратуру. 16.7. Методика испытаний при сдаче установленных технических средств сигнализации в эксплуатацию определяется приемной комиссией в соответствии с технической документацией предприятий-изготовителей. 16.8. При обнаружении отдельных несоответствий выполненных работ проектной документации или акту обследования, а также требованиям РД 78.145-93 "Системы и комплексы охранной, пожарной и охранно-пожарной сигнализации. Правила производства и приемки работ" комиссия должна составить акт о выявленных отклонениях с указанием организаций, ответственных за их устранение. Эти организации должны в 10-ти дневный срок устранить несоответствия, а монтажная организация вновь предъявить технические средства сигнализации к сдаче. 16.9. Установленные технические средства сигнализации считаются принятыми в эксплуатацию, если проверкой установлено: монтажно-наладочные работы выполнены в соответствии с требованиями настоящих правил, технологическими картами и технической документацией предприятий-изготовителей; все элементы строительных конструкций и охраняемые зоны объекта заблокированы согласно проекту или акту обследования; все зоны по периметру объекта заблокированы согласно проекту или акту обследования; результаты измерений в пределах нормы; испытания работоспособности технических средств дали положительные результаты, при этом технические средства пожарной сигнализации должны в предусмотренных проектом случаях обеспечивать отключение систем вентиляции, включение систем дымоудаления и подпора воздуха в лестничные клетки и тамбурные шлюзы при пожаре. 16.10. Установленные ПТУ считаются принятыми в эксплуатацию при выполнении следующих условий: при обеспечении качественного телевизионного изображения на экране видеоконтрольного устройства (ВКУ); суммарные нелинейные искажения изображения не должны превышать ±10 %; суммарные геометрические искажения изображения не должны превышать ±4 %; номинальный размер изображения на экране ВКУ должен быть (394 \ 308) ±2 мм; должна быть обеспечена безоператорная работа, т.е. сохранение изображения наблюдаемого объекта, с чересстрочным разложением изображения на 625 строк при 25 кадрах в секунду, при воздействии всех дестабилизирующих факторов, оговоренных техническими условиями на установку; разрешающая способность установки по горизонтали, оцениваемая по вертикальному клину изображения испытательной таблицы ИТ-72 на экране ВКУ при освещенности таблицы 200 люкс и относительном отверстии объектива 1:4, обеспечивает различимость не менее 500 телевизионных линий и не менее 450 линий в углах; в установках должна быть обеспечена возможность работы телевизионных камер с объективами; на экране ВКУ после включения установки изображение должно появляться не более чем через 2 минуты. 16.11. Работоспособность охранного освещения определяется по результатам проверки осветительной сети на правильность зажигания и горения ламп. 16.12. Работоспособность громкоговорящей и телефонной связи определяется по результатам проверки отсутствия акустической связи с находящимися рядом соседними постами и обеспечении громкоговорителями и микрофонами нормальной слышимости речи. 16.13. Оценка качества выполненных монтажно-наладочных работ определяется в соответствии со СНиП 3.01.04-87 "Приемка в эксплуатацию законченных строительством объектов. Основные положения". 16.14. Прием установленных технических средств сигнализации в эксплуатацию должен оформляться актом согласно рекомендуемому приложению 17. 17. МАРКИРОВКА И ПЛОМБИРОВАНИЕ17.1. Технические средства сигнализации по окончании монтажно-наладочных работ должны быть промаркированы с указанием наименования защищаемых помещений и назначения прибора. 17.2. После приемки технических средств сигнализации в эксплуатацию монтажно-наладочная организация должна опломбировать те части приборов, к которым имел доступ ее представитель, в процессе монтажа и наладки, проверить наличие и целостность пломб предприятий-изготовителей на приборах. 18. ТРЕБОВАНИЯ БЕЗОПАСНОСТИ ТРУДА18.1. Монтажно-наладочные работы следует начинать только после выполнения мероприятий по технике безопасности согласно СНиП III-4-80. 18.2. Работу с техническими средствами сигнализации необходимо производить с соблюдением ПУЭ. 18.3. При монтаже, транспортировке, хранении, списании и захоронении радиоизотопных извещателей должны выполняться требования "Основных санитарных правил работы с радиоактивными веществами и другими источниками ионизирующих излучений" ОСП - 72/87. 18.4. При работе с ручными электроинструментами необходимо соблюдать требования ГОСТ 12.2.013-87. 18.5. При работе с клеями следует соблюдать меры предосторожности и правила безопасности в соответствии с требованиями ГОСТ 12.1.007-76 и ТУ 38-103-211-76. 18.6. При работе со строительно-монтажным пистолетом следует соблюдать требования РТМ 36.6-88 "Инструменты пороховые, типы, технические данные. Область применения. Хранение и ремонт". 18.7. При работе на высоте необходимо использовать только приставные лестницы или стремянки. Применение подручных средств категорически запрещается. При пользовании приставными лестницами обязательно присутствие второго человека. Нижние концы лестницы должны иметь упоры в виде металлических шипов или резиновых наконечников. 18.9. При монтаже, наладке и техническом обслуживании технических средств сигнализации необходимо руководствоваться также разделами по технике безопасности технической документации предприятий-изготовителей, ведомственными инструктивными указаниями по технике безопасности при монтаже и наладке приборов контроля и средств автоматизации. 19. ГАРАНТИИ19.1. Монтажно-наладочная организация гарантирует безотказную работу установленных технических средств сигнализации в течение 12 месяцев со дня приемки в эксплуатацию и обязана в сроки, указанные в акте о выявленных дефектах (но не позднее 10 дней) согласно рекомендуемому приложению 18, устранить дефекты, возникшие по ее вине. 19.2. Акт о выявленных дефектах составляется комиссией с участием представителей заказчика, монтажно-наладочной организации, органов государственного пожарного надзора, подразделений охраны, а также организации, осуществляющей эксплуатацию технических средств или специализированной организации, осуществляющей их централизованное техническое обслуживание. Для участия в работе комиссии организации обязаны командировать своих представителей в 5-ти дневный срок со дня получения письменного уведомления заказчика. При неявке в установленный срок представителя монтажно-наладочной организации, акт о выявленных дефектах составляется без его участия. 19.3. Монтажно-наладочная организация не несет ответственность за: неисправности, возникшие из-за несоблюдения правил эксплуатации; дефекты, возникшие в технических средствах сигнализации в процессе эксплуатации по вине предприятий-изготовителей. ПРИЛОЖЕНИЕ 1АКТ ОБСЛЕДОВАНИЯ (форма)
Выполнить блокировку:
Провода проложить_______________________________________________________________ (открыто, скрыто, протяженность в м.) Электроснабжение технических средств сигнализации осуществить от ________________________________________________________________________________ Сметная стоимость__________________________________________________ тыс. руб. Смета на многоэтажно-наладочные работы прилагается на______________ листах План-схема прилагается на__________________________________________ листах. Задание заказчику по технической укрепленности объекта прилагается на ___________листах Выполнение работ по монтажу технического средства ______________________ планируется провести в __________________ месяце 19 _________ года. Настоящий акт составлен в ___________________________ экземплярах. Представители: ЗАКАЗЧИКА _______________ (подпись) Подразделение охраны _________________________ (подпись) Орган Госпожнадзора __________________________ (подпись) ПРИЛОЖЕНИЕ к акту обследования ПЛАН-СХЕМА ОБЪЕКТА План схема составляется поэтапно с указанием: размеров помещений (длина ´ ширина ´ высота в м.); трассы прокладки электропроводок (шлейфа сигнализации, электроснабжения к оповещателям, телефонам и их расстояние от приемно-контрольных приборов, сигнально-пусковых устройств); места установки приемно-контрольных приборов, сигнально-пусковых устройств извещателей, оповещателей; места нахождения щита электроснабжения; места проходов капитальные и некапитальные стены. ПРИЛОЖЕНИЕ к акту обследования Задание заказчика по технической укреплённости объекта Заказчику до "____" ______________ 19 ____ г. выполнить следующие работы: ________________________________________________________________________________
ПРИЛОЖЕНИЕ 2
| ||||||||||||||||||||||||||||||||||||||||||||||||||||||||||||||||||||||||||||||||||||||||||||||||||||||||||||||||||||||||||||||||||||||||||||||||||||||||||||||||||||||||||||||||||||||||||||||||||||||||||||||||||||||||||||||||||||||||||||||||||||||||||||||||||||||||||||||||||||||||||||||||||||||||||||||||||||||||||||||||||||||||||||||||||||||||||||||||||||||||||||||||||||||||||||||||||||||||||||||||||||||||||||||||||||||||||||||||||||||||||||||||||||||||||||||||||||||||||||||||||||||||||||||||||||||||||||||||||||||||||||||||||||||||||||||||||||||||||||||||||||||||||||||||||||||||||||||||||||||||||||||||||||||||||||||||||||||||||||||||||||||||||||||||||||||||||||||||||||||||||||||||||||||||||||||||||||||||||||||||||||||||||||||||||||||||||||||||||||||||||||||||||||||||||||||||||||||||||||||||||||||||||||||||||||||||||||||||||||||||||||||||||||||||||||||||||||||||||||||||||||||||||||||||||||||||||||||||||||||||||||||||||||||||||||||||||||||||||||||||||||||||||||||||||||||||||||||||||||||
|
Город __________________________________________"_____"_________ 19___г. Объект________________________________________________________________________________________ (наименование) Комиссия в составе представителей: Заказчика _______________________________________________________________________ (должность, фамилия, имя, отчество) Строительной организации ________________________________________________________ ________________________________________________________________________________ (должность, фамилия, имя, отчество) Монтажной организации __________________________________________________________ ________________________________________________________________________________ (должность, фамилия, имя, отчество) Монтажной организации __________________________________________________________ Составила настоящий акт о том, что объект готов, не готов (ненужное зачеркнуть) к производству работ по монтажу технических средств ________________________________ ________________________________________________________________________________ Особые замечания _______________________________________________________________ ________________________________________________________________________________ Приложение _____________________________________________________________________ ________________________________________________________________________________ Представители: Заказчика ____________________________________ подпись Строительной организации ____________________ подпись Монтажной организации _______________________ подпись |
|
Предприятие ____________________________________________________________________ наименование Объект _________________________________________________________________________ наименование Комиссия в составе представителей: Заказчика _______________________________________________________________________ (должность, фамилия, имя, отчество) Монтажной организации__________________________________________________________ (должность, фамилия, имя, отчество) ________________________________________________________________________________ Составила настоящий акт о том, что технические средства ________________________________________________________________________________ (наименование, тип, марка, заводской номер или маркировка ________________________________________________________________________________ предприятие-изготовитель, дата изготовления технических средств ________________________________________________________________________________ дата поступления) прошедшие входной контроль, соответствуют технической документации предприятий-изготовителей. Представители: Заказчика ______________________ подпись Монтажной организации ____________________ подпись |

|
Город __________________________"____"_______________________19_______г. Комиссия в составе представителей: Заказчика (генподрядчика) ________________________________________________________ ________________________________________________________________________________ (должность, фамилия, имя, отчество) Монтажной организации __________________________________________________________ ________________________________________________________________________________ (должность, фамилия, имя, отчество) Пусконаладочной организации (или организации, представляющей её) ________________________________________________________________________________ (должность, фамилия, имя, отчество) установила: 1. Монтажной организацией предъявлена к приемке законченные монтажом технические средства ______________________________________________________________________________________ ________________________________________________________________________________ наименование технических средств смонтированные в ________________________________________________________________ наименование объекта по _______________________________, разработанному _______________________________ (проекту, акту, обследования) 2. Монтажные работы выполнены ________________________________________________ (наименование монтажной ________________________________________________________________________________ организации) 3. Начало работ "______" ___________________________________ 19 ______ г. Окончание работ "______"____________________ 19 _____ г. Заключение рабочей комиссии: Работы по монтажу предъявленных технических средств сигнализации соответствии с проектом, стандартами, строительными нормативами и правилами. Технические средства сигнализации, предъявленные к приемке, считать принятой с "____" ______________ 19______ г. для пусконаладочных работ. Представители: Заказчика (генподрядчика)________________________________________ подпись Монтажной организации _________________________________________ подпись Пусконаладочной организации (или организации, представляющей ее)______________________________ подпись |

Рис. 1

Рис. 2


Рис. 1. Схема размещения камеры ПТУ
|
Город ____________________________________" ''_____________ 19_____г. Объект__________________________________________________________________________ Комиссия в составе представителей: Заказчика _______________________________________________________________________ ________________________________________________________________________________ должность, фамилия, имя, отчество монтажной организации __________________________________________________________ должность, фамилия, имя, отчество произвела испытание давлением на герметичность соединений стальных труб электропроводок |
РЕЗУЛЬТАТЫ ИСПЫТАНИЙ
|
N трубы по проекту |
Ду, мм |
Длина трубы, м |
Испытательное давление кПа (ат |
Время выдержки, ч |
Падение давления проц/ч |
Допустимая величина давления |
|
1 |
2 |
3 |
4 |
5 |
б |
7 |
Согласно приведенным результатам испытаний и осмотру монтаж защитных труб выполнен с проектом.
Защитные трубы пригодны для эксплуатации по взрывоопасных зонах класса
________________________________________________________________________________
Представители:
Заказчика _________________________________
подпись
Монтажной организации ____________________
подпись
|
Город ___________________________________"______" _____________ 19____г. Объект _________________________________________________________________________ наименование Проект N________________________________________________________________________ Комиссия в составе представителей: Заказчика _______________________________________________________________________ ________________________________________________________________________________ должность, фамилия, имя отчество |
Монтажной организации __________________________________________________________
произвела измерения сопротивления изоляции электропроводок. Данные контрольных приборов:
|
Наименование прибора |
Тип |
N прибора |
Шкала |
Класс |
Примечание |
|
1. |
|
|
|
|
|
|
2. |
|
|
|
|
|
|
и т.д. |
|
|
|
|
|
Данные испытаний
|
Маркировка провода (кабеля) по чертежу |
Марка провода (кабеля) |
Количество и сечение жил кв. мм |
Сопротивление изоляции, МОм |
Примечание |
|
1. |
|
|
|
|
|
2. |
|
|
|
|
|
и т.д. |
|
|
|
|
Заключение комиссии:
Сопротивление изоляции перечисленных электропроводок соответствует техническим требованиям.
Представители:
Заказчика ______________________
подпись
Монтажной организации ______________
подпись
|
Город _______________________________________"______" __________19___г. Объект _________________________________________________________________________ (наименование) Комиссия в составе представителей: заказчика _______________________________________________________________________ (должность, фамилия, имя, отчество) ________________________________________________________________________________ ________________________________________________________________________________ монтажной организации __________________________________________________________ ________________________________________________________________________________ (должность, фамилия, имя, отчество) произвела осмотр выполненных ____________________________________________________ ________________________________________________________________________________ (наименование монтажной организации) работ по прокладке скрытым способом ______________________________________________ (электропроводки или линии ________________________________________________________________________________ блокировки стен, перегородок, перекрытий и т.д.) провода (кабеля) _________________________________________________________________ (марки провода, кабеля) емкостью _______________________ диаметром жил ____________________мм, длиной ________________________________ м. Работы выполнялись в период с ____________________________________________________ по _________________________________ 19_______ г. При осмотре оказалось: 1. ______________________________________________________________________________ (прокладка провода, кабеля выполнена в штробе, ________________________________________________________________________________ трубах, гибких металлических рукавах и т.п.) 2. ______________________________________________________________________________ (наличие спаек провода, кабеля, их количество, ________________________________________________________________________________ качество выполнения) 3.______________________________________________________________________________ (в стене, потолке, полу) 4. ______________________________________________________________________________ 5.______________________________________________________________________________ 6.______________________________________________________________________________ Проведенные работы по прокладке электропроводки и линий блокировки выполнены в соответствии с техническими требованиями. Представители: заказчика ______________________________ (подпись) монтажной организации _________________ (подпись) |
|
Город___________________________ "______" ________________ 19_____ г. Комиссия в составе представителей: Заказчика _______________________________________________________________________ (должность, фамилия, имя, отчество) ________________________________________________________________________________ монтажной организации___________________________________________________________ ________________________________________________________________________________ (должность, фамилия, имя, отчество) произвела осмотр выполненных ____________________________________________________ ________________________________________________________________________________ (наименование монтажной организации) работ по укладке кабелей (контрольных и силовых) в подземной канализации согласно рабочим чертежам________________________________________________________________ ________________________________________________________________________________
|
на объекте, на участках ______________________________ в объеме:
|
Количество отверстий |
Протяженность, м |
Внутренний диаметр труб, мм |
Длина труб, м |
Тип труб |
Способ соединения стыков |
Примечание |
Работы выполнялись в период с __________________________________________________
по __________________________ 19_______ г.
|
При осмотре не засыпанной канализации оказалось: 1. Глубина заложения подошвы блока_______________________________________________ 2. Количество выполненных стыков_________________________________________________ 3. ______________________________________________________________________________ 4. Результаты проверки пробным цилиндром_________________________________________ 5. Размеры люков, колодцев_______________________________________________________ 6. Наличие двойных крышек на колодцах ___________________________________________ Осмотренные сооружения выполнены в соответствии _________________________________ ____________________________________ с "Общей инструкцией по строительству линейных сооружений ГТС", ПУЭ и проектом. Представители: Заказчика __________________________ (подпись) монтажной организации ______________ (подпись)
|
|
Город_____________________________ ''______'' _______________ 19_____ г. Комиссия в составе представителей: Заказчика _______________________________________________________________________ (должность, фамилия, имя, отчество) ________________________________________________________________________________ монтажной организации __________________________________________________________ ________________________________________________________________________________ (должность, фамилия, имя, отчество) произвела осмотр выполненных ____________________________________________________ ________________________________________________________________________________ (наименование монтажной организации) работ по прокладке бронированного кабеля (или небронированного) марки _________________________, емкостью _______________________________________ диаметром жил ____________________ мм, согласно рабочему чертежу N ________________ на объекте ______________________ длиной _________________________ м. Работы выполнялись в период с __________________________________________________ по __________________________ 19_______ г. При осмотре оказалось: 1.______________________________________________________________________________ (наличие постели из песка или мягкого грунта) 2.______________________________________________________________________________ (защита кабеля кирпичом или другим материалом) 3.______________________________________________________________________________ 4.______________________________________________________________________________ Осмотренные работы по прокладке бронированного (небронированного) кабеля выполнены в соответствии с ПУЭ и проектом. Представители: Заказчика _______________________ (подпись) монтажной организации ________________________ (подпись) |
|
Город __________________________________"____"__________________ 19_____г. Объект _________________________________________________________________________ (наименование) Цех (объект) ____________________________________________________________________ Комиссия в составе представителей: заказчика _______________________________________________________________________ (должность, фамилия, имя, отчество) ________________________________________________________________________________ монтажной организации __________________________________________________________ ________________________________________________________________________________ (должность, фамилия, имя, отчество) |
произвели прогрев кабелей на барабанах
|
Номер барабана |
Марка кабеля |
Число жил и сечение, кв. мм |
Длина кабеля, м |
Температура в начале прогрева, °С |
Напряжение, В |
Ток А |
Температура в конце прогрева, °С |
Температура воздуха в прокладке, °С |
Перечисленные кабели допускается к прокладке с окончанием
работ не позднее "______" ________________________ 19 _____ г.
Представители:
заказчика ___________________________
(подпись)
монтажной организации ____________________________
(подпись)
|
Город _______________________ "_____" _________________ 19 _____г. Комиссия в составе: заказчика _______________________________________________________________________ (должность, фамилия, имя, отчество) ________________________________________________________________________________ монтажно-наладочной (пусконаладочной) организации ________________________________ ________________________________________________________________________________ (должность, фамилия, имя, отчество) установила, что с "_______" _______________________________________ 19 _______ г. по "____" ____________________ 19 _____ г. _________________________________________ ________________________________________________________________________________ (наименование монтажно-наладочной (пусконаладочной) ________________________________________________________________________________ организации) проводились пусконаладочные работы ______________________________________________ (наименование ________________________________________________________________________________ установки) смонтированной в ________________________________________________________________ (наименование объекта) ________________________________________________________________________________ согласно договору N ______ от "_____" ___________________________ 19_________ г. В результате проведенных работ выполнено: _______________________________________ ________________________________________________________________________________ ________________________________________________________________________________ ________________________________________________________________________________ С подписанием настоящего акта пусконаладочные работы считаются выполненными, установленные технические средства сигнализации, прошедшие пусконаладочные работы, считать готовыми для предъявления приемочной комиссии к приемке в эксплуатацию. ________________________________________________________________________________ (для дополнительной информации) ________________________________________________________________________________ ________________________________________________________________________________ К акту прилагаются: ___________________________________________________________ ________________________________________________________________________________ ________________________________________________________________________________ К акту прилагаются: ___________________________________________________________ ________________________________________________________________________________ ________________________________________________________________________________ Представители: заказчика ________________________________________ (подпись) монтажно-наладочной организации _________________ (подпись) |
|
Наименование прибора |
Рекомендуемый тип прибора |
|
Автотрансформатор |
РНО-250-2 |
|
Ампервольтметр |
Ф-434 |
|
Комбинированный прибор |
Ц4313, Ц4324 |
|
Вольтметр универсальный цифровой |
В7-22 |
|
Вольтметр универсальный цифровой |
В7-38 |
|
Генератор сигналов низкочастотный |
Г3-109, Г3-110 |
|
Генератор сигналов высокочастотный |
Г4-114, Г4-117 |
|
Генератор шума низкочастотный |
Г4-109, Г2-47 |
|
Генератор телевизионных испытательных сигналов |
Г6-8 |
|
Генератор импульсов калиброванной амплитуды |
Г5-53, Г5-60 |
|
Измеритель частотных характеристик |
XI-IO |
|
Измеритель индуктивности, емкости и сопротивления универсальный |
E7-11 |
|
Источник питания постоянного тока |
Б5-48 |
|
Источник питания постоянного тока |
Б5-49 |
|
Измеритель неоднородностей кабеля |
P5-9 |
|
Мегаомметр |
M4100/3 |
|
Микровольтметр селективный |
B6-9 |
|
Милливольтметр |
B3-42 |
|
Мост сопротивлений |
Р-333 |
|
Люксметр фотоэлектрический |
Ю117, Ю116 |
|
Осциллограф универсальный однолучевой |
Cl-94, Cl-73 |
|
Осциллограф двухлучевой универсальный |
С1-74 |
|
Пробойная установка |
УПУ-10М |
|
Счетчик импульсов |
CБ-1M/50 |
|
Радиостанция УКВ низовой радиосвязи "Стройка" |
|
|
Телефонный аппарат |
ТАИ-43 |
|
Частомер электронно-счетный |
Ф5041 |
|
Шумомер |
Ш-71 |
ПРИМЕЧАНИЕ
Допускается применение других приборов, имеющих характеристики, не хуже, чем у приведенных в перечне.
________________________________________________________________________________
(наименование объекта)
________________________________________________________________________________
по проекту (акту обследований)_____________________________________________________
|
№ позиции по спецификации проекта |
Наименование |
Тип |
Завод изготовитель |
Количество |
Примечание |
|
|
|
|
|
|
|
Сдал:
представитель монтажно
наладочной организации ________________________________________________________
(должность, фамилия, и.о. подпись)
Принял:
представитель заказчика ________________________________________________________
(должность, фамилия, и.о. подпись)
|
Город__________________________________________________________________________ рабочая комиссия, назначенная ____________________________________________________ (наименование организации _______________________________________________________________________________ заказчика) приказом от "__" _________________________________ 19___ г. N______________________ в составе: председателя - представителя заказчика _______________________________________________________________________________ (должность, фамилия, имя, отчество) Членов комиссии - представителей: монтажной организации ________________________________________________________ (должность, фамилия. ________________________________________________________________________________ имя, отчество) пусконаладочной организации ___________________________________________________ (должность, фамилия, _______________________________________________________________________________________________ имя, отчество) подразделения охраны __________________________________________________________ (должность, фамилия, ________________________________________________________________________________ имя, отчество) провела проверку выполненных работ и установила: 1. Монтажно-наладочной (пусконаладочной) организацией предъявлены к приемке технические средства сигнализации _________________________________________________ ________________________________________________________________________________ (наименование) смонтированные в _____________________________________________________________ (наименование объекта) по проекту ____________________________________________________________________ (проекту, акту обследования) разработанному (составленному) _________________________________________________ (наименование ________________________________________________________________________________ организации или состав комиссии) 2. Монтажные работы выполнены ________________________________________________ (наименование монтажной организации) с "_______" ________________ 19_____ г. по "______" ______________ 19_____г. Сметная стоимость монтажных работ __________________________________ тыс. руб. Фактическая стоимость монтажных работ _______________________________ тыс. руб. 3. Пусконаладочные работы выполнены ___________________________________________ ________________________________________________________________________________ наименование пусконаладочной организации с "______" ______________ 19______ г. по ''________'' ________________ 19 _______ г. Сметная стоимость пусконаладочных работ _____________________________ тыс. руб. 4. Результаты измерения: сопротивление шлейфа сигнализации _____________________________________________ сопротивление изоляции шлейфа сигнализации ____________________________________ 5. Выявленные в процессе комплексного опробования дефекты недоделки устранены (при необходимости указать в приложении настоящему акту). Заключение комиссии: Технические средства сигнализации, прошедшие комплексную проверку, включая и пусконаладочные работы, считать принятыми в эксплуатацию с "____" ______________ 19____ г. Перечень прилагаемой к акту документации: ________________________________________________________________________________ ________________________________________________________________________________ ________________________________________________________________________________ Председатель комиссии _______________________________ (подписи, место печати) Члены комиссии _____________________________________ (подпись) |
|
Город __________________________ "______" ______________ 19_____ г. Объект _________________________________________________________________________ (наименование) Комиссия в составе представителей: заказчика _______________________________________________________________________ должность, фамилия, имя, отчество монтажной организации __________________________________________________________ должность, фамилия, имя, отчество подразделения охраны ____________________________________________________________ должность, фамилия, имя, отчество организации, осуществляющей эксплуатацию ________________________________________________________________________________ должность, фамилия, имя, отчество составила настоящий акт о том, что в процессе эксплуатации технических средств ___________________________ в период гарантийного срока обнаружены дефекты: ________________________________________________________________________________ ________________________________________________________________________________ ________________________________________________________________________________ Для устранения выявленных дефектов необходимо: ________________________________________________________________________________ ________________________________________________________________________________ ________________________________________________________________________________ Комиссия: Председатель комиссии ___________________________________ подпись Члены комиссии _________________________________________ подпись |
ГОСТ 12.1.007-76 ССБТ. Вредные вещества. Классификация и общие требования безопасности.
ГОСТ 12.2.013-87. ССБТ. Машины ручные электрические. Общие требования по безопасности и методы испытаний.
ГОСТ 3262-75. Трубы стальные водогазопроводные. Технические условия.
ГОСТ 8709-82Е. Щитки осветительные для промышленных и общественных зданий. Общие технические условия.
ГОСТ 8734-75. Трубы сварные бесшовные холоднодеформированные. Сортамент.
ГОСТ 9413-78. Щитки осветительные для жилых зданий. Общие технические условия.
ГОСТ 10704-76. Трубы стальные электросварные прямошовные. Сортамент.
ГОСТ 13489-79. Герметики марок У-30М и УТ-51. Технические условия.
ГОСТ 14254-80. Изделия электротехнические. Оболочки. Степени защиты. Обозначения Методы испытаний.
ГОСТ 19034-82. Трубы из поливинилхлоридного пластиката. Технические условия.
ГОСТ 21931-76. Припои оловянно-свинцовые в изделиях. Технические условия.
ГОСТ 22782.5-78. Электрооборудование взрывозащищенное с видом взрывозащиты "Искробезопасная электр.цепь. Технические требования и методы испытаний".
ГОСТ 24297-87. Входной контроль продукции. Основные положения.
СНиП 1.02.01-85. Инструкция о составе, порядке, разработке, согласования и утверждения проектно-сметной документации на строительство предприятий, зданий и сооружений.
СНиП 1.06.05-85. Положение об авторском надзоре проектных организаций за строительством предприятии, зданий и сооружений.
СНиП 2.04.09-84. Пожарная автоматика зданий и сооружений.
СНиП 3.01.01-85. Организация строительного производства.
СНиП 3.01.04-87. Приемка в эксплуатацию законченных строительством объектов.
СНиП 3.05.06-85. Электротехнические устройства.
СНиП 3.05.07-85. Системы автоматизации.
СНиП III-4-80. Техника безопасности в строительстве.
СН 441-72. Указания по проектированию ограждений площадок и участков предприятий, зданий и сооружений.
РД 78.145-93. Системы и комплексы охранной, пожарной и охранно-пожарной сигнализации. Правила производства и приемки работ.
|