ИНФОСАЙТ.ру
Госты, стандарты, нормативы. В библиотеке 60000 документов. Регулярное обновление. Круглосуточный бесплатный доступ!
БИБЛИОТЕКА ГОСТОВ, СТАНДАРТОВ И НОРМАТИВОВ

:: АЛГОТРЕЙДИНГ ::


АЛГОТРЕЙДИНГ
шаг за шагом


БЕСПЛАТНЫЕ УРОКИ по созданию торговых роботов на PYTHON с нуля, шаг за шагом.


Минимальные знания на PYTHON.
Библиотеки BackTrader и Pandas, сигналы с Pine Script из TradingView.
Связка с брокерами, телеграм.
Создание простых интерфейсов.

 

Все документы, представленные в каталоге, не являются их официальным изданием и предназначены исключительно для ознакомительных целей. Электронные копии этих документов могут распространяться без всяких ограничений. Вы можете размещать информацию с этого сайта на любом другом сайте.


МИНСТРОЙ РФ

ЦЕНТРАЛЬНЫЙ НАУЧНО-ИССЛЕДОВАТЕЛЬСКИЙ И ПРОЕКТНО-ЭКСПЕРИМЕНТАЛЬНЫЙ ИНСТИТУТ ПРОМЫШЛЕННЫХ ЗДАНИЙ И СООРУЖЕНИЙ

(ЦНИИпромзданий)

РЕКОМЕНДАЦИИ ПО УСИЛЕНИЮ И РЕМОНТУ СТРОИТЕЛЬНЫХ КОНСТРУКЦИЙ ИНЖЕНЕРНЫХ СООРУЖЕНИЙ

Директор института

Гранев В.В.

Зав. сектора инженерных сооружении

Фролов Ю.В.

Главный специалист

Ильин В.Т.

СОДЕРЖАНИЕ

1. ПРЕДИСЛОВИЕ

2. ОЦЕНКА ТЕХНИЧЕСКОГО СОСТОЯНИЯ ИНЖЕНЕРНЫХ СООРУЖЕНИЙ

3. КЛАССИФИКАЦИЯ ДЕФЕКТОВ ЖЕЛЕЗОБЕТОННЫХ И СТАЛЬНЫХ КОНСТРУКЦИЙ ПО ВНЕШНИМ ПРИЗНАКАМ

4. ОБЩИЕ МЕТОДЫ УСИЛЕНИЯ И РЕМОНТА ОТДЕЛЬНЫХ СТРОИТЕЛЬНЫХ КОНСТРУКЦИЙ ИНЖЕНЕРНЫХ СООРУЖЕНИЙ

4.1. СТАЛЬНЫЕ КОНСТРУКЦИИ

4.2. ЖЕЛЕЗОБЕТОННЫЕ КОНСТРУКЦИИ

4.3. ДЕРЕВЯННЫЕ КОНСТРУКЦИИ

4.4. КАМЕННЫЕ КОНСТРУКЦИИ

5. УСИЛЕНИЕ И РЕМОНТ КОНСТРУКЦИЙ ИНЖЕНЕРНЫХ СООРУЖЕНИЙ

5.1. Железобетонные резервуары и технологические емкости.

5.2. Стальные резервуары

5.3. Силосы и бункеры

5.4. Подпорные стены, канала, тоннели.

5.5. Конвейерные галереи

5.6. Отдельно стоящие опоры и эстакады под технологические трубопроводы.

5.7. Открытые крановые эстакады,

5.8. Дымовые трубы

5.9. Градирни

6. ОСОБЕННОСТИ РАСЧЕТА СТРОИТЕЛЬНЫХ КОНСТРУКЦИЙ ПРИ УСИЛЕНИИ.

7. ОБЩИЕ РЕКОМЕНДАЦИИ ПО РЕМОНТУ И УСИЛЕНИЮ КОНСТРУКЦИЙ ИНЖЕНЕРНЫХ СООРУЖЕНИЙ

8. ПРИМЕРЫ РАСЧЕТОВ СТРОИТЕЛЬНЫХ КОНСТРУКЦИЙ ПРИ УСИЛЕНИИ

ИСПОЛЬЗОВАННАЯ ЛИТЕРАТУРА

 

РЕКОМЕНДАЦИИ по усилению и ремонту строительных конструкций инженерных сооружений

Рекомендовано к изданию решением секции несущих конструкций Научно-технического Совета ЦНИИпромзданий.

Рассмотрены технические решения по ремонту и усилению конструкций различных инженерных сооружений: стальных и железобетонных резервуаров, силосов, подпорных стен, конвейерных галерей, крановых эстакад, дымовых труб и др.

Рекомендации содержат основные положения по обследованию и оценке несущей способности железобетонных и стальных конструкций сооружений. Приведена классификация характерных дефектов железобетонных и стальных конструкций по внешним признакам, которая позволяет установить определенный способ усиления конструкций. Разработана методика и даны примеры расчета усиления конструкций.

Рекомендации могут быть использованы при усилении поврежденных конструкций, а также конструкций, нагрузки на которые возросли при реконструкции.

Рекомендации предназначены для работников проектных и строительных организаций, для специалистов служб, занимающихся эксплуатацией и ремонтом зданий и сооружений.

Руководитель разработки - к.т.н. Туголуков А.М.

1. ПРЕДИСЛОВИЕ

В настоящее время в эксплуатации находится большое количество различных инженерных сооружений: стальных и железобетонных резервуаров и технологических емкостей, силосов, каналов и тоннелей, подпорных стен, конвейерных галерей, эстакад технологических трубопроводов, крановых эстакад, градирен, дымовых труб и др. Многие из этих сооружений, особенно эксплуатируемые в условиях повышенной агрессивности внешней среды, приходят в неудовлетворительное состояние через 15 - 20 лет работы и требуют ремонта.

Помимо этого возникает потребность в усилении сооружений при реконструкции, в связи с изменением технологических процессов и нагрузок на конструкции.

В настоящих рекомендациях представлены различные способы ремонта и усиления конструкций инженерных сооружений.

Рекомендации содержат: общие методы ремонта строительных конструкций; примеры усиления и восстановления конструкций инженерных сооружений; особенности расчета при усилении.

При разработке рекомендаций по ремонту и усилению инженерных сооружений в основу были положены примеры конструктивных решений, заимствованных из практики отечественного и зарубежного строительства. Указанные примеры по ремонту и усилению конкретных видов сооружений не являются единственно возможными, а отражают специфику, которая характерна для определенных условий эксплуатации.

Важным является оценка технического состояния и пригодности к эксплуатации конструкций инженерных сооружений. Указания по этому вопросу составлены на основании научных исследований, выполненных в ЦНИИпромзданий.

При проведении ремонтно-восстановительных работ необходимо соблюдать требования СНиП III-4-80* "Техника безопасности в строительстве".

2. ОЦЕНКА ТЕХНИЧЕСКОГО СОСТОЯНИЯ ИНЖЕНЕРНЫХ СООРУЖЕНИЙ

2.1. Оценка технического состояния строительных конструкций производится с целью установления пригодности инженерных сооружений к эксплуатации, установления сроков и вида ремонта.

Оценка технического состояния производится на основании инструментальных и визуальных обследований.

2.2. Инструментальные обследования, как правило, осуществляют специализированные организации с применением технических средств, лабораторных исследований и обмерочных работ. По данным инструментальных обследований и на основании поверочных расчетов устанавливается фактическая несущая способность конструкций, степень и характер повреждений, а также развитие их с течением времени, причины повреждений, оценивается надежность или прочность конструкций по отношению к нормативной, принимается решение о возможности эксплуатации сооружения и необходимости его ремонта.

2.3. Визуальные обследования применяются для приближенной оценки технического состояния сооружений на основе имеющихся в них повреждений. По видам повреждений устанавливается относительная надежность сооружения и категория его технического состояния.

Визуальные обследования проводятся службами эксплуатации предприятий, результаты которых используются для установления аварийных конструкций, времени и виде ремонта, необходимости проведения инструментальных обследований.

2.4. Повреждения строительных конструкций в зависимости от причин их возникновения могут быть разделены на следующие группы:

- от силовых воздействий;

- в результате чрезвычайных ситуаций (землетрясения, наводнения, взрыва и др.);

- от воздействия внешней среды;

- от температурных воздействий (пожара).

Последние две группы повреждений снижают не только прочность конструкции, но и уменьшают ее долговечность.

2.5. Характерными повреждениями железобетонных строительных конструкций от силовых воздействий являются: нормальные и наклонные трещины в элементах конструкций, чрезмерные прогибы, выпучивание сжатой арматуры, выкрашивание бетона в сжатой зоне и др.

2.6. Основными дефектами конструкций, возникающими от воздействия внешней среды, являются коррозия бетона и арматуры, разрушение материалов от попеременного замерзания и оттаивания и других факторов.

2.7. Дефекты, возникающие от воздействия высоких температур, характеризуются, как правило, изменением цвета бетона, образованием на поверхности бетона сетки из мелких трещин с отслаиванием защитного слоя, а также появлением в растянутой зоне бетона вертикальных и наклонных трещин, появлением прогиба сверх нормативного и др.

2.8. В зависимости от характера и величины повреждений, для конструкций установлено пять категорий их технического состояния, которые определяют соответствующие мероприятия по восстановлению их эксплуатационной надежности.

Под эксплуатационной надежностью строительных конструкций понимается сохранение во времени установленной нормами или проектом несущей способности и долговечности конструкции.

3. КЛАССИФИКАЦИЯ ДЕФЕКТОВ ЖЕЛЕЗОБЕТОННЫХ И СТАЛЬНЫХ КОНСТРУКЦИЙ ПО ВНЕШНИМ ПРИЗНАКАМ

3.1. Работы, связанные с усилением и ремонтом строительных конструкций в значительной мере зависят от того, насколько объективно и квалифицированно проведены натурные обследования с точки зрения достоверности имеющихся дефектов.

3.2. В зависимости от имеющихся повреждений, техническое состояние конструкций может быть классифицировано на пять категорий (состоянии):

Категория 1 - Нормальное состояние.

Категория 2 - Удовлетворительное состояние.

Категория 3 - Неудовлетворительное состояние.

Категория 4 - Предаварийное состояние.

Категория 5 - Аварийное состояние.

3.3. К категории 1 относятся конструкции, усилия в элементах которых не превышают допустимые по расчету, т.е. отсутствуют видимые повреждения, свидетельствующие о снижении несущей способности. При этом могут быть отдельные раковины, выбоины в пределах защитного слоя.

3.4. К категории 2 относятся конструкции, потеря несущей способности которых не превышает 5 %, но имеющиеся в них дефекты способны со временем снизить долговечность конструкции.

К дефектам конструкций этой категории относятся такие, как повреждение защитного слоя, частичная коррозия арматуры и др.

3.5. К категории 3 относятся конструкции не пригодные к дальнейшей нормальной эксплуатации. Конструкция перегружена или имеются дефекты и повреждения, свидетельствующие о снижении ее несущей способности. В этом случае необходим поверочный расчет несущей способности конструкции и выполнение работ по ремонту и усилению.

3.6. К категории 4 относятся конструкции, дефекты и повреждения которых не могут гарантировать сохранность конструкции и безопасность ее эксплуатации. Для конструкций этой категории необходим капитальный ремонт с усилением. До проведения усиления необходимо ограничение нагрузок и принятие необходимых мер по безопасности.

3.7. Категория 5 включает конструкции, находящиеся в аварийном состоянии, установленном на основании поверочных расчетов и анализа дефектов и повреждений. В этом случае нет гарантии сохранности конструкций на период усиления. Конструкции подлежат замене или требуют капитальных ремонтно-восстановительных работ с немедленной разгрузкой конструкции и устройством временных креплений.

3.8. Предельные значения дефектов железобетонных балок и плит, соответствующие различным категориям технического состояния конструкций, приведены в табл. 1, а их характерные повреждения показаны на рис. 1.

Предельные значения дефектов железобетонных колонн и их характерные повреждения приведены в табл. 2 и на рис. 2.

3.9. Для железобетонных конструкций, подвергнутых температурному воздействию при пожаре, категория технического состояния в зависимости от возникших дефектов определяется по табл. 3.

3.10. Для установления категории технического состояния конструкции достаточно наличия одного из наиболее опасных дефектов, указанных в таблицах, характеризующего эту категорию.

Таблица 1

Предельно допустимые значения параметров дефектов для различных категории технического состояния железобетонных балок и плит

№ п.п.

Вид разрушения

Категории

1

2

3

4

5

1.

Ширина раскрытия нормальных трещин (рис. 1а), мм

0,1

0,3

0,5

1,0

более 1,0

2.

Ширина раскрытия наклонных трещин (рис. 1б), мм

-

0,2

0,3

0,4

более 0,4

3.

Прогиб балок (рис. 1в)

-

1/150

1/100

1/75

более 1/50

То же, подкрановых балок

-

1/400

1/300

1/200

более 1/200

4.

Снижение прочности бетона (рис. 1г), %

-

-

20

30

более 30

5.

Уменьшение поперечного сечения арматуры в результате коррозии (рис. 1г), %

-

5

10

20

более 20

Рис. 1. Дефекты железобетонных балок

а - вертикальные нормальные трещины в пролете; 6 - наклонные трещины у опор; в - прогиб; г -разрушение бетона, коррозия арматуры и бетона

Таблица 2

Предельно допустимые значения параметров дефектов для различных категорий технического состояния железобетонных колонн

№ п.п.

Вид разрушения

Категории

1

2

3

4

5

1.

Ширина раскрытия продольных (вертикальных) трещин (рис. 2а), мм

 

0,2

0,3

0,4

более 0,4

2.

Ширина раскрытия поперечных (горизонтальных) трещин (рис. 2б), мм

0,1

0,3

0,4

0,5

более 0,5

3.

Уменьшение поперечного сечения колонны в результате коррозии бетона (рис. 2в), %

5

10

15

25

более 25

4.

Уменьшение поперечного сечения продольной арматуры в результате коррозии (рис. 2в), %

-

5

10

20

более 20

5.

Выпучивание сжатой арматуры (рис. 2г)

-

-

-

+

+

Рис. 2. Дефекты железобетонных колонн

а - продольные трещины;

б - поперечные трещины

в - коррозия бетона и арматуры;

г - выпучивание сжатых стержней арматуры

Таблица 3

Оценка состояния железобетонных конструкций при температурных воздействиях (пожарах)

№ п.п.

Контролируемый показатель

Категории

1

2

3

4

5

1.

Прогиб

В пределах допустимого нормами

Более, чем допускается нормами

2.

Изменение цвета бетона

Нет

До розового

От розового до красного

До темно-желтого

3.

Оголение рабочей арматуры

Нет

Оголена часть периметра рабочей арматуры на длину не более 20 см, кроме стержней в зоне анкеровки

Оголена часть периметра рабочей арматуры на длину не более 40 см, кроме стержней в зоне анкеровки

Оголена рабочая арматура по всему периметру на длину не более 30 см, кроме стержней в зоне анкеровки

Оголена рабочая арматура по всему периметру, включая стержни в зоне анкеровки

4.

Отслаивание поверхностного слоя бетона от основной массы конструкции

Нет

Местами (до 3-х мест) в пределах защитного слоя бетона на площади не более 30 см2 каждое

Местами в пределах защитного слоя бетона на площади не более 50 см2, кроме зоны анкеровки

На глубину более толщины защитного слоя бетона, но не более 5 см, кроме зоны анкеровки

На глубину более 5 см

5.

Трещины в бетоне не более, мм

0,1

0,3

0,5

1,0

Более 1,0

6.

Снижение прочности бетона, %

Нет

5

20

30

Более 30

3.11. Оценка технического состояния стальных конструкций в зависимости от характера и величины дефектов приведена в табл. 4.

3.12. Характерные дефекты стальных конструкций, связанные с потерей местной и общей устойчивости элементов, а также повреждения стальных конструкций от коррозии материала и появления трещин показаны на рис. 3.

Различные виды дефектов сварных швов приведены на рис. 4.

3.13. Сварные швы и околошовные зоны являются наиболее вероятными очагами возникновения трещин. Контроль сварных швов должен осуществляться с особой тщательностью визуальным осмотром с использованием лупы с 6 - 8 кратным увеличением, причем поверхность металла в осматриваемых местах должна быть очищена от пыли, продуктов коррозии и хорошо освещена.

Для измерения толщины угловых швов с помощью пластилина делают слепок, размеры катетов шва при этом определяются мерным угольником (рис. 5).

3.14. Для выявления величины раскрытия трещины, ее длины и конфигурации, зачищенную поверхность стальной конструкции смачивают керосином, что способствует четкому проявлению трещины.

3.15. Отклонение элементов стальных конструкций от вертикали измеряется с помощью отвеса и миллиметровой линейки. При измерениях отклонений элементов большой высоты (например, колонн) следует обеспечить неподвижное состояние отвеса путем опускания его в сосуд с жидкостью (рис. 6).

Отклонение элементов от вертикального положения может определяться с помощью нивелира и теодолита.

Таблица 4

Оценка технического состояния стальных конструкций в зависимости от характера и величины дефекта

Вид дефекта

Категория технического состояния

На отдельных участках наблюдается коррозия в виде отдельных пятен с поражением до 5 % площади поперечного сечения элемента

2

Местами разрушено антикоррозийное покрытие

Прогиб балок и ферм не превышает 1/150 пролета

Пластинчатая ржавчина с уменьшением площади сечения несущих элементов до 15 % из-за коррозии металла

3

Небольшая, но ощутимая вибрация балок и ферм

Местные вмятины от ударов транспортных средств ж другие механические повреждения не приводящие к уменьшению несущей способности более, чем на 10 %

Прогиб изгибаемых элементов превышает 1/150 пролета

Коррозия металла с уменьшением расчетного сечения несущих элементов до 25 %

4

Трещины в сварных швах или в околошовной зоне

Потеря местной устойчивости конструкции

(выпучивание стенок или полок балок и колонн)

Срез отдельных болтов или заклепок в многоболтовых соединениях

Отклонение ферм от вертикальной плоскости более 25 мм

Прогибы изгибаемых элементов более 1/75 пролета

Коррозия металла с уменьшением расчетного сечения несущих элементов более 25 %

5

Потеря общей устойчивости балок и сжатых элементов

Наличие трещин в основном материале элементов

Выход из строя отдельных элементов ферм

Расстройство стыков со взаимным смещением опор

Прогибы изгибаемых элементов более 1/50 пролета

3.16. Выявление повреждений заклепочных соединений производится их внешним осмотром и остукиванием молотком весом около 0,3 кг. При ударе слабая заклепка издает глухой дребезжащий звук, а приложенный к ним палец ощущает вибрацию.

Рис. 3. Повреждения стальных конструкций

а - общая потеря устойчивости балки; 6 - то же, стойки; в - потеря местной устойчивости балки; г - коррозия металла (общая, местная, язвенная); д - трещины в фасонке по металлу и сварному шву; I - трещины.

Рис. 4. Дефекты сварных соединений

а - неравномерное сечение шва, кратеры; 6 - прожоги; в - резкий переход от металла шва к основному; г - неполномерность шва; д - наплывы; е - подрезы основного металла; ж - трещины; з - непровары; и - шлаковые включения.

Рис. 5. Схема измерения сечения угловых швов с помощью снятия слепка

1 - основной металл; 2 - наплавленный металл; 3 - пластилин; 4 - слепок сварного соединения; 5 - угловая линейка; 6 - размеры катетов шва.

Рис. 6. Измерение отклонений от вертикали конструкций с помощью отвеса

1 - стена, перегородка или колонна; 2 - перекрытие; 3 - отвес; 4 - сосуд с водой; 5 - измерительная линейка; 6 - точка измерения.

3.17. Контроль качества болтовых соединений осуществляется с помощью тарировочных ключей, обеспечивающих величину затяжки болтов, указанную в проекте.

При отсутствии проектных данных при контроле затяжки болтов величина крутящего момента не должна превышать значений, указанных в табл. 5.

Таблица 5

Диаметр: болта d, мм

10

12

16

20

24

30

36

42

48

Допускаемый крутящий момент Мкр, Н·м

12

24

60

100

250

550

950

1500

2300

3.18. Для оценки состояния металлоконструкций в условиях нагрева (пожара) может быть использовано время, в течение которого они находились под воздействием высокой температуры. Это время следует сравнить с пределом огнестойкости конструкций, в течение которого они способны нормально функционировать в условиях воздействия высоких температур (около 500°С).

3.19. Исходными материалами для оценки качества металла являются рабочие чертежи конструкций и сертификат на материал.

При отсутствии сертификатов и указаний о марке стали следует провести дополнительные исследования механических свойств cтали (предела текучести, временного сопротивления, относительного удлинения и ударной вязкости) в соответствии с действующими нормативными документами.

3.20. По установленной категории технического состояния конструкций по табл. 6 определяются требуемые мероприятия по усилению и ремонту конструкции, а также устанавливается коэффициент условий работы "К", учитывающий снижение прочностных характеристик для расчета конструкций при усилении.

Таблица 6.

Мероприятия по ремонту и усилению конструкций в зависимости от их повреждений

Категория технического состояния

Характер повреждения

Требуемые мероприятия

Коэффициент условия работы "К"

1. Нормальное состояние

Отсутствуют видимые повреждения, свидетельствующие о снижении несущей способности конструкций

Необходимости в ремонтных работах нет

1

2. Удовлетворительное состояние

Незначительное снижение несущей способности конструкций (до 5 %)

Требуется восстановление защитного слоя бетона для железобетонных конструкций или антикоррозионного покрытия для стальных

0,85

3. Неудовлетворительное состояние

Существующие повреждения свидетельствуют о снижении несущей способности конструкций

Требуется усиление конструкций

0,7

4. Предаварийное состояние

Существующие повреждения свидетельствуют о непригодности конструкции к эксплуатации

Требуется капитальный ремонт с усилением конструкций. До проведения усиления необходимо ограничение нагрузок

0,55

5. Аварийное состояние

Требуется немедленная разгрузка конструкций и устройство временных креплений

Конструкция подлежит замене или требует капитальных ремонтно-восстановительных работ

0,35

4. ОБЩИЕ МЕТОДЫ УСИЛЕНИЯ И РЕМОНТА ОТДЕЛЬНЫХ СТРОИТЕЛЬНЫХ КОНСТРУКЦИЙ ИНЖЕНЕРНЫХ СООРУЖЕНИЙ

Классификация способов ремонта и усиления отдельных строительных конструкций представлена на рис. 4.1. Выбор способа ремонта и усиления зависит от производственной базы предприятия, от имеющихся в конструкциях повреждений и причин, приведших к их возникновению, от технологического процесса, эксплуатации сооружения, позволяющего осуществлять ремонтные работы во время его эксплуатации.

4.1. СТАЛЬНЫЕ КОНСТРУКЦИИ

4.1.1. Дефекты и повреждения элементов в виде трещин в основном металле или сварных швах устраняются путем заварки трещин, вварки вместо дефектного места нового металла, приварки усиливающих накладок, усиления конструктивного элемента способом наращивания.

Во всех случаях должны быть приняты меры препятствующие дальнейшему распространению обнаруженных трещин путем рассверловки отверстий в концах трещин. Дефектные места в стенках балок и колонн удаляются путем вырезки в них прямоугольного с закругленными углами, трапециевидного или круглого отверстий по высоте и ширине на 100 мм больше в каждую сторону размеров дефектного участка. Затем, в указанное отверстие вваривается вставка с сечением равным поврежденному элементу. Кромки металла по линии реза отверстия после ручной кислородной или воздушно-дуговой резки подлежат механической обработке абразивным инструментом.

Соединение деталей усиления с существующими конструкциями рекомендуется, как правило, выполнять ручной электродуговой сваркой.

Сварные швы малой толщины усиливают путем увеличения существующего сварного шва или увеличения длины швов крепления элемента.

Новые сварные швы на существующих конструкциях следует располагать в наименее напряженных сечениях, возможно дальше от мест изменения сечения, вырезов, креплений ребер и других элементов. Швы следует располагать симметрично относительно главных осей с минимальным удалением от центра тяжести конструкций.

В усиливаемых под нагрузкой растянутых элементах конструкций следует избегать сварных швов, располагаемых поперек действующих усилий.

При исправлении повреждений в нагруженных элементах должны быть приняты меры предосторожности:

- общая устойчивость конструкции во время восстановления отдельных ее элементов должна быть обеспечена временными дополнительными связями;

- сварка швов должна производиться небольшими участками;

- при ремонте, сопровождаемом вырезами и правкой металла, необходимо все усилие, воспринимаемое элементом, передавать на временные дополнительные элементы.

4.1.2. Ремонт элементов стальных конструкций (рис. 4.2).

Дефекты

Повреждения в виде пробоин, трещин, коррозии в основном металле или сварных швах.

Методы исправления

Мелкие пробоины диаметром до 25 мм могут быть ликвидированы постановкой в отверстие стержня или заклепки с обваркой с обеих сторон сварным швом. Более крупные пробоины или кучно расположенные повреждения лучше перекрывать накладками (рис. 4.2а, б).

Участок, поврежденный трещинами, вырезается по высоте и ширине на 100 мм больше, в каждую сторону дефектного места (рис. 4.2в)

Рис. 4.1

Рис. 4.2. Ремонт элементов стальных конструкций

а - при трещине в кромке балки; 6 - при пробоине в стенке; в - вырез дефектного. участка с трещинами; г - участки подогрева и последовательность сварки нового участка I - IV; д - подготовка трещины к заварке; е - ликвидация пробоины с помощью стержня с обваркой; 1 - трещина; 2 - накладка усиления; 3 - пробоина; 4 - линия реза; 5 - граница дефектного участка; 6 - место подогрева; 7 - зона зачистки; 8 - сварные швы; 9 - круглый стержень в месте пробоины.

Вырез усиливают с помощью вставки или накладки. Вставки ввариваются с использованием подогрева (рис. 4.2 г). При этом по двум кромкам должен быть зазор 2 - 4 мм.

Шов 1 заваривается в направлении от середины к углам вставки. После остывания шва нагреваются участки основного металла А и таким же методом выполняются швы II и III. В последнюю очередь нагреваются участки Б и наносится шов IV в направлении от Б к середине.

Отдельные трещины в основном металле устраняются их заваркой (рис. 4.2 д). При этом производят зачистку зоны до чистого металла по ширине не менее 80 мм. В концах трещины на расстоянии 15 - 20 мм сверлят отверстия диаметром 8 - 12 мм. Кромки трещины разделывают под сварку и подогревают концевые участки трещины пламенем газовой горелки до 100 - 150°С и поддерживают ее в течение всего времени заварки трещины.

4.1.3. Усиление элементов конструкции в местах местных повреждений (рис. 4.3).

Дефекты

Погнутость элементов стальных конструкций, снижающая их несущую способность.

Методы исправления

Приварить элементы усиления 2 к погнутым элементам.

4.1.4. Усиление стальных элементов (рис. 4.4).

Дефект

Недостаточная несущая способность элемента.

Метод исправления

Усиление производится увеличением площади поперечного сечения отдельных элементов конструкции путем увеличения сечения за счет приварки дополнительных профилей.

Рис. 4.3. Ремонт стальных конструкций в местах локальной погиби

а, б - погибь стержня; 1 - повреждённый элемент; 2 - элемент усиления.

Рис. 4.4. Усиление стальных элементов

а - прокатных балок; б - сварных балок; в - внецентренно или центрально сжатых элементов; г - центрально-сжатых или растянутых элементов; 1, 2, 3 - усиление полосами, стержнями, прокатными профилями.

4.2. ЖЕЛЕЗОБЕТОННЫЕ КОНСТРУКЦИИ

4.2.1. При ремонте защитного слоя бетона предусматриваются следующие виды работ:

- заделка отдельных выколов и раковин;

- замена или восстановление защитного слоя (частичная или сплошная).

При сплошной замене толщина защитного слоя может быть увеличена, но во всех случаях должна быть не менее 3 см в свету для рабочей арматуры и не менее 2 см для хомутов и нерабочей арматуры.

Замена защитного слоя бетона производится в тех случаях, когда его свойства, понижены, арматура поражена коррозией или защитный слой бетона отслаивается. В этих случаях старый защитный слой подлежит полному удалению, а арматура должна быть очищена от ржавчины.

Для укладки нового защитного слоя рекомендуется обычный бетон, но с мелкими фракциями.

Железобетонные рубашки рекомендуется устраивать при значительных разрушениях поверхностного слоя бетона конструкции с целью предохранения сооружения от дальнейшего разрушения.

Для заделки незначительных по протяженности повреждений защитного слоя применяются ручные приемы штукатурных работ.

Для нанесения бетона (раствора) используется мастерок. Уложенный раствор примерно через час смачивают водой, присыпают сухим цементом и заглаживают с помощью кельмы, деревянной или металлической гладилками. При этом глубина выколотых участков, подготавливаемой к ремонту поверхности, не должна сходить на нет к краю выкола, она всюду должна быть не менее 1 см. Переход места выкола к неповрежденному защитному слою должен быть сделан ступенькой под углом 90°.

При большом объеме работ наиболее эффективным способом нанесения бетонов является торкретирование, при котором достигается получение весьма плотного прочного защитного слоя.

При подготовке поверхности к бетонированию одиночные трещины с шириной раскрытия свыше 1 мм разделываются в виде прямоугольника на глубину и зачеканиваются бетоном.

В местах больших отколов бетона и обнажения арматуры устанавливают дополнительную армирующую сетку с размером ячеек от 2,5 до 10 см и диаметром проволоки от 0,5 до 6 мм с прикреплением вновь устанавливаемых сеток к основной арматуре конструкции.

Для увеличения сил сцепления между новым и старым бетоном рекомендуется применять прослойку из эпоксидно-тиоколового клея K-153. При восстановлении защитного слоя с применением эпоксидно-тиоколовой прослойки бетон должен быть уложен до потери липкости клея.

4.2.2. В зависимости от степени развития трещин применяются следующие способы ремонта конструкций:

- устройство защитных пленок и покрытий, для ремонта трещиноватых поверхностей, имеющих трещины раскрытием до 0,2 мм;

- герметизация трещин (заполнение их водонепроницаемыми эластичными материалами), для ремонта конструкции, имеющих трещины раскрытием более 0,3 мм;

- поверхностная заделка трещин (устройство герметизирующей накладки, перекрывающей трещину и усиливающей сечение с трещиной) для ремонта конструкций, имеющих сквозные трещины с раскрытием более 0,2 мм;

- прочностная заделка (омоноличивание полости трещины клеющим составом) для ремонта конструкций с трещинами раскрытием более 0,3 мм.

Покрытие ремонтируемых поверхностей пленками предназначается для защиты бетона и поверхности конструкции от атмосферной и химической коррозии. Устройство защитных пленок и покрытий осуществляется путем окраски бетонной поверхности полимерцементными красками или синтетическими лаками.

Герметизация трещин высоко эластичными материалами без восстановления монолитности конструкции предназначается для закрытия доступа влаги и других агентов, вызывающих коррозию, к арматуре, обеспечивая ее сохранность.

Герметизация трещин эластичными материалами в виде мастики производится с помощью шприцев.

Прочностная заделка рекомендуется при необходимости одновременно с ликвидацией трещин восстановить монолитность конструкции. Прочностная заделка может быть выполнена с помощью инъектирования эпоксидного состава или цементного раствора в полость трещины.

До инъектирования должны быть устроены отверстия и установлены в них ниппели, через которые производится подача клеющего состава. После установки ниппелей трещина по поверхности бетона герметизируется с помощью наклейки стеклоткани, предотвращающей вытекание клеющего состава. Как правило, инъектирование должно начинаться с нижнего ниппеля.

4.2.3. Наиболее распространенным способом усиления конструкций является увеличение сечений путем устройства всесторонних обойм или односторонним наращиванием. Этот способ позволяет получить значительное увеличение несущей способности как целых, так и сильно поврежденных элементов.

При усилении железобетонных конструкций односторонним увеличением сечения дополнительная арматура приваривается к старой при помощи отгибов, коротышей, наклонных и вертикальных хомутов.

Приварку хомутов и коротышей рекомендуется производить при помощи электросварки двойными фланговыми швами.

При наличии местных повреждений в виде одиночных или сконцентрированных на небольшой длине трещин производится местное усиление конструкции по одному из следующих способов:

- устройство местных хорошо армированных хомутами, отогнутой и продольной арматурой четырехсторонних обойм из железобетона;

- устройство металлических обойм из вертикальных напрягаемых хомутов. При наличии вертикальных или косых трещин под хомутами располагаются продольные распределительные уголки, охватывающие поврежденную часть балки.

Хомуты покрываются торкретбетоном по металлической сетке или обетонируются.

При усилении колонн четырехсторонняя обойма армируется продольными стержнями и хомутами или спиральной арматурой. Обойма может быть забетонирована в опалубке или заторкретирована; толщина стенок при обычном бетонировании должна быть не менее 10 см и при торкретировании - 5 см. Углы усиливаемой колонны рекомендуется скалывать. Вверху и внизу колонны на длине, равной наибольшему размеру поперечного сечения колонны, шаг хомутов уменьшается вдвое. При наличии местных повреждений или дефектов у колонн усиливающая обойма может устраиваться в пределах поврежденного участка с перепуском в обе стороны на длину 50 см, но не менее большего размера поперечного сечения.

При усилении железобетонных конструкций наращиванием элементов необходимо со стороны сечения, предназначенной для усиления, сколоть в местах приварки защитный слой бетона и обнажить продольные стержня существующей арматуры до половины их сечения.

После этого поверхность бетона промывается струей воды под напором. Если по каким-либо причинам создать напор не представляется возможным, поверхность бетона после насечки зубилом и обработки щеткой продувается воздухом, чтобы на ней не осталось пыли, и промывается водой.

Поверхность бетона должна поддерживаться во влажном состоянии вплоть до момента, когда на нее будет нанесен слой нового бетона. Непосредственно перед бетонированием с горизонтальных поверхностей старого бетона должны быть удалены лужицы воды. После этого поверхность бетона покрывается слоем пластичного цементного раствора состава 1:2 толщиной 1 - 2 мм. Новый бетон должен укладываться не позднее чем через 1,5 часа после укладки раствора.

Обнаженные стержни арматуры должны тщательно очищаться стальными щетками, пескоструйкой и др. способом от загрязнения, ржавчины или окалины.

При значительном повреждении стержней старой арматуры коррозией, пленка поражения удаляется зубилом или молотком, после чего производится очистка стальной щеткой и подварка новой арматуры.

Перед бетонированием стержни арматуры окрашиваются цементным раствором 1:2 в виде плешей 1 - 2 мм.

Опалубка должна конструироваться, таким образом, чтобы была обеспечена возможность постепенного ее наращивания по высоте усиливаемых балок и колонн.

При конструировании опалубки должны предусматриваться необходимые зазоры и отверстия в ней, а также специальные лотки для укладки бетона и его уплотнения.

Во время производства работ по усилению поврежденных железобетонных конструкции необходимо принимать меры предосторожности, обеспечивающие безопасность работы. В случае недостаточной прочности усиливаемых элементов они должны быть надежно закреплены на время усиления.

За уложенным бетоном или нанесенным слоем торкретбетона должен быть обеспечен соответствующий температурно-влажностный уход.

4.2.4. Соединения стальных арматурных стержней (рис. 4.5).

Дефект

Повреждение существующей арматуры коррозией, перенапряжение арматуры.

Метод исправления.

Для стыка существующей и новой арматуры усиления используются стыковые накладки или применяются соединения внахлестку. В сварных швах принимается: толщина шва 0,25d, ширина шва - 0,5d. Сечение стыковой накладки должно быть равнопрочным со стыкуемым стержнем.

Рис. 4.5. Соединение арматурных стержней на сварке при усилении.

а, б - с помощью накладок; в - внахлестку; 1 - рабочий стержень; 2 - стыковая накладка; 3 - сварной шов.

4.2.5. Усиление сборных железобетонных плит (рис. 4.6).

Дефекты

Наличие в полках ребристой плиты разрушенного на всю ее толщину бетона или отсутствие сцепления рабочей арматуры с бетоном, обнажение стержней рабочей арматуры.

Методы исправления.

При наличии в многопустотной плите (рис. 4.6а) разрушенного бетона нижней полки для ее усиления в пустотные каналы устанавливаются дополнительные арматурные каркасы (3) с последующим замоноличиванием бетоном этих каналов. Количество каркасов и замоноличиваемых пустотных каналов зависит от степени повреждения плиты и нагрузки на нее.

При усилении ребер сборных плит бетонируют швы между плитами с установкой в них арматурных каркасов (6), (рис. 4.6б).

Усиление также осуществляется односторонним наращиванием (рис. 4.6в) с установкой дополнительной арматуры (7), привариваемой на сварке к существующей через коротыши (8) диаметром 10 - 40 мм с шагом от 200 до 1000 мм.

4.2.6. Усиление опор сборных железобетонных плит (рис. 4.7).

Дефект

Недостаточная площадь опирания сборных плит.

Методы исправления.

Усиление производится путем устройства дополнительных стальных опорных элементов (3).

На промежуточных опорах (рис. 4.7а) металлические балки элемента усиления (3) выступают в обе стороны от опоры и являются общими для плит смежных пролетов. Продольные ребра смежных плит опираются на общую траверсу дополнительных опорных элементов (4).

Рис. 4.6. Усиление ребер сборных плит

а - замоноличиванием дополнительных каркасов в пустотных каналах; б - бетонированием шва между плитами; в - односторонним наращиванием снизу; 1 - многопустотная панель; 2 - борозда, пробитая в полке вдоль пустотного канала; 3 - дополнительный арматурный каркас; 4 - монолитный бетон; 5 - усиливаемая плита; 6 - усиление в шве; 7 - дополнительная арматура; 8 - коротыши; 9 - арматура ребер плиты.

Рис. 4.7. Усиление опор сборных плит

а - усиление на средних опорах; б - усиление на крайних опорах; 1 - существующая плита; 2 - балка; 3 - металлическая балка усиления; 4 - поперечная траверса; 5 - уголки анкера; 6 - болты анкера.

На крайних опорах (рис. 4.7б) дополнительные опорные элементы выступают в одну сторону и имеют большой вылет. Они притягиваются к плите анкерными болтами (6).

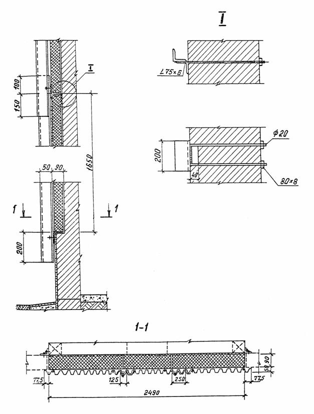
4.2.7. Усиление верхней полки железобетонных балок (рис. 4.8).

Дефекты

Недостаточная несущая способность, повреждения с обнажением арматуры верхней полки.

Метод исправления

Усиление производится путем наращивания железобетоном (рис, 4.8 а, б) и с помощью стальной обоймы (рис. 4.8 в).

Дополнительная продольная арматура "наращиваний" связывается с существующей продольной арматурой свесов при помощи коротышей или хомутов. Бетонирование производится в опалубке с тщательным уплотнением бетона.

Стальная обойма представляет собой два швеллера (4), охватывающих по бокам свесы верхней полки, прижатые к ним с помощью болтов (5). Пространство между швеллерами над верхней гранью полки тщательно замоноличивается.

4.2.8. Усиление железобетонных балок (рис. 4.9).

Дефекты

Глубокие и значительные повреждения железобетонных конструкций с обнажением арматуры и с утратой ее сцепления с бетоном.

Методы исправления.

Усиление балок производится односторонним наращиванием сечения со стороны растянутой зоны (рис. 4.9а, в). Дополнительная продольная арматура (4) связывается с существующей арматурой усиливаемой балки при помощи соединительных элементов (2) или коротышей.

Рис. 4.8. Усиление верхней полки железобетонных балок

а - трехстороннее наращивание верхней полки; б - наращивание полки по верху; в - усиление стальными конструкциями; 1 - дополнительный каркас; 2 - бетон на мелком щебне; 3 - каркас набетонки, связанный с верхней арматурой балки; 4 - швеллеры; 5 - стяжные болты; 6 - отверстие для болта в стенке балки.

Рис. 4.9. Усиление железобетонных балок

а, в - односторонним наращиванием; г, б - детали вариантов приварки арматуры усиления; 1 - усиливаемая балка; 2 - соединительные элементы; 3 - арматура усиливаемой балки; 4 - дополнительная рабочая арматура; 5 - коротыши; 6 - бетон усиления; 7 - бетон сколоть.

Соединительные элементы (2) применяют диаметром 10 - 30 мм; коротыши (5) - диаметром 10 - 40 мм с шагом 200 - 1000 мм.

После проведения сварочных работ производится подготовка поверхности и бетонирование наращиваемого сечения.

4.2.9. Усиление тавровой балки стальными шпренгелями (рис. 4.10).

Дефекты

Снижение несущей способности балки вследствие коррозии бетона и арматуры.

Методы исправления.

На торцах балки устраивают анкерные устройства, к которым привариваются расчетным сварным швом затяжки шпренгеля. На балке в уровне затяжки устанавливают прокладки из двух уголков. Напряжение затяжек осуществляют с помощью двух талрепов.

4.2.10. Усиление железобетонной балки прямоугольного сечения стальными шпренгелями (рис. 4.11).

Дефекты

Снижение несущей способности балки вследствие коррозии бетона и арматуры.

Методы исправления.

На торцах балки (в опорных узлах) устанавливают анкерные устройства, к которым привариваются расчетным сварным швом затяжки шпренгеля.

4.2.11 Усиление растянутых элементов решетки железобетонных ферм (рис. 4.12).

Дефект

Значительные повреждения растянутых элементов ферм, снижающие их несущую способность.

Рис. 4.10 Усиление железобетонных балок стальным шпренгелем

1 - железобетонная балка; 2 - стальные затяжки шпренгеля; 3 - изолирующая прокладка.

Продолжение Рис. 4.10.

Рис. 4.11. Усиление железобетонной балки стальным шпренгелем

1 - усиливаемый элемент; 2 - стальные утолки; 3 - металлические планки

Рис. 4.12. Усиление растянутых элементов решетки ферм

1 - сжатый пояс; 2 - предварительно напряженные затяжки; 3 - элементы анкерных устройств; 4 - болт; 5 - анкерный болт.

Методы исправления.

Для усиления растянутых элементов решетки ферм применяются предварительно напряженные затяжки (2). Крепление затяжек в узлах может быть осуществлено приваркой к фасонкам, закрепленным болтами и хомутами (рис. 4.12, узел А) или приваркой к уголкам, притянутым анкерными болтами к поясу фермы (рис. 4.12, узел Б).

При напряжении затяжек (2) гайками концы затяжек с резьбой выполняют из коротышей диаметром, превышающим диаметр затяжек на 4 мм. Соединение коротышей с затяжкой необходимо выполнять с помощью сварки при соблюдении условия равнопрочности стыка основному металлу сечения затяжки. Высота натяжных гаек должна быть не менее 1,5 диаметра резьбы.

4.2.12. Усиление железобетонных колонн (рис. 4.13).

Дефекты

Снижение несущей способности колонны в результате разрушения бетона и значительной коррозии арматуры, недостаточная несущая способность арматуры.

Методы исправления.

Усиление производят путем изготовления железобетонной обоймы или наращиванием.

Для усиления по рис. 4.13 а, устанавливается дополнительная рабочая арматура (2) и дополнительная поперечная арматура в виде спирали (4) диаметром не менее 6 мм, при этом предварительно скалывается защитный слой, не менее чем на диаметр рабочей арматуры. Расстояние между витками спирали в осях принимается 50 - 70 мм. Спираль охватывает всю рабочую арматуру усиления, и существующую продольную арматуру колонны. После установки арматуры колонну бетонируют в опалубке или с помощью торкретирования.

Рис. 4.13. Усиление железобетонных колонн

а - железобетонной обоймой; б - наращиванием сечения; 1 - усиливаемая колонна; 2 - дополнительная продольная арматура усиления; 3 - заполнить бетоном; 4 - дополнительная поперечная арматура усиления в виде спирали; 5 - существующая продольная арматура колонны; 6 - соединительные стержни на сварке; 7 - дополнительная поперечная арматура, усиления колонн

При усилении колонны способом наращивания сечения (рис. 4.13б), сначала скалывают защитный слой не менее чем на 0,5 диаметра арматуры. Затем через специальные соединительные (6) стержни, выполненные, из арматуры диаметром 10 - 40 мм и длиной от 50 до 200 мм соединяют с помощью сварки существующую арматуру с арматурой усиления (2). К новой арматуре приваривают также поперечные стержни с шагом не более 500 мм и не более 20 диаметров продольной арматуры.

После установки арматуры производят бетонирование сечения.

4.2.13. Усиление железобетонных колонн стальной обоймой (рис. 4.14).

Дефект

Снижение несущей способности колонн при различных повреждениях.

Метод исправления.

Усиление осуществляют с помощью преднапряженных распорок, (рис. 4.14а) которые включаются в совместную работу с усиливаемой колонной, что позволяет осуществлять контроль за степенью их состояния. В этом случае следует предусматривать мероприятия по обеспечению устойчивости покрытия и технике безопасности.

Изготовляют распорки из уголков. С помощью крепежных болтов (3) устанавливаются уголки (2) на колонну. Установку их производят с перегибом в середине высоты, упирая верхние и нижние концы в достаточно прочные конструкции (фундаменты, балки перекрытия). На концах уголков устраиваются упоры (4).

Ввод в напряженное состояние распорок осуществляют выпрямлением их с помощью натяжных болтов (5) до вертикального положения.

Рис. 4.14. Усиление железобетонных колонн стальной обоймой

а - усиление с помощью напрягаемых распорок из уголков в момент изготовления и готовом виде; б - усиление части колонны стальной обоймой из уголков в месте разрушения; 1 - усиливаемая колонна; 2 - уголки; 3 - крепежные монтажные болты; 4 - соединительные планки; 5 - натяжные монтажные болты

7 - срубленный бетон до рабочей арматуры; 8 - закладная деталь усиления; 9 - коротыш, привариваемый к рабочей арматуре 10

Фиксируют распорки в напряженном состоянии поперечными планками. Впоследствии вырезы в уголках усиливают накладками.

Усиление частично поврежденной колонны может осуществляться стальной обоймой (рис. 4.14б) на неполную длину колонны. Обойму изготавливают из уголков, соединенных планками с приваркой их к закладным деталям (8). Закладные детали (8) обязательно должны быть приварены сварным швом к рабочей арматуре железобетонной колонны.

Расчет и конструирование стальной обоймы производят как стальных колонн.

4.2.14. Дополнительное крепление вертикальных стальных связей к железобетонным колоннам (рис. 4.15).

Дефекты

Недостаточная несущая способность колонн, необходимость крепления других конструкций при реконструкции.

Методы исправления.

На железобетонную колонну устанавливается стальной хомут, сваренный из стальных пластин. Сборка хомута производится на стяжных болтах, а крепление связей осуществляют, к приваренной к хомуту фасонке.

4.2.15. Усиление фундаментов выполнением обойм из бетона или железобетона и увеличением опорной площади (рис. 4.16).

Дефект

Недостаточная несущая способность фундамента, превышение расчетного давления на основание а неравномерные осадки фундамента..

Рис. 4.15. Дополнительное крепление вертикальных стальных связей к железобетонным колоннам

1 - железобетонная колонна; 2 - хомут; 3 - вертикальные стальные связи; 4 - стяжные болты; 5 - фасонка для крепления связей

.

Рис. 4.16. Усиление кирпичного или бетонного фундамента

а - ленточного кирпичного фундамента; б - отдельного железобетонного фундамента; 1 - стена; 2 - железобетонная обойма; 3 - продольная арматура; 4 - шпонки; 5 - щебень, втрамбованный в грунт; 6 - стальные стяжки; 7 - существующий фундамент; 8 - новая арматура; 9 - новый бетон; 10 - поверхность вырубки существующего фундамента; 11 - колонна.

Методы исправления.

Существующий фундамент (7) усиливают путем наращивания, предварительно откопав его до основания. В старом фундаменте устраивают шпонки (4) или вырубают штрабу (11), обеспечивающие совместную работу старого и нового бетона. Стальные стяжки (6) связывают старый фундамент с железобетонной обоймой (2).

Размер шпонок по высоте принимается исходя из обеспечения передачи поперечных усилий от обоймы существующему фундаменту.

4.3. ДЕРЕВЯННЫЕ КОНСТРУКЦИИ

4.3.1. Наиболее уязвимыми местами загнивания деревянных конструкций являются опорные узлы и крепления.

Устранение загнивания достигается прокладками из рубероида, антисептирование древесины, создание условий, не допускающих увлажнения древесины. Подтягивание болтов соединений, тяжей, затяжек, стяжных муфт производится при обнаружении провисания, неравномерности натяжения отдельных элементов и при уменьшении жесткости деревянных конструкций.

Во многих случаях эффективными мероприятиями по усилению поврежденных стоек, балок, ферм при наличии опасных трещин, разрывов, гнили, значительных прогибов является установка дополнительных стальных или деревянных накладок на болтах, применение стальных шпренгелей или дополнительных опор.

Сильно поврежденные конструкции, если это позволяют условия, заменяются на новые.

4.3.2. Временное усиление поврежденных конструкций деревянными элементами (рис. 4.17).

Дефект

Аварийное состояние строительных конструкций и возможность их обрушения.

Рис. 4.17. Временные крепления поврежденных конструкций

а - в виде стоек; б - пространственной опоры; в, г - подкосов для стен; 1 - конструкция; 2 - временная подпорка-стойка из бревна; 3 - клинья; 4 - пространственная опора; 5 - подкосы из бревен Ø 16 - 20 см; 6 - прокладка диаметром 16 - 20 см; 7 - лежень диаметром 18 - 22 см; 8 - упорный столб диаметром 18 – 22 см; 9 - крепежный штырь.

Методы исправления.

Подкрепляющие стойки из бревен, брусьев устраивают при высоте до 6,5 м (рис. 4.17а); пространственные опоры из бревен и брусьев, при высоте более 6,5 м (рис. 4.17б). Передача нагрузки от конструкции производится с помощью подкладок с обязательным подклиниванием стоек. В одиночных и двойных стойках подклинивание производится под низ стойки, а в пространственных клинья ставят между верхом стойки и подпираемой конструкцией.

В зависимости от типа поврежденной конструкции временные стойки ставятся: в балках - под нижний пояс (для стальных балок в месте ребер жесткости), при этом верх стойки скрепляется с конструкцией; в фермах - под верхний пояс у узла фермы. При этом обязательна поставка связей, связывающих поддираемую ферму с соседними поврежденными фермами. При производстве работ по ремонту конструкций временные стойки и опоры используются также для устройства лесов, а также для подъема конструкции с помощью домкратов. Крепление стен по схеме рис. 4.17в, применяется при высоте стен до 6 м, а по схеме рис. 4.17г - при высоте 6 - 12 м.

4.3.3. Усиление деревянных конструкций (рис. 4.18).

Дефекты

Частичное разрушение древесины подрезами, смятиями под шайбами болтов, разрывами, сколами, гнилью.

Методы исправления.

Усиление осуществляется с помощью дополнительного крепления гвоздями или болтами досок, брусьев, накладок, швеллерных профилей.

Рис. 4.18. Усиление деревянных прогонов и стоек

а - с помощью швеллерных профилей; б, в - с помощью накладок; г - с помощью досок или брусьев; 1 - скрепляющие болты; 2 - швеллер; 3 - накладка; 4 - доски (брусья); д - стойка с разрушенным основанием; 5 - трещины; ж - пристыковка нового основания стоек с помощью врубки вполдерева; е - заключение основания стойки в обойму из швеллерных профилей.

Разрушенное гнилью основание стоек отрезают и пристыковывают новое с помощью врубки "вполдерева". При наличии опасности повторного гниения основание заключают в обойму из швеллерных профилей.

4.3.4. Усиление узлов деревянных конструкций (рис. 4.19).

Дефекты

Разрушение опоры балки, находящейся в кладке. Гниль;

Образование трещин в опорном узле врубки зубом;

Образование трещин в стыковом узле балок при наличии поперечной силы.

Методы исправления.

1. Усиление концов балки, пораженных гнилью осуществляется с помощью наращивания поврежденного конца стальными уголками или швеллерными профилями (рис. 4.19а).

2. При образовании трещин во врубке устанавливаются скрепляющие болты.

4.4. КАМЕННЫЕ КОНСТРУКЦИИ

4.4.1. Эффективным способом усиления каменных конструкций является заключение кладки в стальную или железобетонную обойму.

Стальная обойма состоит из вертикальных уголков, устанавливаемых на растворе по углам усиливаемого элемента и хомутов из полосовой стали или круглых стержней, привариваемых к уголкам. Расстояние между хомутами должно быть не более меньшего размера сечения и не более 50 см.

Стальная обойма должна быть защищена от коррозии слоем цементного раствора толщиной 25 - 30 мм. Для надежного сцепления раствора стальные уголки закрываются металлической сеткой.

Рис. 4.19. Усиление узлов деревянных конструкций

а - опоры балки; б - опорного узла врубки; в - стыкового узла балок; 1 - кладка; 2 - стальные уголки усиления; 3 - скрепляющие болты; 4 - балка; 5 - трещина.

Железобетонная обойма выполняется из бетона класса не ниже В12,5 с армированием вертикальными стержнями и сварными хомутами. Расстояние между хомутами должно быть не более 15 см. Толщина обоймы назначается по расчету и может быть от 4 до 12 см.

Ремонт поврежденной кладки стен, столбов, простенков, фундаментов осуществляется методом инъецирования, при котором в поврежденную кладку под давлением нагнетается жидкий цементный или полимерный раствор, что способствует замоноличиванию в кладке трещин, пор и пустот.

Подготовительные работы при инъецировании кладки включают: определение места расположения скважин, высверливание скважин и установку в них металлических патрубков; очистку трещин и поверхности кладки от образующегося при сверлении шлама и пыли; герметизацию всех трещин путем оштукатуривания тонким слоем цементного раствора.

При инъецировании применяется в качестве вяжущего для цементных и цементно-полимерных растворов портландцемент марки не ниже 400 тонкостью помола не менее 2400 см2/г.

Раствор нагнетается в конструкцию под давлением до 0,6 МПа. Инъекционные патрубки диаметром 1/2" и длиной 6 - 10 см изготовляются из обрезков газовых труб и имеют на одном конце резьбу 5 - 6 витков.

Ремонт каменных конструкций может осуществляться способом замены поврежденной кладки новой.

Способ замены конструкций новыми требует предварительного устройства временных креплений на период производства работ, способных воспринять передающиеся на них вышерасположенные нагрузки. После устройства временных креплений допускается разборка старой кладки и выполнение новой с применением сетчатого армирования.

4.4.2. Ремонт кирпичных и бетонных стен (рис. 4.20).

Дефект

Разрушение кладки от размораживания в сооружениях с повышенной влажностью.

Методы исправления.

Долговечность существующих стен повышается путем нанесения с наружной стороны стены дополнительного слоя утеплителя с одновременным устройством воздушной прослойки. Дополнительный утеплитель защищает конструкцию стены от воздействия отрицательных температур, а воздушная прослойка служит для удаления из стен избытка влаги.

Стекло или минераловатные утеплители и профилированные листы (стальные или асбестоцементные) крепятся опорными уголками к стене с помощью специальных элементов. Профилированные листы к опорным уголкам крепятся самонарезающимися винтами. Вентилируемые прослойки образуются внутренними полостями профилированных листов.

В случае ослабления прочности кладки до устройства ограждения с наружной стороны необходимо выполнить усиление кладки способом торкретирования.

5. УСИЛЕНИЕ И РЕМОНТ КОНСТРУКЦИЙ ИНЖЕНЕРНЫХ СООРУЖЕНИЙ

Работа конструкций инженерных сооружений происходит, как правило, в более сложных условиях: конструкции сооружений находятся на открытом воздухе и подвергаются агрессивным воздействиям внешней среды и отрицательных температур.

Рис. 4.20. Устройство вентилируемой стеновой конструкции

В силу своей специфики остановка сооружений для производства ремонтных работ и реконструкции в значительной мере затруднена, а во многих случаях и вовсе невозможна. Поэтому при ремонте и усилении следует отдавать предпочтение тем методам, при которых не требуется остановка эксплуатации сооружения.

5.1. Железобетонные резервуары и технологические емкости.

5.1.1. Наиболее частой причиной нарушения работоспособности резервуаров являются их протечки.

Местные протечки устраняются путем удаления дефектно выполненного бетона и заменой его новым, а также с помощью инъектирования.

В случае проникновения грунтовых вод вовнутрь резервуара производится инъектирование наружной поверхности.

При наличии большого количества, повреждений и дефектов, а также при усилении стен выполняется устройство дополнительного защитного слоя из торкретбетона или железобетонной рубашки с внутренней поверхности стен.

Усиление круглых сооружений при образовании трещин в стенах выполняется намоткой на наружную поверхность преднапряженной высокопрочной арматуры с последующим ее торкретированием.

В случае местных повреждений отдельных конструкций резервуаров, аэротенков, отстойников и других сооружений их усиление выполняют как обычных конструкции.

5.1.2. Ремонт железобетонных емкостей от протечек (рис. 5.1).

Дефекты

Течи емкостей в местах: сопряжения вертикальных стенок с днищами, сопряжения монолитных лотков отстойников с вертикальными стенками, сопряжений продольных и поперечных стен проходов патрубков через стены, сопряжения металлических воронок с железобетонными стенками технологических емкостей, рабочих швов бетонирования.

Рис. 5.1. Ремонт железобетонных емкостей при протечках

а - инъектирование стены радиального отстойника в месте протечки у лотка; б - инъектирование проходов патрубков через стенки емкости; в - инъектирование в местах сопряжения стальной воронки с железобетонной стенкой; 1 - монолитная стена емкости; 2 - лоток; 3 - трубка для инъекции; 4 - патрубок; 5 - раствор; 6 - фланец; 7 - стальная воронка.

Методы исправления.

В местах течей выдалбливаются лунки глубиной от 70 до 100 мм, в зависимости от толщины стен емкостей, в них вставляют трубки диаметром 3/4", длиной 200 мм с тремя - пятью отверстиями на заделываемом конце (рис. 5.1а). Трубки заделываются в лунки цементно-песчаным раствором. После затвердения раствора, крепящего трубки в лунках, производится инъецирование цементного раствора. В зависимости от характера пор готовится цементный раствор различной консистенции - от цементного молока до кашицы.

Когда убеждаются, что раствор в тело бетона больше не поступает, выдерживают под давлением еще 5 - 10 минут, после чего трубку забивают более густым раствором и деревянной пробкой допрессовывают раствор.

При ликвидации течей в местах сопряжений металлических воронок с железобетонными стенками и в местах прохода патрубков через стены (рис. 5.16в) применяется аналогичный способ, только трубки не вдалбливаются в тело бетона, а ввариваются в металлический лист.

5.1.3. Ремонт стен и днища резервуара с помощью инъектирования (рис. 5.2).

Дефекты

Протечки в стенах и днище с наружной стороны резервуара, приводящие к проникновению наружных вод вовнутрь резервуара.

Рис. 5.2. Ремонт стен и днища с помощью инъектирования

1 - инъекционные трубки; 2 - цементный раствор; 3 - стена; 4 - днище.

Методы исправления.

Дефекты устраняются с помощью инъектирования цементной смеси, через стены и днище с наружной стороны сооружения в местах возможных протечек.

Процесс инъектирования состоит из трех операций: подготовки скважин в теле бетона для постановки в них инъекционных трубок; установки и заделки трубок; нагнетания водоцементной смеси.

Трубки заделываются цементным раствором. Цементная смесь для инъектирования приготовляется на цементе марки 400 состава 1 часть цемента и 1,5 части воды по объему. По окончании работ инъекционные трубки удаляются, а оставшиеся отверстия заполняются раствором.

5.1.4. Ремонт железобетонных емкостей (рис. 5.3).

Дефект

Протечки резервуара в местах стыка стен с днищем, прохода трубопровода через стену, в температурно-деформационном шве.

Методы исправления.

Усиление стыка стены с днищем и днища осуществляется торкретированием с внутренней поверхности резервуара (рис. 5.3а). Пристенная часть днища до бетонирования армируется сеткой диаметром 5 мм с шагом стержней 100 мм.

Герметизация места ввода трубопроводов осуществляется с помощью эпоксидного состава или уплотняющих прокладок. Для уменьшения усилия от нагревания трубопровода и предупреждения деформаций в местах прохода трубопровода через стену в непосредственной близости к стене устанавливается компенсатор (рис. 5.3б).

Ремонт мест протечек температурно-деформационного шва устраняется за счет торкретирования по сетке (рис. 5.3в).

Рис. 5.3. Ремонт железобетонных емкостей

а - стыков и днища; б - заделка трубопровода; в - температурно-деформационного шва; 1 - стена резервуара; 2 - арматурная сетка; 3 - торкретбетон усиления; 4 - существующее днище; 5 - дополнительный линзовый компенсатор; 6 - зачеканка асбестоцементом; 7 - забивка асбестовой прядью, пропитанной битумом; 8 - существующая трехкулочковая шпонка шва.

Полость шва перед торкретированием заполняется асбестоцементом. При расположении протечек шва в стене вязаную сетку следует прибить к стене дюбелями.

5.1.5. Ремонт железобетонного резервуара для нефти в месте вводов продуктопроводов (рис. 5.4, 5.5).

Дефект

Фильтрация нефтепродуктов в проходной канал в месте сопряжения продуктопроводов с бетоном.

Метод исправления.

1. Герметизация проводится со стороны проходного канала с помощью эпоксидного состава, армированного стеклотканью или стеклосеткой (рис. 5.4а, б), а также с помощью уплотняющих прокладок (рис. 5.5а, б, в).

При этом неплотные участки бетона с раковинами должны быть удалены до плотного слоя бетона, не пропитанного нефтью, и омоноличены бетоном или цементно-песчаным раствором с тщательным уплотнением путем трамбования или чеканки.

2. При герметизации места вводов продуктопроводов эпоксидными составами по рис. 5.4а, б, прилежащие к продуктопроводам участки бетона на расстоянии не менее 120 мм должны быть обработаны гидропескоструйным аппаратом для удаления пропитанного нефтью поверхностного слоя бетона и очистки от загрязнений. Аналогичной обработке подвергаются поверхности прилегающих к бетону продуктопроводов на длине 120 мм для удаления антикоррозионного покрытия, окалины и продуктов коррозии.

Указанную выше обработку следует производить непосредственно перед нанесением эпоксидного покрытия.

Рис. 5.4. Герметизация места вводов трубопроводов в резервуар эпоксидным составом

1 - эпоксидное покрытие, армированное стеклотканью или стеклосеткой; 2 - проходной канал; 3 - неплотные участки бетона, подлежащие удалению и зачеканиванию бетоном

Рис. 5.5. Герметизация места вводов трубопроводов в резервуар с помощью уплотняющих прокладок

1 - неподвижный фланец; 2 - болты, вдвигающие уплотнительное кольцо и патрубок (8 шт. по окружности); 3 - болты, прижимающие к стене (4 шт. по окружности); 4 - отверстия для пропуска болтов; 5 - уплотнительное кольцо; 6 - патрубок с приваренными упорами из уголка (7); 8 - сальниковая набивка; 9 - подвижный фланец с поваренным, кольцом (10); 11 - уплотнительное кольцо из бензостойкой резины; 12 - кольцо из неравнобокого уголка.

На подготовленные участки бетона и трубопроводов следует нанести эпоксидное покрытие, армированное стеклотканью. При этом покрытие наносится в следующей последовательности:

наносится грунтовочный слой эпоксидного состава, который выдерживается в течении 24 часов при температуре не ниже плюс 15°С;

по грунтовочному слою наносится второй слой эпоксидного состава, по которому укладываются слои стеклоткани, пропитанные эпоксидным составом. Общая толщина покрытия должна быть не менее 2 мм.

При наклейке стеклоткань необходимо с помощью шпателя или валиков прикатывать к бетону и трубопроводам для удаления воздушных пузырей и для плотного прилегания армирующих слоев к бетону и стальной поверхности труб.

При применении для герметизации места вводов трубопроводов уплотняющих прокладок из резины или из сальниковой набивки по рис. 5.5а, б, в. Фланцы, кольца и патрубки изготовляются в виде полуколец, свариваемых в кольцо на месте установки. Неподвижные фланцы привариваются к трубопроводу прерывистым швом.

Участок трубопровода после приварки фланца, а также все остальные элементы уплотнения должны быть защищены от коррозии путем нанесения двух слоев каменноугольного лака с добавкой 10 % алюминиевой пудры.

5.1.6. Усиление стен железобетонного аэротенка (рис. 5.6).

Дефект

Разрушение зуба днища и части стен аэротенка вследствие недостаточного армирования щелевого паза заделки стеновых панелей в днище.

Рис. 5.6. Усиление стен аэротенка

1 - новое днище усиления; 2 - старое днище; 3 - стеновая панель; 4 - штраба 300×40 мм; 5 - приварка новой арматуры к существующей.

Метод исправления.

Усиление разрушенных стен и днища осуществляется путем устройства второго днища над первым.

В старом днище устраиваются штрабы для приварки арматуры усиления к существующей и сцепления старого и нового бетона. Размеры щелевого паза и его армирование выполняются по первоначальному проекту.

5.1.7. Ремонт покрытия железобетонных резервуаров (рис. 5.7).

Дефект

Нарушена герметичность покрытия в результате образования трещин в бетоне стыков плит.

Метод исправления.

1. Трещины в бетоне стыков покрытия или в торкретном слое над ними, нарушающие герметичность покрытия, заделываются путем нанесения дополнительного слоя торкрет-раствора, армированного стальной тканой сеткой.

Ширина полосы торкретирования принимается не менее 500 мм, толщина торкрета - 30 мм.

2. При усилении плит покрытия необходимо проверить расчетом несущую способность балок и колонн на дополнительную нагрузку от собственного веса усиляемых плит. В случае недостаточной несущей способности балок и колонн следует разработать проекты их усиления. Проект усиления разрабатывается с учетом фактического состояния конструкций (наличие трещин, степень разрушения бетона и т.д.), выявленного при обследовании этих конструкций, а также с учетом дополнительной нагрузки от усиления плит.

5.1.8. Ремонт покрытия железобетонного резервуара (рис. 5.8).

Рис. 5.7. Ремонт стыков плит покрытия резервуара

а - план; б - разрез по стыку; 1 - плиты покрытия; 2 - токрет-раствор; 3 - трещины в стыке; 4 - тканая сетка; 5 - конец распространения трещины.

Рис. 5.8. Ремонт плит покрытия железобетонных резервуаров

1 - существующая плита; 2 - балка; 3 - конструктивная арматурная сетка; 4 - новый слой бетона.

Дефект

Разрушение верхнего слоя бетона плит покрытия резервуара.

5.1.9. Усиление колонн покрытия железобетонного резервуара (рис. 5.9).

Дефект

Наличие трещин в консолях колонн. Увеличение собственного веса плит покрытия по сравнению с проектом.

Методы исправления.

1. В случае увеличения собственного веса плит покрытия и при наличии трещин в консолях колонн необходимо установить на колонны дополнительные стальные консоли, рассчитанные на восприятие всей нагрузки, передающейся от покрытия. Перед началом работ по усилению консолей необходимо демонтировать балки покрытий.

2. Стальные элементы дополнительных консолей до установки в резервуар должны быть подвергнуты дробеструйной обработке, протерты ветошью, смоченной в бензине, для удаления следов масла. Затем покрыты алюминием толщиной не менее 200 мкм методом металлизации с доследующим гидрооксидированием.

5.1.10. Ремонт железобетонных мостиков аэротенков (рис. 5.10).

Дефект

Разрушение железобетонных плит проходных мостиков от размораживания бетона и их аварийное состояние.

Методы исправления.

Проходные мостики изготовляются из стальных профилей, предварительно демонтировав существующие железобетонные плиты.

Для крепления мостика и опорных частей прокладываемых трубопроводов, к существующим железобетонным балкам приваривается швеллер или швеллерная конструкция из двух уголков.

Рис. 5.9. Усиление консолей железобетонной колонны покрытия резервуара

1 - балки покрытия; 2 - колонна; 3 - болты; 4 - стальные опорные элементы из швеллера.

Рис. 5.10. Конструкция проходного мостика

1 - швеллер; 2 - существующая закладная деталь в железобетонной балке; 3 - трубопровод; 4 - настил мостика; 5 - стальные перила Ø 25; 6 - существующая железобетонная балка мостиков; 7 - железобетонная перегородка.

Причем для размещения трубопроводов проходные мостики могут смещаться поперек своей оси в любом направлении.

Принятые сечения мостика должны отвечать прочности и жесткости.

5.1.11. Усиления сборных железобетонных мостиков аэротенков и усреднителей (рис. 5.11).

Дефект

Разрушение железобетонных плит проходных мостиков от размораживания бетона и коррозии, сильная коррозия тонкостенных перил ограждения из-за коррозии.

Метод исправления.

Разрушенный бетон с нижней стороны монолитных и сборных мостиков удаляется до прочного бетона, арматура очищается стальными щетками от коррозии, промывается и торкретируется с толщиной защитного слоя 20 мм.

С верхней стороны железобетонные плиты ремонтируются, усиливаются путем наращивания слоя железобетона класса В25 на мелком щебне (рис. 5.11).

Перед бетонированием удаляются существующие асфальтовая стяжка и перила ограждения.

На плите по контуру сваривается рама из уголков для крепления ограждения, которая с помощью накладок приваривается к сохранившимся закладным деталям плиты. Внутрь этой рамы укладывается сетка и производится бетонирование толщиной 25 мм. К стальной раме привариваются стальные ограждения, выполненные из круглой стали диаметром 25 мм. Сверху бетонной поверхности устраивается асфальтовая стяжка толщиной 20 мм

Рис. 5.11. Усиление конструкций сборных мостиков

1 - существующая ж.б. плита мостика; 2 - стальные перила ограждения; 3 - асфальт толщиной 20 мм; 4 - рулонная арматурная сетка диаметром 3 мм с шагом стержней 100 мм по ГОСТ 2379-85; 5 - бетон толщиной 25 мм; 6 - уголки обрамления 100×8.

5.1.12. Ремонт распределительного железобетонного лотка очистного сооружения (рис. 5.12).

Дефект

Разрушение бетона лотка от размораживания.

Метод исправления.

Разрушенный и непрочный бетон лотка удаляется, промывается, арматура очищается от ржавчины и бетонируется заново цементно-песчаным раствором класса В25. Предварительно изготовляется сварная обечайка усиления из стальной трубы.

На днище наносится подливка из слоя пластичного цементно-песчаного раствора, после чего устанавливается сварная обечайка. В обечайке в месте примыкания подающего трубопровода следует сделать отверстие для приема стоков. Когда цементно-песчаная подливка под коробом схватится, зазор между стенкой короба и лотком заполняется цементно-песчаным раствором.

Наружная поверхность стальной трубы окрашивается за 3 раза.

5.2. Стальные резервуары

5.2.1. Ремонт стальных резервуаров состоит из работ по исправлению оснований и фундаментов, частичной или полной замене дефектных частей стенки, днища и покрытия.

Неплотности резервуаров устраняются с помощью сварки или эпоксидных составов.

В случае более крупных повреждений производят вырезку дефектного места с последующей приваркой новых элементов взамен удаленных.

Усиление эксплуатируемых резервуаров может выполняться бандажами с целью восстановления несущей способности нижних поясов стенки, имеющих коррозионный износ в пределах до 20 % от первоначальной толщины листа.

Рис. 5.12. Ремонт железобетонного лотка

1 - стальная труба усиления (обечайка); 2 - существующий монолитный лоток; 3 - отверстие для стоков (по месту); 4 - цементно-песчаный раствор.

Бандажные усиления представляют собой разъемные стальные кольца, состоящие из 4 - 6 полос (в зависимости от длины полосы и диаметра резервуара), стянутых с помощью резьбовых соединений.

На резервуаре может быть установлено 10 - 20 колец по высоте четырех поясов в зависимости от коррозионного износа металла и геометрического сечения полосы. Необходимое число колец определяется расчетом.

5.2.2. Усиление основания стальных резервуаров (рис. 5.13).

Дефекты

1. Неравномерная осадка основания резервуара (1), превышающая допуски и вызывающая крен.

2. Значительная равномерная осадка основания резервуара (1), превышающая допуски в местах с недостаточно устойчивыми грунтами.

Методы исправления.

1. На участке неравномерной осадки резервуара (1), (рис. 5.13а) приваривают через 2,5 - 3 м ребра жесткости (2) на расстоянии 0,4 м от днища. Сварной шов 8×100 мм через 1500 мм. Под ребро жесткости (2) устанавливают домкраты. Резервуар поднимают выше осадки на 40 - 60 мм. Подбивают грунтовую смесь и резервуар опускают на основание. Затем ребра жесткости удаляют. Грунтовую смесь подбивают трамбовками: под днищем - вертикальными слоями, за пределами днища - горизонтальными слоями.

На рис. 5.13б изображен другой вариант усиления основания резервуара (1) при неравномерной осадке.

Рис. 5.13. Усиление оснований стальных резервуаров

а, б - при неравномерных осадках основания резервуара; 1 - основание резервуара; 2 - ребра жесткости; 3 - патрубки; 4 - монолитное бетонное кольцо; 5 - отмостки.

На участке осадки резервуара приваривают через 10 - 12 м в 2-х - 3-х местах патрубки (3) из трубы диаметром 520 мм, толщиной стенки 8 - 10 мм, на расстоянии 0,6 - 0,8 м от днища. С помощью трубоукладчика резервуар поднимается за один из патрубков на высоту, превышающую величину осадки на 40 - 60 мм. Подбивают грунтовую смесь с помощью специальных штанг-трамбовок. Резервуар опускают на основание и патрубки удаляют.

2. При значительных равномерных осадках основания резервуара (1), вокруг него на расстоянии 1 м от резервуара устраивают монолитное бетонное кольцо (4). Верх кольца должен быть ниже основания не менее чем на 50 мм. Отмостки (5) устраивают по требованиям основного проекта. Подводящие трубопроводы должны обеспечить возможность осадки за счет гибких вставок или компенсирующих устройств.

5.2.3. Местный ремонт днища стального резервуара (рис. 5.14).

Дефекты

1. Выпучина или хлопун (1) высотой более 200 мм на площади более 3 м2 с плавным переходом на днище резервуара.

2. Местная просадка основания (5) под днищем резервуара (7) (вне зоны окрайков) глубиной более 200 мм на площадке более 3 м2.

Методы исправления.

1. Для случая, изображенного на рис. 5.14а, ремонт осуществляется следующим образом.

В вершине хлопуна (1) вырезают отверстия (2) диаметром 200 - 500 мм, в зависимости от площади хлопуна и удобства подбивки грунтовой смеси (3).

Рис. 5.14. Местный ремонт днища стального резервуара

а - при выпучине; б - при просадке основания; 1 - выпучина; 2 - отверстие; 3 - гидрофобный грунт; 4 - наладка; 5 - просадка основания; 6 - сварной шов; 7 - днище.

Пазуху засыпают грунтовой смесью (3) (супесчаный грунт, пропитанный битумом), уплотняют глубинным вибратором, пневмотрамбовкой или трамбовкой вручную.

Подгоняют круглую накладку (4) диаметром более отверстия 100 мм и толщиной не менее толщины днища резервуара. Сварку накладки с днищем выполняют по всему контуру швом с катетом не более 4 - 5 мм.

2. Для случая, изображенного на рис. 5.14б, ремонт осуществляется следующим образом.

В днище резервуара (7) на участке пустоты вырезают отверстие (4) диаметром 200 - 250 мм для подбивки грунтовой смеси (3).

В зависимости от площади просадки основания, а также удобства подбивки при необходимости вырезают дополнительные отверстия. Пустоту засыпают грунтовой смесью (3) (супесчаным грунтом, пропитанным битумом) и уплотняют глубинным вибратором, пневмотрамбовкой вручную.

Вырезанное в днище отверстие закрывают круглой накладкой (6) диаметром более отверстия на 100 мм и толщиной не менее толщины днища резервуара.

Накладку с днищем сваривают по всему контуру плотным швом.

5.2.4. Ремонт днища стального резервуара (рис. 5.15).

Дефект

Днище резервуара прокорродировано полностью.

Метод исправления.

Днище заменяют участками 1.

Последовательно на высоту не менее 200 мм отрезают стенку с участком окрайков и днище.

Рис. 5.15. Ремонт днища стального резервуара

1 - участок днища; 2 - окрайка днища; 3 - подкладка; 4 - полосовая сталь; 5 - днище.

Длина первого участка превышает последующие на 500 мм. Отрезанный участок вытягивают из резервуара, подводят окрайки (2) с технологическими подкладками (3).

Сваривают окрайки между собой, вертикально устанавливают полосовую сталь (4) с нахлестом 50 - 70 мм и приваривают двусторонним швом к окрайкам. и нахлесточным швом к стенке резервуара.

После смены окрайков и участка стенки собирают днище (5) и сваривают поперечные швы, затем продольные,

В необходимых случаях ремонтируют изоляционный слой.

Все сварные соединения испытывают на герметичность и проводят гидравлические испытания резервуара наливом воды до расчетного уровня.

5.2.5. Ремонт днища стального резервуара (рис. 5.16).

Дефект

Днище резервуара прокорродировано полностью.

Метод исправления.

В первом поясе стенки вырезают монтажное "окно" размером 2000×1500 мм.

На существующее днище укладывают слой гидрофобного грунта (1) слоем не менее 50 мм, выравнивают грунт по проектному уклону, уплотняют трамбовками и нивелируют.

Собирают внахлест и сваривают полотно днища (2). При этом сначала сваривают листы по коротким, затем по длинным кромкам. Сварку ведут от центра к краям листа в два слоя.

В стенке последовательно прорезают "окна" и вставляют окрайки днища (3) с технологической подкладкой (4) на прихватках. Окрайки между собой сваривают встык, поджимают к стойке и приваривают двумя тавровыми швами.

Рис. 5.16. Ремонт днища стального резервуара

1 - гидрофобный грунт; 2 - полотно днища; 3 - окрайки днища; 4 - подкладка.

Сваривают внахлест, кольцо окрайки с полотнищем днища и заваривают "окно" стенки.

Все сварные соединения испытывают на герметичность и проводят гидравлическое испытание резервуара путем налива воды до расчетного уровня.

5.2.6. Ремонт днища стального резервуара при появлении трещин в сварных швах (рис.5. 17).

Дефект

а) Продольные трещины в сварных соединениях полотнища днища с выходом трещины на основной металл или без выхода (рис. 5.17а).

б) Поперечные трещины в стыковом соединении окрайки днища (рис. 5.17б).

Методы исправления.

а) Ремонт при повреждениях, указанных на рис. 5.17а, устраняют следующим образом.

Продольные трещины после разделки и заварки усиливают металлической накладкой, размер которой должен превышать длину трещин не менее, чем на 250 мм. Края накладки должны иметь закругления радиусом не менее 50 мм. Накладку сваривают с днищем по всему контуру швом с катетом не более 4 - 5 мм.

б). Ремонт днища при повреждениях, показанных на рис. 5.17б, осуществляется следующим образом.

Вырезают участок дефектного листа шириной не менее длины трещины плюс 500 мм.

Удаляют упорный уголок симметрично в обе стороны от границы вырезаемого участка. Выплавляют нахлесточное соединение приварки днища к окрайкам и угловой шов приварки стенки к окрайкам.

Рис. 5.17. Ремонт днища стального резервуара при трещинах в сварных швах

а - при продольных трещинах; б - при поперечных трещинах в стыковом соединении окрайки днища; 1 - трещина с выходом на основной металл; 2 - трещина без выхода на основной металл; 3 - накладки; 4 - поперечная трещина; 5 - окрайка днища.

Приподнимают участок днища в месте нахлесточного шва и вырезают дефектный участок окрайки днища. Взамен вырезанного участка подгоняют встык вставку с зазором 3±1 мм. Вставку сваривают в два или более слоя на технологических подкладках. Если трещина проходит по основному металлу окрайки днища внутри и снаружи, то вырезают упорный уголок на длину не менее 1500 мм симметрично в обе стороны от трещины и весь дефектный участок окрайки днища шириной не менее 500 мм.

5.2.7. Ремонт стен стального резервуара при трещинах (рис. 5.18).

Дефект

а) Трещина (1) по сварному шву или основному металлу упорного уголка (2), распространившаяся на основной металл листа первого пояса стенки (3) резервуара на длину не более 100 мм (рис. 5.18а).

б) Продольные трещины (7) или одна трещина в пересечении сварных соединений стенки (8) резервуара (рис. 5.18б).

Методы исправления.

а) При устранении повреждения, показанного на рис. 5.18а производят следующее. Расчищают дефектное место, выявляют границы трещины, засверливают сверлом диаметром 8 мм и вырезают упорный утолок (2) длиной не менее 1500 мм в обе стороны от трещины. Вырезают дефектный участок листа первого пояса стенки резервуара (3) шириной не менее 1000 мм на всю высоту пояса.

Распускают сварные горизонтальные швы между первым и вторым поясами стенки в обе стороны от вырезанного дефектного участка по 500 мм. Разделывают кромки листа первого пояса и вставки (5), вставку подгоняют встык и внахлестку и сваривают с двух сторон.

Рис. 5.18. Ремонт стен стального резервуара при трещинах

а - уторного уголка; б - трещинах в сварных соединений; 1 - трещина; 2 - уторный уголок; 3 - стенка первого пояса; 4 - второй пояс корпуса; 5 - вставка; 6 - окрайка; 7 - продольная и поперечные трещина сварных швов; 8 - стена резервуара; 9 - накладка.

Сваривают лист первого пояса и вставку в месте выреза упорного уголка с окрайкой днища (6) с двух сторон. Приваривают торцы упорного уголка к стенке и окрайке днища. Все сварные соединения испытывает на герметичность и проводят гидравлические испытания резервуара наливом воды до расчетного уровня.

б) При устранении повреждения, показанного на рис. 5.18б производят следующее.

Расчищают дефектное место, выявляют границы трещины и концы ее засверливают сверлом диаметром 8 мм и вырезают отверстие в стенке (8) резервуара диаметром равным длине трещины плюс 500 мм с центром в точке пересечения сварных швов.

С внутренней стороны резервуара вплотную к стенке подгоняют внахлестку накладку диаметром более отверстия на 150 мм и толщиной, равной толщине листов стенки.

Сварку накладки со стенкой выполняют сплошными швами сначала с наружной, а затем с внутренней стороны резервуара.

5.2.8. Ремонт нижнего пояса стены стального резервуара (рис. 5.19).

Дефект

1. Коррозия внутренней поверхности первого пояса стенки резервуара на значительной длине в зоне примыкания к днищу (рис. 5.19а).

Характер коррозии - группы раковин глубиной до 1,5 - 2 мм, переходящих в сплошные полосы, а также точечные углубления осповидного типа.

2. Подрезы (3) основного металла стенки (4) резервуара глубиной до 1,5 мм в узле сопряжения с днищем (5) или катета) шва менее проектного размера (рис. 5.19б).

Рис. 5.19. Ремонт нижнего пояса стены стального резервуара

а - в случае коррозии нижнего пояса; б - в случае подрезов сварных швов; 1 - участки прокорродированного пояса; 2 - накладка; 3 - подрез; 4 - стена резервуара; 5 - днище; 6 - новый шов.

Методы исправления.

1. Для случая, изображенного на рис. 5.19а, ремонт осуществляют следующим образом.

Дефектные места стенки резервуара заменяют последовательно отдельными участками. Размечают границы участков (1) высотой более дефектной зоны на 100 мм и длиной до 3000 мм.

Вырезают дефектные места вначале у днища, затем по границе участка на стенке.

Подгоняют с наружной стороны резервуара внахлест полосовую накладку (2) толщиной, равной толщине листа первого пояса стенки. Накладки сваривают между собой встык, а со стенкой - внахлестку.

Все сварные соединения испытывают на герметичность и проводят гидравлические испытания резервуара наливом воды до расчетного уровня.

2. Для случая, изображенного на рис. 5.19б, ремонт осуществляется следующим образом.

Участок подреза тщательно счищают металлической щеткой.

Подрезы подваривают тонкими валиками (6) электродами диаметром 3 мм в два - три прохода.

После сварки каждого слоя поверхность шва тщательно зачищают от шлака.

5.2.9. Ремонт деформированных стен стального резервуара (рис. 5.20).

Дефект

Одиночная выпучина (1) в стенке (2) резервуара в листах верхнего и смежного с ним поясов, превышающая допустимые размеры, имеющая резкие перегибы металла (рис. 5.20а).

Рис. 5.20. Ремонт деформированных стен стального резервуара

а - при выпучинах в поясах; б - при выпучине или вмятине у трубопровода; 1 - выпучина (вмятина); 2 - стена резервуара; 3 - обвязочный уголок; 4 - вставка; 5 - контур удаленной выпучины; 6 - трубопровод; 7 - вставка в трубопроводе.

2. Местная выпучина или вмятина (1) на первом поясе стенки (2), возникшая в результате просадки подводящего трубопровода.

Методы исправления.

1. Для случая, изображенного на рис. 5.20а, ремонт осуществляют следующим образом.

Вырезают верхний обвязочный уголок (3) длиной на 1000 мм больше размера выпучины.

Вырезают в поясах стенки дефектные листы в районе выпучины.

Распускают сварные горизонтальные швы по обе стороны от вырезанных дефектных мест по 500 мм.

Подгоняют вставки (4) встык и внахлестку и сваривают с двух сторон. Сначала выполняют сварку стыковых, а затем нахлесточных швов.

Подгоняют вставку обвязочного уголка со стенкой и уголком приваривают.

2. Для случая, изображенного на рис. 5.20б, ремонт осуществляется следующим образом.

Трубопровод отсоединяют.

Выпучину или вмятину исправляют с помощью домкрата до допустимых размеров. Подводящий трубопровод обрезают, подгоняют и устанавливают дополнительную вставку (6).

5.2.10. Ремонт покрытия стального резервуара (рис. 5.21).

Дефект

1. Направляющие трубы (1) понтона (2) погнуты при его погружении (рис. 5.21а).

2. Кровля резервуара прокорродирована полностью или частично.

Рис. 5.21. Ремонт покрытия стального резервуара

а - ремонт направляющих понтона; б - ремонт кровли; 1 - направляющие трубы; 2 - понтон; 3 - граница дефектного места; 4 - подкладка; 5 - стойки; 6 - дефектное место; 7 - секторы кровли; 8 - короткие кромки кровли; 9 - длинные кромки кровли.

Несущие конструкции перекрытия не подлежат ремонту (рис. 5.21б).

Методы исправления.

1. Для случая, изображенного на рис. 5.21а, ремонт осуществляется следующим образом.

Устанавливают границы (3) дефектных мест. Приваривают подкладки (4) из швеллера № 18 - 20 длиной 150 - 200 мм.

Приваривают стойки (5). Площадь сечения стоек должна быть не менее площади сечения направляющей трубы.

По границам участка вырезают часть трубы (6) и удаляют ее.

Подгоняют вставку из трубы и устанавливают на место удаленной части.

Трубу (1) и вставку сваривают встык. Монтажные приспособления (4) и (5) срезают и места сварки зачищают.

2. Для случая, изображенного на рис. 5.21б, ремонт осуществляется следующим образом.

Выявляют дефектные участки кровли. Кровлю разрезают на секторы (7), Вырезанные секторы опускают на землю при помощи крана или другого подъемного механизма. Поднимают новые листы на кровлю и собирают (подгоняют) внахлестку или прихватках. Сваривают листы между собой, начиная от центра кровли, сначала по коротким (8), а затем по длинным (9) кромкам.

Приваривают кровлю к верхнему обвязочному уголку.

5.3. Силосы и бункеры

5.3.1. Усиление стен силосов и бункеров выполняется с помощью железобетонных или стальных обойм, наращиваемых с наружной стороны силоса.

Усиление стен силосов может быть выполнено также с помощью железобетонных или стальных обойм, наращиваемых с наружной стороны силоса.

Усиление стен силосов может быть выполнено также с помощью железобетонных или стальных гильз, наращиваемых с внутренней стороны силоса.

При усилении подсилосных перекрытий наиболее часто используют наращивание его железобетонного сечения сверху.

Усиление балок, колонн и фундаментов силосов выполняют традиционными способами.

5.3.2. Усиление узлов крепления и сопряжения стальной воронки с железобетонной стеной силоса (рис. 5.22).

Дефекты

Дефекты в узлах крепления и сопряжения стальной воронки с железобетонной стенкой силоса.

Методы исправления.

При креплении стальной воронки (6) к стенам силоса (5) с помощью закладных деталей, устанавливаемых в стенах при их бетонировании, используется способ усиления путем разгружения воронки с передачей нагрузки от нее через конструкцию усиления (рис. 5.22a) на фундамент (4). Под воронку (6) подводится кольцевая опорная металлическая балка (2), опираемая на стальные стойки (3), расположенные равномерно по периметру.

Чтобы исключить распорные реакции колонны в уровне сопряжения с фундаментом, они объединяются связями в виде замкнутого многоугольника.

На рис. 5.22б, в, показаны варианты усиления узла сопряжения, стальной воронки со стеной. На рис. 5.22б предусматривается возведение железобетонного перекрытия (10) с опиранием через дополнительные опоры (3) на фундамент и последующее заполнение пазух между воронкой и перекрытием тощим бетоном (9).

Рис. 5.22. Усиление узлов крепления и сопряжения стальной воронки с железобетонной стеной силоса

а - путем частичной разгрузки узла крепления; б - устройством железобетонного перекрытия; в - устройством кольцевой железобетонной балки; 1 - узел усиления; 2 - опорная балка разгружающей конструкции; 3 - стойки разгружающей конструкции; 4 - фундамент под разгружающие конструкции; 5 - существующий железобетонный силос; 6 - стальная воронка существующего силоса; 7 - железобетонная плита существующего силоса; 8 - поддерживающая железобетонная кольцевая балка; 9 - забутка тощим бетоном; 10 - поддерживающее железобетонное перекрытие.

На рис. 5.22в предусматривается устройство кольцевой монолитной железобетонной балки (8) треугольного поперечного сечения. Она опирается через установленные равномерно по периметру стойки (3) на фундаментную плиту. Этот вариант позволит обеспечить надежное сопряжение воронки с балкой и разгрузить узел сопряжения воронки со стенкой силоса. Арматурный каркас железобетонной балки сваривают внизу, затем поднимают на отметку усиления, приваривают к воронке. Стойки (3) выполняют сборными железобетонными с выпусками арматуры, заводимыми в кольцевую балку (8). Между стойками устанавливают инвентарную опалубку нижней плоскости балки, демонстрируют защитный фартук воронки и в зазор между ней и стеной или через вырезы в воронке осуществляют бетонирование.

5.3.3. Усиление железобетонных круглых силосов стальной обоймой (рис. 5.23).

Дефект

Аварийное состояние стен силосов вследствие заниженной их несущей способности.

Метод исправления.

Силосы усиливаются стальными обечайками, устанавливаемыми на расстоянии 60 мм от существующих стенок силоса. Промежутки между обечайкой и стенкой заполняются бетоном класса В10 с тщательным вибрированием.

Стальные обечайки высотой 1,5 м по окружности составляются из четырех элементов с сопряжением их болтами через приваренные к листам обечаек уголки. Обечайки свариваются вертикальными и горизонтальными швами толщиной 4 мм.

Рис. 5.23. Усиление железобетонного силоса стальной обоймой

1 - забетонированный зазор; 2 - существующая стена силоса; 3 - стальные обечайки; 4 - стяжной болт.

К обечайкам между силосами по их осям на всю высоту привариваются диафрагмы из стальных листов толщиной 12 мм с горизонтальными ребрами толщиной 10 мм через 1 м по высоте.

5.3.4. Усиление стен силосов обоймами и гильзами (рис. 5.24).

Дефект

Снижение несущей способности стен силосов вследствие различных повреждений.

Методы исправления.

Усиление осуществляется путем устройства железобетонной обоймы с наружной стороны силоса (рис. 5.24а). Все работы по устройству обоймы выполняют с подвесных подмостей или струнных лесов с помощью инвентарной переставной опалубки, собираемой из отдельных щитов.

Разновидностью железобетонных обойм являются обоймы с предварительно напряженной горизонтальной несущей арматурой (рис. 5.24б). Для ее устройства по высоте стен вертикально устанавливают прокатные профили с отверстиями, через которые пропускают прямые арматурные стержни с резьбой на концах. Затем осуществляют натяжение арматуры. Шаг прокатных элементов по периметру стен назначают из условия, при котором горизонтальные арматурные стержни сохраняются линейными.

После натяжения арматуры производится бетонирование обоймы.

Усиление стен силосов может быть выполнено с помощью железобетонных гильз путем обетонирования существующих стен с внутренней стороны силоса.

Сечение гильзы принимают обычно равным первоначальному сечению стены, а арматуру рассчитывают на восприятие всей нагрузки от сыпучего материала.

Рис. 5.24. Усиление стен силосов железобетонными обоймами

а - усиление железобетонной обоймой; б - усиление предварительно напряженной железобетонной обоймой; 1 - усиливаемая стена; 2 - арматурный каркас; 3 - переставная опалубка; 4 - напрягаемая арматура; 5 - стяжные болты; 6 - прокатные профили.

Схема армирования должна предусматривать замыкание усилий в кольцевой арматуре по периметру. Блокировка емкостей не оказывает влияния на конструктивное решение.

В процессе монтажа арматурного каркаса гильзы рекомендуется в отдельных точках по периметру и высоте прихватывать его к оголенной арматуре усиливаемой стены с помощью коротышей. Высоту гильзы определяют степенью износа усиливаемой стенки и могут не доводить до ее верха.

В тех случаях, когда разрушения внутренней поверхности стен не приводят к потере их несущей способности применяют усиление с помощью стальных гильз из листового металла. Производство работ допускает монтаж элементов гильз сверху вниз непосредственно с поверхности сыпучего материала, уровень которого регулируется поочередной выгрузкой.

Для обеспечения устойчивости гильзы в вертикальном направлении выполняют крепление ее к стене в отдельных точках по высоте и периметру.

Простейший способ закрепления гильзы к стене является с помощью сквозных болтов.

5.3.5. Усиление стен железобетонных силосов бандажами (рис. 5.25).

Дефект

Недостаточная несущая способность стен силосов.

Метод исправления.

Усиление производится стальными бандажами. При этом необходимо обеспечить плотный контакт их с поверхностью стены по всему периметру. Плотность контакта можно обеспечить, создавая натяжение в бандажах с одновременным простукиванием по бандажам по всей их длине, а также путем зачеканки или заливки раствора в зазор (3) между бандажом и стеной, для чего конструкция бандажа имеет приваренный по всему периметру в нижней части стержень диаметром, равным заданному зазору.

Рис. 5.25. Усиление стен железобетонных силосов

1 - стальной пояс (бандаж); 2 - существующая стена силоса; 3 - зазор (зачеканить раствором); 4 - упоры стяжного болта; 5 - стяжной болт; 6 - сварка бандажа после обжатия; 7 - ребра жесткости.

В верхней части полосы привариваются коротыши такого же диаметра с промежутками между ними для зачеканки или заливки раствора.

Монтаж бандажей производится сверху вниз, при этом закрепленные бандажи можно использовать в качестве конструкций, поддерживающих подмости, необходимые при монтаже нижерасположенных бандажей.

5.3.6. Усиление сблокированных железобетонных силосов бандажами (рис. 5.26).

Дефект

Снижение несущей способности стен силосов вследствие различных повреждений.

Метод исправления.

Усиление производится стальными бандажами в виде полос. Плотное прилегание бандажей осуществляется стяжкой их и зачеканкой цементно-песчаного раствора между бандажом и стеной силоса.

В местах сопряжения стен смежных сблокированных силосов стыковка бандажа может осуществляться по двум вариантам: с помощью стальных полос или с помощью стальных тяжей.

5.3.7. Усиление стен железобетонных силосных корпусов (рис. 5.27).

Дефект

Снижение несущей способности стен силосов с однорядным, двухрядным и многорядным расположением банок.

Рис. 5.26. Усиление сблокированных железобетонных силосов

1 - бандажи; 2 - уголки 150×100; 3 - стена силоса; а - общий вид; б - стыковка бандажа в месте сопряжения стен с помощью стальных полос; δ = 10 мм; в - с помощью тяжей.

Рис. 5.27. Усиление стен силосного корпуса

1 - места соединения силосных банок; 2 - вертикальные ряды отверстий; 3 - опорные швеллерные стойки с отверстиями; 4 - горизонтальная арматура усиления; 5 - шайба; 6 - гайка; 7 - арматурная сетка; 8 - торкрет-бетон.

Метод исправления.

Усиление производят с помощью дополнительной горизонтальной арматуры, которую размещают на внешнем контуре стен силоса. Для этого в местах соединения силосных банок между собой должны быть проделаны вертикальные ряды отверстий (2). Концы стержней заводятся в соседние с обжимаемой силосные банки. Горизонтальную арматуру натягивают с помощью закручивания гаек, (6) через шайбы (5) с помощью специального динометрического ключа. С внутренней стороны против этих отверстий установлены опорные швеллерные стойки (3), имеющие отверстия с тем же шагом.

После предварительного натяжения арматурные стержни (4) и сетка (7) из проволоки класса Вр-1, располагаемая с наружной стороны в местах швеллеров, должны покрываться слоем торкретбетона.

В крайних силосных банках вследствие значительной длины кольцевой арматуры необходима установка швеллерной стойки посередине длины дуги окружности внешнего контура силоса (узел Б).

5.4. Подпорные стены, канала, тоннели.

5.4.1. Подпорные стены можно усиливать сваями, контрфорсами, внешними и внутренними наращиваниями толщины, устройством дополнительных ограждений, уменьшающих боковое давление грунта, анкерными сваями или анкерными тягами с изменением расчетной схемы стены.

Усиление каналов обычно осуществляют путем замены его перекрытия или всего канала на новую конструкцию.

Усиление и ремонт тоннелей производят путем устройства рубашек с внутренней стороны способом торкретирования. Устранение протечек производят нагнетанием цементного раствора за стены под давлением.

Усиление и ремонт тоннелей и коллекторов может быть осуществлен также путем наращивания конструкций железобетоном с наружной стороны без остановки его эксплуатации (рис. 5.30.1, стр.120а).

5.4.2. Усиление железобетонной подпорной стены (рис. 5.28).

Дефекты

Недостаточная несущая способность стены. Деформации, свидетельствующие об опасности потери устойчивости против сдвига или опрокидывания стены.

Методы исправления.

Усиление производится наращиванием слоя монолитного, железобетона с наружной стороны лицевой плиты подпорной стены (рис. 5.28а). Этот вариант рекомендуется при ремонте лицевой поверхности стены при незначительном увеличении нагрузки на поверхности грунта (на 30 - 40 %), при котором не нарушается устойчивость стены против сдвига.

Для предотвращения сдвига подпорной стены перед передним обрезом фундамента устанавливаются упоры в виде забивных железобетонных свай, буронабивных свай или стального шпунта, которые поверху объединяются монолитным бетонным ростверком (рис. 5.28б). Если при применении этого варианта усиления окажется необходимым увеличить также несущую способность лицевой плиты, то этот вариант следует сочетать с вариантом, показанным на рис. 5.28а.

5.4.3. Усиление подпорных стен в стесненных условиях генплана (рис. 5.29).

Рис. 5.28 Усиление железобетонной подпорной стены

1 - усиливаемая конструкция; 2 - арматура усиливаемой конструкции; 3 - бетон усиления класса В15; 4 - дополнительная горизонтальная и вертикальная арматура; 5 - коротыши из круглой стали. Приварить по ГОСТ 140-98-85; 6 - арматура наращиваемого верхнего пояса стены; 7 - монолитный бетонный ростверк; 8 - упоры (в виде забивных железобетонных свай, буронабивных свай или стального шпунта).

Рис. 5.29. Усиление подпорных стен в стесненных условиях генплана с помощью буронабивных свай

Усиление производится путем устройства дополнительной стены из буронабивных свай в непосредственной близости от усиляемой стены подвала, с тем, чтобы они воспринимали большую часть горизонтальных нагрузок, действующих на стену. Расстояние между сваями принимается не менее 2-х диаметров.

5.4.4. Усиление тоннелей (рис. 5.30).

Дефекты

1. Потеря первоначальной несущей способности, снизившейся в процессе эксплуатации из-за отслоения защитных слоев бетона в результате размораживания, пожара и т.д.

2. Необходимость увеличения несущей способности, вызванное увеличением нагрузки.

Методы исправления.

1. Наносится слой торкретбетона по поверхности кессонной части плит перекрытия и стеновых блоков без установки дополнительной арматуры (рис. 5.30а). Толщина слоя торкретбетона принимается минимальной - 20 мм,

2. Показанный на рис. 5.30б вариант рекомендуется применять при необходимости небольшого увеличения несущей способности (на 0,5 - 1,0 тс/м2), ч

Нанесение слоя торкретбетона производится с внутренней стороны тоннеля с приваркой дополнительной арматуры.

При расчете следует учитывать увеличенную толщину элементов рамы, как монолитной конструкции.

5.4.5. Ремонт тоннеля.

Дефекты

Течи в местах нарушения гидроизоляции и деформационных швах, сезонное промерзание и разрушение фильтрующей кладки тоннеля.

Рис. 5.30. Усиление тоннелей

1 - торкретбетон; 2 - существующее перекрытие тоннеля; 3 - существующая арматура; 4 - дополнительная арматура усиления (приварить с помощью коротышей сварным швом по ГОСТ 140-98-85): 5 - коротыши.

Метод устранения.

Для ликвидации течей в тоннеле применяется метод нагнетания тампонажных растворов. По всей длине перехода просверливаются отверстия в шахматном порядке.

Внутреннюю поверхность тоннеля армируют металлической сеткой и наносят торкретбетон. В качестве тампонажного раствора при первичном нагнетании применяют цементно-бентонитовый состав с В/Ц = 0,6 - 0,7 с количественным содержанием бентонита 3 - 5 % от веса цемента.

Нагнетание осуществляют от пяты стен (снизу) к сводовой части тоннеля, что позволяет создать сплошной защитный экран.

После периода отвержения и выпадения обильных осадков выявляется наличие фильтрации в отдельных местах кладки.

Для ликвидации остаточной влажности через дополнительные отверстия осуществляется повторно нагнетание карбамидной смолы марки КФ-МТ со временем гелеобразования 15 - 20 минут с отверждением ее 5 % раствором щавелевой кислоты.

5.5. Конвейерные галереи

5.5.1. В зависимости от состояния конструкций производят местный ремонт строительных конструкций, имеющих отдельные повреждения, или капитальный ремонт (при категории 4 технического состояния).

При аварийном состоянии непригодные к эксплуатации галереи должны быть полностью заменены новыми конструкциями.

5.5.2. Ремонт несущих стальных конструкций конвейерных галерей (рис. 5.31).

Дефекты

Коррозия отдельных элементов пролетного строения, трещины в сварных швах, погнутости и другие ослабления элементов решетки ферм и опор.

Рис. 5.31. Ремонт стальных конструкций конвейерных галерей

а - раскоса при трещинах, коррозии или недостаточной длине сварных швов прикрепления; б - нижнего узла наваркой дополнительной фасонки; в - погнутой ветви опоры; г - раскосов фермы; ее верхнего пояса фермы; 1 -монтажные сварные швы; 2 - усиливающий уголок; 3 - дополнительная фасонка; 4 - ветвь опоры; 5 - усиливающая накладка; 6 - дополнительный стержень усиления фермы; 7 - существующие стержни фермы.

Методы исправления.

Усиление отдельных стержней ферм и балок покрытия, пораженных коррозией, производят путем подварки к ослабленным элементам дополнительных профилей (рис. 5.31а).

Усиление узловых сопряжений при трещинах и коррозии выполняется с помощью дополнительной фасонки (3), которая заводится между стержнями ферм (рис. 5.31б).

Усиление погнутых элементов опоры или стержней пролетного строения выполняется приваркой накладок из листов или уголков (рис. 5.31в).

Усиление сжатых элементов ферм осуществляется приваркой накладок из уголков (рис. 5.31г),

С целью увеличения несущей способности отдельных элементов ферм пролетного строения устраиваются дополнительные стержни в виде шпренгелей, уменьшающих расчетные длины сжатых элементов верхнего пояса и раскосов. Их крепление осуществляют с помощью дополнительных фасонок, привариваемых к существующим фасовкам (рис. 5.31д).

Усиление опорных узлов ферм осуществляется подваркой к основной фасонке дополнительных ребер жесткости.

Усиление прогонов кровли осуществляют постановкой тяжей, изготовленных из круглой стали.

5.5.3. Усиление стальных конструкций конвейерной галереи способом обстройки (рис. 5.32).

Дефекты

Неудовлетворительное состояние конструкций пролетного строения: ферм, балок пола, прогонов, кровли вследствие их коррозии и других повреждений.

Рис. 5.32, Усиление конвейерных, галерей способом обстройки

а - г – стадии усиления существующих конструкций галерей по 1 способу; д -усиление галереи по 2-му способу; 1 - существующие несущие конструкции галереи со снятым покрытием и стенами; 2 - транспортер; 3 - новые несущие конструкции пролетного строения; 4 - временные подвески конвейера со связями; 5 - временные площадки обслуживания конвейера; 6 - утеплительные щиты с обшивкой из профильных листов и жестких минераловатных плит толщиной 80 мм; 7 - бетон пола, гидроизоляция, цементно-песчаная стяжка толщиной 20 мм, газобетон толщиной 100 мм, гидроизоляция, рифленая сталь по металлическим продольным балкам; 8 - водоизоляционныи ковер из 3-х слоев рубероида, стяжка из цементно-песчаного раствора толщиной 15 мм. утеплитель из минераловатных плит толщиной 80 мм, профилированный настил; 9 - конструкции переопирания транспортера.

Методы исправления.

Усиление галерей производится методом обстройки ее новыми конструкциями, расположенными снаружи существующей галереи без остановки производства.

Усиление может быть выполнено двумя способами.

1-ый способ (рис. 5.32а - г).

Работы выполняются в следующем порядке.

1. Демонтируется существующее ограждение и кровля галереи. Устанавливаются новые опоры галерей и стальные фермы пролетного строения со связями по верхним поясам и балкам кровли (рис. 5.32а).

2. Подвешивается рама конвейера к новым балкам кровли галереи с помощью подвесок со связями, демонтируются плиты существующего пола с одновременным устройством временных стальных площадок для обслуживания конвейера. Затем отрезаются стойки рамы конвейера от существующих балок пола. После чего демонтируются существующие металлоконструкции: балки пола и кровли, связи по нижним и верхним поясам ферм. Работы начинают вести с верхнего пролета галереи (рис. 5.32б).

3. На участке свободном от существующих конструкций устанавливают новые балки перекрытия и продольные балки с настилом. Стойки рамы конвейера опирают на продольные балки. Затем демонтируют временные подвески конвейера и площадки обслуживания (рис. 5.32в).

4. Устанавливаются стеновые блоки и утепленные щиты, выполняется пол и кровля галереи.

2-ой способ (рис. 5.32д).

Старая галерея сечением 2,1×3,5 м обстраивается металлоконструкциями усиления, образуя новую галерею высотой 3,3 м и шириной 5,0 м.

На первом этапе монтируются новые стальные опоры и фермы пролетных строений. Монтаж ведется с низшей части. Смонтировав фермы их соединяют поперечными балками на уровне нижних поясов Одновременно по верхнему поясу частично устанавливаются крестовые связи для обеспечения устойчивости смонтированных конструкций галерей.

На втором этапе выполняется переопирание действующих конвейеров на смонтированные конструкций новой галереи. Для этого между старой и новой конструкциями поперечных балок галерей нижнего пояса в местах старого опирания конвейеров устанавливается опорная конструкция.

На третьем этапе демонтируются конструкции старой галереи, причем связи по верхним поясам ферм старой галереи демонтируются только после временного прикрепления верхнего пояса указанных ферм к новым конструкциям галерей. Демонтаж конструкций выполняется в направлении от повышенной части галереи к пониженной. Конструкции демонтируются отдельными узлами с учетом возможности их прохождения в проемах между балками покрытия и связями новой галереи. После демонтажа металлоконструкций старых галерей низ новых ферм обшивается листом, затем монтируется стеновое ограждение и кровля из панелей типа "сэндвич".

5.6. Отдельно стоящие опоры и эстакады под технологические трубопроводы.

5.6.1. Усиление поврежденных железобетонных конструкций осуществляется традиционными способами: увеличением поперечного сечения элементов, изменением конструктивной схемы путем подведения дополнительных колонн, подкосов и затяжек, при помощи стальных корсетов. Заменой разрушенных конструкций на новые.

Усиление стальных конструкций производится путем увеличения их сечений за счет приварки элементов в виде полос, уголков, швеллеров или круглых стержней. Обычно при усилении конструкций эстакад применяются методы, при которых не требуется остановка работы эстакады, для чего применяют обстройку поврежденных конструкций.

5.6.2. Усиление железобетонной эстакады под технологические трубопроводы (рис. 5.33).

Дефекты.

В колоннах образование продольных трещин вдоль арматуры раскрытием 0,2 - 7 мм с отслоением в ряде случаев защитного слоя бетона. Коррозия арматуры до 10 %.

В растянутой зоне балок имеется отслоение защитного слоя бетона и коррозия предварительно напряженной арматуры до 33 %. Разрушение железобетонных мостиков из плит и траверс.

Методы исправления.

Устранение повреждений выполняется в колоннах методом торкретирования, в балках пролетного строения - с использованием шпренгельных затяжек.

Работы по усилению колонн опор (рис. 5.33а) выполняют в следующей последовательности: удаляется отслоенный защитный слой и бетон, слабо связанный с арматурой; очищается арматура и бетон от продуктов коррозии, загрязнений и технологических продуктов; увеличивается сечение арматуры на участках ослаблений приваркой дополнительных стержней к существующим; восстанавливается защитный слой бетона; наносятся на конструкции атмосферостойкие покрытия (покрытие на основе хлорсульфинила). Для улучшения сцепления вновь наносимого и существующего бетона используется эпоксидный грунт.

Рис. 5.33. Усиление технологической эстакады под трубопроводы

а - устранение повреждений в колоннах опор; б - устранение повреждений в балках пролетного строения; 1 - существующая колонна; 2 - рабочая арматура; 3 - трещина в бетоне; 4 - продукты коррозии арматуры; 5 - эпоксидная грунтовка; 6 - торкретбетон; 7 - участок повреждения с полной коррозией отдельных арматурных стержней; 8 - отслоение защитного слоя бетона; 9 - опорный анкер; 10 - закладная деталь; 11 - тяж; 12 - прокладки-коротыши; 13 - натяжной болт.

Усиление балок пролетных строений с помощью шпренгельных затяжек выполняется после заделки повреждений в бетоне, которые проводятся аналогично технологии устранения повреждений в колоннах. Шпренгельные затяжки (рис. 5.33б) изготовляются из арматурной стали класса А-III диаметром 16 - 30 мм в зависимости от степени ослабления рабочих стержней коррозией. На опорах они привариваются к анкерам, выполненным из двух сваренных швеллеров, которые в свою очередь крепятся к существующей закладной детали или продольной арматуре в сжатой зоне балки. Натяжение шпренгелей осуществляется с помощью стяжного болта.

Поврежденные плиты мостиков заменяются новыми, поврежденные железобетонные траверсы заменяются стальными.

5.7. Открытые крановые эстакады,

5.7.1. Главными дефектами эстакад являются повышенные горизонтальные и вертикальные перемещения, их подкрановых конструкций, повреждения креплений подкрановых балок к колоннам.

5.7.2. Усиление железобетонных подкрановых балок (рис. 5.34).

Дефекты

Снижение несущей способности и жесткости подкрановых балок, повреждения свесов балок.

Рис. 5.34. Усиление железобетонных подкрановых балок обоймой из уголков со шпренгелем

1 - колонна; 2 - усиливаемая балка; 3 - шпренгель; 4 - уголки обоймы; 5 - коротыши; 6 - высокопрочные болты.

Метод исправления.

Для усиления подкрановых балок используется металлическая обойма из уголков (4) и шпренгеля (3). Уголки устанавливаются на балку на растворе и скрепляются с коротышами (5) высокопрочными болтами (6).

5.7.3. Усиление свесов полок железобетонных тавровых подкрановых балок (рис. 5.35).

Дефекты

Снижение несущей способности и жесткости подкрановых балок вследствие различных повреждений свесов полки.

Метод исправления.

При незначительных повреждениях свесов полки подкрановых балок (рис. 5.35а) их усиление производится установкой окаймляющих уголков (3) на высокопрочных болтах (4). Пространство между уголками и остатками полки после предварительной промывки заполняется пластичным бетоном на мелком заполнителе (5), причем уголки усиления служат в качестве несъемной опалубки.

При значительных повреждениях всей полки подкрановых балок (рис. 5.35б) усиление их производится металлической полкой с ребрами жесткости (6). При установке металлическая полка должна, быть притянута тяжами (9) из круглой арматурной стали, закрепленными в нижней части балок к прокладке (7). Прокладка состоит из двух уголков, связанных между собой планками (8). Вверху металлической полки предусматривается специальное отверстие (10) для инъектирования бетонной смеси.

5.7,4. Усиление креплений подкрановой балки к колонне (рис. 5.36).

Рис. 5.35. Усиление свесов полки железобетонных подкрановых балок

а - при незначительных повреждениях; б - при полном разрушении; 1 - усиливаемая балка; 2 - упорная пластина; 3 - уголки усиления; 4 - высокопрочные болты; 5 - пластичный бетон; 6 - металлическая полка усиления; 7 - прокладка из уголков; 8 - соединительная планка; 9 - тяжи; 10 - отверстие для инъектирования бетонной смеси.

Рис. 5.36. Усиление крепления подкрановой балки к колонне

а - приваркой к металлической обойме полки; б - приваркой к закладным деталям балки; 1 - подкрановая балка; 2 - колонна; 3 - обойма колонны; 4 - обойма полки балки; 5 - стяжной болт; 6 - лист крепления; 7 - существующая закладная деталь балки.

Дефект

Расстройство крепления подкрановой балки.

Методы исправления.

Усиление крепления подкрановых балок к колонне производится путем приварки через листы (6) к металлической обойме (3) колонны (рис. 5,36а). На рис. 5.36б показано усиление крепления подкрановой балки к колонне приваркой к закладным деталям балки.

5.7.5. Усиление крепления подкрановой балки к колонне (рис. 5.37).

Дефекты

Расстройство крановых путей, повреждение крепления балки к колонне.

Методы исправления.

Для усиления крепления подкрановых балок к колоннам рекомендуется крепить балки пластинками на сварке (7) к уширенной закладной детали (8). Закладная деталь прижимается к колонне металлическим хомутом на шайбах (13). Предварительно необходимо выверить и установить подкрановые балки посредством выравнивающих подкладок (9). Вокруг колонны устанавливается дополнительный хомут специальной конструкции, который прижимает пластинку уширения закладной детали (8). Пластинки привариваются к закладным деталям балок (5), (6) и к уширению закладной детали на колонне (8). Такое усиление требуется в случаях, когда верх выравниваемой балки становится значительно выше существующей в колонне закладной детали.

5.8. Дымовые трубы

5.8.1. Ремонт кирпичных труб сводится к заделке трещин цементным раствором и установлению новых стяжных колец.

Рис. 5.37. Усиление крепления подкрановой балки к колонне

1 - существующая подкрановая балка; 2 - колонна; 3, 4 - существующие закладные детали колонны; 5, 6 - существующие закладные детали подкрановой балки; 7 - пластина крепления; 8 - новая уширенная закладная деталь; 9 - выравнивающие подкладки; 10 - соединительная планка; 12 - ребра жесткости из уголков; 13 - шайба

При значительных трещинах производится усиление кирпичных труб с помощью наружной железобетонной обоймы или перекладка части трубы. Ремонт стальных труб осуществляют заваркой поврежденных мест ствола трубы. При большом коррозионном износе труб производят замену всей трубы или ее части на новую.

Усиление железобетонных труб производят с помощью устройства наружной или внутренней железобетонной обоймы.

Ремонт футеровки осуществляется путем замены разрушенной части кладки новой футеровкой.

5.8.2. Ремонт кирпичной дымовой трубы (рис. 5.38).

Дефекты

Сильная коррозия стяжных колец, трещины в верхней части трубы.

Метод исправления.

Обнаруженные трещины в кирпичной кладке заделываются цементным раствором и на них устанавливают стяжные стальные кольца. Разрушенные коррозией стальные кольца удаляют и на них устанавливают новые.

Работу по установке колец целесообразно выполнять с помощью переставных кронштейнов. Стяжные кольца изготовляют из четырех звеньев, из которых три являются основными, а четвертое дополнительным. Дополнительное звено кольца рассчитывается таким образом, чтобы оно соответствовало размеру сокращения при стягивании стяжных замков. Переставные кронштейны устанавливают непосредственно на обрез ствола трубы по периметру с шагом не более 700 мм и объединяют сплошным кольцевым настилом.

5.9. Градирни

Ремонт водосборного бассейна градирни заключается в восстановлении гидроизоляции разрушенных участков и защитного слоя бетона с помощью торкретирования.

Рис. 5.38. Усиление трубы с помощью стяжных колец

1 - основное звено; 2 - дополнительное звено; 3 - стягивающий замок; 4 - скобы для крепления кронштейнов; 5 - уголок 75×75×8 мм; 6 - шпилька М24, длиной 300 мм.

Ремонт башни градирни заключается в замене обшивки и антикоррозионной защите стальных конструкций каркаса.

Ремонт железобетонных оболочек градирен осуществляется их торкретированием. Работы выполняют с самоподъемных люлек. Поверхность оболочки разбивают на карты шириной до 5 м каждая. Работы ведут сверху вниз. До нанесения торкретного слоя бетонные поверхности очищают от старого покрытия. Места с недостаточно шероховатой поверхностью насекают для надежного сцепления. Насечку выполняют штрихами (не менее 300 на 1 м2) глубиной 3 - 5 мм через 5 - 7 см. При нанесении раствора на вертикальные поверхности толщина слоя торкрета не должна превышать 15; мм (общая толщина двух слоев 25 - 30 мм). При торкретировании днища наносится проектный слой 40 мм, Выравнивание или затирку торкрета производят после затвердения, путем нанесения и обработки верхнего затирочного слоя.

Наружную поверхность оболочки градирни оштукатуривают. Перед нанесением штукатурки удаляют слабый разрушенный бетон и старую штукатурку. Раствор наносят в один слой растворонасосом и разравнивают терками.

6. ОСОБЕННОСТИ РАСЧЕТА СТРОИТЕЛЬНЫХ КОНСТРУКЦИЙ ПРИ УСИЛЕНИИ.

6.1. Поверочные расчеты существующих конструкций должны производятся при изменении действующих на них нагрузок, объемно-планировочных решений и условий эксплуатации, а также при обнаружении дефектов и повреждений в конструкциях с целью установления возможности дальнейшей эксплуатации конструкций без каких-либо ограничений; необходимости усиления конструкций; возможности ограничений эксплуатации конструкций до плановых ремонтно-восстановительных работ; необходимости немедленного прекращения эксплуатации в аварийной ситуации.

6.2. Усиление конструкций следует предусматривать в тех случаях, когда существующие конструкции не удовлетворяют поверочным расчетам по несущей способности или требованиям нормальной эксплуатации. Не следует усиливать существующие конструкции, если: их фактические прогибы превышают предельные значения, но не препятствуют нормальной эксплуатации; имеются отступления от конструктивных требований, но конструкция эксплуатировалась длительное время, а ее обследование не выявило повреждений, вызванных этими отступлениями.

6.3. Поверочные расчеты существующих и усиливаемых конструкций должны производиться по данным проектных материалов, сведений по возведению этих конструкций и их натурных обследований на основании действующих в настоящее время разделов СНиП.

6.4. На основании данных натурных обследований должны быть установлены: геометрические размеры сечения конструкции; армирование железобетонных конструкций, прогибы, ширина раскрытия трещин, дефекты и повреждения; действующая нагрузка, фактическая расчетная схема, прочностные характеристики материалов конструкции.

6.5. Расчетная схема конструкции принимается с учетом особенностей их действительной работы, в том числе с учетом фактических отклонений геометрической формы, размеров сечений, условий закрепления и выполнения узлов сопряжения элементов.

6.6. При проектировании усиливаемых конструкций следует, как правило, предусматривать, чтобы нагрузка во время усиления не превышала 65 % расчетной величины. При сложности или невозможности достижения требуемой степени разгрузки допускается выполнять усиление под большей нагрузкой. В этом случае расчетные характеристики материалов усиления умножаются на коэффициент условий работы γС = 0,8. В любом случае степень разгрузки конструкций должна выбираться из условия обеспечения безопасного ведения работ.

6.7. Оценку несущей способности конструкции следует, как правило, осуществлять по тому ее участку, на котором имеется наибольшее повреждение или дефект.

Для конструкций, не имеющих дефектов и повреждений, расчет допускается ограничивать сопоставлением значений внутренних усилий, приведенных в первоначальной технической документации с действующими усилиями от внешних нагрузок.

6.8. Учет дефектов и повреждений производится путем уменьшения вводимой в расчет площади рабочего сечения элемента, а также учета влияния дефекта или повреждения на прочностные и деформативные характеристики (увеличение эксцентриситета продольной силы, наличие трещин в каменной кладке, уменьшение сцепления арматуры с бетоном за счет промасливания, пережог существующей арматуры при сварке вследствие приварки дополнительной арматуры при производстве работ и т.п.).

6.9. Расчет усиливаемых конструкций должен производиться для двух стадий работы: до включения в работу элементов усиления - на нагрузки, включающие нагрузку от элементов усиления (только для предельных состояний первой группы); после включения в работу элементов усиления - на полные эксплуатационные нагрузки.

Расчет по предельным состояниям второй группы может не производиться, если эксплуатационные нагрузки не увеличиваются, жесткость и трещиностойкость конструкций удовлетворяет требованиям эксплуатации, а усиление является следствием наличия дефектов и повреждений.

6.10. При проектировании усиления конструкций путем наращивания сечения следует обеспечивать включение в работу элементов усилений путем совместной их работы с усиливаемой конструкцией.

6.11. При расчете элементов конструкций, усиленных путем увеличения сечения, следует, как правило, учитывать разные расчетные сопротивления материала существующей конструкции и усиления. Допускается принимать одно расчетное сопротивление, равное меньшему из них, если они отличаются не более чем на 15 %.

6.12. При выполнении поверочных расчетов при отсутствии повреждений конструкций расчетные сопротивления материалов устанавливаются путем деления их нормативных сопротивлений на основе данных сертификатов и исполнительной документации на коэффициенты надежности по материалам, приведенные в соответствующих разделах СНиП.

6.13. В случае отсутствия сертификатов и исполнительной документации или наличия повреждений в конструкциях, которые могли быть вызваны низким качеством материалов, величина нормативного сопротивления материала конструкции устанавливается на основе испытаний образцов материалов конструкций на основе статистической обработки данных не менее чем 10 образцов по формуле

6.1

где Rп - нормативное сопротивление материала;

 - среднее арифметическое значение предела текучести или временного сопротивления испытанных образцов;

 - коэффициент учитывающий объем выборки;

 - среднее квадратичное отклонение результатов испытаний;

σi - предел текучести или временное сопротивление i-го образца;

n - число испытанных образцов (не менее 10).

Допускается также применение других методов определения характеристик материалов, изложенных в п.п. 6.14 - 6.18.

6.14. Расчетные характеристики бетона определяются в зависимости от условного класса бетона по прочности на сжатие существующих конструкций.

При выполнении поверочных расчетов по результатам натурных обследований значение условного класса бетона по прочности на сжатие определяется на основании средней фактической кубиковой прочности на сжатие, полученной на основании испытаний неразрушающими методами или испытаний отобранных от конструкций образцов. При этом значение условного класса бетона по прочности на сжатие принимается равным 80 % кубиковой прочности для тяжелого, мелкозернистого и легкого бетонов.

6.15. При выполнении поверочных расчетов по данным испытаний образцов арматуры, отобранных от обследованных конструкций, нормативные сопротивления арматуры допускается принимать равными средним значениям предела текучести (или условного предела текучести), полученным испытанием образцов арматуры, отобранных от конструкции, и деленным на коэффициенты:

1.1 - для арматуры классов A-I, А-II, А-III, A-IIIВ, А-IV;

1.2 - для арматуры других классов.

Расчетные сопротивления арматуры растяжению определяются путем деления нормативного сопротивления на коэффициент надежности по арматуре, принимаемый равным для расчета по предельным состояниям первой группы 1,15 - для арматуры классов A-I, А-II, А-III и 1,25 - для стержневой арматуры классов А-IV, А-V, А-VI и проволочной арматуры B-I, В-II, Вр-II, К-7 и K-19.

6.16. Расчетные сопротивления арматуры на растяжение RS при отсутствии проектных данных и невозможности отбора образцов допускается назначать в зависимости от профиля арматуры:

для гладкой арматуры RS = 155 МПа;

для арматуры периодического профиля

- имеющего выступы с одинаковым заходом на обеих сторонах профиля "винт" RS = 245 МПа;

- имеющего выступы с одной стороны правый, а с другой левый заходы "елочка" RS = 295 МПа.

При этом значения расчетных сопротивлений сжатой арматуры принимается равной RS, а величина расчетных сопротивлений поперечной арматуры RS - равной 0,8 RS.

6.17. При проведении испытаний образцов для определения свойств стали отдельных элементов стальной конструкции в качестве нормативного сопротивления в рассматриваемом элементе допускается принимать минимальное значение предела текучести или временного сопротивления, полученное при испытаниях не менее двух образцов, отобранных из этих элементов.

Расчетное сопротивление стали определяется по п. 6.12. Коэффициент надежности по материалу следует принимать:

для конструкций, изготовленных до 1932 г. и сталей, у которых полученное при испытаниях значение предела текучести ниже 215 МПа - γт = 1,2;

для конструкций, изготовленных в период с 1932 г. по 1982 г. - γт = 1,1 для сталей с пределом текучести ниже 380 МПа;

для конструкций, изготовленных после 1982 г. - по табл. 2 СНиП II-23-81*.

6.18. Расчетное сопротивление кладки определяется по марке кирпича и раствора. Марка глиняного обыкновенного, пустотелого и силикатного кирпича определяется по результатам испытаний образцов как средняя величина прочности образцов на сжатие, выраженная в кгс/см2, изготовленных из половинок кирпича и склеенных гипсовым тестом. Допускается определять прочность кирпича при сжатии на образцах-цилиндрах диаметром и высотой около 50 мм, высверливаемых из кирпича кладки с помощью электродрели со специальной коронкой.

Прочность раствора кладки определяется испытанием на сжатие кубов с ребрами 3 - 4 см, изготовленных из двух пластинок раствора, отобранных из горизонтальных швов кладки и склеенных гипсовым тестом. Марка раствора определяется как средний результат испытаний в кгс/см2 пяти кубов, умноженный на коэффициент 0,7.

6.19. Класс бетона усиления по прочности на сжатие для железобетонных конструкций следует принимать равным классу бетона усиливаемых конструкций.

6.20. Железобетонные изгибаемые и внецентренно сжатые элементы, усиливаемые бетоном и железобетоном рассчитываются как элементы сплошного сечения при условии соблюдения конструктивных требований по обеспечению совместной работы старого и нового бетона (очистка бетонной поверхности и ее насечка, приварка усиливаемой арматуры для анкеровки к существующей арматуре и пр.).

6.21. При усилении железобетонных конструкций обоймами, шаг хомутов следует принимать равным не более 15-ти кратного диаметра продольной арматуры и не более 200 мм. Около опорной части железобетонных обойм хомуты устанавливаются с шагом, уменьшенным вдвое; стальные обоймы должны иметь опорные башмаки из уголков или швеллеров, подчеканиваемые жестким раствором. При устройстве местного усиления только на длине поврежденного участка усиление необходимо распространить на неповрежденные части, на длину не менее 500 мм и не менее пяти толщин бетона усиления и длины анкеровки продольной арматуры усиления.

6.22. При расчетах железобетонных конструкций необходимо учитывать возможность повреждения стержней поджогом при сварке и поэтому сечение старой арматуры принимается ослабленным на 25 %.

6.23. Несущая способность неармированной и армированной кладки с учетом существующих повреждений следует определять в соответствии с указаниями главы СНиП II-22-81 путем умножения величины несущей способности кладка без учета повреждений на коэффициент условий работы γK. Значение γK принимается по таблице 6.1.

Таблица 6.1.

Значение коэффициента условий работы поврежденной кладки γK

п.п.

Характер повреждения

Коэффициент γK при кладке

Неармированной

армированной

1

2

3

4

 

При повреждении кладки столбов и простенков

 

1.

Трещины в отдельных кирпичах, не пересекающие растворные швы

1

1

2.

Волосяные трещины, пересекающие не более двух рядов кладки (длиной 15 - 18 см)

0,9

1

3.

То же, при пересечении не более четырех рядов кладки (длиной до 30 - 35 см) при числе трещин не более четырех на 1 м ширины (толщины) стены, столба, простенка

0,75

0,9

4.

Трещины с раскрытием до 2 мм, пересекающие не более восьми рядов кладки (длиной до 60 - 65 см) при числе трещин не более четырех на 1 м ширины (толщины) столба, простенка

0,15

0,7

5.

То же, при пересечении более восьми рядов (длиной более 65 см)

0

0,5

 

При повреждении кладки опор

 

1

Местное (краевое) повреждение кладки на глубину до 2 см (мелкие трещины, отслоение в виде лещадок и образование вертикальных трещин по концам опор (или опорных подушек) балок, ферм и перемычек, пересекающих не более двух рядов кладки (длиной до 15 - 18 см)

0,75

0,9

2

То же, при пересечении трещинами не более четырех рядов кладки (длиной до 30-35 см)

0,5

0,75

3

Краевые повреждения кладки на глубину более 2 см и образование вертикальных и косых трещин по концам и под опорами (опорными подушками) балок и ферм, пересекающих более четырех рядов кладки (длиной более 30 см)

0

0,5

6.24. При отклонении от вертикали или при выпучивании каменных стен в пределах этажа на величину до 1/3 толщины стены их несущая способность определяется с учетом фактических эксцентриситетов от вышележащей нагрузки. При большем отклонении или выпучивании стены, столбы и перегородки подлежат разборке и обязательному усилению.

6.25. При образовании вертикальных трещин в местах пересечения каменных стен или при разрыве поперечных связей между стенами, колоннами и перекрытиями каркаса несущая способность стен определяется с учетом фактической свободной высоты стены между точками сохранившихся закреплений (связей).

7. ОБЩИЕ РЕКОМЕНДАЦИИ ПО РЕМОНТУ И УСИЛЕНИЮ КОНСТРУКЦИЙ ИНЖЕНЕРНЫХ СООРУЖЕНИЙ

7.1. Железобетонные резервуары и технологические емкости (аэротенки, отстойники и т.п.).

7.1.1. К наиболее частым повреждениям резервуаров и емкостных сооружений относятся: протечки (в стыках сопряжения сборных железобетонных плит с монолитным днищем, в вертикальных стыках соединения сборных панелей стен, в стенах, днищах при некачественном выполнении бетонных работ); коррозия арматуры вследствие длительной эксплуатации емкостных сооружений в агрессивной среде; коррозия предварительно напряженной арматуры вследствие нарушения защитного слоя бетона; трещины.

7.1.2. Местные протечки следует устранять путем удаления дефектно выполненного бетона и замены его новым, а также с помощью инъектирования цементной смесью (см. п. 5.1.2).

7.1.3. В случае проникновения грунтовых вод вовнутрь резервуара, следует производить инъектирование наружной поверхности резервуара цементным раствором (см. п. 5.1.3).

7.1.4. При наличии большого количества повреждений и дефектов (протечки, трещины, коррозия арматуры и др.) следует выполнять устройство дополнительного защитного слоя из торкретбетона или железобетонной рубашки с внутренней поверхности стен (см. п. 5.1.4).

7.1.5. Усиление круглых сооружений при образовании недопустимых трещин в стенах вследствие длительной эксплуатации сооружения рекомендуется осуществлять намоткой на наружную поверхность преднапряженной высокопрочной арматуры с последующим ее торкретированием.

7.1.6. Дефектные участки наружного торкретного покрытия кольцевой предварительно напряженной арматуры, не имеющей сцепления с арматурой или подвергшиеся глубокой карбонизации, должны быть удалены и заменены новым торкретным покрытием толщиной не менее 30 мм.

7.2. Стальные резервуары

7.2.1. Наиболее частыми повреждениями стальных резервуаров являются: коррозия стен, днища и покрытия; трещины в основном металле и сварных швах; недопустимые осадки и крены.

7.2.2. В случае коррозии стен, днища и покрытия резервуара, производят вырезку дефектных мест с последующей приваркой новых элементов взамен удаленных (см. п.п. 5.2.4, 5.2.5, 5.2.8).

7.2.3. В ряде случаев усиление эксплуатируемых резервуаров допускается выполнять с помощью стальных бандажей. Необходимое число колец определяется расчетом.

7.2.4. Трещины в корпусе резервуара следует устранять путем их рассверловки с последующей, заваркой и постановки накладки или удаления дефектной части резервуара с заменой новым материалом (см. п.п. 5.2.6, 5.2.7).

7.2.5. Недопустимые осадки и крены резервуара рекомендуется устранять с помощью подъема резервуара домкратами и подбивкой под днище грунтового основания в заданном месте с последующим трамбованием основания и опусканием резервуара на новое основание (см. п. 5.2.2).

7.3. Железобетонные силосы и бункеры

7.3.1. Основными повреждениями силосов и бункеров являются: кольцевые и радиальные трещины в бетоне стен, коррозия арматуры бетона, недостаточная несущая способность стен силосов и бункеров.

7.3.2. Усиление стен силосов и бункеров следует осуществлять с помощью железобетонных или стальных обойм, взращиваемых с наружной стороны силоса.

Допускается усиление стен силосов также с помощью железобетонных или стальных гильз, наращиваемых с внутренней стороны силоса (см. п.п. 5.3.3, 5.3.4)

7.3.3. При усилении подсилосных перекрытий следует использовать наращивание его железобетонного сечения сверху.

7.3.4. Отдельные местные повреждения стен силосов в результате коррозии арматуры и бетона допускается усиливать с помощью стальных бандажей в виде полос, предварительно забетонировав поврежденное место стены силоса (см. п.п. 5.3.5, 5.3.6).

7.4. Железобетонные подпорные стены, каналы, тоннели

7.4.1. Основными повреждениями подпорных стен являются: значительные деформации сдвига и крен стены, недостаточная несущая способность стены и фундамента, разрушение бетона поверхности стен от коррозии и размораживания.

7.4.2. Усиление подпорной стены против сдвига рекомендуется осуществлять путем забивки свай перед передним краем фундамента с последующим объединением их железобетонным ростверком (рис. 5.28б) или устройства металлического шпунта.

7.4.3. Для предотвращения опрокидывания стены следует предусматривать усиление стены с помощью анкеров и стальных тяжей. В качестве анкеров рекомендуется применять железобетонные сваи или плиты, установленные за призмой обрушения грунта. По верху анкерных свай устраивается железобетонный ростверк, в который заделывают концы стальных тяжей. Другие концы тяжей закрепляются в обвязочный брус, устанавливаемый поверху усиливаемой подпорной стены. При этом должна быть проверена прочность стены с учетом изменения ее расчетной схемы.

7.4.4. Усиление прочности стены и фундаментов осуществляют способом наращивания сечения с наружной или внутренней стороны подпорной стены (в последнем случае требуется проведение земляных работ) с соединением арматуры существующих подпорных стен с арматурой усиления стены. Допускается производить усиление стены с помощью устройства контрфорсов. При этом следует обеспечить приварку арматуры контрфорса к существующей арматуре стены и фундамента.

7.4.5. Разрушенную поверхность бетона стен следует ремонтировать способом торкретирования бетонной смесью по металлической сетке.

7.4.6. Основными дефектами тоннелей и каналов являются: протечки грунтовых вод через стены и перекрытия, разрушение бетона перекрытия от периодического замораживания и оттаивания, коррозия арматуры и бетона и недостаточная несущая способность вследствие длительной эксплуатации.

7.4.7. Протечки в тоннелях и каналах рекомендуется устранять путем замены и восстановления гидроизоляционного слоя по внешней поверхности конструкций. В стесненных условиях, когда невозможно отрытие котлована, допускается устранение протечек осуществлять с помощью инъектирования цементного раствора за стенку сооружения через просверливаемые отверстия.

7.4.8. При разрушении конструкций перекрытий из сборного железобетона их следует заменять на новые конструкции.

Монолитные железобетонные перекрытия следует усиливать по рекомендациям, приведенным в разделе 4.2.

7.4.9. Ремонт железобетонных конструкций тоннелей от коррозии осуществляется путем устройства железобетонных рубашек с внутренней или внешней стороны.

7.5. Конвейерные галереи

7.5.1. Основными дефектами конвейерных галерей являются коррозия стальных пролетных строений и опор, деформации опор в результате повреждений транспортными средствами, недостаточная несущая способность существующих пролетных строений при увеличении нагрузок при реконструкции.

7.5.2. Ремонт отдельных повреждений стальных элементов конструкций устраняют в соответствии с рекомендациями, изложенными в п.5.5.2,

7.6. Отдельно стоящие опоры и эстакады под технологические трубопроводы

7.6.1. Основными повреждениями эстакад являются: коррозия бетона, арматуры и стальных несущих конструкций, повреждение опор транспортными средствами.

7.6.2. Усиление поврежденных железобетонных конструкций следует осуществлять традиционными способами: увеличением поперечного сечения элементов, изменением конструктивной схемы путем подведения дополнительных колонн или подкосов, при помощи стальных корсетов, заменой разрушенных конструкций новыми.

7.6.3. Усиление стальных конструкций следует производить путем увеличения их сечений за счет приварки элементов в виде полос, уголков, швеллеров. При усилении конструкций эстакад следует применять методы, при которых не требуется остановка технологического процесса.

7.7. Открытые крановые эстакады

7.7.1. Основными дефектами эстакад являются повышенные горизонтальные перемещения их конструкций при движении крана, повреждения подкрановых балок и их креплений к колоннам.

7.7.2. Усиление и ремонт подкрановых балок следует производить с помощью наращивания сечения или шпренгелей (см. рис. 5.34, 5.35).

Для приведения подкрановых путей в рабочее состояние следует производить рихтовку путей.

7.8. Дымовые трубы

7.8.1. Основными повреждениями дымовых труб являются трещины и разрушения бетона или кирпичной кладки, разрушение футеровки трубы от коррозии, прожиг стенок стальных труб.

7.8.2. Ремонт кирпичных труб следует осуществлять с помощью заделки трещин раствором и установкой стяжных (бандажных) колец (рис. 4.41). В случаях, если бандажные кольца не позволяют ликвидировать дефект, рекомендуется усиление производить с помощью устройства железобетонной рубашки с наружной стороны трубы.

7.8.3. Ремонт стальных труб следует осуществлять путем заварки поврежденных мест ствола трубы. При большом коррозионном износе труб следует производить замену дефектной части трубы с постановкой в необходимых случаях дополнительных растяжек.

7.8.4. Усиление железобетонных труб со значительными дефектами должно производиться с помощью устройства наружной железобетонной обоймы. При мелких повреждениях ремонт труб осуществляется по правилам усиления железобетонных конструкций (см. раздел 4.2).

7.8.5. Ремонт футеровки трубы рекомендуется осуществлять путем замены разрушенной части кладки на новую.

7.9. Градирни

7.9.1. Основными повреждениями градирен являются: разрушение бетона и коррозия арматуры оболочки, опорной колоннады и водосборного бассейна, коррозия стальных конструкций и закладных деталей.

7.9.2. Ремонт водосборного бассейна, башни и опорной колоннады должен осуществляться путем устройства защитного слоя бетона, наносимого способом торкретирования с предварительным проведением необходимых подготовительных работ, согласно рекомендациям, изложенным в разделе 4.9.

7.9.3. Ремонт стальных конструкций градирен следует осуществлять путем усиления их приваркой дополнительных элементов (см. раздел 4.1) с последующим восстановлением антикоррозионной защиты.

8. ПРИМЕРЫ РАСЧЕТОВ СТРОИТЕЛЬНЫХ КОНСТРУКЦИЙ ПРИ УСИЛЕНИИ

Пример 1.

Требуется рассчитать необходимое усиление сварных швов соединения. Усиление осуществляется путем увеличения длины сварных швов (рис. 8.1а). Материал конструкции - сталь марки Вст3пс6. Электроды марки Э42. Сварка ручная. Действующее усилие на стык N = 350 кН.

Решение.

Усиление выполняется путем наварки дополнительных лобовых швов l2

Расчетное сопротивление углового шва срезу по металлу шва Rwf = 180 МПа = 18 кН/см2.

Коэффициент условий работы γC = 1.

При ручной сварке βf = 0,7; γwf = 1 (см. СНиII II-23-81),

Принимаем длину лобового шва, равной длине стыковой накладки l2 - 20 см.

Расчетная длина лобового шва lw2 - l2 - 1= 20 - 1 = 19 см.

Длина одного флангового шва l1 = 17 см.

Расчетная длина одного флангового шва lw1 = l1 - 1 = 17 - 1 = 16 см.

Катеты существующих фланговых швов Kf = 0,6 см

Определяем значение продольной силы, воспринимаемой всеми существующими фланговыми сварными швами

N1 = Rwf·γwf·γC·βf·KfΣlw1= 18×1×1×0,7×0,6×16×2 = 242 кН < N = 350 кН, т.е. несущая способность сварного соединения недостаточна.

Усилие, приходящееся на дополнительный лобовой шов усиления составит:

N2 = N - N1 = 350 - 242 = 108 кН

Требуемый катет дополнительного лобового сварного шва равен

По конструктивным требованиям толщина сварного шва при наибольшей толщине свариваемых элементов 10 мм не может быть меньше 5 мм. Окончательно принимаем лобовые сварные швы толщиной 5 мм.

Пример 2.

Рассчитать необходимое усиление сварных швов прикрепления элемента, тлеющего сечение в виде двух спаренных уголков размером 75×75×6 мм. Существующие сварные швы выполнены длиной 190 мм, имеют катеты, равные 4 мм.

Материал конструкции - сталь марки Вст3пс6. Электроды Э42. Сварка ручная. Усилие в стержне на момент усиления N = 350 кН. Усиление произвести за счет увеличения толщины сварных швов (рис. 8.1б).

Решение.

Согласно СНиП II-23-81 имеем:

расчетное сопротивление углового шва срезу по металлу шва Rwf = 18 кН/см2;

коэффициент условий работы γC = 1;

При ручной сварке γwf = 1; βf = 0,7.

Длина швов сварных по обушку и перу l0 = lп = 19 см

Определим расчетные длины сварных швов по обушку и перу.

lw0 = lwn = l - 1 = 19 - 1 = 18 см

Усилия, приходящиеся соответственно на сварные швы по перу и обушку для двух уголков, равны:

N0 = 0,7×N = 0,7×350 = 245 кН;

Nn = 0,3×N = 0,3×350 = 105 кН.

Определяем необходимый катет сварного шва по перу и обушку

Оставляем принятую первоначальную толщину сварного шва по перу, равную 4 мм.

Толщина сварного шва по обушку с учетом округления должна быть равна 6 мм.

Таким образом, усиление сварного шва выполняется увеличением толщины, существующего шва по обушку путем наплавки дополнительного металла толщиной, равной 6 - 4 = 2 мм.

Пример 3.

Изгибаемый элемент из прокатного двутавра 40Б1 по ТУ 14-2-24-72 в результате длительной эксплуатации получил равномерную коррозию (рис. 8.2а) с уменьшением толщины стенки полок на 1 мм (по 0,5 мм с каждой стороны). Материал конструкции - сталь марки Вст3кп2. Требуется рассчитать усиление для восстановительного ремонта элемента.

Решение.

Расчетное сопротивление стали марки Вст3кп2 Ry = 22,5 кН/см2; коэффициент условий работы γС = 1.

Рис. 8.1. К расчету усиления сварных швов

а - усиление сварных швов путем увеличения их длины; б - то же, путем увеличения их толщины;

1 - фланговые (существующие) сварные швы; 2 - лобовые сварные швы усиления; 3 - обушок; 4 - перо; 5 - усиленный сварной шов; 6 - первоначальный шов

Рис. 8.2. К расчету усиления стальной балки и колонны

а - первоначальное сечение балки; б - приведенное сечение балки с учетом коррозии; в - усиленное сечение балки; г - к расчету колонны; 1 - уголки усиления (4L 50×50×5); 2 - листы усиления (160×8 мм).

Для двутавра 40Б1 по сортаменту следующие геометрические характеристики: момент инерции относительно оси JХ = 15810 см4; момент сопротивления относительно оси WХ = 799 см3

Определяем первоначальную несущую способность изгибаемого элемента. Расчетный изгибающий момент, воспринимаемый сечением (рис. 8.2а) равен:

МХ = WX·Ry·γC = 799×22,5×1 = 17980 кН·см = 179,8 кН·м

Усиление сечения изгибаемого элемента осуществляем путем приварки к нему сплошными сварными швами катетом 4 мм четырех уголков 50×50×5 (рис. 8.2в).

Площадь сечения уголка Fуг = 4,80 см2;

Момент инерции Jx.уг = 11,2 см4; расстояние до центра тяжести Z0 = 1,42 см.

Для вычисления геометрических характеристик прокорродированного сечения двутавра заменяем его приведенным сечением, показанным на рис. 8.2б.

Определим геометрические характеристики приведенного сечения. Момент инерции приведенного сечения относительно оси X равен:

Момент сопротивления приведенного сечения относительно оси X равен:

В результате коррозии произошло уменьшение момента сопротивления на

Вычисляем момент инерции, усиленного сечения относительно оси X:

Jx = Jх прив + 4Jх уг + 4Fх уг·α2 = 13269 + 4×11,2 + 4×4,80(1,42 + 13,81)2 = 17767 см4

Момент сопротивления усиленного сечения равен

Делаем проверку усиленного сечения

 = 17980 = 19,92 кН/см2RyγC = 22,5×1 = 22,5 кН/см2

Следовательно, прочность сечения обеспечена и отвечает первоначальной прочности, принятой по проекту.

Пример 4.

Требуется рассчитать необходимое усиление центрально сжатого элемента из прокатного двутавра (рис. 8.2г). Элемент изготовлен из двутавра 26Б1 по ТУ 14-2-24-72. Материал конструкции - сталь марки Вст3кп2. Электроды марки Э42. На элемент действует расчетная продольная сжимающая сила N = 800 кН, что превышает проектное значение этой силы. Высота колонн Н = 3 м.

Решение.

Усиление выполняем путем приварки к существующему сечению двутавра 26Б1 двух полос сечением 8×160 мм из стали марки Вст3кп2. Приварка полос осуществляется к полкам двутавра сплошным угловым сварным швом катетом 5 мм.

По сортаменту имеем основные геометрические размеры и характеристики существующего сечения двутавра 26Б1:

площадь сечения А = 35,3 см;

момент инерции относительно осей X и У равны соответственно JX = 4020 см4; Jу = 246 см4.

По СНиП II-23-81 расчетное сопротивление для прокатной стали Вст3кп2 Ry = 225 МПа, коэффициент условий работы γC = 1.

Определяем полную площадь сечения колонны из прокатного двутавра 26Б1 после усиления

А = 35,3 + 2×16×0,8 = 60,9 см2

Вычисляем моменты инерции для усиленного сечения колонны относительно осей X и У:

JX = JX сущ + JX усил. = 4020 + 2×0,8×16= 8534,78 см4;

Jy = Jy сущ + Jy усил. = 246 + 2 = 792,13 см4;

Радиусы инерции усиленного сечения колонн соответственно для осей X и У равны:

Расчетная длина колонны равна

lx = ly = Н = 3 м.

Определяем гибкость усиленного сечения колонны относительно осей X и У

По наибольшей гибкости (по интерполяции) по СНиП II-23-81* находим значение коэффициента продольного изгиба.

При λy = 83,1; φ = 0,664.

Проверку устойчивости колонны с усиленным сечением производим по формуле:

 кН/см2 < 22,5×1 = 22,5 кН/см2

Следовательно, несущая способность колонны обеспечена.

Пример 5.

Требуется выполнить усиление центрально нагруженного кирпичного столба высотой Н = 3 м и сечением в×h = 51×51 см (рис. 8.3). Столб выполнен из глиняного кирпича пластического прессования марки 100 на цементном растворе марки 25, представляет собой свободно стоящую конструкцию, на которую передается продольная сила от расчетных нагрузок N = 350 кН. В кладке кирпичного столба в процессе эксплуатации возникли трещины с раскрытием до 2 мм и пересекающие не более восьми рядов.

Решение.

Определяем несущую способность существующей кладки.

Расчетная высота столба для принятой схемы опирания равна lQ = 2Н = 2×3 = 6 м.

Гибкость столба в плоскости сечения равна

По таблицам 15 и 18 СНиП II-22-81 находим упругую характеристику заданной кладки α = 1000 и коэффициент продольного изгиба φ = 0,845.

Рис. 8.3. К расчету усиления кирпичного столба стальной обоймой

1 - кирпичная кладка; 2 - уголки усиления 50×50×5; 3 - планки сечением 35×5 мм.

Так как h > 30 см, то коэффициент, учитывающий влияние длительной нагрузки тД = 1; для заданного вида кладки расчетное сопротивление сжатию кладки R = 1,3×0,9 = 1,17 МПа, Площадь сечения кирпичного столба равна F = 0,51×0,51 = 0,26 м < 0,3 м, поэтому коэффициент условий работы кладки mK = 0,8.

Расчетное сопротивление сжатию кладки с учетом коэффициента условий работы кладки равно R = 1,17×1,8 = 0,936 МПа.

Несущая способность кирпичного центрально нагруженного столба определяется по условию:

Nсеч = γТmg·φ·R·F

где γТ = 0,5 - коэффициент снижения несущей способности каменных конструкций при наличии повреждений.

Nсеч = 0,5×1×0,845×0,0936×2600 = 102,8 кН < N =350 кН, т.е. прочность кирпичного столба не обеспечена, требуется усиление.

Принимаем усиление с помощью стальной обоймы, состоящей из четырех вертикальных стальных уголков 50×50×5 мм на полную высоту столба, установленных по углам элемента и соединенных друг с другом полосовой сталью (планками) через 30 см. Сечение планок назначаем 35×5 мм. Для защиты от коррозии стальная обойма покрывается цементной штукатуркой толщиной 25 мм. Принимаем для обоймы сталь марки Вст3кп класса A-I.

Расчетное сопротивление поперечной арматуры обоймы Rа.п. = 150 МПа;

Расчетное сопротивление продольной сжатой арматуры обоймы равно Rа.с =43 МПа.

Площадь сечения продольной арматуры стальной обоймы из уголков равна F'а = 4×4,8 = 19,2 см2

Несущая способность кладки, усиленной стальной обоймой из уголков, рассчитывается по формуле:

,

где  - процент армирования поперечными планками;

Fа = 3,5×0,5 =1,75 см2 - площадь сечения поперечной планки; S = 30 см - расстояние между осями поперечных планок; ψ = 1; η = 1 - коэффициент при центральном сжатии; тК = 0,7 - коэффициент условий работы для кладки с трещинами.

 кН

390 кН > N = 350 кН, т.е. несущая способность усиленной конструкции обеспечена.

Пример 6.

Рассчитать необходимое усиление железобетонной колонны сечением 40×40 см под лотки усреднителя, поврежденной кислыми стоками (рис. 8.4).Расчетная продольная сила и изгибающий момент в месте заделки колонны N = 224 кН, М = 39 кН·м. Высота колонны Н = 4,45 м. В результате воздействия кислоты произошло разрушение защитного слоя бетона, продольной и поперечной арматуры колонны

Решение.

Усиление колонны осуществляем путем устройства железобетонной обоймы толщиной 50 мм с применением торкретирования.

Рис 8.4. К расчету усиления железобетонной колонны

1 - существующая колонна; 2 - рабочая арматура Ø 16 А-III; 3 - хомуты Ø 8 A-I шаг 100 мм; 4 - место приварки арматуры усиления к существующей арматуре

Колонна изготовлена из гидротехнического бетона класса Б25. Рабочая арматура усиления устанавливается на всю высоту колонн и приваривается к существующей продольной арматуре через прокладку сварным швом длиной 10 d = 160 мм на уровне верха фундамента, предварительно удалив набетонку фундамента.

Продольная рабочая арматура по всем граням скрепляется с помощью хомутов Ø 8 А-I с шагом 100 мм по всем граням колонны.

Площадь сечения растянутой и сжатой арматуры принимаем равной площади сечения арматуры, существующей до усиления колонны АS = А'S = 4,02 см2 (2 Ø 16А-III).

Площадь усиленного сечения равна в×h = 500×500 мм. Арматура класса А-III (Rsc - Rs = 365 МПа).

Коэффициент условий работы при усилении под нагрузкой γC = 0,8

Так как M1 < 0,82МП, расчет производим на действие всех нагрузок, включая нагрузки непродолжительного действия (ветровые), где M1 = 0 - изгибающий момент от постоянной и длительных нагрузок;

МП - изгибающий момент от всех нагрузок.

В этом случае расчетное сопротивление бетона RВ = 16 МПа, при γB2 = 1,1.'

Расчетная длина колонны равна 2l0 = 2×4,45 = 8,9 м

Так как , расчет производим с учетом прогиба колонны.

Для этого определим эксцентриситет относительно центра тяжести сечения

следовательно, случайный эксцентриситет не учитываем.

Так как , то принимаем

Условная критическая сила равна

= 3408,7×104 0,0576 + 0,0184 = 259×104Н = 2590 кН,

где φ1 = 2- коэффициент, учитывающий влияние длительного действия нагрузки на прогиб элемента;

Коэффициент

Значение эксцентриситета относительно центра тяжести сжатой арматуры равно

Определим высоту сжатой зоны

Значение относительной высоты сжатой зоны бетона ξR = 0,55

Так как X = 28 мм < ξRh0 = 0,55×470 = 258,5 мм, то прочность усиленного сечения проверяем из условия

γс[RB·в·x(h0 - 0,5х) + RSC·A'S(h0 - a')] = 0,8[16×500×28(470 - 0,5×28) + 365×402(470 - 30)] =

= 0,8[102×106 + 64,56×106] = 0,8×166,56×106 Н·мм = 133,2 кН·м > Nе = 224·0,41 = 91,8 кН·м, следовательно прочность усиленного сечения обеспечена.

Пример 7.

Требуется определить во сколько раз увеличится несущая способность плиты после ее усиления с помощью обетонирования со стороны сжатой зоны (рис. 8.5а, б). Плита армирована 6-ю стержнями диаметром 10. мм (шаг 200 мм) из стали класса А-II (AS = 4,71 см2). Бетон плиты класса B15. Сечение плиты в×h = 1000×70 мм2.

Решение.

Для бетона класса B15 расчетное сопротивление бетона RB = 9,4 МПа, при γB2 = 1,1.

Расчетное сопротивление арматуры RS = 280 МПа.

Расстояние от равнодействующей усилий в арматуре до ближайшей грани сечения равно а = 2 + 1/2 = 2,5 см.

Рабочая высота сечения

h0 = h - а = 7 - 2,5 = 4,5 см

Определяем высоту сжатой зоны бетона

Значение предельной относительной высоты сжатой зоны

ξR = 0,642

Рис. 8.5. К расчету усиления железобетонных плит

а - плита до усиления; б - плита после усиления наращиванием сверху; в - плита после усиления наращиванием снизу; 1 - существующая арматура плиты 6 Ø 10 А-II; 2 - бетон усиления; 3 - арматура усиления 5 Ø 10 А-II

Относительная высота сжатой зоны равна

Так как X < ξRh0 = 0,642×4,5 = 2,89 см, то прочность плиты до усиления определим из условия:

М1 = RSAS(h0 - 0,5X) = 280×4,71(4,5 - 0,5×1,4) = 501,14 кН·см = 5,01 кН·м.

Усиление осуществляем путем обетонироваиия верха плиты бетоном класса В15, для чего предварительно производим разгружение плиты и насечку ее поверхности для улучшения сцепления нового я старого бетона, (рис. 8.5б).

Определяем несущую способность плиты после усиления.

Рабочая высота сечения

h0 = h - a = 10 - 2,5 = 7,5 см;

X = 1,4 см; ξR = 0,642

Так как Х < ξRh0 = 0,642×7,5 = 4,82 см, то несущая способность будет

М2 = RS·AS(h0 - 0,5х) = 280×4,71(7,5 - 0,5×1,4) = 8968 МПа·см = 896,8 кН·см = 8,97 кН·м.

Следовательно, несущая способность плиты после ее усиления увеличилась в  раза, что позволяет увеличить в 1,8 раза нагрузку на плиту.

Пример 8.

В результате длительной эксплуатации в плите (рис, 8.5а) произошло разрушение защитного слоя бетона и коррозия рабочей арматуры до 30 %. Плита армирована 6-ю стержнями диаметром 10 мм (шаг 200 мм) из стали класса А-II (АS = 4,71 см2). Бетон плиты класса B15. Сечение плиты в×h = 1000×70 мм2.

Требуется рассчитать усиление плиты.

Решение.

Усиление производим путем установки дополнительной арматуры, прикрепляемой к существующей поперечной арматуре через 600 мм с последующим торкретированием нижней поверхности плиты бетоном прочностью равной прочности бетона до усиления (рис. 8.5в).

Для бетона класса B15 расчетное сопротивление бетона Rв = 9,4 МПа при γв2 = 1,1.

Расчетное сопротивление арматуры RS = 280 МПа.

Определяем первоначальную несущую способность плиты до ее разрушения.

Расстояние от равнодействующей усилий в арматуре до ближайшей грани сечения

а = 2 + 1/2 = 2,5 см

Рабочая высота сечения

h0 = h - а = 7 - 2,5 = 4,5 см

Определяем высоту сжатой зоны бетона

ξR = 0,642;

Так как Х < ξRh0 = 0,642×4,5 = 2,89 см, то прочность плиты определим из условия

M1 = RS·AS(h0 - 0,5x) = 280×4,71(4,5 - 0,5×1,4) = 5011 МПа·см = 501,1 кН·см = 5,01 кН·м.

Площадь арматуры до усиления АS = 4,71 см2 (6 Ø 10);

Площадь арматуры с учетом ее коррозии и пережога 25 % площади

A1 = 4,71 - 0,3×4,71 - 0,25×4,71 = 2,12 см2

Площадь арматуры усиления

А2 = 3,93 см2 (5 Ø 10).

Суммарная площадь арматуры

АS = A1 + А2 = 2,12 + 3,93 = 6,05 см2

Статический момент площади арматуры А1 и А2 относительно нижней грани плиты равен

S1 = 2,12×4,5 = 9,54 см3;

S2 = 3,93×2,5 = 9,83 см3.

Суммарный статический момент площади арматуры равен

S = S1 + S2 = 9,54 + 9,83 = 19,37 см3

Определяем положение центра тяжести площадей всей растянутой арматуры

Рабочая высота сечения плиты

h0 = h - a = 9 - 3,20 = 5,8 см;

; ξR = 0,642

Так как Х/ ξRh0 = 0,642×5,8 = 3,72 см, то прочность усиленной плиты определяем по формуле

М2 = γC·RS·AS(h0 - 0,5x) = 0,8×280×6,05(5,8 - 0,5×1,8) = 6600 МПа·см = 660 кН·см = 6,6 кН·м M1 = 5,01 кН·м, где γС = 0,8 - коэффициент условий работы конструкции при условии ее усиления под нагрузкой. Прочность плиты обеспечена.

ИСПОЛЬЗОВАННАЯ ЛИТЕРАТУРА

1. СНиП 2.09.03-85. Сооружения промышленных предприятий

2. СНиП 2.03.01-84. Бетонные и железобетонные конструкции. Дополнение к СНиП.

3. СНиП II-23-81* Стальные конструкции.

4. СНиП 2.03.11-85. Защита строительных конструкций от коррозии.

5. СНиП II-22-81. Каменные и армокаменные конструкции.

6. СНиП II-25-80. Деревянные конструкции.

7. Методические рекомендации по технологии и механизации работ при строительстве, ремонте, усилении конструкций методом набрызга бетонной смеси. ЦНИИОМТП, 1986 г.

8. Рекомендации по усилению каменных конструкций зданий и сооружений. Стройиздат, 1984 г.

9. Правила технической эксплуатации резервуаров и инструкции по их ремонту. Недра, 1988 г.

10. Руководство по эксплуатации строительных конструкций производственных зданий промышленных предприятий. Стройиздат, 1981 г.

11. Инструкция по ремонту железобетонных предварительно напряженных цилиндрических резервуаров для нефти. ВНИИСПТнефть, 1977 г.

12. Рекомендации по усилению монолитных железобетонных конструкций и сооружений предприятий горнодобывающей промышленности. Стройиздат, 1974 г.

13. Рекомендации по реконструкции стен на предприятиях целлюлозно-бумажной промышленности. ЦНИИпромзданий, 1988 г.

14. Рекомендации по оценке надежности строительных конструкций по внешним признакам. ЦНИИпромзданий, 1989 г.

15. Указания по ремонту бетонных и железобетонных конструкций эксплуатируемых мостов и труб. МПС, 1975 т.

16. Рекомендации по усилению железобетонных конструкций зданий и сооружений реконструируемых предприятий, ч. I., Харьковский ПромстройНИИпроект, 1983 г.

17. Рибицки Р. Повреждения и дефекты строительных конструкций.

18. Митцел А. и др. Аварии бетонных и каменных конструкций.

19. Каталог конструктивных решений по усилению и восстановлению строительных конструкций промышленных зданий. ЦНИИпромзданий, 1987 г.

20. Ремонт дымовых труб, градирен и антикоррозионных покрытий оборудования электростанций. Справочное пособие. Энергоиздат, 1982 г.

21. Швец В.Б. и др. Усиление и реконструкция фундаментов.

22. Шкинев А.Н. Аварии на строительных объектах, их причины и способы предупреждения.

23. Типовые строительные конструкции, изделия и узлы. Серия 1.420.2-27. Усиление стальных конструкций производственных зданий. Выпуск 1-4.

24. Исследование технического состояния очистных сооружений Сегежского ЦБК с разработкой рекомендаций по их усилению. Н.-т. отчет, ЦНИИпромзданий, 1989 г.

25. Исследование технического состояния очистных сооружений ПО Кондровобумпром с разработкой рекомендаций по их усилению. Н.-т. отчет, ЦНИИпромзданий, 1988 г.

26. Обследование металлоконструкций транспортерных эстакад Лебяжинского аглоцеха и разработка технических решений по их усилению или реконструкции Н.-т. отчет, Уралъский электромеханический институт инженеров железнодорожного транспорта, 1982 г.

27. Обеспечение надежности несущих и ограждающих строительных конструкций (предложения по совершенствованию конструкций на основе данных об авариях и обследованиях состояния конструкций промышленных зданий и сооружений). Н.-т. отчет, ЦНИИпромзданий, 1989 г.

28. Исследование эксплуатационных качеств инженерных сооружений: тоннелей и каналов, отдельно стоящих опор и эстакад под технологические трубопроводы. Н.-т. отчет, ЦНИИпромзданий, 1986 г.

29. Чемпион С. Дефекты и ремонт бетонных и железобетонных сооружений.

30. Справочник проектировщика. Основания, фундаменты и подземные сооружения.

31. Руководство по обеспечению долговечности железобетонных конструкции предприятий черной металлургии при их реконструкции и восстановлении. Стройиздат, 1982 г.

32. Рекомендации по проектированию и усилению железобетонных хранилищ для сыпучих материалов, в том числе с повышенной температурой. Харьковский ПромстройНИИпроект, 1984 г.

33. Дронов Л.K. и др. Обеспечение водостойкости железобетонных емкостей. Бетон и железобетон, № 1, 1969 г.

34. Золотарев Е., Носиковский Д. Экономичный способ усиления подпорной стенки. Промышленное строительство и инженерные сооружения, № 2, 1983 г.

35. Лебедева В. и др. Сохранность пешеходного перехода. Метрострой, № 3, 1984. г.

36. Марчук А. Обеспечить надежность защиты металлоконструкций (уроки одной аварии). Промышленное строительство и инженерные сооружения, № 1, 1973 г.

37. Скороходов Б.В., Козлов Ю.К. Экономичный вариант железобетонных подпорных стен. Автомобильные дороги, № 5, 1967 г.

38. Мейнин Л.П. и др. Реконструкция эстакады в Одессе. Сборник статей. Расчет и исследование открытых крановых эстакад. Будiвельник, 1969 г.

39. Радченко А. Усиление несущих конструкций технологической эстакады. Промышленное строительство и инженерные сооружения, № 2,1986 г.

40. Шевченко В.Д. и др. Эффективный метод реконструкции транспортерных галерей. Монтажные и специальные работы в строительстве, № 9, 1986 г.

41. Шувалов В.А. и др. Усиление железобетонных конструкций сборно-монолитного аэротенки. Гидромелиорация и гидротехническое строительство, выпуск 9, Вища школа, 1981 г.

42. Чавов Т., Якимов Д. Реконструкция на 150-метровия стоманобеснен комин на ТЕЦ Марица изток I. Строительство (Болт.), № 6, 1967 г.

43. Маилян Р.Л. и др. Способ усиления стен силосных корпусов. Промышленное строительство, 4, 1989 г.



уроки по алготрейдингу на Python с нуля



Яндекс цитирования