ИНФОСАЙТ.ру
Госты, стандарты, нормативы. В библиотеке 60000 документов. Регулярное обновление. Круглосуточный бесплатный доступ!
БИБЛИОТЕКА ГОСТОВ, СТАНДАРТОВ И НОРМАТИВОВ

:: АЛГОТРЕЙДИНГ ::


АЛГОТРЕЙДИНГ
шаг за шагом


БЕСПЛАТНЫЕ УРОКИ по созданию торговых роботов на PYTHON с нуля, шаг за шагом.


Минимальные знания на PYTHON.
Библиотеки BackTrader и Pandas, сигналы с Pine Script из TradingView.
Связка с брокерами, телеграм.
Создание простых интерфейсов.

 

Все документы, представленные в каталоге, не являются их официальным изданием и предназначены исключительно для ознакомительных целей. Электронные копии этих документов могут распространяться без всяких ограничений. Вы можете размещать информацию с этого сайта на любом другом сайте.


МИНИСТЕРСТВО ТРАНСПОРТНОГО СТРОИТЕЛЬСТВА

ВСЕСОЮЗНЫЙ ПРОЕКТНО-ТЕХНОЛОГИЧЕСКИЙ ИНСТИТУТ ТРАНСПОРТНОГО СТРОИТЕЛЬСТВА

"ВПТИТРАНССТРОЙ"

ОБЗОРНАЯ ИНФОРМАЦИЯ

Серия «Мостостроение»

АНТИСЕЙСМИЧЕСКИЕ УСТРОЙСТВА В МОСТОСТРОЕНИИ

Выходит с 1972 г.

1 выпуск в год

Выпуск I

МОСКВА 1986

СОДЕРЖАНИЕ

В информации описаны особенности конструкций пролетных строений, опор железнодорожных и автодорожных мостов, сооружаемых в сейсмических районах СССР и за рубежом; приведены типы конструкций антисейсмических устройств, используемых в Японии, США и других странах.

Редактор М. Г. ГОРБУНОВА

1. ВВЕДЕНИЕ

В практике строительства имеются разнообразные технические приемы сейсмозащиты сооружений, в настоящее время создаются новые сейсмостойкие конструкции. Этот процесс стимулируется случаями тяжелых повреждений и разрушений промышленных, гражданских и транспортных объектов при землетрясениях и необходимостью отбора наиболее экономичных и надежных решений. Опыт эксплуатации показывает, что во многих случаях эффективным способом сейсмозащиты является применение специальных антисейсмических устройств, прочностные, упругие, инерционные и диссипативные свойства которых не используются или используются в незначительной степени в обычных условиях эксплуатации, но создают положительный эффект при землетрясении. Этот эффект заключается в увеличении сопротивления несущих конструкций или в уменьшении сейсмических сил. Требуемые механические характеристики материала и другие параметры устройств определяют расчетом на сейсмостойкость или назначают по конструктивным соображениям, руководствуясь опытом эксплуатации сооружений в сейсмических районах.

В Советском Союзе исследования и конструктивные разработки по сейсмостойким конструкциям мостов выполняют в отраслевых научно-исследовательских и проектных институтах. Советскими специалистами созданы надежные и экономичные конструкции облегченных пролетных строений, сейсмостойких опор и опорных частей, а также антисейсмических устройств. Использование этих конструкций существенно уменьшает расход материалов на защиту мостов от землетрясений при сохранении высокой надежности сооружений [1 - 12].

Для советских специалистов интересен опыт технически развитых зарубежных стран, полностью или частично расположенных в наиболее сейсмичных зонах - тихоокеанском и трансазиатском сейсмических поясах, поскольку частые и сильные землетрясения в этих зонах позволяют практически проверить сейсмостойкость различных конструкций и эффективность средств антисейсмической защиты при строительстве мостов.

Первые сведения об антисейсмических мероприятиях при строительстве мостов относятся к Японии, где после землетрясения 1891 г. некоторое время строили массивные опоры мостов с параболическим очертанием боковых граней, при этом поперечные сечения опор плавно увеличивались в размерах от подферменной плиты к обрезу фундамента, что несколько повышало сейсмостойкость конструкций. После разрушительного землетрясения 1923 г. в Японии начали применять опоры с уменьшенной массой в виде железобетонных столбов, объединенных поверху ригелем. В последнее время большое внимание уделяют выбору рациональных схем горизонтальных связей между пролетными строениями и опорами. Имеются также разработки по сейсмоизоляции пролетных строений, гашению колебаний и ударов, резервированию необходимых запасов прочности и устойчивости несущих конструкций при новом строительстве, а также обеспечению безопасности движения по мостам старой постройки [21 - 24, 27 - 29, 32].

В Соединенных Штатах Америки антисейсмические мероприятия в мостостроении стали осуществлять после Калифорнийского землетрясения 1906 г., разрушившего несколько крупных сооружений. Первоначально эти меры принимали для предотвращения обрушения разрезных пролетных строений при возможных тектонических подвижках грунта в пределах мостового перехода и обеспечения безопасности движения с помощью сигнализации, включающейся при опасных отклонениях пролетных строений от проектного положения. Вслед за землетрясениями на Аляске (1964 г.) и в Калифорнии (1971 г.) разработали меры, повышающие сопротивляемость мостов сейсмическим воздействиям высокой интенсивности и сравнительно большой продолжительности. В последние годы запатентованы устройства, поглощающие энергию колебаний моста за счет пластического деформирования демпферов, устройства сейсмоизоляции, а также разнообразных динамических гасителей колебаний. Для повышения сейсмостойкости ранее построенных мостов применяются ограничители колебаний [15, 18 - 20, 25, 26].

Нередкие сейсмические толчки причиняют значительный ущерб железным и автомобильным дорогам Новой Зеландии. После землетрясения 1968 г., повредившего многие мосты, усилены научные исследования и конструкторские разработки по новым антисейсмическим устройствам. Предложены антисейсмические устройства, поглощающие энергию колебаний мостов за счет деформирования элементов, выполненных из стали и свинца. Используют также комбинированные конструкции, в которых гашение колебаний осуществляется за счет деформирования резиновых опорных частей со свинцовым сердечником и сил трения между грунтом и анкерной плитой. Имеются предложения по включению податливых элементов в конструкцию рамных опор железнодорожных виадуков [13, 31].

Интересные технические решения применены при строительстве мостов в сейсмически опасных районах Италии. Некоторые из мостов подверглись практической проверке на сейсмостойкость во время землетрясений в областях Фриули (1976 г.) и Кампания (1980 г.) [14, 16, 17, 30].

Антисейсмические устройства могут входить в состав опор, пролетных строений или опорных частей моста. Антисейсмические устройства могут также осуществляться в виде связей между основными частями моста (например, пролетными строениями и грунтом; опорами и пролетными строениями; между соседними опорами; между расположенными рядом пролетными строениями). Такие связи трудно целиком отнести к какой-то одной базовой конструкции. В общем случае антисейсмические устройства целесообразно рассматривать, как основной элемент моста, выполняющий функцию защиты сооружения от землетрясения.

2. АНТИСЕЙСМИЧЕСКИЕ УСТРОЙСТВА МОСТОВ В СССР

2.1. Особенности конструкций пролетных строений, применяемых в сейсмических районах

При строительстве железнодорожных мостов для перекрытия пролетов менее 18 м используют сборные плитные и ребристые железобетонные пролетные строения, а для пролетов более 18 м - стальные и сталежелезобетонные балочные пролетные строения, кроме того, для пролетов от 15,8 до 26,9 м применяют разрезные конструкции из предварительно-напряженного железобетона, иногда сооружают мосты рамной, арочной и других систем.

Разрезные пролетные строения обычно изготовляют по типовым проектам, учитывающим особые условия эксплуатации сооружения.

Типовой проект № 557 «Пролетные строения сборные железобетонные длиной от 2,95 до 16,5 м для железнодорожных мостов» разработан Ленгипротрансмостом в 1977 г. Выпуск № 557/12 предназначен для изготовления пролетных строений в северном и сейсмостойком исполнении. В проекте представлены плитные и ребристые пролетные строения под один железнодорожный путь с ездой на балласте под нагрузку С14. Плитными конструкциями можно перекрывать пролеты от 2,55 до 15,8 м, ребристыми - от 8,7 до 15,8 м. Пролетные строения обоих типов пригодны для применения на прямых участках пути и на кривых радиусом не менее 300 м. При одинаковых пролетах плитные конструкции значительно тяжелее ребристых, но имеют меньшую строительную высоту.

Ребристые пролетные строения запроектированы из двух блоков (балок), соединенных между собой в торцевых диафрагмах монолитными монтажными стыками. Стыки омоноличивают после установки балок на тангенциальные опорные части. Все ребристые пролетные строения выполняются из бетона М300 по прочности. Расчетная арматура принята в виде стержней периодического профиля из низколегированной стали класса А-II марки 10ГТ или из низколегированной стали класса А-III марки 25Г2С; нерасчетная арматура - из гладкой горячекатаной стали класса A-I марки ВСт3пс2. Характеристика ребристых пролетных строений, армированных стержнями из стали марки 10ГТ, дана в табл. 1.

Таблица 1

Характеристика ребристых железобетонных пролетных строений

Полная длина, м

Расчетный пролет, м

Строительная высота, м

Нормативная постоянная нагрузка на метр пути, кН

Масса арматуры, т

Объем бетона балок и тротуарных плит, м3

Сталь класса, А-II

Сталь класса, А I

общая масса

9,30

8,70

1,40

86

3,18

0,60

3,78

15,92

9,85

9,25

1,40

86

3,37

0,63

4,0

16,86

11,50

10,80

1,55

88

4,48

0,73

5,21

20,76

12,20

11,50

1,55

88

5,32

0,77

6,09

22,01

13,50

12,80

1,70

94

6,28

0,82

7,10

27,14

14,30

13,60

1,70

94

7,08

0,86

7,94

28,81

16,50

15,80

1,90

98

8,92

1,05

9,97

36,39

Выполненные проектной организацией расчеты не выявили необходимости увеличивать опалубочные размеры пролетных строений из обычного железобетона, а также изменять их армирование по условию сейсмостойкости. Единственным антисейсмическим мероприятием по проекту является устройство монтажного стыка в плитах балок, предотвращающего относительные горизонтальные перемещения балок пролетного строения при землетрясении.

Сборные пролетные строения железнодорожных мостов из предварительно-напряженного железобетона длиной от 16,5 до 27,6 м изготовляют по типовому проекту Ленгипротрансмоста № 556.

Конструкции, разработанные в 1966 - 1967 гг., предназначены для эксплуатации в несейсмических районах. В 1972 г. выпустили проект № 556/7, содержащий чертежи конструкций антисейсмических устройств для применения в районах сейсмичностью 7 и 8 баллов.

Предварительно-напряженные пролетные строения запроектированы с ездой поверху на балласте для мостов и путепроводов, расположенных на прямых участках пути и на кривых радиусом не менее 300 м (при пролетных строениях длиной 23,6 м и 27,6 м радиус кривой должен быть не менее 600 м). Бетон М400 по прочности при сжатии. Напрягаемая арматура из стальной высокопрочной холоднотянутой гладкой проволоки класса B-II диаметром 5 мм с нормативным сопротивлением 1700 МПа. Ненапрягаемая арматура периодического профиля из горячекатаной стали класса А-II марки Ст5пс и круглая гладкая из стали класса A-I марки ВСт3сп. Балки пролетных строений после установки их на опорные части соединяют между собой монтажными стыками, расположенными в поперечных диафрагмах. Основные данные о предварительно-напряженных пролетных строениях приведены в табл. 2.

Таблица 2

Характеристика железнодорожных пролетных строений из предварительно-напряженного железобетона

Полная длина, м

Расчетный пролет, м

Строительная высота, м

Нормативная постоянная нагрузка на метр пути, кН

Масса арматуры, т

Объем бетона балок тротуарных консолей и плит, м3

Сталь класса

В-II

Сталь класса

А-II

Сталь класса

A-I

общая масса

16,5

15,8

1,90

92

1,83

3,08

1,16

6,07

35,2

18,7

18,0

2,05

104

2,36

3,42

1,33

7,11

44,4

23,6

22,9

2,35

112

3,86

3,41

1,70

8,97

64,3

27,6

26,9

2,76

114

4,91

4,63

2,05

11,59

83,0

Опалубочные размеры и армирование предварительно-напряженных пролетных строений, изготавливаемых для сейсмических районов, не отличаются от таковых в конструкциях обычного исполнения. Антисейсмическими деталями сейсмостойких пролетных строений являются стыки балок по плите, устраиваемые для того, чтобы избежать при землетрясении смещений одной балки относительно другой в плане, и упорные уголки, предохраняющие тротуарные плиты от сбрасывания. Для предотвращения расстройства подвижных опорных частей их шарниры выполняются с повышенными ребордами. Сдвиг пролетных строений поперек оси пути ограничивают железобетонные стопоры, расположенные на подферменных плитах сбоку от балок пролетного строения.

Для перекрытия пролетов от 18,2 до 55 м широко используют сталежелезобетонные пролетные строения по типовому проекту Гипротрансмоста № 739, который в 1978 г. был дополнен выпуском № 739/13с, предназначенным для использования при строительстве в районах высокой сейсмичности. К преимуществам сталежелезобетонных пролетных строений относятся возможность использования на кривых участках пути и сравнительно хорошая защищенность главных балок от воздействия атмосферных осадков. Однако эти конструкции имеют значительную собственную массу, а их монтаж требует больших затрат труда. По величине постоянной нагрузки на метр пути сталежелезобетонные пролетные строения занимают промежуточное положение между железобетонными и металлическими конструкциями (табл. 3).

Таблица 3

Характеристика железнодорожных пролетных строений из металлических балок, объединенных с железобетонной плитой

Полная длина, м

Расчетный пролет, м

Строительная высота, м

Нормативная постоянная нагрузка на метр пути, кН

Масса металла, т

пролетного строения

мостового полотна

смотровых приспособлений

итого

18,8

18,2

2,19

82

17,1

2,69

0,86

20,65

23,6

23,0

2,44

82

24,1

3,29

1,06

28,45

27,6

27,0

2,94

84

31,4

3,74

1,21

36,35

34,2

33,6

2,97

86

48,6

4,60

1,41

54,61

45,8

45,0

4,86

99

81,3

6,09

4,00

91,39

55,8

55,0

4,91

103

119,1

7,29

4,60

130,99

Для изготовления сейсмостойких сталежелезобетонных. пролетных строений используют те же материалы, что и для пролетных строений в обычном исполнении. В выпуске № 739/13с сохранена также конструкция главных балок, плиты и связей базового проекта. При расчетной сейсмичности 9 баллов потребовалось лишь усилить опорные части пролетных строений длиной 34,2 и 45,8 м. Кроме того, при максимальной расчетной сейсмичности пролетные строения, изготавливаемые по этому проекту, необходимо закреплять вертикальными анкерами, препятствующими опрокидыванию конструкций и стопорами, предотвращающими смещение балок поперек оси пути.

С позиций теории сейсмостойкости к недостаткам сталежелезобетонных пролетных строений относятся их большая собственная масса, высокое расположение центра тяжести относительно опорных частей и несовпадение центров тяжести и изгиба в поперечном сечении конструкции. Последнее вызывает крутильные колебания пролетного строения при землетрясении и соответствующие дополнительные напряжения в балках, связях и плите.

Значительно меньшую собственную массу имеют металлические пролетные строения в виде ферм с ездой понизу на деревянных поперечинах, изготовляемые по типовому проекту Гипротрансмоста № 690 «Металлические пролетные строения с ездой понизу пролетами 33 - 110 м под железную дорогу со сварными элементами для применения в нормальных и северных условиях», характеристика которых дана в табл. 4.

Таблица 4

Характеристики железнодорожных металлических пролетных строений с ездой понизу

Полная длина, м

Расчетный пролет, м

Строительная высота, м

Нормативная постоянная нагрузка на метр пути, кН

Масса металла, т

пролетного строения

мостового полотна

смотровых приспособлений

итого

33,8

33

1,20

38

78,8

12,9

6,1

97,8

44,8

44

1,20

38

106,2

16,7

7,1

130,0

55,8

55

1,20

39

139,5

20,4

8,1

168,0

67,0

66

1,57

40

174,8

24,1

9,3

208,2

78,0

77

1,57

44

227,7

32,1

10,3

270,1

89,1

88

1,85

49

305,4

33,1

14,3

352,8

111,1

110

1,85

54

439,7

40,9

16,4

497,0

Этот проект в 1978 г. дополнен выпуском 8с, содержащим данные об антисейсмическом усилении конструкций. Для обеспечения сейсмостойкости мостов при землетрясениях силой 9 баллов увеличен диаметр головки шарнира в опорных частях пролетного строения длиной 55 м и усилено крепление к опорам нижних балансиров неподвижных опорных частей ферм длиной более 88 м. Для повышения устойчивости пролетных строений на опорах должны устанавливаться анкеры и стопоры.

Размеры опор в поперечном (к оси моста) направлении можно сократить, применяя металлические пролетные строения с ездой поверху, запроектированные Гипротрансмостом для строительства виадуков и больших мостов на БАМе. МПС утверждены рабочие чертежи разрезных пролетных строений для перекрытия пролетов 44, 55 и 66 м. На примере моста (рис. 1), сооруженного на площадке с неблагоприятными тектоническими условиями, видны особенности ферм, обусловленные сейсмической опасностью. По оси железнодорожного моста на глубине 5 - 6 м от поверхности грунта залегают слабовыветрелые гранодиориты, нарушенные на участке шириной 30 м тектоническим разломом. В зоне разлома грунт раздроблен до состояния щебня. Монолитные устои и сборно-монолитные промежуточные опоры вынесены из зоны дробления. Пролеты моста перекрыты металлическими фермами с ездой поверху. Фундаменты всех опор массивные, опертые на прочный скальный грунт. Для обеспечения сейсмостойкости моста в теле опор установлена арматура.

С учетом неблагоприятных тектонических условий Гипротрансмост разработал дополнительные меры антисейсмической защиты мостового перехода, направленные против сброса пролетных строений с опор и повреждений ферм от ударов в шкафные стенки устоев. Для этого на мосту установлены комбинированные, сцепные и буферные устройства.

В отдельных случаях на железных дорогах в сейсмических районах применяют арочные и рамные мосты, имеющие сравнительно небольшую собственную массу и высокую сейсмостойкость при благоприятных грунтах в основаниях опор. Для устойчивости арочных и рамных пролетных строений применяют сейсмостойкие опорные части и специальные антисейсмические устройства.

Рис. 1. Балочный мост на площадке с неблагоприятными тектоническими условиями:

1 - комбинированные устройства; 2 - сцепные устройства; 3 - буферы

Проект арочных железобетонных пролетных строений с затяжками из предварительно-напряженного железобетона разработан под руководством В.А. Словинского. Серия представлена тремя конструкциями с расчетными пролетами 44, 55 и 66 м под железнодорожную нагрузку. По этому проекту был построен мост в районе сейсмичностью 7 баллов. Общий расход железобетона на пролетное строение составил 189 м3, в том числе сборного - 150 м3; арматуры - 47,6 т, в том числе высокопрочной проволоки - 11,5 т. Пролетное строение собрано на подходе к мосту с помощью автомобильного крана и надвинуто в пролет по промежуточным опорам. На монтаж и надвижку затрачено 1200 чел-дней. Небольшая масса сборных элементов позволяет применять эту конструкцию в горных и труднодоступных районах, удаленных от индустриальных центров. Особенностью этого проекта являются специальные опорные части, способные воспринимать отрицательную реакцию и предотвращать приподнимание опорных узлов.

В 1981 г. по проекту Гипротрансмоста построен совмещенный металлический мост рамной системы в сложных ландшафтных условиях. Ширина преодолеваемого каньона поверху 260 м, глубина до 100 м. Восьмибалльная сейсмичность района и сложные условия строительства мостового перехода определили выбор металлического сквозного пролетного строения рамной системы, основное преимущество которой, по сравнению с неразрезной, заключалось в отказе от сооружения высоких промежуточных опор с объемом железобетона примерно 2400 м3.

Для уменьшения собственной массы моста железнодорожный путь пропущен по безбалластной железобетонной плите, а движение автомобилей осуществляется по металлической ортотропной плите. Плиты работают совместно с главными фермами. Устойчивость моста против опрокидывания сейсмической нагрузкой, действующей поперек оси пути, обеспечивается уширением наклонных стоек в нижней части до 24 м. На опорах установлены антисейсмические устройства, препятствующие поперечному сдвигу рамы и приподниманию опорных узлов ригеля.

При строительстве в сейсмических районах автодорожных мостов чаще всего применяются балочные разрезные железобетонные пролетные строения длиной до 42 м.

Конструкции ребристых пролетных строений по типовому проекту Союздорпроекта № 384/45 предназначены для эксплуатации во всех районах СССР с сейсмичностью до 9 баллов включительно. Балки запроектированы в двух вариантах: цельноперевозимыми длиной 12, 15, 18, 21, 24 и 33 м, а также составными длиной 24, 33 и 42 м. На изготовление балок идет бетон М350, 400 и 450 (по прочности). В качестве напрягаемой арматуры применяют пучки из стальной круглой холоднотянутой углеродистой проволоки класса В-II диаметром 5 мм с нормативным сопротивлением при изгибе 1700 МПа. Для ненапрягаемой рабочей и конструктивной арматуры берут сталь классов A-I и A-II. Основные сведения об унифицированных пролетных строениях автодорожных и городских мостов габаритом Г-8, собираемых из цельноперевозимых балок, приведены в табл. 5.

Таблица 5

Характеристика балочных пролетных строений автодорожных и городских мостов из предварительно-напряженного железобетона

Полная длина, м

Расчетный пролет, м

Высота, балок, м

Расход материалов на пролетное строение

Объем бетона, м3

проволока класса, В-II, т

арматура класса А-1, т

арматура класса А-1, т

Полосовая сталь и анкеры, т

12

11.4

0,9

35,5

1,22

1,46

4,88

1,02

15

14,4

0,9

44.0

1,80

2,01

5,60

1,16

18

17,4

1,2

59,5

2,13

2,77

6,63

1,30

21

20,4

1,2

69,1

2,88

2,62

7,69

1,44

24

23,4

1,2

78,9

4,20

2,97

8,73

1,71

33

32,3

1,5

119,9

8,13

5,35

10,21

2,47

Иногда при проектировании городских мостов средней длины используют по архитектурным соображениям конструкции рамной системы, что не всегда оправдано.

Мост через канал в районе сейсмичностью 9 баллов запроектирован на площадке, сложенной в верхней части разреза преимущественно супесями пластичной консистенции с условным сопротивлением не более 0,1 МПа. На глубине 23 м от поверхности грунта залегает слой гравия с условным сопротивлением 0,5 МПа. Мост запроектирован по схеме 9,2 + 36,5 + 9,2 м под четыре полосы движения с использованием конструкций рамной системы из обычного железобетона. Средний пролет моста перекрывается сборными железобетонными балками переменной высоты, массивные крайние части пролетного строения бетонируют на месте. Стойки рамы выполняют из установленных в ряд поперек оси моста железобетонных блоков, заделанных снизу в плиты ростверков промежуточных опор и сверху - в монолитные участки ригеля рамы. Вертикальные буронабивные сваи промежуточных опор доведены до слоя гравия. Устои моста запроектированы облегченными. Фундаменты устоев выполняют из забивных свай длиной 12 м, опертых на слой твердой супеси, ниже которой залегает слабая супесь пластичной консистенции.

К недостаткам проекта относится большая масса плиты в крайних пролетах, составляющая 2100 т, или примерно 70 % всей массы железобетона пролетного строения. Конструкция ригеля рамы, обусловленная стремлением погасить отрицательные вертикальные реакции на устоях от массы автомобилей, проходящих по центральному пролетному строению, вызывает значительный перерасход материалов и резкое повышение сейсмической нагрузки. Опирание свайных фундаментов устоев на маломощный слой твердой супеси, подстилаемый слабым грунтом, может привести к недопустимым осадкам фундаментов при землетрясении.

Пролеты длиной более 42 м в автодорожных и городских мостах обычно перекрывают неразрезными конструкциями, для облегчения которых вместо железобетонных используют металлические балки. Восьмибалльная сейсмичность района сыграла решающую роль при выборе конструктивных решений городского моста, построенного по проекту Гипротрансмоста. Мост длиной свыше 1 км имеет ширину между перилами 27 м. Русло реки перекрыто цельнометаллической неразрезной балкой по схеме 106 + 146 + 106 м. Поперечное сечение пролетного строения состоит из двух замкнутых коробок, связанных поперечными фермами с ортотропной плитой проезжей части. Помимо обычных опорных частей пролетное строение закреплено в проектном положении гибкими вертикальными анкерами.

2.2. Особенности конструкций опор

Изучение опыта эксплуатации мостов в сейсмических районах позволило выработать ряд важных требований к грунту, на который следует опирать фундаменты опор мостов, а также конструкции фундаментов и надфундаментной части опор. В частности, нижние концы свай, столбов и оболочек рекомендуется погружать до слоя малодеформируемых грунтов (скальных, крупнообломочных, гравелистых плотных песков, глинистых грунтов твердой и полутвердой консистенции).

При строительстве опор мостов в сейсмических районах желательно применять материалы и конструкции, допускающие развитие трещин и пластических деформаций на стадии, предшествующей разрушению. Такие конструкции способны выдерживать значительные кратковременные нагрузки, вследствие чего их сопротивляемость сейсмическим воздействиям достаточно высока.

Хорошими пластическими свойствами обладают обычные и предварительно-напряженные железобетонные конструкции, запроектированные с учетом сейсмических воздействий. Высокая прочность железобетона при напряженных состояниях различного вида позволяет также существенно уменьшить по сравнению с каменными и бетонными конструкциями собственную массу железобетонных опор и тем самым снизить сейсмическую нагрузку. Это особенно важно при расчетной сейсмичности 9 баллов, когда затраты материалов на сооружение опор существенно увеличиваются в результате их проверки на сейсмическое воздействие. При расчетной сейсмичности 7 и 8 баллов эффективны также бетонные опоры, прочность которых обеспечивается без значительного увеличения размеров опор, возводимых в несейсмических районах. Для повышения сейсмостойкости бетонные опоры армируют конструктивной арматурой, поэтому армирование является одним из основных антисейсмических мероприятий при строительстве опор. Существуют и другие технические приемы обеспечения сейсмостойкости опор. К их числу относится повышение марки бетона, применение эпоксидного клея для соединения блоков сборно-монолитных опор, использование пустотелых конструкций для уменьшения сейсмической нагрузки.

При строительстве железнодорожных мостов большое распространение получили сборно-монолитные опоры по типовым проектам, а также опоры из нетиповых блоков. Такие конструкции применяют не только в районах, безопасных в сейсмическом отношении, но и сейсмических.

Типовые сборно-монолитные опоры под пролетные строения длиной 16,5 - 34,2 м из обычного и предварительно-напряженного железобетона, а также под сталежелезобетонные пролетные строения длиной 34,2 м разработаны Ленгипротрансмостом в 1971 г. Высота над обрезом фундамента изменяется от 6,3 до 20,6 м. В зависимости от требуемой высоты опоры могут быть одно-, двух- или трехъярусными. На суходолах и выше уровня высоких вод (УВВ) промежуточные опоры имеют прямоугольные поперечные сечения 2,6×3; 3,6×3,6 и 4,5×4 м. В нижней части русловые опоры выполняют обтекаемой формы. Конструкция состоит из железобетонных контурных блоков, блоков подферменной плиты и прокладников (всего 23 типоразмера). Внутреннюю полость опор заполняют монолитным бетоном. Массивные фундаменты запроектированы из монолитного бетона М200.

В том же году Гипротрансмост разработал типовой проект сборно-монолитных промежуточных опор железнодорожных мостов под металлические пролетные строения длиной от 33 до 66 м с ездой понизу. При опирании на прочные грунты фундаменты этих опор устраивают массивными, если грунты слабые - применяют свайные фундаменты. Ниже УВВ опоры имеют обтекаемую форму с полуциркульным очертанием фасадных граней. В верхней части тело опор запроектировано в виде столба прямоугольного поперечного сечения. Высота опор от обреза фундамента до верха подферменной плиты составляет 10 - 20 м. Железобетонные облицовочные блоки разработаны в двух вариантах: таврового, уголкового и швеллерного сечений или двутаврового, швеллерного и полуциркульного сечений. Для изготовления блоков применяют бетон М300, монолитного ядра - M150. В проекте имеется вариант опор из монолитного бетона. Оголовки и прокладники всех опор - монолитные железобетонные.

Однако эти типовые проекты имеют некоторые недостатки. Большое количество блоков сложной конфигурации затрудняет их изготовление и использование. Заполнение швов между контурными блоками в зоне переменного горизонта воды подвергается быстрому выветриванию, что отрицательно сказывается на долговечности конструкций. Проекты не учитывают требований сейсмостойкости. При их использовании в сейсмических районах размеры сечений проверяют расчетом на особое сочетание нагрузок, а монолитное ядро армируют по расчету или конструктивной арматурой. Однако конструкция блоков не позволяет размещать арматуру в ядре так, чтобы обеспечить прочность опор при минимальном расходе арматурной стали.

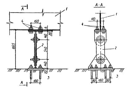
Отмеченные недостатки в значительной степени устранены в сборно-монолитных опорах из контурных блоков с фигурной гранью, примененных на строительстве некоторых крупных железнодорожных и автодорожных мостов. Опоры с поперечным сечением различных размеров (шаг размеров поперечного сечения опоры равен 10 см) собирают из бетонных блоков трех основных типов. При монтаже первый ряд блоков устанавливают на фундамент или нижележащую часть опоры. Блоки этого ряда укладывают на растворе, блоки последующих рядов - на эпоксидном клее. При бетонировании ядра образуются вертикальные шпонки, так как грань блоков, нормальная к поперечному сечению опоры, имеет фигурное очертание. Эти шпонки, расположенные вблизи боковой поверхности опоры, фиксируют положение всех блоков. Для обеспечения сейсмостойкости конструкции в вертикальных шпонках располагают продольную арматуру. В сейсмических районах целесообразно применять опоры с возможно меньшей массой, например, в виде одного или нескольких железобетонных столбов, объединенных ригелем (рис. 2).

Рис. 2. Железнодорожный устой облегченной конструкции

Рис. 3. Рамная опора железнодорожного виадука

Такой устой запроектирован Ленгипротрансом под сталежелезобетонное пролетное строение длиной 23,6 м для района сейсмичностью 9 баллов. Тело устоя выполнено из железобетонных столбов Ø 80 см, расположенных в поперечном к оси моста направлении в два ряда под каждый железнодорожный путь. Насадка устоя и плита столбчатого фундамента - из монолитного железобетона. Столбчатые устои и расположенные вне меженного русла промежуточные опоры под железобетонные пролетные строения длиной до 16,5 м сооружают в сейсмических районах по проекту Ленгипротрансмоста № 1067/11.

При строительстве в сейсмических районах железнодорожных виадуков некоторые промежуточные опоры имеют вид железобетонных пространственных рам. Стойки рам постоянного сечения 800×800 мм расположены наклонно в двух плоскостях. При большой высоте опор стойки делают двухъярусными, выполняя монтажный стык на фланцевых соединениях и объединяя стойки между собой горизонтальными распорками. По сравнению с монолитными опорами объем бетона в сборных рамных опорах уменьшается в 2 - 2,5 раза.

При благоприятных грунтовых условиях промежуточные опоры виадука выполняют в виде гибких плоских железобетонных рам. При этом продольные нагрузки на устои передаются соединением разрезных пролетных строений в температурно-нарезные плети с помощью шарниров, воспринимающих продольные усилия. Промежуточные опоры в виде плоских железобетонных рам с наклонными стойками (рис. 3) сооружены при строительстве железнодорожного виадука на подъездных путях угольного разреза в Восточной Сибири. Применение температурно-неразрезной системы при расчетном сейсмичности 9 баллов привело к незначительному увеличению объемов работ по устоям. Расход бетона в промежуточных опорах, по сравнению с первоначальным вариантом моста разрезной системы с массивными опорами, снизился более чем в два раза. Примерно вдвое уменьшился объем буровых работ за счет сокращения числа столбов в фундаментах промежуточных опор. Получена также значительная экономия арматуры.

Широко распространены облегченные опоры в автодорожных и городских мостах, эстакадах и путепроводах. Для уменьшения массы опор применяется бетон повышенной прочности, армирование конструкций стержневой и высокопрочной проволочной арматурой.

Опоры пустотелой конструкции из предварительно-напряженного железобетона построены по проекту Тбилгипроавтодортранса в районе сейсмичностью 9 баллов. Трехпролетный мост через каньон р. Нарын с неразрезным сталежелезобетонным пролетным строением, схема которого 40 + 68 + 40 м, имеет промежуточные опоры высотой более 40 м. Фундаменты и цокольные части опор - монолитные, верхние части опор собраны из железобетонных блоков коробчатого сечения, объединенных в горизонтальном направлении болтами диаметром 22 мм, а в вертикальном - 64 пучками предварительно-напряженной арматуры. Верхние концы пучков заанкерены в поперечных диафрагмах толщиной 25 см, расположенных через 7 м по высоте опоры, нижние концы пучков заанкерены на наружной поверхности цокольной части опор.

Тело промежуточных опор эстакад и путепроводов обычно выполняют из железобетонных стоек заводского изготовления, объединенных железобетонным ригелем. Нижние концы стоек закрепляют в фундаменте с помощью стыка стаканного типа, проектированию которого нужно уделять особое внимание, поскольку разрушение некоторые мостов за рубежом при землетрясениях произошло из-за недостаточной заделки железобетонных столбов в фундаменты.

2.3. Сейсмостойкие опорные части

В балочных мостах с бетонными и железобетонными опорами, возведенными на прочных грунтах, наименее сейсмостойкими элементами нередко оказываются опорные части, разрушение которых при землетрясениях приводит к сдвигу и обрушению пролетных строений. Возможно и опрокидывание конструкций под действием сейсмической нагрузки, направленной поперек оси моста. При обрушении верхнего строения наблюдаются значительные повреждения балок, затрудняющие их использование при восстановлении моста. Поэтому в сейсмических районах опорные крепления пролетных строений должны быть запроектированы так, чтобы положение верхнего строения моста при землетрясении расчетной силы было устойчивое.

Расчет железнодорожных мостов на сейсмическое воздействие силой 7 - 8 баллов обычно не изменяет конструкции опорных частей, применяемых в несейсмических районах. При расчетной сейсмичности 9 баллов может потребоваться усиленное крепление пролетных строений. Так, согласно выпуску 8с типового проекта № 690, нижние балансиры неподвижных опорных частей металлических пролетных строений длиной 88 и 110 м с ездой понизу при расчетной сейсмичности 9 баллов должны быть закреплены шестью анкерными болтами диаметром 36 мм вместо обычно устанавливаемых четырех болтов. В опорных частях ферм пролетом 55 м диаметр головки шарнира увеличен со 100 до 120 мм. Аналогичные изменения конструкции опорных частей приняты в типовом проекте сталежелезобетонных пролетных строений длиной 34,2 - 55,8 м.

Опорные части автодорожных мостов и путепроводов в сейсмических районах также в основном сохраняют обычные формы и размеры. Для унифицированных балочных пролетных строений из предварительно-напряженного железобетона длиной от 18 до 42 м сейсмостойкие опорные части разработаны Тбилгипроавтодортрансом. Неподвижные опорные части запроектированы тангенциального типа, подвижные - валкового. Железобетонное тело валка выполнено из бетона М400, подушки из стали марки М16С для пролетного строения в обычном и марки 15ХСНД в северном исполнении. Особенность этой конструкции по сравнению с другими заключается в применении сейсмостойких штырей взамен наружных планок и усиленной анкеровкн опорных листов. Диаметр штырей и анкерных стержней определен расчетом на сейсмическое воздействие силой в 9 баллов.

При землетрясении силой 9 баллов возможно приподнимание опорных узлов пролетных строений над опорными площадками, что наиболее вероятно для железнодорожных пролетах строений с ездой поверху и высоко расположенным центром тяжести, имеющих сравнительно небольшой запас устойчивости против опрокидывания. Однако приподнимание опорных узлов широких автодорожных мостов также не исключается, так как вертикальные ускорения сейсмических колебаний грунта в эпицентре разрушительного землетрясения в отдельные моменты могут превышать ускорение силы тяжести.

Приподнимание опорных узлов может привести к выходу штырей из отверстий в подушках и сдвигу пролетных строений сейсмическими силами в горизонтальной плоскости. Для предотвращения сдвига следует конструировать опорные части так, чтобы они воспринимали отрицательную опорную реакцию.

Такие опорные части применены по предложению лаборатории предварительно-напряженных мостов Грузинского ордена Ленина и ордена Трудового Красного Знамени политехнического института имени В.И. Ленина Минвуза Грузинской ССР на железнодорожном мосту через р. Дебед в Грузии. Подвижные опорные части в виде качающихся башмаков выполнены из стальных отливок (рис. 4). Башмаки соединены с подушками двумя шарнирными болтами. Многолетний опыт эксплуатации моста не выявил дефектов в конструкции этих опорных частей.

Рис. 4. Опорная часть, воспринимающая отрицательную реакцию

Той же лабораторией разработаны сейсмостойкие опорные части с железобетонными валками. Отрицательная опорная реакция пролетного строения воспринимается валками с помощью шарнирных болтов, проходящих через подушки валка и расположенные сбоку от него ограничители. Ограничители выполнены из металлических листов, жестко связанных с балкой пролетного строения и подферменной плитой. В другом варианте конструкции предусматривается вертикальная связь валка с балкой и подферменником с помощью заделанных в тело валка сверху и снизу двух гибких стальных листов. Опорная часть такого типа установлена на городском мосту через р. Махне, перекрывающем русло реки балкой жесткости длиной 60 м, усиленной гибкой аркой.

Для экономии металла в мостах широко применяют резиновые опорные части. К числу их достоинств относится частичная сейсмоизоляция пролетных строений, снижающая сейсмическую нагрузку. Однако следует учитывать, что слоистые опорные части обычного типа слабо сопротивляются горизонтальным сейсмическим силам. Для устранения этого недостатка В.П. Чуднецовым предложены резиновые опорные части специального типа.

Повышенной сопротивляемостью действию горизонтальных сил обладает резиновая опорная часть, состоящая из соединенного с пролетным строением стального листа, прикрепленной к листу железобетонной детали, нижняя поверхность которой имеет цилиндрическую форму, и резиновой прокладки, установленной в цилиндрическом углублении в подферменнике. Следует отметить, что эти меры, повышая сопротивление конструкции, в то же время уменьшают полезный эффект сейсмоизоляции.

2.4. Конструкции антисейсмических устройств

Необходимость воспринимать сейсмическую нагрузку произвольного направления усложняет и утяжеляет конструкцию опорных частей. Даже усиленные опорные части не всегда могут обеспечить устойчивость пролетных строений, так как разрушительные землетрясения нередко сопровождаются остаточными деформациями грунта сейсмотектонического, сейсмогравитационного или сейсмоденудационного (преимущественно от сейсмических волн) происхождения, не учитываемыми расчетом в настоящее время.

Опорные части могут разрушаться также несинхронными колебаниями грунта в основаниях различных опор моста, поскольку при этом возникает поворот пролетных строений в плане и появляются дополнительные напряжения среза в болтах крепления опорных частей. Непростой задачей остается определение сейсмических усилий в опорных частях мостов сложной геометрической формы, в частности, кривых в плане эстакад и косых путепроводов. Поэтому при проектировании средних и больших мостов в сложных тектонических, сейсмических, инженерно-геологических и ландшафтных условиях предусматриваются специальные антисейсмические устройства.

Для защиты пролетных строений от сдвига сейсмическими силами, предотвращения обрушения конструкций верхнего строения с опор (в случае подвижки по пересекающему ось моста разлому), предупреждения расстройства опорных частей из-за приподнимания опорных узлов, уменьшения сейсмической нагрузки и смягчения ударов пролетных строений о выступающие части опор в отечественном мостостроении применяют конструкции с дополнительными связями. Дополнительные связи устанавливают между пролетными строениями и опорами, пролетными строениями и грунтом, опорами и грунтом, соседними конструкциями верхнего строения моста. Наиболее распространены работающие на поперечный изгиб жесткие ограничители (стопоры), растягиваемые сейсмической нагрузкой элементы (анкеры) и их комбинации. В последнее время применяют связи, ограничивающие относительные перемещения концов соседних пролетных строений (сцепные устройства), и конструкции, смягчающие удары (буферные устройства). Основные виды антисейсмических устройств в мостостроении приведены в табл. 6.

Стопорные устройства при строительстве мостов в сейсмических районах СССР используют для удержания пролетных строений от поперечного сдвига. Конструкция железобетонных стопоров (рис. 5) для районов сейсмичностью 7 и 8 баллов разработана Ленгипротрансмостом в 1971 г. в виде дополнения к типовому проекту № 556/1-5 сборных железнодорожных пролетных строений длиной от 16,5 до 27,6 м из предварительно-напряженного железобетона. Проектом предусматривается армирование подферменных плит промежуточных опор и устоев дополнительными сетками, имеющими выпуски арматуры. После установки пролетных строений арматуру стопоров сваривают с выпусками арматуры из подферменной плиты, затем бетонную смесь укладывают в опалубку стопоров.

Таблица 6

Основные виды антисейсмических устройств в мостостроении

Дополнительные стационарные и нестационарные связи

Гасители колебаний и ударов

Связи между отдельными пролетными строениями

Ограничители колебаний

Связи между пролетными строениями и опорами

Демпферы трения скольжения и внутреннего трения

Связи между пролетными строениями и верхними балансирами

Системы сейсмоизоляции

Связи между верхними и нижними балансирами

Динамические гасители колебаний

Связи между нижними балансирами опорных частей и опорами

Пружинные буферы и резиновые прокладки

Связи между отдельными опорами

 

Связи между фундаментами опор и грунтом

 

Расход материалов в стопорах весьма значителен. Так, для пролетных строений длиной 27,6 м объем бетона в антисейсмических устройствах на одну промежуточную опору составляет 2,6 м3, или примерно 3 % объема железобетона пролетного строения. В стопоры одной опоры устанавливают от 730 до 1158 кг арматуры.

Рис. 5. Стопоры, защищающие от поперечного сдвига пролетные строения длиной 23,6 и 27,6 м:

1 - пролетное строение; 2 - железобетонный стопор; 3 - устой

Иногда на мостах устанавливают металлические стопоры. Например, на мосту через каньон р. Раздан для закрепления рамного пролетного строения от поперечного сдвига в местах опирания наклонных стоек на промежуточные опоры установлены стопоры, выполненные в виде двух стальных балок коробчатого сечения, изготовленных из стали марки 15ХСНД. В поперечном сечении каждая балка имеет размеры 600×640 мм. Балки размещены по обе стороны от поперечно-неподвижных опорных частей наклонных стоек с зазором не более 10 мм относительно верхних балансиров. Глубина заделки стопоров в бетон 1200 мм (рис. 6).

Металл применяют и в конструкциях анкерных антисейсмических устройств железнодорожных пролетных строений с ездой поверху (типовой проект № 739/13с) и с ездой понизу (типовой проект № 690/8с). При расчетной сейсмичности 9 баллов пролетные строения с ездой поверху длиной от 18,8 до 34,2 м закрепляют с обеих концов за середины домкратных балок.

Рис. 6. Стопор на мосту через каньон р. Раздан:

1 - промежуточная опора; 2 - поперечно-неподвижная опорная часть; 3 - металлический стопор

Анкер выполняют в виде стальной шарнирной конструкции (рис. 7). Пролетные строения длиной 45,8 и 55,8 м закрепляют задомкратные балки в местах постановки ребер жесткости. Масса металла анкерных устройств на одно пролетное строение длиной 18,8 - 34,2 м составляет приблизительно 270 кг. Анкерные устройства для пролетных строении длиной 45,8 и 55,8 м имеют массу примерно 1700 кг.

Рис. 7. Анкерные устройства для сталежелезобетонных пролетных строений длиной до 34,2 м:

1 - домкратная балка пролетного строения; 2 - анкерное устройство; 3 - опора; 4 - высокопрочные болты диаметром 22 мм

При совместном учете сейсмической нагрузки и веса пролетного строения в анкерных антисейсмических устройствах ферм с ездой понизу по расчету не возникает растягивающих сил. Поэтому для пролетных строений всех серий с ездой понизу при длине от 33 до 110 м анкерные устройства приняты облегченного тина. В расчете на одно пролетное строение масса анкерных устройств составляет 336 кг.

Большие автодорожные и городские мосты обычно состоят из нескольких секций (например, опор с неподвижно опертыми балочными пролетными строениями), которые могут совершать независимые колебания в направлении проезда. При достаточно сильном возбуждении такие колебания вызывают расстройство подвижных опорных частей, глубокие трещины в торцах балок и в подферменниках (из-за ударов), иногда обрушение пролетных строений вследствие потерь ими точек опоры. Для предупреждения этого применяют сцепные устройства, ограничивающие относительные горизонтальные перемещения смежных концов соседних пролетных строений.

Разрезные пролетные строения искусственных сооружений на железных и автомобильных дорогах могут также обрушиться из-за остаточных сейсмодеформаций грунта в основаниях опор, приводящих к горизонтальным перемещениям и наклонам конструкций нижнего строения моста. При возможных деформациях грунта в выбранном для пересечения реки створе уширяют подферменные площадки или устанавливают сцепные антисейсмические устройства, ограничивающие относительные вертикальные перемещения смежных концов соседних ферм и способные выдержать опорную реакцию повисающей конструкции.

Конструктивное решение сцепки в каждом конкретном случае определяется ее функцией и типом пролетного строения. Для объединения металлических и сталежелезобетонных балок со сплошной стенкой обычно используют накладки, прикрепляемые к вертикальным листам главных балок болтами. Отверстия под болты в стенке одной из балок делают овальными для того, чтобы не возникало температурных напряжений в конструкции и обеспечивалась свобода поворота балок. Железобетонные пролетные строения объединяют по плите проезжей части с помощью стержней, пропущенных через отверстия в концевых диафрагмах.

Рис. 8. Сцепное устройство для ферм с ездой поверху длиной 55 м:

1 - лист; 2 - планка; 3 - шарнир

Сцепные устройства ферм устанавливают в узлах пролетных строений. Разработанное Гипротрансмостом сцепное устройство для ферм длиной 55 м с ездой поверху (рис. 8) состоит из вертикальных листов, поперечных планок и шарнира, его монтируют на высокопрочных болтах длиной 140 и 180 мм. Отверстия под болты сверлят по месту с учетом фактического положения пролетных строений. Отверстия под шарнир в вертикальных листах сцепной конструкции делают овальными. Всего на трехпролетном мосту устанавливают восемь сцепных устройств (по четыре устройства в верхних и нижних узлах). Общая масса сцепки 1800 кг.

Удары пролетных строении в ограничители горизонтальных перемещений вызывают тяжелые повреждения соприкасающихся конструкций. Для смягчения ударов применяют буферные устройства в виде резиновых прокладок или конструкций, рабочим органом которых являются тарельчатые пружины. Конструкция буферов, разработанная Гииротрансмостом для балочного железнодорожного моста (см. рис. 1), приведена на рис. 9

Рис. 9. Буферное устройство для ферм с ездой поверху длиной 55 м:

1 - стержень; 2 - тарельчатая пружина; 3 - корпус

На этом объекте буферные устройства вмонтированы в скошенные концы крайних ферм. Каждый буфер выполнен в виде массивного стального стержня грибовидной формы, воспринимающего удар и опирающегося тыльной стороной головки (буферной тарелки) па комплект тарельчатых пружин из рессорно-пружинной стали. Пружины помещены в металлический корпус, защищающий их от атмосферных воздействий и засорения. Корпус буфера крепится высокопрочными болтами к узловым фасонкам фермы. Всего на мосту установлено четыре буферных устройства, рассчитанных на длительную эксплуатацию в условиях сурового климата. Общая масса буферов составляет 700 кг.

Конструкция этого буферного устройства является одной из первых отечественных конструкций с тарельчатыми пружинами антисейсмической защиты мостового сооружения.

Для изготовления партии тарельчатых пружин (60 шт.) использовали сталь марки 60С2А. Пружины выполнены внешним диаметром 300 мм, внутренним диаметром 122 мм, толщиной 20 мм, высота внутреннего конуса 6 мм. Пружины прошли проверку на твердость, податливость, прочность и выносливость. Твердость проверяли на трех образцах толщиной 22 мм, изготовленных из той же партии металла, что пружины. Твердость по Роквеллу термообработанных образцов составила от 43 до 45 единиц.

Проверку соответствия деформации пружин при предельной рабочей нагрузке (450 кН) требуемому значению (7,8 мм) проводили на прессе с помощью специально запроектированного устройства (рис. 10). Измеренная величина сжатия комплекта из двух пружин в среднем составила 8,1 мм, т.е. отклонение контролируемой деформации от расчетного значения было 4 % при допускаемом 5 %.

Прочность пружин проверяли заневоливанием (полным сжатием) четырех комплектов в течение 24 ч. Все комплекты прошли испытание. После разгрузки пружины не имели трещин и надрывов.

Выносливость проверяли стократным нагружением трех комплектов пружин в статическом режиме. Высота пружин в свободном состоянии после испытаний на выносливость уменьшилась в среднем на 0,2 мм. Трещин и надрывов пружины не имели. Проверкой установлено, что изготовленная партия пружин удовлетворяет требованиям ГОСТ 3057-79 «Пружины тарельчатые».

Совмещение в одной конструкции двух или нескольких функций основных антисейсмических устройств усложняет конструкцию, но позволяет уменьшить расход материалов на антисейсмическую защиту моста, поэтому широко распространены комбинированные устройства, совмещающие функции стопора и анкера.

Рис. 10. Устройство для испытания тарельчатых пружин:

1 - нижняя плита; 2 - верхняя плита; 3 - болт; 4 - гайка; 5 - тарельчатая пружина

Рис. 11. Комбинированное устройство проектировки Сибгипротранса

До введения в действие типового проекта № 739/13с при проектировании мостов на БАМе Сибгипротранс предусматривал защиту сталежелезобетонных пролетных строений от поперечного сдвига и приподнимания с опорных частей с помощью антисейсмических устройств, разработанных в соответствии с гл. СНиП II-A.12-69* «Строительство в сейсмических районах». Показанная на рис. 11 конструкция этого устройства выполнялась в виде расположенных сбоку от главных балок пролетного строения металлических стопоров и приваренных к ним в горизонтальном положении уголков, препятствующих приподниманию балок. Стопоры имели внутреннюю полость, образованную сваренными встык полками швеллеров. После установки пролетных строений коробки стопоров приваривали к закладным деталям и заполняли бетоном. Расход металла в антисейсмических устройствах Сибгипротранса составил 390 кг на одно пролетное строение длиной от 18,8 до 34,2 м (без учета элементов, повышающих сопротивление опорных закреплений сдвигу верхнего строения вдоль оси моста).

Для ферм длиной 55 м с ездой поверху Гипротрансмост запроектировал комбинированное антисейсмическое устройство, препятствующее сдвигу опорных узлов поперек оси моста и их приподниманию. Устройство (рис. 12) состоит из нижнего упора, связанного с опорой анкерными болтами Ø 36 мм, верхнего упора, прикрепленного к ферме высокопрочными болтами Ø 22 мм, и шарнира Ø 50 мм. Анкерные болты в оголовки опор заделывают с помощью эпоксидной смолы. Расход металла в устройствах сейсмозащиты одной фермы без скошенных концов составляет примерно 1190 кг. Комбинированное устройство применено Гипротрансмостом также для закрепления ригеля рамного пролетного строения через каньон р. Раздан. Антисейсмические связи на каждом устое запроектированы в виде двух коробчатых стальных балок поперечным сечением 450×526 мм. Балки приварены в горизонтальном положении угловыми швами к закладным листам, установленным при бетонировании шкафных стенок устоев. Сверху в зазор между балками входит консольный выступ домкратной балки, препятствующий поперечной подвижке ригеля на устое. Упорные уголки, прикрепленные к нижней части консольного выступа, не позволяют пролетному строению приподниматься с опорных частей. Масса антисейсмических устройств на устоях равна 3145 кг, что составляет примерно 0,1 % всей массы металла пролетного строения моста.

Рис. 12. Комбинированное устройство проектировки Гипротрансмоста:

1 - нижний упор; 2 - верхний упор; 3 - шарнир

2.5. Технико-экономическая характеристика антисейсмических мероприятий в мостостроении

Технико-экономические показатели сейсмостойких конструкций мостов выявляются при анализе типовых и индивидуальных проектов. Анализ проектных данных показывает, что в основном дополнительные затраты при строительстве мостов в сейсмических районах связаны с повышенным расходом материалов в опорах и устройством специальных антисейсмических элементов, обеспечивающих устойчивость пролетных строений при землетрясении. Усиление верхнего строения по расчету на прочность с учетом сейсмических воздействий обычно не требуется. Дополнительные затраты на усиление опорных частей сравнительно невелики.

Расход материалов в устройствах, защищающих железнодорожные пролетные строения от сброса с опор сейсмическими силами, зависит от типа пролетного строения. Наибольшее количество металла (до 16 % массы металла защищаемой конструкции) расходуется на типовые антисейсмические устройства из предварительно-напряженного железобетона. Данные о расходе металла и бетона в стопорах при сейсмичности района 8 баллов приведены в табл. 7.

Таблица 7

Полная длина пролетного строения, м

Расход

бетона

металла

пролетного строения, м3

стопоров, м3

относительный расход, %

пролетного строения, т

стопоров, т

относительный расход, %

16,5

35,2

2,04

5,8

6,07

0,63

10,4

18,7

44,4

2,04

4,6

7,11

0,66

9,3

23,6

64,3

2,66

4,1

8,97

1,46

16,3

27,6

83,0

2,66

3,2

11,59

1,46

12,6

Промежуточное положение по относительному расходу металла в антисейсмических устройствах (до 4 %) занимают сталежелезобетонные пролетные строения. Меньше всего металла (до 1 %) на те же цели расходуется в металлических пролетных строениях.

Расход материалов на антисейсмическую защиту опор железнодорожных мостов зависит от многих факторов (расчетной сейсмичности, положения пути в плане и профиле, конструкции опор, массы установленных на опоры пролетных строений). При наименее благоприятных обстоятельствах дополнительный расход бетона и арматуры в опорах, запроектированных с учетом требований гл. СНиП II-A.12-69* «Строительство в сейсмических районах», достигал 40 % и более. Например, в выпуске II типового проекта № 1067 Ленгипротрансмоста представлены конструкции столбчатых опор, предназначенных для применения вне меженных русел водотоков в сейсмических районах. Сейсмостойкие опоры разработаны под железобетонные пролетные строения длиной 6, 9,3 - 16,5 м.

При сооружении столбчатых опор по этому проекту антисейсмические мероприятия заключаются в усиленном армировании столбов (диаметром 80 см) двух- и трехрядных опор при определенных длинах примыкающих пролетных строений, высоте опор, радиусе кривой участка пути в плане, грунтовых условий и требований по трещиностойкости столбов в обычных условиях эксплуатации. Наибольшее дополнительное армирование столбов по условию сейсмостойкости потребовалось в мостах с пролетными строениями длиной 16,5 м, расположенными на прямых участках пути. При высоте насыпи на подходах к мосту 6 м наибольший расход арматуры на антисейсмическую защиту нижнего строения составил для промежуточных опор 40 % от массы арматуры в опорах обычного (несейсмостойкого) исполнения.

При сооружении промежуточной опоры сборно-монолитной конструкции под сталежелезобетонные пролетные строения длиной 45,8 м, в основании которой лежит слой сильнотрещиноватого гранита, а высота конструкции над обрезом фундамента составляет примерно 15 м, объем кладки опоры при расчетной сейсмичности 9 баллов увеличился более чем на 40 %.

После введения в действие в 1981 г. новых норм сейсмостойкого строительства стоимость антисейсмической защиты опор мостов несколько снизилась. Для определения технико-экономических показателей конструкций, соответствующих новым нормативным требованиям, Гипротрансмост запроектировал промежуточную опору из монолитного бетона под сталежелезобетонное пролетное строение длиной 45,8 м. Условное сопротивление грунта основания принято 0,3 МПа. Фундамент опоры массивный. Высота конструкций над обрезом фундамента 18 м. Для обеспечения сейсмостойкости при расчетной сейсмичности 9 баллов потребовалось увеличить объем бетона на 19 %, повысить марку бетона и установить в тело опоры стержневую арматуру. Стоимость конструкции увеличилась на 34 % по сравнению с типовой для несейсмических районов (по проекту № 845/1).

При строительстве в сейсмических районах автодорожных и городских мостов балочной системы стоимость опор за счет антисейсмических мероприятий изменяется примерно так же, как для железнодорожных мостов. В 1985 г. стоимость промежуточных опор и устоев автодорожных мостов разрезной и температурно-неразрезной систем, удовлетворяющих требованиям сейсмостойкости, определял при проектировании Тбилгипроавтодортранс. Рассматривались мосты, состоящие из четырех пролетных строений одинаковой длины (24 или 42 м) с опиранием на стальные или резиновые опорные части. Варьировались величины расчетной сейсмичности, высота опор и конструкция фундаментов. Полученные показатели свидетельствуют об увеличении стоимости промежуточных опор-стенок при использовании традиционной разрезной схемы, металлических опорных частей и фундаментов мелкого заложения. При расчетной сейсмичности 9 баллов эта величина колебалась в пределах от 13 до 20 % в зависимости от высоты опор и длины пролетных строений. Стоимость устоев козлового типа с фундаментами мелкого заложения при той же сейсмичности возросла на 22 - 35 % по сравнению с типовым решением для несейсмических районов.

Выполненные проектные работы дают следующие приближенные оценки удорожания строительства мостов в сейсмических районах. С учетом затрат на монтажные работы, вспомогательные обустройства и прочие расходы в среднем для мостов различного назначения, запроектированных по действующим нормам сейсмостойкого строительства, удорожание за счет антисейсмических мероприятий равно 1 - 2, 5 - 6 и 11 - 12 % при расчетной сейсмичности 7, 8 и 9 баллов. По сравнению с мостами, построенными по ранее действующим нормам, удорожание несколько снижено. Уменьшение стоимости антисейсмических мероприятий объясняется включением в нормы изменений и дополнений, а также накопленным в проектных организациях опытом расчета и конструирования сейсмостойких мостовых конструкций.

Исходя из среднегодового объема работ, выполняемых Главмостостроем в сейсмических районах, и учитывая размеры удорожания строительства, стоимость антисейсмических мероприятий в мостостроении (по объектам Минтрансстроя) составляет 9 - 10 млн. руб. в год.

3. АНТИСЕЙСМИЧЕСКИЕ УСТРОЙСТВА МОСТОВ ЗА РУБЕЖОМ

При строительстве железнодорожных мостов в Японии чаще всего применяют балочные пролетные строения из обычного и предварительно-напряженного железобетона, что объясняется высокими ценами на прокатный металл, низкими эксплуатационными расходами на содержание железобетонных мостов, высоким уровнем шума при движении поездов по металлическим пролетным строениям.

Высокая сейсмичность территории побуждает японских инженеров вести активные поиски путей снижения массы железобетонных пролетных строений. Для этого применяют конструкции из легкого и высокопрочного бетонов, железобетонные фермы из элементов заводского изготовления, обжатые в двух направлениях монолитные балочные пролетные строения и другие современные конструкции. Несмотря на это, в железнодорожных мостах вес разрезных пролетных строений длиной более 40 м становится больше нагрузки от массы поезда. В этом случае, по мнению японских специалистов, выгоднее неразрезные конструкции из предварительно-напряженного железобетона, хотя имеются примеры перекрытия разрезными балками пролетов более 60 м.

Большая масса железобетонных и сталежелезобетонных пролетных строений создает при землетрясениях значительные инерционные силы в опорных частях, вызывает их разрушение и сдвиг пролетных строений, что особенно опасно на высокоскоростных магистралях. Для повышения устойчивости положения разрезных пролетных строений в Японии широко применяют ограничители горизонтальных перемещений балок. В качестве ограничителей используют шкафные стенки устоев, имеющие необходимое армирование для удержания верхнего строения от сдвига вдоль оси моста, а также специальные антисейсмические устройства, ограничивающие поперечное смещение балок и недопустимое раскрытие деформационных швов. Для смягчения действия ударов между пролетными строениями и ограничителями рекомендуется устанавливать буферные прокладки из резины.

Обычно ограничители выполняют в виде массивного железобетонного элемента (стопора), заделанного в подферменную плиту между главными балками пролетного строения. Такое расположение стопора позволяете передавать на него сдвигающие сейсмические силы, направленные поперек оси моста вверх и вниз по течению реки. На стопоры промежуточных опор возлагается также задача удержания балок от сдвига вдоль оси моста. Для этого в пролетных строениях устраивают концевые диафрагмы, а концы смежных пролетных строений соединяют между собой стальными связями (стержнями, пластинами или пучками высокопрочной проволоки). Приведем два примера таких конструкций.

На двухпутном мосту Аракава установлены пролетные строения длиной 39,3 м из предварительно-напряженного железобетона. Стопоры размерами в плане 2060×700 мм входят снизу в пазы, имеющиеся в плитах пролетных строений. Последние соединены между собой в продольном направлении, для чего плита имеет утолщение над опорой, через которое пропущено 10 стальных стержней диаметром 30 мм. На концах стержней имеются гайки и шайбы, поставленные с таким расчетом, чтобы не стеснять температурных деформаций пролетных строений.

Значительно меньшие размеры поперек оси пути имеют стопоры моста Шин-Катсурагава (рис. 13). Пролеты моста перекрыты сталежелезобетонными балками длиной 40,8 м, установленными на опоры высотой 40 м. Пролетные строения низовой и верховой сторон соединены на опорах стальными коробчатыми балками. Армированные двутаврами стопоры удерживают пролетные строения от сдвига вдоль и поперек оси моста. Как и на мосту Аракава, концы соседних пролетных строений соединены между собой с помощью накладок и болтов. Для обеспечения температурных деформаций пролетных строений отверстия в вертикальных листах главных балок одного из двух соединяемых пролетных строений сделаны эллиптической формы.

При строительстве железнодорожных мостов для перекрытия пролетов 45 - 100 м применяют неразрезные конструкции из предварительно-напряженного железобетона. При этом наибольшие трудности возникают при проектировании опоры, несущей неподвижные опорные части. Продольная сейсмическая нагрузка, зависящая от массы верхнего строения, довольно значительна. Чтобы воспринять такую нагрузку, необходимо сильно развивать конструкцию анкерной опоры, что делает ее слишком тяжелой, а мост - неэкономичным. При расчетной сейсмичности 9 баллов приемлемые решения получают только в тех случаях, когда основанием опоры служит скальный грунт.

Рис. 13. Стопоры на мосту Шин-Катсурагава:

1 - упор; 2 - стопор

Схема передачи сейсмической нагрузки на анкерный устой, опирающийся на скальное основание, применена на мосту Вашинозугава. В средней части моста установлена неразрезная балка, в боковых частях - разрезные балки. Две промежуточные опоры в средней части моста выполнены гибкими. На этих опорах установлены неподвижные опорные части, на остальных - подвижные. Пролетные строения объединены в две цепочки стержнями, стягивающими опорные диафрагмы. Каждая цепочка соединена стержнями с одним из устоев. Устои имеют значительную жесткость в горизонтальном направлении, поэтому сила инерции пролетных строений практически полностью передается на устои, что позволяет уменьшить массу промежуточных опор. К недостаткам этой схемы относится то, что масса пролетных строений присоединена к массе опор, расположенных в верхней части склона, где интенсивность сейсмических колебаний грунта сильно возрастает.

Если скальные грунты по оси мостового перехода залегают глубоко, то при проектировании неразрезной конструкции целесообразнее распределить продольную сейсмическую нагрузку на все опоры. Для этого в Японии применяют специальные соединения неразрезных пролетных строений с опорами. Интересна конструкция закрепления пролетных строений пятипролетного моста Сетагава общей длиной 232 м (рис. 14). Нагрузка от торможения поезда (3000 кН) передается на анкерную опору с помощью стальных стержней, которые легко разрушаются под действием расчетной сейсмической нагрузки (16000 кН). После разрушения стержней неразрезная балка перемещается по опорным частям до тех пор, пока заделанные в балку стопоры не коснутся стенок углублений в подферменных плитах, после чего сейсмическая нагрузка воспринимается всеми опорами. Однако из-за влияния температуры воздуха на величину зазоров стопоры воспринимают нагрузку от движущейся балки неодновременно, что является недостатком конструкции.

Рис. 14. Закрепление неразрезного пролетного строения моста Сетагава:

1 - выключающиеся связи; 2 - стопоры; 3 - опора, воспринимающая силу торможении

Этот недостаток исключается, если углубления в подферменных плитах заполнить вязким веществом, создающим очень большое сопротивление быстрым перемещениям стопоров, но не препятствующим их медленным перемещениям от изменения температуры воздуха. Такая конструкция применена на некоторых крупных мостах Японии, включая мост Абукумагава с пятью пролетами по 105 м, построенный в 1975 г. Иногда применяют также модификацию описанной конструкции, в которой стальные стержни, воспринимающие нагрузку от торможения, заменены стальными изогнутыми пластинками, установленными на анкерной опоре в углублении подферменной плиты.

В США при проектировании железнодорожных мостов разрезной системы предусматривают меры, предотвращающие обрушение пролетных строений с опор при землетрясениях. При этом антисейсмические устройства должны допускать беспрепятственное перемещение конструкций под действием подвижной нагрузки и при изменениях температуры, а также исключать относительные перемещения концов соседних пролетных строений в плане и изгиб рельсов.

Для железных дорог в сейсмически активной Калифорнии характерны балочные мосты с разрезными пролетными строениями длиной 20 - 30 м из предварительно-напряженного железобетона и в виде стальных балок с железобетонной плитой. При пролетах 40 м и более применяют неразрезные конструкции.

Железобетонные балки под два пути имеют коробчатое сечение и поперечные диафрагмы по концам. Балки устанавливают на резиновые опорные части так, что между их торцами остается зазор примерно 60 см (рис. 15). При этом фиксируемый в плане конец пролетного строения имеет выпуски арматуры, а в конец соседнего пролетного строения заделывается в горизонтальном положении стальной штырь площадью примерно 30 см2. В пространстве между торцами балок помещают два вертикальных штыря того же размера, заделывая их нижние концы в оголовке опоры. Выпуски арматуры и свободные концы штырей омоноличивают на месте. Свободу температурных перемещений балок и поворот опорных сечений обеспечивают резиновые прокладки между штырями и бетоном омоноличивания.

В автодорожных мостах антисейсмические устройства широко применяют после землетрясения 1971 г., которое разрушило несколько крупных эстакад и путепроводов в Калифорнии. Рассмотрим три характерных примера устройств, запроектированных с целью усиления существующих мостов.

Во время сильного землетрясения срезанный каток опорной части может опрокинуться. Для повышения устойчивости катка амплитуда сейсмических колебаний опорного узла сталежелезобетонного пролетного строения длиной 27 м относительно устоя ограничивается упорами и стопорами (рис. 16). Упоры выполняют из уголков, прикрепленных в горизонтальном положении четырьмя болтами к нижнему поясу каждой балки пролетного строения. Стопоры запроектированы в виде двутавровых балок, усиленных ребрами жесткости и притянутых гайками к передней грани устоя. Удерживается стопор двумя металлическими анкерами, заделанными в бетон на глубину 70 см. Расстояние между упором и стопором достаточно для свободного перемещения опорного узла при изменениях температуры и землетрясениях умеренной силы.

Рис. 15. Антисейсмические устройства на железнодорожном мосту в США:

1 - ограничитель относительных перемещений концов пролетных строений; 2 - ограничитель перемещении балок относительно опоры; 3 - бетон омоноличивании

Рис. 16. Устройство, обеспечивающее устойчивость катка опорной части

1 - упор; 2 - анкерный болт; 3 - стопор

Подвижные опорные части могут потерять устойчивость также при сильных вертикальных сейсмических толчках, когда сила тяжести преодолевается и опорные узлы отделяются от опоры. Чтобы ограничить приподнимание опорных узлов и предотвратить потерю пролетным строением опорных частей, применяют анкерное устройство (рис. 17), состоящее из заведенной под ригель анкерной балки и вертикальных стержней, закрепленных гайками на упорных уголках, прикрепленных к главным балкам пролетного строения. Вертикальные стержни и их крепление рассчитаны на восприятие силы, равной 10 % опорной реакции балки от веса пролетного строения.

Консольные мосты при землетрясениях могут разрушаться из-за неудачной конструкции стыка консолей. Если расчет показывает, что сейсмические колебания приведут к разъединению консолей, то на их концах необходимо установить ограничители перемещений. Амплитуду относительных перемещений целесообразно определять, предполагая, что верхние точки опор, на которых установлены неподвижные опорные части смежных секций моста, испытывают максимальные сейсмические смещения в противоположном направлении.

На рис. 18 показано соединение соседних секций железобетонного моста балочно-консольной системы. Концы коробчатых консолей связаны в продольном направлении 12 болтами диаметром 45 мм. На концевых диафрагмах болты закреплены гайками, под которые поставлены резиновые шайбы, обеспечивающие свободное развитие температурных деформаций пролетного строения. Несущую способность и количество болтов определяют из условия передачи в продольном направлении усилия, равного одной четвертой веса пролетного строения (меньшей из двух соединяемых секций верхнего строения моста).

Сцепные устройства, ограничивающие раскрытие деформационных швов, выполняют в США также из тросов диаметром 20 мм, для пропуска которых в концевых диафрагмах пролетных строений имеются отверстия. Требуемое количество тросов определяют таким же образом, как и число затяжек из стержней. При проектировании особо крупных мостов сейсмическую нагрузку на тросы принимают по данным динамического расчета сооружений. Тросы используют также в анкерных устройствах, удерживающих разрезные пролетные строения от сдвига вдоль оси моста.

Рис. 17. Анкерное устройство, предотвращающее приподнимание опорных узлов пролетных строений:

1 - упорные уголки; 2 - анкерный стержень; 3 - анкерная балка

Рис. 18. Устройство, ограничивающее относительные перемещения консолей:

1 - болт; 2 - концевая диафрагма пролетного строения; 3 - резиновая шайба

В Новой Зеландии для снижения сейсмической нагрузки разработаны антисейсмические устройства, поглощающие энергию колебаний моста за счет деформирования элементов (демпферов, выполненных из стали, свинца и других материалов). Устройства испытаны при частотах и амплитудах колебаний, характерных для сильных землетрясений. Испытания показали стабильные характеристики устройств на протяжении нескольких сотен циклов приложения нагрузки. Стоимость устройств составляет 1 % стоимости защищаемых мостов.

Демпферы одноосного действия типа «изгибаемая пластина» установлены на трехпролетном путепроводе. Пролетное строение неразрезное, общей длиной 52 м, из предварительно-напряженного железобетона. Демпферы, поставленные на подферменных площадках промежуточных опор, действуют в поперечном (к оси моста) направлении, а размещенные на устоях - в продольном. Конструкция демпфера обеспечивает свободу температурных деформаций пролетного строения. Расчетная сейсмическая нагрузка принята такой же, как в обычном варианте, но надежность сооружения увеличилась за счет лучшего рассеяния энергии колебаний. В проекте многопролетного неразрезного моста длиной 264 м с коробчатым пролетным строением из предварительно-напряженного железобетона предусмотрены демпферы одноосного действия типа «изгибаемый стержень». Опорные части пролетного строения плоские, из полимерного материала. Демпферы, установленные на подферменных площадках устоев и промежуточных опор, поглощают энергию колебаний пролетного строения в поперечном к оси моста направлении. На устое размещен демпфер, поглощающий энергию колебаний пролетного строения вдоль оси моста. Комбинированная система гашения колебаний использована на трехпролетном мосту с разрезными сталежелезобетонными пролетными строениями длиной по 25 м. Гасители колебаний выполнены в виде заглубленных в насыпь плит и резинометаллических опорных частей, имеющих свинцовый сердечник (рис. 19). Такие опорные части снижают сейсмическую нагрузку, практически не препятствуя температурным перемещениям верхнего строения.

Один из основных приемов снижения сейсмической нагрузки заключается в применении прочных и легких материалов, допускающих развитие в несущих конструкциях пластических деформаций. Пластические деформации можно обеспечить специальными элементами, включаемыми в конструкцию основных частей моста.

Рис. 19. Резиновая опорная часть, имеющая свинцовый сердечник:

1 - пластина, прикрепляемая к пролетному строению; 2 - резиновая прокладка: 3 – пластина, прикрепляемая к опоре; 4 - свинцовый сердечник

В Новой Зеландии разработана конструкция плоской рамной опоры с двумя наклонными стойками в поперечном к оси моста направлении. У поверхности грунта стойки разделены поперечными швами так, что связь между верхними и нижними частями стоек при растяжении осуществляется посредством стальных стержней (анкеров), выполненных из низкоуглеродистой стали. Исследование сейсмостойкости опоры выполнено применительно к виадуку с предварительно-напряженными железобетонными пролетными строениями длиной 61 м. Выше анкерных устройств стойки запроектированы в виде железобетонных цилиндрических оболочек диаметром 2,8 м. Ниже разреза стойки имеют сплошное сечение. Высота опоры от поверхности грунта 66 м.

Динамический расчет конструкции выполнен с использованием сейсмограммы землетрясения в Эль-Центро, в предположении упругой работы опоры и с учетом пластической стадии деформирования анкеров. При этом варьировались расстояние между стойками опоры и диаметр анкеров.

Сопоставление результатов расчетов показало существенное влияние на величину сейсмической нагрузки характера диаграммы растяжения анкеров. При деформировании стержней по диаграмме Прандтля сейсмическая нагрузка уменьшалась примерно в три раза по сравнению с нагрузкой при расчете упругой системы.

В Италии для автодорожных путепроводов обычны пролетные строения балочно-разрезной системы, применяемые, в основном, при пересечении автомобильных дорог с четырехрядным движением. При пересечении магистралей с шестирядным движением и разделительной полосой используют неразрезные плитные пролетные строения, причем одну из промежуточных опор сооружают в пределах разделительной полосы. Часто промежуточные опоры выполняют рамными из сборного железобетона. Балочные разрезные конструкции пролетных строений широко используют также при строительстве эстакад, подчиненных плану и профилю автомагистрали.

При строительстве виадуков, когда сооружение большого числа высоких опор экономически нецелесообразно, применяют неразрезные, рамные и арочные пролетные строения. Однако при высоте опор до 30 - 40 м балочные разрезные конструкции успешно конкурируют со статически неопределимыми системами.

В 1977 - 1980 гг. у г. Терамо построены три автодорожных виадука балочной разрезной системы с пролетными строениями длиной от 39,0 до 42,5 м из предварительно-напряженного железобетона. Общая длина виадуков 1720 м при ширине проезжей части 11 м. Пролетные строения запроектированы коробчатыми с нижней плитой толщиной 15 см, двумя наклонными стенками толщиной по 40 см и верхней плитой с боковыми консолями для размещения тротуаров и проезжей части под две полосы движения. Высота конструкции 230 см, что составляет примерно 1/17 часть перекрываемых пролетов. Виадуки расположены в сейсмическом районе. Для уменьшения сейсмической нагрузки опоры выполнены пустотелыми.

Размеры поперечных сечений опор назначены различными в зависимости от их высоты.

Рис. 20. Сцепное антисейсмическое устройство итальянской проектировки:

1 - железобетонная связь; 2 - анкер

При проектировании больших автодорожных мостов с разрезными пролетными строениями предусматривают меры против сброса верхнего строения силами инерции. Незадолго до землетрясения 1976 г. через р. Тальяменто построили мост с разрезными балочными пролетными строениями длиной по 45 м из предварительно-напряженного железобетона. Массивные бетонные опоры моста сооружены на фундаментах из столбов диаметром 1200 мм, погруженных на 22 м в аллювиальные грунты. На подферменных площадках расположены железобетонные стопоры, препятствующие сбросу пролетных строений. Зазор между стопорами и балками равен 3 см. Опорные части выполнены из стали и тефлона. Стопоры удержали пролетные строения от обрушения, но получили повреждения (трещины и сколы бетона). Местные деформации образовались также в торцах балок.

Существует такой прием сейсмозащиты балочных разрезных пролетных строений, как объединение их в цепь с помощью железобетонных стержней, арматура которых соединяется с арматурными выпусками из нижних поясов (плит) балок (рис. 20). Эти простейшие устройства, установленные на мостах в районе Неаполя, прошли практическую проверку при землетрясении 1980 г. Сцепные устройства получили тяжелые повреждения (разрушение бетона, общие деформации стержней). Местные остаточные деформации развились в торцах балок и в подферменниках, но полного разрыва связей и обрушения пролетных строений не наблюдалось.

Крупные мосты неразрезной системы защищают от землетрясений сейсмоизоляцией пролетных строений. Для этого на опорах устанавливают скользящие опорные части, позволяющие пролетному строению легко смещаться в горизонтальной плоскости в любом направлении. Перемещения вдоль оси моста ограничиваются специальным устройством, расположенным на одном из устоев, а перемещения поперек оси моста лимитируются стопорами, которые представляют собой массивные выступы на поверхности нижней плиты пролетного строения, входящие сверху в расположенные под ними гнезда в подферменных плитах опор. Во избежание повреждений при ударах между стопорами и стенками гнезд устанавливают буферные прокладки из неопрена. Ограничитель продольных перемещений пролетного строения состоит из резиновых прокладок и изогнутых листов, изготовленных из стали с хорошими пластическими свойствами. Значительная податливость в упругой стадии и пластические свойства продольной связи позволяют в несколько раз снизить сейсмическую нагрузку, действующую на устой в продольном к оси моста направлении.

4. ВЫВОДЫ

Применяемые в настоящее время в сейсмических районах СССР конструкции пролетных строений мостов запроектированы на достаточно высоком уровне. Однако в некоторых сооружениях индивидуальной проектировки не всегда соблюдается принцип снижения массы пролетных строений. Определенные резервы, использование которых позволит уменьшить массу пролетных строений, имеются также в типовых конструкциях. Улучшения технико-экономических показателей мостов, сооружаемых в сейсмических районах, можно добиться за счет широкого применения в пролетных строениях материалов повышенной прочности.

Разработаны прогрессивные, удовлетворяющие требованиям сейсмостойкости, конструкции опор: столбчатые, плоские и пространственные рамные из обычного железобетона, сборно-монолитные из блоков с фигурной гранью, опоры коробчатого поперечного сечения из предварительно-напряженного железобетона. В сейсмических районах применяют и массивные опоры, защита которых от землетрясений связана со значительным расходом материалов. Экономное расходование ресурсов требует увеличить масштабы использования прогрессивных решений при строительстве опор мостов в сейсмических районах.

Необходимость передачи сейсмических сил горизонтального и вертикального направлений большой величины осложняет и утяжеляет конструкцию опорных частей. При этом даже усиленные опорные части не всегда обеспечивают устойчивость пролетных строений, так как особенно сильные землетрясения сопровождаются неучитываемыми расчетом остаточными деформациями грунта, которые вызывают перемещение опор и срез болтов опорных частей. Крепления опорных узлов могут разрушаться из-за несинхронных колебаний оснований различных опор, вызывающих поворот пролетных строений в плане и дополнительные напряжения в болтах опорных частей. Поэтому при сооружении опор мостов на площадках в особо сложных тектонических, сейсмических, ландшафтных и инженерно-геологических условиях антисейсмическое закрепление пролетных строений целесообразно выполнять с помощью специальных устройств. Кроме повышения общей устойчивости верхнего строения моста антисейсмические устройства способствуют гашению колебаний, уменьшая тем самым сейсмическую нагрузку.

Интересен зарубежный опыт строительства мостов в сейсмических районах, конструкции антисейсмических устройств, использования прокладок из полимерных материалов в качестве гасителей ударов. Специальные средства антисейсмической защиты позволяют значительно повысить сейсмостойкость мостов при сравнительно небольших дополнительных затратах на средства защиты.

Выполненные в СССР разработки показывают, что стопорные, анкерные, сцепные, буферные и комбинированные антисейсмические устройства хорошо увязываются с железнодорожными и автодорожными пролетными строениями наиболее распространенных типов. Опыт использования для гашения ударов тарельчатых пружин, имеющих в условиях сурового климата определенные преимущества перед резиновыми буферами, можно оценить положительно. Следует усилить разработку методов расчета мостов, оборудованных антисейсмическими устройствами, используя общую теорию гасителей колебаний.

Для уменьшения дополнительных затрат на оборудование мостов специальными антисейсмическими устройствами важно правильно регламентировать условия, при которых следует применять такие устройства, и номенклатуру конструкций, подлежащих специальной защите. Анализ повреждений мостов при землетрясениях позволяет считать таким условием расчетную сейсмичность 9 баллов. При расчетной сейсмичности 7 и 8 баллов специальные средства защиты могут потребоваться при наличии неблагоприятных условий на месте сооружения опор. Мосты с пролетными строениями длиной более 18 м подлежат специальной защите. Конкретный тип антисейсмических устройств должен назначаться с учетом местных условий, вида и назначения защищаемой конструкции.

Г.С. Шестоперов

ЛИТЕРАТУРА

1. Опыт строительства опор железнодорожного моста через р. Илим из универсальных блоков ЦНИИС. Экспресс-информация. - М.: Оргтрансстрой, 1976, 16 с.

2. Друганова А.Б., Макарова 3.А. Новый городской мостовой переход. Журнал «Транспортное строительство». - М.: 1979, № 4, с. 7-9.

3. Карцивадзе Г.Н., Чуднецов В.П. Принципы проектирования опорных закреплений балочных пролетных строений мостов в сейсмических районах. Сборник «Совершенствование методов расчета и конструирования зданий и сооружений, возводимых в сейсмических районах». - Тбилиси: «Мецниереба», 1976, с. 73-83.

4. Клусов Л.П., Файнштейн И.С, Френкель П.И., Хомский А.О. Рамное пролетное строение моста под совмещенное движение. Журнал «Транспортное строительство». - М.: 1981, № 7, с. 6-8.

5. Митрофанов Ю.М., Былло Г.И., Соловьев А.В., Карасик М.Е. Строительство моста-эстакады. Журнал «Транспортное строительство». - М.: 1979, № 5, с. 6-9.

6. Митрофанов Ю.М., Былло Г.И. Эпштейн В.М., Карасик М.Е. Скоростной монтаж моста-эстакады. Журнал «Транспортное строительство». - М.: 1976, № 5, с. 6-8.

7. Словинский В.А. Пролетные строения мостов из предварительно-напряженного железобетона, осуществленные в сейсмических районах Грузинской ССР и Закавказской железной дороги. Сб. материалов симпозиума ФИП. - Тбилиси: 1972, с. 438-451.

8. Словинский В.А., Словинский Ю.В. Конструкции мостов с некоторыми антисейсмическими устройствами. Сборник «Сейсмостойкость транспортных сооружений». - М.: «Наука», 1980, с. 40-50.

9. Строительные нормы и правила. Строительство в сейсмических районах (СНиП II-7-81). - М.: Стройиздат, 1982, 49 с.

10. Чуднецов В.П. Резиновые слоистые опорные части для балочных мостов в сейсмических районах. В сб. «Сейсмостойкость транспортных, гидромелиоративных и других сетевых инженерных сооружений». - Тбилиси: «Мецниереба», 1976, с. 59-64.

11. Шестоперов Г.С, Федотов Б.И. Антисейсмические устройства металлического моста на БАМе. «Транспортное строительство», 1984, № 6, с. 13-14.

12. Шестоперов Г.С. Расход материалов на антисейсмические мероприятия в мостостроении. «Транспортное строительство», 1984, № 8, с. 10-12.

13. Blakely R. W., Chapman H. E. Recent New Zealand developments on bridge seismic design. Preprints of seminar on construction on seismic zones. Bergamo, JSMES, 1978, p. 1.75-1.87.

14. Braga F., Petrangeli M. Ferremoto del 6 Maggio 1976 nel Friuli. Considerazioni sul comportamento di ponti, viadotti ed altre opere stradalli. «Jnd. ital. cem.», 1976, № 7-8, p. 526-540.

15. Bridges get earthquake restrainers. «Engineering New-Record». 1976, v. 196, № 19, p. 13.

16. Сastigliоni A., Urbanо С, Stupazzini В. Seismic design of bridges in high activity region. Proc. of the seventh european conf. of earthguake engineering. Athens, 1982, p.187-203.

17. Danieli Dario, Palumberi Giuseppe. Le Pont de Val Vicima (Jtalie). «Acier», 1972, 37, № 9, p. 380-384.

18. Deck-girder railroad bridge has earthquake resistant featured. «Engineering New-Record», 1945, Yan., p. 90-91.

19. Degenкоld О.Н. Jnereasing the seismic resistance of existing highway bridges. Proc. of a conf. conducted by the Transportation Res. Board. Washington, 1978, vol. 2, p. 31-36.

20. How do protect bridges against earthquakes. «Highway and heavy construction», 1976, № 6, p. 38.

21. Jnomata S. Japanese practice in seismic design of prestressed bridges. «Y. Prest. Cone. Just.», 1972, № 1, p.76-85.

22. Gapan National Committee for aseismic Design of Prestressed concrete Structures. The design and construction of prestressed concrete structures in Japan. Design and standarts. International symposium. Tbilisi, 1972, p. 42-75.

23. Кainо Т. New ideas in aseismatic design. «Japanese Railway Engineering», 1979, vol. 19, № 3, p. 12-15.

24. Kudo H. Abukuma-gawa bridge № 2 of the Tohokti Shinkansen. «Japanese Railway Engineering», 1976, vol. 16, № 3, p. 17-19.

25. Кuesel T.R. Bay area transit system designed to roll with earthguake punches. «Engineering New-Record», April 21, 1966, p. 24-28.

26. Longinow A., Robinson R.R., Podolny W., Chuk H., Albert D.S. Practical bridge retrofit concepts to reduce damage produced by seismic motions. Proc. of a conf. conducted by the Transportation Res. Board, Washington, 1978, vol. 2, p. 22-30.

27. Niskiki T. Rationalization of structure of concrete bridge against earthguake. «Japanese Railway Engineering», 1967, vol. 8, № 3, p. 10-13.

28. Nоguсhi T. Design and construction of long-span bridges and special type bridges. «Japanese Railway Engineering», 1974, vol. 15, № 2, p. 19-22.

29. Nоzawa D. Damage JNR incurred from the earthguake off the coast of Miyagi prefecture in 1978 and JNRs earthguake cotintermeasures. «Japanese Railway Engineering», 1979, vol. 18, N° 4, p. 6-8.

30. Ponti e viadotti. «Jnd. ital. cem.», 1982, № 5, p. 315-390.

31. Shepherd R., McConnel R. E. Seismic response predictions of bridge pier. «J. Eng. Mech. Div. Proc. Amer. Soc. Civ. Eng.», 1972, 98, № 3, p. 609-627.

32. Tamura K. Earthguake-resistant design of railway structures. Tokyo, 1972, «Japan Railway Civil Engineering Association», 22 p.



уроки по алготрейдингу на Python с нуля



Яндекс цитирования