ИНФОСАЙТ.ру
Госты, стандарты, нормативы. В библиотеке 60000 документов. Регулярное обновление. Круглосуточный бесплатный доступ!
БИБЛИОТЕКА ГОСТОВ, СТАНДАРТОВ И НОРМАТИВОВ

:: АЛГОТРЕЙДИНГ ::


АЛГОТРЕЙДИНГ
шаг за шагом


БЕСПЛАТНЫЕ УРОКИ по созданию торговых роботов на PYTHON с нуля, шаг за шагом.


Минимальные знания на PYTHON.
Библиотеки BackTrader и Pandas, сигналы с Pine Script из TradingView.
Связка с брокерами, телеграм.
Создание простых интерфейсов.

 

Все документы, представленные в каталоге, не являются их официальным изданием и предназначены исключительно для ознакомительных целей. Электронные копии этих документов могут распространяться без всяких ограничений. Вы можете размещать информацию с этого сайта на любом другом сайте.


МИНИСТЕРСТВО АВТОМОБИЛЬНЫХ ДОРОГ РСФСР

МИНИСТЕРСТВО СТРОИТЕЛЬСТВА ДОРОГ УССР

МИНИСТЕРСТВО СТРОИТЕЛЬСТВА ДОРОГ БССР

ИНСТРУКЦИЯ
ПО УШИРЕНИЮ АВТОДОРОЖНЫХ мостов
и
ПУТЕПРОВОДОВ

ВСН 51-88

МИНИСТЕРСТВО АВТОМОБИЛЬНЫХ ДОРОГ РСФСР

МИНИСТЕРСТВО СТРОИТЕЛЬСТВА ДОРОГ УССР

МИНИСТЕРСТВО СТРОИТЕЛЬСТВА ДОРОГ БССР

Утверждено

Министерством автомобильных

дорог РСФСР

26 июля 1988г.

ИНСТРУКЦИЯ
ПО УШИРЕНИЮ АВТОДОРОЖНЫХ мостов
и
ПУТЕПРОВОДОВ

ВСН 51-88

МОСКВА «транспорт» 1990

Инструкция по уширению автодорожных мостов и путепроводов. ВСН 51-88/ Министерство автомобильных дорог РСФСР, Министерство строительства дорог УССР, Министерство строительства дорог БССР. - М.: Транспорт, 1990.

В Инструкции изложены методы оценки состояния искусственных сооружений, которое должно учитываться при разработке проекта реконструкции - уширения и усиления моста. Даны требования по изысканиям, проектированию и особенностям производства работ. Приведены методы расчета уширения опор, железобетонных и сталежелезобетонных пролетных строений, а для наиболее распространенных случаев - результаты расчета (в графиках и таблицах).

Инструкция предназначена для инженерно-технических работников.

Ил. 79, табл. 25.

Инструкцию разработали кандидаты техн. наук П.В. Золотев (НПО «Дорстройтехника»), Д.Н. Поляков. (ВЗИСИ), В.П. Леонов (МАДИ), В.Г. Кваша (ЛПИ), В.Т. Ильюшенко (СибАДИ), Н.Е. Страхова и Н.Н. Хвощикская, М.М. Онищенко (КАДИ), канд. эконом. наук Э.В. Дингес (МАДИ), инж. П.Н. Ковалев (ГосдорНИИ) при участии и под руководством канд. техн. наук В.И. Шестерикова (НПО «РосдорНИИ»).

В разработке Инструкции принимали также участие: канд. техн. наук А.П. Слука и инж. А.Г. Пастушенко (НПО «Дорстройтехника»), инж. В.М. Гольштейн (Укрремдорпооект), кандидаты техн. наук Г.П. Курасова и А.К. Зайцева (ВЗИСИ), Н.П. Лукин (ХАДИ), П.Н. Коваль (ЛПИ), инженеры В.И. Пузиков и С.Д. Паршиков (СибАДИ), В.Н. Кухтин и канд. техн. наук С.О. Зеге (МАДИ).

Кроме того, в исследованиях и в формулировке отдельных пунктов участвовали кандидаты техн. наук Я.С. Фаин (РИСИ), В.Н. Оныськив и Ю.М. Собко (ЛПИ), инженеры В.Н. Леонтьева (КАДИ), Н.В. Безверхая (МАДИ), А.С. Лозицкий (ХАДИ), В.В. Мусохранов, С.И. Рыклин и канд. техн. наук М.И. Шейнцвит (НПО «РосдорНИИ»), канд. техн. наук А.И. Мордич и инж. Н.А. Татарикова (НПО «Дорстройтехника»), инж. О.В. Сворйцов (ГипрадорНИИ).

Ответственный за выпуск В.И. Шестериков

Заведующий редакцией Л.П. Топольницкая

Редактор К.М. Ивановская

Минавтодор РСФСР

Ведомственные строительные нормы

ВСН 51-88

Миндорстрой УССР

Миндорстрой БССР

Инструкция по уширению автодорожных мостов и путепроводов

Вводится впервые

1. ОБЩИЕ ПОЛОЖЕНИЯ

1.1. Настоящая Инструкция разработана в развитие следующих глав СНиП:

«Мосты и трубы для проектирования уширяемых мостов»;

«Инструкция о составе, порядке разработки, согласования и утверждения проектно-сметной документации на строительство предприятий, зданий и сооружений» для разработки документации на уширение;

«Правила производства и приемки работ» для производства работ по уширению и усилению мостов», а также в дополнение «Указаний по разработке и утверждению технической документации на капитальный ремонт автомобильных дорог» [16] для определения порядка производства проектно-изыскательских работ при уширении и усилении мостов.

Требования Инструкции распространяются на искусственные сооружения с балочными железобетонными и сталежелезобетонными пролетными строениями длиной до 42 м, расположенные на дорогах общей сети в районах с минимальной температурой наружного воздуха наиболее холодной пятидневки согласно СНиП 2.01.01-82 не ниже минус 45°С и с сейсмичностью не выше 8 баллов. Характеристики указанных типов пролетных строений изложены в приложении 1.

Инструкция предназначена для работников проектно-изыскательских, строительных и эксплуатационных организаций, занимающихся проектированием и реконструкцией (уширением и усилением) мостов и путепроводов на автомобильных дорогах.

1.2. Инструкция позволяет:

определять габарит будущего моста (раздел 4);

оценить возможность и целесообразность уширения эксплуатируемого моста по техническому состоянию его элементов (раздел 2 к приложение 8);

выбрать техническое решение по уширению и усилению моста (раздел 3);

запроектировать (рассчитать) сооружение (раздел 4);

разработать проект организации работ по уширению (раздел 5).

1.3. Исходными данными для разработки проекта уширения являются:

результаты обследования, а при необходимости испытания моста с оценкой технического состояния и грузоподъемности сооружения;

материалы инженерно-геологических и гидрологических изысканий;

топографические данные.

При наличии документации на мост (проект, исполнительная документация, геологические данные, результаты обследования и испытания, сведения о ремонтах) разработка проекта уширения может осуществляться без дополнительных изысканий. При этом давность материалов обследования не должна превышать двух, а испытания - пяти лет.

Внесены Дорожным научно-исследовательским и производственно-технологическим объединением НПО «РосдорНИИ»

Утверждены Министерством автомобильных дорог РСФСР

Срок введения 1 июля 1989г.

1.4. При разработке проекта уширения моста необходимо максимально использовать существующие конструкции, предусматривая удаление их из состава сооружения лишь в том случае, если доказана невозможность их дальнейшего использования при измененном режиме эксплуатации.

Решение об использовании строительных конструкций и оснований опор существующего постоянного моста принимают в процессе разработки технико-экономических расчетов (ТЭР) реконструкции мостового перехода или ТЭР реконструкции автомобильной дороги, включающей этот мост.

Пригодные по несущей способности и с восстанавливаемой работоспособностью элементы пролетных строений необходимо, как правило, использовать на том же объекте и в том же пролете с минимальным объемом работ по их демонтажу и установке в новое проектное положение.

1.5. Опоры мостов, расположенные на подрабатываемых территориях, а также с фундаментами, имеющими недопустимые осадки, крены, сдвиги, размывы или другие деформации, могут быть использованы при уширении и усилении мостов только при условии их капитальной перестройки. Как правило, не допускается использовать существующие опоры без их усиления при залегании в основании плывунов, заторфованных и несжимаемых грунтов.

1.6. При выборе технического решения необходимо учитывать состояние сооружения в целом и его отдельных элементов. Следует принимать решения, которые одновременно с увеличением габарита до требуемых размеров позволяют и снизить напряженное состояние в наиболее нагруженных элементах конструкций или повысить (восстановить) грузоподъемность моста. Допускается в отдельных случаях, т.е. при наличии обоснования, восстанавливать грузоподъемность моста лишь до уровня, определенного проектом, который разработан до введения в действие СНиП 2.05.03-84, при уширении малых и средних мостов на дорогах областного и местного значения (до уровня, характеризуемого нагрузкой Н-13 и НГ-60).

2. ОЦЕНКА СОСТОЯНИЯ ЭКСПЛУАТИРУЕМОГО МОСТА

2.1. При оценке состояния сооружения устанавливают наличие дефектов в нем, определяют несущую способность элементов и грузоподъемность сооружений с учетом повреждений (трещин, коррозии арматуры или металла, или других ослаблений сечения, деформаций связей и т.д.) по специальным методикам1.

____________

1 Результаты обследования заносят в книгу искусственного сооружения.

Для оценки несущей способности элементов должны быть известны все геометрические размеры и армирование элементов, характеристики материалов (металл, бетон, арматура, грунты). Эти данные принимаются по имеющейся технической документации и, при необходимости, по результатам специальных обследований и изысканий, проводимых перед разработкой проекта.

Обследование выполняют в соответствии с требованиями, изложенными в действующих нормативных документах.

2.2. Результаты обследования и испытаний (если их проводили) должны быть представлены в виде отчета, содержащего необходимую информацию для разработки ТЭР и последующего проектирования реконструкции объекта, в том числе:

схемы фактического расположения и размеры элементов сооружения;

ведомость дефектов с соответствующими схемами, фотографиями и объемами соответствующих ремонтных работ;

сведения о размывах и деформациях русла;

прочностные и деформативные характеристики материалов со ссылкой на проектную, исполнительскую документацию или результаты испытания материалов;

ссылки на стандарты, регламентирующие физико-механические характеристики материалов, из которых изготовлены основные несущие элементы;

данные по грузоподъемности всего сооружения на момент обследования (при необходимости);

предложения по использованию существующего сооружения в целом или отдельных его частей при уширении со схемами расположения элементов и объемами основных работ.

Для сталежелезобетонных пролетных строений оценка состояния должна характеризовать и степень участия железобетонной плиты в совместной работе с главными балками. При необходимости это можно определить по результатам статических испытаний пролетного строения.

2.3. Обследование конструкций с целью оценки их технического состояния перед разработкой проекта реконструкции производят для надземных элементов. Скрытые элементы обследуют только в случае видимых признаков начала разрушения открытых частей при наличии коррозии бетона подферменной площадки береговой опоры из-за плохой гидроизоляции шкафной стенки и протекания воды через стыки ее элементов; при деформации опор или наличии сведений из документации на мост о низком качестве строительных работ. Однако следует иметь в виду, что вскрытие грунта за шкафной стенкой нежелательно, поскольку исключает возможность учета в расчетах упрочнения грунта.

В русловых опорах проводят подводные обследования с определением фактического состояния конструкций и величин размывов.

2.4. Грузоподъемность железобетонных балочных пролетных строений эксплуатируемого моста определяют в соответствии с требованиями ВСН 32-78 [1], а сталежелезобетонных пролетных строений по Инструкции [4] путем пересчета конструкций современными методами, учитывающими пространственную работу сооружения и неупругие деформации (в необходимых случаях).

Допускается устанавливать грузоподъемность пролетных строений по результатам специальных испытаний, фиксирующих фактические деформации в арматуре растянутой зоны и хомутах, бетоне сжатой зоны, бетоне элементов, испытывающих крутильные деформации, а также фиксирующих раскрытие силовых трещин. Усилия определяют только в основных расчетных сечениях элементов и сечениях с дефектами, снижающими несущую способность.

2.5. При оценке жесткости диафрагм учитывают наличие трещин в диафрагмах, состояние мест приварки накладок, несовпадение полудиафрагмы в плане.

При смещении полудиафрагм в плане до 15 мм изменение поперечной жесткости можно не принимать в расчет. При большем смещении полудиафрагм и наличии дефектов в сварных швах накладок степень снижения поперечной жесткости принимают пропорционально степени снижения несущей способности объединения или устанавливают экспериментальным путем по результатам испытаний моста.

При смещении полудиафрагм свыше 50 мм, отрыве накладок и повреждениях в сварных швах распределение нагрузок между балками пролетных строений определяют в предположении шарнирного объединения сборных балок в уровне плиты проезжей части.

Фактическая жесткость балок пролетных строений может быть определена как теоретически, так и по результатам статических или динамических испытаний.

2.6. При оценке несущей способности элементов пролетных строений сечение арматуры принимают с учетом ослабления металла коррозией. Внешним признаком коррозии арматуры является наличие трещины вдоль нее в защитном слое бетона. Фактическое сечение арматуры определяют по результатам замеров на полностью оголенной арматуре на каком-либо участке или на арматуре, оголенной с одной стороны. При этом, если не представляется возможным замерить фактический диаметр неповрежденной арматуры, его определяют по толщине коррозии, принимая, что наличие окислов толщиной 5 мм соответствует повреждению металла на глубину 1 мм.

В отдельных случаях (для тротуаров, консолей балок, диафрагм, стоек опор) степень повреждения арматуры коррозией определяют приближенно по раскрытию трещин и продолжительности эксплуатации сооружения (см. п. 2.6 ВСН 32-78). Коррозию предварительно напрягаемой арматуры устанавливают после вскрытия пучка на участке с наиболее сильными протечками и следами коррозии.

2.7. Грузоподъемность сталежелезобетонных пролетных строений определяют путем пересчета в соответствии с требованиями [4] конструкции методами, учитывающими пространственную и совместную работу отдельных элементов, а также с учетом фактического состояния самих несущих элементов и соединений.

Расчетные характеристики материалов (металл, бетон, арматурная сталь) определяют испытаниями или принимают по данным проектной документации (со своими коэффициентами надежности), а при отсутствии документации - по нормам или ГОСТам, действовавшим на момент изготовления пролетных строений.

2.8. Несущую способность основания опор как показателя состояния сооружения, предусмотренного к уширению, определяют с учетом увеличения несущей способности по грунту за период эксплуатации сооружения. При этом срок эксплуатации сооружения должен быть не менее 5 лет. При меньшем сроке увеличение несущей способности не учитывают. Практически, не учитывают увеличения несущей способности свай-стоек или однорядных сданных опор.

Несущую способность оснований на стадии ТЭР определяют с целью установить возможность уширения опор, не затрагивая основания и фундаментов. В случаях, когда уширения фундаментов избежать нельзя, предварительные расчеты не выполняют, а несущую способность уширенной опоры проверяют на стадии разработки проекта в соответствии с требованиями СНиП 2.05.03-84 и раздела 4 настоящей Инструкции.

2.9. Допускается без предварительных расчетов принять, что возможно использование массивных опор автодорожных мостов постройки до 1962г. без уширения фундамента, при условиях:

в существующей опоре фундаменты мелкого заложения на глубину более 2 м и свайные фундаменты с длиной свай свыше 7 м;

в основаниях глинистые грунты с показателем текучести IA£0,4, крупные и средние пески;

опора требует уширения на величину до 2 м с каждой стороны.

Для свайных фундаментов массивных опор с иными грунтами и иной длиной свай несущая способность может быть оценена с использованием приложения 2.

Для мостов постройки после 1962г. возможность использования при уширении свайно-эстакадных опор, не затрагивая фундаментов, определяется по данным приложения 3, справедливого при условии симметричного уширения от 1 до 3 м.

2.10. В случаях, когда состояние опор вызывает опасение, исполнительская документация отсутствует или имеются сведения о нарушении технологии работ при строительстве фундаментов, а также при необходимости более точного определения несущей способности по грунту в сложных условиях реконструкции, следует использовать метод динамического зондирования грунтов основания (см. приложение 4).

3. ПРИНЦИПЫ И СХЕМЫ УШИРЕНИЯ МОСТОВ

ОБЩИЕ ПОЛОЖЕНИЯ

3.1. Возможны следующие принципиальные методы уширения:

увеличение ширины тротуаров с добетонированием консолей или применением сборных тротуарных плит, обеспечивающих увеличение пешеходного габарита; смещение тротуарных блоков или их удаление, смещение тротуарных блоков с добетонированием консолей плит (группа А);

устройство монолитной (сборно-монолитной, сборной) накладной плиты, включенной в совместную работу с главными балками, с увеличенными консолями (группа Б);

пристройка балок пролетных строений в одну или две стороны (симметрично или несимметрично) с уширением:

а) только ригеля (группа В),

б) ригеля и тела опоры (группа Г),

в) всей опоры, в том числе и фундаментной части (группа Д);

комбинированный метод из перечисленных выше (группа Е).

3.2. При уширении путем добавления элементов пролетных строений следует использовать элементы конструкций, выпускаемые предприятиями мостостроительной индустрии, и товарный стальной прокат. При необходимости уширения пролетных строений, длина которых отлична от унифицированных размеров, выпускаемых заводами и полигонами железобетонных балок и плит, следует предусматривать изготовление элементов уширения в существующих опалубках и формах с изменением длины.

В отдельных случаях допускается уширение с использованием современных конструкций пролетных строений без изменения их длины. При этом смещение в плане между новым и старым пролетным строением (ступенька) на устое не должно превышать 1 м, а длина моста - 50 м. В мостах большей длины ступенька в уровне плиты проезжей части не допускается (из условия работы деформационных швов).

3.3. При уширении по группам В-Е используют следующие конструкции:

балки пролетных строений с каркасной арматурой (типовой проект 710/5) - при уширении ребристых пролетных строений с диафрагмами и без диафрагм длиной до 16,76 м (типовые проекты, инв. № 10, 11, 56, 56Д и 710/5);

балки пролетных строений ребристо-плитных конструкций (типовой проект вып. 856) - при уширении монолитных ребристых, балочных, балочно-консольных и рамно-консольных мостов, а также ребристых сборных пролетных строений с пролетами до 15 м;

балки преднапряженные по типовому проекту 384/46 - при уширении ребристых пролетных строений балочных систем с пролетами свыше 15 м;

плиты пустотные преднапряженные (типовой проект 384/43) - при уширении ребристых диафрагменных каркасных (типовой проект 56) и преднапряженных (типовой проект 384/26), а также плитных пролетных строений и сталежелезобетонных пролетных строений с прокатными балками;

стальной прокатный профиль (например, I № 55) или двутавровые широкополочные стальные балки - при уширении сталежелезобетонных пролетных строений с прокатными балками.

СХЕМЫ УШИРЕНИЯ ЖЕЛЕЗОБЕТОННЫХ ПРОЛЕТНЫХ СТРОЕНИЙ

3.4. Схемы увеличения пешеходного габарита с целью повышения пропускной способности тротуаров (схемы уширения по группе А) предусматривают замену существующих тротуарных блоков. Применяемые типовые конструкции тротуарных блоков (1,0 м или 1,5 м взамен 0,5; 0,75 или 1,0 м) закрепляют на крайних балках пролетного строения или поддерживают специальными конструкциями (кронштейнами, подкосами, ребрами жесткости)

При неудовлетворительном состоянии консолей крайних плит, замена тротуарных блоков должна сопровождаться удалением существующих консолей и добетонированием новых (с устройством кронштейнов, подкосов, ребер жесткости). Схемы с подкосами применяют в конструкциях с плитой, армированной в двух уровнях.

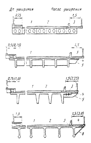
Возможные схемы увеличения пешеходного габарита приведены на рис. 3.1.

Схемы уширения, предусматривающие смещение тротуарных блоков или их удаление, могут быть применены при увеличении габарита на 0,5-1,5 м (рис. 3.2).

Рис. 3.1. Схемы увеличения ширины тротуаров (группа А):

1 - существующее пролетное строение; 2 - слой одежды ездового полотна; 3 - новый тротуарный блок; 4 - бетонированный участок консоли плиты; 5 - ребро жесткости под консолью плиты; 6 - подпорка под консоль плиты.

Рис. 3.2. Схемы уширения с удалением или смещением тротуарных блоков:

а - смещение тротуарного блока; б - то же с бетонированием консоли; в - то же с установкой сборного ребра жесткости под консоль; г, д - удаление тротуарного блока:

1 - существующее пролетное строение; 2 - слой одежды ездового полота; 3 - новый тротуарный блок; 4 - бетонированный участок консоли; 5 - ребро жесткости под консолью плиты; 6 - блок ограждения

3.5. Уширение за счет монолитной накладной плиты (группа Б), не требующее добавления балок, применяют, как правило, при увеличении габарита на 1,0-3,0 м в пролетных строениях до 18 м, а в отдельных случаях и более. При этом предусматривают удаление всех элементов мостового полотна (тротуаров, слоев одежды и др.) и обеспечение совместной работы плиты и эксплуатируемых пролетных строений.

Возможные схемы уширения по группе Б приведены на рис. 3.3. При выборе схем на стадии вариантного проектирования учитывают область рационального применения, оговоренную выше и в табл. 3.1, а также реальную степень повышения класса элементов по грузоподъемности, показанную в табл. 3.1.

Таблица 3.1

Схема по рис. 3.3

Существующий габарит

Новый габарит

Длина пролетного строения

Повышение класса грузоподъемности, %, для балок

№ 1

№ 2

№ 3

№ 4

а

Г-7+2Х0,75

Г-8+2Х0,75

9,0

25

30

35

40

 

 

 

12,0

20

26

32

35

а

Г-7+2Х0,75

Г-8+2Х0,75

15,0

15

20

25

30

 

 

 

18,0

10

18

 23

30

 

Г-8+2Х0,75

Г-9,5+2Х1,0

9,0

20

26

35

40

 

 

 

12,0

15

22

32

35

 

 

 

15,0

10

15

25

30

 

 

 

18,0

5

13

23

30

б

Г-7+2Х0,5

(проект № 56)

Г-8+2Х0,75

11,36

14,06

16,76

15

15

10

25

25

20

30

30

25

-

-

-

 

Г-8+2Х0,75

Г-9,5+2Х1,0

11,36

15

25

30

30

 

(ТГ1 № 56)

 

14,06

10

20

25

30

 

 

 

16,76

5

15

25

25

в

Г-8+2Х0,75

(проект № 56)

Г-10+2Х1,0

11,36

14,06

16,76

10

5

0

15

15

10

20

20

15

25

25

25

 

Г-9+2Х1,0

Г-11,5+2Х1,5

11,36

5

15

20

25

 

 

 

14,06

0

10

15

25

г

Г-8+2Х0,75

Г-10+2Х1,0

16,76

15

25

30

-

 

(ТП 122, ВТП-16…)

 

22,16

10

20

25

-

 

Г-8+2Х0,75

Г-11,5+2Х1,5

16,76

5

15

25

-

а (рис. 3.3-2)

Г-6+2Х0,50

Г-8+2Х1,0

8,66

30

35

40

-

 

 

 

11,36

30

35

40

-

 

 

 

14,06

25

30

35

-

б (рис. 3.3-2)

Г-7+2Х0,75

Г-9+2Х1,0

8,66

35

40

45

-

 

 

 

16,76

30

35

40

-

 

 

Г-10+2Х1,0

8,66

30

35

40

 

 

 

 

16,76

20

25

30

-

 

Г-8+2Х1,0

Г-10+2Х1,0

8,66

35

40

45

-

 

 

 

16,76

25

30

35

-

а (рис. 3.3-2)

Г-8+2Х1,0

Г-11,5+2Х1,5

8,66

35

40

45

-

 

 

 

11,36

35

40

45

-

 

 

 

14,06

30

35

40

-

Примечание. Степень повышения класса грузоподъемности подсчитана по изгибающему моменту и середине пролета, она показывает примерную возможность схем уширения по рис. 3.3. Табл. 3.1, как и последующие таблицы этого раздела, дана в качестве примера при выборе технического решения.

Рис. 3.3. Схемы уширения с помощью монолитной накладной плиты

3.6. Схемы уширения с помощью ребристой накладной плиты (в сборном или сборно-монолитном вариантах), а также не требующие уширения опор, применяют при увеличении габарита в основном на 2-5 м (а в отдельных случаях, при достаточном технико-экономическом обосновании - и более) в мостах с пролетами до 18 м и с пролетными строениями как разрезных, так и неразрезных систем (рис. 3.4).

Расположенные поперек пролетного строения вертикальные ребра плит с заключенными между ними армированными швами замоноличивания выполняют роль дополнительных диафрагм, увеличивая поперечную жесткость пролетного строения, а также подкрепляют свесы консолей, что позволяет существенно увеличить их вылет.

Уширение ребристой накладной плитой наиболее целесообразно в условиях, когда иные способы затруднены (например, при высоких опорах) и когда требуется существенное увеличение грузоподъемности существующего пролетного строения.

При уширении предусматривают обеспечение совместной работы накладной плиты с существующими балками. Прочность, жесткость, трещиностойкость уширенных пролетных строений проверяют расчетом. Применение плоской плиты в сборном варианте недопустимо.

Рис. 3.4. Схемы уширения сборной (а) и сборно-монолитной (б, а) накладной плитой:

1 - существующее пролетное строение; 2 - сборная ребристая накладная плита; 3 - монолитный шпоночный шов (сечения А-А - по поперечному стыку, Б-Б - по накладной плите

3.7. Уширение мостов с симметричным добавлением балок (плит) пролетных строений и с развитием только ригеля (группа В) предусматривает добавление по одной балке с каждой стороны (симметричное уширение) и может быть использовано при увеличении габарита от 1,5 до 2,5 м (рис. 3.5). При этом приставляемые элементы объединяют с существующей конструкцией по плите проезжей части или по плите и стенке балки (плиты), что позволяет в большинстве случаев облегчить работу старых балок в пролетном строении. Возможную разгрузку (т.е. возможность повышения класса по грузоподъемности по сравнению с фактическим) принимают по данным табл. 3.2, где также указаны и области рационального использования приведенных на рис. 3.5 схем.

3.8. Если по фактическому состоянию балки требуют разгрузки, а схемы уширения не обеспечивают ее (в табл. 3.2 значения равны 0), применение указанных схем уширения должно сопровождаться усилением существующих балок (плит) пролетных строений (например, методом наклейки арматуры).

Комбинация приведенных схем уширения с устройством монолитной накладной плиты позволит увеличить не только габарит, но и степень разгрузки существующих балок, повысить их несущую способность дополнительно.

3.9. Уширение мостов с симметричным добавлением балок (плит) пролетных строений и развитием в стороны тела опор (группа Г) предусматривает добавление с каждой стороны по одной - две балки и может быть использовано при увеличении габарита на 2-3,5 м. При этом уширение осуществляют по схемам, аналогичным приведенным для группы В (рис. 3.6). Степень повышения класса элементов (балок) по грузоподъемности при таких схемах указана в табл. 3.3.

Таблица 3.2

Схема по рис. 3.5

Габарит до уширения

Габарит после уширения

Тип приставляемой балки

Длина пролетного строения, м

Повышение класса грузоподъемности, %, для балок

№ 1

№ 2

№ 3

№ 4

а

Г-7+2Х0,75

Г-9+2Х1,0

Предварительно напряженные плиты ТП 384/25

9,0

10

5

0

0

 

 

 

12,0

10

5.

0

0

 

 

 

15,0

10

5

0

0

 

 

 

 

18,0

10

5.

0

0

б

Г-7+2Х0,5

Г-9+2+0,75

ТП 710/5

11,36

15

5

0

0

 

(0,75)

(1,0)

 

14,06

15

5

0

0

 

 

 

 

16,76

15

5

0

0

 

 

 

Предварительно напряженная балка ТП 384/26

16,76

20

10

5

-

 

 

 

22,16

20

10

5

-

 

Г-7+2Х0,5

Г-9,5+2Х1,0

ТП 710/5

11,36

10

5

0

-

 

 

 

 

14,06

10

5

0

-

 

 

 

 

16,76

10

5

0

-

б

Г-7+2Х0,5

Г-9,5+2Х1,0

Ненапряженная балка ТГ 384/26

16,76

15

10

0

-

 

 

 

22,16

15

10

0

-

в

Г-7+2Х0,5

Г-8+2Х1,0

ТП-710/5

11,36

30

15

10

-

 

(0,75)

 

 

14,06

30

15

10

-

 

 

 

 

16,76

30

15

10

-

 

 

 

ТП 856

11,36

35

20

15

-

 

 

 

 

14,06

35

20

15

-

 

 

 

 

16,76

35

20

15

-

 

Г-8+2Х0,75

Г-9,5+2Х1,0

ТП 710/5

11,36

25

15

10.

5

 

 

 

 

14,06

25

15

10

5

 

 

 

 

16,76

25

15

10

5

 

 

 

ТП 856

11,36

30

20

10

5

 

 

 

 

14,06

30

20

10

5

 

 

 

 

16,76

30

20

10

5

г

Г-7+2Х0,5

Г-8+2Х1,0

ТП 710/5

11,36

40

30

20

-

 

(0,75)

 

 

14,06

40

30

20

-

 

 

 

 

16,76

40

30

20

-

 

 

 

Ненапряженная плита

11,36

50

37

27

-

 

 

 

ТП 38-1/25

14,06

50

35

25

-

 

 

 

 

16,76

45

35

25

-

д

Г-7-1-2Х0,75

Г-8+2Х0,75

ТП 710/5

11,36

10

0

0

-

 

 

 

 

14,06

10

 0

0

-

 

 

 

 

1G,76

10

 0

0

-

 

 

 

Предварительно напряженная балка ТП 384/26

16,76

15

5

0

-

 

 

 

22,16

15

5

0

-

 

Г-8+2Х0,75

Г-10+2Х1,0

ТП 710/5

11,36

5

0

0

-

 

 

 

 

14,06

5

0

0

-

 

 

 

 

16,76

5

0

0

-

д

Г-8+2Х0,75

Г-10+2Х1,0

Предварительно напряженная балка ТП 384/26

16,76

10

0

0

-

 

 

 

22,16

10

0

0

-

е

Г-8+2Х1,0

Г-10+2Х1,0

То же

16,76

10

5

0

-

 

 

 

 

22,16

10

5

0

-

 

Г-9+2Х1,0

Г-11,5+1,0

»

16,76

5

0

0

-

 

 

 

 

22,16

5

0

0

-

Рис. 3.5. Схемы увеличения габарита с добавлением по одной балке с каждой стороны пролетного строения

Рис. 3.6. Схемы увеличения габарита добавлением балок пролетных строений, требующих уширения тела опоры (группа В, б)

3.10. Уширение мостов с уширением фундаментной части опор устройством новых опор (группа Д) может быть двусторонним (симметричным, или несимметричным) или односторонним в зависимости от положения оси дороги после реконструкции и возможностей подрядчика. При этом схемы уширения пролетных строений могут основываться на схемах, приведенных на рис. 3.6, но с большим числом добавляемых балок. Одностороннее уширение используют, как правило, в случаях, требующих незначительного, или не требующих повышения грузоподъемности моста. Одностороннее уширение наиболее эффективно в комбинации с другими методами усиления и уширения, поскольку оно в этом случае наряду с упрощением технологии приводят и к увеличению грузоподъемности.

3.11. Комбинированные методы уширения (группа Е) представляют собой совокупность изложенных выше (пп. 3.4-3.9) методов и схем, их поясняющих (см. рис. 3.1-3.6). Наиболее эффективны схемы комбинированных методов уширения пролетных строений, позволяющие одновременно существенно увеличить грузоподъемность (рис. 3.7 и 3.8) применительно к мостам с начальным габаритом Г-7+2Х0,75 м. Степень увеличения класса элементов (балок, плит) по грузоподъемности, а также наиболее рациональные интервалы длин пролетных строений, где эти схемы могут быть применены, указаны в табл. 3.4.

Таблица 3.3

Схема по рис. 3.5

Габарит до уширения

Габарит после уширения

Тип приставляемой балки

Длина пролетного строения, м

Повышение класса грузоподъемности, %, для балок

№ 1

№ 2

№ 3

а

Г-7+2Х0,75

Г-10+2Х1,0

Предварительно напряженная плита ТП 384/25

9+18

5

0

0

б

Г-7+2Х0,75

Г-10+2Х1,0

ТП 710/5

16,76

30

15

10

 

 

 

ТП 856

16,76

35

20

10

в

Г-7+2Х0,75

Г-10+2Х1,0

ТП 710/5

16,76

40

30

20

 

 

 

Предварительно напряженная плита

 

 

 

 

 

 

 

ТП 384/25

 

 

 

 

г

Г-7+2Х0,75

Г-10+2Х1,0

ТП 710/5

16,76

35

25

20

 

 

 

ТП 856 (по два ребра)

15

35

25

20

 

 

 

ТП 384/26

16,76;

22,16

40

30

20

г

Г-7+2Х0,75

Г-10+2Х1,0

ТП 710/5

16,76

25

15

15

 

(ТП 56Д)

 

ТП 384/26

16,76

22,16

30

20

15

д

Г-7+2Х0,7о

Г-10+2Х1,0

ТП 710/5

16,76

10

0

0

 

 

 

ТП 856

15

15

5

0

 

Г-8+2Х1,00

Г-11,5+2Х1,5

ТП 710/5

16,76

5

0

0

 

 

 

ТП 856

15

10

0

0

 

 

 

(по три ребра)

 

 

 

 

д

Г-8+2Х1,00

Г-11,5+2Х1,5

ТП 384/26

16,76

22,16

15

5

0

 

Г-8+2Х1,0 (предварительно напряженные балки)

Г-11,5+2Х1,5

ТП 856 (по три ребра)

15

0

0

0

 

 

ТП 384/26

15

10

0

0

3.12. При выборе схем уширения пролетных строений учитывают тот факт, что при значительных уширениях (более 2 м в одну сторону) появляется опасность занижения высоты подмостового габарита. Для подобных. сооружений следует рассматривать лишь такие схемы уширения, в которых при поперечном уклоне 2% отметка низа добавляемых конструкций соответствует требованиям п. 1.23 СНиП 2.05.03-84. Целесообразно использовать накладную плиту, дополнительные балки пониженной высоты (проект 856) и пустотные плиты.

Рис. 3.7. Схемы комбинированных методов уширения сборных диафрагменных пролетных строений

Рис. 3.8. Схемы комбинированных методов уширения сборных бездиафрагменных (а-б) и монолитных диафрагменных (в, г) пролетных строений

Таблица 3.4

Схема по рис. 3.7

Тип приставляемых балок

Длина пролетного строения, м

Степень повышения класса элементов по грузоподъемности, %, для балок

№ 1

№ 2

№ 3

№ 4

а

Предварительно напряженная плита

11,36

50

30

27

37

 

ТП 384/25

16,76

45

27

25

35

 

ТП 710/5

11,36

40

22

20

30

б

ТП 710/5

11,36

45

27

25

25

 

Предварительно напряженная балка

16,76

40

25

20

30

 

ТП 384/26

16,76

45

20

20

30

 

 

22,16

40

15

15

25

в

ТП 710/5

11,36

10

5

10

15

 

 

10,76

10

5

10

15

 

Предварительно напряженная балка

16,76

50

25

25

35

 

ТП 384/26

22,16

45

20

20

30

г

ТП 710/5

11,36

45

27

25

20

 

 

16,76

40

25

20

20

 

Предварительно напряженная балка

16,76

45

25

20

20

 

ТП 384/26

22,16

40

20

20

15

д

ТП 710/5

11,36

45

35

35

50

 

 

16,76

40

 

35

50

 

Предварительно напряженная балка

16,76

45

35

40

55

 

ТП 384/26

22,16

40

30

35

50

СХЕМЫ УШИРЕНИЯ СТАЛЕЖЕЛЕЗОБЕТОННЫХ ПРОЛЕТНЫХ СТРОЕНИЙ

3.13. При уширении сталежелезобетонных пролетных строений с прокатными балками прибегают, как правило, к комбинированным методам уширения, позволяющим значительно повысить грузоподъемность пролетных строений. Возможные схемы такого уширения приведены на рис. 3.9. При необходимости предусматривают усиление или устройство дополнительных поперечных связей, либо усиление балок, что определяется расчетом. Для уширения используют железобетонные плитные и ребристо-плитные элементы, а также двутавровые балки большей высоты (прокатные или сварные широкополочные).

3.14. При выборе схем уширения сталежелезобетонных двухбалочных пролетных строений (со сплошной стенкой) рассматривают возможность уширения следующими способами:

смещение тротуарных блоков с выносом пешеходного движения на консоли, поддерживаемые дополнительными подкосами (рис. 3.10, а) или с выносом на специальные пролетные строения;

смещение тротуарных блоков с добетонированием плиты и устройством дополнительных прогонов, группа А (рис. 3.10, б);

замена железобетонной плиты на новую с длинными консолями (группа Б);

добавление одной балки с одной стороны, смещение существующих пролетных строений с развитием ригеля опоры (группа Б);

добавление балок с двух сторон и развитие тела опоры.

3.15. Схемы уширения сталежелезобетонных пролетных строений по группе А применяют при таком состоянии плиты, которое обеспечивает совместную работу ее с главными балками. Это состояние ограничивается числом блоков плиты проезжей части, выключенных из совместной работы. В том случае, если число таких блоков составляет более 20% от общего числа, считают, что совместная работа не обеспечена.

Данные по техническим возможностям уширения по группе А для типовых пролетных строений представлены в табл. 3.5 и на рис. 3.10.

3.16. Схемы уширения по группе Б (замена плит) применяют при увеличении габарита на 2-3,5 м, когда более 20% плит находятся в неудовлетворительном (аварийном) состоянии или на большей части длины не обеспечена их совместная работа с балками. При этом возможны три варианта, предусматривающие применение железобетонных плоских плит (рис. 3.11, а); железобетонных ребристых плит (рис. 3.11, б); стальных ортотропных плит (рис. 3.12).

Данные по техническим возможностям уширения по группе Б для типовых пролетных строений представлены в табл. 3.6.

Таблица 3.5

Наименование типового проекта

Габарит по типовому проекту

Технические возможности уширения

без усиления

с усилением

ЛПМ 608/1

Г-8+2Х1,5

Г-11,5+2Х1,0

-

ЛГТМ 767/1

Г-8+2Х1,5

Г-11,5-2Х1,0

-

ПСК 43282 км

Г-8+2Х1,5

Г-11,5+2Х1,0

-

ПСК 43019 км

Г-7+2Х1,5

-

Г-11,5+2Х1,0

ПСК 4801 км

Г-7+2Х1,5

-

Г-11,5+2Х1,0

ПСК 43182 км

Г-7+2Х1,5

-

Г-11,5+2Х1,0

ПСК 4793 км

Г-7+2Х1,5

-

Г-11,5+2Х1,0

ГПИ СДП

Г-7+2Х1,0

Г-10+2Х1 (0,75)

Г-11,5+2Х1,0

Рис. 3.9. Схемы уширения сталежелезобетонных пролетных строений с прокатными балками

Рис. 3.10. Схемы уширения сталежелезобетонных пролетных строении со сплошной стенкой до габаритов Г-10, Г-11,5 (а) и Г8 (б) за счет добетонирования плиты и устройства дополнительных прогонов

Рис. 3.11. Схемы уширения сталежелезобетонных пролетных строений со сплошной стенкой до габаритов Г-10 и Г-11,5 за счет замены железобетонных плит новыми:

а - повышенное расположение плоских плит; б - применение ребристых плит

Рис. 3.12. Уширение сталежелезобетонного пролетного строения за счет замены железобетонной плиты стальной ортотропной

Таблица 3.6

Наименование типового проекта

Технические возможности уширения

без усиления

с усилением

ЛГТМ 608/1

Г-10+2Х0,75

Г-11,5+2Х1,0

ЛГТМ 767/1

Г-11,5+2Х1,0

-

ПСК 43282 км

Г-11,5+2Х1,0

-

ПСК 43019 км

-

Г-11,5+2Х1,0

ПСК 4801 км

-

Г-10+2Х0,75

ПСК 43182 км

-

Г-10+2Х0,75

ГПИ СДП

Г-10+2Х0,75

Г-11,5+2Х1,0

ПСК 4793 км

-

Г-10+2Х0,75

Таблица 3.7

№ п/п

Наименование типового проекта

Абсцисса опасного сечения, м

Резерв по нормальным напряжениям, % от R стали, за счет

использования более точных методов расчета

изменения класса нагрузки с Н-30 на А-11

использования нового критерия прочности по СНиП 2.05.03-84

Всего

1

ЛГТМ 608/1

5,8

10

4

0

14

2

ЛГТМ 767/1

11,0

11

5

4

20

3

ПСК 43282 км

7,3

12

1

7

20

4

ПСК 43019 км

12,2

6

3

5

14

5

ПСК 4801 км

11,2

13

2

6

21

6

ПСК 43182 км

9,3

5

3

6

14

7

ПСК 4793 км

4,9

13

2

5

20

8

ГПИ СДП

6,4

7

1

8

16

Рис. 3.13. Схема расположения тротуара в пониженном уровне

Рис. 3.14. Схема выноса пешеходного движения на отдельно стоящее пролетное строение

Рис. 3.15. Схемы уширения сталежелезобетонных пролетных строений добавлением новых балок

3.17. При исчерпании резерва несущей способности пролетных строений, уширяемых по схемам А и Б, допускается использовать вынесение пешеходного движения. При этом пешеходное движение в пониженном уровне возможно только при однотипных пролетных строениях по длине моста, а вынесение пешеходного движения за пределы пролетного строения - при ширине тротуаров более 1,5 м (рис. 3.13, 3.14).

Уширение пролетных строений по схемам группы Б, т.е. с добавлением балок, применяют при увеличении габарита свыше 3 м и, как правило, без какого-либо усиления (рис. 3.15).

3.18. Технические возможности уширения сталежелезобетонных пролетных строений обеспечиваются резервом несущей способности. Слагаемые этого резерва следует оценивать по табл. 3.7. В случае исчерпания резерва несущей способности пролетное строение подлежит усилению.

Усиление пролетных строений возможно следующими способами: введением предварительно напрягаемых элементов; развитием высоты сечения главных балок, добавлением главных балок, изменением статической схемы, улучшением поперечного распределения нагрузки, комбинацией вышеуказанных способов.

3.19. Усиление пролетных строений введением предварительно напрягаемых элементов следует применять при уширении по схемам группы А. Усиление развитием высоты сечения следует применять при уширении по схемам группы Б. При этом для включения в совместную работу старых и новых элементов прибегают, как правило, к регулированию усилий.

Для пролетных строений, не имеющих резерва несущей способности, обеспечивающей использование вышеназванных способов усиления, следует применять усиление с добавлением главных балок.

В тех случаях, когда применение перечисленных способов невозможно или нецелесообразно (например, из-за уширения опор), следует использовать усиление за счет изменения статической схемы. Усиление за счет улучшения распределения нагрузки используют при числе балок не менее трех.

СХЕМЫ УШИРЕНИЯ ОПОР

3.20. При уширении опор следует в максимальной степени использовать существующие конструкции и все возможности уширения без переустройства фундаментов или уширения свайных промежуточных опор, что упрощает и удешевляет работы по реконструкции моста. Максимальное использование возможности опор связано с учетом упрочнения грунтов от длительной эксплуатации при оценке несущей способности по грунту.

Схемы уширения опор могут быть отнесены к трем группам - уширение только региля (В), региля и тела опоры (Г) и уширение всей опоры, в том числе с фундаментом (Д).

3.21. При уширении по группе В наращиваемая часть ригеля (насадки) должна быть надежно соединена с существующей конструкцией. Причем она может быть выполнена из железобетона, предварительно напряженного железобетона или прокатных стальных элементов. В качестве ориентира для выбора технического решения могут быть использованы схемы, представленные на рис. 3.16.

Рис. 3.16. Схемы уширения ригеля опор:

а - добавление железобетонных блоков (с обжатием высокопрочной арматуры); б, г - уширение стальным прокатным профилем; в - уширение консоли с усилением ригеля над крайними сваями; д - уширение консоли с устройством кронштейна;

1 - железобетон; 2 - стальной профиль

3.22. Схемы уширения по группе Г (развитие тела и ригеля опоры) предусматривают возможность превращения свайной опоры в свайно-стоечную; установки дополнительных подкосов (рис. 3.17, а), превращения стоечной опоры в опору-стенку; прибетонирования бетонных массивов в свайных (рис. 3.17, б), столбчатых (рис. 3.17, в) и массивных опорах (рис. 3.18).

Подкосы выполняют из металлических или железобетонных элементов. Для восприятия распора от подкосов уширенных стоечных или столбчатых опор к насадкам (сбоку или снизу) прибетонируют охватывающие пояса, арматуру которых рассчитывают на полное горизонтальное усилие в насадке. Объединение бетонных массивов с телом опоры осуществляют железобетонными рубашками, охватывающими тело опор.

3.23. Уширение промежуточных опор с развитием тела к ригеля осуществляют, как правило, не более чем на 3 м в каждую сторону. При уширении массивной опоры более чем на 2 м в каждую сторону пристраиваемые железобетонные массивы поверху и понизу должны быть прикреплены охватывающими железобетонными поясами через 3-4 м по высоте опоры. При значительном наклоне торцовых граней массивных опор допускается устройство приштрамбованных массивов только в верхней части опоры (рис. 3.18, а).

Рис. 3.17. Схемы уширения стоечных (а, б) и столбчатых (в) опор за счет развития их тела

Рис. 3.18. Схемы уширения массивных опор за счет развития их тела на части высоты (а) и на всей высоте (б)

Рис. 3.19. Схемы уширения промежуточных опор с развитием фундамента опор:

а - одностороннее или двустороннее; б - двустороннее; в - одностороннее

Рис. 3.20. Схемы уширения устоев:

а - расширение насадки с объединением по сваям; б - забивка дополнительных свай в заранее уширенную насыпь; в - пристройка конструкций к массивным устоям

1 - существующий ригель (насадка); 2 - удаленный открылок; 3 - монолитные конструкции уширения; 4 - сборные конструкции уширения; 5 - дополнительные сваи

3.24. Уширение промежуточных опор с развитием фундамента может быть как двустороннее (симметричное и несимметричное) так и одностороннее (рис. 3.19).

Надфундаментную часть опоры развивают элементами, аналогичными существующим (сваи, стойки, столбы).

При небольшой высоте промежуточных опор уширение осуществляют забивкой свай-стоек независимо от типа существующей опоры.

3.25. Бесфундаментые устои уширяют добивкой свай с развитием в обе стороны ригеля и шкафной стенки (рис. 3.20). Причем сваи могут быть забиты как в заранее уширенные конуса, так и до отсыпки новой части конуса.

Массивные устои (устои с обратными стенками и открылками) уширяют путем забивки свай с двух сторон, развитием ригеля (устройством нового ригеля) или возведением с двух сторон Г-образных в плане пристроек. При значительных размерах обратных стенок массивные устои уширяют забивкой свай в двух плоскостях - у начала и конца устоя, а просвет между ними перекрывают плитными или балочными пролетными строениями.

3.26. Из приведенных в данном разделе схем уширения выбирают решения для разработки ТЭР, которые увеличивают габарит и грузоподъемность, позволяют максимально использовать существующие конструкции пролетных строений и опор и соответствуют по области применения фактическим условиям реконструкции.

4. ПРОЕКТИРОВАНИЕ УШИРЕНИЯ МОСТОВ

ОБЩИЕ ПОЛОЖЕНИЯ

4.1. Проектирование уширения мостов ведут в последовательности:

устанавливают требуемый габарит сооружения, а по нему - размер уширения1;

выбирают схемы уширения, учитывая необходимую степень повышения грузоподъемности сооружения, требования по положению оси сооружения после реконструкции и необходимость максимального использования существующих элементов2;

выполняют необходимые расчеты конструкций по выбранным схемам, производят технико-экономическое сравнение их между собой и с базовым вариантом2;

осуществляют проектирование расчетного, наиболее экономичного варианта3;

_____________

1 Указывают в задании на проектирование, определяют при разработке ТЭР.

2 Выполняют при разработке ТЭР.

3 Выполняют при разработке технического проекта..

4.2. В качестве базового варианта принимают:

новое строительство (полную замену сооружения) при состоянии конструкций опор и пролетных строений, соответствующем оценке «удовлетворительно» и ниже, и фактической грузоподъемностью моста, меньшей требуемой по СНиП 2.05.03-84 на 25% и ниже, независимо от размера уширения; при ином состоянии сооружения замену моста принимают в качестве базового, если при уширении добавляют одну или несколько полос движения;

замену пролетного строения в случаях, не оговоренных выше.

4.3. Габарит реконструируемого сооружения устанавливают по перспективной категории реконструируемого участка дороги, обоснованной соответствующей технико-экономической документацией. При этом требуемый габарит моста принимают по табл. 4.1, учитывая допустимость варьирования шириной полос безопасности, предусмотренной нормативными документами [3, 8].

Размер полосы безопасности ниже максимального принимают при наличии соответствующего обоснования. При отсутствии обосновывающей документации габарит сооружения определяют по перспективной интенсивности движения автомобилей по мосту, учитывая требования по перспективному нормативному приросту интенсивности.

Таблица 4.1

Перспективная категория дороги

Габарит моста, м

Проезжая часть

Полоса безопасности

Ширина ездового полотна, м

V

4,5

0,75-1,0

6,0-7,0

IV

6,0

0,75-1,0

7,5-8,0

III

7,0

1,0-1,5

9,0-10,0

II (две полосы)

7,5

1,0-2,0

9,5-11,5

II (три полосы)

11,25

1,0-2,0

13,25-15,25

I (четыре полосы)

15,0

1,0-2,0

19,0-23,0

4.4. Перспективную интенсивность определяют по данным прироста интенсивности движения на мостовом переходе специальным расчетом с учетом индивидуальных условий функционирования сооружения в процессе эксплуатации (в том числе с учетом измененного тяготения транспортных средств в районе уширенного моста). При отсутствии необходимых данных для такого расчета при средних значениях плотности дорожной сети региона (20-25 км/100 км2 площади) используют среднестатистические показатели прироста интенсивности движения автомобилей на мостах К, приведенные в табл. 4.2.

4.5. Габариты тротуаров принимают в соответствии с требованиями строительных норм и правил [8] в зависимости от интенсивности пешеходного движения. Допускается на реконструируемых мостах, находящихся вне населенных пунктов, не устраивать тротуары и служебные проходы при следующих условиях:

Категория дороги....      I, II             III               IV, V

Длина моста, м, до....    15               25               40

Ездовое полотно в этих сооружениях должно ограждаться перилами, совмещенными с ограждающими устройствами парапетного или барьерного типа.

4.6. Выбор схем уширения осуществляют в соответствии с требованиями раздела 3, учитывая данные приложений 2-4 настоящей Инструкции.

При проработке вариантов уширения следует использовать возможность объединения пролетных строений в температурно-неразрезные (ТНПС), что в ряде случаев не только улучшает транспортно-эксплуатационные показатели сооружения, но и снижает расчетное горизонтальное усилие, приходящееся на промежуточные опоры. Объединение в ТНПС может быть осуществлено:

1) только по приставляемым элементам пролетных строений;

2) по накладной железобетонной плите, отделяемой от балок над промежуточными опорами;

3) по стыковым накладкам, расположенным на существующей части и в продольных стыках омоноличивания приставляемых элементов;

4) с помощью продольных тяжей (распорок), закрепленных на ребрах балок.

Таблица 4.2

Тип мостов

Значения K на конец планируемого периода Т для категории автомобильной дороги

I

II

III

IV

V

T=20 лет

Малые

1,014

1,044

1,60

1,410

1,250

Средние

1,044

1,100

1,200

1,510

1,304

Большие

1,100

1,200

1,400

-

-

T=18 лет

Малые

1,012

1,039

1,135

1,342

1,204

Средние

1,039

1,088

1,166

1,419

1,250

Большие

1,088

1,10

1,341

-

-

Т=16 лет

Малые

1,011

1,033

1,106

1,270

1,163

Средние

1,033

1,076

1,134

1,331

1,20

Большие

1,076

1,154

1,283

-

-

T=14 лет

Малые

1,008

1,028

1,083

1,203

1,126

Средние

1,028

1,064

1,106

1,254

1,156

Большие

1,053

1,106

1,181

-

-

Т=12 лет

Малые

-

1,022

1,062

1,150

1,094

Средние

1,022

1,053

1,080

1,186

1,116

Большие

1,053

1,106

1,181

-

-

T=10 лет

Малые

-

1,017

1,043

1,103

1,065

Средние

1,017

1,043

1,058

1,129

1,061

Большие

1,041

1,083

1,138

-

-

T=8 лет

Малые

-

1,011

1,025

1,064

1,041

Средние

1,011

1,029

1,039

1,082

1,051

Большие

1,029

1,059

1,100

-

-

Т=6 лет

Малые

-

-

1,014

1,033

1,021

Средние

-

1,017

1,023

1,044

1,826

Большие

1,017

1,036

1,066

-

-

4.7. При необходимости предусматривают меры по переустройству существующих опорных частей. Допускается объединение пролетных строений, опирающихся на упругие прокладки (из рубероида или резины), в мостах с двумя-четырьмя пролетными строениями при условии замены на устоях опорных частей на РОЧ.

Объединение разрезных пролетных строений в температурно-неразрезанные в свайно-эстакадных мостах производят в соответствии с их разбивкой на секции; в остальных случаях объединяют по три-пять пролетных строений. В отдельных случаях допускается реконструируемые пролетные строения объединять в неразрезные путем омоноличивания надпорных участков (приложение 7).

4.8. При разработке проекта уширения должны быть предусмотрены работы по ремонту или замене элементов с недостаточным сроком службы (гидроизоляция, покрытие, тротуары, деформационные швы и др.). Должны быть также предусмотрены меры, исключающие развитие традиционных повреждений - разрушение защитного бетонного слоя на фасаде железобетонных балок, развитие коррозии арматуры балок, особенно в приопорных участках, коррозии стальных конструкций. В проекте должны эффективно сочетаться мероприятия по уширению моста с усилением и ремонтом отдельных элементов и узлов.

Неустраняемые дефекты, влияющие на несущую способность элементов и грузоподъемность сооружения, должны быть учтены в расчетах.

4.9. В число рассматриваемых в ТЭР вариантов включают сопоставимые схемы, которые обеспечивают достижение требуемой грузоподъемности и долговечности.

Схемы уширения железобетонных пролетных строений оценивают по изгибающим моментам и поперечной силе в балках оставшейся части пролетного строения, используя апробированные пространственные методы расчета (приложение 5). При выборе варианта уширения учитывают, что в ряде случаев может не потребоваться уширение фундамента при симметричном уширении моста. Схемы уширения опор при симметричном уширении проверяют в соответствии с «Методикой ускоренной оценки возможности уширения свайно-эстакадных опор (методика УО)», приведенной в приложении 3.

4.10. При сравнении вариантов между собой и с базовым учитывают усложненные условия производства работ при уширении как пролетных строений (стесненность, увеличенный объем ручных работ, необходимость устройства подмостей, меньшая производительность за счет больших технологических перемещений), так и опор (необходимость расчистки участков у опор от строительного мусора, сложность подачи материалов, малые объемы работ в одном месте, увеличенный объем ручных работ.

НАГРУЗКИ И РАСЧЕТНЫЕ СОПРОТИВЛЕНИЯ

4.11. Временные нагрузки и воздействия на реконструируемые мосты следует принимать в соответствии со СНиП 2.05.03-84 и с категорией дороги.

4.12. В случае если при реконструкции строят новый мост в новом створе, а существующее сооружение используют в качестве временного на объезде, возможные условия временной эксплуатации существующего сооружения устанавливают на основании расчета его фактической грузоподъемности. При этом в качестве временной нагрузки, на которую проверяют сооружение, принимают реальные обращающиеся на данном участке дороги транспортные средства, относя их при расчете к группе «строительные нагрузки» с соответствующими сочетаниями и коэффициентами надежности (табл. 4 п. 2.1 СНиП 2.05.03-84).

4.13. Расчетные сопротивления стержневой арматуры сохраняемых несущих элементов существующих конструкций определяют по формуле

,                                                           (4.1)

где - Rsn - нормативное сопротивление арматуры, принимаемое по указаниям п. 4.14; gs - коэффициент надежности по арматуре, принимаемый по табл. 4.3; mt - коэффициент условия работы, учитывающий влияние многократного приложения нагрузки и принимаемый по табл. 4.4 (для случаев, не предусмотренных таблицей mt=1,0).

4.14. За нормативные сопротивления Rsn стержневой арматуры принимают минимальные гарантируемые (с надежностью 0,95) значения предела текучести, физического или условного (равного значению напряжении, соответствующих остаточному относительному удлинению 0,2%).

Указанные минимальные гарантируемые значения предела текучести определяют по стандартам, приведенным в технической документации, а при отсутствии ее - по стандартам, соответствующим году проектирования. В частности для арматурной стали периодического профиля марки Ст5 по ГОСТ 5781-51, ГОСТ 5781-53 и ГОСТ 5781-58 браковочный минимум нормативного сопротивления следует принимать равным Rsn=280 МПа, a для сталей выпуска после 1961г. - 300 МПа.

4.15. Расчетные сопротивления арматуры несущих элементов существующих конструкций для предельных состояний первой группы в необходимых случаях снижаются (или повышаются) путем умножения на соответствующий коэффициент условий работы по указаниям СНиП 2.05.03-84.

Расчетные сопротивления сжатию Rsc ненапрягаемой арматуры классов A-I, A-II, A-III следует принимать равным расчетным сопротивлениям этой арматуры растяжению Rs.

Таблица 4.3

Марка стали

Коэффициент надежности по арматуре при расчете конструкций по предельным состояниям группы

первой

второй

Стержневая классов:

 

 

A-I, A-II, А0-II

1,10

1,0

A-III диаметром, мм:

 

 

6-8

1,16

1,0

10-40

1,13

1,0

A-IV диаметром 10-32 мм

1,26

1,0

A-V диаметром 10-32 мм

1,31

1,0

Ат-IV диаметром 10-28 мм

1,26

1,0

Ат-V диаметром, мм:

 

 

10-14

1,21

1,0

16-28

1,31

1,0

Ат-IV диаметром, мм:

 

 

10-14

1,26

1,0

16

1,31

1,0

Таблица 4.4

Элемент сооружения и тип арматуры

Коэффициенты условия работы для мостов постройки

до 1951г.

1951-1961гг.

1962-1975гг.

Плита в сталежелезобетонных и плита и диафрагмы в ребристых пролетных строениях с арматурой:

 

 

 

гладкой

0,85

0,90

0,95

периодического профиля

0,90

0,95

0,98

Пролетные строения (балки, плиты) с основной арматурой:

 

 

 

гладкой

0,90

0,90

0,95

периодического профиля

0,95

0,98

1,00

Таблица 4.5

Сталь

Переходный коэффициент nх для элементов

подверженных действию осевых сил

изгибаемых

Углеродистая

2,0

1,9

Легированная

1,80

1,75

4.16. Расчетные сопротивления металла балок в стальных и сталежелезобетонных пролетных строениях постройки до 1961г. принимают по данным стандартов, действующих на момент изготовления металла (например, ГОСТ 6713-53, ГОСТ 380-53, ГОСТ 380-60 и др.):

,                                                              (4,2)

где RUn - временное сопротивление стали по данным стандартов; nх - переходный коэффициент, принимаемый по табл. 4.5;

mt - дополнительный коэффициент условия работы, принимаемый равным:

0,9 - для стыковых узлов; 0,85 - для упоров; 0,95 - для растянутых и сжатых элементов, в основном связей из одиночных профилей (помимо коэффициентов т, из табл. 60 СНиП 2.05.03-84).

4.17. Расчетные сопротивления металлов, марка которых не установлена, определяют через показатели временных сопротивлений, получаемых путем натурных испытаний образцов, вырезанных из конструкций. Расчетные сопротивления металла конструкций постройки после 1961г. допускается принимать по СН 200-62.

РАСЧЕТ ПРОЛЕТНЫХ СТРОЕНИЙ

4.18. Расчет пролетных строений должен учитывать все возможные стадии его уширения и усиления, а также отражать существующий критерий предельного состояния, т.е. допускать в отдельных случаях появление ограниченных пластических деформаций.

Для определения напряженно-деформированного состояния пролетного строения под нагрузкой необходимо использовать современные пространственные методы расчета, позволяющие установить более точное распределение нагрузок между элементами и определить усилия в них. Повышение точности расчетов может позволить в отдельных случаях отказаться от специальных мер по усилению элементов.

4.19. В схемах уширения с накладной плитой, раздвижкой тротуарных блоков или с увеличением размеров пешеходного габарита расчетом проверяют крайние балки пролетных строений на прочность при изгибе с кручением. При необходимости предусматривают усиление и повторно проверяют расчетом усиленную конструкцию, учитывая при этом измененную жесткость сечения на длине (на части длины) балки.

В схемах уширения по группе А, в которых предусмотрено бетонирование консолей, развитие существующих консолей и использование бетонных (монолитных) ребер жесткости или железобетонных кронштейнов железобетонную плиту проверяют на действие местной нагрузки расчетом по прочности и трещиностойкости. При этом работу ребер и кронштейнов совместно с консолью существующей плиты учитывают при условии надежного их объединения и изоляции.

4.20. Для случаев с накладной железобетонной плитой совместную работу плиты с существующим железобетонным пролетным строением учитывают на действие временной нагрузки и второй части постоянной нагрузки.

При уширении пролетных строений сборной или сборно-монолитной железобетонной накладной плитой плиту объединяют с существующей конструкцией с помощью бетонных шпонок, которые располагают вплотную к боковым граням главных балок. Для сборных диафрагменных пролетных строений такое расположение шпонок является обязательным. При уширении пролетных строений накладной плитой с применением в качестве объединяющих элементов гибких упоров и анкеров несущую способность каждого гибкого упора или анкера на восприятие сдвигающего усиления определяют по приложению 22 СНиП 2.05.03-84. При этом для гибких упоров в виде трубчатых металлических нагелей, заполненных бетоном или раствором с расчетным сопротивлением Rb³10 МПа, формулы (2) и (3) приложения 22 СНиП 2.05.03-84 сохраняют силу, а в формуле (4) вместо величины d2 необходимо принимать (d2-d2b), где dь - внутренний диаметр металлического нагеля.

Если для уширения пролетного строения применяют сборно-монолитную ребристую накладную плиту с дискретным опиранием ее элементов на главные балки, соответственно с обеспечением дискретных связен с ними, то расчеты по предельным состояниям несущих элементов производят отдельно для главных балок и накладной плиты между узлами их сопряжения (см. пп. 4.21-4.26).

4.21. Расчет прочности нормальных сечений балок пролетных строений, уширенных ребристой накладной плитой после объединения ее с существующими балками, производят по полной рабочей высоте. При этом допускается высоту сжатой зоны принимать равной толщине полки накладной плиты.

Расчет прочности наклонных сечений производят по рабочей высоте существующих балок без учета накладной плиты. Для крайних балок расчетная длина свеса консоли сжатой полки не должна превышать шести ее толщин, считая от грани вертикальной стенки.

4.22. При дискретных связях накладной плиты с существующими балками (шпоночные или болтовые соединения, гибкие или жесткие упоры) сдвигающие силы по шву их сопряжения определяют как приращение осевых усилий в полке накладной плиты (рис. 4.1, а):

Si=Nbi, z-Nbi, l,                                                           (4.3)

где Nbi, z; Nbi, l - осевые усилия в железобетонной плите в сечениях iz и il, ограничивающих i-й участок балки справа и слева (рис. 4.1, б):

Nbi, z=Miz/z;                            Nbi, l=Mil/z;                                  (4.4)

плечо внутренней пары сил

,

где Miz, Mil - нагибающие моменты в сечениях iz, il, ограничивающих i-й участок балки справа и слева (см. рис. 4.1).

4.23. В крайнем от опоры участке накладной плиты осевое усилие (левое) определяют с учетом работы на сжатие полки существующей балки. Распределение усилий в полке накладной плиты, а также в полке и арматуре существующей балки определяют, принимая гипотезу плоских сечений (рис. 4.1, в). Работу на сжатие ребра сжатой зоны не учитывают. Усилие в полке накладной плиты зависит от положения нейтральной оси y и определяется по формуле

,                                                     (4.5)

где х - высота сжатой зоны над наклонной трещиной (нейтральной осью), по опытным данным может приниматься x=0,4z.

Рис. 4.1. Расчетная схема для определения сдвигающих усилий по контакту между накладной плитой и балкой:

а - общая схема распределения усилий в накладной плите и сдвигающих усилий; б - огибающая эпюра моментов; в, г - схемы к определению сдвигающих усилий на приопорном (сечение III-III) и среднем участках балки (между сечениями I-I и II-II)

4.24. Несущую способность бетонной шпонки на восприятие сдвигающего усилия между старым и новым бетоном определяют по формуле

Sh£1,57mdRbtAd,

где тd - коэффициент формы поперечного сечения шпонки, принимаемый для квадратных шпонок md=1,0, прямоугольных с большей стороной, ориентированной вдоль сдвигающей силы md=1,1, круглых md=0,9, ромбовидных md=0,8; Rbt - расчетное сопротивление бетона осевому растяжению; Ad- площадь рабочего сечения шпонки.

Несущую способность армированных шпонок определяют по формуле

Sh£2mdmsdRbtAred,                                                   (4.6)

где msd - коэффициент условий работы арматуры шпонки, принимаемый равным 1,0 для гибкой арматуры и 1,25 для жесткой арматуры; Аredd+пlАsd - приведенная площадь рабочего сечения шпонки; Asd - площадь арматуры, нормально ориентированной к сечению сдвига.

4.25. Расчет на смятие железобетонных шпонок следует производить по формуле

Sh£ddldRb,                                                               (4.7)

где Sh - сдвигающая сила, передающаяся на шпонку; dd - толщина принимаемой в расчет плиты; ld - ширина шпонки.

4.26. Шпонки плит, расположенных в зоне максимальных поперечных сил, проверяют также расчетом на выносливость.

Расчет армированных шпонок на выносливость осуществляют по формуле

Sw£mdmsdRbtnAred,                                                  (4.8)

где Sw - сдвигающее усилие на одну шпонку при коэффициенте асимметрии цикла нагрузки x=0,3¸0,5; Rbtn - нормативное сопротивление бетона осевому растяжению.

4.27. В схемах уширения железобетонных пролетных строений приставляемыми конструкциями расчетом проверяют достаточность несущей способности существующих и новых элементов с учетом измененного перераспределения усилий между ними. Учитывая, что добавление балок наряду с разгрузкой существующих балок приводит к перегрузке диафграм и плит, расчетом проверяют прочность не только крайних и средних балок, но и плиты проезжей части и диафрагм. При необходимости предусматривают меры по усилению средних диафрагм.

4.28. В расчете вариантов уширения железобетонных пролетных строений путем добавления новых конструкций учитывают изменение напряженного состояния в существующих балках из-за длительных деформации (усадки, ползучести) приставляемых элементов. Вновь появившиеся длительные деформации учитывают при проверке трещиностойкости:

в ненапряженных пролетных строениях - по величине раскрытия трещин;

в преднапряженных пролетных строениях - по моменту образования трещин.

При определении влияния постоянных нагрузок, приложенных к новым элементам пролетного строения, на напряженное состояние всего пролетного строения учитывают, что перераспределение усилий происходит в течение длительного времени (до затухания ползучести бетона) от двух видов постоянных нагрузок и воздействий:

а) прикладываемых до объединения элементов уширения между собой и со старой частью пролетного строения (собственный вес элементов уширения, силы предварительного напряжения элементов уширения, усадка бетона элементов уширения);

б) прикладываемых после объединения элементов уширения со старой частью пролетного строения (вторая часть постоянной нагрузки в пределах элементов уширения или на всей ширине пролетного строения, если мостовое полотно устраивают в ходе реконструкции заново). Методика учета длительных деформаций изложена в приложении 6.

4.29. Предельные изгибающие моменты и поперечные силы в расчетных сечениях элементов, реконструируемых путем развития сжатой зоны сечения добавлением нового монолитного или сборного бетона и железобетона, следует определять как для элементов сплошного сечения по указаниям СНиП 2.05.03-84, если обеспечена связь нового бетона и железобетона со старым, контролируемая расчетом на сдвиг и отрыв.

При наличии препятствующих отрыву конструктивных связей между старым и новым бетонами, например в виде высокопрочных болтов или арматурных выпусков, в расчетах на сдвиг по контактному шву следует учитывать силы сцепления, равные расчетным сопротивлениям Rb coct по наименее прочному материалу в соответствии с требованиями п. 3.24 СНиП 2.05.03-84. При наличии обжимающих высокопрочных болтов силы сцепления (трения) следует учитывать при обеспечении нормального давления по контактному слою по указаниям приложения 23 СНиП 2.05.03-84 с использованием коэффициента трения f=0,55, а при надлежащей обработке поверхности (вырубка борозд или другие методы создания макрошероховатости f=0,8.

4.30. Для схем уширения с обетонированием конструкций по всей высоте ребра (монолитная железобетонная вставка, см. рис. 3.4) предусматривают дополнительное объединение в зоне диафрагм (штыри, стяжные болты, хомуты) и проверяют расчетом достаточность сцепления на участках между диафрагмами от действия изгибающего момента в поперечном направлении Мизг.п и местной вертикальной нагрузки Nb от НК-80, вызывающей касательные напряжения по плоскости контакта:

,                                                (4.9)

где H - высота стенки; Rь - расчетное сопротивление бетона (по марке бетона существующих конструкций) сжатию (см. табл. 23 СНиП 2.05.03-84 или п. 4.13 настоящей Инструкции).

При несоблюдении требования (4.9) предусматривают специальные меры по передаче касательных и нормальных напряжении с одного элемента на другой (помимо объединения арматурой в зоне диафрагм) - пескоструйная очистка поверхностей, склеивание элементов, более частое расположение тяжей и др.

Если в расчете уширенного пролетного строения геометрические характеристики элементов, объединенных в одну более жесткую балку принимают раздельными (жесткости старого ребра, нового ребра и монолитной вставки) проверку по t не выполняют.

4.31. При разработке проекта уширения железобетонных пролетных строений с каркасной арматурой, эксплуатирующихся более 25 лет и срок возможной эксплуатации которых после уширения ограничен 10 годами и менее, допускается производить расчет только на прочность с появлением в арматуре и бетоне элементов (например, в крайних или средних балках и диафрагмах) пластических деформаций:

ss£Rsn;       sb£Rbn.                                                 (4.10)

4.32. При расчете сталежелезобетонных пролетных строений, уширенных путем добетонирования консолей плит с устройством дополнительных прогонов, учитывают совместную работу прогона с плитой и балками в соответствии с требованиями СНиП 2.05.03-84.

Усилия в главных балках от постоянных нагрузок на всех стадиях работы определяют обычными методами. Изгибающий момент от временной нагрузки

M=Mизгk,                                                                (4.11)

где Мизг - изгибающий момент, приходящийся на одну главную балку от временной нагрузки, расположенной на оси, проходящей через центр изгиба; k - коэффициент, учитывающий увеличение усилий за счет внецентренного расположения нагрузки поперек моста (в табл. 4.6 приведены значения коэффициента k, полученные с использованием теории стесненного кручения).

Таблица 4.6

Требуемый габарит

Значения коэффициентов для типовых проектов

ЛГТМ 608/1

ЛГТМ 676/1

ПСК 43282 км

ПСК 43019 км

ПСК 4801 км

ПСК 43182 км

ПСК 4793 км

ГПИ Союздорпроект (расстояние между главными балками 5 м)

Г-10+2ХТ

1,45

1,31

1,48

1,34

1,46

1,46

1,47

1,31

Г-11,5+2ХТ

1,61

1,42

1,64

1,46

1,62

1,61

1,58

1,37

Примечание. Коэффициенты приведены для второго расчетного случая согласно п. 2.12 СНиП 2.05.03-84.

Таблица 4.7

Схема решетки продольных связей

Формулы для определения Dt

Примечание, l - длина расчетного пролета.

4.33. Усилия в элементах продольных связей при плоском изгибе от вертикальной нагрузки, воздействующей после включения связей в работу следует определять в соответствии с п. 4.79 СНиП 2.05.03-84.

Усилия N в элементах продольных связей от кручения пролетного строения вертикальной нагрузкой следует определять по формуле

,                                                           (4.12)

где d - длина панели; sкр - напряжение от крученая на уровне плоскости связей, определяемое по формуле

sкр=(k-1)sw;                                                            (4.13)

sw - нормальное напряжение от временной нагрузки в стенке главной балки на уровне плоскости связей от момента, определяемого по п. 4.32; k - коэффициент из табл. 4.6; Е - модуль упругости стали; Dt - характеристика решетки связей, определяемая по формулам табл. 4.7;  - усилие от распределенной единичной сдвигающей нагрузки, определяемой по формулам строительной механики.

Расчет на стесненное кручение рекомендуется производить на ЭВМ с применением программы SK (приложение 5).

4.34. При уширении сталежелезобетонных пролетных строений из прокатных балок железобетонными (например, плитными, см. рис. 3.10) с устройством монолитной бетонной вставки во всех случаях прокатные балки связывают арматурой с закладными деталями, устроенными в приставляемых элементах. При проверке прочности средних балок таких конструкций усилия на балки определяют с использованием методов пространственного расчета, приняв жесткость крайней балки равной суммарной приведенной жесткости первой приставляемой балки (плиты), прокатного профиля, бетонной вставки и части железобетонной плиты над этим узлом.

При необходимости предусматривают усиление прокатных балок, например, приваркой дополнительных элементов к стенкам или поясам.

ПРОЕКТИРОВАНИЕ УШИРЕНИЯ ОПОР

4.35. Проектирование уширения опор выполняют после предварительного выбора схем уширения (см. раздел 3) в рамках той группы схем, которая отражена в вариантах проектно-сметной документации: уширение за счет удлинения ригеля или насадки (группа В); развития тела опоры (группа Г); с уширением фундамента (группа Д).

Для устоев используют, как правило, схемы группы Д.

Проверку расчетом уширенных опор выполняют как по материалу конструкции, так и по грунту основания в соответствии с требованиями СНиП 2.05.03-84.

4.36. При определении усилий, воздействующих на опоры, нагрузки в продольном и поперечном направлениях следует определять раздельно. При этом следует исходить из того, что на продольные воздействия мост работает как единая система по схеме пролетное строение - опора - фундамент - грунт с учетом объединения разрезных пролетных строений в температурно-неразрезные, переделки опорных частей или установки пролетных строений на резиновые опорные части.

4.37. При проверке расчетом элементов конструкций опор, имеющих дефекты, усилия в ослабленных поперечных сечениях следует определять от опорных реакций при невыгоднейшем расположении внешних нагрузок. В стоечных и многостолбчатых опорах для этого строят линии влияния усилий в поврежденном элементе (ригеле, стойке, плите ростверка). Нагрузку на проезжей части устанавливают таким образом, чтобы опорные реакции балок, расположенных ближе к максимальным ординатам линий влияния усилий, были наибольшие.

4.38. Несущую способность по грунту основания при проверке свайных многорядных фундаментов с висячими сваями следует определять в соответствии с приложением 25 СНиП 2.05.03-84.

Предельную нагрузку, допускаемую на наиболее загруженную сваю-стойку при проверке свайных многорядных фундаментов, определяют в соответствии со СНиП II-17-77. При этом коэффициент надежности kн принимают в зависимости от конструкции фундамента и общего числа свай. Нагрузку определяют расчетом фундамента как свайного ростверка при наиболее невыгодных сочетаниях воздействий как вдоль, так и поперек моста.

Предельную нагрузку для, наиболее нагруженной висячей сваи и сваи-стойки в однорядных промежуточных опорах определяют в соответствии со СНиП II-17-77 при коэффициенте надежности kн=1,75. Нагрузку, передаваемую на сваю поперек оси моста, определяют с учетом перераспределения внешних воздействий между сваями опоры, как в рамной конструкции.

4.39. Несущую способность основания под подошвой проверяемого фундамента мелкого заложения определяют в соответствии со СНиП 2.05.03-84. Если ширина фундамента В³2 м и l³10 (l и В - соответственно наибольший и наименьший размер подошвы фундамента), то допускается увеличивать расчетное сопротивление грунта до величины 1,2R при соблюдении условия:

,

где L - длина наибольшего из примыкающих пролетов, м, но не менее 25 м; R - расчетное сопротивление грунта, определяемое по приложению 24 СНиП 2.05.03-84; Е - модуль деформации грунта основания (СНиП II-02-01-83); v - коэффициент Пуассона, принимаемый равным 0,3 для песков и супесей, 0,35 - для суглинков, 0,32 - для глин; w - коэффициент, зависящий от отношения l/b:

l/b.... 1     1,5       2        3       4       5       6        7       8       9       10

w.... 0,08 1,08     1,22   1,44  1,61  1,72  1,83   1,92  2,00  2,06  2,12

4.40. Проверку несущей способности гибких конструкций обсыпных устоев допускается производить с учетом работы конструкции в теле насыпи при условии сохранности во время эксплуатации проектных очертаний конуса насыпи.

4.41. Если в результате проверки несущая способность существующего свайного фундамента или однорядной промежуточной опоры не удовлетворяется и необходима добивка новых свай с объединением новой и старой частей конструкции, то следует производить перерасчет конструкции с учетом этих элементов. При этом несущая способность свай новой части конструкции (Рп) должна превышать несущую способность существующих свай в ky раз (табл. 4.8) при коэффициенте консистенции В£0,5 под нижними концами сваи.

4.42. При уширении свайных опор забивкой сваи следует учитывать трение по боковой поверхности висячих свай в соответствии со СНиП II-17-77:

Глубина погружения сваи существующей части

опоры, м............ 4              6            8                10

ky.....………....... 1,35         1,30       1,25          1,20

Допускается предусматривать забивку свай в заранее уширенную насыпь (при уширении обсыпных и массивных устоев). При расчете таких конструкций боковое давление грунта можно не учитывать (расчет ведут как конструкций в упругодеформированной среде).

Таблица 4.8

Габарит после уширения

Натяжение затяжки N, кН, для типовых проектов

ПСК 43015 км

ПСК 4801 км

ПСК 43182 км

ПСК 4793 км

ГПИ СДП

Г-10+2Х0,75

200

700

750

1250

-

Г-11,5+2Х1,0

1100

1850

1400

2400

850

Примечания. 1. Величина N приведена для основного сочетания нагрузок.

2. Для типовых пролетных строений: ЛГТМ 608/1, ЛГТМ 767/1, ПСК 43232 км уширение по группе Б возможно без усиления.

3. Значение N приведено без учета самонатяжения и потерь.

КОНСТРУКТИВНЫЕ ТРЕБОВАНИЯ

4.43. При уширении ригеля добетонированием с устройством или без устройства кронштейнов обязательна связь арматуры существующей и дополнительных частей или соединение бетонных элементов анкерными стержнями. В случае передачи горизонтального усилия на тело уширяемой опоры через устраиваемую новую стенку торцы ригеля могут не объединяться по арматуре или стержням.

Объединение бетона охватывающих поясов и рубашек со старым бетоном при уширении монолитных опор должно осуществляться установкой через 50 см в шахматном порядке арматурных штырей диаметром не менее 10 мм из арматуры класса A-III и обработкой старой поверхности бетона насечкой.

4.44. При разработке чертежей уширения опор путем развития фундамента и надфундаментной части следует иметь в виду, что новые фундаменты могут быть не связаны с существующим, если приняты меры по уменьшению неравномерности осадки опор. При отсутствии таких мер ригеля и фундаменты объединяют между собой.

Допускаемую неравномерность осадки старой и новой частей опор определяют условиями надежности узла объединения балок пролетных строений и принимают равной 0.001b и 0,002b (b - расстояние между балками) в диафрагменных и бездиафрагменных пролетных строениях.

4.45. Конструктивные решения по уширению береговых опор должны по возможности исключать необходимость нарушения плотности насыпи за шкафной стенкой при производстве работ по уширению. При отсутствии такой возможности в чертежах должны указываться приемы восстановления плотности насыпи после окончания работ по уширению (послойное трамбование грунта до kупл³0,98, заполнение пазух цементогрунтом с тщательным трамбованием).

Если в конструкции береговой опоры в пределах ее существующей части отсутствует возможность опирания на нее переходных плит, то к шкафной стенке пристраивают консоль (рис. 4.2). Если заглубление ее h1 не превышает 0,5h2; (h2 - высота насыпи), то при kупл³0,98 грунт насыпи считают слежавшимися; если h1>0,5h2, то упрочнение грунта насыпи не учитывают.

В бесфундаментных устоях, уширяемых добивкой свай (см. рис. 3.20), новые расстояния между сваями ан могут отличаться от существующих ас; величину ан принимают не менее 6bс (размера сваи поперек моста), так как при ап<6bс для существующих свай увеличение их несущей способности по грунту не учитывают.

4.46. В схемах уширения группы А железобетонных пролетных строений при удовлетворительном состоянии гидроизоляции слои одежды удаляют вдоль тротуарных блоков на ширине не более 1 м со ступенчатой вырубкой по каждому слою для последующей их стыковки.

Для схем уширения приставляемыми балками без устройства накладной плиты при удовлетворительном состоянии гидроизоляции в средней части существующего пролетного строения слои, кроме покрытия, удаляют вдоль тротуаров, оголяя продольный стык омоноличивания (накладки), а асфальтобетонное покрытие удаляют на всей площади моста. Причем арматуру плиты приставляемых балок стыкуют с оголенными накладками (рис. 4.3, а). В отдельных случаях, при наличии обоснования расчетом, бетон омоноличивания доводят до уровня существующего защитного слоя, поверх которого укладывают новый изоляционный слой (без удаления существующего слоя), а жесткость крайней оставшейся балки подсчитывают с учетом монолитного бетона над ней (рис. 4.3, в).

При стыковке конструкций с различными статическими схемами (например разрезные балки с неразрезными) допускается объединять их не по всей длине, а на участках с однозначной эпюрой изгибающих моментов.

Рис. 4.2. Схема пристройки к шкафной стенке консоли для опирания переходных плит:

а - положение хомутов перед приваркой закладных пластин; б - рабочее положение хомутов с приваренной закладной пластиной:

1 - анкерный хомут; 2 - местная срубка бетона; 3 - отверстия для хомутов; 4 - шкафная стенка; 5 - зачеканка; 6 - закладная пластина; 7 - прибетонируемая консоль

Рис. 4.3. Схема стыковки балок без удаления одежды на существующей части пролетного строения (с устройством дополнительного изоляционного слоя):

а - бетон омоноличивания в одном уровне с оставшимися слоями одежды; б - бетон омоноличивания выше уровня защитного слоя; в - расчетное сечение балки;

1 - приставляемая балка; 2 - существующая балка; 3 - бетон омоноличивания; 4 - арматура, стыкуемая с накладкой; 5 - существующие слои одежды (покрытие удалено); 6 - новые слои одежды

Рис. 4.4. Схема стыковки балок с помощью накладок (а, в), болтов (б), захватов (г):

1 - монолитный бетон плиты; 2 - выпуски арматуры; 3 - хомут каркаса; 4 - монолитный бетон вставки; 5 - выкол бетона; 6 - приваренная пластина; 7 - стыковая накладка; 8 - закладная деталь; 9 - просверленное отверстие; 10 - болт; 11 - оголенный хомут; 12 - основная арматура; 13 - сварка; 14 - граница опалубки; 15 - поперечная балка; 16 - удерживающая полоса, приваренная к выпускам; 17 - клей; 18 - упор; 19 - опалубка

4.47. В схемах уширения железобетонных ребристых пролетных строений с добавлением балок и максимальным приближением их к существующим конструкциям объединение конструкций между собой в поперечном направлении должно осуществляться с обязательной стыковкой поперечной арматуры в двух уровнях. В схемах с устройством монолитной вставки по всей высоте балок при объединении одного уровня арматуры плиты предусматривают объединение по низу балок исходя из значения поперечного изгибающего момента. Объединение конструкций по низу балок (накладками, болтами, упорами - рис. 4.4) допускается не устраивать, если по плите арматура состыкована в двух уровнях, а в расчете заложены раздельные жесткости стыкуемых конструкций.

В схемах с омоноличиванием балок по монолитной вставке (см. рис. 3.5, г, 3.6, в) степень армирования монолитного бетона принимают пропорционально армированию приставляемой сборной конструкции. Поперечное армирование накладной плиты определяют по расчету на прочность плит (диафрагм) и принимают не ниже армирования плиты сборных балок, используя арматуру класса A-II диаметром не менее 12 мм.

Рис. 4.5. Узлы объединения накладной плиты с существующими балками:

а - железобетонная шпонка объединения монолитной накладной плиты; б - бетонная штопка присоединения сборной накладной плиты, армированная гибкой арматурой; в - то же, армированная жесткой арматурой; г - анкерная шпонка; д - болтовое соединение на высокопрочных болтах; е - жесткий упор; ж - гибкий петлевой анкер;

1 - плита существующих балок; 2 - бетон замоноличивания; 3 - арматурные коротыши; 4 - слой цементного раствора; 5 - сборная накладная плита; 6 - жесткая арматура из профильного металла; 7 - анкерное утолщение шпонки; 8 - высокопрочный болт; 9 - оголенная арматура существующих балок; 10 - жесткий упор; 11 - металлическая пластинка; 12 - петлевой анкер

4.48. При проектировании уширения железобетонных диафрагменных пролетных строений с существенными повреждениями в диафрагмах следует ориентироваться на применение схем уширения с накладной железобетонной плитой, объединенной в совместное сечение с балками. В этом случае считают, что поперечное объединение балок осуществлено только по накладной плите. Армируют плиту в двух уровнях по усилиям, определенным исходя из передачи момента в поперечном направлении только накладной плитой.

4.49. Объединение монолитной, сборно-монолитной и сборной накладной плиты с балками (если плита участвует в распределении усилий между балками и имеет толщину больше толщины существовавшего сточного треугольника) следует выполнять с помощью арматурных или болтовых анкеров. Причем площадь сечения анкеров по контакту должна определяться расчетом, но быть не менее процента армирования хомутами ребер железобетонных балок. Для объединения плит используют:

шпоночные соединения с гибкой и жесткой арматурой, устраиваемые заполнением бетоном окон в плите существующих балок при устройстве монолитной плиты или совмещенных окон в блоках сборной накладной плиты и плиты существующих балок (рис. 4.5, а-г);

жесткие упоры из отрезков профильного металла (рис. 4.5, e), крепящиеся к металлическим пластинам, или гибкие анкеры (рис. 4.5, ж), приваренные к оголенной верхней арматуре существующих балок;

болтовые соединения на высокопрочных болтах (рис. 4.5, в);

склеивание полимерными материалами.

Число анкеров и их несущую способность следует определять расчетом.

4.50. При конструировании ребристой накладной плиты в сборном или сборно-монолитном вариантах учитывают, что в поперечном сечении могут быть использованы две или три плиты с продольными и поперечными бетонируемыми стыками (см. рис. 3.4). Допускается использовать другие методы объединения блоков по поперечным швам в соответствии с решениями, приведенными на рис. 4.6.

При проектировании уширения неразрезных пролетных строений накладной плитой сборные плиты, оказывающиеся в растянутой зоне (над опорами), должны объединяться между собой в поперечных швах арматурными выпусками, коротышами арматуры или другим способом, обеспечивающим сопротивление стыка растяжению.

Поперечные уклоны проезжей части создаются за счет наклона поверхности накладной плиты без устройства сточного треугольника.

4.51. Увеличение длины консоли плиты проезжей части при уширении сталежелезобетонных пролетных строений по схемам группы может производиться как сборными блоками, так и монолитным бетоном. При этом тротуарные блоки удаляют и обнажают выпуски арматуры плиты (обрубкой бетона), к которым пристыковывают сборные блоки (рис. 4.7).

В случае необходимости усиления сталежелезобетонных пролетных строений введением предварительно напрягаемой затяжки при уширении по схемам группы А (см. рис. 3.10) затяжку рассчитывают на усилия, принимаемые по табл. 4.8.

Прикрепление выносных консолей следует производить одновременно к наружному ребру жесткости и стенке главной балки в плоскости поперечных связей (рис. 4.8).

4.52. Объединение блоков плиты проезжей части с главными балками при уширении по схемам группы Б (замена плит) следует производить с использованием вертикально выступающего металлического листа, прикрепляя его к верхнему поясу болтами или сваркой. Минимальная высота выступающего листа зависит от конструкции и должна быть не менее 200 мм.

В случае невозможности или нецелесообразности ликвидации существующих упоров минимальная высота и конструкция выступающего листа должны быть определены с учетом фактической высоты и расположения упоров.

Рис 4.6. Стыки сборных блоков накладной плиты:

а, б, в - с зачеканкой швов цементным раствором; г, д, е - c заполнением швов бетоном и установкой дополнительной арматуры; ж, з - с устройствами накладок;

1 - сборные блоки; 2 - цементный раствор; 3 - спираль Æ6,5 мм; 4 - выпуски арматуры; 5 - поперечные швы; 6 - выпуски арматуры; (ь - расстояние по осям закладной детали; 9 - дополнительная арматура стыка; 10 - коротыши арматуры, 11 - диафрагмы главной балки

Рис. 4.7. Схема расположения элементов уширения:

1 - продольный шов; 2 - существующая плита; 3 - поддерживающие консоли; 4 - сборные блоки; 5 - поперечные швы; 6 - выпуски арматуры; (b - расстояние по осям существующих поперечных швов)

4.53. В случае необходимости поддомкрачивания балок пролетных строений при уширении по схемам группы Б силу поддомкрачивания Р1 в зависимости от высоты развития сечения при регулировании из середины пролета следует принимать по табл. 4.9. Значение P1 должно удовлетворять условию P1£P2; P2 принимают по табл. 4.10.

В том случае, если для регулирования усилий используются подносные рамы, значения P1 и Р2 следует умножать на коэффициент a, определяемый по формуле

,

где l - расчетный пролет главных балок; a - расстояние от оси опирания главных балок до точки приложения силы регулирования.

Таблица 4.9

Типовой проект

Г-10+2Х0,75

Г-11,5+2Х1,0

Сила поддомкрачивания P1, кН, при высоте развития сечения hр, мм

390

570

840

390

570

840

ЛГТМ 767/1

Прочность нижнего пояса главных балок

ЛГТМ 608/1

обеспечена

860

340

-220

ПСК 43282 км

 

 

 

600

60

-520

ПСК 43019 км

1080

560

-80

2260

1320

600

ПСК 4801 км

980

740

280

2140

1520

940

ПСК 43182 км

1580

760

340

2700

1760

1060

ПСК 4793 км

1020

680

220

1620

1300

640

ГПИ СДП

180

-180

-

640

280

-60

Примечание. Для промежуточных величин hp значения P1 следует принимать по интерполяции.

Рис. 4.8. Узел крепления поддерживающих консолей к ребру жесткости балки:

1 - горизонтальный элемент; 2 - уголки жесткости; 3 - ребро жесткости; 4 - фасовки; 5 - прокладки; 6 - подкос; 7 - болты крепления

Рис. 4.9. Узел объединения монолитного ребристого пролетного строения с приставляемыми плитами (а, б) и балкой (в):

1 - плита; 2 - выравнивающий слой; 3 - ребро; 4 - заанкеренные в пробуренных отверстиях штыри; 5 - контур тротуара старого пролетного строения; 6 - плоскость сруба консоли; 7 - монолитный бетон вставки; 8 - арматура вставки; 9 - пустотная предварительно напряженная плита; 10 - закладная деталь в плите; 11 - опалубочный щит; 12 - монолитная плита; 13 - арматура монолитной плиты; 14 - консоль монолитной плиты; 15 - граница новой проезжей части; 16 - предварительно напряженная балка

Таблица 4.10

Габарит после уширения

Сила поддомкрачивания P2, кН, обеспечивающая общую устойчивость главных балок для типового проекта

ЛГТМ 608/1

ПСК 4793 км

ПСК 43282 км

ПСК 43019 км

ПСК 4801 км

ПСК 4801 км

ЛГТМ 767/1

ГПИ СДП

Г-10+2Х0,75

60

480

260

200

520

240

Общая устойчивость главных балок обеспечена

Г-11,5+2Х1,0

200

540

380

280

620

360

4.54. Объединение ребристых монолитных толстостенных железобетонных пролетных строений с приставляемыми сборными балками или плитами в отдельных случаях, когда с арматурой крайних балок сложно состыковаться, осуществляют с помощью горизонтальных или наклонных штырей, установленных в просверленные в стенке отверстия (рис. 4.9. а, б). Отверстия сверлят диаметром, на 2-5 мм превышающим диаметр стержня. Стержни (анкеры) изготавливают из арматуры периодического профиля Æ12-16 мм и устанавливают в отверстия, в которых предварительно залит клей на глубину не менее 10 диаметров. Допускается анкеровку стержней осуществлять путем зачеканки просветов между ними и стенками отверстия сухим цементным раствором с В:Ц=0,15. Стержни могут располагаться равномерно по фасаду или локально.

В случаях, не требующих стыковки арматуры по стенке (см. п. 4.30), приставляемые элементы объединяют по плите (рис. 4.9, в).

5. ОСОБЕННОСТИ ПРОИЗВОДСТВА И ПРИЕМКА PAБОТ

ТЕХНОЛОГИЧЕСКИЕ ТРЕБОВАНИЯ

5.1. Все работы по уширению мостов следует выполнять, руководствуясь требованиями СНиП III-43-75 [10] и СНиП 2.01.01-82 [8]. Специальные требования, связанные с особенностями уширения, приведены ниже 1.

____________

1 После уширения все характеристики сооружения, результаты испытания и приемки заносят в книгу искусственных сооружений.

5.2. Уширение моста или путепровода начинают с уширения опор и подходов. При уширении промежуточных опор путепровода подготовка ригеля или тела опоры может быть осуществлена без обстройки, но с использованием транспортно-подъемных средств - вертикальных и консольных подъемников. В мостах промежуточные опоры обстраивают подвесными ходами и лесами для выполнения работ по наращиванию ригеля и тела опоры. Для схем уширения, требующих развития фундаментной части, предварительно забивают сваи. Сваебойные работы целесообразно осуществлять в зимнее время с грунта или со льда. При необходимости забивки по одной - две сваи усиления с каждой стороны опоры работы по забивке сваи допускается вести с моста, используя при этом специальные механизмы, позволяющие забивать сваи сбоку. При нахождении такого механизма на мосту движение по сооружению прекращают.

5.3. При уширении устоев последовательность работ принимают следующей: забивают сваи, отсыпают конусы, наращивают ригель и шкафную стенку, укладывают переходные плиты. До забивки свай в конусе разравнивают площадку. Для случая забивки свай в заранее уширенную насыпь (конус) разравнивают площадки под каждую сваю, обозначая таким образом ее проектное положение. Работы по уширению устоев не требуют, как правило, обстройки.

При уширении опор движение по мосту не прерывают.

Рис. 5.1. Методы регулирования усилий:

а - натяжение арматуры с пролетных строений; б - поддомкрачивание с промежуточной временной опоры; в, г - с подкосных рам

Рис. 5.2. Схемы организации движения по мосту, уширяемому сборной накладной плитой:

а, б - по одной полосе и установкой права преимущественного проезда; в - по двум полосам проезда; г - с выносом движения на консольный участок неладной плиты;

1 - существующее пролетное строение; 2 - блоки ограждения; 3 - консольные накладные плиты; 4 - средняя вставка; 5 - анкер

5.4. Для уширения промежуточных опор необходимо предварительно выполнить ее обстройку, обеспечивающую безопасное нахождение рабочих при выполнении опалубочных, арматурных и бетонных работ. Обстройка промежуточных опор должна обеспечивать прием материалов и конструкций сверху с одной или с двух сторон моста. Обстройку работ принимают по акту. Актом оформляют приемку промежуточных этапов работ по уширению опор - опалубочных и арматурных работ.

5.5. При укладке (замене) переходных плит разница в отметках между их концами не должна превышать 1/3 высоты шкафной стенки. Грунт перед укладкой плит выбирают по уровню их низа, дополнительно трамбуют, а после укладки плит и грунта засыпки укатывают катками. Соединение плит со шкафными стенками и подушками должно осуществляться на штырях, устанавливаемых по расчету для восприятия всей горизонтальной силы, передающейся на опоры.

5.6. Для регулирования усилий при включении железобетонной плиты проезжей части в работу металлического пролетного строения следует использовать временную опору, расположенную в середине пролета (рис. 5.1, 6).

В случае невозможности или нецелесообразности использования временной опоры допускается регулирование усилий с помощью подносных рам (рис. 5.1, а, г) или продольной напрягаемой арматуры (см. рис. 5.1, а). В процессе регулирования движение по сталежелезобетонному пролетному строению не допускается.

5.7. Уширение сборными накладными плитами необходимо осуществлять, как правило, с перекрытием или ограничением движения транспортных средств, производя монтаж плит поочередно на одной и другой половине моста и используя свободные полосы существующей или вновь устроенной проезжей части для пропуска транспортных средств (строительных машин или, в отдельных случаях, потока автомобилей). Принципиальные схемы организации движения на период реконструкции представлены на рис. 5.2. При сохранении движения по одной полосе реконструируемого моста покрытие не должно иметь неровностей. Необходимо обеспечить регулирование движения по мосту с заданной скоростью, интервалом и в пределах допустимого веса транспортного средства.

Возможность частичного пропуска транспортных средств по мосту при его уширении определяется в каждом конкретном случае отдельно. При этом реальная возможность такой организации существует при уширении по схемам, не требующим замены слоев одежды, а с заменой слоев - при габаритах не менее 9 м.

При выполнении бетонных работ по объединению элементов, а также в процессе твердения бетона и набора прочности до 0,5 от марочной вес проходящих автомобилей ограничивают величиной, при которой в арматуре омоноличиваемого участка возникают напряжения не более 0,2 Rs.

5.8. В случаях когда при реконструкции участка дороги створ моста переносится на новое место, старый участок с мостом используют в качестве временного объезда. Организация движения по мосту учитывает в этом случае фактические габариты сооружения и состояние несущих конструкций (см. п. 4.12).

5.9. Перед уширением сталежелезобетонных пролетных строений, предусматривающим замену железобетонной плиты, осуществляют работы по усилению элементов главных балок и поперечных горизонтальных связей с целью предотвращения потери устойчивости элементов при демонтаже плит. Не допускается разборка или замена отдельных плит в случаях, когда балки и связи существующего пролетного строения ослаблены отверстиями, предусмотренными для соединения или прикрепления наращиваемых конструкций уширения.

Обрубку концевых участков консолей плит с помощью пневматических инструментов допускается вести при условии отсутствия дефектов в плите (трещины, расстройство поперечных швов) и в узлах омоноличивания упоров. Удаление бетона на конце плит с дефектами осуществляют с использованием иных механизмов (механические нарезчики, приспособления для облома кромок, гидродинамические нарезчики) или предусматривают иные методы стыковки железобетонных конструкций на этих участках (например, стыковыми накладками, клеештыревыми соединениями и др.).

ТРЕБОВАНИЯ ПО БЕЗОПАСНОСТИ РАБОТ

5.10. В проектах производства работ (ППР) по уширению мостов должны содержаться технические решения и основные организационные мероприятия по обеспечению безопасных условий труда и санитарно-гигиеническому обслуживанию работающих.

В целях обеспечения безопасных условий труда в ППР должны быть предусмотрены меры по предупреждению: падения людей с высоты; падения монтируемых (демонтируемых) элементов моста; падения используемых материалов и инструмента с верхнего яруса работ на нижний; опасного или вредного действия на людей машин, оборудования, материалов и электрического тока.

Исходными документами при решении вопросов по обеспечению безопасности труда в ППР должны быть существующие нормативные документы [11], [1].

5.11. Для предупреждения падения людей с высоты в ППР необходимо предусмотреть: защитные ограждения в соответствии с ГОСТ 12.4.059-78 [2]; средства подмащивания; пути подхода или средства доставки людей к рабочим местам; места и способы крепления предохранительных поясов и страховочных канатов.

5.12. Для предотвращения падения (обрушения) элементов конструкций при монтаже (демонтаже) в ППР необходимо учесть требования по обеспечению устойчивости конструкций.

Кроме того, должны быть указаны: технологическая последовательность монтажа (или демонтажа) элементов моста; способы строповки монтируемых элементов моста, обеспечивающие подачу их в положение, соответствующее или близкое к проектному; способы устойчивого временного закрепления элементов моста перед их расстроповкой при монтаже (или строповкой при демонтаже); способы окончательного закрепления элементов при монтаже.

Строповка и расстроповка элементов должна осуществляться преимущественно с помощью автоматических или полуавтоматических устройств.

5.13. Для предупреждения падения перемещаемых грузов в ППР необходимо определить: грузозахватные средства (стропы, траверсы и др.) с учетом массы и габаритов груза, условий строповки; приспособления (пирамиды, кассеты) для устойчивого хранения элементов конструкций моста при складировании.

Для предотвращения падения материалов или инструмента с верхнего яруса работ на нижний в ППР необходимо предусмотреть устройство защитных козырьков, настилов, бортовых ограждений, а также безопасные способы удаления отходов строительных материалов и мусора с каждого яруса.

5.14. Выбор монтажных кранов и других механизмов должен определяться в зависимости от методов монтажа с учетом требований «Правил устройства и безопасной эксплуатации грузоподъемных кранов», утвержденных Госгортехнадзором СССР; инструкцией заводов-изготовителей по эксплуатации данной машины (оборудования). Кроме того, должны быть предусмотрены:

использование технических средств по ограничению пути движения или угла поворота машины;

система сигналов (звуковых, знаковых, световых), а при необходимости радио- или телефонная связь для обеспечения согласованности в действиях машинистов или лиц, работающих вручную;

безопасные расстояния между одновременно работающими на одном участке машинами, а также машинами или лицами, работающими вручную;

схемы и ограждения места работ (в случаях, если работы производятся без прекращения движения транспорта по мосту) при обрубке консолей плит, монтаже добавляемых балок пролетных строений, уширении устоев и монтаже переходных плит в соответствии с ВСН 37-84;

средства искусственного (при недостатке естественного) освещения строительной площадки и рабочих мест (особенно при уширении опор, когда работы ведутся под пролетным строением, или усилении стальных конструкций, когда работы ведутся между балками).

5.15. Для перехода монтажников с одной конструкции на другую следует применять инвентарные лестницы, переходные мостики и трапы, имеющие, ограждение. Не допускается переход монтажников по установленным конструкциям и их элементам (балкам, плитам, ригелям), на которых невозможно установить ограждение, обеспечивающее ширину прохода не менее 0,6 м, без применения специальных предохранительных приспособлений (надежно натянутого вдоль балки или ригеля каната для закрепления карабина предохранительного пояса и др.).

При выполнении монтажных и бетонных работ необходимо строго соблюдать последовательность, предусмотренную ППР.

5.16. Ежедневно перед началом укладки бетона в опалубку при уширении опор необходимо проверять состояние опалубки и средств подмащивания, а также (при их использовании) виброходов и бетоновозов.

Во время прочистки (испытания, продувки) бетоновозов сжатым воздухом рабочие, не занятые непосредственно выполнением этих операций, должны находиться от бетоновоза не ближе 10 м.

5.17. При выполнении электросварочных и газопламенных работ места производства их на данном, а также на нижерасположенном ярусе (при отсутствии несгораемого защитного настила или настила, защищенного несгораемым материалом) должны быть освобождены от сгораемых материалов в радиусе не менее 5 м, а от взрывоопасных материалов и установок (в том числе газовых баллонов и газогенераторов) - 10 м.

При резке элементов конструкций (например, арматуры консолей удаляемых плит) должны быть приняты меры против случайного обрушения отрезанных конструкций.

При прокладке или перемещении сварочных проводов необходимо принимать меры против повреждения их изоляции и соприкосновения с водой, маслом, стальными канатами, и горячими трубопроводами, а также повреждения колесами автомобилей, двигающихся по «работающей» полосе.

6. ПРИМЕРЫ УШИРЕНИЯ ПРОЛЕТНЫХ СТРОЕНИЙ И ОПОР

6.1. Уширение пролетных строений из балок по типовому проекту вып. 56 (Союздорпроект) с помощью накладной монолитной плиты усиления.

Балки существующих пролетных строений в зависимости от проектной временной подвижной нагрузки и года проектирования (изготовления) имеют различное армирование, в связи с чем предусмотрены случаи:

А - проектные нагрузки Н-18, НК-80, балки изготовлены после 1962г.;

А' - те же нагрузки, балки изготовлены до 1962г.;

В - проектные нагрузки Н-13, НГ-60, балки изготовлены после 1962г.;

В' - те же нагрузки, балки изготовлены до 1962г.

Значения предельных моментов Мпред., т.е. моментов, которые может воспринять балка, подсчитаны без учета измененной несущей способности балки (по поперечному сечению без плиты), а значения Мрасч. - с учетом увеличенного собственного веса и измененного перераспределения нагрузок между балками. Расчетные изгибающие моменты в середине пролета, главных балок и соответствующие предельные моменты при уширении до габаритов Г-8, Г-10 и Г-11,5 даны соответственно в табл. 6.1-6.3.

Конструкции рассчитаны для случая отсутствия в них дефектов. На рис. 6.1 указаны размеры плиты усиления без слоев одежды ездового полотна.

При наличии в пролетных строениях дефектов, снижающих несущую способность, а также недостаточной несущей способности старых конструкций (группы В и В') уширение накладной плитой должно сопровождаться дополнительным усилением конструкций.

При неудовлетворительном состоянии надопорных участков свайно-эстакадных мостов уширение осуществляют с превращением конструкций в неразрезные (рис. 6.2-6.5).

6.2. Уширение пролетных строений из балок по типовому проекту вып. 56 (Союздорпроект) с помощью накладной плиты и дополнительных балок, установленных на расстоянии 2,3 м от существующих (рис. 6.6).

Варианты армирования балок А, А', В и В' - см. п. 6.1.

Значения предельных моментов Мпред подсчитаны с учетом измененной несущей способности балки, увеличенного момента от собственного веса плиты усиления и для случая отсутствия в конструкциях дефектов.

Моменты подсчитаны без учета негативного влияния длительных деформаций монолитного бетона и бетона новой балки на существующие конструкции. Приведенные схемы предусматривают уширение с габаритов Г-6, Г-7 и Г-8 до Г-9, Г-10 и Г-11,5 соответственно. Значения расчетных изгибающих моментов в середине пролета главных балок и соответствующие предельные моменты для этих схем уширения даны в табл. 6.4-6.6.

В приведенных решениях предусмотрено полное удаление слоев одежды (как и в п. 6.1) и принятие мер, обеспечивающих совместную работу плиты усиления и существующих балок.

6.3. Уширение пролетных строений из балок по типовому проекту вып. 56 (Союздорпроект) с габарита Г-7+2Х0,75 до Г-9+2Х1,0 с помощью близко приставляемых балок.


Таблица 6.1

№ балок

L=11,36 м

L=14,06 м

L=16,76

L=22,16

Мрасч.

Мпред.

Мрасч.

Мпред.

Мрасч.

Мпред.

Мрасч.

Мпред.

А

A'

В

В'

А

A'

В

В'

А

A'

В

В'

А

A'

В

В'

1

94,8

116,4

108,8

97,5

91,2

128,5

159,1

148,8

123,4

115,3

173,9

194,5

181,9

171,7

160,6

168,6

291,3

272,4

263,0

245,9

2

87,1

119,7

112,0

100,6

94,1

116,7

162,8

152,5

126,7

118,6

158,3

198,2

185,5

175,4

164,1

247,5

294,9

276,1

266,7

249,6

3

84,0

123,6

115,7

103,8

97,8

113,8

168,0

157,3

130,6

122,2

153,0

203,7

190,7

180,1

168,5

242,4

301,6

282,4

272,7

255,2

Таблица 6.2

№ балок

L=11,36 м

L=14,06 м

L=16,76

L=22,16

Мрасч.

Мпред.

Мрасч.

Мпред.

Мрасч.

Мпред.

Мрасч.

Мпред.

А

A'

В

В'

А

A'

В

В'

А

A'

В

В'

А

A'

В

В'

1

99,4

116,4

108,8

97,5

91,2

135,1

159,1

148,8

123,4

115,3

185,1

194,5

181,9

171,7

160,6

300,5

291,3

272,4

263,0

245,9

2

84,8

119,7

112,0

100,6

94,1

112,5

162,8

152,5

126,7

118,6

156,0

198,2

185,5

175,4

164,1

251,5

294,9

276,1

266,7

249,6

3

76,9

123,6

115,7

103,8

97,1

111,6

168,0

157,3

130,6

122,2

146,3

203,7

190,7

180,1

168,5

239,5

301,6

282,4

272,7

255,2

4

75,2

126,5

118,4

106,2

99,3

107,3

171,8

160,9

133,5

124,9

144,4

207,7

194,4

183,6

171,8

236,9

306,5

286,9

277,1

259,3

Таблица 6.3

№ балок

L=11,36 м

L=14,06 м

L=16,76

L=22,16

Мрасч.

Мпред.

Мрасч.

Мпред.

Мрасч.

Мпред.

Мрасч.

Мпред.

А

A'

В

В'

А

A'

В

В'

А

A'

В

В'

А

A'

В

В'

1

105,0

118,4

108,8

97,6

91,2

138,0

159,1

148,8

123,4

115,3

184,8

194,5

181,9

171,7

160,6

286,4

291,3

272,4

263,0

245,9

2

88,1

119,7

112,0

100,6

94,1

114,9

162,8

152,5

126,7

188,6

160,8

198,2

185,5

175,4

164,1

247,8

294,9

276,1

266,7

249,6

3

77,9

123,5

115,7

103,8

97,1

107,1

168,0

157,3

130,6

122,2

145,8

203,7

190,7

180,1

168,5

235,5

301,6

282,4

272,7

255,2

4

73,3

127,4

119,2

106,9

100,0

101,6

173,1

162,0

134,4

125,8

139,8

208,9

195,6

184,7

172,8

228,4

308,1

288,4

278,4

260,5

Таблица 6.4

№ балок

L=11,36 м

L=14,06 м

L=16,76

L=22,16

Мрасч.

Мпред.

Мрасч.

Мпред.

Мрасч.

Мпред.

Мрасч.

Мпред.

А

A'

В

В'

А

A'

В

В'

А

A'

В

В'

А

A'

В

В'

1

87,6

102,8

121,1

156,6

190,8

400

250,2

455

2

84,7

121,8

113,9

102,1

95,4

114,3

156,1

155,4

128,3

120,4

145,8

200,5

187,6

177,2

165,7

264,7

298,3

279,0

2702

252,0

3

79,2

125,2

117,1

105,1

98,3

111,5

170,1

159,3

132,2

123,7

147,8

204,8

191,7

181,1

169,5

249,5

303,1

283,7

274,0

256,4

4

78,4

128,1

119,9

107,5

100,6

111,2

174,0

162,9

135,1

126,4

146,9

208,9

195,6

184,7

172,8

247,3

308,1

288,4

278,4

260,5

Рис. 6.1. Объединение балок монолитной накладной плитой с консольными свесами


Рис. 6.2. Исходная схема секционного моста с возможными дефектами в виде сколов торцов балок

Рис. 6.3. Схема секционного моста после реконструкции

Рис. 6.4. Узел I (см. рис. 6.3):

1 - арматурная сетка по поверхности насадки из стержней A-I Æ 8 мм; 2 - продольная арматура в накладной плите (по расчетам на трещиностойкость); 3 - П-образные хомуты, охватывающие продольную арматуру сверху; 4 - бетон омоноличивания; 5 - щиты опалубки


Таблица 6.5

№ балок

L=11,36 м

L=14,06 м

L=16,76

L=22,16

Мрасч.

Мпред.

Мрасч.

Мпред.

Мрасч.

Мпред.

Мрасч.

Мпред.

А

A'

В

В'

А

A'

В

В'

А

A'

В

В'

А

A'

В

В'

1

79,7

102,8

109,1

156,6

190,0

400

254,9

455

2

90,4

121,8

1139

102,1

95,4

114,7

166,1

165,4

128,8

120,4

143,6

200,5

187,6

77,2

165,7

262,0

298,3

279,0

270,2

252,0

3

82,1

125,2

117,1

105,1

98,3

104,8

170,1

159,3

132,2

123,7

145,5

204,8

191,7

181,1

69,5

245,3

303,1

283,7

274,0

256,4

4

76,7

129,1

120,8

108,3

101,3

99,4

175,3

164,1

136,1

127,3

143,3

210,3

196,9

185,9

173,9

237,9

309,7

289,9

279,9

261,9

Таблица 6.6

№ балок

L=11,36 м

L=14,06 м

L=16,76

L=22,16

Мрасч.

Мпред.

Мрасч.

Мпред.

Мрасч.

Мпред.

Мрасч.

Мпред.

А

A'

В

В'

А

A'

В

В'

А

A'

В

В'

А

A'

В

В'

1

56,3

102,8

82,1

156,6

173,1

400

220,1

455

2

82,3

121,8

113,9

102,1

95,4

114,7

166,1

155,4

128,8

120,4

152,2

200,5

187,6

177,2

165,6

250,0

298,3

479,0

270,2

252,0

3

79,0

125,2

117,1

105,1

98,3

110,1

170,1

159,3

132,2

123,7

151,5

204,8

191,7

181,1

169,5

241,4

303,1

283,7

274,0

256,4

4

75,5

129,1

120,8

108,3

101,3

106,3

175,3

164,1

136,1

127,3

143,9

210,3

196,9

185,9

173,9

234,4

309,7

289,9

279,9

261,9

5

75,9

132,0

123,5

110,8

103,6

107,2

179,2

167,8

139,0

130,1

141,6

214,4

200,7

188,2

176,0

239,0

314,7

294,6

284,4

266,1


Таблица 6.7

№ балки

L=8,66 м

L=11,36 м

L=14,06 м

L=16,76 м

Мрасч.

Мпред.

Мрасч.

Мпред.

Мрасч.

Мпред.

Мрасч.

Мпред.

А

В

А

В

А

В

А

В

1

55,6

110

88,7

110

121,7

176,8

146,3

176,8

2

35,9

64.1

55,8

65.6

102,1

82,5

91,0

142,6

105,3

131,0

201,3

152,

3

41,7

60,5

52,7

61,9

97,3

79,5

82,7

139,7

100

111,5

187,5

147,

4

44,3

60,5

52,7

66,7

97.3

79,5

86,7

139.7

100

110,1

197,5

147,

Даны три варианта уширения (рис. 6.7):

1) с частичным удалением слоев одежды (удалено покрытие, а по концам и другие слои) и усилением существующего защитного слоя;

2) с полным удалением слоев одежды и устройством монолитной плиты усиления диафрагм в пределах толщины сточного треугольника (дополнительная нагрузка на балки отсутствует);

3) с полным удалением слоев одежды и устройством монолитной плиты усиления диафрагм и балок.

Значения расчетных и предельных моментов для четырех крайних балок схем уширения по рис. 6.7, а, б и в приведены соответственно в табл. 6.7-6.9. Они подсчитаны с учетом увеличенных несущей способности элементов и собственного веса конструкций.

Значения момента Мр подсчитаны с учетом перераспределения нагрузки между балками за счет плиты усиления и придвинутых балок, а также с учетом негативного влияния длительных деформаций в новых элементах на напряженное состояние старых. Большая разница в отдельных случаях между Мпред, и Мрасч свидетельствует о возможности использования метода уширения при нарушенных поперечных связях (разрывах в накладках диафрагм).

Рис. 6.5. Узлы II и III (см. рис. 6.3):

1 - арматурная сетка по поверхности насадки из стержней A-I Æ8 мм; 2 - продольная арматура в накладной плите (по расчету на трещиностойкость); 3 - П-образные хомуты, охватывающие продольную арматуру сверху; 4 - бетон омоноличивания; 5 - щиты опалубки; 6 - трещины в ригеле


Рис. 6.6. Объединение балок монолитной накладной плитой с добавлением по краям пролетного строения бездиафрагменных балок, изготовленных по действующим типовым проектам

Рис. 6.7. Уширение пролетных строений из балок по типовому проекту 56 с помощью приближенных на 1 м балок с габарита Г-7+1X0,75 до Г-9+2Х1,0 м


Таблица 6.8

№ балки

L=8,66 м

L=11,36 м

L=14,06 м

L=16,76 м

Мрасч.

Мпред.

Мрасч.

Мпред.

Мрасч.

Мпред.

Мрасч.

Мпред.

А

В

А

В

А

В

А

В

1

55,3

110

86,8

110

117,7

176,8

140,8

176,8

2

29,5

64,6

55,8

53,3

102,4

82,5

72,5

142,8

105,8

103,1

201,3

152,7

3

40,9

68,4

59,3

62,3

108,9

88,6

82,6

153,6

111,4

105,3

215,5

159,6

4

45,2

71,3

628

67,0

113,2

93,4

86,7

159,4

119,1

107,9

222,9

171,1

Габарит Г-9 принят для мостов дорог II категории с уменьшенным размером полосы безопасности. Аналогичное решение может быть использовано при уширении с габарита Г-6+2Х0,5 до Г-8+2Х0,75 м.

6.4. Уширение пролетных строений из балок по типовому проекту вып. 56 (Союздорпроект) с помощью вплотную приставляемых с двух сторон балок с габарита Г-7+2Х0,75 до Г-10+2Х1,0 м.

Даны три варианта, уширения (рис. 6.8):

1) с частичным удалением слоев одежды (удалено покрытие, а по концам - и другие слои), усилением существующего защитного слоя и добавлением по две балки с каждой стороны;

2) с полным удалением слоев одежды, устройством монолитной плиты (повышенной толщины) усиления диафрагм и балок, добавлением по две балки с каждой стороны;

3) с полным удалением слоев одежды, устройством накладной плиты усиления диафрагм, добавлением по две балки с каждой стороны и омоноличиванием стенок сближенных балок.

Значения расчетных и предельных моментов для добавленных и старых балок схем уширения (см. рис. 6.8) приведены соответственно в табл. 6.10-6.12. Они подсчитаны с учетом увеличенной несущей способности, дополнительного собственного веса и улучшенного перераспределения нагрузок между элементами. Большая разница между Мпред и Мрасч свидетельствует о возможности использования в отдельных случаях метода уширения при разрушенных поперечных связях (диафрагмах) и дефектах в балках.

6.5. Уширение пролетных строений из балок по типовому проекту вып. 56 (Союздорпроект) с помощью приставляемых с одной стороны балок и со смещением тротуарных блоков на другой стороне.

Даны три варианта уширения (рис. 6.9):

1) с частичным удалением слоев одежды, устройством монолитной плиты над некоторыми старыми балками (толщина плиты усиления в пределах толщины сточного треугольника);

Таблица 6.9

№ балки

L=8,66 м

L=11,36 м

Мрасч.

Мпред.

Мрасч.

Мпред.

А

В

А

В

1

49,3

110

78,5

110

2

37,0

77,9

68,3

61.8

122,2

103,0

3

50,6

80,1

71,8

82,7

126,3

107,0

4

52,3

83,9

73,0

83,4

128,7

110,2


Рис. 6.8. Уширение пролетных строений из балок по типовому проекту 56 с помощью вплотную приставляемых с двух сторон балок с габарита Г-7+2Х0,75 до Г-10+2X1,0 м

Рис. 6.9 Уширение пролетных строений из балок по типовому проекту 56 с помощью приставляемых с одной стороны балок со смещением тротуарных блоков


Таблица 6.10

№ балки

L=8,66 м

L=11,36 м

L=14,06 м

L=16,76 м

Мрасч.

Мпред.

Мрасч.

Мпред.

Мрасч.

Мпред.

Мрасч.

Мпред.

А

В

А

В

А

В

А

В

1

34,7

110,0

61,7

110,0

91,8

170,8

122,4

176,8

2

53,9

107,8

73,5

107,8

93,7

162,3

120,7

162,3

3

24,8

64,1

55,8

49,5

102,1

82,5

67,0

142,6

105,8

99,4

201,3

152,6

4

39,2

60,5

52,7

61,2

97,3

79,5

83,6

139,7

102,0

113,8

197,5

147,9

5

45,1

60,5

52,7

70,1

97,3

79,5

93,5

139,7

100,0

130,7

197,5

147,9

Таблица 6.11

№ балки

L=8,66 м

L=11,36 м

Мрасч.

Мпред.

Мрасч.

Мпред.

А

В

А

В

1

32,1

110,0

37,0

110,0

2

56,3

110,0

78,8

110,0

3

30,2

79,7

70,0

61,1

119,5

104,3

4

46,1

80,1

71,8

73,3

126,3

107,0

5

50,0

83,9

73,5

80,5

128,7

110,2

Таблица 6.12

№ балки

L=8,66 м

L=11,36 м

L=14,06 м

Мрасч.

Мпред.

Мрасч.

Мпред.

Мрасч.

Мпред.

А

В

А

В

А

В

1

28,1

110,0

53,7

110,0

80,5

176,1,

2

91,0

291,1

272,2

146,0

312,1

293,0

195,2

315,5

295,4

3

41,1

85,0

76,1

62,8

132,9

114,5

81,0

186,8

140,1

4

45,8

81,4

72,9

67,5

127,9

109,7

83,4

179,0

134,3

Таблица 6.13

№ балки

L=8,66 м

L=11,36 м

L=14,06 м

Мрасч.

Мпред.

Мрасч.

Мпред.

Мрасч.

Мпред.

А

В

А

В

А

В

1

29,8

60,5

52,7

51,1

97,3

79,5

74,3

139,7

100

2

37,5

60,5

52,7

66,8

97,3

79,5

80,3

139,7

100

3

36,9

60,5

52,7

64,0

97,3

79,5

76,6

139,7

100

4

55,1

70,3

61,9

85,8

111,8

91,3

115,6

157,4

116,1

5

53,6

72,3

62,8

81,4

114,6

93,0

113,2

161,4

117,5

6

37,4

67,5

58,7

68,4

106,7

89,1

100,8

147,7

110,7

7

59,2

110,0

88,0

110,0

102,2

176,8

Таблица 6.14

№ балки

L=8,66 м

L=11,36 м

Мрасч.

Мпред.

Мрасч.

Мпред.

А

В

А

В

1

35,1

69,3

62,2

63,7

110,3

95,4

2

42,2

72,5

64,6

68,2

114,0

98,6

3

46,3

75,7

66,9

74,0

117,7

101,8

4

48,3

78,9

69,3

75,1

121,4

105,0

5

47,5

82,7

71,6

78,8

125,1

108,2

6

20,4

79,3

70,0

54,6

119,5

104,3

7

54,1

110,0

75,4

110,0

8

59,4

110,0

88,8

110,0

2) с полным удалением слоев одежды, устройством монолитной плиты усиления увеличенной толщины и с максимальным приближением приставляемой балки к существующей;

3) с частичным удалением слоев одежды, устройством монолитной плиты усиления и омоноличиванием стенок максимально сближенных балок.

Значения расчетных и предельных моментов для всех балок (схем уширения по рис. 6.9, а, б, в) приведены соответственно в табл. 6.13-6.15. Они подсчитаны с учетом увеличенной несущей способности балок, а значение Мр - с учетом дополнительного собственного веса и улучшенного перераспределения нагрузок между элементами. Большая разница в отдельных случаях между Мпред и Мрасч свидетельствует о возможности использования метода уширения при нарушенных поперечных связях.

6.6. Варианты уширения свайной и двухстолбчатой промежуточных опор при увеличении габарита с Г-7+2Х0,75 до Г-10+2Х1,0 м и Г-11,5+2Х1,5 м.

Рис. 6.10. Вид свайной опоры после уширения:

1, 2, 3 - добавляемые ригель, свая, плиты; 4, 5, 6 - существующие ригель, свая, плиты

Таблица 6.15

№ балки

L=8,66 м

L=11,36 м

L=14,06 м

Мрасч.

Мпред.

Мрасч.

Мпред.

Мрасч.

Мпред.

А

В

А

В

А

В

1

32,8

60,5

52,7

61,4

97,3

79,5

91,7

139,7

100,0

2

41,2

60,5

52,7

69,7

97,3

79,5

97,3

139,7

100,0

3

43,1

60,5

52,7

73,3

97,3

79,5

99,7

139,7

100,0

4

48,1

81,4

72,9

73,6

127,9

109,7

95,4

179,0

134,3

5

44,4

85,0

76,1

70,3

132,9

114,5

95,0

186,8

140,1

6

101,8

291,1

272,2

159,4

312,1

293,0

221,1

315,5

295,4

7

49,8

110,0

81,3

110,0

118,1

176,8

 

56,0

110,0

88,7

110,0

125,6

176,8

Рис. 6.11. Узел существующей свайной опоры:

а - армирование ригеля до уширения; б - обрубка бетона на конце ригеля с оголением арматуры

Рис. 6.12. Уширенная насадка опоры

Рис. 6.13. Расположение дополнительных железобетонных блоков и напрягаемой арматуры в уширенной опоре:

1 - приставляемые сборные блоки уширения насадки; 2 - приставляемые сборные блоки стенок; 3 - верхние пучки; 4 - нижние пучки

Показано уширение свайной опоры путем забивки дополнительных свай с двух сторон, уширением на 3 м ригеля со стыковкой арматуры (рис. 6.10-6.12); двухстолбчатой опоры с напряженным ригелем за счет уширения на 4-5 м ригеля железобетонными блоками, обжимаемыми дополнительными пучками (рис. 6.13).

Взамен боковых сборных блоков может быть использован монолитный бетон или торкретбетон.

ПРИЛОЖЕНИЕ 1 (справочное)

ПЕРЕЧЕНЬ ТИПОВЫХ ПРОЕКТОВ ПРОЛЕТНЫХ СТРОЕНИЙ ЭКСПЛУАТИРУЕМЫХ МОСТОВ И ПОПЕРЕЧНЫЕ СЕЧЕНИЯ БАЛОК 1

__________

1 Характеристики балок приведены в таблице.

1. Пролетные строения железобетонные сборные с каркасной арматурой периодического профиля пролетами в свету 7,5; 10,0; 12,5; 15,0 и 20,0 м. Союздорпроект, вып. 56, 1957.

2. Пролетные строения из пустотных плит длиной от 6 до 18 м, армированных стержневой арматурой. Союздорпроект, серия 3.503-12, инв. № 384/25, 1969.

3. Унифицированные сборные пролетные строения из предварительно напряженного железобетона для мостов и путепроводов на автомобильных и городских дорогах. Союздорпроект, серия 3.503-12 инв. № 384/35, вып. 8 (7), 1970.

4. Пролетные строения из пустотных плит, армированных арматурой класса A-IV и A-V. Союздорпроект, серия 3.503-12, инв. № 384/43, 1974.

Рис. 1. Поперечное сечение балки ребристого пролетного строения по ТП (1)

Рис. 2. Поперечное сечение пустотной плиты длиной 12, 15, 18 м по ТП (2, 4)

Рис. 3. Поперечное сечение пустотной плиты длиной 6 м по ТП (4)

Рис. 4. Поперечное сечение элемента пролетного строения из унифицированных балок по ТП (3):

1 - унифицированная балка; 2 - бетон омоноличивания

Характеристики балок пролетных строений

№ п/п

Элемент пролетного строения

Длина элемента l, м

Высота элемента h, м

Начальный модуль упругости бетона Еб, кН/м2

Момент инерции приведенного сечения Iп, м4

Момент инерции при кручении Iк, м4

n=Ea/Eб

Коэффициент армирования

1

Балка по ТП (1)

11,36

0,8

2,1·104

0,0215

0,00132

7,1

0,0181

2

Плита по ТП (2)

12,0

0,6

3,5·104

0,0147

0,0448

5,8

0,0062

3

Балка по ТП (1)

16,76

1,0

2,9·10

0,0517

0,00134

7,1

0,022

4

Плита по ТП (1)

18,0

0,75

3,5·104

0,0278

0,0493

5,8

0,0159

5

Балка по ТП (1)

22,16

1,25

2,9·104

0,0782

0,00168

7,2

0,0309

6

Балка по ТП (3)

24,0

1,2

3,5·104

0,122

0,00383

5,1

0,007

7

Балка по ТП (4)

12,0

0,6

3,5·104

0,0149

0,0488

5,8

0,0077

8

Балка по ТП (5)

18,0

1,05

3,15·104

0,0627

0,0042

6,5

0,0204

9

Балка по ТП (5)

18,0

1,05

3,15·104

0,055

0,0034

6,5

0,0254

10

Балка по ТП (6)

18,0

1,15

3,5·104

0,0792

0,0032

5,2

0,005

11

Балка по ТП (5)

12,0

0,9

3,15·104

0,0386

0,0038

6,5

0,0147

12

Балка по ТП (5)

15,0

0,9

3,15·104

0,0346

0,003

6,5

0,023

13

Плита по ТП (4)

15,0

0,6

3,5·104

0,0153

0,0488

5,8

0,0116

14

Монолитная балка по ТП (7)

6,8

0,5

2,3·104

0,0195

0,0142

9,1

0,0075

15

Плита по ТП (4)

6,0

0,3

3,5·104

0,00209

0,00497

5,8

0,0073

16

Балка по ТП (5)

12

0,9

3,15·104

0,0343

0,003

6,5

0,0186

17

Балка по ТП (8)

12

0,9

3,15·104

0,0322

0,00104

6,35

0,0121

18

Балка по ТП (8)

18

1,05

3,15·104

0,0564

0,00444

6,35

0,0224

5. Пролетные строения без диафрагм из цельноперевозимых балок длиной 12, 15 и 18 м, армированных каркасной арматурой класса A-II. Союздорпроект, серия 3.505-14, вып. 1, инв. № 710/1, 1969.

6. Пролетные строения из составных балок длиной 18 и 21 м, армированных напрягаемой пучковой арматурой класса B-II (подвариант без диафрагм). Союздорпроект, серия 3.503-14, вып. 3, инв. № 710/3.

7. Железобетонные плитно-ребристые пролетные строения с пролетом 5 и 6 м. Союздорпроект, вып. 4, 1984.

8. Пролетные строения без диафрагм длиной 12, 15 и 18 м, армированные арматурой классов A-II, A-III. Союздорпроект, серия 3.503-14, вып. 5, инв. № 710/5, 1974.

Рис. 5. Поперечное сечение балки бездиафрагменных пролетных строений длиной 12, 15, 18 м по ТП (5): при шаге балок по ширине пролетного строения 1,8 м - а=0,25 м; b=1,8 м; при шаге 1,5 м - а=0,1 м, b=1,5 м;

1 - сборный элемент; 2 - бетон омоноличивания

Рис. 6. Поперечное сечение элемента предварительно напряженных пролетных строений по ТП (6):

1 - сборная балка; 2 - бетон омоноличивания

Рис. 7. Поперечное сечение, плитно-ребристого пролетного строения

ПРИЛОЖЕНИЕ 2 (рекомендуемое)

ОРИЕНТИРОВОЧНАЯ ОЦЕНКА НЕСУЩЕЙ СПОСОБНОСТИ СВАЙНЫХ ФУНДАМЕНТОВ МОСТОВ ПОСТРОЙКИ ДО 1962г.

Возможность уширения опор со свайными фундаментами на крупных и средних песках и глинистых грунтах с I>0,4 без уширения фундаментов определяют на основании расчетов в соответствия с требованиями СНиП 05.03-84 и СНиП 2.02.03-85. В соответствии с этими расчетами для любых грунтовых условий в свайных фундаментах резерв несущей способности появляется за счет большего значения коэффициента kусв=Pt/P0 над kN=Nн/Nс, в которые входят характеристики, определяемые по новым и старым нормам:

Рt - несущая способность сваи по грунту по СНиП 2.02.03-85; P0 - несущая способность сваи по ПиУ-48, определяемая по формуле

,

где gw - плотность грунта, т/м3; l - длина сваи, м; Fc - площадь поперечного сечения сваи, м2; jср - усредненный угол внутреннего трения грунта; f - коэффициент трения сваи по грунту, принимаемый для сухой глины 0,4; мокрой - 0,2; суглинка и супеси сухой - 0,5; мокрой - 0,3; песка среднего сухого - 0,6; мокрого - 0,25; песка мелкого сухого - 0,46; мокрого - 0,3; Nн - усиление, приходящееся на наиболее напряженную сваю по СНиП 2.05.03-84; Nc - то же, по ПдУ-48; Uc - периметр сваи.

Результаты расчетов несущей способности представлены на рис. 1-9 для свай различной длины l.

Рис. 1. Несущая способность железобетонных свай сечением 22х22 см (а) и 35Х35 см (б) в песчаных грунтах:

1 - крупных; 2 - средней крупности; 3 - мелких

Рис. 2. Несущая способность железобетонных свай сечением 22х22 см (а) и 35Х35 см(б) в суглинках с различными коэффициентами консистенции В

Рис. 3. Несущая способность железобетонных свай сечением 22х22 см (а) и 35х35 см (б) в глинах с различными коэффициентами консистенции В

Рис. 4 Несущая способность деревянных свай d=28 см (а) и d=40 см (б) в суглинках средней влажности и влажных с различными коэффициентами консистенции В

Рис. 5. Несущая способность деревянных свай d=28 см (а) и d=40 см (б) в сухих суглинках с различными коэффициентами консистенции В

Рис. 6. Несущая способность деревянных свай d=28 см (а) и d=40 см (б) в сухих глинах с различными коэффициентами консистенции В

Рис. 7. Несущая способность деревянных свай d=28 см (а) и d=40 см (б) в глинах средней влажности и влажных с различными коэффициентами консистенции В:

1 - для глин средней влажности; 2 - для влажных глин

Рис. 8. Несущая способность деревянных свай d=28 см (а) и d=40 см (б) в сухих пестах:

1 - крупных; 2 - средней крупности; 3 - мелких

Рис. 9. Несущая способность деревянных свай d=28 см (а) и d=40 см (б) в песках влажных Ро.вл и средней влажности Ро.св:

1 - крупных; 2 - мелких; 3 - средней крупности

ПРИЛОЖЕНИЕ 3 (рекомендуемое)

МЕТОДИКА УСКОРЕННОЙ ОЦЕНКИ ВОЗМОЖНОСТИ УШИРЕНИЯ СВАЙНО-ЭСТАКАДНЫХ ОПОР (МЕТОДИКА УО)

1. Ускоренная оценка распространяется только на промежуточные свайно-эстакадные (рис. 1, в, г, д) и береговые (рис. 1, е, ж) свайные опоры с вертикальными сваями (вып. 70).

Конструкции опор рассмотрены при наиболее распространенных основных параметрах:

а) увеличение габаритов:

с Г-7+2Х0,75   до Г-8+2Х1,0;

» Г-7+2Х0,75  » Г-10+2Х1,0;

» Г-7+2Х0,75  » Г11,5+2Х1,5;

» Г-7-8+2Х1,0 » Г-10+2Х1,5;

б) длины пролетных строений по схемам 11,36 мХ3 и 16,76 мХ3;

в) высоты опор промежуточных - от 3 до 6 м, береговых - от 2 до 5 м;

г) глубина забивки свай - от 4 до 10 м;

д) сечение существующих железобетонных свай - 30Х35 см, добиваемых - 35Х35 и 40Х40 см;

е) грунты-пески, (средние, мелкие и пылеватые); супеси, суглинки твердые, полутвердые и тугопластичные. Грунты условно разделены на прочные (на рис. 3-6 обозначены сплошной штриховкой) и слабые (на рис. 3-6 обозначены пунктирной штриховкой).

Рис. 1. Схемы мостов (а, б) и типы опор (в-ж)

2. При оценке несущей способности свай по грунту в промежуточных опорах рассмотрены случаи как однородных грунтов по длине свай, так и их сочетаний в два и три слоя (всего шесть сочетаний): а) прочный; б) слабый; в) слабый - прочный; г) прочный - слабый; д) прочный - слабый - прочный; е) слабый - прочный - слабый. При этом предполагается, что свая опирается на грунт, лежащий в ее нижней части. К прочным грунтам отнесены глинистые с коэффициентами консистенции 0<В<0,3, а также пески и супеси, кроме пылеватых; к слабым отнесены глинистые грунты с величиной В, лежащей в интервале 0,3<В£0,5, и пылеватые пески и супеси.

При оценке несущей способности свай по грунту у береговых опор верхний слой грунта принят во всех случаях прочным, поскольку учитываемую в расчете насыпь у мостов отсыпают из дренирующих грунтов; в расчетах он принят в виде однородного уплотненного длительной эксплуатацией песка средней крупности толщиной 4 м с коэффициентом пропорциональности К=500 т/м4.

Наряду с однородным прочным грунтом по длине свай рассмотрено еще два сочетания напластований, начиная сверху: прочный - слабый; прочный - слабый - прочный.

3. Усилия, приходящиеся на голову сваи, определены при следующих предпосылках:

а) временные вертикальные нагрузки НК-80 и АК при числе полос движения - 2 (по одному в каждом направлении) со смещением по отношению к барьерному ограждению (или тротуару) в соответствии со СНиП 2.05.03-84;

б) постоянная нагрузка для уширенных мостов принята в соответствии с наиболее рациональной конструкцией симметрично двустороннего уширения пролетных строений и опор. Рассмотрено уширение пролетных строений до габарита Г-10+2Х1,5 м ребристыми балками применительно к бездиафрагменным пролетным строениям по вып. инв. № 710/1 (по 11/2 с каждой стороны для габарита Г-10); уширение до габарита Г-11,5+2Х1,5 м - плитными пустотными блоками на ширину по 3,5 м с каждой стороны;

в) определение усилий, передающихся на опору от тормозной силы Нх, произведено с учетом работы моста к насыпи как единой системы по методике, разработанной ВНИИ транспортного строительства. При этом рассмотрен вариант установки старых и пристраиваемых частей пролетных строений на резиновые опорные части.

4. При расчете береговых опор с высотой насыпи до 5 м временную нагрузку, расположенную за пределами переходной плиты (длина 6 м), не учитывали. Постоянную и временную нагрузки, находящиеся на переходной плите, а также вес плиты учитывали в запас прочности как опорные реакции на шкафную стенку устоя простой балки расчетным пролетом 5 м.

Учитывая длительность эксплуатации дороги и упрочнение грунта за счет этого фактора, в качестве расчетной схемы устоя принят нижний свайный ростверк, к плите которого приложены все внешние воздействия (включая давление грунта на шкафную стенку), а уровень расчетной поверхности грунта принят совпадающим с уровнем горизонтальной плоскости нижней поверхности плиты ростверка, от которого и отсчитывают глубину заделки свай. При этом плиту ростверка не включают в работу на горизонтальные и вертикальные воздействия.

5. Несущая способность по грунту оснований в уширяемом мосту при отсутствии необходимости уширения фундаментов или добивки дополнительных свай при уширении бесфундаментных опор вычислена с учетом увеличения несущей способности грунтов за счет их уплотнения в процессе эксплуатация. При необходимости уширения свайных опор путем добивки новых свай уплотнение грунтов во времени не учитывали.

Уширение опор рассмотрено в двух вариантах - без забивки и с забивкой дополнительных свай.

Методика ускоренной оценки построена на сопоставлении усилий N, возникающих после уширения моста в наиболее нагруженных сваях, с несущей способностью свай Р.

Ускоренная оценка производится по графикам, построенным для свай опор под пролетные строения длиной 11,36 и 16,76 м для определенных условных схем грунтовых оснований, классифицированных по прочности.

6. Для возможности работы с графиками необходимо отнести реальные грунтовые условия рассматриваемой опоры к одному из наиболее близких в графиках. При этом в случае двухслойного грунтового основания при толщине одного из слоев менее 0,2 от глубины забивки свай следует его рассматривать как однослойное с параметрами, соответствующими большему слою; в случае трехслойного основания при толщине одного из слоев менее 0,1 от глубины забивки свай следует рассматривать его как двухслойное. В этом случае, а также при числе слоев грунта более трех следует объединять слои, близкие по физико-механическим характеристикам. Характеристику (слабый или прочный) объединяемых слоев следует определять по их средневзвешенным характеристикам, за исключением случаев подстилающих грунтов, для которых характеристику принимают по тому слою, в котором расположено острие сваи.

В связи с тем что ускоренная оценка является приближенной и погрешность может доходить до ±20%, то при N=0,8¸1,2 Рt, следует производить уточняющий расчет.

7. Рассмотрены промежуточные опоры эстакадных мостов (с.м. рис. 1, а). На рис. 2 приведены возможные варианты уширения опор без добивки дополнительных свай (а) и с добивкой (б).

Графики, приведенные на рис. 3 и 4 соответственно для сопрягающихся пролетов по 11,36 и 16,76 м, позволяют не только установить наличие или отсутствие необходимости уширения свайных опор, но и определить глубину погружения Н забиваемых свай в случае такой необходимости.

На указанных графиках приведены линии Ni - максимальных расчетных усилий, приходящихся на голову свай (с учетом их веса) в уширенном мосту и линии Рt и Р для различного сочетания грунтов, в которые погружена свая.

Нечетные значения индекса i при N даны для случаев, когда опору уширяют без добивки свай (рис. 2, а), а четные - при забивке дополнительных свай (рис. 2, б). Рt - расчетная несущая способность существующих свай сечением 30Х35 см с учетом уплотнения грунта за счет длительной эксплуатации (при условии, если не добивают новые сваи); Р - расчетная несущая способность свай сечением 35Х35 и 40Х40 см без учета уплотнения грунта, (принимают для вновь забиваемых свай).

Абсцисса точки пересечения линий Ni (при i - нечетных) и Рt показывает минимально необходимую глубину погружения в грунте старой сваи h, при которой не требуется забивка дополнительных свай. Если фактическая глубина погружения существующих свай в конкретно рассматриваемом случае окажется меньше h, то добивка дополнительных свай требуется. В этом случае по абсциссам точек пересечения линии Ni, (при i - четных) и линий Р определяют ту минимальную глубину Н, на которую необходимо забить новые сваи сечением 35Х35 см или 40Х40 см, чтобы несущая способность по грунту Р была более Ni.

Рис. 2. Схемы уширения промежуточных опор:

а - без добивки свай; б - добивка по одной свае с каждой стороны; в - добивка по две сваи с каждой стороны


Рис 3 Расчетные усилия Ni, приходящиеся па голову свай при различном их погружении под промежуточной опорой моста с длиной пролетных строений 11,36 м

Рис. 4. Расчетные усилия Ni, приходящиеся на голову сваи при различном их погружении под промежуточной опорой моста с длиной пролетных строений 16,76 м

Рис. 5. Расчетные усилия в сваях устоя моста с длиной пролетных строений 11,36 м

Рис. 6. Расчетные усилия в сваях устоя моста с длиной пролетных строений 16,76 м


8. Рассмотрены существующие береговые свайные двухрядные опоры (см. рис. 1, в).

Графики, приведенные на рис. 5-6 для свайных опор мостов с пролетами 11,36 и 16,76 м, позволяют не только установить наличие или отсутствие необходимости уширения свайных опор, но и определить необходимую глубину H погружения вновь забиваемых свай в случае такой необходимости.

Необходимость забивки дополнительных свай определяют по сопоставлению несущей способности свай с учетом упрочнения грунта за период эксплуатации Рt и N - максимального усилия в свае при соответствующем переходе со старого габарита на новый при фактической глубине забивки существующих свай h. Если при этом значение N находится в интервале (0,9¸1,1) Рt, то следует произвести уточняющий расчет. Если N>1,1 Pt, то забивка дополнительных свай не требуется, а если N<0,9 Pt, то необходима забивка дополнительных свай. Глубину погружения этих свай определяют по абсциссе точки пересечения линии несущей способности свай без учета упрочнения грунта Р с линией N, соответствующей переходу со старого габарита на новый. На рис. 3-6 усилия на сваю N1- N8 соответствуют уширению:

N1 - c Г-7+2Х0,75 до Г-8+2X1,0 (nсв=5);

N2 - » Г-7+2Х0,75 » Г-8+2Х1,0 (nсв=7);

N3 - » Г-7+2Х0,75 » Г-10+2Х1,5 (nсв=5);

N4 - » Г-7+2Х0,75 » Г-10+2Х1,5;

N5 - » Г-8+2Х0,75 » Г-10+2Х1,5 (nсв=5);

N6 - » Г-7+2Х0,75 » Г-11,5+2Х1,5:

N7 - » Г-8+2Х0,75 » Г-10+2Х1,5 (nсв=7).

ПРИЛОЖЕНИЕ 4 (обязательное)

МЕТОДИКА ОПРЕДЕЛЕНИЯ УВЕЛИЧЕНИЯ НЕСУЩЕЙ СПОСОБНОСТИ ВИСЯЧИХ ЗАБИВНЫХ СВАЙ ПО РЕЗУЛЬТАТАМ ЗОНДИРОВАНИЯ ГРУНТОВ ОСНОВАНИЙ

1. С целью определения фактических коэффициентов, учитывающих повышение несущей способности свайных фундаментов во времени, необходимы дополнительные инженерно-геологические исследования грунтов оснований в зоне фундаментов. Исследования рекомендуется проводить проектными изыскательскими организациями одновременно с инженерными изысканиями.

Методика исследований предусматривает дополнительное зондирование грунтов оснований станками УБП-15М. На пойменных участках и у путепроводов зондирование производится непосредственно с земли; на участках открытых русел по возможности следует производить зондирование с предварительно отсыпанных островков. Метод динамического зондирования допускает также установку станка на плавучие средства.

2. У каждой пересчитываемой опоры закладывают по пять точек зондирования в обе стороны от фундамента. Точки зондирования следует располагать в плане на прямой линии, проведенной через центр свайного ростверка поперек оси моста на расстоянии 1; 2; 3; 5 и 10 м от края плиты ростверка. Глубину зондирования назначают на 2 м ниже отметки острия свай. Продолжительность полевых работ по зондированию грунтов у одной опоры не должна превышать трех суток. Зондирование грунта следует производить в направлении от ростверка к периферии.

В процессе зондирования грунтов необходимо сопоставлять показатели по всем точкам, и в случае резких отклонений показателей назначать дополнительные точки зондирования на аналогичном расстоянии от грани плиты ростверка.

В плотных грунтах допускается зондировать одну точку за несколько приемов с разбуриванием ранее пройденной части скважины. Уровни, с которых осуществляется каждый последующий этап зондирования, должны быть одинаковыми для всех точек у данной опоры. Указанный метод допустим только при горизонтальном заложении слоев грунта. Дополнительное приведение результатов зондирования, полученных по данному методу, не требуется.

По результатам динамического зондирования грунтов оснований измеряют условное динамическое сопротивление грунтов Рд на различных горизонтах. Для каждого слоя грунта принимают среднее значение Рд, полученное по результатам обработки материалов.

4. При расчетах забивных висячих свай в фундаментах эксплуатируемых мостов и путепроводов следует учитывать повышение их несущей способности во времени путем введения к формулам СНиП коэффициента Kt.

Расчет производится по формуле

Ф=m(mRKtRF+uSmfKtfili),                                            (1)

где Kt -коэффициент повышения несущей способности сваи, определяемый по формуле (2) для каждого слоя грунта. Остальные обозначения см. п. 5.5 СНиП II-17-77.

Примечание. Для верхних слоев грунта толщиной 2 м (от уровня дневной поверхности или теоретического размыва дна) повышающий коэффициент Кt принимают равным 1.

5. Коэффициент повышения несущей способности забивных висячих свай

,                                          (2)

где Р1д, Р2д, Р3д, Р4д, Р5д - условные динамические сопротивления рассматриваемого слоя грунта, определяемые как среднее из двух значений симметричных относительно опоры точек зондирования. Порядковый номер точек зондирования возрастает в направлении от ростверка к периферии.

Коэффициенты повышения несущей способности сваи принимают в пределах 1£Kt£1,5. Если значение коэффициента, определенное по формуле (2), выходит за указанные пределы, то к расчету следует принимать наибольшее или наименьшее из указанных значений коэффициента.

При расчете свайных фундаментов обсыпных устоев значения Kt допускается принимать при однородном инженерно-геологическом строении местности по аналогии со смежными опорами.

ПРИЛОЖЕНИЕ 5 (рекомендуемое)

МЕТОДЫ РАСЧЕТА УШИРЕННЫХ ПРОЛЕТНЫХ СТРОЕНИЙ

1. Методика расчета уширенных железобетонных пролетных строений с использованием программ PRNY и RSTV

Основные положения расчета

Расчет уширенных пролетных строений производят в соответствии с требованиями стандартов СЭВ 384-76, 1406-78, норм проектирования СНиП 2.05.03-84, а также специальных требований, вытекающих из специфики работы уширенных пролетных строений.

Расчет в предельном состоянии состоит в проверке условия

Sпр>S*,                                                                (1)

где Sпр - предельное усилие (момент, поперечная сила), соответствующее достижению рассматриваемой группы предельных состояний; S* - усилие от действия расчетной нагрузки.

Предельное усилие должно определяться на основе требований СНиП 2.05.03-84.

При определении Sпр в элементах уширенных пролетных строений, в которых объединены ранее эксплуатировавшиеся и новые материалы, следует учитывать состояние самонапряжения и ограниченную деформативность материалов, а также дефекты в ранее эксплуатировавшейся конструкции.

Определение усилий от нагрузки в общем случае производят в форме:

S*=fs(g, l0, П),                                                         (2)

где fs - функциональная зависимость, связывающая параметры; g - интенсивность нагрузки; l0 - пролет рассматриваемого элемента, в качестве которого принимают минимальное расстояние между точками опирания в направлении рабочего армирования; П - группа параметров, определяющих пространственную работу конструкции.

Допускается наряду с формулой (2) использовать зависимость

S*=SPigiwihi,                                                           (3)

где Рi - интенсивность нормативных нагрузок; gi - коэффициент надежности по нагрузке; wi - функционал, связывающий усилие и пролет l0, рассматриваемого элемента; hi - коэффициент, учитывающий пространственную работу конструкции (определяют по таблицам или на основе расчетов).

Расчеты по настоящему приложению производят при проектировании уширения разрезных балочных пролетных строений. В исследовательских целях, а также для анализа напряженно-деформированного состояния пролетных строений в линейной постановке допускается использовать программы, основанные на методе конечных элементов и методе плитно-балочной конструкции.

Расчет комбинированных нормальных сечений в предельных состояниях

Расчет сечений с дефектами, в которых объединены в совместную работу материалы, имеющие различный возраст, допускается производить с использованием действительных диаграмм деформирования с применением п.п.п. SEPGU и SEPMY, которые разработаны на кафедре мостов МАДИ для расчета нормальных сечений железобетонных элементов.

Сечение представляется как совокупность зон (рис. 1), имеющих форму четырехугольника для бетона и принимаемых в виде точек с сосредоточенной в них площадью для арматуры. Зоны группируют исходя из единства материала и времени включения в совместную работу. По каждой группе зон должны быть заданы:

диаграмма деформирования материала, которую принимают по системе нормируемых показателей (если известен класс (марка) материала или путем испытания образцов с учетом коэффициента надежности по материалу;

параметры эпюры относительных деформаций, соответствующей моменту включения группы зон в работу всего сечения.

Расчет производят путем решения методами нелинейного математического программирования системы уравнений равновесия сечения:

                                              (4)

где n - число групп зон в сечении.

Рис 1 Расчетная схема и основная система для расчета линий влияния М, g, Н, HK

В результате расчета определяют: значение предельного изгибающего момента Мпр, соответствующее достижению eпр в одном из материалов, составляющих сечение при условии:

;

параметры напряженно-деформированного состояния, отвечающие условию (4), если Мпр³М*.

П.п.п. SEPGU дает возможность рассчитывать сечения, имеющие не более двух групп зон, моделирующих бетон. При использовании п.п.п, SEPMY число групп зон не ограничено (в практике расчетов встречаются сечения с четырьмя группами зон).

П.п.п. SEPGU и SEPMY имеются в распоряжении ВЦ ГипродорНИИ и МАДИ.

Расчет уширенных пролетных строений с дефектами при учете физической нелинейности

Определение усилий и перемещений в уширенных пролетных строениях с дефектами рекомендуется производить с использованием пространственной расчетной схемы в виде перекрестной системы стержневых элементов, имеющих нелинейную связь между усилиями и деформациями (рис. 2). Анализ такой расчетной схемы допускается производить с помощью п.п.п. ROSTV, которая имеется в распоряжении ВЦ ГипродорНИИ и МАДИ.

Стержни первого уровня моделируют работу главных балок, элементы второго уровня - работу поперечной конструкция (плиты, диафрагмы). На стержне размещается сетка сечении; по каждому из них устанавливается диаграмма изгиба. Она учитывает наличие дефектов, влияющих на геометрию стержня (выколы, трещины, коррозия арматуры) и связанных с изменением свойств материалов (выщелачивание, карбонизация бетона).

Рис. 2. Исходная информация для расчета пролетного строения (а), стержневая пространственная расчетная схема (б) и диаграммы изгиба сечений стержневых элементов (в)

Решение задачи определения усилий и перемещений производят на основе метода сил с привлечением аппарата нелинейного математического программирования для решения нелинейной системы совместности перемещений.

В качестве исходных данных вводят: информацию о геометрии системы (координаты начала и конца стержней, точек пересечения, положения сечений); данные о работе сечений (диаграммы изгиба); данные о нагрузке.

В результате расчета по программе ROSTV устанавливают эпюры усилий и перемещений в системе, которые фиксируют в назначенных сечениях.

Расчет уширенных железобетонных пролетных строений по программе PRNY

Для определения величин hi может быть использована общая постановка метода коэффициента поперечной установки.

На. основе этого метода составлена программа PRNY, в которой исходная информация и принятые допущения обозначены следующим образом:

А - в поперечном сечении располагают балки с различными геометрическими характеристиками в общем случае (рис. 3).

Б - распределение усилий между балками (плитами) происходит только в том поперечном сечении, где приложено внешнее сосредоточенное усилие. Это означает, что балки (плиты) пролетного строения как бы разделены продольными швами, оставляя соединенными только участки на рабочей ширине в рассматриваемом поперечном сечении с внешним усилием. Внешние усилия в поперечных сечениях распределяются независимо друг от друга.

В - для каждой балки выделяют участок шириной А. Внутри этих участков балки работают на кручение как жесткие брусья без деформации их контура.

Г - по бокам жесткой части назначают зоны АКлев и АКправ, характеризующие изгибаемые в поперечном направлении части сечения каждой балки.

Д - поперечное сечение пролетного строения характеризуется параметрами, задаваемыми для каждой балки:

момент инерции на кручение РК;

модуль упругости материала К;

модуль сдвига материала G.

Рис. 3. Исходная информация для расчета нормального сечения:

а - сечение моделируется тремя группами зон; б - эпюра деформаций до объединения в совместную работу; в - эпюры деформаций и напряжений в предельном состоянии; г, д - диаграммы деформирования бетона и арматуры

Е - поперечная жесткость конструкции для каждой балки характеризуется моментом инерции на изгиб PR в продольном сечении пролетного строения на рабочей ширине Bр.

Ж - влияние длины и опорных закреплений каждой из балок, объединяемых в единое пролетное строение, учитывается показателями В и ВВ. В - прогиб одной i-й балки при действии на нее единичной вертикальной силы, приложенной в рассматриваемом сечении, увеличенной в expr раз. ВВ - угол закручивания i-й балки от крутящего момента, равного, приложенного к ней в рассматриваемом сечении, увеличенного в GХPKi раз.

Результатами расчета являются значения следующих параметров для каждого положения груза Р=1:

m1, М2,..., М          - изгибающие моменты в проведенных сечениях;

Q1, Q2...                  - поперечные силы в тех же сечениях;

H1, H2,..., H            - вертикальные давления, передающиеся на балки с учетом всех воздействий;

НК1, НК2,..., НК     - крутящие моменты, передающиеся на балки с учетом всех воздействий.

Если введен признак расчета 1-3 или 1-4, то на печать выводятся значения изгибающих моментов и поперечных сил между всеми балками при очередном положении единичного груза, ординаты линий влияния давлений на последовательные балки, ординаты линий влияния закручивающих моментов на последовательные балки.

Если введен признак 1-1 или 1-2, то на печать выводятся только ординаты линий влияния давлений и закручивающих моментов на последовательные балки.

Копию программы PRNY можно заказать с подлинников в ВЦ Минавтодора РСФСР, МАДИ и ГипродорНИИ.

П.п.п. PSTV рекомендуется для расчета балочных ребристых пролетных строений уширенных мостов, реконструируемая часть которых имеет локальные дефекты (коррозию арматуры, выщелачивание бетона, разрушение стыков сборных элементов). PSTV может быть использован как при линейном расчете конструкции, так и при необходимости учета физической нелинейности.

П.п.п. PRNY рекомендуется для определения усилий в уширенных приставными элементами пролетных строений, при проектировании PRNY не предусматривает учета зональных дефектов и нелинейности деформирования железобетона в предельном состоянии.

2. Основные положения расчета сталежелезобетонного пролетного строения с использованием программы

2.1. Программа SK, написанная на алгоритмическом языке «Фортран-IV», позволяет производить расчет разрезных сталежелезобетонных двухбалочных пролетных строений на стесненное кручение от временной нагрузки с учетом переменности сечения по длине.

В основе алгоритма решении лежит теория В.З. Власова совместно с некоторыми положениями численного анализа.

Неоднородное дифференциальное уравнение равновесия с переменными коэффициентами имеет вид:

;

после подстановки

,

y''-r(x)y=f(x).                                                            (5)

Данное уравнение решаем относительно депланации y, используя для этого метод прогонки. Перегоночные коэффициенты имеют вид (прямой ход):

Cn=1/(2+r2nh2-Cn-1)

jn=Cn(jn-1-fnh2).                                                          (6)

Решение получаем в виде линейной комбинации (обратный ход):

Yn-1=Cn-1Yn+jn-1.                                                    (7)

Из граничных условий имеем:

C0=1, j0=0, YN=yN-1

Зная размер депланации в N+1 точках значения усилий и напряжений получаем, пользуясь дифференциальными зависимостями:

Mкр=Gldq'; tкр=Gq'd;

Bw=-EIwq''; sw=-Eq''w;                                                   (8)

Mw=-EIwq'''; tw=-Eq'''Swотс/d;

Для аппроксимации функции угла закручивания q воспользуемся формулой численного дифференцирования:

.                                              (9)

При этом полученную систему линейных уравнений решаем также методом прогонки. Прогоночные коэффициенты вычисляют по формулам (прямой ход):

Cn-1=1/(4-3Cn-2);                                                      (10)

jn-1=Cn-1(3jn-2+2hYn-2).

Значения угла закручивания получаем аналогично (7) (обратный ход):

qn-1=Cn-1qn+jn-1.

Граничные условия представлены в виде:

C0=01, j0=0, qN-1=jN-1.

2.2. Область применения программы ограничивается следующими возможностями:

расстояние между главными балками не должно быть более 1/4 расчетного пролета;

количество мест изменения сечения на половине пролета не более 10;

количество одновременно рассчитываемых сечений не более 20 на половине пролета.

2.3. Ввод исходных данных осуществляется в соответствии с бланками, изображенными на рис. 4, 5, 6.

Вывод информации производится в виде таблиц. При этом имеется пять вариантов печати - один основной и четыре дополнительных. Для назначения того или иного варианта служит индекс управления печатью IP, вводимый с исходными данными (см. рис. 6).


Рис. 4

Рис. 5

Рис. 6


Таблица 1. Варианты вывода информации

Значение IP

Наименование варианта

Дополнительные сведения о выданной информации

1

Основной

1. Геометрические характеристики сечений

2. Силовые факторы стесненного кручения

3. Нормальные напряжения

4. Касательные напряжения

2

Дополнительный

1. Геометрические характеристики сечений

3

»

2. Силовые факторы

4

»

3. Нормальные напряжения

5

»

4. Касательные напряжения

Возможные варианты вывода информации в зависимости от индекса управления печатью IP приведены в табл. 1.

Использование основного варианта позволяет получать для каждого сечения максимальный объем информации в виде таблиц. Пример информации для сечения х=21 м показан в табл. 2-5.

Использование дополнительного варианта дает возможность выводить информацию частями (пример показан в табл. 6-8).

Таблица 1. Геометрические характеристики сечения

Момент инерции секториальный, м6

Момент инерции крученая, м4

Положение ц. т. от низа вертикала, м

Расстояние от ц. т. плиты до центра изгиба, м

3,30316

0,0754

2,058

0,852

Таблица 3. Силовые факторы от временной нагрузки

Общий крутящий момент, т·м (кН·м)

Крутящий момент, т·м (кН·м)

Биомомент, т·м2 (кН·м2)

Изгибно-крутящий момент, т·м (кН·м)

-1,51 (-15,1)

-0,06 (-0,6)

-109,72 (-1097,2)

-1,46 (-14,6)

-14,84 (-148,4)

-0,55 (-5,5)

-1076,35 (-10763,5)

-14,29 (-142,9)

Таблица 4. Нормальные напряжения от кручения временной нагрузкой

В нижнем поясе, кг/см2 (МПа)

В верхнем поясе, кг/см2 (МПа)

На уровне ц. т. плиты, кг/см2 (МПа)

24,1 (2,4)

-7,5 (-0,7)

-2,0 (-2,0)

Угол закручивания: Ф=-0,1510569Е-02 рад.

Таблица 5. Касательные напряжения от кручения временной нагрузкой

На уровне ц. т., кг/см2 (МПа)

Максимальные в стенке, кг/см2 (МПа)

На верхней грани плиты, кг/см2 (МПа)

0,8 (0,1)

0,8 (0,1)

0,8 (0,1)

Таблица 6. Геометрические характеристики сечения

Момент инерции секториальный, м6

Момент инерции крученая, м4

Положение ц. т. от низа вертикала, м

Расстояние от ц. т. плиты до центра изгиба, м

х=1,000 м

1,88593

0,07539

2,289

0,569

х=2,000 м

1,88593

0,07539

2,289

0,569

х=4,200 м

1,88593

0,07539

2,289

0,569

х=8,400 м

2,84132

0,07540

2,133

0,763

х=12,600 м

3,30316

0,07541

2,058

0,852

х=18,800 м

3,30316

0,07541

2,058

0,852

х=21,000 м

3,30316

0,07541

2,058

0,852

2.4. При использовании для решения задачи ЭВМ СМ-4 необходимый объем памяти без оптимизации расположения массивов находится в интервале от 40 до 56 Кбайт. Время счета около 10 с.

Копию программы SK можно заказать с подлинников, которые находятся в ВЦ Минавтодора РСФСР и СибАДИ.

Таблица 7. Силовые факторы от временной нагрузки

Общий крутящий момент, т·м (кН·м)

Крутящий момент, т·м (кН·м)

Биомомент, т·м2 (кН·м2)

Изгибно-крутящий момент, т·м (кН·м)

х=1,000 м

-24,35

-14,11

-9,64

-10,22

-238,84

-138,41

-94,58

-100,27

х=2,000 м

-23,20

-14,12

-18,87

-9,08

-227,64

-138,56

-185,12

-89,09

х=4,200 м

-19,12

-13,60

-34,88

-5,52

-187,61

-133,39

-342,16

-54,15

х=8,400 м

-14,33

-11,09

-76,86

-3,24

-140,57

-108,81

-754,020

-31,81

х=12,600 м

-11,10

-7,75

-102,05

-3,36

-108,92

-76,00

-1001,09

-32,93

х=18,800 м

-2,46

-2,10

-109,35

-0,36

-24,09

-20,63

-1072,71

-3,49

х=21,000 м

-1,51

-0,06

-109,72

-1,46

-14,84

-0,55

-1076,35

-14,29

Таблица 8. Нормальные напряжения от кручения временной нагрузкой  

В нижнем поясе, кг/см2 (МПа)

В верхнем поясе, кг/см2 (МПа)

На уровне ц. т. плиты, кг/см2 (МПа)

х=1,000 м

3,8                              0,4

-0,7                             -0,1

-0,2                             -0,0

Угол закручивания: Ф=-0,8926201Е-04 рад

х=2,000 м

7,5                              0,7

-1,3                             -0,1

-0,4                             -0,0

Угол закручивания: Ф=-0,1932385Е-03 рад

х=4,200 м

13,9                            1,4

-2,4                             -0,2

-0,7                             -0,1

Угол закручивания: Ф=-0,4489926Е-03 рад

 

х=8,400 м

 

19,4                            1,9

-5,3                             -0,5

-1,5                             -0,1

Угол закручивания: Ф=-0,9113585Е-03 рад

х=12,600 м

22,4                            2,2

-6,9                             -0,7

-1,9                             -0,2

Угол закручивания: Ф=-0,1264877Е-02 рад

х=18,800 м

24,0                            2,4

-7,4                             -0,7

2,0                              -0,2

Угол закручивания: Ф=-0,1501302Е-02 рад

х=21,000 м

24,1                            2,4

-7,5                             -0,7

-2,0                             -0,2

Угол закручивания: Ф=-0,1510569Е-02 рад

3. Методика определения прогибов и усилий в элементах уширенных пролетных строений по программе ЭМ-10 ХАДИ

Теоретической основой программы является энергетический метод, переработанный для разрезных пролетных строений из разного материала с диафрагмами и без них. Программа составлена на языке PL для реализация на ЭВМ ЕС.

Методика позволяет быстро определять прогибы и усилия в конструкциях с любым количеством балок. Для экономии машинного времени и ввода меньшего количества исходных данных в программе ЭМ-10 ХАДИ предусмотрено наибольшее количество балок - 15 шт., что достаточно для расчета большинства реальных мостов. Время работы ЭВМ зависит от формы обращения к ЭВМ: если программа вводится с помощью перфокарт - время работы ЭВМ от 1 до 5 мин; если программа записана в памяти ЭВМ - до 1 мин.

При первой схеме загружения ЭВМ устанавливает линейную полосовую нагрузку 1 т/м (100 Н/см) над первой балкой и далее автоматически переставляет нагрузку над всеми остальными балками. В результате счета ЭВМ печатает данные (прогибы и изгибающие моменты в середине пролета; поперечные силы на опоре; изгибающие моменты в продольных сечениях плиты или диафрагме), которые используются как эпюры влияния прогибов или усилий.

Загружение эпюр влияния с помощью ЭВМ не предусмотрено, так как машина, очень долго анализирует результаты расчетов при определении наихудшего условия (в большинстве случаев имеется не один, а несколько максимумов).

Эпюры влияния следует вычертить на миллиметровой бумаге и в худшем положении установить нагрузку. Худшим считают такое положение, при котором произведение нагрузки qэкв на сумму ординат-эпюр влияния под нагрузкой будет наибольшим.

Так как эквивалентную нагрузку вычисляют по изгибающему моменту и в программе используется ограниченное количество членов ряда, значения прогибов получаются с некоторым завышением (наибольшее равно 25% при одной сосредоточенной силе в середине пролета), при испытаниях мостов с малым количеством машин на пролете (2-4 шт.) теоретические прогибы желательно вычислять с поправкой.

Для проверки правильности расчетов при вычислении изгибающих моментов в главных балках может быть использовано условие:

;

или

åMi=åPiyi±(5%¸10%),

где åMi - сумма значений изгибающих моментов во всех главных балках при одинаковом расположении нагрузки над всеми эпюрами;  или åPiyi - изгибающий момент от рассматриваемой линейной или полосовой нагрузки при загружении простой балки.

Исходные данные для программы ЭМ-10 ХАДИ: количество балок (блоков), расчетный пролет, расстояния между балками и от края плиты (накладные тротуары не учитываются), моменты инерции при изгибе и кручении балок, модули упругости и коэффициенты Пуассона материала плиты и ребер. В программе заложено, что плита выполнена из одного материала (единое значение коэффициента Пуассона), а ребра могут быть из разнородных материалов.

Ниже приведен пример определения прогибов и усилий в элементах пролетного строения, построенного по типовому проекту вып. 56 СДП, уширенного блоками по типовому проекту 710/5 и усиленного путем укладки монолитной железобетонной плиты толщиной 10 см над старой частью пролета. Схема пролетного строения приведена на рис. 7, а. Пролетное строение рассчитывали в двух вариантах: с передачей М и Q в поперечном направлении только на диафрагмы и с передачей всего усилия поперек моста на новую монолитную плиту. Второй вариант дал более благоприятный результат, так как армирование диафрагм оказалось недостаточным.

Исходные данные второго варианта: lp=1110 см; n=10 шт.; D1=D11=85 см; D2=D10=166 см; D3=D9=40 см; D4=D5=D6=D7=D8=140 см; I1=I10=3370000 см4; I2=I9=2866000 см4; I3=I8=2910000 см4; I6=I7=3559000 см4; Iкр1=Iкр10=357000 см4; Iкр2=Iкр9=312000 см4; Iкр3=Iкр8=460000 см4; Iкр4=Iкр5=Iкр6=Iкр9=823000 см4; Коэффициент Пуассона плиты g=0,167; Iпл10=29400 см4; Iпл2,9=29400 см4; Iпл3=Iпл4=…=Iпл2=131200 см4; Eпл1=Eпл2=Eпл3=…=Eпл11=315000 кг/см2 (31500 МПа); Eр1=Eр2=…=Eр10=315000 кг/см2 (31500 МПа); vр1=vр2=…=vр10=0,167

В табл. 9 приведены значения ординат эпюр влияния прогибов и усилий, вычисленные на ЭВМ. На рис. 8 приведена эпюра, результаты загружения которых приведены в табл. 10 и 11.

Выводы по приведенному примеру (табл. 5-6):

а) изгибающий момент в l/2 средних балок не превышает допустимого для этих конструкций;

б) объединение конструкций по плите h=10 см и сохранение верхних накладок в существующих конструкциях обеспечивает нормальное распределение усилий между балками;

в) монолитная плита должна армироваться в двух уровнях с площадью нижней арматуры на 1 м Fa=18 см2 (девять стержней Æ 16 П).

Рис. 7. Эпюры прогибов и изгибающих моментов в l/2 главных балок

Таблица 9. Значение ординат эпюр влияния прогибов и усилий

Схема загружения

№ балки

Прогибы W, см

Изгибающие моменты в l/2 главной балке М, кН·м

Поперечные силы на эпюре Q, кH

Изгибающие моменты в плите Мпл, кН·м

3

1

0,039

3,27

9,42

0,074

2

0,044

1,53

8,92

0,332

3

0,044

1,95

9,04

1,650

4

0,038

4,28

9,70

1,578

5

0,026

23,28

6,59

0,597

6

0,011

9,94

2,81

0,740

7

-0,001

0,47

0,13

1,694

8

-0,005

-3,43

-0,97

-1,722

9

-0,004

-3,15

-0,89

-0,345

10

0,002

1,68

0,48

0,076

4

1

0,007

6,07

1,72

0,144

2

0,034

24,35

6,89

0,546

3

0,038

28,04

7,93

2,767

4

0,045

40,67

11,51

3,014

5

0,039

35,07

9,92

1,901

6

0,024

21.84

6,18

0,110

7

0,009

8,04

2,28

-1,373

8

-0,001

-0,38

-0,11

-1,752

9

-0,001

-0,38

-0,11

-1,752

10

-0,002

-1,30

-0,37

-0,086

Таблица 10. W4, М4, Q4 от нагрузки НК-80 qэкв/2=56,5 кН/м

№ балки

qэкв

Приборы

Изгибающие моменты

Поперечные силы

2

y1

y2

åyi

W, см

y1

y2

åyi

М, (кН·м)

y1

y2

åyi

Q, кН

3

 

 

 

 

 

 

 

 

 

 

 

 

 

4

5,65

0,039

0,039

0,078

0,44

3,25

3,20

6,45

364,0

0,95

0,93

1,86

105,0

5

 

 

 

 

 

 

 

 

 

 

 

 

 

Рис. 8. Эпюры влияния поперечных сил в главных балках на опоре (а) и изгибающих моментов (б) в плите (в l/2 пролетного строения)

Таблица 11. Вычисление изгибающих моментов в продольных сечениях плиты в l/2 пролетного строения

№ сечения

qэкв

y1

y2

åyi

Мпл, кН·м/м

2

кН/м

3

 

 

 

 

 

4

5,65

-0,01

-0,17

-0,18

-1,02

5

 

-0,25

0,23

0,48

+2,71

ПРИЛОЖЕНИЕ 6 (обязательное)

УЧЕТ ДЛИТЕЛЬНЫХ ДЕФОРМАЦИЙ ПРИ РАСЧЕТЕ УШИРЕННЫХ МОСТОВ

1. Общие положения

Усилия в элементах пролетного строения определяют методом сил, обобщенным на случай учета изменения их во времени за счет ползучести бетона.

Основную систему пролетного строения принимают в виде отдельных несущих элементов, отдаленных друг от друга в поперечном направлении. По линиям разделения взамен отброшенных связей прикладывают лишние неизвестные (X1,...,Xm).

Вид и количество лишних неизвестных должны соответствовать конструкции пролетного строения.

В случае когда пролетное строение состоит из балок таврового сечения, объединенных по диафрагмам, в местах диафрагм прикладывают поперечные силы и крутящие моменты.

В ребристых бездиафрагменных пролетных строениях с объединением балок по плите и в пролетных строениях из сборных плит достаточно приложить в отдельных точках (узлах) по линиям разрезов только поперечные силы. В этом случае количество узлов, в которых прикладывают неизвестные, по длине пролетного строения рекомендуется назначать следующим образом: для пролетов до 12 м - не менее трех, для пролетов свыше 12 м - располагать узлы через 3-4 м.

В уширенных пролетных строениях, имеющих разную конструкцию старой и новой частей, в каждой из них принимают неизвестные, соответствующие конструкции. В местах сопряжения новой и старой частей пролетного строения в зависимости от способа их объединения в узлах прикладывают по одному или по два неизвестных.

Лишние неизвестные в уширенном пролетном строении от собственного веса, сил преднапряжения элементов уширения и второй части постоянной нагрузки в произвольный момент времени t определяются из решения системы канонических уравнений вида:

,                                              (1)

где Xtk - неизвестное в m-раз статически неопределимой системе в момент времени t (k принимает значения от 1 до m);

;                                             (2)

.                                    (3)

Здесь tz - момент приложения нагрузки; tj - момент объединения старой и новой частей пролетного строения; Mi, Mk - моменты в сечениях от единичного значения неизвестных Хi=1 и Xk=1 соответственно; Mg - моменты от внешней нагрузки;

;                                                    (4)

EIп - жесткость приведенного сечения;

, ,  - приведенные характеристики ползучести, определяемые в зависимости от возраста бетона в момент загружения (tz) и в момент отсчета (ti) по формуле

,                               (5)

где  - характеристики ползучести бетона в момент времени tj, при загружении его в момент tz;

,                   (6)

m и m' - коэффициенты армирования соответственно для арматуры нижней и верхней зон сечения; уб и y'б - расстояние от центра тяжести бетонного сечения до центра тяжести арматуры нижней и верхней зон соответственно; а - расстояние между центрами тяжести бетонного и приведенного сечения; n - отношение модулей упругости арматуры и бетона; h - высота сечения; rб - радиус инерции бетонного сечения;

 - определяется по (4) при ,

Приращения неизвестных в момент приложения второй части постоянной нагрузки  определяют из упругого расчета системы (1), которая в этом случае преобразуется к обычному виду системы уравнений метода сил.

Лишние неизвестные в уширенном пролетном строении от усадки бетона в произвольный момент времени t определяют из решения системы канонических уравнений вида (1) в которых  вычисляют по формуле (2), а

.                                    (7)

Здесь ey(t) и ey(tj) - относительная деформация свободной усадки бетона к расчетному моменту времени t и моменту объединения старой и новой частей пролетного строения tj соответственно; jtM и  определяют в зависимости от возраста бетона в момент отсчета t или tj по формуле

.                                                     (8)

Для вычисления gt и St используют формулы (4) и (6) при возрасте загружения tz, соответствующем началу усадки.

Остальные обозначения приведены выше.

Усилия в элементах объединенного пролетного строения от собственного веса элементов уширения, сил предварительного напряжения, второй части постоянной нагрузки равны сумме усилий от нагрузки и соответствующих значений лишних неизвестных

.                                         (9)

Приведенная методика положена в основу программы расчета «TIME», составленной в КАДИ на языке «Фортран-IV» для реализации на ЭВМ ЕС. С помощью этой программы для ряда схем уширения составлены таблицы 1-19 для определения усилий в элементах уширенного пролетного строения.

2. Пример определения усилий от постоянных нагрузок с помощью расчетных таблиц

Расчетные таблицы содержат коэффициенты для вычисления изгибающих моментов в элементах объединенного пролетного строения на момент затухания длительных процессов в бетоне t. При составлении таблиц приняты оптимальные темпы реконструкции: возраст бетона элементов уширения в момент объединения пролетного строения - 28 сут; укладка дорожной одежды в пределах элементов уширения происходит через 30 сут после объединения.

Рассмотрим разрезное балочное пролетное строение длиной 11,36 м по ТП [1]*, уширенное с двух сторон двумя унифицированными плитами длиной 12 м по ТП [2]. В поперечном сечении пролетное строение состоит из шести балок, объединенных по диафрагмам (старая часть пролетного строения), и четырех (по две с каждой стороны) унифицированных плит, которые жестко объединяются со старым пролетным строением. Расчетный пролет l=10,8 м. Интенсивность нагрузки собственного веса одного элемента уширения g=8,21 кН/м. Сила предварительного напряжения элемента уширения N0=840 кН приложена с эксцентриситетом е0=0,23 м.

______________

* Ссылки на типовые проекты (ТП), приведенные в приложении 1.

Интенсивность второй части постоянной нагрузки в пределах одного элемента уширения gII=4,5 кН/м.

Для определения изгибающих моментов от постоянных воздействий в середине пролета в каждом элементе пролетного строения следует воспользоваться табл. 4 настоящего приложения.

Изгибающий момент от собственного веса в отдельном элементе уширения

 кН·м.

Изгибающий момент в середине пролета отдельного элемента уширения от сил предварительного напряжения

MII0 = -V0e0 = -840·0,23= -193,2 кН·м.

Изгибающий момент от второй части постоянной нагрузки по формуле (21)

 КН·м

Значение изгибающих моментов в крайней балке старого пролетного строения (элемент № 3, см. табл. 4) для момента времени t (затухание ползучести бетона):

от собственного веса элементов уширения

М'3=h'3M'0=0,384·119,7=45,96 кН·м;

от сил предварительного напряжения в элементах уширения

М''3=h''3M''0= -0,327·193,2= -63,18 кН·м;

от второй части постоянной нагрузки на элементах уширения

М'''3=h'''3M'''3=0,515·65,6=33,78 кН·м.

Суммарный изгибающий момент в элементе № 3 от всех рассмотренных нагрузок

M=М'3+М''3+М'''3=45,96-63,18+33,78=16,56 кН·м.

Вычисленное значение М является добавкой к значению изгибающего момента от постоянных нагрузок, действующего в элементе № 3 до уширения пролетного строения.

3. Таблицы коэффициентов h влияния длительных деформаций в бетоне

1. В табл. 1 и 2 приведены расчетные коэффициенты для пролетного строения из шести тавровых диафрагменных балок ТП [1], уширенного с одной стороны четырьмя унифицированными плитами ТП [2]. Длина элементов 11,36 м, расчетный пролет 10,8 м. Геометрические характеристики элементов приведены в таблице приложения 1 (строки 1, 2).

Таблица 1

№ п/п

Нагрузка

Коэффициент hi для элементов пролетного строения №

1

2

3

4

5

1

Собственный вес элементов уширения g=8,21 кН/м

-0,28

0,092

0,096

0,285

0,473

2

Силы предварительного напряжения элементов уширения N0=840 кН (эксцентриситет e0=0,23 м)

-0,279

-0,08

0,098

0,287

0,476

3

Вторая часть постоянной нагрузки на элементах уширения gII=4,5 кН/м

-0,382

-0,125

0,131

0,389

0,646

Продолжение табл. 1

№ п/п

Нагрузка

Коэффициент hi для элементов пролетного строения №

6

7

8

9

10

1

Собственный вес элементов уширения g=8,21 кН/м

0,661

0,665

0,707

0,735

0,750

2

Силы предварительного напряжения элементов уширения N0=840 кН (эксцентриситет e0=0,23 м)

0,664

0,741

0,699

0,699

0,705,

3

Вторая часть постоянной нагрузки на элементах уширения gII=4,5 кН/м

0,904

0,543

0,599

0,637

0,657

В табл. 1 приведены расчетные коэффициенты для случая шарнирного объединения старой и новой частей пролетного строения, а в табл. 2 - для жесткого объединения.

Таблица 2

№ п/п

Нагрузка

Коэффициент hi для элементов пролетного строения №

1

2

3

4

5

1

Собственный вес элементов уширения g=8,21 кН/м

-0,256

-0,078

0,100

0,278

0,456

2

Силы предварительного напряжения элементов уширения N0=840 кН (эксцентриситет e0=0,23 м)

-0,206

-0,053

0,101

0,255

0,408

3

Вторая часть постоянной нагрузки на элементах уширения gII=4,5 кН/м

-0,354

-0,109

0,136

0,380

0,625

Продолжение табл. 2

№ п/п

Нагрузка

Коэффициент hi для элементов пролетного строения №

6

7

8

9

10

1

Собственный вес элементов уширения g=8,21 кН/м

0,634

0,661

0,713

0,738

0,752

2

Силы предварительного напряжения элементов уширения N0=840 кН (эксцентриситет e0=0,23 м)

0,563

0,745

0,750

0,720

0,716

3

Вторая часть постоянной нагрузки на элементах уширения gII=4,5 кН/м

0,870

0,54

0,608

0,643

0,661

2. В табл. 3 и 4 приведены расчетные коэффициенты для пролетного строения из шести тавровых диафрагменных балок ТП [1], уширенного с двух сторон двумя унифицированными плитами ТП [2]. Длина элементов 11,36 м, расчетный пролет 10,8 м. Данные табл. 3 соответствуют шарнирному объединению старой и новой частей пролетного строения, табл. 4 - жесткому.

Таблица 3

№ п/п

Нагрузка

Коэффициент hi для элементов пролетного строения №

1

2

3

4

5

1

Собственный вес элементов уширения g=8,21 кН/м

0,455

0,431

0,371

0,371

0,371

2

Силы предварительного напряжения элементов уширения N0=840 кН (эксцентриситет e0=0,23 м)

0,428

0,492

0,360

0,360

0,360

3

Вторая часть постоянной нагрузки на элементах уширения gII=4,5 кН/м

0,271

0,239

0,497

0,497

0,497

Продолжение табл. 3

№ п/п

Нагрузка

Коэффициент hi для элементов пролетного строения №

6

7

8

9

10

1

Собственный вес элементов уширения g=8,21 кН/м

0,371

0,371

0,371

0,431

0,455

2

Силы предварительного напряжения элементов уширения N0=840 кН (эксцентриситет e0=0,23 м)

0,360

0,360

0,360

0,492

0,428

3

Вторая часть постоянной нагрузки на элементах уширения gII=4,5 кН/м

0,497

0,497

0,497

0,239

0,271

Таблица 4

№ п/п

Нагрузка

Коэффициент hi для элементов пролетного строения №

1

2

3

4

5

1

Собственный вес элементов уширения g=8,21 кН/м

0,425

0,421

0,384

0,384

0,384

2

Силы предварительного напряжения элементов уширения N0=840 кН (эксцентриситет e0=0,23 м)

0,494

0,526

0,327

0,327

0,327

3

Вторая часть постоянной нагрузки на элементах уширения gII=4,5 кН/м

0,232

0,224

0,515

0,515

0,515

Продолжение табл. 4

№ п/п

Нагрузка

Коэффициент hi для элементов пролетного строения №

6

7

8

9

10

1

Собственный вес элементов уширения g=8,21 кН/м

0,384

0,384

0,384

0,421

0,425

2

Силы предварительного напряжения элементов уширения N0=840 кН (эксцентриситет e0=0,23 м)

0,327

0,327

0,327

0,526

0,494

3

Вторая часть постоянной нагрузки на элементах уширения gII=4,5 кН/м

0,515

0,515

0,515

0,224

0,232

3. В табл. 5 и 6 приведены расчетные коэффициенты для пролетного строения из шести тавровых диафрагменных балок ТП [1], уширенного с одной стороны четырьмя унифицированными плитами ТП [2]. Длина элементов 16,76 м, расчетный пролет 16,2 м. Данные табл. 5 соответствуют шарнирному объединению старой и новой частей, пролетного строения, табл. 6 - жесткому.

Таблица 5

№ п/п

Нагрузка

Коэффициент hi для элементов пролетного строения №

1

2

3

4

5

1

Собственный вес элементов уширения g=8,78 кН/м

-0,238

-0,062

0,082

0,226

0,367

2

Силы предварительного напряжения элементов уширения N0=2510 кН (эксцентриситет e0=0,237 м)

-0,248

-0,064

0,087

0,238

0,389

3

Вторая часть постоянной нагрузки на элементах уширения gII=4,5 кН/м

-0,362

-0,095

0,125

0,345

0,564

Продолжение табл. 5

№ п/п

Нагрузка

Коэффициент hi для элементов пролетного строения №

6

7

8

9

10

1

Собственный вес элементов уширения g=8,78 кН/м

0,592

0,720

0,752

0,774

0,784

2

Силы предварительного напряжения элементов уширения N0=2510 кН (эксцентриситет e0=0,237 м)

0,623

0,727

0,746

0,750

0,752

3

Вторая часть постоянной нагрузки на элементах уширения gII=4,5 кН/м

0,904

0,573

0,622

0,654

0,670

Таблица 6

№ п/п

Нагрузка

Коэффициент hi для элементов пролетного строения №

1

2

3

4

5

1

Собственный вес элементов уширения g=8,78 кН/м

-0,201

-0,042

0,089

0,221

0,353

2

Силы предварительного напряжения элементов уширения N0=2510 кН (эксцентриситет e0=0,237 м)

-0,190

-0,034

-0,098

-0,229

-0,361

3

Вторая часть постоянной нагрузки на элементах уширения gII=4,5 кН/м

-0,312

-0,068

0,135

 0,337

0,540

Продолжение табл. 6

№ п/п

Нагрузка

Коэффициент hi для элементов пролетного строения №

6

7

8

9

10

1

Собственный вес элементов уширения g=8,78 кН/м

0,558

0,709

0,753

0,774

0,784

2

Силы предварительного напряжения элементов уширения N0=2510 кН (эксцентриситет e0=0,237 м)

0,568

0,702

0,746

0,759

0,760

3

Вторая часть постоянной нагрузки на элементах уширения gII=4,5 кН/м

0,856

0,560

0,625

0,656

0,671

4. В табл. 7 и 8 приведены расчетные коэффициенты для пролетного строения из шести тавровых диафрагменных балок ТП [1], уширенного с двух сторон двумя унифицированными плитами ТП [2]. Длина элементов 16,76 м, расчетный пролет 16,2 м. Данные табл. 7 соответствуют шарнирному объединению старой и новой частей пролетного строения, табл. 8 - жесткому

Таблица 7

№ п/п

Нагрузка

Коэффициент hi для элементов пролетного строения №

1

2

3

4

5

1

Собственный вес элементов уширения g=8,78 кН/м

0,531

0,510

0,319

0,319

0,319

2

Силы предварительного напряжения элементов уширения N0=2510 кН (эксцентриситет e0=0,237 м)

+0,515

+0,502

+0,328

+0,328

+0,328

3

Вторая часть постоянной нагрузки на элементах уширения gII=4,5 кН/м

0,295

0,264

0,480

0,480

0,480

Продолжение табл. 7

№ п/п

Нагрузка

Коэффициент hi для элементов пролетного строения №

6

7

8

9

10

1

Собственный вес элементов уширения g=8,78 кН/м

0,319

0,319

0,319

0,510

0,531

2

Силы предварительного напряжения элементов уширения N0=2510 кН (эксцентриситет e0=0,237 м)

-0,328

-0,328

-0,328

-0,515

0,502

3

Вторая часть постоянной нагрузки на элементах уширения gII=4,5 кН/м

0,480

0,480

0,480

0,264

0,295

Таблица 8

№ п/п

Нагрузка

Коэффициент hi для элементов пролетного строения №

1

2

3

4

5

1

Собственный вес элементов уширения g=8,78 кН/м

0,506

0,501

0,331

0,331

0,331

2

Силы предварительного напряжения элементов уширения N0=2510 кН (эксцентриситет e0=0,237 м)

+0,506

+0,490

+0,334

+0,334

+0,334

3

Вторая часть постоянной нагрузки на элементах уширения gII=4,5 кН/м

0,258

0,250

0,497

0,497

0,497

Продолжение табл. 8

№ п/п

Нагрузка

Коэффициент hi для элементов пролетного строения №

6

7

8

9

10

1

Собственный вес элементов уширения g=8,78 кН/м

0,331

0,331

0,331

0,501

0,506

2

Силы предварительного напряжения элементов уширения N0=2510 кН (эксцентриситет e0=0,237 м)

+0,334

+0,334

+0,334

+0,490

+0,506

3

Вторая часть постоянной нагрузки на элементах уширения gII=4,5 кН/м

0,497

0,497

0,497

0,250

0,258

5. В табл. 9 и 10 приведены расчетные коэффициенты для пролетного строения из шести тавровых диафрагменных балок ТП [1], уширенного унифицированными бездиафрагменными балками ТП [3]. Длина элементов 22,16, расчетный пролет 21,60 м. Данные табл. 9 соответствуют двустороннему уширению пролетного строения; данные табл. 10 - одностороннему. Объединение старой и новой частей принято в расчетах шарнирным.

Таблица 9

№ п/п

Нагрузка

Коэффициент hi для элементов пролетного строения №

1

2

3

4

1

Собственный вес элементов уширения g=15,06 кН/м

0,788

0,071

0,071

0,071

2

Силы предварительного напряжения элементов уширения N0=4662 кН (эксцентриситет e0=0,627 м)

+0,750

+0,083

+0,083

+0,083

3

Вторая часть постоянной нагрузки на элементах уширения gII=4,5 кН/м

0,676

0,108

0,108

0,108

Продолжение табл. 9

№ п/п

Нагрузка

Коэффициент hi для элементов пролетного строения №

5

6

7

8

1

Собственный вес элементов уширения g=15,06 кН/м

0,071

0,071

0,071

0,788

2

Силы предварительного напряжения элементов уширения N0=4662 кН (эксцентриситет e0=0,627 м)

+0,083

+0,083

+0,083

+0,750

3

Вторая часть постоянной нагрузки на элементах уширения gII=4,5 кН/м

0,108

0,108

0,108

0,676

Таблица 10

№ п/п

Нагрузка

Коэффициент hi для элементов пролетного строения №

1

2

3

4

1

Собственный вес элементов уширения g=15,06 кН/м

-0,046

-0,014

0,017

0,048

2

Силы предварительного напряжения элементов уширения N0=4662 кН (эксцентриситет e0=0,627 м)

-0,052

-0,016

0,019

0,052

3

Вторая часть постоянной нагрузки на элементах уширения gII=4,5 кН/м

-0,069

-0,022

0,025

0,073

Продолжение табл. 10

№ п/п

Нагрузка

Коэффициент hi для элементов пролетного строения №

5

6

7

8

1

Собственный вес элементов уширения g=15,06 кН/м

0,079

0,110

0,779

1,027

2

Силы предварительного напряжения элементов уширения N0=4662 кН (эксцентриситет e0=0,627 м)

0,086

0,120

0,754

1,025

3

Вторая часть постоянной нагрузки на элементах уширения gII=4,5 кН/м

0,120

0,167

0,666

1,040

6. В табл. 11 и 12 приведены расчетные коэффициенты для пролетного строения из шести тавровых диафрагменных балок ТП [1] пролетами 10,8 и 16,2 м соответственно, уширенного с двух сторон тавровыми балками ТП [8]. Геометрические характеристики приведены в таблице приложения 1 (строки 1, 3, 17, 18).

Таблица 11

№ п/п

Нагрузка

Коэффициент hi для элементов пролетного строения №

1

2

3

4

5

6

7

8

1

Собственный вес элементов уширения g=9,05 кН/м

0,798

0,066

0,066

0,066

0,066

0,066

0,066

0,798

2

Вторая часть постоянной нагрузки на элементах уширения gII=4,5 кН/м

0,954

0,117

0,117

0,117

0,117

0,117

0,117

0,954

Таблица 12

№ п/п

Нагрузка

Коэффициент hi для элементов пролетного строения №

1

2

3

4

5

6

7

8

1

Собственный вес элементов уширения g=9,80 кН/м

0,766

0,078

0,078

0,078

0,078

0,078

0,078

0,076

2

Вторая часть постоянной нагрузки на элементах уширения gII=4,5 кН/м

0,583

0,139

0,139

0,139

0,139

0,139

0,139

0,583

7. В табл. 13 и 14 приведены расчетные коэффициенты для пролетного строения из девяти унифицированных плит ТП [4], уширенного с одной стороны унифицированными плитами ТП [4] соответственно одной и четырьмя. Длина элементов 12 м, расчетный пролет 11,4 м.

Таблица 13

№ п/п

Нагрузка

Коэффициент hi для элементов пролетного строения №

1

2

3

4

5

6

1

Собственный вес элементов уширения g=8,21 кН/м

0,039

0,041

0,046

0,053

0,063

0,076

2

Силы предварительного напряжения элементов уширения N0=1030 кН (эксцентриситет e0=0,23 м)

0,049

0,051

0,056

0,064

9,075

0,086

3

Вторая часть постоянной нагрузки на элементах уширения gII=4,5 кН/м

0,052

0,055

0,062

0,07

0,083

0,101

Продолжение табл. 13

№ п/п

Нагрузка

Коэффициент hi для элементов пролетного строения №

7

8

9

10

1

Собственный вес элементов уширения g=8,21 кН/м

0,093

0,114

0,136

0,336

2

Силы предварительного напряжения элементов уширения N0=1030 кН (эксцентриситет e0=0,23 м)

0,097

0,098

0,066

0,358

3

Вторая часть постоянной нагрузки на элементах уширения gII=4,5 кН/м

0,123

0,149

0,179

0,126

Таблица 14

№ п/п

Нагрузка

Коэффициент hi для элементов пролетного строения №

1

2

3

4

5

6

1

Собственный вес элементов уширения g=8,21 кН/м

0,093

0,098

0,109

0,126

0,150

0,181

2

Силы предварительного напряжения элементов уширения N0=1030 кН (эксцентриситет e0=0,23 м)

0,115

0,121

0,134

0,154

0,181

0,214

3

Вторая часть постоянной нагрузки на элементах уширения gII=4,5 кН/м

0,123

0,130

0,144

0,167

0,197

0,239

Продолжение табл. 14

№ п/п

Нагрузка

Коэффициент hi для элементов пролетного строения №

7

8

9

10

11

12

13

1

Собственный вес элементов уширения g=8,21 кН/м

0,223

0,274

0,337

0,5,37

0,692

0,630

0,649

2

Силы предварительного напряжения элементов уширения N0=1030 кН (эксцентриситет e0=0,23 м)

0,253

0,286

0,230

0,556

0,551

0,567

0,580

3

Вторая часть постоянной нагрузки на элементах уширения gII=4,5 кН/м

0,293

0,361

0,442

0,391

0,464

0,612

0,536


8. В табл. 15 приведены расчетные коэффициенты для пролетного строения из девяти унифицированных плит ТП [4], уширенного такими же плитами - по две плиты с каждой стороны. Длина плит 12 м. Расчетный пролет 11,4 м. Геометрические характеристики элементов приведены а таблице приложения 1 (строка 7).

Таблица 15

№ п/п

Нагрузка

Коэффициент hi для элементов пролетного строения №

1

2

3

4

5

6

7

8

9

10

11

12

13

1

Собственный вес элементов уширения g=8,21 кН/м

0,487

0,465

0,280

0,245

0,219

0,203

0,198

0,203

0,219

0,245

0,280

0,465

0,487

2

Силы предварительного напряжения элементов уширения N0=1030 кН (эксцентриситет e0=0,23 м)

+0,443

+0,476

+0,223

+0,251

+0,248

+0,240

+0,237

+0,240

+0,248

+0,251

+0,223

+0,475

+0,443

3

Вторая часть постоянной нагрузки на элементах уширения gII=4,5 кН/м

0,323

0,297

0,368

0,321

0,257

0,268

0,261

0,268

0,287

0,321

0,368

0,297

0,326

9. В табл. 16 приведены расчетные коэффициенты для пролетного строения из восьми унифицированных плит ТП [2], уширенного четырьмя такими же плитами. Длина плит 18 м, расчетный пролет 17,4 м. Геометрические характеристики элементов приведены в таблице приложения 1 (строка 4).

Таблица 16

№ п/п

Нагрузка

Коэффициент hi для элементов пролетного строения №

1

2

3

4

5

6

7

8

9

10

11

12

1

Собственный вес элементов уширения g=8,78 кН/м

0,121

0,126

0,138

0,155

0,179

0,210

0,250

0,299

0,578

0,623

0,653

0,667

2

Силы предварительного напряжения элементов уширения N0=2510 кН (эксцентриситет e0=0,236 м)

+0,148

+0,154

+0,166

+0,184

-0,207

+0,233

+0,260

+0,296

+0,554

+0,586

+0,602

+0,610

3

Вторая часть постоянной нагрузки на элементах уширения gII=4,5 кН/м

0,173

0,180

0,196

0,221

0,255

0,300

0,356

0,423

0,399

0,463

0,504

0,526

10. В табл. 17 приведены расчетные коэффициенты для пролетного строения из пяти тавровых бездиафрагменных балок ТП [6], уширенного шестью унифицированными плитами ТП [2]. Длина балок и плит 18 м, расчетный пролет 17,1 м.

Таблица 17

№ п/п

Нагрузка

Коэффициент hi для элементов пролетного строения №

1

2

3

4

5

6

7

8

9

10

11

1

Собственный вес элементов уширения g=6,78 кН/м

-0,388

-0,043

0,302

0,646

0,991

0,662

0,711

0,748

0,776

0,794

0,802

2

Силы предварительного напряжения элементов уширения N0=2510 кН (эксцентриситет e0=0,237 м)

-0,412

-0,042

+0,327

+0,696

+1,067

0,673

0,707

0,725

0,742

0,755

0,763

3

Вторая часть постоянной нагрузки на элементах уширения gII=4,5 кН/м

-0,568

-0,063

0,442

0,946

1,451

0,506

0,577

0,631

0,671

0,697

0,710

11. В табл. 18 и 19 приведены расчетные коэффициенты для монолитного плитно-ребристого пролетного строения, уширенного унифицированными плитами ТП [4]. Пролет в свету монолитной части пролетного строения и длина плит уширения 6 м; расчетный пролет 5,6 м (табл. 18) и 6,2 м (табл. 19). Геометрические характеристики монолитной балки пролетного строения и унифицированной плиты приведены в таблице приложения 1 (строки 14, 15). Коэффициенты табл. 18 и 19 соответствуют жесткому присоединению элементов уширения и монолитной части.

Приведенные таблицы могут быть использованы для определения изгибающих моментов в объединенных пролетных строениях, имеющих геометрические параметры, близкие к табличным.

Таблица 18

№ п/п

Нагрузка

Коэффициент hi для элементов пролетного строения №

1

2

3

4

5

6

7

8

9

10

11

1

Собственный вес элементов уширения g=5,22 кН/м

0,766

0,688

0,522

0,415

1,073

1,073

1,073

0,415

0,522

0,688

0,766

2

Силы предварительного напряжения элементов уширения N0=640 кН (эксцентриситет e0=0,096 м)

0,713

0,618

0,540

0,537

1,060

1,060

1,060

0,537

0,540

0,618

0,713

3

Вторая часть постоянной нагрузки на элементах уширения gII=4,5 кН/м

0,670

0,557

0,318

0,170

1,522

1,522

1,522

0,170

0,318

0,557

0,670

Таблица 19

№ п/п

Нагрузка

Коэффициент hi для элементов пролетного строения №

1

2

3

4

5

6

7

8

9

10

11

1

Собственный вес элементов уширения g=5,22 кН/м

0,733

0,661

0,614

0,418

1,116

1,116

1,116

0,418

0,614

0,661

0,733

2

Силы предварительного напряжения элементов уширения N0=640 кН (эксцентриситет e0=0,096 м)

0,672

0,591

0,544

0,537

-1,102

+1,102

+1,102

+0,537

0,544

+0,591

+0,672

3

Вторая часть постоянной нагрузки на элементах уширения gII=4,5 кН/м

0,620

0,518

0,310

0,176

1,583

1,583

1,583

0,176

0,310

0,518

0,620


ПРИЛОЖЕНИЕ 7 (рекомендуемое)

МЕТОДИКА ОПРЕДЕЛЕНИЯ ОПТИМАЛЬНЫХ ОБЪЕМОВ РАБОТ ПО УШИРЕНИЮ АВТОДОРОЖНЫХ МОСТОВ И ОЧЕРЕДНОСТИ ИХ ВЫПОЛНЕНИЯ

1. Общие положения

1.1. Настоящая методика предназначена для определения оптимальных объемов работ по уширению автодорожных мостов и очередности их выполнения на автомобильных дорогах в масштабе автодоров (упродоров) и может быть использована при:

обосновании размеров уширения существующих мостовых переходов;

разработке схем развития и размещения сети мостов на автомобильных. дорогах;

обосновании оптимальных соотношений в объемах строительства новых мостовых сооружений и уширения (реконструкции) существующих;

определении последовательности уширения (реконструкции) существующих и строительства новых мостов на автомобильных дорогах.

Таблица 1

Плотность дорог, км/км2

Геометрическая характеристика района тяготения a

Коэффициент смешения КС

0,6-0,9

0,5

£35

0,6-0,9

1

£17

0,7-0,9

2

£12

<0,6

5

£10

<0,6

10

£9

____________

* При значениях Кс больше, чем указано в таблице, мост относится ко второй группе сооружений.

1.2. При определении оптимальных объемов работ по уширению мостов необходимо учитывать различные условия их функционирования в процессе эксплуатации: 1) мосты, функционирующие как обособленные транспортные узлы, т.е. не имеющие существенных транспортных связей с другими сооружениями; 2) мосты, функционирующие как транспортные узлы в системе других мостов, т.е. имеющие транспортные связи с другими сооружениями.

1.3. В качестве критерия существенности транспортных связей между мостами принимают предельные значения коэффициентов смещения центра тяжести перевозок, установленные в зависимости от плотности сети дорог (табл. 1).

Коэффициент смещения центра тяжести перевозок определяют по формуле

где с - расстояние от центра тяжести перевозок до дальней границы района тяготения, км; L - протяженность района тяготения, км.

1.4. Показатель геометрической характеристики района тяготения моста представляет собой соотношение средневзвешенных значений абсцисс и ординат корреспондирующих пунктов в прямоугольной системе координат, начало координатных осей которой совпадает с центром тяжести перевозок, спроектированным на ось водной преграды. Он определяется по формуле

где N - число корреспондирующих пунктов; qi - объем перевозок по i-й корреспондирующей связи; xi, yi - соответственно абсцисса и ордината i-го корреспондирующего пункта.

1.5. Оптимальные объемы работ по уширению мостов первой группы определяют на основе локального подхода, предусматривающего рассмотрение вариантов развития габаритов мостов во времени; для второй группы мостов - на основе системного подхода, базирующегося на комплексном анализе условий функционирования всей совокупности мостов во времени и пространстве.

2. Определение оптимальных объемов работ по уширению мостов и очередности их выполнения для I группы сооружений

2.1. В качестве критерия при определении оптимальных размеров уширения и сроков реконструкции мостов следует принимать показатель приведенных затрат на реконструкцию сооружений и осуществление транспортного процесса в районе их тяготения. Учитывается многостадийность работ по уширению.

2.2. Целесообразность многостадийного уширения устанавливается после определения возможного срока службы сооружения до его полного физического износа определения перспективной интенсивности движения и построения графика ее изменения в течение срока службы сооружения.

На графике роста интенсивности движения отмечают такте ее значения, которые в соответствии с существующими нормами являются нижними границами интенсивности для различных категории дорог.

Если такая граница одна, то целесообразно одностадийное уширение; при количестве граничных значений, равном двум и более, необходима проверка на стадийную реконструкцию.

2.3. При стадийной реконструкции размер уширения определяется необходимостью увеличения габарита до следующего по величине. При этом оптимальный срок реконструкции моста определяют из выражения для приведенных затрат:

,                                       (1)

где С(t) - транспортно-эксплуатационные расходы в t-м году эксплуатации моста тыс. руб.; tp - срок эксплуатации моста до уширения (год реконструкции) (tp - 1, 2,…,tсл); tсл - срок службы моста, лет.

2.4. При возможности многостадийной реконструкции моста следует рассматривать варианты и одностадийного уширения. При этом принимают, что реконструкция первой стадии уширения осуществляется в данный момент, а срок проведения реконструкции 2-й и последующих стадий определяется расчетным путем. Наилучший вариант определяют по минимуму приведенных затрат:

,

где K(I)pi, K(II)pi,…, K(Q)pi - единовременные затраты, связанные с реконструкцией моста соответственно 1-й, 2-й и Q-й стадии при i-м размере его уширения тыс. руб.; DС(t) - снижение транспортно-эксплуатационных затрат в t-м году эксплуатации моста в результате его уширения, тыс. руб.; t(II)p, t(III)p,…, t(Q)p - срок проведения реконструкции (уширения) моста 2-й и последующих стадий; Q - число стадий реконструкции (уширения) моста в период его эксплуатации.

Реализация целевой функции (2) может осуществляться вручную и по стандартной программе на ЭВМ.

2.5. При ручном методе расчета реализацию целевой функции осуществляв на основе построения функциональной модели динамического программирования, которая является графическим отображением моделируемого процесса (см. рисунок).


Рис. 1. Функциональная модель проектирования оптимальных размеров уширения и сроков проведения работ по реконструкции, моста


Функциональную модель строят в прямоугольной системе координат где на оси абсцисс (временной шкале) откладывают срок эксплуатации мостового сооружения; на оси ординат N выделяют существующий габарит моста и возможные варианты его развития в виде нескольких уровней (римские цифры), соответствующих типовой классификации габаритов мостов. На этой же оси фиксируют значения интенсивности движения, соответствующие каждому уровню функциональной модели.

На временной шкале выделяют отрезок n, характеризующий время эксплуатации моста с существующим габаритом до момента, соответствующего нижнему граничному значению интенсивности движения для большего габарита. Оставшийся период временя делят на несколько равных интервалов d. При этом допускается, что лишь в начале каждого интервала может приниматься решение о реконструкции моста с целью последующего увеличения его габарита.

Через точки деления оси абсцисс и ординат проводят соответственно вертикальные и горизонтальные сплошные линии; через точки, характеризующие центры интервалов оси абсцисс - штриховые вертикальные линии. Точки пересечения штриховых вертикальных линий с горизонтальными (узлы функциональной модели) в получаемой решетке нумеруют, как показано на рисунке.

Начало координат (точку 0) соединяют наклонными стрелками с узлами функциональной модели, расположенными правее и выше. Эти стрелки имитируют затраты первой стадии реконструкция при уширении мостов до габаритов, соответствующих каждому уровню функциональной модели.

Отрезки горизонтальных линий от узлов до конца первого временного интервала заменяют горизонтальными стрелками, имитирующими транспортно-эксплуатационные затраты (или их снижение в результате реконструкции моста) в период эксплуатация сооружения, равный отрезку времени п.

Аналогично наклонными стрелками фиксируются затраты на реализацию рассматриваемых вариантов 2-й и последующих стадий реконструкции, осуществляемых в моменты соответственно t1, t2,…,tm а горизонтальными стрелками - транспортно-эксплуатационные затраты (или их снижение) после проведения существующих реконструкций за отрезки времени d.

Маркировка наклонных стрелок полученной функциональной модели осуществляется показателями Кр, характеризующими единовременные затраты в реконструкцию мостового перехода и рассматриваемые моменты времени с учетом коэффициентов дисконтирования rt. Верхние индексы при этих показателях указывают на исходную величину габарита моста (до очередной реконструкции) и последующий вариант его развития в результате реконструкция.

Горизонтальные стрелки функциональной модели маркируют размером суммарных транспортно-эксплуатационных затрат Ctrt или суммарными размерами их снижения , связанными с осуществлением транспортного процесса через мостовой переход в периоды его эксплуатации между рассматриваемыми вариантами реконструкции. Верхний индекс при этих показателях указывает на вариант развития габарита моста, для которого рассчитывают транспортно-эксплуатационные затраты (или их снижение по сравнению с существующим габаритом моста).

При использовании функциональной модели решение задачи определения оптимальных размеров уширения и сроков реконструкции сводится к отысканию на сетевой диаграмме траектории (в направлении стрелок), обладающей минимальной суммой оценок, которыми помечены стрелки функциональной модели от точки О к линии АБ.

3. Определение оптимальных объемов работ по уширению мостов и очередности их выполнения для II группы сооружений

3.1. Используется следующая экономическая постановка задачи.

На водной преграде (водных преградах) известно местоположение одного или нескольких постоянных мостов (на разных дорогах) с недостаточной пропускной способностью, которые связаны с другими постоянными и временными мостовыми переходами дорожной сетью. Известны: количество корреспондирующих пунктов, связанных между собой посредством искусственных сооружений, расстояния перевозок между ними и интенсивность движения по корреспондирующим пунктам района тяготения мостов на исходный год и перспективу.

В результате решения задачи устанавливают:

оптимальные объемы работ (в м2) по уширению существующих мостовых сооружений и строительству новых мостов по каждому году рассматриваемого планового периода;

последовательность выполнения во времени объемов работ по реконструкции и строительству сооружения;

интенсивность между всеми корреспондирующими пунктами, обеспечивающую рациональную маршрутизацию перевозок в районе тяготения искусственных сооружений.

3.2. При принятом критерии оптимальности целевая функция поставленной задачи описывается следующим образом:

,

где L, K - количество корреспондирующих пунктов, расположенных соответственно с левой и правой стороны водной преграды; l, k - номер корреспондирующего пункта соответственно с левой и правой стороны водной преграды (l=1, 2,..., L), (k=1, 2,..., К); n - количество постоянных и временных мостовых переходов в рассматриваемом районе; i - номер местоположения мостового перехода (i=1, 2,..., n); Т - продолжительность планового периода, годы; t - номер года планового периода (t=1, 2,..., T); Рi - количество вариантов габарита проезжей части i-го моста; pi - номер варианта габарита проезжей части i-го моста (p=1, 2,..., р), при р=1 габарит моста равен 0;  - затраты на строительство или реконструкцию моста в расчете на 1 м2 его площади в i-м пункте при рi-м варианте его габарита; g - коэффициент пропорциональности, характеризующий отношение между габаритом моста и его пропускной способностью (интенсивностью движения), м2 (авт./сут);  - пропускная способность моста (интенсивность движения в i-м пункте при pi-м варианте его габарита в году t), авт./сут;  - переменная, выражающая требование целочисленности в формальной формулировке задачи и принимающая значения 0 или 1 (rpii=1 означает, что данный вариант габарита моста входит в оптимальный план; rpii=0 характеризует такое положение, когда в i-й точке размещения дислоцирован мост на с pi-м вариантом габарита), ; qcp - средняя грузоподъемность автомобилей в потоке, т; Clik - себестоимость автомобильных перевозок между пунктами l и k через i-й мост в расчете на 1 т.км; Ntkil - интенсивность движения автомобилей между пунктами l и k через i-й мост в год t, авт./сут; dlik - расстояние перевозок между пунктами l и k через i-й мост, км; Eн - нормативный коэффициент экономической эффективности (Ен=0,12).

3.3. Для решения задачи развития и размещения сети мостов на автомобильных дорогах в принятой постановке должны вводиться следующие ограничения:

1) пропускная способность (габарит) i-го моста должна быть не меньше имеющейся интенсивности движения:

2) искомая суммарная пропускная способность мостов не должна быть меньше имеющейся:

3) пропускная способность каждого существующего моста должна быть не меньше имеющейся:

,

где j - номер существующих постоянных мостов (j=1, 2,..., J); J - количество существующих мостов (JÎI); I - возможные точки размещения мостов (iÎI);

4) суммарная интенсивность движения от l-х пунктов до k-го пункта через все мосты должна обеспечивать реализацию всех транспортных потоков, выходящих из пунктов l и входящих в пункт k:

5) интенсивность движения от k-го в l-е пункты должна обеспечивать реализацию всех транспортных потоков, выходящих из пункта k, и входящих в пункты l:

6) суммарная интенсивность движения от k-х пунктов до l-го пункта через все мосты должна обеспечивать реализацию всех транспортных потоков, выходящих из пунктов k и входящих в пункт l:

7) интенсивность движения от l-го в k-е пункты через все мосты должна обеспечивать реализацию всех транспортных потоков, выходящих из пункта l и входящих в пункты k:

8) пропускная способность всех мостов должна быть не меньше интенсивности движения, обеспечивающей реализацию транспортных потоков, выводящих и входящих во все пункты l или k:

3.4. Количество мостовых переходов, подлежащих учету при решении задачи, а также количество корреспондирующих пунктов в районе их тяготения устанавливается на основе анализа существующих и перспективных автотранспортных связей этих районов с последующим расчетом для каждого сооружения коэффициента смещения центра тяжести перевозок согласно п. 1.2.

3.5. Интенсивность движения по корреспондирующим связям района тяготения всей системы анализируемых мостов устанавливается: на исходный год - на основе фактических данных; на перспективный период - на основе схем развития сети автомобильных дорог в данном районе или данных о перспективном развитии его производительных сил. Данные о динамике интенсивности движения, (грузооборота) могут быть получены путем экстраполяции на плановый период темпов ее роста, вычисленных за ряд предыдущих лет, с поправками, основанными на прогнозах тенденций развития дорожной сети региона, и других соображений.

3.6. Значения коэффициентов пропорциональности, выражающие соотношения между габаритом моста и его пропускной способностью, для габаритов сооружений, принятых в нормах проектирования, приведены ниже:

Габарит мостов...……………………....    Г-7         Г-8            Г-10        Г-11,5

Коэффициент пропорциональности.....   0,07L      0,04L         0,01L      0,0038L

Для других размеров габаритов мостов коэффициент пропорциональности

где Г - габарит моста, м; L - длина сооружения, м; N - нижний предел интенсивности движения, определяющий необходимость сооружения моста данного габарита, авт./сут.

ПРИЛОЖЕНИЕ 8

ПЕРЕЧЕНЬ НОРМАТИВНЫХ ДОКУМЕНТОВ

1. Инструкция по определению грузоподъемности железобетонных балочных пролетных строений автодорожных мостов. ВСН 32-78/Минавтодор РСФСР.-М.: Транспорт, 1979. 142 с.

2. Инструкция по организации движения и ограждению места производства дорожных работ. ВСН 37-84/Минавтодор РСФСР.-М.: Транспорт, 1984.

3. Инструкция по проведению осмотров мостов и труб на автомобильных дорогах. ВСН 4-81/Минавтодор РСФСР.-М.: Транспорт, 1981. 32 с.

4. Инструкция по определению грузоподъемности сталежелезобетонных пролетных строений автодорожных мостов/Миндорстрой БССР (Ротапринт БелдорНИИ). 30 с.

5. СНиП 2.05.03-84. Мосты и трубы/Госстрой СССР:-М.: ЦИТП Госстроя СССР,.1985, 200 с.

6 Технические правила ремонта и содержания автомобильных дорог. ВСН 24-75/Минавтодор РСФСР. - М.: Транспорт, 1976. 308 с,

7. Технические указания по проектированию, изготовлению и монтажу составных по длине конструкций железобетонных мостов. ВСН 98-74/Минтрансстрой.-М.: Оргтрансстрой, 1975. 193 с.

СОДЕРЖАНИЕ

1. Общие положения. 2

2. Оценка состояния эксплуатируемого моста. 3

3. Принципы и схемы уширения мостов. 5

Общие положения. 5

Схемы уширения железобетонных пролетных строений. 6

Схемы уширения сталежелезобетонных пролетных строений. 12

Схемы уширения опор. 16

4. Проектирование уширения мостов. 19

Общие положения. 19

Нагрузки и расчетные сопротивления. 21

Расчет пролетных строений. 23

Проектирование уширения опор. 27

Конструктивные требования. 29

5. Особенности производства и приемка paбот. 35

Технологические требования. 35

Требования по безопасности работ. 37

6. Примеры уширения пролетных строений и опор. 38

Приложение 1 Перечень типовых проектов пролетных строений эксплуатируемых мостов и поперечные сечения балок. 51

Приложение 2 Ориентировочная оценка несущей способности свайных фундаментов мостов постройки до 1962г. 54

Приложение 3 Методика ускоренной оценки возможности уширения свайно-эстакадных опор (методика уо) 56

Приложение 4 Методика определения увеличения несущей способности висячих забивных свай по результатам зондирования грунтов оснований. 63

Приложение 5 Методы расчета уширенных пролетных строений. 64

Приложение 6 Учет длительных деформаций при расчете уширенных мостов. 76

Приложение 7 Методика определения оптимальных объемов работ по уширению автодорожных мостов и очередности их выполнения. 88

Приложение 8 Перечень нормативных документов. 94

 



уроки по алготрейдингу на Python с нуля



Яндекс цитирования

   Copyright © 2008-2026 ,  www.infosait.ru

backtrader - уроки алготрейдинга на python