|
|
Все документы, представленные в каталоге, не являются их официальным изданием и предназначены исключительно для ознакомительных целей. Электронные копии этих документов могут распространяться без всяких ограничений. Вы можете размещать информацию с этого сайта на любом другом сайте.
ГОСУДАРСТВЕННЫЙ ПРОИЗВОДСТВЕННЫЙ КОМИТЕТ ПО ТРАНСПОРТНОМУ СТРОИТЕЛЬСТВУ СССР ТЕХНИЧЕСКИЕ
УКАЗАНИЯ ПО
ПРОЕКТИРОВАНИЮ И СТРОИТЕЛЬСТВУ ФУНДАМЕНТОВ И ОПОР МОСТОВ ИЗ СБОРНЫХ
ЖЕЛЕЗОБЕТОННЫХ ОБОЛОЧЕК Государственный производственный комитет по транспортному строительству СССР ОРГТРАНССТРОЙ Содержание
Раздел I
| ||||||||||||||||||||||||||||||||||||||||||||||||||||||||||||||||||||||||||||||||||||||||||||||||||||||||||||||||||||||||||||||||||||||||||||||||||||||||||||||||||||||||||||||||||||||||||||||||||||||||||||||||||||||||||||||||||||||||||||||||||||||||||||||||||||||||||||||||||||||||||||||||||||||||||||||||||||||||||||||||||||||||||||||||||||||||||||||||||||||||||||||||||||||||||||||||||||||||||||||||||||||||||||||||||||||||||||||||||||||||||||||||||||||||||||||||||||||||||||||||||||||||||||||||||||||||||||||||||||||||||||||||||||||||||||||||||||||||||||||||||||||||||||||||||||||||||||||||||||||||||||||||||||||||||||||||||||||||||||||||||||||||||||||||||||||||||||||||||||||||||||||||||||||||||||||||||||||||||||||||||||||||||||||||||||||||||||||||||||||||||||||||||||||||||||||||||||||||||||||||||||||||||||||||||||||||||||||||||||||||||||||||||||||||||||||||||||||||||||||||||||||||||||||||||||||||||||||||||||||||||||||||||||||||||||||||||||||||||||||||||||||||||||||||||||||||||||||||||||||
|
Внесены Всесоюзный научно-исследовательским институтом транспортного строительства (ЦНИИСом) |
Утверждены Техническим управлением Государственного производственного комитета по транспортному строительству СССР приказом № 43 от 17 сентября 1964 г. |
Срок введения с 1 апреля 1965 г. |
1.2. В указаниях отражены только специфические особенности использования оболочек в конструкции мостов. При рассмотрении общих вопросов проектирования фундаментов и опор мостов (расчеты общего и местного размывов дна русла, расчет железобетонных элементов и т.д.), не охваченных настоящими указаниями, следует руководствоваться рекомендациями действующих нормативных документов, перечень которых приведен в приложении 1.
1.3. Целесообразность применения оболочек в каждом конкретном случае должна быть обоснована технико-экономическими расчетами, выполненными в результате всесторонних проектных обследовании различных решении, в том числе вариантов фундаментов на естественном основании, сооружаемых и котлованах под защитой ограждении, фундаментов из железобетонных забивных или буровых сван сплошного сечения, а также массивных опускных колодцев.
1.4. Конструктивные решения фундаментов и опор мостов должны предусматривать широкую индустриализацию строительства на базе современных средств комплексной механизации производства, а также удовлетворять возможности максимального использования местных материалов.
Конструкции следует применять, как правило, сборные, выполненные по типовым проектам, нормалям и стандартам.
1.5. Размеры железобетонных оболочек, применяемых в фундаментах и опорах, необходимо назначать с учетом данных табл. 1.
Размеры оболочек
|
Наружный диаметр в см |
40 |
60 |
80 |
100 |
120 |
160 |
200 |
300 |
|
Минимальная толщина стенки в см |
8 |
10 |
10 |
12 |
12 |
12 |
12 |
12 |
Примечания. 1. При соответствующем технико-экономическом обосновании для строительства мостов допускается применять оболочки диаметрами 400 и 500 см.
2. Длину секций и толщину стенок оболочек необходимо принимать кратными 1 м по длине секции и 2 см по толщине стенки исходя из мощности имеющегося оборудования для изготовления и транспортировки оболочек.
1.6. Для фундаментов и опор следует применять, как правило, типовые сборные железобетонные оболочки с напрягаемой и ненапрягаемой продольной арматурой из стержней диаметром не менее 12 мм.
Оболочки с напрягаемой арматурой рекомендуется применять в целях повышения эффективности вибропогружения их в грунт на глубину более 20 м, а также предотвращения появления трещин в оболочках, воспринимающих значительные изгибающие моменты.
1.7. Специальные мероприятия по защите от коррозии фундаментов и опор, расположенных в агрессивной среде, должны быть приведены в проекте моста и выполняться в соответствии с указаниями глав СНиП I-В.27-62 и III-В.6-62.
1.8. Проекты фундаментов и опор из оболочек необходимо разрабатывать на основании подробных инженерно-геологических изысканий.
Значения физико-механических характеристик грунтов (угол внутреннего трения, объемный вес, сцепление, модуль деформации и др.) должны определяться лабораторными и полевыми исследованиями с учетом природного состоянии грунта и возможных его последующих изменений.
1.9. Расчетные сопротивления грунтовых оснований фундаментов из оболочек должны назначаться по физико-механическим характеристикам грунтов, полученных в результате инженерно-геологических изысканий, и в отдельных случаях уточняться штамповыми испытаниями грунтов.
2.1. Выбор типа фундаментов и опор, включая назначение размеров оболочек, следует производить в зависимости от гидрогеологических условий, характера и величины действующих нагрузок, а также фактических возможностей изготовления и погружения оболочек.
2.2. Оболочки диаметрами 0,4-0,8 м можно применять в различных грунтах. Оболочки диаметром 1 м и более экономически целесообразно применять в случае опирания их низа на грунт с расчетным сопротивлением под подошвой оболочки не менее 15 кг/см2.
Допускается, при соответствующем технико-экономическом обосновании, применение оболочек диаметром свыше 1 м также в толще слабых грунтов.
2.3. Для экономии материалов и снижения стоимости строительства фундаментов рекомендуется в основании оболочек устраивать камуфлетные или буровые уширения, которые следует располагать в слое грунта с расчетным сопротивлением в уровне подошвы уширения, как правило, не менее 10 кг/см2.
2.4. В галечно-валунных отложениях, а также в грунтах с включением валунов или заиленных деревьев оболочки могут быть применены при наличии у строительной организации оборудования, необходимого для разработки таких грунтов.
При затруднениях с погружением оболочек оптимального диаметра следует применять оболочки меньшего диаметра или телескопически погружаемые оболочки.
2.5. Глубину погружения оболочки в грунт следует назначать исходя из отметки залегания несущего слоя грунта, расчетного размыва дна русла и обеспечения достаточной заделки оболочки в грунте.
2.6. Подошву оболочек и уширений необходимо заглублять в несущий слой грунта не менее чем на диаметр оболочек или уширений, но не менее 2 м.
2.7. Мощность толщи несущего слоя грунта ниже подошвы оболочек или уширения должна быть не менее диаметра оболочки или уширения. При меньшей толщине несущего слоя грунта и более низкой несущей способности подстилающего слоя грунта необходимо производить проверку давлений на подстилающий слой согласно СН 200-62, приложение 23.
2.8. В фундаментах и опорах из оболочек должен применяться тяжелый бетон марок, не ниже указанных в табл. 2, отвечающий требованиям ГОСТа 4795-59 и главы СНиПа I-B.3-62.
Минимальная марка бетона оболочек, плит, насадок и заполнения оболочек
|
|
Зона расположения |
Марка бетона |
||
|
|
по прочности на сжатие |
по морозостойкости |
по водонепроницаемости |
|
|
1. |
Под водой и под землей (ниже зоны промерзания): |
|
|
|
|
|
оболочки |
400 |
Нe нормируется |
Не нормируется |
|
|
заполнение полостей оболочек и уширенной пяты |
100 |
То же |
То же |
|
|
заполнение скважины в скальной породе |
200 |
" |
" |
|
|
плиты |
200 |
" |
" |
|
2. |
Над водой и над землей: |
|
|
|
|
|
оболочки |
400 |
Мрз 200 |
" |
|
|
заполнение полости оболочек |
150 |
Не нормируется |
" |
|
|
плиты и насадки |
300 |
Мрз 200 |
" |
|
3. |
В зоне переменного горизонта воды или промерзания в условиях умеренного климата: |
|
|
|
|
|
оболочки |
400 |
Мрз 200 |
В-2 |
|
|
заполнение полости |
150 |
Мрз 100 |
Не нормируется |
|
|
плиты |
300 |
Мрз 200 |
То же |
|
4. |
В зоне переменного горизонта воды или промерзания в условиях сурового климата: |
|
|
|
|
|
оболочки |
400 |
Мрз 300 |
В-2 |
|
|
заполнение полости |
200 |
Мрз 200 |
Не нормируется |
|
|
плиты |
300 |
Мрз 300 |
То же |
Примечание. Зона переменного горизонта волы определяется с учетом высоты волны и капиллярного подсоса.
2.9. Материалы для приготовления бетона должны удовлетворять требованиям ГОСТа 4797-56 и глав СНиПа I-B.1-62, I-B.2-62, I-B.3-62 и III-Д.2-62.
2.10. В качестве вяжущих для бетонов фундаментов и опор могут применяться следующие цементы, удовлетворяющие требованиям действующих ГОСТов:
а) для оболочек, плит и насадок в неагрессивной среде - портланд-цемент, пластифицированный и гидрофобный портланд-цементы, портланд-цемент с умеренной экзотермией, быстротвердеющий портланд-цемент; в агрессивной среде - сульфатостойкий портланд-цемент;
б) для заполнения полости оболочек и водозащитной подушки, бетонируемых подводным способом в неагрессивной среде, - портланд-цемент, пуццолановый портланд-цемент, пластифицированный портланд-цемент; в агрессивной среде - сульфатостойкий портланд-цемент, сульфатостойкий пуццолановый портланд-цемент.
Примечание. Для оболочек, изготовляемых способом центрифугирования, следует применять цементы с минимальным количеством минеральных добавок.
2.11. В качестве крупного заполнителя для бетона оболочек должен применяться щебень. Для остальных элементов фундаментов и опор допускается применение гравия.
2.12. Марка щебня по прочности исходной породы при сжатии должна быть, как правило, выше марки бетона не менее чем в 2 раза для бетона (оболочек и насадок) марки 300 и более и в 1,5 раза - для бетона (остальных элементов фундаментов и опор) марок ниже 300.
Щебень из изверженных пород должен иметь марку не ниже 800, щебень из метаморфических пород - не ниже 600, щебень из осадочных карбонатных пород - не ниже 300.
2.13. Морозостойкость щебня или гравия должна обеспечивать получение бетона требуемой проектом марки по морозостойкости.
2.14. Для бетона оболочек с толщиной стенки до 12 см рекомендуется применять щебень крупностью до 20 мм, в оболочках с более толстыми стенками допускается применение щебня крупностью до 40 мм.
Бетонную смесь, укладываемую способом вертикально перемещающейся трубы, следует изготовлять со щебнем или гравием крупностью до 40 мм. Для бетона плит допускается применять щебень или гравий крупностью до 70 мм.
2.15. В качестве мелкого заполнителя следует употреблять природные пески или пески, полученные от дробления скальных пород.
2.16. Для фундаментов и опор из оболочек следует применять арматуру, отвечающую требованиям проекта, соответствующих ГОСТов и глав СНиПа I-B.4-62 и II-Д.7-62.
2.17. В качестве арматуры ненапряженных оболочек, плит, насадок и для дополнительного армирования внутренней полости оболочек, заполненных бетоном, допускается применять: стержни круглые гладкие из углеродистой мартеновской горячекатаной стали класса A-I, стержни периодического профиля из углеродистом мартеновской горячекатаной стали класса А-II, стержни периодического профиля из низколегированной мартеновской горячекатаной стали класса А-III, не подвергнутые упрочнению.
Для армирования предварительно напряженных оболочек допускается использовать: стержни периодического профиля из низколегированной мартеновской горячекатаной стали класса А- IIIв, упрочненные вытяжкой, и класса A-IV, не подвергнутые упрочнению.
2.18. Закладные части (фланцы, обечайки, наконечники и др.) в оболочках следует выполнять из листовой и полосовой стали толщиной не менее 8 мм марок М16С по ГОСТу 6713 для стыков сварной конструкции и ВСт.3 по ГОСТу 380-60 - для остальных элементов.
2.19. Для опор на мелководных реках следует, как правило, применять низкие ростверки с плитой, расположенной ниже горизонта ледохода (рис.1,а). При значительной глубине воды (свыше 5 м с учетом размыва) рекомендуется делать высокие ростверки (рис.1,б).
2.20. Опоры пешеходных мостов, путепроводов и эстакад следует проектировать из вертикальных или наклонных оболочек диаметром 0,4-0,8 м, заглубленных нижними концами в грунт и объединенных в верхней части насадкой или подферменной плитой (рис. 2).
2.21. Оболочки диаметром 1-3 м рекомендуется применять в конструкции опор средних и больших мостов (рис. 3).
2.22. Для эстакад, путепроводов и временных сооружений, возводимых на несвязных грунтах при допускаемом размыве дна не более 1 м, целесообразно применять фундаменты из оболочек диаметром 1,6-2 м с несущей диафрагмой (рис. 4). Фундамент должен быть заглублен в грунт не менее чем на 2,5 диаметра оболочки. Несущую диафрагму в зависимости от плотности грунта следует располагать на 0,5-1 диаметр оболочки ниже естественной поверхности грунта, так как при вибропогружении фундамента вследствие уплотнения грунта происходит осадка последнего в полости оболочки.

Рис. 1.
Схемы фундаментов из оболочек различного диаметра:
а-с низким ростверком; б-с
высоким ростверком; 1-диаметр оболочек-0,4-0,8 м; 2-диаметр оболочек-1-2
м; 3-диаметр оболочек - 3 м и более
2.23. Промежуточные опоры следует проектировать преимущественно на вертикальных оболочках. При недостаточном горизонтальной устойчивости и жесткости фундаментов кроме вертикальных необходимо применять и наклонные оболочки (табл.3).

Рис. 2. Схемы опор из оболочек диаметром 0,4-0,8 м

Рис. 3. Схемы опор из оболочек диаметром 1 м и более
Рекомендуемые предельные наклоны оболочек
|
Диаметр оболочек в м |
0,4 и 0,6 |
0,8 и 1 |
1,2 и 1,6 |
2 |
3 |
Предельный наклон |
3:1 |
4:1 |
5:1 |
8:1 |
- |

Рис. 4. Фундамент из оболочек с несущей диафрагмой
Устои рекомендуется проектировать, как правило, с применением наклонно расположенных оболочек.
2.24. Оболочки фундаментов и опор следует размещать рядами или в шахматном порядке. Расстояние между осями оболочек диаметром 0,4 и 0,8 м, работающих как висячие сваи, должно быть не менее трех диаметров оболочки в уровне острия и не менее 1,5 диаметра - в уровне подошвы плиты; для оболочек диаметром 1 м и более - не менее 1 м в свету как в нижнем части, так и в плоскости плиты ростверка или насадки.
2.25. Количество рядов оболочек в опоре или фундаменте должно назначаться в зависимости от величины и характера действующих нагрузок, а также гидрогеологических условии.
При затруднениях с погружением оболочек в один ряд с предусмотренной в проекте точностью следует оболочки располагать в два или более рядов.
2.26. Размеры плиты ростверка или насадки и плане следует назначать таким образом, чтобы расстояние от края плиты до ближайшей оболочки в свету было не менее 0,25 м. Для оболочек диаметром свыше 2 м допускается устройство плит без свеса. Допускается также устройство насадок без свесов для опор, состоящих из двух оболочек любого диаметра.
2.27. Высоту плит, а также насадок необходимо определять расчетом и принимать не меньше размера, необходимого для осуществления заделки оболочек, но не менее 40 см.
При высоте плиты свыше 2 м боковые грани ее следует делать наклонными или с уступами.
Размеры уступов или величина наклона граней должны определяться расчетом.
2.28. При необходимости устройства обреза фундамента в зоне колебаний уровня воды и льда на плите следует устраивать фаску не менее 0,5´0,5 м, а плите придать в плане обтекаемую форму.
2.29. Подошва плиты фундамента должна располагаться:
а) в крупнообломочных, а также в крупных и средних песчаных грунтах - на любом уровне, независимо от глубины промерзания, при условии простирания толщи указанных грунтов ниже глубины промерзания и отсутствия при замерзании напорных грунтовых вод;
б) в глинистых и суглинистых, а также мелких и пылеватых песчаных грунтах - ниже уровня промерзания не менее 0,25 м;
в) в русле реки - на любом уровне (в том числе выше дна русла реки) при отсутствии промерзания воды до дна, но не менее чем на b+0,25 м ниже уровня низкого ледостава, где b-толщина льда в м;
г) при наличии ледохода или плывущих деревьев, пней и др. - с таким расчетом, чтобы оболочки не могли подвергаться их действию.
2.30. Для изоляции котлована от поступления воды снизу, при сооружении фундаментной плиты и тела опоры ниже отметки рабочего горизонта воды, надлежит устраивать водозащитную подушку из бетона, укладываемого подводным способом. Водозащитная подушка не укладывается, если возможно провести водоотлив из котлована без нарушения механических свойств грунта основания и фундаментную плиту забетонировать насухо.
2.31. Толщина водозащитной подушки должна назначаться в зависимости от величины давления воды на подушку снизу, диаметра оболочек, расстояния между ними, а также прочности бетона к моменту начала водоотлива из котлована. Толщина подушки должна быть не менее 1 м.
2.32. Запрещается использовать водозащитную подушку из бетона, уложенного подводным способом, в качестве фундаментной плиты, передающей на оболочки расчетные вертикальные нагрузки.
2.33. Сборные железобетонные оболочки следует, как правило, изготовлять отдельными секциями (рис.5) с арматурой, расположенной в один или два ряда. Двухрядное расположение арматуры рекомендуется для оболочек диаметром 1,6 м и более с толщиной стенки свыше 16 см, применяемых в конструкции фундаментов и опор, как правило, без заполнения внутренней полости бетоном.
Оболочки с двухрядной арматурой и утолщенной стенкой рекомендуется также применять при погружении их в грунты, имеющие включения отдельных валунов.
2.34. Для армирования оболочек диаметром до 1,6 м рекомендуется применять стержни диаметром не менее 12 мм, а спираль - из проволоки диаметром не менее 6 мм; для оболочек диаметром 1,6 м и более - стержни диаметром не менее 18 мм и спираль - из проволоки диаметром не менее 8 мм.
2.35. Продольные стержни арматуры оболочек следует располагать на расстоянии в свету не менее 5 и не более 20 см, но не свыше полуторной толщины стенки оболочки.
Шаг спиральной арматуры оболочек рекомендуется назначать 10-15 см. Вблизи концов секции оболочек на длине 1-1,5 м шаг спирали следует уменьшать в полтора-два раза против принятого на остальной части оболочки.

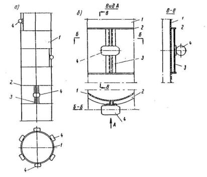
Рис. 5. Железобетонная
оболочка:
1-секция оболочки; 2-нож; 3-фланец; 4-болт; 5-стержни продольной
арматуры; 6-спиральная арматура
2.36. Защитный слой бетона с внешней и внутренней сторон оболочек диаметром 0,4 м должен быть не менее 3 см. Для оболочек диаметром 0,6 м и более защитный слой с внешней стороны должен быть не менее 4 см, с внутренней стороны - не менее 3 см.
2.37. Если армирование типовых оболочек недостаточно для воспринятия растягивающих напряжений, в полость оболочек, надлежит устанавливать дополнительную арматуру с последующим ее омоноличиванием бетоном.
Дополнительную арматуру следует располагать в местах, определяемых расчетом. Диаметр стержней дополнительной арматуры должен быть не менее 18 мм, а спираль - не менее 8 мм.
2.38. Секции оболочек допускается соединять на фланцах (рис. 6), сваркой обечаек (рис. 7), комбинированным стыкованием обечаек и выпусков продольных стержней (рис. 8), а также сваркой выпусков продольных стержней с двухсторонними накладками (рис. 9) или внахлестку (рис. 10).
После сварки выпусков стержней стыки секций должны быть омоноличены бетоном марки по прочности не менее 500 (см. рис. 9 и 10).
2.39. Фланцево-болтовые стыки и сварные соединения обечаек рекомендуется применять для стыкования обычных и предварительно напряженных секций как при укрупнительной сборке, так и на месте погружения оболочек.
2.40. Стыковать секции путем сварки выпусков стержней с последующим омоноличиванием бетоном следует при укрупнительной сборке оболочек из обычного железобетона. Сварку выпусков стержней с двухсторонними накладками (см. рис. 9) можно применять для стыкования оболочек любого диаметра, сварка стержней внахлестку (см. рис. 10) рекомендуется при стыковании секций оболочек диаметром до 1 м.
2.41. Вследствие затруднений с контролем равномерности натяжения болтов во фланцевых соединениях суммарную расчетную прочность болтов необходимо назначать на 20-30% выше прочности продольной арматуры.
2.42. Стальные элементы фланцево-болтовых соединений и обечаек следует защищать от воздействия воды. В качестве антикоррозийной защиты можно применять заливку стыков битумом, покрывать эмалью «Этиноль» или использовать другие покрытия в соответствии с указаниями глав СНиПа I-B.27-62 и III-B.6-62.

Рис. 6. Фланцево-болтовое соединение:
1-секция оболочки; 2-фланец; 3-болт; 4-стержень продольной арматуры;
5-обечайка фланца; 6-торцовое кольцо; 7-ребра жесткости; 8-упорное кольцо

Рис. 7.
Соединение секций оболочки сваркой обечаек:
1-секция оболочки; 2-стержни продольной арматуры; 3-обечайка; 4-кольцо;
5-ребра

Рис. 8.
Комбинированное соединение секции оболочки сваркой продольных стержней и
обечаек:
1-секцня оболочки; 2-спиральная арматура; 3-стержни продольной арматуры;
4-обечайка; 5-упорное кольцо; 6-окантовочное кольцо; 7-антикоррозийное покрытие

Рис. 9. Соединение секций оболочки сваркой выпусков стержней продольной арматуры с двухсторонними накладками с омоноличиванием стыка бетоном

Рис. 10. Соединение секций оболочки сваркой выпусков стержней продольной арматуры внахлестку с омоноличиванием стыка бетоном
В зонах повышенной агрессивности среды стыки рекомендуется покрывать торкретбетоном по предварительно установленной проволочной сетке с ячейками 10-15 мм.
2.43. На нижних концах оболочек (нижних секций) необходимо делать наконечники для облегчения погружения в грунт и предохранения оболочек от разрушения при встрече с препятствиями, при бурении скальных пород или устройстве уширений взрывчатыми веществами. Для оболочек диаметром 0,4-0,8 м следует применять наконечники закрытой конструкции: в обычных грунтах - без окантовки листовой сталью (рис. 11,а), а при опирании на скальные породы - с окантовкой листовой сталью (рис. 11,б). В случае применения подмыва в наконечнике оболочки необходимо предусмотреть центральное отверстие (рис. 11,в).
Наконечник высотой 1,2-1,5 м из листовой стали толщиной 10-12 мм (рис. 11,г) рекомендуется применять при устройстве камуфлетных уширений.
2.44. В оболочках диаметром 1 м и более надлежит применять наконечники (ножи) открытой конструкции.
При погружении оболочек в толщу слабых и средней плотности грунтов, а также при опирании оболочек с утолщенными стенками на поверхность слабых скальных пород при условии обеспечения плотного контакта ножа с породой по всему периметру рекомендуются ножи, усиленные ребрами жесткости (рис. 12,а).

Рис.
11. Наконечники закрытой конструкции для оболочек:
а-погружаемых в обычные грунты; б-опираемых на скальные породы:
в-погружаемых с центральным подмывом: г-погружаемых с устройством камуфлетного
уширения
Ножи с бетонным заполнением несимметричного профиля (рис. 12,б) рекомендуются для тонкостенных оболочек, погружаемых в плотные и средней плотности грунты.
Для предохранения нижней части оболочек от разрушения при бурении скважин в скальной породе станками ударно-канатного действия (для заделки низа несущих столбов) следует применять стальные ножи высотой до 1 м (рис. 12,в).
Для толстостенных оболочек, заглубляемых и плотные и средней плотности грунты, рекомендуется применять ножи симметричного профиля (рис. 12,г).
2.45. Наконечник (нож) следует приваривать непосредственно к продольной арматуре или к стыковым закладным частям оболочки.
2.46. При скорости течения воды в реке свыше 3 м/сек наружную поверхность оболочек, находящуюся в зоне воздействия перемещающихся гравийно-галечных и галечно-валунных отложений, следует защищать от истирания листовой сталью толщиной 10-12 мм.

Рис.
12. Наконечники открытой конструкции (ножи) для оболочек:
а-тонкостенных, погружаемых в грунты слабой и средней плотности, и
толстостенных, опираемых на поверхность слабых скальных пород; б-тонкостенных,
погружаемых в плотные и средней плотности грунты, в-тонкостенных при бурении
скважин в скальной породе; г-с утолщенной стенкой, погружаемых в плотные и
средней плотности грунты
2.47. Внутренней поверхности оболочек, в полости которых предусмотрено устройство бетонных пробок, для улучшения сцепления с бетоном заполнения необходимо придавать шероховатость с глубиной впадин 1-2 см.
В оболочках, изготовляемых в стальных виброформах, шероховатость следует создавать путем устройства неровностей на поверхности внутренней формы. В оболочках, изготовленных методом центрифугирования, шероховатость рекомендуется образовывать в процессе очистки шлама с внутренней поверхности.
Оболочки центрифугированного изготовления со сплошным бетонным заполнением, расположенным в зоне воздействия отрицательных температур, перед укладкой в них бетонной смеси должны быть обязательно тщательно очищены от шлама.
2.48. Оболочки опор, расположенные вне зоны воздействия воды, и оболочки фундаментов, находящихся в грунте или воде ниже уровня возможного промерзания, как правило, не рекомендуется заполнять бетоном, если оболочки имеют достаточную прочность и устойчивость.
2.49. Разрешается не заполнять бетоном полость оболочек, расположенных на затапливаемых поймах рек без ледохода и периодических водотоках, при условии обеспечения возможности свободного медленного ухода воды из оболочек в грунт ниже уровня промерзания (в процессе замерзания воды в полости оболочки). При невозможности обеспечить свободный уход воды из оболочки внутреннюю полость рекомендуется заполнять специальной смесью.
Такая смесь может быть составлена из топливного мазута марок 20-100 (ГОСТ 1501) с песком в пропорции 1:5 или с песчано-гравийной смесью в пропорции 1:6. Для приготовления смеси следует брать мазут с содержанием серы менее 0,5%.
При содержании серы в мазуте заполнителя свыше 0,5% оболочки должны изготовляться с использованием сульфатостойкого цемента.
2.50. В зоне переменного горизонта воды (в зоне возможного промерзания) внутреннюю полость оболочек допускается заполнять бетоном в пределах на 1 м выше горизонта высокой воды и на 1 м ниже отметки низкого ледостава. В этом случае в бетонную смесь заполнения следует вводить воздухововлекающие добавки в количестве 0,02-0,05% отвеса цемента, а водо-цементное отношение смеси принимать не более 0,5.
2.51. Полость погруженных в различные грунты оболочек диаметром более 1 м с минимальной толщиной стенок (см. табл. 1) следует, как правило, заполнять бетоном в соответствии со схемой, приведенной на рис. 13,а.
В полости оболочек диаметром более 1 м с утолщенными стенками, воспринимающими расчетные нагрузки при отсутствии бетонного заполнения, рекомендуется устраивать бетонную пробку (рис. 13,б).

Рис.
13. Схемы заполнения полости погруженных в грунт оболочек:
а-сплошное бетонное заполнение тонкостенной оболочки; б-бетонная пробка
в оболочке с утолщенной стенкой; в-грунтовое заполнение оболочки с
утолщенной стенкой;
1-грунт; 2-оболочка; 3-плита ростверки; 4-бетон; 5-грунтовое заполнение
оболочки
2.52. В оболочках диаметром до 1,6 м, воспринимающих расчетные нагрузки без бетонного заполнения, допускается оставлять ядро из несвязного грунта, образующееся в процессе погружения оболочек (рис. 13,в).
Минимально необходимая высота ядра, обеспечивающая передачу на основание длительно действующих нагрузок, должна определяться по результатам статического испытания оболочки, в конкретных геологических условиях.
2.53. Грунтовое ядро высотой, равной диаметру оболочки, но не менее 2 м (см. рис. 13,а и б) необходимо сохранять в основании оболочек в процессе их погружения в грунт, а также при необходимости удаления грунта из полости оболочек после окончания их вибропогружения.
2.54. Внутреннюю полость оболочек следует заполнять бетоном сплошь только при устройстве в их основании уширений или при заделке низа оболочек в скальные породы, а также при недостаточной прочности, неудовлетворительной общей и местной устойчивости стенок оболочек на воспринятие действующих нагрузок, включая навал плывущих предметов и давление льда.
2.55. Уширения в основании оболочек, увеличивающие их несущую способность по грунту, могут быть образованы взрывчатыми веществами или специальными буровыми станками.
Камуфлетные уширения, образованные взрывчатыми веществами и превышающие диаметр оболочки в среднем на 0,8-1 м, следует применять в основании оболочек диаметрами до 1,2 м.
Уширения в основании оболочек диаметрами 1,6 м и более необходимо устраивать буровыми станками.
При использовании бурового станка ЦНИИСа размеры уширения в основании оболочек диаметрами 1,6 и 2 м следует назначать в соответствии со схемой, приведенной на рис. 14.
2.56. Железобетонные оболочки столбов с уширениями в основании, сделанными буровым станком, рекомендуется заглублять в грунт не менее чем на 3 диаметра (в зависимости от плотности грунта и диаметра оболочки) ниже уровня размыва до отметки, где растягивающие напряжения от изгиба не превышают расчетного сопротивления бетона столба на растяжение.
Допускается ограничиваться заглублением оболочек на 1-2 м ниже отметки размыва при условии передачи растягивающих напряжений от момента в столбе (без оболочки) на арматурный каркас, установленный в бетонном заполнении скважины.
2.57. В зависимости от физико-механических свойств и состояния поверхности скальной породы, наличия или отсутствия неразмываемой толщи наносных отложений на поверхности породы, величины и характера действующих нагрузок нижнюю часть оболочек следует опирать на породу или заглублять в нее.

Рис. 14. Контур уширения в основании оболочки, разбуриваемого станком ЦНИИСа
2.58. Оболочки и столбы рекомендуется опирать на поверхность скальных пород при наличии толщи неразмываемых наносных отложений, которая погашает воздействие изгибающих моментов таким образом, что в уровне низа оболочек отсутствуют растягивающие напряжения.
2.59. Допускается опирание оболочек на скальную породу наконечником (рис. 15,а), ножом (рис. 15,б), бетонной пробкой (рис. 15,в) и сплошным бетонным заполнением (рис. 15,г). По двум последним схемам (см. рис. 15,в и г) возможно опирание оболочек на поверхность породы как без удаления выветренного слоя, так и с предварительным его разбуриванием.
2.60. Оболочки диаметром 0,4-0,8 м, опираемые закрытым наконечником па поверхность породы (см. рис. 15,а), должны быть забиты в её поверхностный слой молотами до получения отказа, близкою к нулю.
Мощность молота следует назначать из условия обеспечения требуемой расчетной несущей способности оболочки по основанию.
2.61. Толстостенные оболочки диаметром 1 и 1,6 м, опираемые стальным ножом (см. рис. 15,б) на невыветренную горизонтальную поверхность слабых скальных пород (главным образом мергелей, прикрытых глиной) прочностью до 150 кг/см2, должны заглубляться вибропогружателем до получения расчетного отказа, величину которого необходимо проверить статическим испытанием не менее чем одной оболочки в конкретных геологических условиях.
2.62. При необходимости повышения расчетной несущей способности скального основания толстостенных оболочек диаметром 1-2 м, опираемых на выветренный слой слабых и средней прочности пород, рекомендуется в полости оболочек устраивать бетонную пробку высотой не менее 2 м (см. рис. 15, в).
2.63. В случае недостаточной несущей способности выветренного слоя породы бетонную пробку или сплошное заполнение полости оболочки следует укладывать в скважину, пробуренную на 25 см ниже отметки, на которой расчетное сопротивление основания по результатам испытаний получается не менее величины давления фундамента (см. рис. 15,г).
2.64. Несущие столбы фундаментов и опор необходимо заделывать в скальные породы на величину, определяемую расчетом в соответствии с указаниями главы IV в случаях:
недостаточной несущей способности верхнего слоя породы;
возможности размыва верхнего слоя слабых пород;
отсутствия наносных отложении или недостаточной их мощности для обеспечения заделки столбов;
необходимости передачи изгибающих моментов на скальное основание;
наклона поверхности пород более 1:20 и наличия местных неровностей высотой свыше 20 см.

Рис.
15. Схема опирания оболочек на скальную породу:
а-наконечником закрытой конструкции; б-ножом; в-бетонной пробкой;
г-сплошным бетонным заполнением;
1-невыветренная скальная порода; 2-выветренный слой породы; 3-грунт;
4-оболочка; 5-нож
2.65. Заделку столбов в скальное основание следует осуществлять по одной из двух схем: диаметр заглубленной части столба ранен внутреннему диаметру оболочки (рис. 16,а);

Рис.
16. Заделка столбов в скальную породу:
а-диаметр скважины равен внутреннему диаметру оболочки: б-диаметр
скважины меньше внутреннего диаметра оболочки;
1-невыветренная порода; 2-выветренный слои породы; 3-грунт; 4-оболочка; 5-нож;
6-скважина; 7-арматурный каркас; 8-бетон
диаметр заделываемой части меньше внутреннего диаметра оболочки (рис. 16,б). Последний вариант заделки рекомендуется применять при использовании столбов диаметром 2 и 3 м.
Для передачи изгибающих моментов на скальное основание в месте заделки столба следует ставить по расчету арматурный каркас.
2.66. Несущие столбы, как правило, должны прорезать тонкие скальные прослойки. Допускается опирание на прослойки толщиной свыше 0,5 м из невыветренных пород при условии, что величина давления под торцом столба не превосходит расчетного сопротивления породы, а давление на подстилающий слои грунта, подсчитанное при тангенсе угла распространения 0,5, не превышает величины расчетного сопротивления грунта.
2.67. Верхние концы оболочек с напрягаемой и ненапрягаемой арматурой должны быть заделаны в плиту ростверка (выше слоя бетона, уложенного подводным способом) или в железобетонную насадку (ригель) на величину, определяемую расчетом (при наличии растягивающих усилий), причем в плиту ростверка - не менее чем на два диаметра, а при диаметре свыше 60 см - не менее чем на 1,2 м (рис. 17,а). Допускается также заделка в плите и насадке оболочек на длине не менее 15 см при условии, что остальная часть заделки осуществляется при помощи выпусков стержней продольной арматуры (без устройства крюков) на длине, определяемой расчетом, но не менее 20 диаметров стержня при арматуре периодического профиля и 40 диаметров стержня при гладкой арматуре (рис. 17,б). В местах заделки в плиту или насадку выпуски стержней продольной арматуры оболочек рекомендуется делать прямыми без отгибов.

Рис.
17. Заделка оболочек в плиту ростверка:
а-путем защемления верхней части оболочки; б-путем замоноличивания
выпусков стержней продольной арматуры;
1-оболочка; 2-водозащитная подушка; 3-плита; 4-стержень продольной арматуры;
5-спиральная арматура
2.68. Взаимное соединение стоек из железобетонных оболочек с насадками и плитами сборных опор допускается осуществлять с использованием конструкций стыков, применяемых для секций оболочек (см. рис. 6-10), или же вариантов стыков, приведенных на рис. 18.
Прочность соединении должна определяться расчетом в зависимости от характера и величины действующих нагрузок.

Рис.
18. Схемы соединения сборных насадок и плит с оболочками:
а-фланцево-болтовым стыком; б-бетонной пробкой; в-сварным фланцевым
стыком; г-приваркой выпусков стержней продольной арматуры;
1-плита; 2-оболочка; 3-фланец; 4-насадка (ригель); 5-анкерный болт; 6-бетонная
пробка; 7-арматурный анкерный каркас; 8-стержни продольной арматуры; 9-бетон
омоноличивания стыка; 10-ребра; 11-монтажный электросварочный шов; 12-анкерный
уголок с ребрами и приваренными к ним анкерами; 13-фланец без торцового кольца
3.1. Указания настоящей главы охватывают расчет фундаментов и опор мостов из оболочек диаметром 1 м и более. Расчет фундаментов и опор из оболочек меньшего диаметра производят по действующим техническим указаниям проектирования свайных ростверков опор мостов.
3.2. Фундаменты рассчитывают по трем предельным состояниям:
1) по прочности конструкции и грунтового основания;
2) по деформациям конструкции и основания с определением вертикальной осадки последнего и горизонтальных смещений верха опоры;
3) по трещиностойкости конструкции.
3.3. Вертикальную осадку основания опоры определяют в соответствии с п.694 «Технических условий проектирования железнодорожных, автодорожных и городских мостов и труб» (СН 200-62) и приложением 27 к ним.
При этом среднее
давление s по подошве фундамента от
нормативных постоянных нагрузок, передаваемое на грунты основания,
устанавливают в предположении о распределении давления в грунте под углом
(рис. 19,а), где jср - средневзвешенное значение расчетных углов внутреннего трения
грунтов, пройденных оболочками. Для фундаментов с наклонными оболочками
(столбами) в тех случаях, когда угол наклона крайних рядов оболочек к вертикали
превышает величину
, его принимают за угол распределения давления в грунте (см.
рис. 19,б).
3.4. Горизонтальные смещения верха опоры, давления на грунт, а также необходимые для проверки прочности и трещиностойкости фундамента внутренние усилия в его сечениях определяют с учетом заделки оболочек (столбов) в грунте.
3.5. Поверхность грунта при расчете фундаментов принимают с учетом местного размыва при расчетном расходе воды.

Рис.
19. Схемы распределения давления в грунте:
а-для фундаментов с вертикальными оболочками; б-для фундаментов с
наклонными оболочками при угле наклона крайних рядов, превышающем ![]()
Глубину h заложения столбов в грунте при опирании на нескальный грунт или скальную породу (без забуривания в последнюю) принимают равной фактическом глубине их заложения, а при забуренных в скалу столбах
h = hс + Δh,
где hс - глубина заложения поверхности скальном породы;
Δh - дополнительная глубина, принимаемая равном:
а) при забуривании
столбов в слабые ракушечники или мергель
;
б) при забуривании
столбов в известняк или песчаник
;
в) при забуривании столбов в кристаллические породы Δh = 0.
3.6. Расчет заделки столбов в грунте производят в предположении, что грунт представляет собой упруго-деформируемую среду с коэффициентом постели, нарастающим пропорционально глубине.
Коэффициенты пропорциональности, характеризующие изменение коэффициентов постели грунта, расположенного выше подошвы фундамента (m), и грунта в основании фундамента (mосн), принимают по табл. 3 соответственно по наименованиям грунта, расположенного выше подошвы фундамента, к грунта в основании фундамента. В пределах величин, указанных в табл. 3, коэффициенты пропорциональности принимают тем большими, чем плотнее грунт.
Коэффициенты пропорциональности m и mосн
|
№ пп |
Наименование грунта |
Значения m и mосн (m/м4) |
|
1 |
Текучепластичные глины, суглинки и илы |
50-200 |
|
2 |
Мягкопластичные супеси, суглинки и глины; пылеватые пески, а также пески рыхлые |
200-400 |
|
3 |
Тугопластичные супеси, суглинки и глины; пески мелкой и средней крупности |
400-600 |
|
4 |
Твердые супеси, суглинки и глины; крупные пески |
600-1000 |
|
5 |
Пески гравелистые, гравий, галька |
1000-2000 |
Для песков и супесей, указанных в строках 3-5 табл. 3, значения m и mосн относятся к грунтам средней плотности. Для плотных песков и супесей наибольшие табличные значения коэффициентов пропорциональности повышают на 30%.
При наличии выше отметки заложения столбов нескольких слоев грунта в расчет вводят значение коэффициента т, соответствующее грунту в верхней толще глубиной hm. Значение hm, выраженное в метрах, может быть определено по формуле:
hm = 2(d + l).
где d - диаметр столба в м.
При наличии в толще hm двух слоев грунта значение т определяют по формуле:
а при наличии в этой толще трех слоев - по формуле:
где h1- толщина первого (верхнего) слоя грунта;
h2 - толщина второго слоя грунта;
h3 - толщина третьего слоя грунта, равная
h3 = hm - (h1 + h2);
m1, m2, m3 - значения коэффициентов m, принимаемые по табл. 3 в зависимости от наименования грунтов, соответственно в первом, втором и третьем слоях.
Формулы (3.1) и (3.2) дают осредненное значение коэффициента m с учетом того обстоятельства, что чем ближе к поверхности расположен слой грунта, тем больше его свойства оказывают влияние на величину горизонтальных перемещении столбов в грунте.
3.7. Скальное основание рассматривают как упруго-деформируемое с коэффициентом постели С, не зависящим от глубины расположения поверхности скальной породы. Коэффициент постели принимают в зависимости от кубиковой прочности Rсж скальной породы. При Rсж = 100 т/м2 С = 30000 т/м3; при Rсж ³ 2500 т/м2 С = 1500000 т/м3; в промежуточных случаях значения С определяют линейной интерполяцией.
3.8. В расчетных формулах давление грунта на подошву столба устанавливается с учетом действительного ее очертания, а на боковую поверхность определяется, как для работающего в условиях плоской задачи отдельно стоящего столба, имеющего квадратное сечение с шириной bр. Отличие фактических условий работы столбов (круглая форма сечения, пространственные условия работы, а также взаимное влияние столбов на их поведение в грунте при горизонтальной нагрузке) от принятых при выводе формул учитывают специальными коэффициентами при переходе от диаметра столба к расчетной ширине* (см. пп. 3.14, 3.34 и 3.61).
* Замена каждого столба фундамента эквивалентным по сопротивляемости грунта столбом, работающим в менее сложных условиях, способствует существенному упрощению расчетных формул.
3.9. Определенные расчетом осадка опоры и горизонтальные смещения ее верха не должны превышать величин, установленных СН 200-62, п. 55.
3.10. Определенные расчетом давления под подошвами столбов не должны превышать расчетных сопротивлений грунтовых оснований, принимаемых в соответствии с СН 200-62, а для песчаных и скальных оснований-сопротивлений, принимаемых в соответствии с данными главы IV настоящих «Технических указаний» и с СН 200-62.
В тех случаях, когда нижние концы столбов заделаны в скалу, в соответствии с рекомендациями главы IV настоящих «Технических указаний» проверяют несущую способность заделки на действие внутренних усилий, возникающих в поперечных сечениях столбов на глубине h от поверхности грунта.
3.11.
При расчете фундаментов на столбах, имеющих приведенную глубину заложения в
грунте
* (см. п. 3.16),
следует проверить, чтобы величины горизонтальных давлений sh/3 и sh, действующих по контакту с
боковой поверхностью столба соответственно на глубинах
и z = h, удовлетворили условиям:
*
Приведенная (безразмерная) глубина
характеризует
соотношение между жесткостями столба и окружающего его грунта (чем меньше
значение
, тем больше относительная жесткость столба).
При
в случае, когда
наибольшее горизонтальное давление
на передней
части боковой поверхности столба действует на глубине
, следует проверить выполнение условия:
в случае же, когда
давление
действует на глубине
, следует проверить выполнение условия (3.3). В формулах (3.3),
(3.4) и (3.5) обозначены:
jр - расчетное значение угла внутреннего трения грунта, принимаемое меньше нормативного на 10% и не менее чем на 2°;
g - объемный вес грунта с учетом гидростатического давления;
ср - расчетное значение сцепления грунта, принимаемое меньше нормативного в 2 раза;
h1 - коэффициент, зависящий от системы опирающихся на опору пролетных строении и принимаемый равным 1 во всех случаях, кроме случаев опирания на опору статически неопределимых арочных распорных пролетных строений, и которых следует принимать его равным 0,7;
h2 - коэффициент, учитывающий долю постоянной горизонтальной нагрузки в суммарной.
Коэффициент h2 принимают равным:
![]()
![]()
где Мn и М - моменты в сечении по подошве фундамента: Мn - от постоянных нагрузок и М - от постоянных и временных нагрузок. Значения Мn и М определяют: а) при расчете фундаментов в соответствии с указаниями пп. 3.13-3.33 - от вертикальных и горизонтальных нагрузок; б) при расчете фундаментов в соответствии, с указаниями пп. 3.34-3.69 - только от горизонтальных нагрузок.
В промежуточных
случаях, когда
, коэффициент h2 находят линейной интерполяцией.
При нескольких слоях грунта значения jр, g и ср можно определить как соответствующие средневзвешенные значения для грунтовой толщи на участке эпюры горизонтальных давлений, где действует проверяемое давление.
3.12. Расчет фундаментов зависит от расположения столбов и направления действия нагрузок. Способы расчета, включающие определение горизонтального смещения верха опоры, давлений на грунт по контакту с подошвой столбов и их боковой поверхностью, а также определение внутренних усилий в поперечных сечениях столбов и в радиальных сечениях полых оболочек, даны в пп. 3.13-3.69.
В пп. 3.13-3.33 изложены способы, охватывающие расчет фундаментов в случае, когда оси столбов расположены в одной плоскости, перпендикулярном плоскости действия нагрузки (рис. 20,а). Ими может быть также осуществлен расчет фундаментов, состоящих из одного столба.
Пп. 3.34-3.59 содержат способы расчета фундаментов с вертикальными столбами в случае, когда их оси расположены в нескольких плоскостях, перпендикулярных плоскости действия нагрузки (рис. 20,б).

Рис.
20. Случаи расчета фундаментов:
а-со столбами, оси которых расположены в одной плоскости
перпендикулярной плоскости действия нагрузки; б-с вертикальными столбами, оси
которых расположены в нескольких плоскостях, перпендикулярных плоскости
действия нагрузки; в-с наклонными столбами
В соответствии с пп. 3.60-3.69 производят расчет фундаментов с наклонными столбами (рис. 20,в).
3.13 В предположении о том, что нагрузки поровну распределяются между столбами, определяют продольную силу N, действующую на голову каждого из столбов, а также изгибающий момент Мв и поперечную силу Н1, действующие в сечении каждого столба на уровне поверхности грунта.
3.14. Расчетную ширину столба bр принимают равной
где d - наружный диаметр столба в м;
0,9 - коэффициент, учитывающий отличие условий работы столба круглого сечения от столба квадратного сечения;
- коэффициент, учитывающий
отличие фактических (пространственных) условий работы столба от условий плоской
задачи.
3.15. Определяют коэффициент деформации a столба в грунте по формуле:
где Е - расчетный модуль упругости бетона столба;
I - момент инерции бетонного сечения столба.
При определении коэффициента a может быть использована табл. 4, в которой его значения даны в зависимости от величины
Значения коэффициента деформации a
|
К, м-1 |
a, м-1 |
К, м-1 |
a, м-1 |
К, м-1 |
a, м-1 |
К, м-1 |
a, м-1 |
|
1,000 |
0,1000 |
3,436 |
0,1280 |
9,239 |
0,1560 |
21,091 |
0,1840 |
|
1,104 |
0,1020 |
3,713 |
0,1300 |
9,847 |
0,1580 |
22,262 |
0,1860 |
|
1,217 |
0,1040 |
4,007 |
0,1320 |
10,486 |
0,1600 |
23,485 |
0,1880 |
|
1,338 |
0,1060 |
4,320 |
0,1340 |
11,158 |
0,1620 |
24,761 |
0,1900 |
|
1,409 |
0,1080 |
4,653 |
0,1360 |
11,864 |
0,1640 |
26,091 |
0,1920 |
|
1,611 |
0,1100 |
5,005 |
0,1380 |
12,605 |
0,1660 |
27,479 |
0,1940 |
|
1,762 |
0,1120 |
5,378 |
0,1400 |
13,383 |
0,1680 |
28,925 |
0,1960 |
|
1,925 |
0,1140 |
5,774 |
0,1420 |
14,199 |
0,1700 |
30,432 |
0,1980 |
|
2,082 |
0,1160 |
6,222 |
0,1440 |
15,054 |
0,1720 |
32,000 |
0,2000 |
|
2,288 |
0,1180 |
6,634 |
0,1460 |
15,949 |
0,1740 |
33,632 |
0,2020 |
|
2,449 |
0,1200 |
7,101 |
0,1480 |
16,887 |
0,1760 |
35,331 |
0,2040 |
|
2,703 |
0,1220 |
7,594 |
0,1500 |
17,869 |
0,1780 |
37,097 |
0,2060 |
|
2,932 |
0,1240 |
8,114 |
0,1520 |
18,896 |
0,1800 |
38,933 |
0,2080 |
|
3,170 |
0,1260 |
8,662 |
0,1540 |
19,969 |
0,1820 |
40,841 |
0,2100 |
|
42,823 |
0,2120 |
148,88 |
0,2720 |
403,36 |
0,3320 |
925,61 |
0,3920 |
|
44,882 |
0,2140 |
154,44 |
0,2740 |
415,65 |
0,3340 |
949,47 |
0,3940 |
|
47,018 |
0,2160 |
160,16 |
0,2760 |
428,25 |
0,3360 |
973,81 |
0,3960 |
|
49,236 |
0,2180 |
166,04 |
0,2780 |
441,15 |
0,3380 |
998,65 |
0,3980 |
|
51,536 |
0,2200 |
172,10 |
0,2800 |
454,35 |
0,3400 |
1024,00 |
0,4000 |
|
53,922 |
0,2220 |
178,34 |
0,2820 |
467,88 |
0,3420 |
1049,86 |
0,4020 |
|
56,395 |
0,2240 |
184,75 |
0,2840 |
481,72 |
0,3440 |
1076,23 |
0,4040 |
|
58,958 |
0,2260 |
191,35 |
0,2860 |
495,88 |
0,3460 |
1103,14 |
0,4060 |
|
61,613 |
0,2280 |
198,14 |
0,2880 |
510,38 |
0,3480 |
1130,58 |
0,4080 |
|
64,363 |
0,2300 |
205,11 |
0,2900 |
625,22 |
0,3500 |
1158,56 |
0,4100 |
|
67,211 |
0,2320 |
212,28 |
0,2920 |
540,40 |
0,3520 |
1187,10 |
0,4120 |
|
70,158 |
0,2340 |
219,65 |
0,2910 |
555,92 |
0.3540 |
1216,19 |
0,4140 |
|
73,208 |
0,2360 |
227,23 |
0,2960 |
571,81 |
0,3560 |
1245,85 |
0,4160 |
|
76,363 |
0,2380 |
235,01 |
0,2930 |
588,05 |
0,3580 |
1276,09 |
0,4180 |
|
79,626 |
0,2400 |
243,00 |
0,3000 |
604,66 |
0,3600 |
1306.91 |
0,4200 |
|
83,000 |
0,2420 |
251,21 |
0,3020 |
621,65 |
0,3620 |
1338,33 |
0,4220 |
|
86,487 |
0,2440 |
259,64 |
0,3040 |
639,01 |
0,3640 |
1370,34 |
0,4240 |
|
90,090 |
0,2460 |
268,29 |
0,3060 |
656,76 |
0,3660 |
1402,97 |
0,4260 |
|
93,812 |
0,2480 |
277,17 |
0,3080 |
674,90 |
0,3680 |
1436,22 |
0,4280 |
|
97,656 |
0,2500 |
286,29 |
0,3100 |
693,44 |
0,3700 |
1468,49 |
0,4300 |
|
101,636 |
0,2520 |
295,65 |
0,3120 |
712,38 |
0,3720 |
1504,59 |
0,4320 |
|
105,721 |
0,2540 |
305,24 |
0,3140 |
731,74 |
0,3740 |
1539,74 |
0,4340 |
|
109,950 |
0,2560 |
315,09 |
0,3160 |
751,52 |
0,3760 |
1575,55 |
0,4360 |
|
114,314 |
0,2580 |
325,19 |
0,3180 |
771,72 |
0,3780 |
1612,02 |
0,4380 |
|
118,810 |
0,2600 |
335,54 |
0,3200 |
792,35 |
0,3800 |
1649,16 |
0,4400 |
|
123,450 |
0,2620 |
346,16 |
0,3220 |
813,42 |
0,3820 |
1686,99 |
0,4420 |
|
128,240 |
0,2640 |
357,05 |
0,3240 |
831,94 |
0,3840 |
1725,50 |
0,4440 |
|
133,170 |
0,2660 |
368,20 |
0,3260 |
856,91 |
0,3860 |
1764,71 |
0,4160 |
|
138,25 |
0,2680 |
379,38 |
0,3280 |
879,34 |
0,3880 |
1804,64 |
0,4480 |
|
143,49 |
0,2700 |
391,35 |
0,3300 |
902,24 |
0,3900 |
1845,28 |
0,4500 |
3.16. Приведенную (безразмерную) глубину
заложения
столба в грунте находят по формуле:
3.17. Дальнейший расчет фундаментов выполняют основным способом или одним из двух приближенных.
Основной способ является универсальным.
Подавляющее большинство фундаментов можно рассчитать и приближенными способами.
Одни из них применяют для расчета фундаментов со столбами большой относительной
жесткости (при
), опертыми на нескальный грунт или скалу (без забуривания в
нее). Другой применяют для расчета фундаментов со столбами, имеющими
приведенную глубину
к опертыми на
нескальный грунт.
3.18. Определяют горизонтальное перемещение dнн столба и угол поворота dмн, его сечения в уровне поверхности грунта от силы Н=1, приложенной в том же уровне, и горизонтальное перемещение dнм столба и угол поворота dмм его сечения в уровне поверхности грунта от момента М=1 (рис. (21).

Рис. 21. Схемы перемещений столба от единичных усилий, приложенных на уровне поверхности грунта
Для случая столба с забуренным в скалу нижним концом значения dнн, dмн = dнм и dмм вычисляют по формулам:
в остальных случаях - по формулам:
Величины А0,
В0, С0, А01, B01, С01, D01, А02, В02,
С02 и D02 принимают по табл. 5 и 6 в зависимости
от значения приведенной глубины
заложения
столба в грунте. Если значение
оказывается
заключенным между табличными значениями этой величины, его округляют до
ближайшего значения
, приведенного в таблицах. При
принимают
.
Величины А0, В0 и С0
|
h |
А0 |
В0 |
С0 |
h |
А0 |
В0 |
С0 |
|
0,0 |
0,00000 |
0,00000 |
0,00000 |
1,5 |
1,01382 |
1,02816 |
1,11516 |
|
0,1 |
0,00033 |
0,00500 |
0,10000 |
1,6 |
1,18632 |
1,13380 |
1,47990 |
|
0,2 |
0,00269 |
0,02000 |
0,20000 |
1,7 |
1,36088 |
1,23219 |
1,53540 |
|
0,3 |
0,00900 |
0,04500 |
0,30000 |
1,8 |
1,53179 |
1,32058 |
1,58115 |
|
0,4 |
0,02133 |
0,07999 |
0,39996 |
1,9 |
1,69343 |
1,39688 |
1,61718 |
|
0,5 |
0,04165 |
0,12495 |
0,49988 |
2,0 |
1,84091 |
1,45979 |
1,61405 |
|
0,6 |
0,07192 |
0,17983 |
0,59962 |
2,2 |
2,08041 |
1,54549 |
1,67490 |
|
0,7 |
0,11406 |
0,24448 |
0,69902 |
2,4 |
2,23974 |
1,58566 |
1,68520 |
|
0,8 |
0,16985 |
0,31867 |
0,79783 |
2,6 |
2,32965 |
1,59617 |
1,68665 |
|
0,9 |
0,24092 |
0,40199 |
0,89562 |
2,8 |
2,37119 |
1,59262 |
1,68717 |
|
1,0 |
0,32855 |
0,49374 |
0,99179 |
3,0 |
2,38548 |
1,58606 |
1,69051 |
|
1,1 |
0,43351 |
0,59294 |
1,08560 |
3,5 |
2,38891 |
1,58435 |
1,71100 |
|
1,2 |
0,55589 |
0,69811 |
1,17605 |
4,0 |
2,40074 |
1,59979 |
1,73218 |
|
1,3 |
0,69488 |
0,80737 |
1,26199 |
4,5 |
2,41681 |
1,61296 |
1,74308 |
|
1,4 |
0,84855 |
0,91831 |
1,34213 |
5,0 |
2,42582 |
1,61823 |
1,74620 |
Величины А01,
B01,
С01, D01,
А02, В02, С02, D02, ![]()
|
|
А01 |
B01 |
С01 |
D01 |
А02 |
В02 |
С02 |
D02 |
|
|
|
|
0 |
0 |
1 |
0 |
0 |
0 |
0 |
0 |
0 |
¥ |
¥ |
¥ |
|
0,1 |
0,00002 |
1 |
0 |
0,005 |
0,00033 |
0,00003 |
0,005 |
0,0005 |
3770,49 |
54098,4 |
819672 |
|
0,2 |
0,0004 |
1,00004 |
0 |
0,02 |
0,00267 |
0,00033 |
0,02 |
0,004 |
421,771 |
2807,28 |
21023,6 |
|
0,3 |
0,00203 |
1,00029 |
0,00001 |
0,045 |
0,009 |
0,00169 |
0,045 |
0,0135 |
196,135 |
869,565 |
4317,97 |
|
0,4 |
0,0061 |
1,0012 |
0,00006 |
0,07999 |
0,02133 |
0,00533 |
0,08001 |
0,032 |
111,936 |
372,93 |
1399,07 |
|
0,5 |
0,01563 |
1,00365 |
0,00022 |
0,12504 |
0,04167 |
0,01303 |
0,12505 |
0,06251 |
72,102 |
192,214 |
576,825 |
|
0,6 |
0,0324 |
1,00917 |
0,00065 |
0,18013 |
0,07203 |
0,02701 |
0,1802 |
0,10804 |
50,0123 |
111,179 |
278,134 |
|
0,7 |
0,06006 |
1,01962 |
0,00163 |
0,24535 |
0,11443 |
0,05004 |
0,24559 |
0,17161 |
36,7401 |
70,0006 |
150,236 |
|
0,8 |
0,10248 |
1,03824 |
0,00365 |
0,32091 |
0,17094 |
0,08539 |
0,3215 |
0,25632 |
28,1075 |
46,8843 |
88,1788 |
|
0,9 |
0,16426 |
1,06893 |
0,00738 |
0,40709 |
0,24374 |
0,13685 |
0,40842 |
0,36533 |
22,2454 |
33,0092 |
55,3115 |
|
1 |
0,25062 |
1,11679 |
0,0139 |
0,50436 |
0,33507 |
0,20873 |
0,50714 |
0,50194 |
18,0276 |
24,1023 |
36,479 |
|
1,1 |
0,36747 |
1,18823 |
0,02464 |
0,61351 |
0,44739 |
0,306 |
0,61893 |
0,66965 |
14,9154 |
18,1598 |
25,1218 |
|
1,2 |
0,52158 |
1,29111 |
0,04156 |
0,73565 |
0,58346 |
0,43412 |
0,74562 |
0,87232 |
12,55 |
14,039 |
17,9408 |
|
1,3 |
0,72057 |
1,43498 |
0,06724 |
0,87244 |
0,7465 |
0,5994 |
0,88991 |
1,11429 |
10,7164 |
11,102 |
13,2348 |
|
1,4 |
0,97317 |
1,63125 |
0,10504 |
1,02612 |
0,94032 |
0,80887 |
1,0555 |
1,40059 |
9,26477 |
8,95202 |
10,0486 |
|
1,5 |
1,28938 |
1,89349 |
0,15916 |
1,19981 |
1,1696 |
1,07061 |
1,24752 |
1,7372 |
8,10116 |
7,34858 |
7,83815 |
|
1,6 |
1,68091 |
2,23776 |
0,23497 |
1,39771 |
1,44015 |
1,39379 |
1,47277 |
2,13135 |
7,15372 |
6,12908 |
6,26791 |
|
1,7 |
2,16145 |
2,68296 |
0,33904 |
1,62522 |
1,75934 |
1,78918 |
1,74019 |
2,592 |
6,37521 |
5,18918 |
5,1327 |
|
1,8 |
2,74734 |
3,25143 |
0,47951 |
1,88946 |
2,13653 |
2,26933 |
2,06147 |
3,13039 |
5,72947 |
4,45565 |
4,29912 |
|
1,9 |
3,45833 |
3,96945 |
0,66632 |
2,19944 |
2,58362 |
2,84909 |
2,45147 |
3,76049 |
5,19019 |
3,87745 |
3,67912 |
|
2 |
4,31831 |
4,86824 |
0,91158 |
2,56664 |
3,11583 |
3,54638 |
2,92905 |
4,49999 |
4,73717 |
3,41805 |
3,21316 |
|
2,2 |
6,61044 |
7,36356 |
1,63962 |
3,53366 |
4,51846 |
5,38469 |
4,24806 |
6,40196 |
4,03169 |
2,7558 |
2,59088 |
|
2,1 |
9,9551 |
11,1313 |
2,82366 |
4,95288 |
6,57001 |
8,02219 |
6,288 |
9,0922 |
3,5256 |
2,32678 |
2,2269 |
|
2,6 |
14,868 |
16,7406 |
4,70118 |
7,07178 |
9,6289 |
11,8206 |
9,46294 |
12,9719 |
3,1626 |
2,04818 |
2,01289 |
|
2,8 |
22,1571 |
25,0651 |
7,62658 |
10,2642 |
14,2571 |
17,3362 |
14,4032 |
18,6636 |
2,90524 |
1,8694 |
1,88855 |
|
3 |
33,0879 |
37,3807 |
12,1353 |
15,0922 |
21,3285 |
25,4275 |
22,068 |
27,1257 |
2,72658 |
1,75755 |
1,81849 |
|
3,5 |
92,209 |
101,369 |
36,858 |
41,0182 |
60,47 |
67,4982 |
64,7696 |
72,0485 |
2,50174 |
1,64078 |
1,75727 |
|
4 |
266,061 |
279,996 |
109,012 |
114,722 |
176,709 |
185,996 |
190,834 |
200,047 |
2,44066 |
1,621 |
1,75058 |
|
4,5 |
788,091 |
795,764 |
324,088 |
327,749 |
525,455 |
529,831 |
567,247 |
571,666 |
2,43172 |
1,62133 |
1,75029 |
|
5 |
2382 |
2324,47 |
979,678 |
956,662 |
1588,43 |
1549,61 |
1713,28 |
1672,28 |
2,43141 |
1,62138 |
1,74882 |
В формулах (3.11) коэффициент Kh учитывает влияние сопротивления грунта повороту подошвы столба на единичные перемещении dнн, dмн = dнм и dмм. Значение Kh устанавливают по формуле:
(3.12)
где Iосн - момент инерции основания столба;
С - коэффициент постели основания, значение которого при опирании фундамента на скалу следует принимать в соответствии с п. 3.7, а при опирании на нескальный грунт - равным:
В случаях, когда при
опирании фундамента на нескальный грунт
, а при опирании фундамента на скалу
, влияние значения Kh на величины dнн, dмн = dнм и dмм
становится несущественным и при определении последних можно принять Kh = 0.
3.19. Горизонтальное перемещение у0 и угол поворота j0 сечения столба, расположенного в уровне поверхности грунта, находят по формулам:
3.20. Горизонтальное смещение верха опоры вычисляют по формуле:
а' = у0 + j0(l0 +hоп) + d0, (3.15)
где l0 - расстояние от верхнего сечения столбов до поверхности грунта;
hоп - разность отметок верха опоры и верхнего сечения столбов;
d0 - перемещение верха опоры за счет деформации ее тела и части фундамента, расположенной выше поверхности грунта.
3.21. Изгибающие моменты Мz и поперечные силы Qz, действующие в сечениях столба на разных глубинах z от поверхности грунта, определяют по формулам:
(3.17)
Горизонтальные давления на грунт, возникающие по контакту с боковой поверхностью столба на разных глубинах z, вычисляют по формуле:
В формулах (3.16) - (3.18) А1, B1, С1,
D1, А3,
B3,
С3, D3, А4,
B4,
С4 и D4 - величины, принимаемые по табл.7
в зависимости от приведенной (безразмерной) глубины
.
Для приведенных
глубин
значения Мz, Qz и sz можно принимать равными нулю.
Формула (3.16) при подстановке в нее величин А3,
B3,
С3 и D3, соответствующих значению
, дает момент Мh, действующий в основании столба.
3.22. Наибольшее smах и наименьшее smin давления на грунт в основании столба определяют по формуле:
где Nh - продольная сила, действующая в основании столба;
Fосн и Wосн - соответственно площадь и момент сопротивления основания столба (подошвы столба).
Значение Nh при нескальном грунте в основании столба вычисляют по формуле:
а при скальной породе - по формуле:
где G - расчетный вес столба (или оболочки с заполнением);
Т - расчетная сила трения грунта по наружной поверхности оболочки, определяемая в соответствии с приложением 21 к СН 200-62, а для песчаных грунтов - также главой IV настоящих «Технических указании».
Величины А1, B1, С1, D1, А3, B3, С3, D3, А4, B4, С4 и D4
|
|
А1 |
B1 |
С1 |
D1 |
А3 |
B3 |
С3 |
D3 |
А4 |
B4 |
С4 |
D4 |
|
0,0 |
1,00000 |
0,00000 |
0,00000 |
0,00000 |
0,00000 |
0,00000 |
1,00000 |
0,00000 |
0,00000 |
0,00000 |
0,00010 |
1,00000 |
|
0,1 |
1,00000 |
0,10000 |
0,00500 |
0,00017 |
-0,00017 |
-0,00001 |
1,00000 |
0,10000 |
-0,00500 |
-0,00033 |
-0,00001 |
1,00000 |
|
0,2 |
1,00000 |
0,20000 |
0,02000 |
0,00133 |
-0,00133 |
-0,00013 |
0,99999 |
0,20000 |
-0,02000 |
-0,00267 |
-0,00020 |
0,99999 |
|
0,3 |
0,99998 |
0,30000 |
0,04500 |
0,00450 |
-0,00450 |
-0,00067 |
0,99994 |
0,30000 |
-0,04500 |
-0,00900 |
-0,00101 |
0,99992 |
|
0,4 |
0,99991 |
0,39999 |
0,08000 |
0,01067 |
-0,01067 |
-0,00213 |
0,99974 |
0,39998 |
-0,08000 |
-0,02133 |
-0,00320 |
0,99966 |
|
0,5 |
0,99974 |
0,49996 |
0,12500 |
0,02083 |
-0,02083 |
-0,00521 |
0,99922 |
0,49991 |
-0,12499 |
-0,04167 |
-0,00781 |
0,99890 |
|
0,6 |
0,99935 |
0,59987 |
0,17998 |
0,03600 |
-0,03000 |
-0,01080 |
0,99806 |
0,59974 |
-0,17997 |
-0,07199 |
-0,01620 |
0,99741 |
|
0,7 |
0,99860 |
0,69967 |
0,24495 |
0,05716 |
-0,05716 |
-0,02001 |
0,99580 |
0,69935 |
-0,24490 |
-0,11433 |
-0,03001 |
0,99440 |
|
0,8 |
0,99727 |
0,79927 |
0,31988 |
0,08532 |
-0,08532 |
-0,03412 |
0,99181 |
0,79854 |
-0,31975 |
-0,17060 |
-0,05120 |
0,98908 |
|
0,9 |
0,99508 |
0,89852 |
0,40472 |
0,12146 |
-0,12144 |
-0,05466 |
0,98524 |
0,89705 |
-0,40443 |
-0,24284 |
-0,08198 |
0,98032 |
|
1,0 |
0,99167 |
0,99722 |
0,49941 |
0,16657 |
-0,16652 |
-0,08329 |
0,97501 |
0,99445 |
-0,49881 |
-0,33298 |
-0,12493 |
0,96667 |
|
1,1 |
0,98658 |
1,09508 |
0,60384 |
0,22163 |
-0,22152 |
-0,12192 |
0,95975 |
1,09016 |
-0,60268 |
-0,44292 |
-0,18285 |
0,94634 |
|
1,2 |
0,97927 |
1,19171 |
0,71787 |
0,28758 |
-0,28737 |
-0,17260 |
0,93783 |
1,18342 |
-0,71573 |
-0,57450 |
-0,25886 |
0,91712 |
|
1,3 |
0,96908 |
1,28660 |
0,84127 |
0,36536 |
-0,36496 |
-0,23760 |
0,90727 |
1,27320 |
-0,83753 |
-0,72950 |
-0,35631 |
0,87638 |
|
1,4 |
0,95523 |
1,37910 |
0,97373 |
0,45588 |
-0,45515 |
-0,31933 |
0,86573 |
1,35821 |
-0,96746 |
-0,90954 |
-0,47883 |
0,82102 |
|
1,5 |
0,93681 |
1,46839 |
1,11484 |
0,55997 |
-0,55870 |
-0,42039 |
0,81054 |
1,43680 |
-1,10468 |
-1,11609 |
-0,63027 |
0,74745 |
|
1,6 |
0,91280 |
1,55346 |
1,26403 |
0,67842 |
-0,67629 |
-0,54348 |
0,73859 |
1,50695 |
-1,24808 |
- 1,35042 |
-0,81466 |
0,65155 |
|
1,7 |
0,88201 |
1,63307 |
1,42061 |
0,81193 |
-0,80848 |
-0,69144 |
0,64637 |
1,56621 |
-1,39623 |
-1,61346 |
-1,03616 |
0,52871 |
|
1,8 |
0,84313 |
1,70575 |
1,58362 |
0,96109 |
-0,95564 |
-0,86715 |
0,52997 |
1,61162 |
-1,54728 |
-1,90577 |
-1,29909 |
0,37368 |
|
1,9 |
0,79467 |
1,76972 |
1,75190 |
1,12637 |
-1,11796 |
-1,07357 |
0,38503 |
1,63969 |
-1,69889 |
-2,22745 |
-1,60770 |
0,18071 |
|
2,0 |
0,73502 |
1,82294 |
1,92402 |
1,30801 |
-1,29535 |
-1,31361 |
0,20676 |
1,64628 |
-1,84818 |
-2,57798 |
-1,96620 |
-0,05652 |
|
2,2 |
0,57491 |
1,88709 |
2,27217 |
1,72042 |
-1,69334 |
-1,90567 |
-0,27087 |
1,57538 |
-2,12481 |
-3,35952 |
-2,84858 |
-0,69158 |
|
2,4 |
0,34691 |
1,87450 |
2,60882 |
2,19535 |
-2,14117 |
-2,66329 |
-0,94885 |
1,35201 |
-2,33901 |
-4,22811 |
-3,97323 |
-1,59151 |
|
2,6 |
0,033146 |
1,75473 |
2,90670 |
2,72365 |
-2,62126 |
-3,59987 |
-1,87734 |
0,91679 |
-2,43695 |
-5,14023 |
-5,35541 |
-2,82106 |
|
2,8 |
-0,38548 |
1,49037 |
3,12843 |
3,28769 |
-3,10341 |
-4,71748 |
-3,10791 |
0,19729 |
-2,34558 |
-6,02299 |
-6,99007 |
-4,44491 |
|
3,0 |
-0,92809 |
1,03679 |
3,22471 |
3,85838 |
-3,54058 |
-5,99979 |
-4,68788 |
-0,89126 |
-1,96928 |
-6,76460 |
-8,84029 |
-6,51972 |
|
3,5 |
-2,92799 |
-1,27172 |
2,46304 |
4,97982 |
-3,91921 |
-9,54367 |
-10,3404 |
-5,85402 |
1,07408 |
-6,78895 |
-13,6924 |
-13,8261 |
|
4,0 |
-5,35333 |
-5,94097 |
-0,92677 |
4,54780 |
-1,61428 |
-11,7307 |
-17,9186 |
-15,0755 |
9,24368 |
-0,35762 |
-15,6105 |
-23,1404 |
|
4,5 |
-9,05930 |
-13,4160 |
-8,77276 |
0,25502 |
6,63993 |
-7,60958 |
-24,0843 |
-28,4841 |
25,2321 |
19,8922 |
-6,09194 |
-29,1054 |
|
5,0 |
-10,3941 |
-22,4761 |
-22,4278 |
-11,1581 |
24,9767 |
11,9485 |
-19,6011 |
-41,3554 |
49,0851 |
62,7051 |
30,0745 |
-17,6764 |
3.23. Изгибающие моменты и продольные силы, действующие в радиальных сечениях полых оболочек (т.е. в сечениях их плоскостями, проходящими через оси оболочек) на глубине z от поверхности грунта, определяют по формулам:
(3.22)
где М1, М2 и М3 - изгибающие моменты в радиальных сечениях 1, 2, 3 (рис. 22) оболочки, соответственно, отнесенные к участку радиального сечения с высотой, равной единице; положительные значения моментов соответствуют растяжению внутренних волокон оболочки;
N1, N2 и N3 - продольные силы в радиальных сечениях 1, 2, 3 оболочки, соответственно, отнесенные к участку радиального сечения с высотой, равной единице; положительные значения продольных сил соответствуют сжатию радиальных сечений;
j1, j2, j3, i1, i2 и i3 - безразмерные коэффициенты, определяемые по графику (рис. 23) в зависимости от безразмерного параметра
(3.23)
k0 - коэффициент, учитывающий пространственный характер работы оболочки, принимаемый равным 0,75 для участков радиальных сечений, расположенных выше уровня, в котором давление s0 равно нулю, и равным 1 для остальных участков. При наличии в нижней части оболочки сплошного бетонного заполнения значение коэффициента k0 принимают равным 0,75 для всех участков радиальных сечений оболочки;
q - интенсивность давления оболочки на грунт, определяемая формулой:
Rср и d - средний радиус поперечного сечения и толщина оболочки соответственно.

Рис. 22. Схема расположения радиальных сечений полых оболочек, в которых действуют определяемые расчетом внутренние усилия

Рис. 23. Графики для определении безразмерных коэффициентов, используемых при расчете радиальных сечений полых оболочек
При выборе участков радиальных сечении, на которых производится прочерка прочности и трещиностойкости оболочек, следует учитывать, что изгибающие моменты М1, М2 и М3 возрастают с увеличением q (и, следовательно, с увеличением sz) и убывают с увеличением z.
* Способ основан на использовании формул, предусматривающих бесконечно большую жесткость столбов.
3.24. Горизонтальные давления sz на грунт, действующие по контакту с боковой поверхностью столбов на разных глубинах z (рис. 24), вычисляют по формуле:
где
dосн - диаметр основания столба;
z0 - глубина расположения оси поворота столбов, определяемая по формуле:
(3.27)
- расстояние от
равнодействующей внешних горизонтальных нагрузок до подошвы фундамента;
b0 - отношение коэффициентов постели, характеризующих сжимаемость на глубине h грунта, расположенного выше подошвы фундамента, и грунта в его основании, определяемое по формуле:

Рис. 24. Эпюры давлений на грунт
фундамента большой жесткости (
)
Значение коэффициента постели С основания устанавливают в соответствии с п. 3.18.
Подлежащие проверке
в соответствии с п. 3.11
горизонтальные давления sh/3 и sh вычисляют по формуле (3.25) путем подстановки в нее
соответственно
и
.
3.25. Наибольшее smах и наименьшее smin давления в основании столба определяют по формуле:
Продольную силу Nh в основании столба находят в соответствии с указаниями п. 3.22 по формуле (3.20) или (3.21).
3.26. Горизонтальное смещение а' верха опоры определяют по формуле:
а' = w[z0k1 + (l0 +hоп)k2] + d0, (3.30)
где w - угол поворота, определяемый формулой:
(3.31)
предусматривающей бесконечно большую жесткость столбов;
k1 - коэффициент, учитывающий влияние деформации столбов на горизонтальное перемещение фундамента в уровне поверхности грунта;
k2 - коэффициент, учитывающий влияние деформации столбов на угол поворота сечения фундамента в уровне поверхности грунта.
Значения
коэффициентов k1 и k2 принимают
по табл. 8 в
зависимости от приведенной глубины
заложения фундамента
в грунте и от относительной высоты
приложения
равнодействующей горизонтальных нагрузок (от подошвы фундамента).
При
следует принимать k1
= k2 = 1,0.
3.27. Изгибающие моменты в поперечных сечениях столба на разных глубинах z определяют но формуле:
3.28. В случае,
когда момент
создается
внецентренно приложенной вертикальной силой (случай, когда H1 = 0 и l = ¥),
величины sz, smах и smin вычисляют по формулам:
(3.33)
(3.34)
(3.36)
Горизонтальное смещение верха а' опоры в рассматриваемом случае определяют в соответствии с п. 3.26, с той лишь разницей, что в формулу (3.30) подставляют значение z0, вычисленное по формуле (3.35), и значение w, равное
(3.37)
Значения коэффициентов k1 и k2
|
|
Коэффициенты |
l/h |
||||
|
1 |
2 |
3 |
5 |
¥ |
||
|
1,6 |
k1 |
1,0 |
1,0 |
1,0 |
1,0 |
1,0 |
|
k2 |
1,0 |
1,1 |
1,1 |
1,1 |
1,1 |
|
|
1,8 |
k1 |
1,0 |
1,1 |
1,1 |
1,1 |
1,1 |
|
k2 |
1,1 |
1,2 |
1,2 |
1,2 |
1,3 |
|
|
2,0 |
k1 |
1,1 |
1,1 |
1,1 |
1,1 |
1,2 |
|
k2 |
1,2 |
1,3 |
1,4 |
1,4 |
1,4 |
|
|
2,2 |
k1 |
1,1 |
1,2 |
1,2 |
1,2 |
1,2 |
|
k2 |
1,2 |
1,5 |
1,6 |
1,6 |
1,7 |
|
|
2,4 |
k1 |
1,1 |
1,2 |
1,3 |
1,3 |
1,3 |
|
k2 |
1,3 |
1,8 |
1,9 |
1,9 |
2,0 |
|
|
2,5 |
k1 |
1,2 |
1,3 |
1,4 |
1,4 |
1,4 |
|
k2 |
1,4 |
1,9 |
2,1 |
2,2 |
2,3 |
|
3.29. Расчет внутренних усилии в радиальных сечениях полых оболочек производят в соответствии с п. 3.23.
*Способ не содержит формул, необходимых для построения эпюры горизонтальных давлений фундамента на грунт и поэтому не даст необходимых данных для расчета внутренних усилий в радиальных сечениях полых оболочек.
3.30. Горизонтальное смещение а' верха опоры определяют в соответствии с пп. 3.18-3.20 по формулам (3.11) - (3.15).
3.31. Наибольшее smах и наименьшее smin давления в основании столбов определяют по формуле:
где x1 - коэффициент, учитывающий влияние конечной жесткости столбов на распределение давлений по их подошве и принимаемый равным:
(3.39)
Значения А и b0 в формуле (3.38) определяются формулами (3.26) и (3.28).
3.32. Проверяют выполнение условия:
где h0 - глубина, принимаемая равной
- горизонтальное давление на глубине
.
Горизонтальное
давление
определяют по
формуле:
где x2
- коэффициент, который при
принимают равным
0,7, а в интервале
вычисляют по формуле:
Выполнение условия (3.40) гарантирует удовлетворение условии п. 2.11, ограничивающего величины горизонтальных давлении на грунт.
3.33. Наибольшее значение изгибающего момента Мн в поперечном сечении на участке столба, расположенном в грунте, вычисляют по формуле:
где hмм - величина, принимаемая по табл.
9 в зависимости от a и
, а при
также и от значения
коэффициента h, который учитывает влияние
сопротивления грунта повороту подошвы столба на величину Мн
и определяется формулой:
Формула 3.45 основана на расчетной схеме, в которой распределенное сопротивление грунта заменено условной заделкой, расположенной на глубине hмм от поверхности грунта.
3.34. Расчетную ширину столбов принимают равной
Входящий в формулу (3.46) коэффициент k учитывает взаимное влияние столбов, расположенных в одном ряду* (параллельном плоскости действия нагрузки), на их работу в грунте. Смысл остальных величин пояснен в п. 3.14.
* В дальнейшем имеются в виду ряды, расположенные в плоскости, параллельной плоскости действия нагрузки. Исключение составляют специально оговоренные случаи.
Значения глубин hмм
|
a, м-1 |
|
|
|
|
||||
|
h=1,5·10-4 |
h=1,5·10-3 |
h=1,5·10-2 |
h=1,5·10-4 |
h=1,5·10-3 |
h=1,5·10-2 |
|||
|
0,100 |
7,3 |
6,9 |
6,5 |
6,8 |
7,8 |
5,3 |
6,3 |
9,0 |
|
0,125 |
5,9 |
5,7 |
5,4 |
5,6 |
6,4 |
4,4 |
5,1 |
7,2 |
|
0,150 |
5,0 |
4,6 |
4,3 |
4,4 |
5,0 |
3,5 |
3,8 |
5,4 |
|
0,175 |
4,3 |
4,0 |
3,7 |
3,8 |
4,2 |
3,0 |
3,2 |
4,5 |
|
0,200 |
3,7 |
3,5 |
3,2 |
3,3 |
3,5 |
2,6 |
2,7 |
3,7 |
|
0,225 |
3,3 |
3,1 |
2,9 |
2,9 |
3,2 |
- |
- |
- |
|
0,250 |
3,0 |
2,8 |
2,6 |
2,6 |
2,8 |
- |
- |
- |
|
0,275 |
2,7 |
2,5 |
- |
- |
- |
- |
- |
- |
|
0,300 |
2,5 |
2,3 |
- |
- |
- |
- |
- |
- |
|
0,325 |
2,3 |
- |
- |
- |
- |
- |
- |
- |
|
0,350 |
2,1 |
- |
- |
- |
- |
- |
- |
- |
|
0,400 |
1,8 |
- |
- |
- |
- |
- |
- |
- |
Примечание. В таблице значения hмм выражены в м.
При расстоянии Lp в свету между столбами, расположенными в одном ряду, равном или большем 0,6hр, принимают k = 1. Величину hр в м определяют по формуле:
Если определенное по формуле (3.47) значение hр превышает глубину h заложения столбов в грунте, следует принимать hр = h.
При Lp < 0,6hр значение коэффициента k находят по формуле:
где b - коэффициент, зависящий от числа пр столбов в ряду.
Значения коэффициента b при различных значениях пр будут:
|
пр............... |
1 |
2 |
3 |
³4 |
|
b................ |
1 |
0,6 |
0,5 |
0,45 |
В тех случаях, когда в рядах разное количество столбов, значение k устанавливают для ряда с наибольшим их числом.
При расположении столбов в шахматном порядке и при расстоянии между осями соседних рядов, меньшем (d + 1) м, значение k устанавливают, как для ряда, полученного проектированием столбов фундамента на плоскость действия нагрузки (рис. 25).
3.35. В соответствии
с пп. 3.15
и 3.16
по формулам (3.7) - (3.9) определяют коэффициент деформации
и приведенную глубину
заложения
столбов в грунте.
3.36. Дальнейший расчет производят способами, учитывающими или не учитывающими деформацию плиты ростверка.
По формулам, не учитывающим деформацию плиты, рассчитывают фундаменты (на все виды нагрузок), у которых плита ростверка с примыкающим к ней телом опоры образует сплошной диск с высотой hп (рис. 26,а), удовлетворяющей условию:
(3.49)
где lп - расстояние между осями крайних столбов в плоскости действия нагрузки.

Рис. 25. Схема для установления коэффициента k при шахматном порядке расположения столбов

Рис.
26. Схемы работы фундаментов:
а-общий случай действия на фундамент внешней нагрузки; б-случай действия
на фундамент только горизонтальной нагрузки
Расчет фундаментов на действие одной горизонтальной нагрузки (рис. 26,б) может быть выполнен по формулам, не учитывающим деформацию плиты ростверка, при выполнении неравенства:
(3.50)
где Iр - момент инерции бетонного сечения плиты ростверка;
Iс - суммарный момент инерции бетонного сечения всех столбов, расположенных в одном ряду, перпендикулярном плоскости действия нагрузки;
L - расстояние между осями столбов в плоскости действия нагрузки;
lм - расчетная длина столбов на изгиб, определяемая по формуле:
в которой hм - глубина расположения условного жесткого закрепления столба против его горизонтальных смещении и поворотов.
При столбах, опертых на нескальный грунт или скальную породу (без забуривания в последнюю), глубину hм находят по графику (рис. 27) в зависимости от коэффициента деформации a. При забуренных в скалу столбах hм принимают равной глубине расположения поверхности скальной породы, но не более величины, которая на графике (см. рис. 27) соответствует значению коэффициента a.

Рис. 27. График зависимости hм = f(a)
3.37.
Расчет фундаментов как с учетом, так и без учета деформации плиты ростверка
выполняют основным и приближенным способами. Основные способы применяют при
любых относительных жесткостях столбов и грунтовых условиях (в том числе и для
расчета фундаментов со столбами, нижние концы которых забурены в скальную
породу). Приближенные способы, являющиеся более простыми, могут использоваться
для расчета фундаментов со столбами, имеющими приведенную глубину
и опертыми на
нескальный грунт.
Приводимые ниже формулы основного и приближенною способов, не учитывающих деформацию плиты ростверка, применимы для расчета фундаментов, имеющих хотя бы одну вертикальную плоскость симметрии, при условии, что нагрузки расположены либо в плоскости симметрии, либо в плоскости, ей перпендикулярной и проходящей через центр тяжести столбчатого основания. В более сложных случаях расчет может быть выполнен по формулам действующих технических указаний по проектированию свайных ростверков с использованием значений r1, r2, r3 и r4, определенных в соответствии с пп. 3.39-3.41.
Основной и приближенный способы, учитывающие деформации плиты ростверка, применимы для расчета фундаментов, имеющих хотя бы одну плоскость симметрии, при условии действия нагрузки в этой плоскости.
3.38. Собранную внешнюю нагрузку приводят к точке О, расположенной в центре тяжести столбчатого основания в уровне подошвы плиты ростверка, и раскладывают на вертикальную силу Р, горизонтальную силу Нх и момент Мy (рис. 28).
Силы Р и Нх положительны, когда их направления совпадают с положительными -направлениями осей z и х соответственно.
Момент Му положителен, когда он действует в направлении движения часовой стрелки при взгляде на точку О с положительного конца оси у.
3.39. В соответствии с п. 3.18 по формулам (3.10) или (3.11) определяют единичные перемещения dнн, dмн = dнм и dмм (в уровне поверхности грунта) столбов со свободными верхними концами (см. рис. 21).

Рис. 28. Схема приведенной внешней нагрузки при расчете фундаментов с жесткой плитой

Рис. 29. Схемы перемещений столба со свободным верхним концом от единичных усилий, приложенных на уровне низа плиты ростверка
3.40. Вычисляют единичные перемещения d1, d2 и d3 (в уровне низа плиты ростверка) столбов со свободными верхними концами (рис. 29) по формулам:
3.41. Реакции r1, r2, r3 и r4 от единичных перемещений столбов (рис. 30) вычисляют по формулам:

Рис. 30. Схемы деформации столба, соответствующие реакциям r1, r2, r3 и r4
В формуле (3.53):
F и Fосн - соответственно площади столба и его основания;
С - коэффициент постели фундамента, устанавливаемый в соответствии с п. 3.18;
кn - коэффициент, учитывающий уменьшение осадок основании (при одних и тех же величинах давлении) с уменьшением площади подошвы столбов.
Значение коэффициента кn принимают равным:
но не более кn = 1.
В формулу (3.55) подставляют диаметр dосн основания столба, выраженный в м.
3.42. Горизонтальное перемещение a низа плиты ростверка и угол b ее поворота относительно оси у определяют по формулам:
где n - количество столбов фундамента;
x - расстояние (с учетом знака) в плане от центра сечения столба до оси у, перпендикулярной плоскости действия нагрузки (см. рис. 28).
Знак S означает суммирование по всем столбам фундамента. Перемещения a и b положительны, когда их направления совпадают с положительными направлениями Нх и Му соответственно.
3.43. Горизонтальное смещение a' верха опоры определяют по формуле:
где dоп -горизонтальное смещение верха опоры за счет деформации ее надфундаментной части.
3.44. Продольную силу N, поперечную силу Н и изгибающий момент Мв, действующие в верхнем сечении столба (совпадающем с подошвой плиты ростверка), находят по формулам:
Сила N положительна, когда она вызывает сжатие столба. За положительные направления усилий N и Мв, передаваемых от плиты ростверка на головы столбов, принимают на правления, совпадающие с положительными направлениями перемещении a и b соответственно.
3.45.
Изгибающий момент
и поперечную
силу Н1, действующие в сечении столба, расположенном в
уровне поверхности грунта, находят по формулам:
3.46. Дальнейший расчет фундамента выполняют в соответствии с пп. 3.19, 3.21-3.23 по формулам (3.14), (3.16) - (3.24).
3.47. Внешнюю нагрузку приводят к точке О в соответствии с указаниями п. 3.38.
3.48. Перемещения плиты ростверка и усилия, действующие в верхних сечениях столбов, определяют в предположении, что столбы в нижней части имеют два жестких закрепления: одно против продольного смещения, расположенное на расстоянии lN, а другое против поперечных смещений и поворотов, расположенное на расстоянии lм от подошвы плиты ростверка (рис. 31).
Расчетную длину столба lN на сжатие определяют по формуле:
Входящие в формулу (3.62) величины пояснены в п. 3.41.
Расчетную длину столба lм на изгиб вычисляют по формуле (3.51), приняв глубину hм расположения (от поверхности грунта) соответствующего жесткого закрепления в соответствии с графиком (см. рис. 27).

Рис. 31. Схема приближенного расчета фундаментов с жесткой плитой ростверка
3.49. Горизонтальное перемещение a низа плиты ростверка и угол b ее поворота, а также продольную силу N, изгибающий момент Мв и поперечную силу Н, действующие в верхнем сечении каждого столба, находят по формулам*:
где п - количество столбов фундамента;
-радиус инерции поперечного сечения столба;
Iр - величина, определяемая по формуле:
(3.64)
* Формулы (3.63) предложены инженером Ленгипротрансмоста Д.А. Зеликовичем.
3.50. Горизонтальное перемещение a' верха опоры определяют по формуле (3.59).
3.51. По формуле (3.61) находят изгибающий момент М и поперечную силу H1, действующие в сечении столба на уровне поверхности грунта.
3.52.
Дальнейший расчет фундаментов зависит от приведенной глубины заложения столбов.
При
его выполняют в
соответствии с пп. 3.24,
3.25
и 3.27
по формулам (3.25)-(3.29) и (3.32); при
- в соответствии с
пп. 3.31-3.33
по формулам (3.38) -(3.45).
3.53. Нагрузки на фундамент устанавливают в результате расчета надфундаментной части опоры.
3.54. В соответствии с п. 3.18 по формулам (3.10) или (3.11) определяют единичные перемещения dнн, dмн = dнм и dмм (в уровне поверхности грунта) столбов со свободными верхними концами (см. рис. 21).
3.55. Фундамент рассчитывают, как раму с ригелем (плитой ростверка) конечной жесткости и со стойками (столбами), имеющими на уровне поверхности грунта упругую заделку, которая от единичной горизонтальной силы смещается по горизонтали на величину dнн и поворачивается на угол dмн (рис. 32,а), от единичного момента смещается по горизонтали

Рис. 32. Схемы перемещении упругой заделки
столба, расположенном на уровне поверхности грунта:
а-от поперечной силы Н = 1; б-от
момента М = 1; в-от продольной силы N = 1
на величину dмн = dнм и поворачивается на величину dмм (рис. 32,б) и от единичной вертикальной силы смещается по вертикали на величину dNN (рис. 32,в), определяемую формулой:
Входящие в формулу (3.65) величины пояснены в п. 3.41.
Расчет фундамента
как рамной системы рекомендуется производить методом сил, при этом деформацию
ригеля (плиты ростверка) учитывают лишь на участках между столбами в свету. В
результате такого расчета определяют перемещения фундамента и внутренние
усилия, действующие в поперечных сечениях его надземной части, в том числе и
продольную силу N, действующую в верхнем сечении каждого из столбов, изгибающий
момент
и поперечную силу H1, действующие в поперечном
сечении каждого столба на уровне поверхности грунта.
3.56. Дальнейший расчет фундамента выполняют в соответствии с пп. 3.19, 3.21-3.23 по формулам (3.14), (3.16) - (3.24).
3.57. Нагрузки на фундамент устанавливают в результате расчета надфундаментной части опоры.
3.58. Перемещения фундамента и усилия, действующие в верхних сечениях столбов, определяют в результате расчета рамы со стойками (столбами), которые в нижней части имеют два жестких закрепления: одно против продольного смещения, расположенное на расстоянии lN, а другое против поперечных смещений и поворотов, расположенное на расстоянии lм от оси ригеля (рис. 33).
Расчетную длину столба lN на сжатие определяют по формуле:
где hп - высота поперечного сечения ригеля (плиты ростверка).

Рис. 33. Схема приближенного расчета фундаментов с гибкой плитой
Остальные величины, входящие в формулу (3.66), пояснены в п. 3.41.
Расчетную длину столба lм на изгиб находят по формуле:
(3.67)
Глубину hм расположения соответствующего жесткого закрепления (от поверхности грунта) устанавливают по графику (см. рис. 27) в зависимости от значения коэффициента деформации a.
Расчет фундамента
как рамной системы рекомендуется производить методом сил, при этом деформацию
ригеля (плиты ростверка) учитывают лишь на участках между столбами в свету. В
результате такого расчета определяют перемещения фундамента и внутренние
усилия, действующие в поперечных сечениях его надземной части, в том числе и
продольную силу N, действующую в верхнем сечении каждого из столбов, изгибающий
момент
и поперечную
силу H1,
действующие в поперечном сечении на уровне поверхности грунта.
3.59. Дальнейший расчет фундаментов выполняют в соответствии с п. 3.52.
3.60. В настоящей главе даются рекомендации по расчету симметричных, имеющих хотя бы одну вертикальную плоскость симметрии фундаментов (ростверков) с жесткими плитами.
3.61. Расчетную ширину bр столба определяют по формуле (3.46). Коэффициент k, входящий в эту формулу, принимают одинаковым для всех столбов фундамента и равным меньшей из соответствующих величин, подсчитанных для столбов, расположенных в каждой из вертикальных плоскостей, параллельных плоскости действия нагрузок. Величину коэффициента k для столбов, расположенных в каждой из плоскостей, устанавливают как для ряда вертикальных столбов (см. п. 3.34) с размером Lp, равным среднему расстоянию в свету между столбами на уровне поверхности грунта.
3.62. Коэффициент
деформации a и приведенную (безразмерную)
глубину
заложения столбов в грунте определяют в соответствии с пп. 3.15
и 3.16
по формулам (3.7) - (3.9). При определении значения
не делают различия между наклонными и вертикальными столбами
и в формуле (3.9) глубину h
заложения столба
в грунте принимают равной глубине заложения фундамента.
3.63. Величины единичных перемещений столбов со свободными верхними концами в уровнях поверхности грунта (dнн, dмн = dнм и dмм) и низа плиты ростверка (d1, d2 и d3), а также значения реакций r1, r2, r3 и r4 от единичных перемещений столбов находят в соответствии с пп. 3.18, 3.40 и 3.41 по формулам (3.10) или (3.11) -(3.13) и формулам (3.52) - (3.55).
Во всех случаях расчета, за исключением случаев расчета фундаментов со столбами, забуренными в скальную породу, значения r1, r2, r3 и r4 могут быть вычислены и по более простым формулам:
Формулы (3.68) основаны на предположении, что каждый столб в нижней части имеет два жестких закрепления (рис. 34). Расчетные длины на сжатие ln и изгиб lм определяют в соответствии с п. 3.48 по формулам (3.62) и (3.51).
При определении перемещений di, и реакций ri не делают различия между наклонными и вертикальными столбами и принимают величину h равной глубине заложения фундамента в грунте, а величину l0 - расстоянию от подошвы плиты ростверка до поверхности грунта.
3.64. Расчет ростверков на нагрузки, действующие в плоскости их симметрии, выполняют по плоской схеме, получаемой проектированием ростверка на плоскость действия нагрузок. При более сложном действии нагрузок расчет может быть произведен по формулам действующих технических указаний по проектированию спайных ростверков мостовых опор с использованием значений r1, r2, r3 и r4, определенных в соответствии с п. 3.63 настоящих «Технических указаний».
3.65. При расчете ростверка по плоской схеме принимают систему координат с горизонтальной осью х, вертикальной осью z и центром в произвольной точке О, расположенной в уровне подошвы плиты (рис. 35,а). В случае, когда плоская схема имеет вертикальную ось симметрии, точку О следует принимать расположенной на этой оси.

Рис. 34. Схемы деформации столба с условными жесткими закреплениями, соответствующие реакциям r1, r2, r3 и r4

Рис. 35. Схемы, используемые при расчете фундаментов с наклонными
столбами:
а-для определения перемещений ростверка и внутренних усилий в верхних
сечениях столбов; б-для определения внутренних усилий в сечениях столбов и
давлений на грунт, возникающих на разных глубинах от поверхности грунта
Внешнюю нагрузку приводят к точке О и раскладывают на вертикальную силу Р, горизонтальную силу Нх и момент Му. Силы Р и Нх положительны, когда их направления совпадают с положительным направлением осей z и х соответственно. Момент Му положителен, когда он действует в направлении, в котором надо повернуть на 90° ось к (вокруг точки О), чтобы положительные направления осей х и z совпали (см. рис. 35, а).
3.66. При плоской схеме с вертикальной осью симметрии горизонтальное смещение a низа плиты и угол b ее поворота относительно точки О определяют по формулам (3.56) и (3.57), а вертикальное смещение с* точки О плиты - по формуле:
*Определение смещения с по формуле (3.69) или в результате решения системы уравнений (3.70) не устраняет необходимости расчета вертикальной осадки основания фундамента в соответствии с п. 3.3.
При несимметричной плоской схеме перемещения a, с и b определяют в результате решения системы уравнений:
Величины, входящие в формулы (3.56) и (3.57), а также в уравнения (3.70), вычисляют по формулам:
(3.72)
где x - расстояние (с учетом знака) от точки О до пересечения оси столба с подошвой плиты ростверка;
j - угол между осью столба и вертикалью, который принимают положительным, когда для совмещения оси столба с вертикалью ее надо повернуть на острый угол в направлении действия положительного момента Му (см. рис. 35,а);
Перемещения a, с и b положительны, когда их направления совпадают с положительными направлениями Нх, Р и Му соответственно.
3.67. Продольную силу N, поперечную силу Н и изгибающий момент Мв в верхнем сечении каждого столба определяют по формулам:
Правило знаков для N, Н и Мв дано в п. 3.44.
3.68. Дальнейший расчет выполняют в соответствии с пп. 3.45, 3.19, 3.21-3.23 по формулам (3.61), (3.14), (3.16) - (3.24), как для вертикальных столбов, погруженных в грунт на глубину h и загруженных на расстоянии l0 от поверхности грунта продольной силой N, поперечной силой Н и моментом Мв (см. рис. 35,б).
Как правило, дальнейший расчет может быть выполнен также по приближенным формулам:
а) при опирании
столбов на нескальный грунт или скальную породу (без забуривания в последнюю) и
при
- по формулам (3.25)-(3.29) и (3.32) пп. 3.24,
3.25
и 3.27;
б) при опирании
столбов на нескальный грунт и при
-по формулам (3.38)-(3.45) пп. 3.31-3.33.
Входящие в некоторые
из перечисленных формул величины изгибающего момента
и поперечной
силы H1 в
сечении столба на уровне поверхности грунта вычисляют по формулам (3.61).
3.69. Горизонтальное смещение a' верха опоры определяют по формуле (3.59).
Требуется проверить прочность основания и надежность заделки в грунте фундамента опоры моста (рис. 36,а и б) и горизонтальное смещение ее верха, а также определить величину наибольшего изгибающего момента в поперечном сечении каждого из столбов фундаментной части опоры.
Расчет следует произвести при следующих данных.
На опоре установлены балочные пролетные строения пролетом l = 66 м.
Расчетные значения внешних нагрузок составляют: Р1 = 1400 т; Т1 = 133 т; Т2 = 160 т и Т3 = 65 т. Нормативные значения горизонтальных внешних нагрузок равны: Т1 = 115 т; Т2 = 160 т и Т3 = 54 т.
Горизонтальные нагрузки являются временными, так как они вызваны торможением подвижного состава, давлением ветра и льда.
Столбы опоры представляют собой оболочки, заполненные бетоном. Наружный диаметр d оболочек фундаментной части опоры равен 3 м, толщина стенки - 12 см. Наружный диаметр оболочек надфундаментной части равен 2,4 м, толщина стенки - 12 см. Марка бетона оболочек - 400, а заполнения - 200.

Рис. 36, а. Расчетная схема фундамента опоры моста и эпюры Mz и sz при нагрузках, действующих вдоль оси моста

Рис. 36, б. Расчетная схема фундамента опоры моста и эпюры Mz и sz при нагрузках, действующих поперек оси моста
Столбы прорезают толщу мелкозернистого песка средней плотности с углом внутреннего трения jн = 33° и опираются на плотный мелкозернистый песок. Расчетное сопротивление основания столбов R = 20 кг/см2; расчетное сопротивление сил трения грунта о боковую поверхность столбов t = 3 т/м2.
Расчет фундамента на нагрузки, действующие вдоль оси моста
Так как оси столбов расположены в одной плоскости, перпендикулярной плоскости действия нагрузки, фундамент рассчитываем в соответствии с пп. 3.13-3.33.
Для упрощения весь
расчет, включая и определение горизонтального смещения а' верха опоры,
производим на расчетные нагрузки. Горизонтальное смещение от нормативных
нагрузок получим умножением определенного расчетом значения а' на
отношение нормативного и расчетного значений горизонтальной силы Т1,
равное
.
Определяем расчетным вес Gоп надфундаментной части опоры:

При определении Gоп в соответствии с СН 200-62 приняты объемный вес железобетона 2,5 т/м3 и коэффициент перегрузки 1,1.
Согласно п. 3.13 вычисляем продольную силу N, действующую на голову столба диаметром 3 м, а также изгибающий момент Мв и поперечную силу Н1, действующие в сечении столба на уровне поверхности грунта:

По формуле (3.6) находим расчетную ширину столба:
bр = 0,9(3 + 1) = 3,6 м.
В соответствии с пп. 153 и 228 СН 200-62 расчетные модули упругости бетона принимаем равными:
а) для оболочек: 0,8´3,5´106 = 2,8´106 т/м2;
б) для заполнения: 0,8´2,65´106 = 2,12´106 т/м2.
Вычисляем жесткость столба на изгиб:
![]()
В соответствии с п. 3.6 для мелкозернистого песка средней плотности принимаем коэффициент пропорциональности т = 500 т/м4.
По формуле (3.8) получаем:
![]()
Из табл. 4 следует, что значению К = 19,5 м-5 соответствует a = 0,1812 м-1.
По формуле (3.9) определяем приведенную
(безразмерную) глубину
заложения
столба в грунте:
![]()
Согласно п. 3.17 дальнейший расчет может быть выполнен основным способом, являющимся универсальным, и приближенным способом, который охватывает расчет фундаментов со столбами, имеющими приведенную глубину h > 2,5 и опертыми на нескальный грунт.
а) Основной способ расчета. Вычисляем величины, входящие в формулы (3.11) для определения единичных перемещенийdнн, dмн = dнм и dмм:
aEI = 0,1812´9,21´106 = 1,669´106 тм;
a2EI = 0,1812´1,669´106 = 0,3024´106 т;
a3EI = 0,1812´0,3024´106 = 0,5479´105 т/м.
Значение
в соответствии
с п. 3.18
округляем и принимаем
. Принимая в формулах (3.11) Kh = 0 (см. п.
3.18)
и используя табличные значения отношений
(см табл. 6),
имеем:

* Такое округление
величины
означает, что при
определении перемещений фундамента, внутренних усилий в сечениях столбов и
давлении на грунт глубина заложения фундамента принимается не 17,0 м, a
(см. рис. 36, а), что
практически не может отразиться на результатах расчета.
По формулам (3.14) находим горизонтальное перемещение у0 и угол поворота j0 сечения столба, расположенного в уровне поверхности грунта:
уо= 1000´5,813´10-6 + 66,5´4,977´10-5 = 9,123´10-3 м;
j0 = 1000´1,089´10-6 + 66,5´5,813´10-6 = 1,476´10-3.
Определяем жесткость на изгиб EI столба диам. 2,4 м:
![]()
Горизонтальное смещение d0 верха опоры вследствие деформации ее тела и части фундамента, расположенной выше поверхности грунта, определяем как прогиб консольного стержня переменного сечения (рис. 37), выражаемый формулой:

где
![]()
Подставляя численные значения величин в формулу для определения d0, получаем:

По формуле (3.15) определяем горизонтальное смещение а' верха опоры:
a' = 9,123´10-3 + 1,476´10-3(7 + 8) + 9,8´10-3 = 41,0´10-3 м = 4,1 см.
Условие п. 55 СН 200-62, ограничивающее горизонтальное смещение верха опоры, удовлетворяется. Действительно,
![]()
По формуле (3.16) получаем следующее выражение для определения изгибающих моментов Мz, действующих в поперечных сечениях столба на разных глубинах z от поверхности грунта:

Дальнейшие вычисления по определению величин Мz сведены в табл. 10. По результатам этих вычислений на рис. 36,а построена эпюра изгибающих моментов в поперечных сечениях столба. Из эпюры следует, что Mmax @ 1150 тм.

Рис. 37. Расчётная схема для определения горизонтального смещения верха опоры вследствие деформации ее тела и части фундамента, расположенной выше поверхности грунта
Следует отметить, что момент Мh в нижнем сечении столба (в его основании) получился отрицательным из-за недостаточной точности вычислений*. При определении напряжении по подошве фундамента можно принять Мh = 0.
* Ошибка при
определении Мh объясняется тем,
что его величина, выраженная однозначным числом, определяется как
арифметическая разность пятизначных чисел. В последних при принятой точности
вычислений достоверными являются первые четыре цифры, и поэтому ошибка при
определении Мh не может превышать 10 тм. Так как момент Мh = 10 тм вызывает в основании
фундамента не имеющие значения напряжения, равные всего лишь
, расчет может не уточняться, и момент Мh может быть принят равным нулю.
Из формулы (3.18) получаем следующее выражение для определения горизонтальных давлении sz на грунт, возникающих по контакту с боковой поверхностью столбов на разных глубинах z от поверхности грунта:

Дальнейшие
вычисления по определению величин sz сведены в табл. 11. По результатам этих
вычислений на рис. 36,а
построена соответствующая эпюра, из которой следует, что наибольшее
горизонтальное давление на передней части боковой поверхности столбов
т/м2 возникает на глубине z1 = 4,2 м.
Так как z1 = 4,2 м < h/3 = 20/3 = 6,7 м, в соответствии с п. 3.11 проверке подлежит выполнение условия (3.5), являющегося условием надежности заделки фундамента в грунте.
Условие (3.5) выполняется. Действительно, подставляя в неравенство (3.5) значения коэффициентов h1 = h2 = 1, расчетные значения угла внутреннего трения jр = 0,9´33° = 30° и сцепления ср = 0, а также величину объемного веса грунта с учетом гидростатического давления* g =1 т/м3, имеем:
![]()
* Гидростатическое давление учитывается в соответствии с п. 112 СН 200-62.
Определение изгибающих моментов Мz
|
z, м |
|
А3 |
B3 |
C3 |
D3 |
2759А3 |
2463B3 |
1000С3 |
367D3 |
Mz, тм |
|
1 |
2 |
3 |
4 |
5 |
6 |
7 |
8 |
9 |
10 |
11 |
|
2,77 |
0,5 |
-0,021 |
-0,005 |
0,999 |
0,500 |
-58 |
-12 |
999 |
184 |
1147 |
|
5,54 |
1,0 |
-0,167 |
-0,083 |
0,975 |
0,994 |
-461 |
-204 |
975 |
365 |
1083 |
|
8,31 |
1,5 |
-0,559 |
-0,420 |
0,811 |
1,437 |
-1542 |
-1034 |
811 |
527 |
830 |
|
11,08 |
2,0 |
-1,295 |
-1,314 |
0,207 |
1,646 |
-3573 |
-3236 |
207 |
604 |
474 |
|
14,37 |
2,6 |
-2,621 |
-3,600 |
-1,877 |
0,917 |
-7231 |
-8867 |
-1877 |
337 |
96 |
|
16,62 |
3,0 |
-3,541 |
-6,000 |
-4,688 |
-0,891 |
-9770 |
-14778 |
-4688 |
-327 |
-7 |
Определение горизонтальных давлении sz
|
z, м |
|
А1 |
B1 |
C1 |
D1 |
25,17А1 |
22,47B1 |
9,124C1 |
3,349D1 |
(7)-(8)+(9)-(10) |
sz, т/м2 |
|
1 |
2 |
3 |
4 |
5 |
6 |
7 |
8 |
9 |
10 |
11 |
12 |
|
2,77 |
0,5 |
1,000 |
0,500 |
0,125 |
0,021 |
25,17 |
11,24 |
1,14 |
0,07 |
15,14 |
7,6 |
|
5,54 |
1,0 |
0,992 |
0,997 |
0,449 |
0,167 |
24,97 |
22,40 |
4,55 |
0,56 |
7,68 |
7,7 |
|
8,31 |
1,5 |
0,937 |
1,468 |
1,115 |
0,560 |
23,58 |
32,99 |
10,17 |
1,88 |
2,64 |
4,0 |
|
11,08 |
2,0 |
0,735 |
1,823 |
1,924 |
1,308 |
18,50 |
40,96 |
17,55 |
4,38 |
-0,53 |
-1,1 |
|
14,37 |
2,6 |
0,033 |
1,755 |
2,907 |
2,724 |
0,83 |
39,43 |
26,52 |
9,12 |
-2,96 |
-7,7 |
|
16,62 |
3,0 |
-0,928 |
1,037 |
3,224 |
3,858 |
-23,36 |
23,30 |
29,42 |
12,92 |
-4,32 |
-11,7 |
Определяем расчетный вес столба G с учетом гидростатического давления*, расчетную силу трения Т грунта по наружной поверхности столба, а также площадь основания столба Focн:
![]()
Т = 3,14´3´17´3 = 480 т;
![]()
* Гидростатическое давление учитывается в соответствии с п. 112 СН 200-62.
По формуле (3.20) вычисляем продольную силу Nh в основании столба, а затем по формуле (3.19) - величину давления в основании фундамента:
Nh = 860 + 314 – 480 = 694 т;
smax = smin = 694/7,05 = 99 m/м2 = 9,9 кг/см2.
Прочность основания фундамента обеспечена. Действительно, 9,9 кг/см2 < 20 кг/см2.
б) Приближенный способ расчета. Приближенный способ отличается от основного определением давлений в основании фундамента, проверкой горизонтальных давлений фундамента на грунт, а также вычислением наибольшего момента Мmах в поперечных сечениях столбов.
В соответствии с пп.
3.24
и 3.31
вычисляем величины, входящие в формулу (3.38)
для определения давлений в основании фундамента. Приняв согласно п. 3.6
для плотного мелкозернистого песка, расположенного в основании фундамента,
, имеем:
![]()
![]()
![]()
x1 = 3.5 - 3,1 = 0,4.
По формуле (3.38) получаем:
![]()
В соответствии с п. 3.32 по формулам (3.41)-(3.43)
определяем глубину h0 и горизонтальное давление
на грунт, возникающее на глубине
:
![]()
x2 = 1,5 - 0,2´3,1 = 0,88;
![]()
![]()
Условие (3.40) выполняется. Действительно,
![]()
В соответствии с п. 3.33
по табл. 9 устанавливаем, что
значениям a = 0,1812 и
соответствует hмм = 3,9 м и по формуле (3.44) определяем величину наибольшего
момента в сечении столба:
Мmax=Мн = 1000 + 66,5´3,9 = 1260 тм.
Результаты расчета опоры приближенным способом достаточно близки к соответствующим результатам, полученным по основному способу.
Расчет фундамента на нагрузки, действующие поперек оси моста
Так как столбы вертикальны и их оси расположены в двух плоскостях, перпендикулярных плоскости действия нагрузки, фундамент рассчитываем и соответствии с пп. 3.34-3.59.
В связи с небольшой разницей в расчетных и нормативных значениях горизонтальной нагрузки, весь расчет, включая и определение горизонтального смещения верха опоры, производим, на расчетные нагрузки.
В соответствии с п. 3.34 по формуле (3.47) определяем величину hp:
hр = 3(3 + 1) = 12 м.
При двух столбах в ряду коэффициент b = 0,6.
По формуле 3.48 находим значение коэффициента к взаимного влияния столбов:
![]()
Расчетную ширину bр столба определяем по формуле (3.46):
bр = 0,9(3 + 1)´0,75 = 2,7 м.
Формула (3.8) даст:
![]()
Из табл. 4 следует, что значению К = 14,65 м-5 соответствует a = 0,1711 м-1.
По формуле (3.9) определяем приведенную
(безразмерную) глубину
заложения
столба в грунте:
![]()
Так как в плоскости
действия нагрузки надфундаментная часть опоры представляет собой жесткий диск,
фундамент рассчитываем как ростверк с плитой бесконечно большой жесткости (без
учета деформации плиты). В связи с тем, что фундамент оперт на нескальный грунт
и приведенная глубина заложения столбов
, дальнейший его расчет может быть выполнен не только
основным способом, но и приближенным (см. п. 3.37).
а) Основной способ расчета. В соответствии с п. 3.38 определяем вертикальную силу Р, горизонтальную силу Нх и момент Му, действующие в сечении фундамента в уровне верха столбов d = 3 м:
Р = 1400 + 320 = 1720 т;
Нх = 160 + 65 = 225 т;
Му= 65´13 = 845 тм.
Вычисляем величины, входящие в формулы (3.11) для определения единичных перемещений dнн, dмн = dнм и dмм столбов:
aEI = 0,1711´9,21´106 = 1,624´106 тм;
a2EI = 0,1711´1,624´106 = 2,779´103 т;
a3EI = 0,1711´2,779´105 = 4,755´104 т/м.
Значение
согласно п. 3.18
округляем и принимаем
. Полагая в формулах (3.11)
Кh = 0 (см. п. 3.18)
и используя табличные значения
(см. табл. 6), имеем:

* Такое округление
величины
означает, что при
определении перемещений фундамента, внутренних усилий в сечениях столбов и
давлении на грунт глубина заложения фундамента принимается не 17,0 м, a
(см. рис. 36,б),
что практически не может отразиться на результатах расчета.
По формулам (3.52) вычисляем единичные перемещения d1, d2 и d3 столбов:
![]()
![]()
![]()
Находим величины, входящие в формулу (3.53) для определения значения реакции r1:
![]()
С = тоснh = 780´17 = 13200 т/м3;
![]()
Из формулы (3.53) следует:

Вычисляем значение знаменателя в формулах (3.54) для определения реакций r2, r3 и r4:
![]()
Из формул (3.54) следует:

По формулам (3.58) и (3.57) определяем величины, входящие в выражения (3.56) горизонтального смещения a и угла поворота b сечения фундамента на уровне верха столбов d = 3,0 м:


Из выражении (3.56) следует:
a = (5,669´106´225 + 2,858´105´845)´10,08´10-12 = 1,529´10-2 м;
b = (3,192´104´845 + 2,858´105´225)´10,08´10-12 = 0,9201´10-3.
По формуле (3.59), приняв dоп = 0, определяем горизонтальное смещение верха опоры:
a' = 1,529´10-2 + 0,9201´10-3´8 = 2,27´10-2 м = 2,3 см.
По формуле (3.60) определяем продольную силу N, поперечную силу Н и изгибающий момент Мв, действующие в верхнем сечении более загруженного столба:
![]()
Н= 1,596´104´1,529´10-2 - 1,429´105´0,9201´10-3 = 112,5 т;
Мв = - l,429´105´1,529´10-2 + l,811´106´0,9201´10-3 = - 2182 + 1666= - 516 тм.
По формулам (3.61) определяем изгибающий момент
и поперечную
силу Н1, действующие в сечении столба на уровне
поверхности грунта:
![]()
Н1 = 112,5 т.
По формулам (3.14) находим горизонтальное смещение у0 и угол поворота j0 сечения столба на уровне поверхности грунта:
у0 = 272´6,326´10-6 + 112,5´5,735´10-5 = 8,173´10-8 м;
j0 = 272´1,119´10-6 + 112,5´6,326´10-6 = 1,016´10-3.
По формуле (3.16) получаем следующее выражение для определения изгибающих моментов Mz, действующих в поперечных сечениях столба на разных глубинах z от поверхности грунта:

Дальнейшие вычисления по определению величин Mz сведены в табл. 12. По результатам этих вычислений на рис. 36,б построена эпюра изгибающих моментов в поперечных сечениях столба. Из эпюры следует, что наибольший изгибающий момент Мmax @ 680 тм.
По формуле (3.18) получаем следующее выражение
для определения горизонтальных давлений sz
на грунт,
возникающих по контакту с боковой поверхностью столбов на разных глубинах
от поверхности
грунта:

Дальнейшие
вычисления по определению величин sz сведены в табл. 13. По результатам этих
вычислений на рис. 36,б
построена соответствующая эпюра, из которой следует, что наибольшее
горизонтальное давление
возникает на глубине z1 = 5,0 м.
Так как z1 = 5,0 м < h/3 = 17/3 = 5,7 м, в соответствии с п. 3.11, проверке подлежит выполнение условия (3.5), являющегося условием надежности заделки фундамента в грунте.
Условие (3.5) выполняется. Действительно,
![]()
По формуле (3.20) вычисляем продольную силу Nh в основании столба, а затем по формуле (3.19) величину наибольшего давления в основании фундамента:
Nh = 1190 + 314 – 480 = 1024 т;
![]()
Прочность основания фундамента обеспечена. Действительно, smax = 15 кг/см2 < R = 20 кг/см2.
б) Приближенный способ расчета. По формуле (3.62) определяем расчетную длину столба на сжатие:
![]()
В соответствии с п. 3.48 расчетную длину lм столба на изгиб вычисляем по формуле (3.51), предварительно установив на графике (см. рис. 27), что a = 0,1711 м-1 соответствует глубина hм = 13,1 м:
lм = 74 + 13,1 = 20,1 м.
Определение изгибающих моментов Mz
|
z, м |
|
А3 |
B3 |
C3 |
D3 |
2270А3 |
1650B3 |
272С3 |
658D3 |
Mz, тм |
|
1 |
2 |
3 |
4 |
5 |
6 |
7 |
8 |
9 |
10 |
11 |
|
2,92 |
0,5 |
-0,021 |
-0,005 |
0,999 |
0,500 |
-48 |
-8 |
272 |
329 |
561 |
|
5,84 |
1,0 |
-0,167 |
-0,083 |
0,975 |
0,994 |
-379 |
-137 |
265 |
654 |
677 |
|
8,76 |
1,5 |
-0,559 |
-0,420 |
0,811 |
1,437 |
-1270 |
-693 |
221 |
946 |
590 |
|
11,68 |
2,0 |
-1,295 |
-1,314 |
0,207 |
1,646 |
-2940 |
-2168 |
56 |
1083 |
367 |
|
15,20 |
2,6 |
-2,621 |
-3,600 |
-1,877 |
0,917 |
-5950 |
-5940 |
-511 |
603 |
82 |
|
17,52 |
3,0 |
-3,541 |
-6,000 |
-4,688 |
-0,891 |
-8038 |
-9900 |
-1275 |
-586 |
1 |
Определение горизонтальных давлений sz
|
z, м |
|
А1 |
B1 |
C1 |
D1 |
25,17А1 |
22,47B1 |
9,124C1 |
3,349D1 |
(7)-(8)+(9)-(10) |
sz, т/м2 |
|
1 |
2 |
3 |
4 |
5 |
6 |
7 |
8 |
9 |
10 |
11 |
12 |
|
2,92 |
0,5 |
1,000 |
0,500 |
0,125 |
0,021 |
23,88 |
8,68 |
0,36 |
0,15 |
15,71 |
7,85 |
|
5,84 |
1,0 |
0,992 |
0,997 |
0,499 |
0,167 |
23,69 |
17,30 |
1,43 |
1,15 |
8,97 |
8,97 |
|
8,76 |
1,5 |
0,937 |
1,468 |
1,115 |
0,560 |
22,38 |
25,47 |
3,19 |
3,87 |
3,97 |
5,95 |
|
11,68 |
2,0 |
0,735 |
1,823 |
1,924 |
1,308 |
17,55 |
31,63 |
5,50 |
9,04 |
0,46 |
0,92 |
|
15,20 |
2,6 |
0,033 |
1,755 |
2,907 |
2,724 |
0,79 |
30,45 |
8,31 |
18.83 |
-2,52 |
-6,55 |
|
17,52 |
3,0 |
-0,928 |
1,037 |
3,225 |
3,858 |
-22,16 |
17,99 |
9,22 |
26,67 |
-4,26 |
-12,8 |
Определяем величины, входящие в формулы (3.63):
![]()
![]()
По формулам (3.63) определяем перемещения a и b, а также внутренние усилия N, Н и Мв в верхнем сечении более нагруженного столба:

По формуле (3.59), приняв dоп = 0, определяем горизонтальное смещение верха опоры:
a' = 1,87´10-2 + 1,05´10-3´8 = 2,71´10-2 м = 2,7 см.
В соответствии с п. 3.51 по формулам (3.61) находим изгибающий момент Мв и поперечную силу Н1 в сечении столба на уровне поверхности грунта:
![]()
Определяем величины, необходимые для вычисления по формуле (3.38) наибольшего давления smax в основании фундамента (см. пп. 3.31 и 3.24):
![]()
![]()
x1 = 3,5 - 2,9 = 0,6.
Из формулы (3.38) следует:
![]()
В соответствии с п. 3.32 по формулам (3.41), (3.43) и (3.42) определяем глубину h0,
значение коэффициента x2 и горизонтальное давление
на грунт, возникающее
на глубине
:
![]()
x2 = 1,5 - 0,2´2,9 = 0,92;
![]()
![]()
Условие (3.40) удовлетворяется. Действительно,
![]()
В соответствии с п. 3.33
по табл. 9 устанавливаем, что
значениям a = 0,1711 м-1 и
соответствует hмм = 4,1 м, и по формуле (3.44) находим величину наибольшего момента в
поперечном сечении столба, на части его длины, расположенной в грунте:
Мн = Мmах = 137,5 + 112,5´4,1 = 600 тм.
Величины горизонтального смещения а' верха опоры, наибольшего давления smах в основании фундамента, наибольшего момента Мmах в поперечном сечении столба, а также результаты проверки горизонтальных давлений фундамента на грунт, полученные приближенным способом, близки к соответствующим величинам, вычисленным основным способом.
Для опоры, схема которой изображена на рис. 38, требуется проверить несущую способность столбов на продольные усилия и надежность их заделки в грунте, а также определить величину наибольшего изгибающего момента в поперечном сечении столбов и горизонтальное перемещение верха опоры.
Расчет следует произвести при следующих данных.
Расчетные внешние нагрузки, приведенные к точке О, расположенной в уровне низа плиты ростверка па пересечении двух плоскостей симметрии опоры, состоят из вертикальной силы P = 5000 т, горизонтальной силы Hх=500 т и момента Му = 3000 т. Сила Нх и момент Му вызваны временными, нагрузками, и их нормативные значения практически совпадают с расчетными.
Столбы представляют собой заполненные бетоном оболочки с наружным диаметром d = 1,6 м и с толщиной стенки d = 12 см. Марка бетона оболочек - 400, а заполнения - 200.
Столбы прорезают толщу тугопластичной супеси с углом внутреннего трения jн = 28° и сцеплением сн = 0,7 т/м2 и опираются на плотный мелкозернистый песок. Расчетное сопротивление основания столбов и сил трения грунта об их боковую поверхность, определенные с учетом коэффициента условии работы столбов т2 = 0,9 (см. табл. 1 приложения 21 к СП 200-62), соответственно равны R = 280 т/м2 и t = 3 т/м2.
Расчет фундамента
По формуле (3.47) определяем величину hр, необходимую для нахождения коэффициента k взаимного влияния столбов:
hр = 3(1,6 + 1) = 7,8 м.
Наименьшее расстояние (в свету на уровне поверхности грунта) между столбами, расположенными в одной вертикальной плоскости, параллельной плоскости действия нагрузок, составляет:
![]()

Рис. 38. Схема фундамента с наклонными оболочками
Так как Lp = 7,3 м > 0,6 hр = 0,6´7,8 = 4,7 м, принимаем k = 1 (см. п. 3.34).
По формуле (3.46) определяем расчетную ширину столба:
bp=0,9(1,6 + 1) = 2,34 м.
В соответствии с пп. 153 и 228 СН 200-62 расчетные модули упругости бетона принимаем равными:
а) для оболочек: 0,8´3,5´106 = 2,8´106 т/м2;
б) для заполнения: 0,8´2,65´106 = 2,12´106 т/м2.
Вычисляем жесткость столба на изгиб:
![]()
В соответствии с п. 3.6 для тугопластичной супеси средней плотности принимаем коэффициент пропорциональности т = 400 т/м4.
По формуле (3.8) получаем:
![]()
Из табл. 4 следует, что значению К = 119,0 м-5 соответствует коэффициент деформации a = 0,260 м-1.
По формуле (3.9) определяем приведенную
(безразмерную) глубину
заполнения
столба в грунте:
![]()
Вычисляем величины, входящие в формулу (3.62), для определения расчетной длины In столба на сжатие:
а) из формулы (3.55) следует:
![]()
б) жесткость столба на сжатие равна:
![]()
в) в соответствии с п. 3.6 для плотных мелкозернистых песков принимаем тосн = 1,3´600 = 780 т/м4 и по формуле (3.13) получаем величину коэффициента постели основания столбов:
С = 780´20 = 15600 т/м3;
г) площадь основания столба:
![]()
Подставляя полученные величины в формулу (3.62), получаем:
![]()
По графику рис. 27 устанавливаем, что значению a = 0,260 соответствует глубина расположения условной жесткой заделки столба hм = 8,6 м, и по формуле (3.51) находим расчетную длину lм столба на изгиб:
lм = 16 + 8,6 = 24,6 м.
По формулам (3.68) определяем реакции от единичных перемещений столбов:

В табл. 14 для всех рядов столбов фундамента даны значения координаты х пересечения осей столбов с подошвой плиты ростверка и угла j между осями столбов и вертикалью (см. п. 3.66). В данном случае имеются в виду ряды, состоящие из столбов, оси которых проектируются на плоскость действия нагрузки в одну линию (см. рис. 38). В табл. 14 также приведены данные по количеству столбов в каждом таком ряду и значения sinj и cosj.
Параметры, определяющие положение столбов в ростверке
|
№ рядов столбов |
Количество столбов в ряду |
х, м |
j |
sinj |
cosj |
|
1 |
1 |
-3,75 |
-11°19' |
-0,196 |
0,980 |
|
2 |
2 |
-1,25 |
-11°19' |
-0,196 |
0,980 |
|
3 |
2 |
-3,75 |
0 |
0 |
1 |
|
4 |
2 |
0 |
0 |
0 |
1 |
|
5 |
2 |
3,75 |
0 |
0 |
1 |
|
6 |
2 |
1,25 |
11°19' |
0,196 |
0,980 |
|
7 |
1 |
3,75 |
11°19' |
0,196 |
0,980 |
В соответствии с п. 3.66 для ростверков с симметричной плоской схемой горизонтальное смещение a плиты, угол b ее поворота относительно точки О и вертикальное смещение с этой точки определяются выражениями (3.56) и (3.69). Величины, входящие в эти выражения, находим по формулам (3.73), (3.71) и (3.57):
r0 = 0,558´105 – 0,635´103 = 0,552´105 т/м;
raa = 0,552´105´6´0,1962 + 12´0,635´103 = 20,32´103 т/м;
rbb = 0,552´105(2´3,752´0,9802 + 4´1,252´0,9802 + 4´3,752) +0,635´103(6´3,752 + 4´1,252) +2´
´0,783´104(2´3,75´0,196 + 4´1,25´0,196) + 12´1,28´105 = 65,6´105 тм;
rсс = 0,552´105(6´0,9802 + 6) +12´0,635´103 = 6,58´105 т/м,
rab
= 0,552´105(2´3,75´0,196´0,980
+ 4´1,25´0,196´0,980)
– 0,783´104(6´0,980
+ 6) =
= 0,395´105
т;

Из формул (3.56) и (3.69) следует:
![]()
![]()
![]()
Горизонтальное смешение верха опоры находим по формуле (3.59), пренебрегая деформацией тела опоры, представляющей массивную конструкцию, т. е. приняв dоп = 0:
а' = 2,40´10-2 + 3,12´10-4´15 = 2,87´10-2 м = 2,9 см.
Продольную силу N, поперечную силу Н и изгибающий момент Мв в верхнем сечении каждого из столбов определяем по формулам (3.74). Все вычисления сводим в табл. 15.
Результаты вычислений контролируем, проверяя выполнение условии равновесия плиты ростверка:
Р = S(N cosj - Н sinj);
Нх = S(N sinj - Н cosj);
Му= S(N cosj - Н sin j)х +SМв.
Первое из этих равенств выражает условие Sz = 0, второе - Sх = 0 и третье - SМ0 = 0.
Определяем правые части равенств:
S(N cosj - Н sinj) SN cosj - SН sinj =
= (89 + 2´132 + 2´700 +
742)0,980 + 2(359+424+490) -
- (-13,3 - 2´13,4+ 2´11,5 +
11,4)0,196 = 4987 т;
S(N sinj - Н cosj) = SN sinj - SН cosj =
= (-89 - 2´132 + 2´700 +
742)0,196 + (13,3 + 2´13,4 +
+ 2´1,5 + 11,4)0,980 + 6´12,8 = 501
т;
S(N cosj - Н sin j)х+SМв = - (89´0,980 + 13,3´0,196)3,75 - 2(132´0,980 + 13,4´0,196) ´1,25-
-2´359´3,75 + 2´490´3,75 + 2 (700´0,980 - 11,5´0,196)´1,25 + (742´0,980 - 11,4´0,196) ´
´3,75
- 154 - 2(155 + 3´148
+ 132) - 131 = 2996 тм.
Определение продольных сил N, поперечных сил Н и изгибающих моментов Мв в верхних сечениях столбов
|
№ рядов столбов |
х, м |
sinj |
cosj |
a·sinj, м |
хb, м |
с+ хb, м |
(с+хb)cosj, м |
(5)+(8), м |
|
1 |
2 |
3 |
4 |
5 |
6 |
7 |
8 |
9 |
|
1 |
-3,75 |
-0,196 |
0,980 |
-4,70´10-3 |
-1,170´10-3 |
6,43´10-3 |
6,30´10-3 |
1,60´10-3 |
|
2 |
-1,25 |
-0,196 |
0,980 |
-4,70´10-3 |
-0,390´10-3 |
7,21´10-3 |
7,07´10-3 |
2,37´10-3 |
|
3 |
-3,75 |
0 |
1 |
0 |
- 1,170´10-3 |
6,43´10-3 |
6,43´10-3 |
6,43´10-3 |
|
4 |
0 |
0 |
1 |
0 |
0 |
7,60´10-3 |
7,60´10-3 |
7,60´10-3 |
|
5 |
3,75 |
0 |
1 |
0 |
1,170´10-3 |
8,77´10-3 |
8,77´10-3 |
8,77´10-3 |
|
6 |
1,25 |
0,196 |
0,980 |
4,70´10-3 |
0,390´10-3 |
7,99´10-3 |
7,83´10-3 |
12,53´10-3 |
|
7 |
3,75 |
0,196 |
0,980 |
4,70´10-3 |
1,170´10-3 |
8,77´10-3 |
8,60´10-3 |
13,30´10-3 |
продолжение
|
№ рядов столбов |
N=r1[(5)+(8)], т |
a·cosj, м |
(с+хb)sinj, м |
(11)-(12), м |
r2[(11)+(12)], т |
-r3[(11)-(12)], тм |
H=(14)-r3b, m |
Мв=(15)+r4b, тм |
|
1 |
10 |
11 |
12 |
13 |
14 |
15 |
16 |
17 |
|
1 |
89 |
23,5´10-3 |
-1,26´10-3 |
24,8´10-3 |
15,75 |
-194 |
13,3 |
-154 |
|
2 |
132 |
23,5´10-3 |
-1,43´10-3 |
24,9´10-3 |
15,80 |
-195 |
13,4 |
-155 |
|
3 |
359 |
24,0´10-3 |
0 |
24,0´10-3 |
15,25 |
-188 |
12,8 |
-148 |
|
4 |
424 |
24,0´10-3 |
0 |
24,0´10-3 |
15,25 |
-188 |
12,8 |
-148 |
|
5 |
490 |
24,0´10-3 |
0 |
24,0´10-3 |
15,25 |
-188 |
12,8 |
-148 |
|
6 |
700 |
23,5´10-3 |
1,57´10-3 |
21,9´10-3 |
13,90 |
-171,5 |
11,5 |
-132 |
|
7 |
742 |
23,5´10-3 |
1,72´10-3 |
21,8´10-3 |
13,85 |
-170,5 |
11,4 |
-131 |
a = 240´10-3 м; b = 0,312´10-3 рад; с = 7,6´10-3 м; r1 = 55,8´103 т/м; r2 = 0,635´103 т/м; r3 = 7,83´102 т/м; r4 = 128,0´103 т/м; -r3b = 2,44 т; r4b = 40,0 тм.
Равенства, выражающие условия равновесия плиты ростверка, с точностью, обеспечиваемой логарифмической линейкой (с помощью которой производится настоящий расчет), удовлетворяются. Действительно,
Р = 5000 т @ 4987 т;
Нх = 500 т @ 501 т;
Му = 3000 тм @ 2996 тм.
В соответствии с п. 3.68
дальнейший расчет выполняем, как для вертикальных столбов, погруженных в грунт
на глубину h и загруженных на расстоянии l0 от поверхности грунта силами N
и H и моментом Мв. Так как столбы оперты на нескальный грунт и их приведенная
глубина заложения в грунте
, этот расчет, заключающийся в определении давлений smах в основании наиболее
нагруженного столба, проверке горизонтальных давлений столбов на грунт, а также
в выявлении наибольшего изгибающего момента Мн, действующего
на расположенном в грунте участке одного из столбов, может быть выполнен по
формулам (3.38) - (3.45).
Определяем входящие в формулу (3.38) расчетный вес столба G (с учетом гидростатического давления) и расчетную силу трения Т грунта по наружной поверхности столба:
G = 2,01´36´(1,1´2,5 – 1,0) = 127 т;
Т = 3,14´1,6´20´3,0 = 300 т.
Так как
, в соответствии с пояснением к формуле (3.38) принимаем x1 =
0. Это означает, что в основании каждого из столбов имеет место равномерное
распределение давлений (smах = smin = s).
Величину давлений в основании столба с наибольшим продольным усилием определяем
по формуле (3.38):
![]()
Несущая способность столбов на продольное усилие обеспечивается. Действительно, s = R = 280 т/м2.
Из табл. 15 следует, что соотношения между величинами Н и Мв для всех столбов одинаковы. Это означает, что в наихудшем положении по условиям заделки в грунте и работы на изгиб должны быть столбы ряда № 2, в верхнем сечении каждого из которых действуют наибольшие Н и Мв.
Для столбов ряда № 2 по формулам (3.61), (3.41) и (3.42) вычисляем величины, необходимые для проверки выполнения неравенства (3.40), являющегося условием надежности заделки столбов в грунте:
![]()
Н1 =13,4 т;
![]()
![]()
![]()
При определении
горизонтального давления
коэффициент x2 принят
равным 0,7 на основе пояснении к формуле (3.42) и в связи со значением
.
Условие надежности заделки столбов в грунте обеспечивается. Действительно, подставляя в неравенство (3.40) значения коэффициентов h1 = h2 = 1, расчетные значения угла внутреннего трения грунта jр = 0,9´28 = 25° и сцепления ср = 0,5´0,7 = 0,35 т/м2, а также величину объемного веса грунта с учетом гидростатического давления g = 1 т/м3 (см. указания п. 3.11), имеем:
![]()
Наибольшее значение
изгибающего момента Мн в поперечном сечении на участке столба, расположенном в грунте,
вычисляем по формуле (3.44),
предварительно по табл. 9
установив, что значениям a = 0,260 и
соответствует глубина
hмм
= 2,9 м:
Мн = 59 + 13,5´2,9 = 98 тм < | Мв | = 155 тм.
Следовательно, наибольший по абсолютному значению момент действует в верхнем сечении столба (в месте заделки его в плиту ростверка) и равен 155 тм.
4.1. Указания настоящей главы распространяются на расчеты несущей способности песчаных, гравелисто-песчаных и скальных оснований оболочек диаметром 1 м и более. Глинистые основания следует рассчитывать согласно указаниям СН 200-62.
4.2. Расчет несущей способности по грунту оболочек диаметром 0,4-0,8 м, погруженных в различные грунты молотами или вибропогружателями, следует производить согласно указаниям СН 200-62, приложение 21.
4.3. Расчетную несущую способность по грунту оболочек с уширением в основании надлежит определять в соответствии с указаниями СН 200-62.
4.4. Оценка несущей способности оболочек, забитых в грунт молотами, может производиться по фактическому отказу с использованием формул, приведенных в главе СНиП II-Б.5-62.
Несущая способность оболочек, погруженных в грунт вибропогружателями, может быть оценена расчетом, выполненным в соответствии с указаниями приложения 2.
4.5. Несущую способность по грунту оболочек диаметром 0,4-1,6 м следует уточнять по результатам испытаний динамической и, в отдельных случаях, статической нагрузкой.
Статические испытания оболочек диаметром 1 и 1,6 м должны производиться при наличии обоснованных сомнений в несущей способности грунтов или же в случаях необходимости передать на оболочки нагрузки, которые превышают значения, получаемые расчетом по действующим нормам.
Несущую способность оснований оболочек диаметром 2 м и более следует уточнять по результатам штамповых или пенетрационных испытаний.
Необходимость и количество испытаний устанавливаются проектной организацией.
4.6. Настоящие указания распространяются на расчеты несущей способности песчаных и гравийных (гравийных с песчаным заполнением пустот) оснований фундаментов глубокого заложения из сборных железобетонных оболочек (столбов) диаметром 1 м и более, погружаемых в грунт с открытым нижним концом.
4.7. Расчетную несущую способность основания одиночной оболочки (столба), воспринимающей осевую сжимающую нагрузку, определяют по формуле:
P0 = UShifi + FR,
где U - периметр поперечного сечения оболочки (столба);
hi - толщина отдельных слоев грунта в которые заглублена оболочка (заглубление оболочки учитывается от поверхности грунта или уровня максимального размыва);
fi - расчетное сопротивление сил трения слоев грунта;
F - площадь подошвы оболочки;
R - расчетное сопротивление песчаного основания под подошвой фундамента.
4.8. Расчетное сопротивление основания под оболочкой находят по формулам:
а) для оболочки, расположенной в толще однородного грунта
![]()
б) для оболочки, расположенной в разнородных несвязных грунтах при условии заглубления низа оболочки в слой грунта основания на величину не менее диаметра и не менее 2 м
![]()
в) для оболочки с несущей диафрагмой (стаканный фундамент), погруженной без выемки грунта из ее полости
![]()
где
,
и
- безразмерные коэффициенты,
принимаемые по графикам (рис. 39
и 40)
в зависимости от расчетного угла внутреннего трения грунта j
в рабочей зоне основания и относительного заглубления фундамента
;
g - расчетный объемный вес грунта на уровне подошвы оболочки, равный нормативному (фактическому) объемному весу (в водонасыщенных грунтах с учетом гидростатического взвешивания), умноженному на коэффициент однородности 0,8*;
g1 - приведенный объемный вес грунта, расположенного выше подошвы оболочки, равный нормативному объемному весу грунта, умноженному на коэффициент однородности 0,85* ;
* Для случаев учета гидростатического взвешивания коэффициент однородности принимается равным 1.
d - внешний диаметр оболочки;
h - глубина от подошвы оболочки до поверхности грунта или уровня максимального размыва;
a - коэффициент, учитывающий свойства разнородных грунтов, расположенных выше подошвы оболочки. Определяется по графику (рис. 41) соответственно средневзвешенному значению j для грунтов, пройденных оболочкой;
- коэффициент условии работы, принимаемый по графику (рис. 42);
aс - коэффициент, учитывающий влияние способа погружения (равен 1 при забивке молотами и 1,5 при заглублении оболочек вибропогружателями);
bс - коэффициент,
учитывающий увеличение несущей способности основания вследствие уплотнения
грунта в процессе заглубления оболочки; равен отношению (
) объема грунта по внешнему контуру оболочки к внутреннему
объему оболочки ниже диафрагмы (определяется в зависимости от геометрических
размеров оболочки и ее заглубления в грунт, но не должен быть более 2,5),
умноженному на поправочный коэффициент
(табл. 16),
учитывающий начальную пористость грунта до погружения оболочки.

Рис. 39. График изменения коэффициента
в
зависимости от относительного заглубления оболочки в грунт
при различных
значениях расчетного угла внутреннего трения грунта j

Рис. 40. График изменения коэффициентов
и
в зависимости
от расчетного угла внутреннего трения грунта j
Зависимость коэффициента
от пористости грунта
|
Коэффициент пористости грунта e |
0,4 |
0,5 |
0,6 |
0,7 |
0,8 |
|
Коэффициент |
1,28 |
1,18 |
1,10 |
1,04 |
1,0 |
4.9. Расчетную величину угла внутреннего трения j грунта назначают на 2° меньше средней нормативной величины для всей рабочей зоны основания, ограниченной двумя горизонтальными плоскостями (на уровне подошвы фундамента и на 1,5d ниже подошвы) и цилиндрической поверхностью радиусом 2d, продольная ось которой совпадает с продольной осью фундамента.
Фактические значения угла внутреннего трения грунта jн в рабочей зоне устанавливают лабораторными и полевыми испытаниями.
В случае если экспериментальное определение углов внутреннего трения невозможно, а также на стадии разработки проектных заданий, разрешается как для влажных, так и для водонасыщенных песков пользоваться значениями jн, принимаемыми в зависимости от коэффициента пористости (табл. 17).

Рис. 41. График изменения коэффициента a
в зависимости от относительного заглубления оболочки в грунт
при различных
значениях расчетного угла внутреннего трения грунта j
4.10. Расчетное сопротивление сил трения слоев грунта о боковую поверхность оболочки fi определяется по формуле:
![]()
где
- нормативная величина сил трения в т/м2,
определяемая по табл. 18
в зависимости от глубины расположения слоя грунта, равной расстоянию от дневной
поверхности грунта или линии размыва до середины толщины слоя li;
mf - коэффициент условий работы, принимаемый по табл.19.

Рис. 42. График изменения коэффициента
в зависимости
от угла внутреннего трения грунта при оболочках различного диаметра:
1-грунтовое ядро сохраняется выше ножа;
2-грунт уделяется до ножа оболочки
Зависимость нормативного угла внутреннего трения от пористости песчаных грунтов различной крупности
|
Вид песков |
Коэффициент пористости e |
Нормативный угол внутреннего трения jн |
|
Крупные |
0,4-0,5 |
42 |
|
0,5-0,6 |
40 |
|
|
0,6-0,7 |
38 |
|
|
Средней крупности |
0,4-0,5 |
40 |
|
0,5-0,6 |
38 |
|
|
0,6-0,7 |
35 |
|
|
Мелкие |
0,4-0,5 |
38 |
|
0,5-0,6 |
36 |
|
|
0,6-0,7 |
32 |
|
|
Пылеватые |
0,5-0,6 |
36 |
|
0,6-0,7 |
34 |
|
|
0,7-0,8 |
28 |
Примечание. Для гравийных (гравийно-песчаных) грунтов, содержащих более 50% частиц крупнее 2 мм, значения jн принимаются на 2° больше аналогичных величин песчаных грунтов соответствующей пористости.
Нормативная величина сил трения
грунтов по боковой
поверхности оболочек
|
Вид грунтов |
Глубина расположения слоя грунта, м |
|||||||||||
|
1 |
2 |
3 |
4 |
5 |
7 |
10 |
15 |
20 |
25 |
30 |
35 |
|
|
Крупные и средние |
3,5 |
4,2 |
4,8 |
5,3 |
5,6 |
6,0 |
6,5 |
7,2 |
7,9 |
8,6 |
9,3 |
10,0 |
|
Мелкие |
2,3 |
3,0 |
3,5 |
3,8 |
4,0 |
4,3 |
4,6 |
5,1 |
5,6 |
6,1 |
6,6 |
7,0 |
|
Пылеватые |
1,5 |
2,0 |
2,5 |
2,7 |
2,9 |
3,2 |
3,4 |
3,8 |
4,1 |
4,4 |
4,7 |
5,0 |
При
наличии торфов боковое трение грунтов выше подошвы нижнего слоя торфа учитывается
со знаком минус (причем для торфа
=0,5 т/м2 независимо от глубины его
залегания);
Значение коэффициента mf
|
Условия погружения оболочки |
При действии нагрузок |
|
|
постоянных |
временных |
|
|
Грунтовое ядро сохраняется выше ножа оболочки |
0,7 |
0,9 |
|
Грунт удаляется до ножа оболочки |
0,3 |
0,7 |
4.11. Если из оболочек, заглубленных до проектной отметки, грунт извлекают до низа ножа или несколько ниже его, следует принимать пониженные коэффициенты условии работы (см. рис. 40 и табл. 19).
4.12. Настоящие указания охватывают методы расчета несущей способности скальных оснований железобетонных оболочек различного диаметра, опираемых или заделываемых нижними концами в водостойкие неразмягчаемые породы.
Вопросы использования размягчаемых водорастворимых пород (гипс, ангидриды, соли и т. п.) в качестве оснований, а также назначения расчетных сопротивлении должны решаться на основе специальных исследовании с учетом местных условий и характерных особенностей сооружения.
4.13. Расчетное сопротивление основания столба, опираемого на поверхность разрушенного выветриванием слоя породы в виде щебня и дресвы, прикрытого пластом неразмываемых наносных отложений толщиной не менее двух диаметром оболочки, рекомендуется принимать по нормам СН 200-62 для крупнообломочных грунтов с введением повышающих коэффициентов в зависимости от толщины выветренного слоя, заключенного между низом столба и поверхностью неразрушенной породы:
|
Толщина слоя разрушенной породы, выраженная в долях от диаметра столба |
0,1 |
0,3 |
0,6 |
1,0 |
|
Значение повышающего коэффициента |
3 |
2,5 |
1,5 |
1,0 |
Промежуточные значения коэффициента определяются интерполяцией.
4.14. Расчетное сопротивление осевому сжатию основания под торцом оболочки (столба), опираемой на поверхность не разрушенной выветриванием породы, надлежит определять по формуле:
R = mkRсж,
где т - коэффициент условий работы, принимаемый равным 3;
k - коэффициент однородности породы по прочности на одноосное сжатие (при отсутствии опытных данных принимается равным 0,17);
Rсж - предел прочности на одноосное сжатие образцов пород, испытанных в водонасыщенном состоянии согласно приложению 3.
4.15. Расчетное сопротивление у края подошвы столба, опертого на поверхность не разрушенной выветриванием породы и воспринимающего внецентренную нагрузку, принимают равным 1,2R.
4.16. Расчетную несущую способность скального основания заглубленного в породу столба, воспринимающего осевое сжимающее усилие, следует определять по формуле

где h3 - расчетная глубина заделки столба в породу;
d3 - диаметр заглубленной в породу части столба;
F3 - площадь заглубленной в породу части столба.
4.17. Расчетную несущую способность скального основания заглубленного в породу столба, воспринимающего в уровне поверхности породы продольное сжимающее усилие N, изгибающий момент М и поперечную силу Q (рис. 43), определяют по формуле:

где ke
-
коэффициент, определяемый по графику (рис. 44)
в зависимости от приведенного эксцентриситета еп, равного
.
При расчете несущей способности должно соблюдаться условие
N £ P0.

Рис. 43. Схема усилий, воздействующих на столб, заделанный в скальную породу

Рис. 44. График изменения коэффициента ke в зависимости от величины приведенного эксцентриситета еп действующих сил и заглубления столба в породу h3
4.18. При воздействии на столбы внецентренных сжимающих и горизонтальных нагрузок неразмываемый массив наносных отложений толщиной меньше двух диаметров не учитывается в расчетах прочности скальных оснований.
При большей толще наносных отложений уменьшение величины изгибающего момента в месте заделки столба в породу может быть определено на основании расчета, изложенного в третьей главе настоящих указаний.
4.19. Глубина заделки столбов в скальные породы, при расчете по формулам пп. 4.16 и 4.17, должна быть не менее 0,5 м в сплошных и слаботрещиноватых и не менее 1,5 м в трещиноватых и сильнотрещиноватых слабых породах.
Столбы, опираемые на поверхность неразрушенного слоя, должны заглубляться в породу на 0,25 м ниже горизонта, на котором расчетное сопротивление основания, определяемое по формуле п. 4.14, получается не менее величины давления столба.
4.20. При опирании оболочек нижними концами на скальную породу силы трения наносных отложений в расчете несущей способности основания не учитывают.
5.1. Расчет оболочек на нагрузки, возникающие при погружении, предусматривает:
а) определение расчетных величин продольных (осевых) усилий, возникающих в оболочках, погружаемых в грунт низкочастотными вибропогружателями с частотой действия возмущающей силы до 10 гц (600 периодов в минуту);
б) проверку оболочки на действие указанных сил.
5.2. Расчетные величины продольных (осевых) усилий определяют для проверки (или назначения) толщины стенок оболочек и их армирования, стыковых соединений между секциями оболочек, а также прикрепления наголовника к вибропогружателю и оболочке.
5.3. В стенках оболочек, в соединениях секций и прикреплениях к ним во время вибропогружения возникают растягивающие и сжимающие осевые усилия. Каждый из элементов конструкции оболочки должен быть проверен на воспринятие расчетных усилий, как растягивающих, так и сжимающих.
5.4. Расчетные максимальные растягивающие усилия Npacт, возникающие при вибропогружении оболочек, определяют по формулам:
а) при расчете наголовника и прикрепления вибропогружателя к наголовнику:
Npacт = 1,4F - Gв;
б) при расчете прикрепления наголовника к оболочке:
Npacт = 1,4F - (Gв + Gн);
в) при расчете сечении железобетонных оболочек:
Npacт =1,2F - (Gв + Gн),
где F - максимальное значение возмущающей силы вибропогружателя, принятого для опускания оболочки;
Gв - вес вибропогружателя;
Gн - вес наголовника.
5.5. Расчетное максимальное сжимающее усилие Nсж, возникающее в оболочке при вибропогружении, принимают равным:
Nсж = kGy,
но не менее чем:
Nсж = G + F,
где G - истинный вес вибросистемы;
Gy - вес условной вибросистемы;
k - коэффициент увеличения веса условной вибросистемы;
F - максимальное (паспортное) значение возмущающей силы вибропогружателя.
Коэффициент увеличения веса условной вибросистемы находят по формуле:
k = 0,025апвп0,
где а - расчетный размах колебаний вибросистемы в сантиметрах, зависящий от глубины погружения оболочки в грунт; при глубине погружения оболочки в грунт на 10 м и менее а = 2 см, на 30 м и более а = 1 см, от 10 до 30 м а определяют линейной интерполяцией.
Примечание. Расчетный размах колебаний в размерах меньших, чем это указано выше, можно принимать только после проведения соответствующих опытных работ по погружению запроектированных оболочек;
пв - максимальное (паспортное) число оборотов в секунду грузовых валов вибропогружателя, применяемого для опускания оболочки;
п0 - величина, характеризующая динамические свойства вибросистемы и зависящая от свойств грунта и длины оболочки.
Величину п0 определяют по формуле:

где Н - полная длина оболочки в м;
п - расчетная частота в гц собственных колебаний оболочки (как жесткого тела) в грунте, принимаемая: для слабых грунтов (мелкозернистых и среднезернистых песков, весьма пластичных глин) п = 20; для грунтов средней плотности (крупнозернистых песков с примесью мелкой гальки, пластичных глин) п = 30; для плотных грунтов (плотных песков с крупной галькой, пластичных глин с включением крупной гальки, тугопластичных и мергелистых глин) п = 50.
Истинный вес вибросистемы составляет:
G = Gв + Gн + G0.
Вес условной вибросистемы принимают равным:
![]()
В этих формулах приняты следующие обозначения:
G0= p(d + d0)d0Hg0 - вес оболочки;
G'гр= p(d + dгр)dгрhgгр - условный вес колеблющегося грунта, примыкающего к наружной стороне оболочки;
-
условный вес столба неизвлеченного грунта, находящегося внутри оболочки,
где d - внешний диаметр оболочки в м;
d0 - толщина стенки оболочки в м;
dгр =0,15 м - условная толщина присоединенного к оболочке снаружи грунта;
Н - полная длина оболочки в м;
h - глубина погружения оболочки в грунт в м;
g0 @ 2,5 т/м3 - объемный вес материала оболочки;
gгр - объемный вес грунта в т/м3; при отсутствии данных может быть принят равным gгр = 1,7 т/м3;
hc - расчетная высота столба неизвлеченного грунта внутри оболочки в м.
При внутреннем диаметре погружаемой оболочки (d - 2d0), равном 0,5 м и менее, hc равно глубине погружения, но не более 10 м; при внутреннем диаметре погружаемой оболочки, равном 1, 2 и 5 м, hc равно соответственно 6; 2,5 и 1 м.
Примечания. 1. Для промежуточных значений внутреннего диаметра оболочки расчетная высота столба неизвлеченного грунта принимается по интерполяции.
2. Принимаемая расчетная высота столба hc не связана с уровнем действительной поверхности не извлеченного из оболочки грунта.
При определении истинного веса вибросистемы G и веса условной вибросистемы Gy взвешивающее действие воды не учитывают.
При проверке на сжатие сечений оболочки, расположенных на некотором расстоянии от нижнего конца, размеры истинного и условного веса вибросистемы разрешается принимать исходя из расчетной длины оболочки, равной расстоянию от верхнего конца до рассматриваемого сечения.
5.6. Железобетонные оболочки рассчитывают на действие строительных нагрузок.
Установленная расчетом несущая способность оболочки на растяжение Рраст и на сжатие Рсж не должна быть меньше расчетных усилий, найденных в соответствии с пп. 5.4 и 5.5.

5.7. Расчетную несущую способность оболочки на растяжение Рраст определяют по формулам:
а) при оболочках из обычного железобетона:
Рраст = RaFa
б) при оболочках из предварительно напряженного железобетона:
Рраст = RнFн + RaFa
где Fа - площадь сечения ненапряженной продольной арматуры;
Fн - площадь сечения предварительно напряженной продольной арматуры;
Ra - расчетное сопротивление ненапряженной арматуры;
Rн - расчетное сопротивление предварительно напряженной арматуры.
Расчетные сопротивления арматуры Ra и Rн для некоторых видов ее приведены ниже:
|
Вид арматуры |
Ra, кг/см2 |
Rн, кг/см2 |
|
Гладкая из стали марки Ст.3 |
2100 |
- |
|
Горячекатаная периодического профиля: |
|
|
|
из стали марки Ст.5 |
2650 |
- |
|
» марок 25Г2С и 35ГС |
3300 |
- |
|
» марки 20ХГ2Ц |
3600 |
5100 |
|
Проволока стальная круглая углеродистая, холоднотянутая и проволока высокопрочная отпущенная: |
|
|
|
при диаметре проволоки 3 мм |
- |
12400 |
|
то же 4 мм |
- |
11700 |
|
» 5 мм |
- |
11000 |
|
» 6 мм |
- |
10400 |
5.8. Расчетную несущую способность погружаемой оболочки по прочности на сжатие Рсж определяют по формулам:
а) при оболочках из обычного железобетона:
Рсж = Rпр(Fd + naFa);
б) при оболочках из предварительно напряженного железобетона:
Рсж = RпрFd + naRпрFa – (s0 - nнRпр)Fн,
где Fd - площадь сечения бетона;
Fa и Fн - см. п. 5.7;
Rпр - расчетное сопротивление бетона на строительные нагрузки, принимаемое по табл. 20;
s0 - величина эффективного предварительного напряжения в арматуре (контролируемое напряжение за вычетом потерь к моменту погружения);
na и nн - отношения модулей упругости ненапрягаемой и напрягаемой арматуры к модулю упругости бетона, принимаемые по табл. 20.
Расчетные характеристики бетона и арматуры
|
Наименование величин |
Марки бетона |
||||||
|
200 |
250 |
300 |
400 |
500 |
|||
|
Расчетные сопротивления бетона на сжатие (осевое) Rпр кг/см2 при разных условиях приготовления бетона |
А |
78 |
100 |
125 |
165 |
205 |
|
|
Б |
72 |
95 |
115 |
150 |
190 |
||
|
Отношения модулей |
7,7 |
7,1 |
6,5 |
5,8 |
5,4 |
||
|
Отношения модулей |
из стержней периодического профиля |
7,7 |
7,1 |
6,5 |
5,8 |
5,4 |
|
|
из высокопрочной проволоки |
7,0 |
6.4 |
5,9 |
5,3 |
4,9 |
||
Примечание. В строке А указаны значения расчетных сопротивлений, принимаемые для бетонов, приготовленных на бетонных заводах или бетонных узлах, оборудованных механизмами дли автоматического или полуавтоматического дозирования составляющих бетона, при систематическом контроле однородности бетона и прочности его при сжатии.
В строке Б указаны значения расчетных сопротивлении бетона при других условиях его приготовления.
5.9. В случаях, когда к предварительно напряженным оболочкам как элементам фундаментов предъявляются особые требования в части водонепроницаемости бетона, расчетная несущая способность оболочки на сжатие Рсж устанавливается из условий трещиностойкости по формуле:

где m2 - коэффициент условии работы,
равным 0,8 (при
), учитывающий возможный случайный эксцентриситет действия
продольной силы в размере е @ 0,05d;
- расчетное сопротивление бетона па
трещиностойкость при проверке на образование продольных трещин, принимаемое по
табл. 21.
Расчетное сопротивление бетона на трещиностойкость
|
Наименование величин |
Марка бетона |
|||
|
300 |
400 |
500 |
||
|
Условия приготовления бетона |
А |
135 |
190 |
245 |
|
Б |
125 |
175 |
225 |
|
Примечание. Значения А и Б см. в табл. 20.
6.1. Указания настоящего раздела распространяются на производство работ по строительству фундаментов и опор мостов из сборных железобетонных оболочек.
Указания глав по изготовлению оболочек, погружению оболочек в грунт и подводному заполнению полости оболочек бетоном могут быть использованы при строительстве портовых гидротехнических сооружений.
6.2. Комплекс работ по сооружению фундаментов и опор из оболочек включает следующие операции:
изготовление оболочек;
изготовление или монтаж направляющих устройств для фиксирования оболочек в проектном положении;
установку в проектное положение направляющих устройств;
погружение оболочек в грунт;
устройство при необходимости уширений в основании оболочек или бурение скважин в скальной породе для заделки низа столбов;
заполнение бетоном полости уширений, скважин и оболочек;
устройство фундаментной плиты или насадок (ригелей);
монтаж надфундаментной части опоры;
устройство подферменной площадки.
Из перечисленного комплекса указания охватывают только специфические виды работ по сооружению фундаментов и опор из оболочек, а именно: изготовление и вибропогружение в грунт оболочек, бурение скальных пород для заделки низа несущих столбов и устройство уширений, заполнение полости оболочек и уширений подводным бетоном, а также сооружение фундаментной плиты. По остальным видам работ, не охваченным настоящими указаниями и являющимися общими для строительства фундаментов и опор, следует руководствоваться нормами и правилами соответствующих глав III части СНиПа.
6.3. Оболочки следует изготовлять, как правило, по действующим типовым проектам на заводах железобетонных конструкций или специализированных полигонах. Если получение готовых оболочек затруднительно или экономически нецелесообразно, проектом организации строительства должно быть предусмотрено создание полигона, мощность и оснащение которого должны удовлетворять потребность строительства.
6.4. Вспомогательные конструкции, в том числе подмости, направляющие каркасы, распорные крепления котлованов, ограждения котлованов и т. п., следует изготовлять сборно-разборными, являющимися инвентарем строительной организации.
6.5. Электросварочные работы, производимые при строительстве фундаментов и опор из оболочек, в том числе сварка арматуры, фланцев, стыкование секций оболочек и др., должны выполняться в соответствии с требованиями глав СНиПа III-B.1-62 и III-B.5-62 сварщиками, сдавшими экзамены по «Правилам испытания электросварщиков и газосварщиков», утвержденным Госгортехнадзором СССР 27 июня 1955 г.
6.6. Работы по сооружению фундаментов и опор, выполняемые на открытых для движения автомобильных и железных дорогах, городских проездах или в непосредственной близости от них, должны выполняться с соблюдением действующих правил, обеспечивающих безопасность транспорта, пешеходов и рабочих, а также сохранность существующих зданий, сооружений и подземных коммуникаций, находящихся в районе строительства.
Порядок производства работ на судоходных реках должен обеспечивать безопасный пропуск возможных к обращению в период строительства судов и плавучих средств.
6.7. Все виды строительно-монтажных, погрузочно-разгрузочных и транспортных работ (основных и вспомогательных) должны осуществляться с соблюдением действующих правил техники безопасности и указаний главы XIII, а также норм пожарной безопасности и производственной санитарии.
6.8. В процессе возведения фундаментов и опор необходимо предусмотреть проведение мероприятий по защите их и вспомогательных конструкций от возможных повреждений паводком, льдом, штормами, проходящими судами и другими плавучими средствами.
Основные конструкции к моменту пропуска ледохода должны иметь, как правило, степень готовности, не требующую принятия специальных мер по защите их от ледохода, а вспомогательные конструкции должны быть убраны из опасной зоны.
Оболочки, погруженные в русле реки на проектную глубину, необходимо срубить до пропуска ледохода, сохранив выпуски стержней продольной арматуры для заделки в фундаментную плиту или насадку.
6.9. До начала работ на объекте строительная организация должна получить от заказчика техническую документацию, составленную и утвержденную в соответствии с указаниями глав СНиПа III-А.6-62 и III-Д.2-62.
6.10. Вопросы организационно-технической подготовки к строительству, индустриализации строительства, механизации работ, организации труда и планирования должны решаться в соответствии с указаниями глав III части СНиПа раздела А и главы СНиПа III-Д.2-62.
6.11. При выборе рациональной технологии строительства фундаментов и опор из оболочек необходимо ориентироваться:
а) на применение поточной технологии, машин и оборудования, обеспечивающих высокое качество и производительность работ и, как правило, комплексную механизацию строительства;
б) на заводское изготовление стальных закладных частей оболочек, а также в большинстве случаев и самих оболочек;
в) на широкое применение инвентарного оборудования, механизмов и технологической оснастки для изготовления и погружения в грунт оболочек, устройства уширений и бурения скважин в скальной породе для заделки низа несущих столбов и т. п.
6.12. В зависимости от положения плиты но отношению к поверхности грунта, работы по сооружению ростверков надлежит выполнять в последовательности, схематически показанной на рис. 45 и 46.
6.13. Для организаций, ранее не занимавшихся строительством фундаментов и опор из оболочек, следует предусматривать в проекте производства работ опытное погружение одной-двух оболочек такого же диаметра, какой принят в конструкции сооружения; устройство уширения, а также бурение скважины в скальной породе основания оболочек там, где такие работы имеются; заполнение оболочки бетоном, укладываемым подводным способом.
Опытные работы следует проводить с оболочками, входящими в конструкцию фундамента или опоры сооружения. В процессе проведения опытных работ надлежит проверить применяемые механизмы, выявить их неисправность и, в случае необходимости, заблаговременно отремонтировать.
Одновременно с этим рабочий и технический персонал, осуществляющий строительство фундаментов и опор из оболочек, должен быть обучен новой технологии, работе с используемыми механизмами и оборудованием, а также ознакомлен с правилами техники безопасности работ.
6.14. Постоянный технический контроль и надзор в процессе строительства за выполнением работ в соответствии с требованиями проекта и настоящих указаний, а также за своевременным и правильным ведением исполнительной технической документации осуществляется техническим персоналом строительства, представителями заказчика, а в случаях, предусмотренных положением об авторском надзоре, представителями проектной организации.
Несоответствие производства работ утвержденному проекту и невыполнение требований настоящих указаний являются основанием для приостановки работ.

Рис 45 Схема последовательности работ по
сооружению фундамента из оболочек (низкого ростверка):
а-закрепление плавучей системы с направляющим каркасом в проектном в плане
положении; б-опускание каркаса в воду; в-закрепление каркаса в проектном
положении по высоте на маячных оболочках;
г-погружение остальных оболочек до проектной отметки и установка шпунтового
ограждения; д-удаление грунта из котлована, бетонирование водозащитной подушки;
е-откачка воды из котлована, бетонирование плиты и тела опоры; ж-разборка
шпунтового ограждения

Рис. 46. Схема последовательности работ по
сооружению фундамента из оболочек (высокого ростверка):
а-закрепление плавучей системы с направляющий каркасом и щитовым ограждением в
проектном положении (в плане); б-опускание каркаса в воду; в-погружение маячных
оболочек и закрепление на них каркаса в проектном положении по высоте;
г-погружение остальных оболочек; д-бетонирование водозащитной подушки; е-откачка воды из котлована, бетонирование плиты
и тела опоры; ж-разборка щитового ограждения
6.15. Законченные части фундаментов, а также скрытые работы должны быть освидетельствованы и приняты при участии представителя заказчика или технического надзора (инспекции) с составлением акта установленной формы (приложения 4 и 5).
7.1. Указания настоящей главы распространяются на работы по изготовлению обычных и предварительно напряженных оболочек в стальных виброформах и методом центрифугирования. В зависимости от общей и суточной потребности в оболочках и от местных условий в стальных виброформах следует изготовлять оболочки диаметром 1,6-3 м при длине секции до 10 м, а методом центрифугирования - секции оболочек диаметром 0,4-2 м и длиной до 12 м.
7.2. Комплекс работ по изготовлению оболочек с ненапрягаемой арматурой включает изготовление стыковых соединений, наконечников, арматурных каркасов, бетонирование и пропаривание.
При изготовлении предварительно напряженных оболочек добавляются операции по натяжению арматуры и передачи натяжения на бетон.
7.3. Работы по изготовлению оболочек должны выполняться в соответствии с проектом производства работ, который должен включать:
описание принятой технологии с технологическими картами изготовления закладных деталей, каркасов, натяжения арматуры и бетонирования;
чертеж полигона или цеха с показанием на нем всего оборудования;
расчет мощности подъемно-транспортных средств и производительности бетонного завода, потребности в механизмах и оборудовании;
расчет потребного количества материалов, площади складов и транспортных средств;
чертежи нестандартных механизмов и приспособлений с расчетами их производительности и других эксплуатационных показателей;
расчет потребного количества обслуживающего и технического персонала.
7.4. Арматурную сталь разрешается применять только при наличии сертификата от завода-изготовителя. Сталь неизвестных марок без лабораторных испытании применять запрещается.
7.5. Предназначенную для предварительно напряженных оболочек арматуру необходимо испытывать для выявления предела текучести, который должен быть не ниже браковочного минимума. При наличии сомнений в качестве стали необходимые механические характеристики ее следует уточнять испытаниями, проводимыми в соответствии с действующими указаниями.
Вопрос о применении арматуры с пониженными прочностными характеристиками необходимо решать совместно с проектной организацией.
7.6. При отсутствии необходимой арматурной стали предусмотренную проектом арматуру разрешается по согласованию с проектной организацией заменять арматурой других видов, марок и диаметров, соблюдая следующие условия:
а) выбор вида и марки стали при замене должен производиться с учетом требований главы II настоящих указаний;
б) при изменении диаметра арматуры суммарная площадь сечения заменяющей арматуры должна быть не менее проектной и не превышать ее более чем на 5%;
в) при увеличении диаметра рабочей арматуры должна быть сохранена толщина защитного слоя;
г) не допускается ставить рабочую арматуру из гладких стержней совместно с арматурой периодического профиля.
7.7. Арматура обычных и предварительно напряженных оболочек должна изготовляться в соответствии с требованиями глав СНиПа III-В.1-62, III-Д.2-62 и настоящих указаний.
7.8. Стержни продольной арматуры при необходимости следует стыковать по длине контактной сваркой, при этом каждый стержень не должен иметь более трех стыков. Сварку стержней, а также приварку утолщенных наконечников (компенсирующих уменьшение рабочего сечения стержней при устройстве нарезки для постановки анкерных гаек) следует производить до упрочнения арматуры вытяжкой.
Утолщенные наконечники предварительно натянутой арматуры допускается приваривать к стыковым обечайкам при соблюдении следующих требований:
напряжение в утолщенных наконечниках от усилия натянутой арматуры не должно превышать 55% от предела текучести стали наконечников;
диаметр наконечника не должен превосходить диаметр арматурного стержня более чем на 40%;
наконечники со стороны натяжного устройства привариваются к стыковой обечайке после натяжения арматуры, а с противоположной стороны - до натяжения арматуры;
сварку надлежит вести при пониженной на 10-15% силе тока против нормального режима;
во избежание перегрева швы следует накладывать с перерывами.
Приварку наконечников арматуры в напряженном состоянии к стыковым обечайкам необходимо выполнять по специальной инструкции, составленной в развитие настоящих указаний.

Рис.
47. Приводной станок для сборки арматурных каркасов:
1-барабан; 2-арматурный каркас; 3-устройство для подачи
спиральной арматуры; 4-электромотор; 5-стол для подачи стержней продольной
арматуры
7.9. Стыки стержней продольной арматуры, а также присоединение их к закладным стыковым элементам должны иметь прочность не менее прочности самих стержней.
7.10. Спиральную арматуру разрешается стыковать внахлестку односторонним сварным швом или оплеткой места соединения вязальной проволокой.
7.11. Продольную и спиральную арматуру оболочек следует связывать в каркасы. Взаимное соединение продольных стержней со спиралью надлежит делать вязальной проволокой через два на третье соединение. Для ненапрягаемой продольной арматуры допускается производить взаимные соединения контактной сваркой. Запрещается применять для этой цели дуговую сварку.
Арматурные каркасы рекомендуется собирать на специальных станках (рис. 47).
7.12. Изготовленные каркасы должны быть осмотрены и приняты представителями технического контроля. При осмотре каркасов проверяется правильность расположения продольных стержней и спиральной арматуры, закладных частей, бетонных подкладок или других устройств, обеспечивающих толщину защитного слоя.
7.13. Фланцы и наконечники должны изготовляться, как правило, заводским способом в соответствии с технологическими картами, разработанными с учетом местных условий для каждой закладной части. В технологической карте должны быть отражены: способ заготовки деталей, последовательность монтажа и сварки их, перечень мероприятий, предотвращающих коробление сварных конструкций, трудовые затраты Сварные фланцы и ножи для предотвращения коробления должны изготовляться с использованием специальных жестких плит-кондукторов.
7.14. Отверстия во фланцах для постановки соединитель пых болтов следует сверлить по шаблону. Для облегчения постановки болтов допускается сверлить отверстия диаметром на 2 мм больше диаметра болтов.
7.15. Торцовые поверхности фланцев и обечаек должны быть расположены перпендикулярно продольной оси секций оболочек. Допускаемый перекос торца - не более 0,0025 диаметра оболочки.
7.16. При изготовлении фланцев отклонения в размерах не должны превосходить:
|
по диаметру наружной окружности фланца: |
|
|
для оболочек диаметром 0,4 и 0,6 м |
+2 мм -0 |
|
для оболочек диаметром от 0,8 до 2 м |
+5 мм -0 |
|
для оболочек диаметром более 2 м |
+10 мм -0 |
|
по диаметру стыковой обечайки |
± 5 мм |
|
волнообразность фланцевого кольца |
1,5 мм |
|
несовпадение центра отверстий для соединительных болтов |
1 мм. |
7.17. При изготовлении предварительно напряженных оболочек методом центрифугирования усилия от натяжения арматуры необходимо передавать на форму. При изготовлении оболочек в стальных виброформах усилия от арматуры следует передавать на форму или же на анкерные закрепления, не связанные с формой.
7.18. Способ натяжения арматуры и потребное оборудование выбираются и соответствии с проектом и принятой технологией изготовления оболочек.
Натяжные и захватные устройства должны обеспечивать:
надежный захват арматуры и поддержание ее в натянутом состоянии до передачи усилия на бетон;
натяжение арматуры до заданного усилия с необходимой точностью;
плавную (по возможности) передачу усилий натяжения на бетон в порядке, предусмотренном проектом;
простоту процессов захвата, натяжения и освобождения арматуры;
минимальные отходы арматуры;
возможность многократного их использования.
7.19. При поочередном натяжении арматуры на формы или распорные конструкции должна быть обеспечена величина контролируемого натяжения в стержнях, напрягаемых первыми, путем перетяжки части стержней против контролируемой величины или путем натяжения части стержней в два этапа (с последующей подтяжкой).
7.20. Работы по натяжению арматуры следует выполнять в соответствии с указаниями проекта. В проекте производства работ по изготовлению предварительно напряженных оболочек должны быть указаны:
а) порядок натяжения (групповое или поочередное) и последовательность натяжения отдельных стержней;
б) параметры натяжения арматуры: наибольшие усилия в стержне, время выдержки стержня под наибольшим усилием, величина контролируемого усилия, проектная величина удлинения стержней.
Отклонения в величине контролируемого предварительного напряжения арматуры от проектного допускаются не более -5%, +10%.
7.21. Натяжение арматуры должно осуществляться при участии представителя технического контроля и фиксироваться в специальном журнале с указанием всех замеченных отклонений от проекта.
7.22. По достижении бетоном оболочек заданной в проекте прочности, устанавливаемой испытаниями контрольных кубиков, разрешается передавать натяжение арматуры на бетон. При отсутствии указаний в проекте допускается передавать натяжение на бетон при достижении последним прочности не менее 80% от проектной.
7.23. В зависимости от конструкции упоров, диаметра оболочек и принятой технологии работ надлежит применять следующие способы отпуска натяжения стержней:
а) одновременный отпуск натяжения всех стержней, выполняемый после предварительной вытяжки концов стержней для освобождения упорных устройств;
б) поочередный отпуск натяжения отдельных стержней с помощью специальных разгружающих устройств;
в) поочередный отпуск натяжения отдельных стержней гидродомкратами;
г) поочередный отпуск натяжения путем перерезывания стержней автогеном.
Поочередный отпуск натяжения стержней следует производить симметрично относительно продольной оси оболочки.
Очередность отпуска арматуры должна указываться в проекте производства работ.
7.24. Состав бетонной смеси должен обеспечивать получение заданных ей свойств, а также предусмотренных проектом физико-механических свойств бетона в заданные сроки.
7.25. Состав бетонной смеси следует подбирать в соответствии с требованиями глав СНиПа III-В.1-62, III-Д.2-62 и раздела I настоящих указаний.
7.26. Особое внимание необходимо обращать на тщательность подбора состава смеси, уплотняемой на центрифугах, поскольку из-за неправильно назначенного состава возможны расслоение смеси и большие потери цемента в образующемся шламе или же обвал бетона по окончании центрифугирования. При оптимальном составе смеси на внутренней поверхности центрифугированной оболочки должны быть видны вкрапления щебня и сливаемый после центрифугирования из формы шлам должен иметь консистенцию молока с удельным весом не более 1,1. Если шлам более тяжелый и имеет сметанообразную консистенцию, то состав смеси подобран неудачно или в примененном цементе содержится много минеральных добавок.
7.27. Расход цемента должен составлять не менее 300 и не более 450 кг на 1 м3 бетона. В каждом конкретном случае расход цемента необходимо устанавливать по результатам пробных замесов и испытания контрольных образцов.
7.28. Для улучшения основных свойств бетона, уменьшения расхода цемента и количества воды в состав смеси рекомендуется вводить поверхностно-активные добавки.
Добавки следует вводить в бетонную смесь при затворении (в виде раствора) через дополнительный мерный бачок одновременно с подачей воды из главного водяного бачка бетономешалки.
Приготовление и дозирование добавок должно выполняться под наблюдением бетонной лаборатории.
Запрещается вводить в бетонную смесь химические ускорители твердения бетона (хлористый кальций, поваренную соль и др.).
7.29. Для укладки в стальные виброформы рекомендуется готовить смеси с осадкой конуса 2-6 см. При изготовлении оболочек методом центрифугирования следует применять смеси с осадкой конуса 0-4 см.
7.30. Для формования секций оболочек рекомендуется при менять неподвижную внутреннюю и наружную опалубки (формы) сборно-разборной конструкции (рис. 48). Формы следует делать из двух половин, стыкуемых на болтах по диаметральной плоскости.
Для облегчения извлечения в конструкции внутренней формы необходимо предусматривать устройства, позволяющие уменьшить ее периметр на 3-5 см.
Внутреннюю и наружную формы следует устанавливать и закреплять на специальном поддоне.
Для обеспечения проектной толщины стенки оболочки внизу и вверху между формами должны быть предусмотрены фиксаторы.
7.31. Для облегчения подачи бетонной смеси в пространство между наружной и внутренней формами рекомендуется применять конус-бункер с вибратором, устанавливаемым в его верхней части (рис. 49).
7.32. Для уплотнения укладываемой бетонной смеси надлежит использовать навесные вибраторы мощностью 0,75-1 квт, прикрепляемые болтами к наружной опалубке (рис. 50).
Вибраторы следует располагать рядами в трех-четырех уровнях по высоте формы на расстоянии (между рядами) до 2 м.
В каждом ряду рекомендуется размещать не менее двух вибраторов на расстоянии 2-3 м друг от друга в шахматном порядке по отношению к вибраторам смежных рядов.
7.33. Рабочие поверхности форм необходимо покрывать смазками, препятствующими прилипанию к ним твердеющего бетона.
При изготовлении оболочек, предназначенных к использованию в надводной части опор и на суходолах, запрещается применять смазки, загрязняющие поверхности оболочек. Рекомендуется использовать смазки, допускающие нанесение их пистолетом-распылителем.
7.34. При бетонировании секций оболочек в виброформе бетонную смесь из кубла следует выгружать на приемный конус-бункер. По мере поступления бетона в форму надо вначале включать вибраторы, установленные на нижнем уровне, затем на последующих уровнях. Вибраторы, установленные в пределах уже провибрированной части секции оболочки, должны быть выключены.
Продолжительность вибрирования для каждого уровня устанавливается в зависимости от мощности вибраторов, конструкции форм и консистенции бетонной смеси. Рекомендуется устанавливать минимально необходимое время вибрирования, чтобы не вызывать расслоения бетонной смеси.

Рис.
48. Стальная виброформа для изготовления оболочек в вертикальном положении:
1-приемная воронка (конус) для бетонной смеси; 2-наружная
форма; 3-внутренняя форма; 4-фундамент для закрепления форм; 5-стык
наружной формы; 6-стыковое устройство внутреннем формы; 7-ребра наружной формы;
8-ребра внутренней формы; 9-разрез горизонтальной полки ребер; 10-обшивка форм
из листовой стали

Рис. 49. Приемная воронка для бетонной смеси:
1-оболочка; 2-фланец; 3-конус; 4-цилиндрическая обечайка; 5-отверстия
для прохода смеси; 6-вибратор; 7-строповочная серьга для подъема воронки

Рис 50.
Схема размещения и крепления вибраторов к наружной форме:
а-размещение; б-крепление;
1-форма; 2- ребра; 3-уголки; 4-вибраторы
7.35. Для бетонирования оболочек применяют центрифуги (рис. 51), основные характеристики которых приведены в приложении 6.
7.36. Все формы должны быть пронумерованы. На каждую форму следует завести паспорт, в который должны заноситься результаты периодических проверок их состояния.

Рис. 51. Центрифуга для изготовления оболочек диаметром 1-2 м:
1-приводные ролики; 2-вал приводных роликов; 3-поддерживающие
ролики; 4-подшипники (цапфы); 5-электромоторы; 6-приводные ремни; 7-устройство
для раздвижки роликов; 8-стальная станина; 9-бетонный фундамент; 10-форма
Примечание. В плане бетонный фундамент не показан
Особое внимание должно быть обращено на состояние откидных болтов и уплотнительной резиновой прокладки по стыку полуформ.
При повреждении прокладки форма должна быть изъята из эксплуатации и отремонтирована.
Нарушение герметичности стыка полуформ вызывает потери цементного раствора при центрифугировании и образование в стенке оболочки сквозных щелей и пустот, которые являются одной из причин разрушения оболочек при вибропогружении их в грунт.
7.37. Работа центрифуги считается нормальной, если форма вращается плавно (без ударов). В случае биений (ударов) формы, свидетельствующих о нарушении ее балансировки, форма должна быть отремонтирована.
7.38. Количество бетонной смеси, укладываемой в форму, определяют по проектному объему бетона оболочки, увеличенному на количество шлама, отходящего при центрифугировании. В среднем это увеличение составляет 2-4% от проектного объема и должно уточняться при изготовлении первых опытных секций на каждом сорте цемента или при изменении состава бетона путем замера количества шлама, образующегося при центрифугировании.
7.39. Перед укладкой бетонной смеси форма с каркасом должна быть освидетельствована представителем технического надзора, после чего дается разрешение на центрифугирование. При бетонировании оболочек диаметром 0,4 и 0,6 м смесь укладывают в нижнюю полуформу и после присоединения верхней полуформы форму устанавливают на центрифугу. При изготовлении оболочек диаметром 1; 1,6 и 2 м бетонную смесь загружают в процессе вращения формы.
7.40. Процесс формования оболочек методом центрифугирования состоит из двух этапов:
загрузки и равномерного распределения смеси при вращении формы на первой скорости;
уплотнения бетонной смеси при наибольшем числе оборотов формы.
В связи с малой производительностью ложечных питателей, при изготовлении оболочек диаметром 1; 1,6 и 2 м загрузка форм может продолжаться 30 мин. Необходимо следить за тем, чтобы время от затворения первого замеса до окончания центрифугирования секции оболочки не превышало времени начала схватывания цемента.
Бетонную смесь рекомендуется формовать при уплотняющей силе не менее 0,8 кг/см2.
7.41. Рекомендуется следующий режим центрифугирования:
а) при изготовлении оболочек диаметром 0,4 и 0,6 м
1-я скорость..................2-2,5 мин
2-я >> .................1-2 >>
3-я >> .................0,5-1 >>
4-я >> .................14-17 >>
б) для оболочек диаметром 1; 1,6 и 2 м
1-я скорость................срок, необходимый для загрузки формы
2-я >> .............. 1-2 мин
3-я >> .............. 1-2 >>
4-я >> ...............20-30 >>
Режим центрифугирования необходимо корректировать в зависимости от жесткости применяемых бетонных смесей.
7.42. По окончании центрифугирования необходимо сливать образующийся шлам. Запрещается оставлять его в полости оболочки.
7.43. Для ускорения твердения бетона и связанного с этим сокращения цикла изготовления оболочек, а также при производстве работ в зимнее время следует применять пропаривание бетона.
7.44. Оболочки рекомендуется пропаривать:
в стационарных тоннельных или ямного типа камерах;
в сборных тонкостенных камерах;
в вертикальных тепляках.
Пропарочные камеры рекомендуется оснащать автоматическими самопишущими приборами для контроля и регулирования температуры и влажности.
Допускается пропаривать оболочки непосредственно в формах паром, подаваемым во внутреннюю полость.
7.45. Для увеличения оборачиваемости опалубочных форм рекомендуется вести пропаривание оболочек в два этапа:
в форме до получения бетоном прочности не менее 50 кг/см2;
распалубленной оболочки до получения бетоном прочности, предусмотренной проектом.
7.46. До начала пропаривания каждую секцию оболочки необходимо выдержать при положительной температуре окружающего воздуха.
В зависимости от средней температуры воздуха продолжительность выдерживания должна составлять:
|
Средняя температура воздуха, °С |
10-15 |
15-25 |
25-40 |
|
Продолжительность выдерживания, ч |
8-6 |
6-3 |
3-1 |
7.47. Для пропаривания оболочек рекомендуется следующий режим: подъем температуры - со скоростью не более 15° в час, прогрев насыщенным паром при температуре 70-80° - в течение 10-16 ч, остывание оболочек в камере до температуры окружающего воздуха - с интенсивностью 10-15° в час.
Этот режим окончательно должен уточняться опытным путем с учетом свойств применяемых цементов и местных условий изготовления и пропаривания оболочек.
7.48. При пропаривании оболочки непосредственно в форме паром, подаваемым во внутреннюю полость, необходимо, чтобы разница в нагреве наружной и внутренней поверхностей бетона оболочек (Dt) не превышала 15°. В противном случае в оболочках будут появляться трещины.
Величину Dt следует определять по формулам:
при пропаривании в закрытом помещении

при пропаривании на открытом воздухе

где Dt - разность температур внешней и внутренней поверхностей оболочки в град;
tп - максимальная установившаяся температура пара в оболочке в град;
tв - минимальная температура воздуха, окружающего оболочку, в град;
d - толщина стенки оболочки в м.
7.49. Для уменьшения разности температур наружной и внутренней поверхностей в случае, если она может превышать 15°, следует наружную форму теплоизолировать или же поместить в объемлющий тепляк.
При теплоизоляции наружных форм величину Dt можно определять по формулам:
при пропаривании в закрытом помещении

при пропаривании на открытом воздухе

где hи - толщина слоя теплоизоляции в м;
lи - коэффициент теплопроводности теплоизоляции в ккал/м·ч·град (табл. 22).
Значения коэффициентов теплопроводности lи некоторых теплоизоляционных материалов
|
Наименование материалов |
Коэффициент теплопроводности, ккал/м·ч·град |
|
Вата асбестовая |
0,08 |
|
Вата шлаковая свободно набитая |
0,03-0,04 |
|
Вата шлаковая уплотненная |
0,05-0,06 |
|
Войлок строительный |
0,04 |
|
Камышит сухой |
0,05 |
|
Минеральный войлок |
0,05-0,06 |
|
Опилки в засыпке |
0,08 |
|
Деревянная опалубка |
0,20 |
7.50. При одностороннем пропаривании горизонтально расположенных оболочек (изнутри) не следует допускать скопления в них конденсирующейся воды. Для удаления конденсата оболочки следует укладывать с наклоном в 1/100.
7.51. При подаче пара в вертикально расположенные оболочки рекомендуется полость внутренней формы делить на три-четыре отсека по высоте с подводом пара в каждый отсек по отдельному каналу.
7.52. Запрещается снимать форму с неостывших оболочек, если температура бетона более чем на 10-15° превышает температуру окружающего воздуха.
7.53. До приобретения бетоном прочности не менее 100% от проектной распалубленные оболочки должны находиться в состоянии постоянного увлажнения, которое обеспечивается периодической поливкой секций или помещением их в водную среду.
7.54. После набора бетоном 100% проектной прочности, что устанавливается по результатам испытания контрольных образцов, оболочки можно хранить в естественных условиях.
7.55. В процессе изготовления оболочек необходимо контролировать:
качество материалов (цемента, песка, крупного заполнителя);
качество приготовления бетонной, смеси;
размеры форм;
размеры арматурных каркасов;
положение каркаса в форме;
правильность натяжения арматуры;
правильность укладки бетонной смеси;
режим термовлажностной обработки;
правильность освобождения анкеров от натянутой арматуры;
качество бетона;
размеры оболочек.
7.56. Качество бетона следует контролировать в соответствии с указаниями глав СНиПа I-B.3-62 и III-В.1-62 и ГОСТа 4800-59.
7.57. Если в течение смены дозировку бетонной смеси не изменяют, то для определения прочности бетона изготовляют одну партию контрольных образцов в количестве не менее 9 шт. для ненапряженных и 12 шт. для напряженных оболочек.
Образцы испытывают: после окончания пропаривания (3 шт.), перед спуском натяжения арматуры (3 шт.), перед отгрузкой оболочек заказчику (3 шт.), через 28 суток после изготовления оболочки (3 шт.) для определения марки бетона.
7.58. Образцы отбирают одновременно с бетонированием секций и выдерживают вместе с соответствующими секциями при одном и том же тепловлажностном режиме.
Образцы, предназначенные для определения марки бетона, хранят в лабораторных условиях в соответствии с требованиями ГОСТа 4800-59.
7.59. При изготовлении оболочек методом центрифугирования прочность центрифугированного бетона можно получить путем умножения кубиковой прочности вибрированного бетона на коэффициент, учитывающий повышение прочности центрифугированного бетона в сравнении с вибрированным.
Указанный коэффициент в каждом отдельном случае должен быть установлен опытным путем.
Ориентировочно этот коэффициент при марке бетона 400 может быть принят 1,2.
7.60. На каждой готовой секции, до предъявления ее к приемке, должен быть поставлен порядковый номер, взятый из журнала изготовления.
Номер следует ставить на наружной поверхности бетона на расстоянии 0,5 м от концов секции.
7.61. Изготовленные оболочки должны приниматься на основании рабочих чертежей, актов приемки материалов, актов освидетельствования арматуры, актов испытания контрольных образцов и журнала изготовления оболочек. Помимо проверки указанных документов, в процессе приемки должны производиться наружный осмотр и натурные промеры размеров секций оболочек, при этом проверяется соответствие обследуемых оболочек проекту и выявляются отступления от него.
Выявленные дефекты могут быть устранены по решению ответственного за приемку оболочек или представителя авторского надзора.
7.62. Отклонения в размерах секций или состыкованных оболочек не должны превышать:
|
В длине секций |
±30 мм |
|
В наружном диаметре оболочек: |
|
|
при диаметре до 2 м |
+5 мм -0 |
|
при диаметре более 2 м |
±5 |
|
В толщине защитного слоя |
+5 мм -0 |
|
В толщине стенок: |
|
|
оболочек диаметром 0,4 и 0,6 м |
+5 мм -0 |
|
оболочек диаметром от 0,8 до 2 м |
+7 мм -3 |
|
оболочек диаметром более 2 м |
+10 мм -5 |
7.63. Допускается наличие раковин глубиной до 5 мм и суммарной площадью до 1% от внутренней или наружной поверхности оболочек. Особое внимание следует обращать на плотное соприкасание фланцев с бетоном секций.
Оболочки со сквозными раковинами по месту продольного стыка форм должны быть забракованы.
7.64. Приемка каждой секции заканчивается постановкой на ней клейма установленной формы.
Изготовление и приемку секций следует оформлять в цеховом журнале изготовления оболочек. В журнале отмечаются все скрытые работы, а также выявленные дефекты.
7.65. Погрузку, разгрузку и транспортировку секций в пределах заводской территории или полигона разрешается производить при помощи крана с траверсой, оснащенной захватами, мри достижении бетоном прочности, предусмотренной для этих случаев проектом, но не менее 50% проектной.
7.66. Секции оболочек диаметром 0,4 и 0,6 м можно укладывать в штабеля до четырех рядов по высоте. Между рядами должны быть уложены по две деревянные инвентарные прокладки на расстоянии, равном 0,2 длины секций от ее концов. Прокладки следует располагать в одной вертикальной плоскости. На концах прокладок должны быть укреплены отдельные бруски, препятствующие скатыванию секций.
Секции оболочек диаметром 1 и 1,6 м укладывают на деревянных прокладках в два ряда по высоте, а диаметром 2 м - в один ряд. Секции оболочек диаметром 3 м, как правило, следует располагать в вертикальном положении. Возможность укладки таких секций в горизонтальном положении должна быть проверена расчетом.
7.67. Ширина проездов между штабелями и взаимное расположение последних должны обеспечить удобство осмотра маркировочных знаков и погрузки оболочек на транспортные средства.
7.68. Готовые секции разрешается отгружать заказчику после достижения бетоном прочности, предусмотренной проектом.
8.1. Указания настоящей главы распространяются на работы по погружению в различные грунты железобетонных оболочек диаметром 0,4 м и более.
8.2. Оболочки диаметром до 1 м с закрытым и открытым нижним концом следует погружать в несвязные и слабые связные грунты вибропогружателями или молотами.
Оболочки диаметром 0,4-0,8 м с закрытым нижним концом рекомендуется забивать в плотные глинистые грунты, как правило, молотами при условии, что бетон оболочек будет иметь марку не ниже 400. Погружение оболочек диаметром свыше 1 м с открытым нижним концом необходимо осуществлять вибропогружателями.

Рис. 52. Подмывная трубка:
1-секция трубки; 2-колено; 3-наконечник; 4-соединительная муфта;
5-фланец; 6-резиновый шланг
8.3. Погружение оболочек следует выполнять в соответствии с проектом производства работ, в котором должны быть подробно разработаны:
способ транспортировки оболочек со склада к месту погружения;
конструкция направляющих устройств;
транспортировка, установка и закрепление в проектном положении направляющих устройств;
технология погружения оболочек;
конструкция подмывных устройств (в случае применения подмыва);
график работ, определяющий последовательность погружения оболочек;
указания о режиме подмыва и погружения оболочек;
расчеты потребного количества оборудования, механизмов и плавучих средств, их мощность и производительность.
8.4. В местах возможной встречи оболочек с одиночными валунами или другими случайными препятствиями необходимо тщательно обследовать дно акватории для заблаговременного принятия мер по удалению или преодолению препятствий. Для этого рекомендуется подмывной трубкой (рис. 52), имеющей давление воды на выходе из наконечника 10-15 атм, проверить толщу грунта, по возможности, на глубину погружения оболочек.
8.5. Во избежание примерзания в зимнее время наружной поверхности погружаемых оболочек к грунту необходимо разработку и удаление грунта из полости оболочек вести, как правило, подводным способом, поддерживая уровень воды в оболочках на отметке поверхности грунта (на берегу) или же воды в водоеме.
8.6. Погружению оболочек в грунт должны предшествовать:
проверка соответствия поступивших на стройплощадку секций приложенной технической документации и требованиям настоящих «Технических указаний»;
проверка правильности маркировки секций и составление монтажных схем оболочек требуемой длины;
стыкование отдельных секций (укрупнительная сборка оболочек);
гидроизоляция стыков оболочек;
разметка оболочек по длине, маркировка их и складирование.
8.7. Укрупнительную сборку следует производить в строгом соответствии с проектом производства работ, учитывающим грузоподъемность и подстреловой габарит кранов, предназначенных для установки оболочек на месте их погружения, конструкцию направляющих устройств, глубину погружения оболочек в грунт и глубину воды.

Рис. 53. Стенд для стыкования секций оболочки:
1-опорные ролики; 2-рама; 3-фундамент; 4-ручная лебедка; 5-трос;
6-стыкуемые секции оболочки; 7-стыки секций
8.8. Стыковать оболочки диаметром до 2 м включительно рекомендуется в горизонтальном положении на стенде (рис. 53), обеспечивающем поворот оболочки вокруг продольной оси. Оболочки диаметром 3 м целесообразно стыковать в вертикальном положении.
8.9. Стрелка перелома продольной оси оболочки в месте стыка двух соседних секций не должна превышать 0,0015 суммарной длины стыкуемых секций.
8.10. При стыковании оболочек, в полости которых предусмотрено поддержание более высокого уровня воды, чем горизонт ее в реке, необходимо обеспечить водонепроницаемость соединений.
8.11. Гайки фланцево-болтовых соединений (см. рис. 6) секций оболочек после затяжки должны быть приварены к болтам во избежание их ослабления в процессе вибропогружения оболочек.
При наличии неплотностей фланцы по периметру следует обварить. Применение каких-либо податливых прокладок между фланцами запрещается. В виде исключения для оболочек, заполняемых сплошь бетоном, допускается применение стальных прокладок, привариваемых к фланцам.
8.12. Стыкование секций оболочек диаметром 1,6 м и более сваркой выпусков арматуры с последующим омоноличиванием рекомендуется осуществлять по следующей технологии:
после выверки положения стыкуемых секций сварить 4 пары выпусков, расположенных во взаимно-перпендикулярных диаметральных плоскостях;
скрепленные секции расклинить несколькими парами симметрично расположенных стальных клиньев (рис. 54); для оболочек диаметром 1,6 м рекомендуется 4 пары, для оболочек большего диаметра - 6-8 пар клиньев;
продолжить сварочные работы, при этом, по возможности, двум сварщикам одновременно сваривать две пары диаметрально расположенных стержней (последовательность сварки определяется условием равномерного распределения стержней по периметру оболочки на каждом этапе стыкования секций; при работе одного сварщика стыкование каждой пары диаметрально расположенных стержней выполнять последовательно);
после окончания стыкования всех стержней удалить клинья.
При выполнении стыкования оболочек по этой технологии возникают минимальные реактивные напряжения от сварки и обеспечивается необходимая прочность стыков на воздействие динамической нагрузки от вибропогружателя.
8.13. Для омоноличивания, а также изоляции сварных стыков рекомендуется применять быстротвердеющий цемент. С целью ускорения твердения бетона омоноличивания стыков целесообразно использовать паропрогрев или электронагрев. Для электронагрева могут быть применены сварочные агрегаты.

Рис. 54. Схема установки клиньев при сварке
выпусков арматуры стыкуемых секций:
1-секция оболочки; 2-клинья; 3-стык стержней
8.14. После приобретения бетоном омоноличивания 70% прочности от марочной, что устанавливается по результатам испытания контрольных образцов, оболочки могут быть отправлены на склад. К моменту погружения бетон омоноличивания должен иметь прочность не менее 100% марки бетона оболочки. Покрытые торкрет-бетоном стыки до приобретения проектной прочности должны храниться в состоянии постоянного увлажнения.
8.15. Стыки готовой оболочки до погружения должны быть освидетельствованы и приняты по акту представителем технического контроля.
8.16. На каждой
укрупненной (состыкованной) оболочке должны быть поставлены порядковый номер и
дата стыкования. Например
. Это обозначает: оболочка № 5, состыкована 15 августа 1963
г.
Маркировка наносится несмываемой краской на расстоянии 1-0,5 м от фланца. Кроме того, на поверхности оболочки такой же краской обязательно наносится разметка: на глубину воды - через 1 м, а далее - через 10 см; целые метры обозначают цифрами.
8.17. В пределах стройплощадки оболочки рекомендуется перевозить на тележках, оснащенных деревянными подкладками с выкружками, равными радиусу оболочки. На значительные расстояния оболочки диаметром до 1,6 м (включительно) следует перевозить по железной дороге, а также на оборудованных автотрейлерах и тракторных прицепах.
В пределах акватории секции и оболочки следует транспортировать на палубных баржах или плашкоутах, проверенных расчетом на воспринятие сосредоточенных усилий от веса оболочек.
8.18. При наличии плавкранов грузоподъемностью, превышающей в 1,5-2 раза вес оболочки, допускается транспортировать оболочку на стреле крана в вертикальном положении.
8.19. Оболочки диаметром 1,6 м и более можно транспортировать в горизонтальном положении на плаву при условии устройства по их концам временных водонепроницаемых заглушек. Заглушки следует делать инвентарными, из стали с резиновыми уплотнителями. Удаление из внутренней полости оболочек случайно попавшей воды необходимо производить при помощи компрессора производительностью 6-9 м3/мин, устанавливаемом на буксире или на отдельном судне. Спуск оболочек на воду, их транспортировку на плаву следует осуществлять в соответствии с проектом производства работ, в котором должны быть сделаны проверочные расчеты прочности оболочек на наиболее невыгодные случаи загружения.

Рис. 55. Строповочное устройство:
1-элемент таврового сечения;
2-накладка; 3-уголок; 4-ребра

Рис. 56. Захват для оболочек диаметром 1,6 м
8.20. Для строповки секций оболочек рекомендуется применять приспособления жесткой конструкции (рис. 55), прикрепляемые к фланцам или выпускам продольных стержней арматуры.
Строповку горизонтально расположенных оболочек и секций рекомендуется проводить с применением специальных захватов (рис. 56), гарантирующих сохранность поверхности бетона от повреждения. Допускается использование петлевых стропов, но с мягкими прокладками. Места строповки оболочки или секции должны находиться на расстоянии 0,2 их длины от концов.
8.21. Для сохранения проектного положения погружаемых оболочек следует применять направляющие устройства, конструкция которых определяется типом сооружения, местными условиями погружения и устанавливается проектом производства работ.
В качестве направляющих устройств рекомендуется использовать копры, подвешиваемые к портальным кранам направляющие стрелы, направляющие каркасы и кондукторы различных конструкций.

Рис 57.
Подвесная стрела:
1-стрела; 2-портальный кран; 3-оболочка; 4-вибропогружатель; 5-лебедки
8.22. Подвесная стрела (рис. 57) должна иметь направляющие устройства и подвижные захваты, поддерживающие вибропогружатель и фиксирующие оболочку в заданном положении. Верхнюю часть стрелы следует подвешивать на шарнирах к каретке, обеспечивающей перемещение ее вдоль ригеля портального крана. Нижнюю часть стрелы необходимо закреплять за горизонтальную распорку.
Портал и стрелу следует делать в виде сплошном или решетчатой конструкции. В последнем случае рекомендуется использовать инвентарные конструкции УИКМ.
Направляющие стрелы в виде копра рекомендуется собирать из конструкций УИКМ (рис. 58). Такие копры можно использовать для погружения наклонных оболочек диаметром до 1,6 м (включительно).

Рис.
58. Направляющая стрела в виде копра:
1-станина (основание); 2-стрела; 3-пинтовая распорка: 4-направляющие
аппарели; 5-рельсовый путь; 6-противовес; 7-оболочка;
8-вибропогружатель; 9-ролики; 10-лебедка
8.23. Направляющие каркасы следует конструировать из одной (одноярусные), двух (двухъярусные) или нескольких, (многоярусные) решетчатых горизонтальных плоскостей с ячейками для пропуска оболочек. Плоскости необходимо объединять системой вертикальных связей в неизменяемую пространственную конструкцию. Направляющие каркасы рекомендуется монтировать из конструкций УИКМ (рис.59).
Применение каркасов разового использования, остающихся в бетоне фундаментной плиты, допускается в случаях включения их в работу конструкции в качестве жесткой арматуры.
8.24. Одноярусные каркасы рекомендуется применять при погружении вертикальных оболочек на водотоках со скоростью течения менее 1 м/сек и глубиной воды до 15 м.
На водотоках со скоростью течения воды более 1 м/сек, а также при погружении наклонных оболочек необходимо применять двухъярусные или многоярусные каркасы, которые целесообразно использовать также в качестве распорных креплений ограждений глубоких котлованов.

Рис.
59. Направляющий каркас:
1-элементы УИКМ: 2-ячейки для оболочек; 3-деревянные брусья; 4-ячейки
для установки маячных оболочек
8.25. Переставные и передвижные направляющие каркасы (рис. 60) рекомендуется использовать в конструкции комплексных агрегатов, предназначенных для строительства транспортных эстакад на море, водотоках и болотах. В этом случае, при установке и погружении оболочек очередного ряда, каркас раскрепляется за два предыдущих ряда ранее погруженных оболочек.
8.26. При необходимости погружения большого количества оболочек диаметром 1-2 м при глубине воды до 15 м на строительстве эстакад, пирсов и причалов в пределах одного бассейна целесообразно применять плавучий направляющий кондуктор (рис. 61), представляющий собой закрытый понтон с жестко закрепленными к нему направляющими ячейками, которые выполняются в виде обойм, раскрывающихся гидроприводами по диаметральной плоскости.
8.27. Для облегчения установки, а также предохранения оболочек от повреждения металлическими элементами в ячейках каркаса или кондуктора следует закреплять направляющие деревянные брусья. При вертикальных оболочках надо ставить направляющие брусья длиной не менее 2 м в одноярусных и не менее 4 м в двухъярусных каркасах. Для наклонных оболочек длину брусьев следует принимать не менее 6 м.
Круговой зазор между оболочками и направляющими брусьями необходимо принимать равным 2-3 см.
8.28. При погружении оболочек в водотоках направляющие устройства следует располагать на плавучих средствах, временных подмостях и опирать на дно водоема через оболочки или сваи. Конструкция закрепления направляющих устройств зависит от глубины и скорости течения воды, физико-механических свойств грунтов дна водоема, необходимой точности погружения оболочек и т. п.
При глубине воды свыше 15 м, скорости течения менее 1 м/сек и отсутствии сильных ветров направляющие устройства целесообразно размещать на плавучих средствах.
При скорости течения свыше 1 м/сек, наличии сильных ветров направляющие устройства, главным образом, каркасы, следует после установки их в проектное по высоте и в плане положение подвесить на нескольких погруженных оболочках, освободив от плавучих средств.
8.29. Каркасы весом 30-50 т допускается устанавливать плавучими кранами. При отсутствии мощных кранов, а также при более тяжелых каркасах последние рекомендуется ставить плавучими системами, состоящими из трех плашкоутов (понтонов) (рис. 62). Средний, впоследствии удаляемый плашкоут предназначается для сборки каркасов; крайние - для опускания его в проектное положение.
Тяжелые каркасы следует опускать полиспастами, установленными на вышках крайних плашкоутов. Фермы для взаимного объединения плашкоутов, а также вышки для полиспастов целесообразно собирать из конструкции УИКМ. Плашкоуты следует монтировать из понтонов КС.

Рис.
60. Передвижной направляющий каркас:
1-направляющие устройства; 2-консольная ферма; 3-оболочки; 4-насадка (ригель);
5-анкерное закрепление; 6-верхнее строение эстакады; 7-вибропогружатель

Рис.
61. Плавучий направляющий кондуктор:
1-понтон; 2-открывающиеся захваты; 3-оболочки; 4-вибропогружатель
8.30. Кондуктор или плавучую систему с каркасом на месте их установки необходимо раскрепить якорями. Раскрепление плавучей системы на реках со скоростью течения более 1 м/сек и при наличии интенсивного судоходства рекомендуется осуществлять с применением якорницы (рис. 63).
8.31. Каждое якорное устройство должно включать:
якорь, тип и вес которого определяются расчетом с учетом правил Речного Регистра СССР в зависимости от типа судна и его характеристики;
стальной трос или якорную цепь длиной, обеспечивающей заброску якоря на расстояние, кратное 10-15 глубинам воды;
механизм для навивки троса, имеющий грузоподъемность в 2-2,5 раза превышающую вес якоря;
буек, прикрепленный канатом к якорю, обозначающий его местоположение.

Рис.
62. Плавучая система с каркасом:
1-каркас; 2-поддерживающие понтоны; 3-соединительные фермы
из УИКМ; 4-полиспастные вышки; 5-полиспасты; 6-якорные тросы; 7-понтон
для сборки каркаса

Рис.
63. Схема раскрепления направляющего каркаса на водотоке:
1-каркас; 2-поддерживающие понтоны; 3-якорница (понтон); 4-становые
якоря; 5-задние и боковые якоря плавучей системы; 6-боковые якоря якорницы;
7-якорные тросы
8.32. Погружение оболочек рекомендуется вести по поточной технологии (рис. 64), при которой значительно сокращаются простои механизмов.
8.33. Тип вибропогружателя (приложение 7) необходимо выбирать, исходя из веса оболочки, ее размеров, глубины погружения в грунт и его физико-механических свойств, а также ориентировочных параметров, установленных на основании опыта погружения оболочек в средние и плотные грунты (табл. 23).
8.34. Во всех случаях, где это представляется возможным, оболочки следует погружать на проектную глубину без выемки грунта из их полости. При недостаточной мощности вибропогружателя, а также необходимости заглубления оболочки в плотные грунты из их полости грунт следует периодически удалять.
Параметры вибропогружателей в зависимости от диаметра оболочек
|
Диаметр оболочек, м |
Момент эксцентриков вибропогружателя, кгм |
Возмущающая сила, т |
Мощность электродвигателя, квт |
|
0,4 и 0,6 |
100-200 |
27-50 |
60-100 |
|
0,6-1,6 |
200-300 |
50-100 |
80-100 |
|
1,6-2 |
300-500 |
100-150 |
100-160 |
|
2-3 |
500-600 |
150-300 |
160-250 |
Несвязные грунты при вибропогружении в них оболочек необходимо удалять до уровня ножа или на 1-2 м выше его. Плотные связные грунты рекомендуется удалять на 2-3 м ниже ножа.
Оболочку диаметром 1-2 м, погружаемую в несвязный грунт на последнем этапе (залоге) погружения, после того как в полости оболочки образовалось грунтовое ядро высотой не менее 2 м, следует провибрировать 7-10 мин, а оболочку диаметром 3 м - 12-15 мин для уплотнения грунта в ядре и основании, а также расположенного вокруг оболочки. В связных грунтах вибропогружатель следует выключать при скорости погружения оболочки 2 см/мин и менее.
Для повышения степени уплотнения несвязного грунта основания в полости оболочки в процессе погружения следует поддерживать уровень воды на 3-5 м выше уровня воды, окружающей оболочку.
8.35. При встрече оболочки с препятствием, в результате чего резко увеличивается амплитуда колебания вибросистемы без увеличения заглублении, вибропогружение должно быть немедленно остановлено и приняты меры по преодолению препятствия, если оболочку надо заглублять дальше в грунт. Для контроля вибропогружения оболочки и автоматического оповещения о наступлении виброударного режима работы вибросистемы необходимо к погружаемой оболочке прикреплять специальные приборы-фиксаторы порога замедлений (ФПЗ) конструкции ЦНИИСа (приложение 8). Руководство по применению этих приборов дано в приложении 9.

Рис.
64. Схема поточного погружения оболочек:
1-грунт; 2-направляющий каркас; 3-секция оболочки; 4-вибропогружатель;
5-кран с грейфером
8.36. Погружать оболочки следует периодами продолжительностью от 3 до 15 мин с остановками для осмотра состояния крепления вибропогружателя к наголовнику и наголовника к оболочке.

Рис.
65. Эрлифт с подмывной трубкой:
1-эрлифт; 2-стояк эрлифта; 3-съемная заглушка; 4-вентиль; 5-шланг для
промывки эрлифта; 6-трубка для воздуха; 7-подмывная трубка; 8-шланг для подачи
воды; 9-хомут; 10-шланг для подачи воздуха
8.37. При работе с вибропогружателями надлежит руководствоваться заводской инструкцией по их содержанию и эксплуатации. Основные указания по эксплуатации вибропогружателей приведены в приложении 10.
8.38. Если интенсивность погружения оболочек снижается до 2-5 см/мин, из их полости необходимо периодически удалять грунт.
Из полости вертикальных оболочек связные и несвязные грунты рекомендуется удалять одноканатными четырехчелюстными грейферами, из наклонных оболочек эрлифтами и гидроэлеваторами. Для удаления слабых связных грунтов можно применять эрлифт с подмывной трубкой (рис. 65), предназначенной для предварительного рыхления грунта.
8.39. Диаметр всасывающей трубы эрлифта следует принимать 150-200 мм. При этом для эрлифта с диаметром трубы 150 мм требуется компрессор производительностью 9-12 м3/мин, а с диаметром 200 мм - 15-18 м3/мин.
8.40. Для предотвращения наплыва грунта в оболочку при работе эрлифта необходимо в ней поддерживать воду на уровне более высоком, чем в реке.
8.41. В процессе погружения оболочек необходимо вести журнал работ (приложение 11). К журналу должны быть приложены сводная ведомость (приложение 12) и план расположения погруженных оболочек с указанием их номеров (проектных и фактических), расстояний между оболочками, а также величины угла их наклона.
8.42. Подмыв грунта в основании и по боковой поверхности оболочек следует применять в песчаных, песчано-гравелистых, супесчаных, мягкопластичных суглинистых и глинистых грунтах в случаях:
недостаточной мощности погружающего оборудования;
при погружении оболочек па глубину свыше 15 м, когда амплитуда колебании оболочки становится менее 3 мм.
В гравийно-галечных грунтах подмыв малоэффективен. В плотных и твердых глинах применять подмыв не рекомендуется.
Запрещается применять подмыв при погружении оболочек вблизи существующих сооружений и насыпей, если он может вызвать просадку грунта под ними.
8.43. В погружаемых оболочках диаметром до 1,6 м рекомендуется применять одну подмывную трубку, располагаемую в их полости. Для погружения оболочек диаметром 1,6 м и более в несвязные грунты следует применять наружный подмыв из трубок, расположенных равномерно по периметру на расстоянии 1,5-2 м друг от друга (рис. 66). При погружении наклонных оболочек, в зависимости от диаметра, рекомендуется 2-3 трубки, расположенные преимущественно в верхней части оболочки (рис. 67).

Рис. 66. Схема закрепления подмывших трубок к вертикальной
оболочке:
1-оболочка; 2-нож; 3-подмывные трубки; 4-направляющий хомут;
5-удерживающий хомут; 6-резиновый шланг

Рис. 67. Схема крепления подмывных трубок к наклонной оболочке:
1-оболочка; 2-нож; 3-подмывная трубка; 4-направляющий хомут;
5-удерживающий хомут; 6-резиновый шланг
8.44. Подмывные трубки рекомендуется прикреплять к оболочке удерживающим хомутом (рис. 68), который препятствует смещению трубок: вниз вдоль оболочки, и направляющим хомутом (рис. 69), предотвращающим уход трубок в сторону от оболочки в процессе погружения ее в грунт.


8.45. Подмывные трубки (см. рис. 52) следует собирать на необходимую длину из отдельных секций стальных труб диаметром 50-75 мм и толщиной стенки 3-4 мм, соединяемых муфтами на резьбе.
На нижнем конце трубки крепится на резьбе наконечник с центральным отверстием диаметром 18-24 мм и с четырьмя боковыми отверстиями диаметром по 8-10 мм. Для предотвращения перегиба подводящих шлангов верхний конец трубки следует изогнуть в виде колена.
8.46. Количество воды, подаваемой в каждую подмывную трубку, следует регулировать вентилями, к которым подключают подводящие шланги. Вентили рекомендуется размещать на общем водораспределителе (рис. 70), к которому подводится вода от насосов по резиновому шлангу или трубе диаметром 150 мм.
8.47. Расход и давление воды в каждой подмывной трубке необходимо назначать исходя из свойств грунта и заглубления оболочек в грунт, от 50 до 150 м3/ч при давлении 10-15 атм.
8.48. Для предотвращения наплыва грунта внутрь оболочек в процессе их вибропогружения с подмывом концы трубок следует располагать на 0,5-1,5 м выше нижнего конца оболочки. Опускать трубки до уровня ножа оболочки можно при наличии в полости оболочки грунтовой пробки высотой 2-3 м.
8.49. Засорение подмывных трубок грунтом, оседающим после прекращения подачи воды, следует предотвращать путем устройства в наконечнике обратного клапана, препятствующего заходу в полость трубки смеси воды с грунтом.
8.50. Подмыв надлежит прекращать, когда острие или нож оболочки не дошли на 0,5-1 м до проектной отметки; дальнейшее погружение оболочек до получения расчетного отказа следует производить при отключенном подмыве. При этом такие оболочки должны быть расположены на расстоянии не менее двух рядов, но не менее 5 м от оболочек, погружаемых с подмывом.
8.51. При погружении оболочек необходимо контролировать:
изготовление и установку направляющих устройств;
стыкование и процесс погружения оболочек;
применение подмыва;
оставление грунтовой пробки на последнем этапе погружения;
ведение журнала погружения оболочек.
8.52. Контроль работ, связанных с погружением оболочек, должен осуществляться представителями производственно-технического отдела строительства.

Рис.
70. Водораспределитель:
1-бак; 2-патрубки для присоединения резиновых шлангов подмывных трубок;
3- патрубок для подвода воды от насоса; 4- манометр; 5-подставка
Выявленные отступления от проекта должны быть устранены в процессе производства работ. Не устраненные отступления от проекта должны отражаться в сводной ведомости погружения оболочек.
8.53. Отклонения оболочек фундаментов и опор сооружений от проектного положения в плане при отсутствии специальных указаний в проекте не должны превышать величин, приведенных, в табл. 24.
Допускаемые отклонения от проектного положения верха или низа оболочек
|
|
Диаметр (d) и расположение оболочек |
Длина оболочек в м |
|
|
до 10 |
свыше 10 |
||
|
1. |
Оболочки диаметром 0,4 и 0,6 м: |
|
|
|
|
для однорядного расположения |
0,2 d |
0,2 d |
|
|
для кустов и лент с расположением оболочек в 2 и 3 ряда |
0,3 d |
0,3 d |
|
|
для кустов и лент с расположением оболочек более чем в 3 ряда |
0,4 d |
0,4 d |
|
2. |
Оболочки диаметром от 0,6 до 2 м |
0,4 d, |
0,4 d, |
|
3. |
Оболочки диаметром более 2 м |
Не более 60 см |
|
Тангенс угла отклонения продольной оси оболочек от проектного положения не должен превышать 1/100.
9.1. Целесообразность и метод устройства уширений в основании оболочек должны устанавливаться проектом сооружения с учетом рекомендаций главы II настоящих указаний.
9.2. Опытные работы по освоению технологии устройства камуфлетных уширений рекомендуется производить на погруженных в грунт оболочках, являющихся элементами подмостей или других вспомогательных обустройств. Допускается проведение опытов на оболочках фундаментов, забитых дополнительно к проектному количеству.
9.3. Для устройства буровых уширений в основании оболочек допускается использование станков различной конструкции, обеспечивающих получение уширений заданных размеров и сохранность полости уширения.
9.4. Уширения в связных грунтах рекомендуется разбуривать без применения глинистого раствора. При наличии в зоне устройства уширений прослоек и включений несвязного грунта разбуриванне уширений необходимо производить с глинистым раствором.
Требования к глинистому раствору и рекомендации по его приготовлению и применению даны в приложении 13.
Допускается взамен глинистого раствора устойчивость стенок уширения обеспечивать путем поддержания постоянного уровня воды в полости разбуриваемой оболочки на 3-5 м выше уровня воды, окружающей оболочку. Надежность указанного мероприятия в каждом конкретном случае должна быть проверена в начале работ при устройстве уширения в основании двух-трех оболочек.
9.5. Последовательность камуфлетирования свай допускается любая, удобная для производства работ, если расстояния между центрами соседних оболочек, в которых устраивают уширения сосредоточенными зарядами взрывчатых веществ (ВВ), равны не менее 1,6D, а кольцевыми зарядами - (D1+l,6D2), где D - диаметр камуфлетного уширения в м; D1 - средний диаметр кольцевого заряда в м; D2 - диаметр кольцевой камуфлетной полости в м.
При устройстве очередного камуфлетного уширения до схватывания бетона в ранее заполненном соседнем уширении расстояние между центрами соседних оболочек может быть уменьшено до 1,2D при сосредоточенных зарядах или до (D1+l,2D2) - при кольцевых зарядах.
9.6. Для устройства камуфлетных уширений допускается использовать взрывчатые вещества как дробящего, так и дробяще-метательного действия.
Для подводных взрывов следует употреблять преимущественно влагостойкие ВВ. При изготовлении зарядов из неводостойких ВВ необходимо обеспечить герметическую их упаковку и не применять отсыревшие ВВ.
Качество применяемых ВВ должно быть проверено контрольными взрывами.
9.7. Заряды ВВ взрывать в основании оболочек необходимо, как правило, электрическим способом.
Запрещается использовать для этой цели детонирующий шнур. Последний допускается использовать только для монтажа зарядов.
9.8. При устройстве камуфлетных уширений следует применять заряды взрывчатых веществ:
сосредоточенные - при диаметре оболочек до 1,2 м (включительно) (рис. 71,а) и кольцевые - при диаметре оболочек более 1,2 м (рис. 71,б).

Рис.
71. Схема камуфлетных уширений:
а-образованных сосредоточенным зарядом ВВ; б-образованным кольцевым
зарядом ВВ;
1-оболочка; 2-наконечник; 3-заряд ВВ; 4-уширение
9.9. Ориентировочную величину сосредоточенного заряда ВВ следует назначать по табл. 25 и уточнять после первых осуществленных на строительстве взрывов, исходя из объема бетонной смеси, вошедшей в камуфлетное уширение.
9.10. Ориентировочная величина кольцевого заряда ВВ принимается по табл. 26. Зазор между внутренним диаметром оболочки dвн и внешним диаметром кольцевого заряда (D1+dзар) не должен превышать 5 см, а диаметр кольцевой камуфлетной полости D2 должен быть не более 0,9D1, где dзар - диаметр поперечного сечения кольцевого заряда (см. рис. 71,б).
Зависимость диаметра камуфлетного уширения от веса сосредоточенного заряда ВВ
|
Вес заряда ВВ в кг |
5 |
6 |
7 |
8 |
9 |
10 |
11 |
13 |
|
Диаметр камуфлетного уширения в м |
1,2 |
1,3 |
1,4 |
1.5 |
1,6 |
1,7 |
1,8 |
1,9 |
Зависимость диаметра кольцевой камуфлетной полости от диаметра сечения кольцевого заряда и плотности укладки ВВ
|
Диаметр кольцевой камуфлетной полости D2 в м |
Диаметр dзар (в мм) поперечного сечения внутренней полости кольцевого заряда при плотности укладки ВВ |
||
|
|
0,8 г/см3 |
0,9 г/см3 |
1,0 г/см3 |
|
0,5 |
36 |
33 |
30 |
|
0,6 |
42 |
39 |
36 |
|
0,7 |
48 |
44 |
42 |
|
0,8 |
51 |
48 |
45 |
|
0,9 |
58 |
55 |
52 |
|
1,0 |
63 |
60 |
57 |
|
1,1 |
68 |
64 |
60 |
|
1,2 |
75 |
70 |
65 |
|
1,3 |
80 |
75 |
70 |
|
1,4 |
85 |
80 |
75 |
|
1,5 |
90 |
85 |
80 |
Примечания. 1. Диаметр камуфлетного уширения D исчисляется, как сумма среднего диаметра кольцевого заряда D1 и диаметра камуфлетной полости D2.
2. Отклонение внутреннего диаметра тонкостенной стальной трубы или резинового шланга, используемых для изготовления кольцевого заряда ВВ, не должно отличаться от указанных в таблице величин более чем на ±2 мм.
9.11. Каждый из зарядов должен иметь по 4 электродетонатора, присоединенных параллельно к основной и дублирующей двухпроводной электросетям.
Провода основной и дублирующей сетей должны иметь хорошую гидроизоляцию. Для предохранения от повреждения при укладке бетонной смеси провода следует размещать в тонких стальных трубках или резиновых шлангах, нижние концы которых должны быть доброкачественно заделаны в оболочке заряда.
9.12. Все электродетонаторы перед установкой в заряд следует проверить но сопротивлению и подобрать так, чтобы разница в сопротивлении не превышала 0,3 ом для детонаторов с константановым мостиком и 0,5 ом для электродетонаторов с нихромовым мостиком. Провода электродетонаторов после проверки их сопротивления должны быть замкнуты накоротко до момента присоединения их к основной и дублирующей сетям.
9.13. Заряд ВВ в полость оболочек необходимо опускать на тросе или проволоке.
Использование для этих целей трубок или шлангов, защищающих электровзрывную цепь, запрещается.
При наличии воды в оболочке или при подаче бетонной смеси литой консистенции для предотвращения всплывания ящика с зарядом ВВ к нему следует привязывать дополнительный груз весом 15-20 кг.
9.14. В оболочки, погруженные с закрытым концом, заряды ВВ следует укладывать на дно наконечника.
При погружении оболочек с открытым нижним концом грунт должен быть удален до ножа, а заряд ВВ как сосредоточенный, так и кольцевой должны быть расположены в уровне ножа оболочки.
9.15. После установки заряда на место необходимо проверить целость и общее сопротивление всей электровзрывной цени, при этом разница в расчетном и фактически измеренном сопротивлениях не должна быть более 10%.
9.16. Опущенный в оболочку заряд ВВ для предохранения его от детонации при ударе падающей бетонной смеси следует засыпать слоем песка толщиной 10-15 см; только после этого полость оболочки допускается заполнять бетонной смесью литой консистенции с таким расчетом, чтобы после взрыва заряда ВВ и выхода бетонной смеси в камуфлетное уширение в оболочке оставался слой смеси высотой не менее 2 м.
Минимальный объем бетона V (в м3), который должен быть уложен в полость оболочки перед камуфлетированием, следует определять по формулам:
при сосредоточенном заряде
![]()
при кольцевом заряде
![]()
9.17. Бетонную смесь литой консистенции (осадка конуса - 20-25 см) следует укладывать в оболочки, заполненные водой, методом вертикально-перемещающейся трубы с соблюдением главы XI настоящих указаний.
В оболочки, свободные от воды, бетонную смесь разрешается укладывать сбрасыванием через приемный бункер независимо от высоты ее падения.
При укладке бетонной смеси необходимо принять меры, обеспечивающие электровзрывную сеть от повреждений.
После камуфлетирования полости оболочек заполняют бетонной смесью с осадкой конуса 5-10 см.
9.18. Запрещается взрывать заряд ВВ в полости оболочки, не заполненной бетонной смесью; воду, находящуюся в полости оболочки, нельзя рассматривать в качестве тампонажа.
9.19. Весь процесс камуфлетирования - от укладки заряда до производства взрывов -должен быть непрерывным.
Время между установкой заряда ВВ в оболочку и его взрывом определяется окончанием укладки литой бетонной смеси в оболочку. При необходимости увеличения времени схватывания бетона следует применять соответствующие добавки.
9.20. Диаметр образовавшегося камуфлетного уширения следует проверять по формулам:
при сосредоточенном заряде ВВ
при кольцевом заряде ВВ

где V1 - объем бетона, вышедшего из полости оболочки в камуфлетное уширение в м3, определяется по разности отметок поверхности бетонной смеси в оболочке до и после взрыва.
9.21. В процессе устройства камуфлетных уширений у каждой оболочки производитель работ и представитель технического отдела строительства должны контролировать:
отметку уложенного в оболочку заряда ВВ;
объем уложенной в оболочку бетонной смеси и отметку ее поверхности до взрыва;
отметку поверхности бетонной смеси после взрыва.
Результаты контроля необходимо оформлять в журнале работ (приложение 14), который служит исходным материалом для составления сводной ведомости (приложение 15), прилагаемой к акту приемки фундамента.
9.22. Уширения в основании оболочек диаметром 1,6 м и более, в грунтах, не имеющих валунов размером более 30 см, скальных прослоек и заиленных деревьев, рекомендуется разбуривать станком ЦНИИСа (рис. 72).

Рис. 72. Буровой станок ЦНИИСа:
1-рама; 2-железобетонная оболочка; 3-ротор; 4-приводная штанга;
5-электропривод: 6-режущие ножи; 7-грунтозаборная фреза; 8-гидравлический
привод раскрытия ножей
9.23. Работы по устройству уширения следует выполнять в такой последовательности:
закрепить станок на верхней части оболочки;
пробурить в грунте ниже ножа оболочки лидирующую скважину;
разбурить уширение;
очистить от шлама нижнюю часть лидирующей скважины;
снять станок с оболочки.
9.24. Лидирующую скважину необходимо бурить на глубину, равную расстоянию от низа фрезы до верха открывающихся ножей.
Скважину следует бурить отдельными циклами так, чтобы за каждый из них она углублялась на 0,3-0,5 м.
После наполнения фрезы грунтом буровой механизм извлекают из оболочки для разгрузки грунта. Затем цикл повторяют.
9.25. Уширение в основании оболочки рекомендуется разбуривать в два этапа. На первом этапе за несколько циклов уширение разбуривают до проектного диаметра, для чего постепенно увеличивают раскрытие ножей. В течение второго этапа буровой механизм с ножами, раскрытыми на проектный размер уширения, за несколько циклов опускают на величину, требуемую для создания цилиндрической части уширения.
Продолжительность каждого цикла определяется временем, необходимым для разбуривания количества грунта, равного объему фрезы. Количество разбуренного грунта определяется по величине раскрытия ножей.
9.26. Режим резания грунта фрезой и ножами необходимо контролировать по показаниям ваттметра, включенного в цепь питания электромоторов ротора. Регулирование работы ротора осуществляется изменением степени подачи рабочего органа на грунт. При перегрузке ротора необходимо уменьшать величину подачи, тем самым сократить толщину срезываемой стружки грунта.
9.27. Степень раскрытия ножей следует контролировать по объему жидкости, подаваемой в гидропривод ножей, для чего необходимо провести соответствующую тарировку резервуара, из которого жидкость подается в гидропривод. Дополнительным показателем предельного раскрытия ножей до упоров является повышение давления в гидравлической системе (по показаниям манометра) при постепенном снижении потребляемом мощности электропривода ротора (по показаниям ваттметра).
9.28. Для удаления грунта, попавшего в нижнюю часть лидирующей скважины при разбуривании уширения, а также зачистки забоя фрезу следует при закрытых ножах уширителя углубить в грунт основания скважины на 5-10 см ниже отметки, достигнутой в начале бурения.
9.29. В процессе устройства уширений необходимо вести журнал работ (приложение 16).
Разбуренное уширение должно быть принято представителями технического отдела строительства и заказчика и забетонировано в кратчайший срок по технологии, изложенной в главе XI.
Если разбуренное уширение при наличии в нем воды постояло более суток, то перед заполнением его бетонной смесью необходимо проверить фактические размеры полости уширения, используя для этой цели буровой станок или специальные приспособления.
По окончании разбуривания всех уширений на опоре обязательно составляется сводная ведомость (приложение 17), в которой фиксируются основные параметры уширений и которая служит приложением к акту приемки фундамента.
10.1. Указания настоящей главы распространяются на производство работ по бурению станками ударно-канатного действия скважин в скальных породах для заделки низа несущих столбов фундамента.
10.2. Сущность способа ударно-канатного бурения скважин заключается в дроблении скальной породы буровым снарядом (долотом), который периодически поднимают на тросе и сбрасывают с высоты 0,5-1 м на породу в основании (на забой) разбуриваемой скважины. Для предотвращения образовании на забое местных углублений долото за каждый цикл подъема и сбрасывания поворачивается в плане на угол 5-10°.
10.3. Интенсивность бурения скальной породы зависит от удельного давления режущей части долота на породу, числа ударов за единицу времени, высоты сбрасывания долота и прочности породы.
Для повышения интенсивности бурения следует применять глинистый раствор, который предотвращает повторное дробление частиц разбуренной породы, а также препятствует образованию упругой подушки из оседающих частиц, замедляющей темп бурения.
10.4. Вертикальные скважины диаметром от 0,8 до 1,4 м следует бурить станком ударно-канатного действия УКС-30 (рис. 73).
Техническая характеристика бурового станка УКС-30
|
Вес долота |
2,5 т |
|
Высота подъема долота над забоем: |
|
|
наименьшая |
0,5 м |
|
наибольшая |
1,0 » |
|
Число ударов долота в минуту: |
|
|
наименьшее |
40 |
|
наибольшее |
50 |
|
Мощность электродвигателя |
40 квт |
|
Габариты станка: |
|
|
ширина |
2,84 м |
|
длина |
5,0 » |
|
высота |
16,3 » |
|
Вес станка |
11,15 т |
Станок предназначен для работы с долотом весом 2,5 т. При использовании долот весом 3 т станки УКС-30 необходимо усилить.
Усиление станка заключается в укорочении мачты (уменьшении телескопического раскрытия) с 16,3 до 12 м, усилении подкосов путем замены на новые из труб диаметром 75 мм и усилении осей роликов на мачте.
10.5. Для бурения скважины следует применять литые трехперые долота (рис. 74).
Клепаные долота применять не рекомендуется.
Для повышения износоустойчивости режущие кромки перьев долота необходимо наварить электродами типа ЭНХ-45 по ГОСТу 9466-60.
10.6. Долото весом 2,5 т необходимо подвешивать на тросе диаметром не менее 26 мм, долото весом 3 т - на тросе диаметром не менее 30 мм.
Для быстрой смены долота инструментальный трое следует соединять с долотом на муфтах (рис. 75). К долоту прикрепляют отрезок троса длиной 1,5 м с концевой и упорной муфтами. Концевая муфта имеет резьбу для возможности соединения ее с аналогичной муфтой инструментального троса. Во избежание произвольного развинчивания муфт в них устанавливают стопорные болты. Инструментальный трос и отрезок троса, прикрепленный к долоту, должны иметь одинаковое направление свивки.

Рис.
73. Станок ударно-канатного действия УКС-30:
1-рама; 2-колеса; 3-мачта; 4-редуктор; 5-электромотор; 6-лебедки;
7-укосина с талью; 8-оттяжная рама; 9-кривошип; 10-блок инструментального
троса; 11-трос; 12-подкосы; 13-подклинивающий домкрат

Рис.
74. Литое долото:
1-перо; 2-резцы; 3-отверстие для установки кольцевой муфты троса

Рис. 75. Стыкование троса на муфтах:
1-верхняя муфта; 2- нижняя муфта; 3-муфта, закрепляемая в прорези
долота; 4-отрезок троса; 5- трос для подвешивания долота к станку; 6-стопорный
болт
10.7. Количество буровых станков для одного строительства необходимо назначать, исходя из объемов и сроков окончания работ.
Ориентировочно можно считать, что коммерческая скорость бурения (станком УКС-30 при долоте весом 3 т) вертикальных скважин диаметром 1,4 м в породах прочностью до 400 кг/см2 составляет 0,5-1 м/смену.
На строительстве рекомендуется иметь, как правило, не менее двух станков УКС-30. При небольшом объеме работ (до 20-30 скважин) достаточно одного станка.
10.8. До развертывания работ по бурению скважин в основании фундаментов опор необходимо:
закончить опытное бурение;
получить от проектной организации материалы, характеризующие прочность и трещиноватость пород;
скомплектовать буровое оборудование, опробованное в процессе опытного бурения.
10.9. Подготовка к бурению скважин состоит из следующих работ:
устройства рабочих подмостей;
очистки внутренних полостей оболочек от грунта;
тампонажа забоя (в случае необходимости);
установки на подмости буровых станков и нужного оборудования.
10.10. В зависимости от местных условий для ведения буровых работ в качестве основной несущей конструкции для подмостей рекомендуется использовать погруженные оболочки и направляющие каркасы (применяемые для погружения оболочек) или же сооружать подмости специально.
Основным элементом буровых подмостей является рабочая площадка, предназначенная для размещения на ней одного или нескольких буровых станков с рабочим комплектом оснастки на каждый станок.
10.11. Настил площадки следует делать из досок толщиной 4-5 см с переносным деревянным ограждением. Он должен быть проверен на воздействие нагрузок от бурового станка и долота, установленного на шпальную клетку, а верх его должен находиться на уровне не ниже отметки верха погруженных оболочек.
10.12. После устройства буровых подмостей необходимо из внутренней полости погруженных оболочек полностью удалить грунт.
10.13. Для выравнивания поверхности забоя перед бурением или для предотвращения натекания несвязного грунта под нож оболочки необходимо устраивать тампонажный слой из глины или бетона.
10.14. Определение зазора между ножом оболочки и поверхностью скалы, а также неровностей этой поверхности следует проводить путем зондирования ее подмывной иглой (трубкой) с давлением воды в ней 5-10 атм.
10.15. Тампонажный слой из глины рекомендуется применять для выравнивания забоя при неровностях его до 20 см. Для образования глиняного тампона на забой забрасывают слой комковой коллоидной глины толщиной 0,3-0,5 м и на него - слой камня толщиной 0,2-0,3 м (размер отдельных камней-10-20 см), после чего камень и глину трамбуют долотом.
10.16. Тампонажный слой из бетона следует применять при неровностях забоя свыше 20 см, а также при возможности натекания в оболочку несвязного грунта.
Толщина тампонажного слоя из бетона должна быть не менее 1 м, а марка бетона - не ниже 100. Под воду бетонную смесь необходимо укладывать способом вертикально перемещающейся трубы согласно указаниям главы XI.
10.17. Бурение следует начинать на третий день после укладки бетонного тампонажного слоя.
При добавлении в бетон ускорителя твердения, например, хлористого кальция, допускается начинать бурение скважины на вторые сутки.
10.18. Буровые станки целесообразно устанавливать на подмости в собранном виде. При отсутствии кранов необходимой грузоподъемности разрешается монтировать станки на подмостях.
Станки необходимо устанавливать таким образом, чтобы положение натянутого инструментального троса при опущенном долоте совпадало с продольной осью нижней части оболочки. Правильность установки станка над оболочкой при бурении вертикальных скважин следует проверить отвесом, прикрепленным к верхней части мачты. Долото при этом приподнимается над забоем на 0,5 м. При правильной установке станка инструментальный трос и шнур отвеса должны быть параллельны.
10.19. Каждый станок должен быть укомплектован двумя долотами (из которых одно постоянно находится в работе, а второе - в ремонте или в резерве), желонкой и мерником. Желонка предназначена для удаления шлама из скважин при бурении пород с глинистым раствором. Желонка состоит из обечайки и клапана в ее днище (рис. 76). Мерник, используемый для контроля формы и размеров скважин, представляет собой открытую стальную обечайку диаметром на 0,2 м меньше диаметра скважины. Высота мерника - 1,5-2 м (рис. 77).

Рис.
76. Желонка для удаления шлама:
1-корпус желонки; 2-сферический клапан; 3-дужка

Рис.
77. Мерник:
1- обечайка; 2-дужка; 3-рельсы для увеличения веса
10.20. Перед началом бурения скважин необходимо провести инструктаж обслуживающего персонала, занятого на буровых работах, и опробование оборудования. Инструктаж должен осуществлять главный инженер или начальник производственно-технического отдела строительства.
10.21. Комплекс работ по бурению скважин должен включать: проверку правильности установки станка над оболочкой; опробование станка на оптимальном режиме работы; заброску глины на забой (в случае необходимости) для образования глинистого раствора; процесс бурения; периодическую очистку скважины от шлама и контроль формы и размеров скважины.
10.22. Режим бурения скважин характеризуется числом ударов долота в минуту и высотой его подъема. Кроме того, нa режим бурения оказывает влияние применение глинистого раствора.
Высота подъема долота над забоем зависит от физико-механических свойств разбуриваемых пород. Для пород прочностью до 400 кг/см2 высоту подъема долота принимают 0,5-0,6 м, для более прочных пород - 0,6-1 м.
Количество ударов долота в минуту при бурении скважин должно быть 40-50.
10.23. Глинистый раствор следует применять при бурении скважин глубиной свыше 1 м в прочных породах и 2 м - в слабых породах. Независимо от глубины скважин глинистый раствор можно не применять при бурении мергелей, доломитов, гипса, мела, а также пород, имеющих глинистые прослойки.
10.24. Для образования глинистого раствора следует до начала бурения на забой забросить слой коллоидной глины (комками), равный 0,2-0,3 м.
В течение первого часа бурения необходимо дополнительно забрасывать глину из расчета 0,5-1 м3 на 1 м2 площади забоя.
Перед заброской глины на забой надо опустить долото и при натянутом тросе на него нанести метку (оплести трос проволокой), от которой в дальнейшем будет замеряться величина углубления скважины. Метку следует располагать на таком уровне, чтобы было удобно следить за ее перемещением.
10.25. Каждый раз после углубления скважины, разбуриваемой под глинистым раствором на 0,3-0,5 м, необходимо желонкой удалять шлам.
После каждой (периодической) очистки скважины для компенсации удаленного глинистого раствора в процессе бурения должна дополнительно забрасываться глина из расчета 0,2- 0,3 м3 на 1 м2 поверхности забоя.
Скважины, разбуриваемые без применения глинистого раствора, следует очищать эрлифтами через каждые 0,2-0,3 м углубления. При работе эрлифта, во избежание наплыва грунта, следует в оболочку доливать воду до уровня не ниже, чем в акватории.
10.26. При длительных остановках станка, связанных с ею ремонтом или очисткой скважины, долото необходимо поднять и установить на подмости вблизи оболочки.
Во избежание «захвата» долота оседающим шламом категорически запрещается оставлять долото на забое при любой непродолжительной остановке станка.
При кратковременных перерывах в бурении (до 15 мин) разрешается долото не устанавливать на подмости, а только приподнять над забоем на 3-5 м и оставить его в подвешенном состоянии.
10.27. При подъеме долота на поверхность его надо тщательно осмотреть, обращая особое внимание на состояние резцов и возможное появление трещин.
При обнаружении трещин в долоте дальнейшее его использование до ремонта не разрешается. Если кромки резцов сработались (затупились) более чем на 1 см от проектного очертания, их необходимо наварить специальными электродами (см. п. 10.5).
10.28. В процессе бурения скважин необходимо проверять:
соответствие фактической и проектной отметок поверхности скальной породы по центру каждой оболочки;
правильность формы разбуриваемой скважины (отсутствие значительных местных углублений и неровностей);
соответствие фактической и проектной глубин скважины. Кроме этого, надо отмечать случаи провала инструмента, являющегося показателем наличия пустот или грунтовых прослоек.
10.29. Фактическая отметка поверхности скальной породы должна определяться при помощи подмывной иглы до начала бурения. Отметки основания (дна) пробуренной скважины следует находить по длине троса, на котором подвешено долото.
Форму разбуриваемой скважины необходимо проверять мерником, опускаемым в скважину на тросе после каждой ее очистки. Глубина опускания мерника в скважину определяется по меткам, сделанным на тросе. Разница в глубине опускания в скважину долота и мерника в пределах свыше 0,1 м указывает на наличие на забое местных углублений.
10.30. Местное углубление на забое должно устраняться повторным разбуриванием. Для этого после очистки скважины в нее следует забросить камень крупностью 10-20 см до отметки на 0,2-0,3 м выше верхней границы выступа и начаты повторное разбуривание.
10.31. Контроль за качеством бурения скважин возлагается на сменного бурового мастера.
Результаты бурения скважин должны быть отражены в журнале бурения скважин (приложение 18) и в сводной ведомости пробуренных скважин (приложение 19).
10.32. Каждая пробуренная до проектной отметки скважина должна быть очищена эрлифтом от шлама и глинистого раствора и после этого сдана старшим буровым мастером представителям технического отдела строительства и заказчика по акту (см. приложение 4).
Непосредственно после приемки скважину следует заполнить бетонной смесью в соответствии с указаниями проекта. Если по условиям работ не представляется возможным сразу уложить бетонную смесь, бурить рядом находящиеся скважины не разрешается. В этом случае допускается только бурение скважин через одну непробуренную.
11.1. Указания настоящей главы распространяются на работы по укладке под воду бетонной смеси в котлованы при устройстве водозащитной подушки, в полость уширений, разбуренных в основании оболочек, в скважины, пробуренные в скальных породах для заделки низа несущих столбов, а также во внутреннюю полость вертикальных или наклонных оболочек в случаях, когда укладка бетонной смеси насухо невозможна.
Бетонная смесь в перечисленных случаях должна укладываться способом вертикально перемещающейся трубы (ВПТ) с предварительной промывкой основания оболочек или без нее.
11.2. Предварительную промывку водой под давлением следует применять:
для обеспечения высококачественного соединения бетона несущих столбов со скальной породой;
при необходимости тампонажа бетоном зазоров между поверхностью скальной породы и низом оболочек, погруженных сквозь толщу несвязных грунтов;
для очистки поверхности ранее уложенного бетона от шлама перед продолжением бетонирования полости оболочки после длительного перерыва.
В остальных случаях подводная укладка бетонной смеси должна осуществляться без промывки основания.
11.3. Подводное бетонирование методом ВПТ допускается производить в пресных минерализованных водах при глубине воды до 50 м.
11.4. Не рекомендуется бетонировать указанным способом конструкции, в которых слой укладываемого бетона будет менее 1 м по высоте и 0,6 м в плане.
11.5. До начала основных работ по подводному бетонированию необходимо провести в натурных условиях или в условиях, имитирующих натурные, опытную укладку бетонной смеси способом ВПТ в объеме до 3 м3.
Толщина слоя подводного бетона при опытном бетонировании образцов должна быть не менее 1 м.
11.6. Подводное бетонирование принятых объектов разрешается начинать при условии наличия:
проекта производства работ, составленного с учетом производительности бетонного завода и бетоноукладочных средств:
необходимых и испытанных в производственных условиях оборудования, механизмов и приспособлений;
материалов надлежащего качества и в количестве, обеспечивающем непрерывность бетонирования.
Кроме того, необходимо, чтобы результаты опытного подводного бетонирования были положительными и персонал обучен ведению работ.
11.7. Проект производства работ должен включать:
схемы расстановки и работы бетоноукладочных средств и бетонного завода;;
график работ, определяющий состав и последовательность операций;
указания о режимах бетонирования (интенсивность бетонирования, радиус действия и заглубление труб, требования к бетонной смеси и данные для подбора ее состава);
чертежи подмостей опалубки, конструкции подвешивания бетонолитных труб, нестандартных механизмов и приспособлений;
расчет потребного количества оборудования и механизмов, их мощности и производительности;
расчет потребного количества материалов, площади складов и транспортных средств;
расчет потребного числа обслуживающего и технического персонала.
11.8. При составлении проекта производства работ необходимо провести взаимную увязку бетонирования уширений или скважин с буровыми работами, ведущимися параллельно на одной рабочей площадке.
11.9. Расстановка обслуживающего персонала при бетонировании оболочек осуществляется мастером буровых работ, а при отсутствии бурения - мастером бетонных работ. В помощь мастеру должны быть назначены лица, ответственные за укладку бетонной смеси и следящие за положением низа трубы по отношению к поверхности бетонной смеси.
11.10. Полости оболочек и уширений в различных грунтах, а также скважины в скальных породах перед заполнением их бетонной смесью должны быть приняты по акту (см. приложение 4) представителями технического отдела строительства и заказчика, которые должны назначать и срок начала бетонирования. В процессе приемки необходимо проверить соответствие проекту:
в оболочках - глубины погружения оболочек и отметки поверхности грунта в них;
в оболочках с уширением - размеров уширения и отметки подошвы;
в скважинах - диаметра и отметки дна скважины;
при наличии арматурного каркаса - его размеров и положения.
11.11. Бетонную смесь в полость оболочек и уширений необходимо укладывать через одну, трубу, устанавливаемую по центру оболочки. Для бетонирования водозащитной подушки в котловане следует применять несколько труб, исходя из расчета одна труба на 30-50 м2 площади котлована.
11.12. Трубы рекомендуется размещать таким образом, чтобы вся площадь котлована была перекрыта круговыми зонами действия труб.
11.13. Расчетный радиус зоны действия трубы рекомендуется определять из следующей зависимости:
R £ 6КI,
где R - радиус зоны действия трубы в м (должен быть не более 4 м);
К - показатель сохранения подвижности смеси в ч;
I - интенсивность бетонирования (должна быть не менее 0,3 м3/м2·ч).
11.14. При недостаточной интенсивности бетонирование водозащитной подушки допускается производить блоками. Размеры блока в плане не должны превышать расчетного радиуса действия трубы. Количество труб для бетонирования одного блока назначается исходя из производительности бетонного завода и минимальной интенсивности бетонирования.
11.15. Заглубление низа труб в укладываемую бетонную смесь в течение всего времени бетонирования должно быть не менее 0,8 м.
11.16. Высоту бетонной кладки, возводимой методом ВПТ, следует доводить до отметки, превышающей проектную на 1-1,5%, с последующим удалением верхнего слабого слоя после достижения бетоном прочности не менее 25 кг/см2.
11.17. Для бетонирования способом ВПТ применяются:
трубы для подачи бетонной смеси под воду;
бункера и воронки для загрузки труб;
оборудование для промывки забоя от шлама;
приспособления для изоляции бетонной смеси от воды при первоначальном заполнении труб;
приспособления для подъема и опускания труб, а также для их наращивания и укорочения;
подмости для подвешивания труб, размещения оборудования и персонала;
оборудование для приготовления бетонной смеси;
приспособления и устройства для транспортирования бетонной смеси к трубам;
вспомогательные устройства - освещение, связь, спасательные средства и др.
11.18. Для подачи бетонной смеси в полость оболочек, скважин и уширений следует применять трубу диаметром 30 см, имеющую приемную воронку, вибратор, направляющие фонари для центрирования трубы в оболочке и подмывные трубки для промывания забоя перед укладкой бетонной смеси в скважины, пробуренные в скальной породе (рис. 78).
Для подачи бетонной смеси в водозащитную подушку котлована рекомендуется применять трубы диаметром 25-30 см с приемной воронкой.
11.19. Трубы, составленные из отдельных звеньев, рекомендуется изготовлять из листовой стали толщиной 4-5 мм.
Звенья трубы должны быть без вмятин, выступов и наплывов сварки на внутренних стенках.
11.20. Верхняя часть трубы, примыкающая к воронке, собирается из звеньев длиной 1-2 м (рис. 79,а) на высоту, равную толщине слоя бетона. Длина нижнего звена назначается из условия удобства транспортирования и монтажа. Конец нижнего звена следует усилить ободком из полосовой стали (рис. 79,б).
Количество запасных звеньев должно составлять 20-25% от общего их числа.

Рис. 78.
Бетонолитная труба:
1-воронка; 2-вибратор; 3-труба; 4-фланец;
5-водоподводящий шланг; 6-подводящая труба; 7- центрирующий фонарь; 8-хомут;
9-водоразводящее кольцо; 10-подмывные трубки
11.21. Звенья трубы следует соединять при помощи фланцево-болтовых соединений с водонепроницаемыми прокладками (рис. 79,в). Собранную из звеньев трубу необходимо проверить гидравлической опрессовкой под давлением 3 атм.

Рис.
79. Звенья (секции) бетонолитной трубы:
а-промежуточное; б-нижнее; в-деталь соединения звеньев;
1-обечайка; 2-фланец; 3-уплотннтельная прокладка; 4-кольцо; 5-болт
11.22. Для промывки забоя непосредственно перед укладкой бетона на бетонолитной трубе с помощью съемных хомутов укрепляют 2-3 подмывные трубки (см. рис. 78) диаметром 50 мм с центральным отверстием в наконечниках диаметром 20 мм. Воду подают по одной подводящей трубе диаметром 100 мм.
11.23. У основания воронки на трубе укрепляют навесной вибратор мощностью 1-1,5 квт, который включают в работу в случае заклинивания бетонной смеси в трубе.
11.24. Для контроля за положением низа трубы по отношению к поверхности бетонной смеси на верхней части трубы на длине, равной толщине слоя укладываемого бетона, яркой краской наносят деления через 10 см. Заглубление низа трубы в бетонную смесь определяют по разности между длиной участка трубы, расположенного ниже настила подмостей, и промером, получаемым при установке отвеса на поверхность смеси.
11.25. Для питания трубы бетонной смесью, кроме воронки (рис. 80), применяют расположенный над воронкой бункер (рис. 81). Воронка на бетонолитной трубе должна иметь объем не менее объема трубы, объем бункера - не менее 2 м3.
11.26. Воронку и бункер следует изготовлять из листовой стали толщиной 4-5 мм с обвязкой из угловой стали.
Бункер следует оборудовать плотным затвором.
11.27. Конструкция подмостей для подвески труб и размещение механизмов, оборудования и персонала должна обеспечивать:
заполнение воронок труб бетонной смесью при различном их положении;
подъем и опускание трубы;
сохранение положения трубы при смене и снятии верхних звеньев;
наблюдение за режимом бетонирования (заполнение труб, их заглубление в бетонную смесь и пр.).
11.28. Для подвешивания трубы рекомендуется применять инвентарный подъемник из элементов УИКМ (рис. 82). Допускается использовать для указанной цели порталы и башенные подъемники различных конструкций.
11.29. Механизмы подъема и опускания трубы должны перемещать ее вдоль оси с точностью 3-5 см и быстро опускать на 30-40 см. Грузоподъемность указанных механизмов должна соответствовать весу трубы с бетонной смесью при максимальной ее длине. Механизмы следует располагать вблизи трубы, чтобы обслуживающий персонал мог вести наблюдения за трубой.

Рис.
80. Воронка бетонолитной трубы:
1-воронка; 2-патрубок; 3-фланец; 4-серьги дли подвешивания

Рис.
81. Бункер для бетонной смеси:
1-корпус; 2-опорное устройство; 3-секторный затвор

Рис 82. Подъемник из конструкций УИКМ:
1-башня из элементов УИКМ; 2-бункер; 3-воронка; 4-бетонолитная труба;
5-подмости; 6-лебедка; 7-трос; 8-ролик
11.30. Первоначальное заполнение труб бетонной смесью должно осуществляться с применением предохранительных пробок.

Рис. 83. Стальная пробка:
а-конструкция; б-схема установки пробки в воронке;
1-воронка; 2-бетонная смесь; 3- перекладина; 4-быстроотсоединяемый подвес
пробки; 5-пробка; 6-листовая резина в 2 слоя; 7-направляющие дужки
Конструкция и материал пробок должны исключать возможность их заклинивания в трубе и предохранять от воздействия воды первую порцию бетонной смеси в процессе движения по трубе.
Рекомендуется применять свободно скользящие жесткие (стальные и деревянные) и мягкие (из мешковины, пакли или мешка с опилками) пробки, подвешиваемые в горловине воронки перед началом заполнения ее бетонной смесью.
При подводной укладке бетона в скважины, пробуренные в скальной породе, в основании оболочек рекомендуется применять стальные пробки (рис. 83).
11.31. В качестве опалубки водозащитной подушки следует использовать, как правило, ограждения котлованов (щитовые, шпунтовые из ящиков и др.). В проекте разбираемого ограждения котлована следует предусматривать мероприятия по снижению сил сцепления подводного бетона водозащитной подушки с внутренней поверхностью ограждения.
11.32. При блочном бетонировании водозащитной подушки в качестве опалубки блоков допускается использовать деревянные, стальные и железобетонные щиты как оставляемые в теле подушки, так и снимаемые после достижения бетоном прочности не менее 25 кг/см2.
11.33. Рассчитывать опалубку и ее крепления следует в соответствии с указаниями главы СНиПа III-В.1-62.
11.34. Конструкция опалубки, способ ее изготовления и установки должны обеспечивать:
непроницаемость элементов и швов для цементного теста;
прочность, жесткость и неизменяемость под действием давления бетонной смеси, течения воды, волнения и пр.;
наименьшее количество крепежных работ, выполняемых водолазами под водой.
11.35. Бетонная смесь для подводного бетонирования должна приготовляться в соответствии с указаниями главы СНиПа III -В.1-62.
11.36. Состав бетонной смеси назначается согласно указаниям главы СНиПа III-B.2-62, исходя из необходимой прочности сооружения (см. главу II настоящих указаний) и условий удобоукладываемости. При подборе состава подводного бетона его прочность назначается на 10% выше предусмотренной в проекте.
11.37. Для повышения плотности бетона, а также увеличения пластичности смеси и снижения расхода вяжущего рекомендуется применять поверхностно-активные пластифицирующие добавки.
Вид и дозировку добавок следует устанавливать по данным лаборатории, в зависимости от вида и качества цемента и требований, предъявляемых к бетону.
11.38. Бетонная смесь, укладываемая по методу ВПТ, должна удовлетворять следующим требованиям:
подвижность бетонной смеси в период бетонирования должна соответствовать осадке конуса 18-20 см;
подвижность смеси должна сохраняться в течение времени, необходимого для транспортирования и укладки ее под воду и сохранения нормальных режимов бетонирования. Показатель сохранения подвижности смеси К, определяемый в соответствии с указаниями приложения 20, должен быть не менее 40 мин;
бетонная смесь должна обладать связностью, обеспечивающей свободное прохождение по трубам и распространение без расслоения в полости оболочек, уширений и скважин. Водоотделение смеси, характеризующее ее связность и определяемое в соответствии с указаниями приложения 21, должно находиться в пределах 0,01-0,02.
11.39. В число подготовительных работ входят следующие:
определение отметки поверхности грунта в котловане,
в полости оболочки, отметка дна уширения или дна скважины, пробуренной в скальной породе, и сопоставление ее с данными приемочного акта для выявления осевшего шлама или наплывшего грунта;
очистка (при необходимости) основания перед укладкой бетонной смеси;
установка опалубки при блочном бетонировании водозащитной подушки;
установка арматуры (в местах, предусмотренных расчетом);
установка подмостей, труб и оборудования;
приемка подготовительных работ, в том числе проверка готовности к работе оборудования и механизмов, а также условий бесперебойного обеспечения бетонной смесью.
11.40. Если при контрольном промере отметки поверхности грунта в основании оболочки или в котловане будет обнаружен слой осевшего шлама толщиной более 0,3 м, его необходимо удалить эрлифтом. При толщине слоя грунта в лидирующей скважине уширения более 0,5 м необходимо перед бетонированием дополнительно проверить размеры уширения в основании оболочки.
11.41. При подводной укладке бетонной смеси способом ВПТ необходимо, соблюдать следующую очередность работ:
собрать рабочие подмости и установить на них необходимые оборудование и приспособления;
подвесить бетонолитные трубы в местах, предусмотренных проектом производства работ;
проверить исправность и готовность к работе всего оборудования и механизмов;
первоначально заполнить трубы бетонной смесью;
укладывать бетонную смесь с интенсивностью не менее 0,3 м3/м2·ч;
извлечь и промыть трубы после окончания бетонирования.
11.42. Для первоначального заполнения трубы бетонной смесью необходимо:
установить (подвесить) пробку в горловину воронки;
заполнить воронку бетонной смесью;
приподнять трубу на 20-30 см над основанием;
освободить пробку от крепления;
загружать непрерывно воронку бетонной смесью.
11.43. Для обеспечения необходимого первоначального заглубления низа трубы в укладываемую бетонную смесь надо объем первой порции бетона принять таким, чтобы в месте нахождения трубы образовался слой смеси толщиной не менее 1 м.
Если объем воронки недостаточен, дополнительная бетонная смесь должна быть уложена в приемном бункере над воронкой (см. рис. 82).
При затруднениях с укладкой первой порции бетонной смеси увеличенного объема допускается постепенное заглубление трубы в смесь путем осторожного выпуска бетонной смеси через тщательно регулируемый зазор между низом трубы и основанием.
11.44. При бетонировании водозащитной подушки при помощи нескольких труб рекомендуется трубы включать поочередно. При этом каждая последующая труба должна включаться в работу после того, как в месте нахождения предыдущей трубы образовался слой бетонной смеси толщиной 1-2 м.
11.45. Для укладки бетонной смеси по способу ВПТ с предварительной промывкой в случаях, предусмотренных п. 11.2 следует применять бетонолитную трубу, обстроенную подмывными трубами (см. рис. 78). В этом случае дополнительно к операциям, перечисленным в пп. 11.41 и 11.42, добавляются работы по очистке дна скважины или поверхности скальной породы от бурового шлама и грунта. Основание очищают водой под давлением до 10 атм, поступающей через подмывные трубки, укрепленные на бетонолитной трубе, низ которой в процессе промывки должен касаться поверхности шлама. При этом расход воды составляет 150-300 м3/ч.
Промывка забоя скважины, в зависимости от количества шлама, может продолжаться от 5 до 15 мин и производится до исчезновения остатков шлама, что устанавливается визуально по цвету воды, переливающейся через край оболочки. Ко времени окончания промывки в воронку бетонолитной трубы укладывают бетонную смесь, которую подают в трубу в момент прекращения подачи воды в подмывные трубки. В дальнейшем бетонирование продолжается по технологии, изложенной в пп. 11.41 и 11.42.
11.46. Для бетонирования водозащитной подушки рекомендуется применять трубы, конструкция подвешивания которых дает возможность перемещать их по вертикали на величину, превышающую расчетную толщину подушки на 0,5-1 м.
При бетонировании полости оболочек и уширений конструкция подвешивания трубы должна обеспечивать перемещение трубы на высоту, превышающую на 0,5 м длину звена.
11.47. Очередное звено трубы снимают в следующем порядке:
останавливают движение бетонной массы в трубе путем ее осаживания (дополнительного заглубления);
закрепляют (захватом или подвесом) часть трубы, расположенную ниже снимаемого звена;
освобождают крепление и снимают звено;
опускают воронку и укрепляют ее на оставшейся части трубы;
заполняют воронку бетоном;
уменьшают заглубление трубы в бетоне и продолжают бетонирование.
11.48. При окончании бетонирования следует уменьшить заглубление, опорожнить воронку и трубу и быстро извлечь ее из бетонной смеси.
11.49. Нарушение требовании в отношении подбора состава смеси, заглубления в нее трубы, режима бетонирования приводит к закупориванию трубы бетонной смесью или к прорыву в трубу воды.
11.50. Закупоривание трубы происходит от уменьшения пластичности бетонной смеси, увеличения размеров крупного заполнителя и от продолжительных перерывов в подаче бетонной смеси.
Закупоривание труб может быть ликвидировано путем подъема трубы и быстрого осаживания ее (в пределах допустимого заглубления), а также включения в работу вибратора, установленного в основании воронки.
Если закупоривание трубы не может быть устранено указанными выше способами, бетонирование следует прекратить; при этом необходимо извлечь трубу из оболочки, удалить из нее бетон, очистить ее «ершом» (рис. 84) и промыть водой. После очистки трубы бетонирование возобновляется в соответствии с пп. 11.41 и 11.42.

Рис. 84. Ерш для прочистки бетонолитной трубы:
а-конструкция; б-подвеска ерша в трубе;
1-труба; 2-обечайка; 3-трос; 4-бетон; 5-щетки
из стальной проволоки
11.51. Вода в трубу может поступать через неплотности во фланцевых соединениях отдельных звеньев, при малом заглублении ее в бетонную смесь или при неосторожном подъеме, когда низ ее оказывается выше поверхности бетонной смеси.
При прорыве воды в трубу бетонирование должно быть немедленно прекращено. Сбрасывание в воду бетонной смеси приводит к ее расслоению и полной потере прочности и монолитности бетона. В отдельных случаях при сбрасывании бетонной смеси на воду с высоты 10-15 м вследствие гидравлического удара может произойти разрыв трубы.
11.52. Бетонирование после перерыва может быть возобновлено или немедленно, если перерыв не превысил время, равное показателю сохранения подвижности К (см. приложение 20), или после того, как бетон достигнет прочности не менее 25 кг/см2, если перерыв превысил указанное выше время.
11.53. Немедленное возобновление бетонирования следует проводить согласно приемам, изложенным в пп. 11.41.
11.54. При возобновлении бетонирования после длительного перерыва следует расчистить поверхность ранее уложенного бетона от шлама и туфообразного бетона (путем разбуривания верхнего слоя), а затем продолжить бетонирование теми же приемами, которые были применены в начале работы.
11.55. В процессе работ и после их окончания подлежат обязательному контролю:
качество бетонной смеси и ее составляющих;
режим подводного бетонирования;
качество бетонной кладки.
11.56. Дежурные лаборатории по проверке качества бетона должны:
наблюдать за соответствием характеристик применяемых материалов требованиям настоящих «Технических указаний» и установленным составам бетона;
наблюдать за правильностью дозирования материалов при затворении;
отбирать и испытывать пробы бетона.
11.57. При отборе проб бетонной, смеси необходимо руководствоваться следующими указаниями:
пробы для контроля подвижности и связности смеси отбираются на бетонном заводе и из бункера и воронки трубы каждый час, а также при всех изменениях состава бетонной смеси;
пробы для изготовления контрольных образцов должны отбираться от каждых 25 м3 смеси, но не менее одной пробы от заполнения оболочки и ее уширения независимо от объема укладываемого бетона;
пробы следует отбирать в соответствии с требованиями ГОСТа 4799-57.
11.58. В процессе бетонирования подлежат постоянному контролю:
интенсивность укладки смеси;
величина заглубления трубы в бетон;
уровень бетона в трубе.
Особо внимательно необходимо следить за отсутствием воды в полости бетонолитной трубы.
Данные наблюдений за режимом бетонирования и производимые замеры должны заноситься в журнал (приложение 22).
11.59. Уровень бетонной смеси в оболочке, по которому контролируется величина заглубления трубы в бетон, должен замеряться отвесом (рис. 85) с точностью до 10 см.

11.60. Результаты заполнения бетоном уширений, скважин и оболочек необходимо заносить в сводную ведомость (приложение 23).
11.61. Качество бетона, уложенного способом ВПТ с соблюдением требований настоящих указаний и главы СНиПа III-В.2-62, следует оценивать по результатам испытания контрольных образцов.
11.62. Метод контроля качества бетона, уложенного с нарушением настоящих указаний (прорыв воды в трубу, задержка в поступлении смеси в скважину более 5 сек после прекращения промывки забоя, перерыв в бетонировании оболочки, уширения и скважины, пробуренной в скальной породе в основании оболочки), устанавливается организацией, проектировавшей сооружение.
12.1. Указании настоящей главы распространяются на работы по устройству плит низких и высоких ростверков.
Комплекс работ по сооружению фундаментной плиты включает:
устройство ограждения котлованов;
выемку грунта из котлована до проектной отметки при сооружении низкого ростверка;
конопатку днища ограждения котлована при сооружении высокого ростверка;
укладку, при необходимости, водозащитной подушки на дно котлована;
откачку воды из котлована;
срезку оболочек на проектной отметке;
установку арматуры и опалубки плиты;
бетонирование плиты;
разборку ограждения.
12.2. Фундаментную плиту разрешается сооружать после устройства ограждения котлована и приемки всех работ по акту (см. приложение 5).
Работы следует принимать на основании:
рабочих чертежей фундаментов и опор;
рабочих чертежей и паспортов оболочек;
журналов и сводных ведомостей погружения оболочек, бурения скважин, устройства уширений, а также бетонирования полостей оболочек, уширений и скважин;
актов приемки полостей оболочек, уширений и скважин под бетонирование;
результатов контрольных испытаний несущей способности по грунту оболочек или штампов в них.
12.3. Размеры фундаментной плиты, ее конструкция и применяемые материалы должны соответствовать требованиям проекта сооружения.
Конструкция ограждения котлована и работы по устройству ограждения и плиты должны выполняться в соответствии с проектом производства работ.
12.4. Тип ограждения следует выбирать в зависимости от конструкции фундамента, гидрогеологических условии, заданных сроков строительства, принятой технологии погружения оболочек и стоимости работ.
12.5. Конструкция ограждения, способ его изготовления и установки должны обеспечивать:
непроницаемость элементов и швов между ними для цементного теста;
прочность, жесткость и неизменяемость под действием статических и динамических нагрузок, возникающих в процессе работ (давление воды, грунта и бетонной смеси, воздействие волн, вес оборудования и др.);
наименьшее количество крепежных работ, выполняемых под водой;
необходимую стойкость против агрессивного воздействия внешней среды в случае, когда ограждение используется в качестве облицовки фундаментной плиты.
12.6. Деревянные ограждения могут применяться во всех случаях, когда это допустимо по условиям прочности и устойчивости.
Металлические ограждения следует применять в случаях многократного их использования.
Ограждения железобетонной конструкции допускается использовать в качестве облицовки фундаментной плиты при соответствующем технико-экономическом обосновании целесообразности их применения.
12.7. В конструкции съемных или извлекаемых многократно оборачиваемых ограждений должны быть предусмотрены меры по снижению их сцепления с водозащитной подушкой из бетона, укладываемого подводным способом. В качестве одного из таких мероприятий рекомендуется обмазывать битумом поверхность ограждений в месте соприкасания с водозащитной подушкой.
12.8. Размеры котлована в плане должны определяться проектным очертанием фундаментах необходимыми запасами, обеспечивающими возможность установки и крепления опалубки и производства водоотлива.
Ограждение должно возвышаться над рабочим горизонтом воды на 1-1,5 м.
12.9. Деревянное шпунтовое ограждение применяют в грунтах, не имеющих включений валунов, заиленных деревьев и т.п. Глубину забивки шпунта рекомендуется принимать не более 6 м.
12.10. Ограждение из стального шпунта следует применять, как правило, при заглублении его в грунт свыше 6 м, а также в плотных глинистых, гравийных и гравийно-галечных грунтах. Стальной шпунт является инвентарем строительной организации и предназначен для многократного использования. Запрещается оставлять его в качестве постоянного ограждения опор.
12.11. Из стального шпунта следует делать, как правило, однорядное ограждение. Двойное ограждение устраивается из деревянного шпунта. Ширину между рядами необходимо принимать не менее 1 м.
12.12. Шпунтовые ограждения должны раскрепляться горизонтальными поясами-обвязками по контуру котлована и системой поперечных, продольных и угловых распорок. Во всех случаях следует составлять рабочие чертежи креплений с необходимыми расчетами. Конструкцию крепления следует увязать с размещением оболочек и методом разработки и удаления грунта из котлована.
12.13. Для упрощения и значительного облегчения распорных креплений рекомендуется ограждения из стального шпунта делать в плане кольцевого очертания.
В этом случае крепления могут состоять только из кольцевых поясов-обвязок без поперечных распорок. В качестве обвязок рекомендуется использовать швеллеры, пространство между которыми заполняется бетоном. Количество поясов и места установки их по высоте котлована определяются расчетом.
Для удобства установки и разборки пояса рекомендуется делать составными на болтовых стыках.
12.14. Для повышения водонепроницаемости ограждение целесообразно устраивать из предварительно собранных сплоток пакетов, состоящих из трех шпунтин, стыки между которыми должны быть тщательно проконопачены. Во избежание расстройства конопатки стыков при транспортировке сплоток, необходимо на расстоянии 3-4 м от их концов ставить инвентарные хомуты (рис. 86), которые снимаются после заводки сплотки в свободный замок собранной части ограждения.
12.15. Чтобы не делать замыкающих концевых шпунтин, рекомендуется предварительно набрать (выставить) все ограждение, замкнуть его и только после этого начать погружение в грунт. Для установки замыкающей шпунтины края набранного ограждения, при необходимости, следует стянуть талью или развести реечным домкратом на ширину шпунтины. Если же края ограждения имеют различное направление замков, то замыкающую шпунтину следует сделать из двух сваренных по длине шпунтин (рис. 87).

Рис. 86. Инвентарные хомуты для обеспечения
неизменяемости сплоток:
1-шпунтина; 2-стяжной болт; 3-планка из
двух уголков; 4-распорка

Рис.
87. Замыкающая шпунтина:
а-схема установки замыкающей шпунтины в стенке; б-конструкция замыкающей
шпунтины
12.16. Глубина забивки шпунта ниже дна котлована должна назначаться в зависимости от характеристик грунта и величины гидростатического напора и должна быть не менее 1 м в связных крупнопесчаных и гравелистых грунтах, а в мелкопесчаных и слабых связных грунтах - не менее 2 м.
12,17. Для устройств плит высоких и низких ростверков допускается применять деревянные, дерево-металлические и металлические сборно-разборные ящики и щитовые ограждения, допускающие как установку полностью собранной конструкции, так и поэлементный монтаж в котловане.
В качестве инвентарных ограждений рекомендуется применять металлические щитовые конструкции (рис. 88) и ящики, собираемые из закрытых понтонов типа «КС» (рис. 89).
Железобетонные щитовые ограждения или ящики (рис. 90) рекомендуется, как правило, применять при устройстве плит высоких ростверков.
12.18. В конструкции ограждения котлована высокого ростверка следует устраивать деревянное, дерево-металлическое или железобетонное днище с отверстиями для пропуска оболочек (см. рис. 89). Диаметр отверстий должен превышать наружный диаметр оболочки на 4-5 см.

Рис.
88. Стальное инвентарное ограждение котлована:
1-тело опоры; 2-фундаментная плита; 3-водозащитная подушка; 4-оболочка;
5-бетонное заполнение, 6-деревянное днище; 7-стальные щиты; 8-приспособление
для подвешивания ограждения на оболочке; 9-устройство для подвешивания
ограждения на забетонированной опоре; 10-гидравлический домкрат

Рис.
89. Ограждение из инвентарных понтонов «КС»:
1-понтоны «КС»; 2-днище; 3-водозащитная бетонная подушка; 4-распорные
крепления из конструкции УИКМ; 5-оболочки
12.19. К низу ящика, ограждающего котлован плиты, сооружаемой ниже дна водотока, следует прикреплять металлический или железобетонный нож кессонного типа, облегчающий заглубление ограждения в грунт.
12.20. Распорные крепления щитов и ящиков (см. рис. 89), воспринимающих давление воды и грунта, следует, по возможности, одновременно использовать в качестве направляющих устройств для погружения оболочек и несущих элементов подмостей.
12.21. При конструировании съемных распорных креплений необходимо в проекте ограждения предусматривать последовательность их разборки или перестановки по мере бетонирования плиты и части тела опоры, расположенных ниже рабочего горизонта воды.

Рис.
90. Ограждение из железобетонного ящика (или железобетонных щитов):
1-ящик; 2-водозащитная подушка из бетона: 3-понтоны «КС», обеспечивающие
плавучесть ограждения: 4-распорные крепления из конструкция УИКМ; 5-оболочки
12.22. При использовании для ограждения понтонов в конструкции днища, а также ножа, остающегося в грунте, должны быть предусмотрены устройства, которые позволяют отсоединять понтоны от этих конструкций при затопленном котловане.
12.23. Взаимное соединение щитов или понтонов необходимо осуществлять креплениями, обеспечивающими водонепроницаемость стыков и воспринимающими действующие усилия.
В качестве креплений допускается использовать замки стальных шпунтин, болты, клиновые хомуты и т. п.
Для обеспечения водонепроницаемости ограждения в местах взаимного соединения понтонов следует устанавливать резиновые прокладки.
12.24. Работы по устройству щитового ограждения котлована рекомендуется выполнять в следующей очередности:
установить и закрепить в проектное положение распорно-направляющий каркас ограждения;
последовательно установить и замкнуть щиты по периметру каркаса после погружения всех оболочек до проектной отметки.
При высоком ростверке щиты устанавливают на днище, прикрепленное к распорно-направляющему каркасу, при низком ростверке - на поверхность грунта и после замыкания ограждения погружают. Глубина погружения определяется в проекте производства работ в зависимости от грунтовых условий и конструкции щитов.
12.25. Ограждения в виде ящика из щитов или понтонов рекомендуется монтировать на берегу с последующим спуском на воду по стапелям или на плавучих средствах.
12.26. Собранный ящик следует устанавливать на место сооружения фундамента, используя его собственную плавучесть, или с помощью специальных плавучих средств: плавучих кранов соответствующей грузоподъемности, судов, барж, а также понтонов «КС», обстроенных для опускания ящика в проектное положение. При использовании понтонов ящик в проектное положение по высоте следует устанавливать путем заливки понтонов водой.
12.27. Временное закрепление ящика в проектном положении для предотвращения перемещений в плане необходимо осуществлять тросовыми расчалками, а постоянное закрепление - на нескольких погруженных в грунт оболочках.
12.28. При подъеме уровня воды в акватории для предотвращения всплытия обладающего плавучестью ограждения его необходимо пригрузить грузом, равным 20-30% веса ограждения.
12.29. После окончания работ по устройству ограждения котлована низкого ростверка следует, как правило, до начала погружения оболочек удалить грунт. Если котлован расположен в несвязном грунте, а оболочки погружают с применением подмыва и возможно натекание грунта в котлован или деформация ограждения в процессе работ по вибропогружению оболочек, грунт следует удалять после заглубления всех оболочек до проектной отметки. Несвязный грунт из котлована рекомендуется удалять эрлифтом.
12.30. После погружения оболочек и устройства ограждения котлована высокого ростверка следует тщательно проконопатить зазоры между оболочками и днищем ограждения (работу выполняет водолаз).
При зазорах более 3 см рекомендуется применять деревянные полущиты с резиновым уплотнителем на контакте с оболочкой.
12.31. На дно котлована, после погружения всех оболочек до проектной отметки, для предотвращения поступления воды снизу в период устройства плиты следует уложить водозащитную подушку из подводного бетона толщиной не менее 1 м в соответствии с требованиями главы XI настоящих «Технических указаний».
12.32. Откачивать воду из ограждения разрешается после приобретения подводным бетоном прочности, указанной в проекте, но не менее 25 кг/см2.
Прочность бетона определяется по результатам испытания трех контрольных кубиков, хранившихся в условиях твердения подводного бетона.
12.33. В процессе откачки воды из ограждения необходимо поставить предусмотренные проектом крепления и принять меры по уменьшению просачивания воды через стыки шпунтин или щитов.
В качестве одного из таких мероприятий рекомендуется обсыпка стыков ограждения с внешней стороны влажной смесью песка и деревянных опилок в пропорции 1:1-1:2.
12.34. После осушения котлована необходимо удалить туфообразный слой бетона с поверхности водозащитной подушки и с поверхности бетонного заполнения внутренней полости оболочек.
12.35. После установки опалубки и укладки арматуры плиты необходимо тщательно промыть напорной водой поверхность бетона водозащитной подушки. Плита должна бетонироваться в соответствии с указаниями главы СНиПа III-Д.2-62.
12.36. Затапливать котлован и разбирать ограждения разрешается только по достижении бетоном плиты прочности не менее 50 кг/см2.
13.1. Настоящие указания по технике безопасности охватывают производство специфических работ по сооружению фундаментов и опор из сборных железобетонных оболочек и являются дополнительными к действующим инструкциям по эксплуатации оборудования, механизмов и устройств, а также к требованиям техники безопасности общих работ, изложенным в действующих «Правилах техники безопасности на строительство мостов и труб» и главе СНиПа III-А.11-62 («Техника безопасности в строительстве»).
13.2. Настоящие указания по технике безопасности обязательны для всех организаций, выполняющих работы по строительству фундаментов и опор из сборных железобетонных оболочек железнодорожных, автодорожных и городских мостов.
13.3. При разработке проектов организации строительства и проектов производства работ должны учитываться требования настоящей главы и других действующих правил техники безопасности, а также санитарных и противопожарных норм.
13.4. Все оборудование и оснастка,, включая подмости, опалубку и т.п., необходимые для строительства фундаментов и опор из оболочек, а также технология отдельных видов работ должны соответствовать действующим требованиям по технике безопасности и требованиям, приведенным в проекте производства работ.
Отступления от проекта производства работ допускаются по согласованию с организацией, составившей этот проект.
13.5. Площадки, на которых выполняются работы по вибропогружению оболочек, бурению скважин и уширений в основании оболочек, подводному бетонированию, должны быть ограждены, освещены и оборудованы связью, а также противопожарными и спасательными средствами.
13.6. Погружение в грунт оболочки диаметром более 1 м должны быть, как правило, закрыты сборными щитами, снимаемыми только на период установки или выемки эрлифта, бурового инструмента или бетонолитной трубы. Для пропускания инструментального троса при бурении в оболочке следует устраивать в щитах специальные прорези.
13.7. Применяемые механизмы и оборудование должны соответствовать характеру выполняемой работы, находиться в исправном состоянии и быть ограждены в опасных местах.
Запрещается оставлять работающие механизмы без надзора.
Не допускается использовать приводной механизм бурового агрегата для подъема бурового инструмента, засыпанного наплывшим грунтом. Такой инструмент следует поднимать краном с контролем величины прикладываемого усилия.
13.8. Механизмы и устройства с электрооборудованием должны быть обязательно заземлены, а подводящие к ним электроэнергию провода и соединения должны иметь достаточные сечения и исправную изоляцию.
Электрооборудование разрешается ремонтировать только после отключения его от сети.
13.9. Весь персонал, управляющий машинами и механизмами, в том числе центрифугами, вибропогружателями и буровыми агрегатами, должен иметь соответствующие права.
13.10. Монтировать и опробовать оборудование разрешается только под руководством старшего мастера.
Во время работы пуск оборудования должен осуществляться по команде бригадира или сменного мастера.
13.11. Производители работ обязаны лично присутствовать и руководить работами на особо ответственных участках, таких, как установка направляющих устройств для погружения оболочек, подводные работы в котловане и полости оболочек.
13.12. Перед началом работ производитель работ или мастер обязан ознакомить рабочих с характером предстоящей работы, с рабочим местом и подходами к нему, указать на возможные опасности и приемы пользования предохранительными и защитными приспособлениями при выполнении задания.
До начала работ мастер должен проверить состояние рабочего места, инструмента, спецодежды и предохранительных приспособлений.
13.13. Руководящий технический персонал обязан обеспечить выполнение всех технических и организационных мероприятий по безопасности производства работ, а также выполнение установленных инструкций и правил по технике безопасности.
13.14. Начальник или главный инженер строительства моста обязан обеспечивать ежегодную проверку знаний правил техники безопасности инженерно-техническими работниками и при неудовлетворительном знании этих правил не допускать их к руководству работами.
13.15. Вновь поступающие рабочие могут быть допущены к работе только после прохождения ими общего инструктажа по технике безопасности и инструктажа по технике безопасности непосредственно на рабочем месте, который должен производиться также при каждом переходе на другую работу или изменении условии работы.
Результаты инструктажа должны быть оформлены документами.
13.16. Кроме инструктажа, необходимо не позднее трех месяцев со дня поступления рабочих на строительство обучить их безопасным методам работ по утвержденной программе. После окончания обучения главный инженер строительной организации должен обеспечить проверку знаний рабочих и выдачу им удостоверений.
Проверка знании рабочими требований техники безопасности проводится ежегодно.
13.17. Ответственность за общее состояние техники безопасности несут начальник и главный инженер строительства моста, а за состояние в пределах порученных им участков - остальные руководители работ.
13.18. Стальные вертикально расположенные виброформы высотой, более чем в 4 раза превышающей наружный диаметр оболочки, должны быть закреплены против возможного опрокидывания.
13.19. Площадка у верхнего конца вертикальной виброформы, предназначенная для нахождения рабочих, принимающих бетонную смесь из кубла, должна иметь съемные круговые перила и съемные лестничные сходни для подъема и спуска рабочих.
13.20. Конструкция объемлющих деревянных тепляков, предназначенных для пропаривания оболочек в виброформах в зимнее время, должна отвечать действующим строительным и противопожарным нормам.
13.21. Конструкция подвешивания кубла к крюку крана должна исключать возможность самопроизвольного отсоединения подвеса от гака при случайном опирапии кубла о виброформу.
13.22. Центрифуга должна иметь постоянное ограждение, внутрь которого запрещается заходить во время ее работы.
13.23. Запрещается работать на центрифуге:
при неисправном заземлении и поврежденной изоляции электропроводов;
при отсутствии или поломке каких-либо ее деталей;
при повреждении станины или крепления ее к фундаменту;
при снятом защитном кожухе с ременной передачи;
при неопущенных и незакрепленных верхних огражденях;
при незакрытых створках внешнего ограждения.
13.24. Настенный рубильник должен быть помещен в запирающемся кожухе. Когда центрифуга не работает, рубильник должен быть выключен, а кожух заперт.
Запрещается ремонт центрифуги, если настенный рубильник включен. Во время ремонта центрифуги на настенном рубильнике должен быть повешен плакат с надписью: «Рубильник не включать - ремонтируется центрифуга».
13.25. Работы по изготовлению предварительно напряженных оболочек должны выполняться квалифицированными рабочими, специально обученными выполнению подобных работ под руководством инженерно-технических работников, хорошо знающих проекты конструкции и технические условия на эти работы.
Рабочие, мастера, производители работ, начальники цехов и участков допускаются к выполнению работ по изготовлению предварительно напряженных оболочек только после сдачи техминимума.
13.26. Производство работ по упрочнению арматуры должно оформляться выдачей письменного допуска, прилагаемою к наряду. В допуске должны быть перечислены основные необходимые мероприятия по технике безопасности.
13.27. Упрочнение арматуры должно производиться в специально выделенную смену. Во время этой смены никаких работ в пролете цеха, где установлен стенд для упрочнения, производить не разрешается.
13.28. Вокруг стенда, предназначенного для упрочнения арматуры, необходимо устанавливать сплошное инвентарное ограждение.
Пульт управления натяжной станции надо оградить угловым щитом для защиты рабочего в случае обрыва стержня. На манометр домкрата устанавливается защитный козырек.
13.29. Во время всех операций, связанных с вытяжкой арматуры, не допускается проход по рабочему месту лиц, не занятых на этой работе, для чего из состава бригады выделяется специальный дежурный, а проходы по цеху ограждаются.
13.30. Запрещается производить на стенде какие-либо рабочие операции во время упрочнения арматуры.
Должно быть выделено специальное огражденное место для укрытия рабочих, занятых на упрочнении арматуры, во время рабочего хода натяжного домкрата.
13.31. Направляющие устройства для погружения оболочек должны исключать возможность падения оболочки на рабочие подмости.
В ячейках направляющих каркасов и кондукторов должны быть предусмотрены устройства, облегчающие заводку нижнего конца оболочки в ячейку.
13.32. Для размещения рабочих, производящих крепление к оболочке новой секции или вибропогружателя, следует подвешивать на верхний конец оболочки инвентарные металлические круговые площадки с перилами.
Высота перил должна быть не менее 1 м.
13.33. Доступ рабочих на круговую площадку для прикрепления новой секции оболочки или вибропогружателя разрешается только после того, как расстояние между верхом оболочки и подаваемым предметом будет не более 15 см.
13.34. В конструкции автоматического крепления вибропогружателя к оболочке должны быть предусмотрены устройства, позволяющие закреплять наголовник на оболочке без нахождения непосредственно около него рабочих.
13.35. Во время погружения оболочки рабочие должны находиться от нее без специального укрытия на расстоянии не менее 4 м.
Запрещается нахождение водолазов в полости оболочки или котловане фундамента во время погружения оболочек.
13.36. Весь комплекс работ по погружению первой оболочки на строительстве моста должен выполняться в присутствии производителя работ.
13.37. При работе с вибропогружателями следует руководствоваться заводской инструкцией и указаниями по эксплуатации вибропогружателей, приведенными в приложении 10.
13.38. Во избежание повреждений оболочек, а также вибропогружателя и крепления его к оболочке следует руководствоваться указаниями по поддержанию нормального режима вибропогружения оболочек, приведенными в приложении 9.
13.39. Взрывные работы по образованию камуфлетных уширений должны выполняться с соблюдением «Единых правил безопасности при взрывных работах» Гостехнадзора.
13.40. Устройство камуфлетных уширений необходимо производить, как правило, в светлое время дня командой подрывников под руководством лица, имеющего право ведения взрывных работ.
13.41. При камуфлетировании первых или опытных оболочек рабочие должны быть удалены из опасной зоны.
13.42. Буровые станки УКС-30 после их модернизации и усиления для работы с долотами весом 3-3,5 т должны быть испытаны.
Результаты испытания необходимо оформлять актом, копия которого прилагается к заводской инструкции по эксплуатации станка.
13.43. Буровой агрегат должен быть надежно закреплен на рабочих подмостях или за погруженные оболочки.
Для крепления рекомендуется применять инвентарные распорки или оттяжки.
Станок УКС-30 должен быть установлен и подклинен на брусчатых клетках. Работа станка на ходовых колесах без подклинки мачт не допускается.
13.44. При бурении станком УКС-30 скважин в скальном породе следует руководствоваться заводской инструкцией по его эксплуатации.
13.45. Запрещается производить какие-либо работы по ремонту станка при подвешенном долоте.
Осмотр долота и прикрепления его к тросу следует осуществлять при установке долота на подмости.
13.46. При разгрузке грунта из фрезы или желонки рабочие должны находиться от нее на расстоянии не менее 2 м.
13.47. Подводное обследование скважины или уширения допускается производить водолазом в присутствии сменного мастера.
Перед опусканием водолаза в пределах участка скважины, не имеющей железобетонной оболочки, должна быть установлена стальная обсадная труба.
Опускание водолаза до установки такой трубы запрещается.
13.48. При выполнении работ по подводному заполнению бетонной смесью оболочек, уширений и скважин, ведущихся одновременно на одной площадке с работами по бурению скважин или уширений, контроль за соблюдением рабочими правил техники безопасности возлагается на производителя работ, руководящего строительством фундаментов, и сменных мастеров.
13.49. У приемных бункеров должны устраиваться площадки с перилами для размещения рабочих, принимающих бетонную смесь.
13.50. Выгрузку бетонной смеси из кубла в бункер допускается производить с высоты не более 1 м.
13.51. При подводном бетонировании под руководством сменного мастера должны выполняться следующие работы:
а) строповка и заводка арматурного каркаса в полость оболочки, уширения или скважины;
б) строповка, подвеска, укорочение и выемка бетонолитных труб;
в) первоначальное заполнение бетонной смесью бетонолитных труб, включая и предварительную промывку забоя скважины.
13.52. Конструкция и принятый способ устройства ограждения котлована должны исключать возможность случайного прорыва воды или грунта в котлован.
13.53. На судоходных и сплавных реках должны быть приняты меры по предупреждению навала судов и плотов на ограждение.
13.54. При погружении с подмывом оболочек, находящихся в шпунтовом ограждении, должны быть приняты меры по предотвращению возможной деформации ограждения при подмыве грунта, а также от давления воды, уровень которой в котловане может быть выше уровня в реке.
13.55. Для спуска и подъема рабочих в котлован должны быть сделаны стремянки шириной не менее 75 см из досок толщиной 4 см.
13.56. Во избежание повреждения распорных креплений выемка грунта из котлована грейферами должна производиться под наблюдением сменного мастера.
13.57. Для обеспечения безопасности работ в котловане с водоотливом необходимо иметь в достаточном количестве резервные переставные насосные установки на случай прекращения действия основных насосов.
13.58. Работы по очистке котлована от шлама, находящегося на поверхности водозащитной подушки, срубке оболочек, установке опалубки и арматуры и укладке бетона фундаментной плиты должны выполняться с принятием необходимых мер предосторожности, предусмотренных для случаев работы в двух и более ярусах.
13.59. Подача бетонной смеси для бетонирования плиты при наличии густой сетки распорных креплений котлована должна осуществляться через рештаки или стальные трубы, исключающие возможность повреждения креплении и отскакивания крупных составляющих в сторону.
13.60. Снятие и перестановка распорных креплений ограждения котлована при бетонировании плиты должны производиться в строгом соответствии с проектом производства работ.
1. СНиП I-Б.3-62. Фундаменты и опоры из свай и цилиндрических оболочек. Сборные конструкции.
2. СНиП II-Д.7-62. Мосты и трубы. Нормы проектирования.
3. СНиП II-Б.5-62. Свайные фундаменты из забивных свай. Нормы проектирования.
4. СНиП II-А.10-62. Строительные конструкции и основания. Основные положения проектирования.
5. СНиП II-В.1-62. Бетонные и железобетонные конструкции. Нормы проектирования.
6. Технические условия проектирования железнодорожных, автодорожных и городских мостов и труб, СН 200-62.
7. СНиП III-Б.6-62. Фундаменты и опоры из свай и оболочек. Шпунтовые ограждения. Правила производства и приемки работ.
8. СНиП III-Д.2-62. Мосты и трубы. Правила организации строительства, производства работ и приемки в эксплуатацию.
9. СНиП III-A.6-62. Организационно-техническая подготовка к строительству. Основные положения.
10. СНиП III-A.4-62. Комплексная механизация и автоматизации в строительстве. Основные положения.
11. СНиП III-В.1-62. Бетонные и железобетонные конструкции монолитные. Общие правила производства и приемки работ.
12. СНиП III-B.2-62. Бетонные и железобетонные конструкции монолитные. Специальные правила производства и приемки работ.
13. СНиП III-B.3-62. Бетонные и железобетонные конструкции сборные. Правила производства и приемки монтажных работ.
14. СНиП I-B.1-62. Заполнители для бетонов и растворов.
15. СНиП I-B.2-62. Вяжущие материалы неорганические и добавки для бетонов и растворов.
16. СНиП I-В.3-62. Бетоны на неорганических вяжущих и заполнителях.
17. СНиП I-B.4-62. Арматура для железобетонных конструкций.
18. СНиП III-B.5-62. Металлические конструкции. Правила изготовления, монтажа и приемки.
19. СНиП I-B.27-62. Защита строительных конструкций от коррозии. Материалы и изделия, стойкие против коррозии.
20. СНиП III-B.6-62. Защита строительных конструкций от коррозии. Правила производства и приемки работ.
21. СНиП III-A.11-62. Техника безопасности в строительстве.
22. СНиП II-А.5-62. Противопожарные требования. Основные положения проектирования.
23. ГОСТ 4795-59. Бетон гидротехнический. Общие требования.
24. ГОСТ 4800-59. Бетон гидротехнический. Методы испытаний бетона.
25. ГОСТ 4797-56. Бетон гидротехнический. Технические требования к материалам для его приготовления.
26. ГОСТ 4798-57. Бетон гидротехнический. Методы испытании материалов для его изготовления.
27. ГОСТ 970-61. Портланд-цемент, шлакопортландцемент, пуццолановый портланд-цемент и их разновидности.
28. ГОСТ 4799-59. Бетон гидротехнический. Методы испытаний бетонной смеси.
29. ГОСТ 6901-54. Методы определения удобоукладываемости бетонной смеси и прочности бетона.
30. ГОСТ 380-60. Сталь углеродистая обыкновенного качества. Марки и общие технические требования.
31. ГОСТ 5058-57. Сталь низколегированная конструкционная. Марки и общие технические требования.
32. ГОСТ 6713-53. Сталь углеродистая горячекатаная для мостостроения. Технические условия.
33. ГОСТ 5781-61. Сталь горячекатаная периодического профиля для армирования железобетонных конструкций.
34. ГОСТ 7314-55. Сталь низколегированная периодического профиля для армирования обычных и предварительно напряженных конструкций.
35. ГОСТ 9466-60. Электроды металлические для дуговой сварки сталей и наплавки. Размеры и общие технические требования.
36. ГОСТ 1501-57. Топливо нефтяное (мазут).
Ориентировочная оценка предельной несущей способности оболочек, погруженных вибропогружателями без выемки грунта, может быть сделана по приближенной формуле ЦНИИСа:
где Рпр - предельная несущая способность оболочки в т;
l - коэффициент, учитывающий соотношение статического и динамического сопротивлений грунта;
А - амплитуда колебания оболочки, принимаемая равной половине полного размаха колебаний на последней минуте погружении, в см;
п - число оборотов эксцентриков вибратора в минуту;
N - величина электрической мощности, расходуемой электродвигателем на погружение оболочки, в квт;
G - суммарный вес оболочки, наголовника и вибропогружателя в т.
Величина N определяется по формуле:
N = hNп - Nx
где Nп - мощность, потребляемая двигателем вибратора на последнем залоге в квт;
Nx - мощность холостого хода, измеряемая при работе вибратора, подвешенного на крюке крана в горизонтальном положении, в квт;
h - коэффициент полезного действия электродвигателя, принимаемый по паспортным данным в зависимости от величины Nп.
Приближенные границы значений l составляют: для водонасыщенных песков - 5-7,5; для маловлажных песков - 3,5-5; для текучепластичных и мягкопластичных глинистых грунтов - соответственно 3,0-5,5 и 2,2-4,5. Значения коэффициента l уточняются для условий стройплощадки по результатам погружения пробных оболочек и их испытаний.
1. В качестве характеристики механических свойств скальных пород, являющихся основаниями фундаментов из сборных железобетонных оболочек, условно принят предел прочности на одноосное сжатие водонасыщенных образцов в форме цилиндров диаметром 4-5 см и высотой, равной диаметру.
Отклонение в соотношении высоты к диаметру h/d допускается до 5%.
2. Предел прочности образца на одноосное сжатие измеряется отношением разрушающего усилия к площади поперечного сечения образца породы:
![]()
В случае, если образец имеет отношение высоты к диаметру, отличное от 1, необходимо провести пересчет по формуле

где sn - прочность на сжатие образца с отношением диаметра к высоте, отличающимся от единицы. Пересчет должен быть отражен в материалах испытании.
3. Предназначенные для испытаний образцы скальных пород, как правило, следует изготовлять из кернов, полученных методом выбуривания.
Отбор проб для образцов надлежит производить от каждого слоя породы в пределах намечаемой глубины заделки столба (рис. 1). Если низ столба целиком размещается в слое однородной породы, то образцы должны быть отобраны вблизи поверхности слоя и в зоне размещения торца столба. Надлежит брать как минимум по одной пробе при толщине слоя до 2 м и по две пробы от слоев мощностью свыше 2 м.
4. От каждой пробы пород нужно брать по 3 образца; от пористых низкопрочных пород с коэффициентом вариации показателен прочности 20% следует брать по 4 образца; при коэффициенте вариации 25% - по 6 образцов.
5. При изготовлении образцов надо обращать внимание на то, чтобы грани, соприкасающиеся с нажимными плитами пресса, были перпендикулярны продольной осп и отшлифованы. Разрешается не делать дополнительной обработки боковых поверхностей образцов, полученных методом выбуривания.
6. Образцы, предназначенные для испытания в водонасыщенном состоянии, взвешивают при естественной влажности и увлажняют до полного насыщения водой. Для этого образцы ставят в сосуд с чистой водой так, чтобы они погрузились в нее приблизительно на одну треть высоты. Через 8-12 ч уровень воды в сосуде поднимают до уровня поверхности образцов (не заливая торцов) и оставляют в таком состоянии до полного насыщения водой. Насыщение условно считается законченным, когда приращение в весе за сутки будет менее 0,5%.
7. Испытания образцов должны производиться при положительном температуре воздуха в лаборатории.

Рис.
1. Схема отбора проб из кернов:
1-слой скальной породы; 2-грунт; 3-скважины; 4-пробы
8. Испытательная нагрузка должна прикладываться с интенсивностью 5-10 кг/см2 в секунду. Предел прочности образцов надлежит вычислять с точностью до 1 кг/см2.
9. В качестве расчетного предела прочности на сжатие образцов породы рассматриваемого слоя принимается среднеарифметическое значение прочности испытанных образцов.
Если значения предела прочности на сжатие одного образца из трех или двух из шести, отобранных из одной породы, отличаются от среднеарифметического значения предела прочности в 3 раза и более, то эти значения должны быть отброшены.
10. Коэффициенты однородности предела прочности на сжатие образцов сплошных пород допускается определять по формуле:

где s' - среднее квадратичное отклонение;
Rсp - средняя арифметическая;
sI - отклонение значений прочности отдельных образцов от среднеарифметической.
N - число всех испытанных образцов, включая и те, предел прочности которых отличается в 3 и более раз от среднеарифметического значения.

Рис.
2. Схема расположения буровых скважин:
a-фундамент
прямоугольного очертания; б-фундамент кругового очертания;
1-контур фундамента; 2-центральная скважина; 3-периферийные скважины; 4-грунт;
5-скальная порода
Для сильнотрещиноватых пород коэффициент однородности следует принимать не свыше 0,17.
12. Количество и глубина скважин, предназначенных для взятия образцов из скальных оснований столбчатых фундаментов опор мостов, назначаются в зависимости от физико-механических свойств пород и условий их залегания.
В скальных породах с наклонным залеганием слоев необходимо бурить от 3 до 5 скважин, из которых одну следует располагать в центре основания, а остальные - равномерно по его периметру (рис. 2).
В породах со слоями, расположенными горизонтально или с небольшим наклоном к горизонту, допускается бурение одной скважины в центре основания.
13. Глубина бурения скважин должна быть ниже предполагаемой отметки низа заделки столбов: до 1 м - в породах прочностью свыше 400 кг/см2 и до 5 м - в породах прочностью менее 400 кг/см2 для центральной скважины и соответственно 0,5 и 2 м для остальных.
При наличии в породе карстовых пустот геологическое обследование оснований должно проводиться по специальной программе с учетом местных условий и значимости сооружения.
14. Выбуренные керны пород должны быть тщательно осмотрены. В описании результатов осмотра необходимо привести данные о шаге видимых трещин, наклоне слоев, наличии включений и пустот, замечания об однородности и слоистости породы, а также о степени выветренности породы.
|
ГОСУДАРСТВЕННЫЙ ПРОИЗВОДСТВЕННЫЙ КОМИТЕТ ПО ТРАНСПОРТНОМУ СТРОИТЕЛЬСТВУ СССР |
|||
|
Строительная организация |
|
||
|
|
|
||
|
Строительство (наименование и |
|||
|
местонахождение объекта) |
|
||
|
|
|
||
АКТ
освидетельствования и приемки полости оболочки,
уширения или скважины фундамента опоры №_____
|
« » ________________ 196 г. |
Мы, нижеподписавшиеся, |
|
|||||||||||
|
|
|||||||||||||
|
|
|||||||||||||
|
произвели освидетельствование полости оболочки №_____(уширения |
|||||||||||||
|
или скважины в ее основании), подготовленной для заполнения бетонной |
|||||||||||||
|
смесью, причем установили: |
|
||||||||||||
|
1. Железобетонная оболочка наружным диаметром_______ м с толщиной |
|||||||||||||
|
стенки __________ см и общей длиной ____________ м погружена до |
|||||||||||||
|
отметки |
|
||||||||||||
|
2. Уровень воды (глинистого раствора) в оболочке находится на |
|||||||||||||
|
отметке |
|
||||||||||||
|
3. Грунт и оболочке находится на отметке |
|
||||||||||||
|
В основании оболочки пробурена скважина до отметки |
|
||||||||||||
|
диаметром ________ м или разбурено уширение диаметром _________ м с |
|||||||||||||
|
расположением подошвы на отметке |
|
||||||||||||
|
4 Грунт в основании |
|
||||||||||||
|
5. В скважину опущен арматурный каркас длиной _________________ м и |
|||||||||||||
|
наружным диаметром ___________ м, низ каркаса расположен на отметке |
|||||||||||||
|
|
|||||||||||||
|
Арматурный каркас с _____________ продольными стержнями __________ |
|||||||||||||
|
диаметром _____________ мм и спиралью шагом _______см из проволоки |
|||||||||||||
|
диаметром ______________ мм. |
|||||||||||||
|
В результате сопоставления данных натурного освидетельствования |
|||||||||||||
|
с проектными материалами установлено |
|
||||||||||||
|
|
|||||||||||||
|
Постановили |
|
||||||||||||
|
|
|||||||||||||
|
Качество работ признать |
|
||||||||||||
|
|
Подписи: |
|
|||||||||||
|
ГОСУДАРСТВЕННЫЙ ПРОИЗВОДСТВЕННЫЙ КОМИТЕТ ПО ТРАНСПОРТНОМУ СТРОИТЕЛЬСТВУ СССР |
|
|||||||||||||||||||
|
Строительная организация |
|
|
||||||||||||||||||
|
|
|
|||||||||||||||||||
|
Строительство (наименование и |
|
|||||||||||||||||||
|
местонахождение объекта) |
|
|
||||||||||||||||||
|
|
|
|||||||||||||||||||
|
АКТ « » __________________________ 196 г. Комиссия в составе: |
||||||||||||||||||||
|
председателя |
|
|||||||||||||||||||
|
членов комиссии: |
|
|||||||||||||||||||
|
|
|
|||||||||||||||||||
|
|
|
|||||||||||||||||||
|
(должности, фамилии, имена, отчества) |
||||||||||||||||||||
|
действующая на основании |
|
|||||||||||||||||||
|
произвела освидетельствование и приемку фундамента опоры №_______ |
||||||||||||||||||||
|
Комиссии предъявлены: |
||||||||||||||||||||
|
1. Рабочие чертежи фундамента, ограждения котлована с креплением
|
||||||||||||||||||||
|
(№ чертежей) |
||||||||||||||||||||
|
разработанные |
|
|||||||||||||||||||
|
(наименование организации) |
||||||||||||||||||||
|
с нанесением на них всех отклонении от проектов, допущенных в процессе строительства и согласованных с проектной организацией. 2. Журнал производства работ №_____________ 3. Журнал авторского надзора №_____________ 4. Документы, указанные в перечне приложений к настоящему акту. Комиссия, ознакомившись с предъявленными документами и проверив выполненные работы в натуре, установила: 1. Отметка естественной поверхности грунта у котлована (в |
||||||||||||||||||||
|
водоемах - отметка дна) |
|
|||||||||||||||||||
|
2. Срезка грунта произведена до отметки |
||||||||||||||||||||
|
3. Дно котлована расположено на отметке ____________________при |
||||||||||||||||||||
|
проектной отметке |
|
|||||||||||||||||||
|
4. Нивелировка произведена от репера №_________________, отметка |
||||||||||||||||||||
|
которого __________________ (в отметках, принятых в проекте). |
||||||||||||||||||||
|
5. Размеры котлована по низу в плане с нанесением проектных осей |
||||||||||||||||||||
|
и плана фундамента, а также проектных осей оболочек и фактического |
||||||||||||||||||||
|
расположения их в плане показаны в приложении № ________________к |
||||||||||||||||||||
|
настоящему акту. |
||||||||||||||||||||
|
6. Котлован имеет __________________ ограждение________________ |
||||||||||||||||||||
|
выполненное из |
|
|||||||||||||||||||
|
забитого на глубину от _________м до __________м ниже дна котлована, |
||||||||||||||||||||
|
при глубине забивки по проекту _______________м; отметка верха |
||||||||||||||||||||
|
ограждения_______________________ |
||||||||||||||||||||
|
Соответствие проекту и состояние ограждения и крепление |
|
|||||||||||||||||||
|
|
||||||||||||||||||||
|
|
||||||||||||||||||||
|
(указать отклонения в положении шпунта (крепления) на отметках верха и поверхности грунта, наличие всех обвязок и распорок, плотность сопряжения, замкнутость контура шпунта в плане и т. д..) |
||||||||||||||||||||
|
7. Отметка воды вне котлована в день составления акта |
|
|||||||||||||||||||
|
8. Отметка рабочего горизонта воды, принятая в проекте |
|
|||||||||||||||||||
|
9. Интенсивность водоотлива |
|
|||||||||||||||||||
|
10. Данные о заглушении ключей |
|
|||||||||||||||||||
|
11. Грунт дна котлована (или дна водоема) состоит из |
|
|||||||||||||||||||
|
|
||||||||||||||||||||
|
12. Погружено для фундамента, согласно прилагаемым сводной ведомости № _______, журналам № _________погружения оболочек и |
||||||||||||||||||||
|
плана их расположения ________________________оболочек, наружным диаметром _________м на глубину от ____ м до ________ м. Оболочки |
||||||||||||||||||||
|
погружены |
|
|||||||||||||||||||
|
|
||||||||||||||||||||
|
|
||||||||||||||||||||
|
13. Грунт из полостей оболочек удалей до отметок, приведенных в |
||||||||||||||||||||
|
сводной ведомости № ______заполнения оболочек бетонной смесью. |
||||||||||||||||||||
|
14. Грунт в основании оболочек |
|
|||||||||||||||||||
|
15. Оболочки заполнены бетоном марки ______________ до отметок, |
||||||||||||||||||||
|
указанных в сводной ведомости № ___________заполнения оболочек. |
||||||||||||||||||||
|
16. У нижних концов оболочек сделаны скважины в скальной породе, |
||||||||||||||||||||
|
уширения, образованные ____________________, указанное в журналах |
||||||||||||||||||||
|
№ ____________________. |
||||||||||||||||||||
|
В результате сопоставления данных натурного освидетельствования |
||||||||||||||||||||
|
фундамента с проектными материалами установлено: |
|
|||||||||||||||||||
|
|
||||||||||||||||||||
|
|
||||||||||||||||||||
|
Постановили: |
||||||||||||||||||||
|
|
||||||||||||||||||||
|
|
||||||||||||||||||||
|
|
||||||||||||||||||||
|
качество работ признать |
|
|||||||||||||||||||
|
Приложения к акту: |
||||||||||||||||||||
|
1. Исполнительный план и профиль котлована с фактическим расположением погруженных оболочек. |
||||||||||||||||||||
|
2. Журналы № _____________ и сводная ведомость № ___________ |
||||||||||||||||||||
|
погружения оболочек. |
||||||||||||||||||||
|
3. Журналы № ______________ и сводная ведомость № ____________ |
||||||||||||||||||||
|
бурения скважин, камуфлетирования или разбуривання уширений (прилагаются, если таковые устраиваются). |
||||||||||||||||||||
|
4. Акт № __________приемки под заполнение полостей оболочек, скважин и уширений бетонной смесью. |
||||||||||||||||||||
|
5. Материалы контрольных статических испытании грунтов оснований |
||||||||||||||||||||
|
(если таковые производились). |
||||||||||||||||||||
|
6. Журналы № ________ и сводная ведомость № _______заполнения |
||||||||||||||||||||
|
полостей оболочки, скважин и уширений бетонной смесью. |
||||||||||||||||||||
|
7. Журналы № ___________ погружения шпунта. |
||||||||||||||||||||
|
8. Развертка шпунтового ограждения. |
||||||||||||||||||||
|
9 Акты №___________________ освидетельствования оболочек до |
||||||||||||||||||||
|
их погружения. |
||||||||||||||||||||
|
Председатель комиссии: |
||||||||||||||||||||
|
Члены комиссии. |
||||||||||||||||||||
|
Наименование показателей |
Диаметр оболочек в м |
|
|
0,4 и 0,6 |
1-2 |
|
|
Скорости вращения формы, об/мин: |
|
|
|
1-я скорость |
128-118 |
51-42 |
|
2-я » |
252-167 |
77-63 |
|
3-я » |
144-223 |
108-84 |
|
4-я » |
380-340 |
155-128 |
|
Максимальная уплотняющая сила, кг/см2 |
0,5-0,8 |
0,6 |
|
Количество роликовых опор, шт |
4 |
2 |
|
Мощность электромотора, квт |
60 |
72-120 |
|
Длина изготовляемых секций оболочек, м |
7-12 |
8-6 |
|
Толщина стенок секций, см |
8-10 |
12 |
|
Параметры вибропогружателей |
Единицы измерения |
Тип вибропогружателя |
||||||
|
вп-3 |
вп-30 |
ВП-80 |
ВП-160 |
ВП-170 |
ВП-250 |
ВУ-1,6 |
||
|
Величина возмущающей силы |
т |
43,2 |
39-57 |
51-91 |
100-160 |
100-170 |
184-280 |
96 |
|
Максимальный момент эксцентриков |
кгм |
236 |
202 |
275 |
352 |
510 |
314-565 |
346 |
|
Число оборотов грузовых валов |
об/мин |
408 |
414-505 |
408-545 |
404-505 |
408-550 |
540-667 |
498 |
|
Число грузовых валов |
шт. |
4 |
4 |
4 |
8 |
8 |
2 |
4 |
|
Мощность электродвигателя |
квт |
100 |
75 |
100 |
160 |
160 |
250 |
2´75 |
|
Вес вибропогружателя |
т |
8,0 |
6,1 |
9,2 |
11,2 |
13,3 |
11,0 |
11,0 |
|
Габариты: |
|
|
|
|
|
|
|
|
|
высота |
мм |
2130 |
1988 |
2432 |
3326 |
3750 |
2232 |
1800 |
|
ширина |
мм |
1540 |
1759 |
1447 |
1226 |
1425 |
1894 |
2700 |
|
длина |
мм |
1560 |
1822 |
1955 |
2050 |
2050 |
2380 |
2700 |
Прибор-фиксатор порога замедлений (ФПЗ) служит для сигнализации о возникновении неблагоприятного (опасного по прочности оболочки) режима погружения.

Принципиальная схема прибора ФПЗ с трехзначной системой сигнализации
Прибор состоит из механического спаренного датчика (Д1 и Д2) и электрического сигнализатора (Сг) (см. рисунок).
Каждый из каналов спаренного датчика, укрепляемого на погружаемой оболочке, имеет рабочую массу «М», пружину «П» и регулировочное устройство, позволяющее создавать начальное (заданное) сжатие пружины. Последнее определяет величину ускорений, на которые срабатывает канал датчика.
Когда ускорение при погружении оболочки не превышает заданной для канала предельной величины, электрическая цепь, идущая от канала датчика к сигнализатору, оказывается замкнутой на контактах, расположенных в датчике. Если эти ускорения превышают заданную предельную величину, силы инерции рабочей массы преодолевают силы сжатия пружины, рабочая масса начинает перемещаться в корпусе датчика, что сопровождается разрывом электрической цепи, идущей к датчику. Для того, чтобы получать устойчивый сигнал нарушения электрической цепи при кратковременном разрыве контактов, в датчике служит сигнализатор, электрическая схема которого приведена на рисунке.
При замкнутой внешней электрической цепи, идущей к датчикам, в сигнализаторе горит лампа зеленого разрешающего сигнала.
Кратковременный разрыв цепи первого датчика, настроенного на регистрацию ускорений, несколько меньших, чем опасные, приводит к появлению в сигнализаторе предупреждающего желтого сигнала; лампа разрешающего зеленого сигнала при этом гаснет.
Разрыв в цепи второго датчика, настроенного на регистрацию опасных для оболочки ускорений, приводит к появлению запрещающего красного сигнала; лампа предупреждающего желтого сигнала при этом гаснет.
Электрическая схема сигнализатора принята такой, что возникающие при погружении оболочки предупреждающий или запрещающий сигналы не исчезают, несмотря на изменение (облегчение) режима погружения. Для их устранения и приведения сигнализатора в рабочее положение служит кнопка восстановления «К».
В сигнализаторе имеются выходные клеммы, блокируемые реле Р3 необходимые для управления магнитным пускателем вибропогружателя. При необходимости может легко осуществлено автоматическое выключение питания вибропогружателя при появлении в сигнализаторе запрещающего сигнала.
Питание прибора осуществляется от сети переменного тока напряжением 127 и 220 В.
Каждый из приборов имеет паспорт с указанием основных характеристик, необходимых для настройки датчиков на фиксацию соответствующих замедлений.
Датчики размещаются на станине, жестко прикрепляемой к закладным деталям в оболочке.
1. Во избежание местных повреждений верхней части оболочки, порчи наголовника, вибропогружателя, расстройств и разрушения креплений, образования жесткого виброударного режима необходимо на всех этапах погружения обеспечивать плотное и надежное крепление вибропогружателя к наголовнику и последнего к голове оболочки.
Как правило, погружение должно начинаться с двух залогов малой продолжительности (по 5¸10 сек), после каждого из которых должна обязательно проводиться дополнительная затяжка болтов крепления.
При тяжелом режиме погружения оболочки проверять надежность и плотность указанных креплений следует систематически, в перерывах между залогами.
2. Нарушение нормального режима вибропогружения (возникновение жесткого виброударного процесса) может привести к появлению в секциях оболочки больших сжимающих сил, существенно превышающих расчетную несущую способность оболочки. В результате этого в стенках оболочки образуются недопустимые продольные трещины, и она разрушается.
Нарушение нормального режима вибропогружения при плотном креплении наголовника к оболочке может быть вызвано следующими причинами:
а) во время погружения нож оболочки внезапно встретил весьма жесткое и прочное препятствие, например, крупный валун или прослойки грунта высокой прочности;
б) при погружении оболочки внезапно возникли колебания с размахом, превышающим размеры, принятые при проектировании оболочек.
3. В тех случаях, когда при погружении оболочек имеется реальная опасность внезапного нарушения нормального режима вибропогружения, должны осуществляться меры, излагаемые в пп. 4-8.
4. Для предотвращения возможных повреждений оболочек и своевременного прекращения и надлежащих случаях работы вибропогружателя необходимо быстро обнаруживать факты нарушения нормального режима погружения.
Возникновение жесткого виброударного режима во время погружения оболочки может быть выявлено путем наблюдения за максимальными замедлениями, возникающими в установившихся колебательных движениях оболочек.
Опасные повреждения оболочки от возникающих продольных сил не произойдут, если максимальное замедление при колебательном движении центра тяжести вибросистемы вниз (jmах) не будет превосходить величины:
![]()
где Рсж - расчетная несущая способность погружаемой оболочки на сжатие, установленная в соответствии с указаниями пп. 5.8 и 5.9 главы V;
Gу - вес условной вибросистемы, принимаемый по формуле п. 5.4. главы V;
g - ускорение силы тяжести.
5. Для сигнализации о появлении во время вибропогружения замедлений недопустимой величины могут служить специальные приборы (фиксаторы порога замедления, см. приложение 8), сконструированные в ЦНИИСе.
При благоприятном (безопасном) режиме погружения оболочки в сигнализаторе прибора горит лампа зеленого цвета, при наступлении опасного для оболочки режима погружения в сигнализаторе загорается красная лампа.
Появление желтого (предупредительного) света сигнализирует о возникновении режима погружения, приближающегося к опасному.
Перед установкой на оболочку датчики прибора должны быть настроены при помощи регулировочных винтов на появление в сигнализаторе запрещающих и предупреждающих сигналов (красного и желтого света) при соответствующих замедлениях.
Регулировочный винт датчика запрещающего (красного) сигнала должен быть поставлен в положение, отвечающее согласно таблице паспорта замедлению jmах, найденному по формуле.
Регулировочный винт датчика предупредительного (желтого) сигнала рекомендуется ставить в положение, отвечающее фиксации замедления о размере 0,5-0,7 jmах.
Примечание. Для быстрого прекращения работы вибропогружателя целесообразно применять устройства для автоматического выключения электромоторов вибропогружателя. Схемы таких автоматических устройств должны быть разработаны при проектировании производства работ с учетом конкретных условий. Автоматическое устройство должно давать разрыв силовой цепи моторов вибропогружателя при появлении тока в цепи лампы запрещающего сигнала прибора.
7. Наиболее правильные показания можно получить по датчикам, установленным в центре тяжести системы, т.е. примерно в середине длины погружаемой оболочки. Однако во многих случаях во избежание потери прибора после погружения оболочки приходится устанавливать датчики в верхней части, не погружаемой в грунт или в воду.
Максимальные замедления верхнего конца оболочки во время удара нижнего торца ее о грунт могут несколько отличаться от максимальных замедлений центра тяжести вибросистемы. Эта разница в ускорениях зависит от ряда конкретных обстоятельств, учесть которые предварительно весьма трудно. Достаточно надежные данные для корректировки настройки датчиков при их установке сверху можно получить только после проведения соответствующих инструментальных наблюдений при опытной погружении запроектированных оболочек.
Во избежание запаздывания или преждевременного появления запрещающих сигналов проведение таких работ весьма желательно, особенно при опускании длинных оболочек и оболочек, обладающих высокой деформативностью ствола.
Датчики прибора следует крепить к телу оболочки. Прикрепление датчиков к вибропогружателю, наголовнику или переходным стыковым фланцам категорически запрещается. Место прикрепления должно находиться не ближе 50 см от стыковых фланцев. Прикрепление датчиков к оболочке должно быть достаточно жестким, исключающим возможность возникновения собственных вибраций датчиков относительно оболочки.
Для установки датчиков рекомендуется в оболочке предусматривать соответствующие закладные металлические части или короткие выпуски арматуры.
8. Если сигнализатор прибора дает запрещающий сигнал, работы по погружению оболочки должны быть немедленно приостановлены. После небольшого перерыва работы по погружению могут быть возобновлены и продолжены до нового появления запрещающего сигнала. Если две повторных попытки начать погружение приводят к быстрому появлению запрещающего сигнала, погружение оболочки при имеющемся сопротивлении грунта должно быть прекращено.
Дальнейшее погружение оболочки может быть начато после удаления из-под ножа жестких включений или после уменьшения сопротивления грунта по нижнему торцу оболочки путем выборки грунта, проведения подмыва и др.
После выполнения мероприятий по снижению лобового сопротивления грунта под оболочкой при возобновлении работ по вибропогружению сигнализатор прибора не должен давать запрещающих сигналов.
1. Пульт управления вибропогружателя рекомендуется подключать непосредственно к шинам низкого напряжения подстанции через самостоятельную сеть. При достаточном сечении проводов и значительной мощности подстанции допускается питание электродвигателя вибропогружателя от сети, имеющей другие нагрузки.
2. Максимально допустимую длину электросети от подстанции до пульта управления вибропогружателя следует назначать, исходя из сечения кабеля, при условии, что падение напряжения не должно превышать 20 В. Предельную длину шлангового кабеля от пульта управления до статора электродвигателя рекомендуется назначать не более 50 м.
Питающую сеть желательно укладывать без промежуточных соединении. При необходимости провода должны сращиваться при помощи горячен пайки.
3. Сеть низкого напряжения от подстанции до пульта управления и далее до электродвигателя вибропогружателя должна проверяться не реже одного раза в смену и обязательно при снятом напряжении. При этом проверяется плотность соединений питающей линии с коммутационной аппаратурой подстанции и пультом управления.
4. Во время работы вибропогружателя необходимо проверять напряжение на трех фазах пульта управления. Если величины напряжении на всех фазах (между наибольшим и наименьшим показаниями) имеют разницу более 5%, работу вибропогружателя необходимо прекратить. В этом случае следует провести внеплановую проверку сети и устранить причины асимметрии напряжений. Во время работы вибропогружателя напряжение в сети должно быть не менее 360 В.
5. Перед пуском вибропогружателя необходимо:
проверить закрепление наголовника к оболочке и вибропогружателя к наголовнику;
проверить закрепление электромотора к вибропогружателю;
проверить заземление корпуса вибропогружателя и пульта управления;
зачистить поверхность контактных колец;
подтянуть контакты статора, ротора и щеточного механизма;
включить на пульте цепь управления и проверить визуально при включенном положении механизма замыкания колец и подъема щеток плотность прилегания щеток к кольцам;
проверить крепление статорных и роторных кабелей на корпусе вибропогружателя. В местах возможных ударов кабелей о корпус вибропогружателя на кабель необходимо заранее надеть резиновый шланг.
6. Пуск и остановка вибропогружателей, а также уход за ними должны осуществляться в соответствии с заводской инструкцией по эксплуатации вибропогружателей.
7. При погружении оболочек необходимо применять наголовник жесткой конструкции, надежно прикрепляемый к оболочке болтами или другими приспособлениями.
8. В процессе работы вибропогружателя необходимо постоянно следить за напряжением о питающей сети, особенно в период интенсивного погружения оболочки, когда резко возрастет сила тока. В этот период напряжение в сети должно быть 370-380 В. Во избежание перегрева мотора максимальную продолжительность непрерывной работы вибропогружателя в зависимости от силы тока в % от номинальной рекомендуется установить:
при 60%..................15 мин
» 100%.................10 »
» 110%.................3 »
Если напряжения и питающей сети в период работы вибропогружателя понижаются против номинального на 5%, продолжительность работы мотора должна быть уменьшена вдвое против указанных величин; при падении напряжения на 10% продолжительность работы вибропогружателя следует сократить в 5 раз.
9. В целях предотвращения сгорания изоляции обмоток электродвигателя при работе на значительно пониженном напряжении в питающем сета (ниже 360 В) запрещается работать вибропогружателями, не имеющими на пульте управления вольтметра и амперметра.
10. После каждого периода непрерывной работы вибропогружатель необходимо остановить на 10-15 мин для остывания мотора и проверки состояния крепления вибропогружателя к оболочке.
11. Оптимальная скорость вращения эксцентриков, при которой обеспечивается наибольшая амплитуда колебаний оболочка, должна устанавливаться в процессе погружения первых двух оболочек на разных режимах работы вибропогружателя в зависимости от грунтовых условии, веса и размеров оболочки а величины ее заглубления в грунт.
12. В слабые связные и несвязные грунты рекомендуется заглублять, оболочки вибропогружателем на первой скорости вращения эксцентриков. В связные грунты средней плотности и плотные следует погружать оболочки на второй и третьей скоростях работы вибропогружателя.
В плотных и средней плотности несвязных грунтах оптимальную скорость вращения эксцентриков рекомендуется подбирать путем проверки эффективности работы вибропогружателя на каждой из трех скоростей.
|
ГОСУДАРСТВЕННЫЙ ПРОИЗВОДСТВЕННЫЙ КОМИТЕТ ПО ТРАНСПОРТНОМУ СТРОИТЕЛЬСТВУ СССР |
|
||
|
Строительная организация |
|
|
|
|
|
|
||
|
Строительство (наименование и |
|
||
|
местонахождение объекта) |
|
|
|
|
|
|
||
ЖУРНАЛ №_______
вибропогружения оболочек
Опора №________________
№ оболочек по плану фундамента___________________________
Тип вибропогружателя ____________________________________
Тип наголовника__________________________________________
Способ извлечения грунта__________________________________
|
|
|
Оболочка №______ |
|
|
|
Глубина погружения в грунт _______________________ м |
|
Наружный диаметр ____м |
|
Отметка низа оболочки: |
|
Толщина стенки ______см |
|
проектная ____________________________________ м |
|
Длина _______________м |
|
фактическая __________________________________ м |
|
Количество секций и их длина |
|
Высота грунтового ядра в оболочке _________________ м |
|
__________ шт. _______м |
|
|
|
Тип стыка секций _______ |
|
Скорость погружения при последнем залоге ______см/мин |
|
№ паспортов секций ____ |
|
Даты: начала погружения ____________________________ |
|
|
|
конца погружения _____________________________ |
|
Дата, смена |
№ залогов |
Продолжительность залога, мин |
Погружение от залога, см |
Отдых после очередного залога ч |
Отметка низа оболочки, м |
Данные о работе вибропогружателя при скорости погружения 3-5 см/мин |
Отметка верха грунта в оболочке, м |
|
||||
|
число оборотов эксцентриков, об/мин |
напряжение тока, В |
сила тока, А |
амплитуда колебаний оболочки, мм |
до погружения |
после погружения |
Примечание |
||||||
|
1 |
2 |
3 |
4 |
5 |
6 |
7 |
8 |
9 |
10 |
11 |
12 |
13 |
|
|
|
|
|
|
|
|
|
|
|
|
|
Погружение оболочки в грунт от собственного веса вибросистемы записывается в залоге № 0 |
Производитель работ
Сменный мастер
|
ГОСУДАРСТВЕННЫЙ ПРОИЗВОДСТВЕННЫЙ
КОМИТЕТ |
|
СВОДНАЯ ВЕДОМОСТЬ ПОГРУЖЕННЫХ ОБОЛОЧЕК |
|||
|
Строительная организация |
|
|
Опора № ___________________ |
||
|
|
|
Наружный диаметр __________м |
|||
|
Строительство (наименование и |
|
Толщина стенки _____________см |
|||
|
местонахождение объекта) |
|
|
Тип вибропогружателя _______ |
||
|
|
|
|
|||
|
№ пп |
Дата погружения оболочек (начало, конец) |
№ оболочек по плану фундамента |
Полная длина оболочек, м |
Глубина погружения |
Данные о последнем залоге |
Высота грунтового ядра в оболочке, м |
Прим. |
|||
|
по проекту |
фактическая |
Число оборотов эксцентриков, об/мин |
Потребляемая электрическая мощность, квт |
Скорость погружения оболочки, см/мин |
||||||
|
1 |
2 |
3 |
4 |
5 |
6 |
7 |
8 |
9 |
10 |
11 |
|
|
|
|
|
|
|
|
|
|
|
|
Приложение. План оболочек по проекту с нанесением их фактического положения и указанием номеров.
Начальник производственно-технического отдела
Начальник участка
Производитель работ
Применяемый для бурения скважин и уширений глинистый раствор (вода+глина) должен обладать следующими характеристиками:
|
Наименование показателя |
Размерность |
Величина |
Прибор дли определения |
|
Вязкость |
сек |
17-28 |
СВП-5 |
|
Удельный вес |
г/см3 |
1,2-1,4 |
Ареометр |
|
Водоотдача |
см/мин |
0,5 |
BМ-6 |
|
Стабильность |
г/см3/сутки |
Не более 0,03 |
Цилиндр с краном по середине высоты |
|
Отстой |
сутки |
Не более 5 |
Мензурка на 100-200 см3 |
|
Содержание песка |
% |
Не более 10 |
То же |
Для приготовления глинистого раствора может быть использована любая глина. Количество глины, расходуемой на приготовление 1 м3 глинистого раствора, зависит от ее свойств и определяется пробными замесами.
Глинистый раствор следует приготовлять в механических глиномешалках. Продолжительность перемешивания устанавливается опытным путем, но должна быть не менее 1,5 ч.
Для уменьшения водоотдачи глинистого раствора рекомендуется вводить добавку углещелочного реагента следующего состава по весу:
каустическая сода (кристаллическая)....... 2-2,5%
бурый уголь (молотый).............................. 15%
вода.............................................................. 82,5-83%
Общее количество вводимого реагента не должно превышать 20% от объема глинистого раствора.
При содержании песка в глинистом растворе более 10% следует увеличивать вязкость раствора путем добавки глины, чтобы после отстоя раствора в течение суток разница в содержании песка в верхней и нижней четвертях столба раствора была не более 3%.
Глинистый раствор, не использованный в течение суток и более, необходимо перед заливкой в скважину дополнительно перемешать механическим способом или при помощи сжатого воздуха.
Подача глинистого раствора в скважину и удаление его из нее может производиться обычным насосом или самотеком.
При бурении скважин зимой глинистый раствор следует подогревать до температуры +10°.
В процессе бурения необходимо систематически проверять показатели глинистого раствора.
Допускается повторное использование глинистого раствора при условии его очистки от грунта в лотках или отстойниках.
При откачивании глинистого раствора после бетонирования скважины последние 2-3 м столба раствора следует удалять вследствие сильного его загрязнения.
|
ГОСУДАРСТВЕННЫЙ ПРОИЗВОДСТВЕННЫЙ
КОМИТЕТ |
|
ЖУРНАЛ
№ ______ |
||||
|
Строительная организация |
|
|
Опора № ___________________ |
|||
|
|
|
Наружный диаметр _____________м |
||||
|
Строительство (наименование и |
|
Толщина стенки _______________см |
||||
|
местонахождение объекта) |
|
|
Проектный диаметр уширения ____м |
|||
|
|
|
Тип ВВ ________________________ |
||||
|
|
|
Марка бетона заполнения нижней части оболочки ________________ |
||||
|
|
|
Консистенция бетонной плиты ________________________________ |
||||
|
|
|
Марка бетона заполнения оболочки после камуфлетирования ______ |
||||
|
|
|
Консистенция бетонной смеси ________________________________ |
||||
|
Дата камуфлетирования |
оболочки по плану фундамента |
Отметка низа наконечника |
Величина заряда, кг |
Отметка уровня бетонной смеси |
Высота опускания бетонной смеси после взрыва, м |
Объем бетонной смеси, вышедшей в уширение, м3 |
Фактический диаметр уширения по расчету, м |
Фактическая подвижность смеси (осадка конуса) |
№ актов об изготовлении контрольных образцов |
Подписи сменного мастера и дежурного лаборанта |
||
|
по проекту |
фактическая |
до взрыва |
после взрыва |
|||||||||
|
1 |
2 |
3 |
4 |
5 |
6 |
7 |
8 |
9 |
10 |
11 |
12 |
13 |
|
|
|
|
|
|
|
|
|
|
|
|
|
|
Примечание. Контрольные образцы бетона взяты от каждой камуфлетированной оболочки.
Производитель работ
|
ГОСУДАРСТВЕННЫЙ ПРОИЗВОДСТВЕННЫЙ
КОМИТЕТ |
|
|
|||
|
Строительная организация |
|
|
|
||
|
|
|
|
|||
|
Строительство (наименование и |
|
|
|||
|
местонахождение объекта) |
|
|
|
||
|
|
|
|
|||
|
СВОДНАЯ
ВЕДОМОСТЬ |
|||||
|
Опора № ________________________ |
|||||
|
Наружный диаметр оболочки_______ м |
|||||
|
Толщина стенки __________________ м |
|||||
|
Проектный диаметр уширения ______ м |
|||||
|
Тип ВВ ___________________________ |
|||||
|
№ пп |
Дата камуфлетировання |
№ оболочек по плану фундамента |
Отметка низа наконечника, м |
Диаметр уширения фактический (по расчету), м |
Фактическая марка бетона заполнения |
|
|
по проекту |
фактическая |
|||||
|
1 |
2 |
3 |
4 |
5 |
6 |
7 |
|
|
|
|
|
|
|
|
Начальник производственно-технического отдела
Начальник участка
Производитель работ
|
ГОСУДАРСТВЕННЫЙ ПРОИЗВОДСТВЕННЫЙ
КОМИТЕТ |
|
|
|||
|
Строительная организация |
|
|
|
||
|
|
|
|
|||
|
Строительство (наименование и |
|
|
|||
|
местонахождение объекта) |
|
|
|
||
|
|
|
|
|||
|
ЖУРНАЛ
№ ______ |
|||||
|
Опора № ________________________ |
|||||
|
№ оболочек по плану фундамента____ |
|||||
|
Тип бурового механизма ___________ |
|||||
|
Вес долота_______________________ |
|||||
|
Оболочка №_________ |
|||||
|
Наружный диаметр оболочки_______м |
|||||
|
Внутренний диаметр оболочки______ м |
|||||
|
Диаметр уширения________________ м |
|||||
|
Отметка поверхности грунта________ м |
|||||
|
Отметка низа оболочки_____________ м |
|||||
|
Отметка низа уширения по проекту___ м |
|||||
|
Дата и время: начала работ___________ |
|||||
|
окончания работ________ |
|||||
|
Дата, смена |
Время работы |
Бурение лидирующей скважины и уширения |
Характеристика разбуренных грунтов |
Подпись сменного мастера |
|||
|
начало |
окончание |
№ проходки |
отметка забоя скважины или низа уширения, м |
диаметр разбуренного уширения, м |
|||
|
1 |
2 |
3 |
4 |
5 |
6 |
7 |
8 |
|
|
|
|
|
|
|
|
|
Производитель работ
|
ГОСУДАРСТВЕННЫЙ ПРОИЗВОДСТВЕННЫЙ
КОМИТЕТ |
|
|
||
|
Строительная организация |
|
|
|
|
|
|
|
|
||
|
Строительство (наименование и |
|
|
||
|
местонахождение объекта) |
|
|
|
|
|
|
|
|
||
|
СВОДНАЯ ВЕДОМОСТЬ РАЗБУРЕННЫХ УШИРЕНИЙ |
||||
|
Опора № _________________________ |
||||
|
Наружный диаметр оболочек _______м |
||||
|
Внутренний диаметр оболочек ______м |
||||
|
Проектный диаметр уширения ______м |
||||
|
Тип бурового станка ________________ |
||||
|
№ пп |
Дата бурения уширения (начало, окончание) |
№ оболочек по плану фундамента |
Фактический диаметр уширения, м |
Отметка низа уширения, м |
Способ и дата контроля размеров уширений |
Примечание |
|
|
по проекту |
фактическая |
||||||
|
1 |
2 |
3 |
4 |
5 |
6 |
7 |
8 |
|
|
|
|
|
|
|
|
|
Начальник производственно-технического отдела
Начальник участка
Производитель работ
|
ГОСУДАРСТВЕННЫЙ ПРОИЗВОДСТВЕННЫЙ
КОМИТЕТ |
|
|
||
|
Строительная организация |
|
|
|
|
|
|
|
|
||
|
Строительство (наименование и |
|
|
||
|
местонахождение объекта) |
|
|
|
|
|
|
|
|
||
|
ЖУРНАЛ
№__________ |
||||
|
Опора № ___________________________________________________ |
||||
|
№ оболочек по плану фундамента ______________________________ |
||||
|
Тип бурового станка __________________________________________ |
||||
|
Тип бурового снаряда (инструмента)_____________________________ |
||||
|
Оболочка № ______ |
||||
|
Наружный диаметр оболочки _______ м |
||||
|
Толщина стенки оболочки_________ см |
||||
|
Отметка низа оболочки _____________м |
||||
|
Диаметр скважины_________________ м |
||||
|
Отметка дна скважины по проекту____ м |
||||
|
Глубина скважины по проекту_______ м |
||||
|
Даты: начала бурения________________ |
||||
|
конца бурения_________________ |
||||
|
Дата, смена |
Время бурения, ч |
Глубина скважины, м |
Характеристика разбуриваемых грунтов |
Подпись сменного мастера |
||||
|
начало |
конец |
продолжительность |
до бурения |
после бурения |
пробурено |
|||
|
1 |
2 |
3 |
4 |
5 |
6 |
7 |
8 |
9 |
|
|
|
|
|
|
|
|
|
|
Производитель работ
|
ГОСУДАРСТВЕННЫЙ ПРОИЗВОДСТВЕННЫЙ
КОМИТЕТ |
|
|
||
|
Строительная организация |
|
|
|
|
|
|
|
|
||
|
Строительство (наименование и |
|
|
||
|
местонахождение объекта) |
|
|
|
|
|
|
|
|
||
|
СВОДНАЯ ВЕДОМОСТЬ ПРОБУРЕННЫХ СКВАЖИН |
||||
|
Опора № ________________________ |
||||
|
Наружный диаметр оболочек_______ м |
||||
|
Внутренний диаметр оболочек ______ м |
||||
|
Проектный диаметр уширения ______ м |
||||
|
Тип бурового станка ________________ |
||||
|
№ пп |
Дата бурения (начало, окончание) |
№ оболочек по плану фундамента |
Фактический диаметр скважин, м |
Глубина скважин, м |
Тип бурового инструмента |
Примечание |
|
|
|
по проекту |
фактическая |
|||||||
|
1 |
2 |
3 |
4 |
5 |
6 |
7 |
8 |
|
|
|
|
|
|
|
|
|
|
|
Начальник производственно-технического отдела
Начальник участка
Производитель работ
1. Показатель сохранения подвижности К определяется последовательными измерениями осадки конуса трех-четырех проб смеси рабочего состава по ГОСТу 6901-54.
Измерение осадки следует производить:
первое - сразу после затворения смеси;
последующие - через 30, 60, 90, 120 мин после затворения
2. Для каждого измерения осадки берется проба бетонной смеем объемом 10-12 л (всего 40-60 л смеси).
3. До измерения осадки все пробы сохраняют в открытых ведрах, погруженных в воду, имеющую температуру, при которой производят бетонирование.
4. Перед измерением осадки ведро с бетонной смесью извлекают из воды, которую затем осторожно сливают, а верхний слой смеси на глубину 3-5 см удаляют.

Кривая изменения подвижности бетонной смеси
5. Результаты последовательных измерений осадки проб наносят на график (см. рисунок), по которому определяют величину показателя К, соответствующую точке, отсекаемой горизонталью, проведенной от осадки, равной 15 см.
1. Водоотделение бетонной смеси характеризуется количеством воды, выделенной бетонной смесью в течение 2 ч спокойного отстаивания в закрытом сосуде.
2. Определение водоотделения следует производить в цилиндрических водонепроницаемых сосудах, емкость которых выбирается в зависимости от наибольшей крупности заполнителя бетоном (см. таблицу).
Объем сосуда для определения водоотделения
|
Наибольшая крупность заполнителя, мм |
Объем сосуда, л |
Размеры сосуда, мм |
Количество слоев укладки |
|
|
высота |
диаметр |
|||
|
40 |
10 |
245 |
235 |
3 |
3. Свежеприготовленная смесь рабочего состава укладывается в сосуд с десятикратным легким встряхиванием каждого слоя ударами штыковки по сосуду. Уровень смеси в сосуде после его заполнения должен быть на 1-2 см ниже верхнего обреза.
4. Сосуд закрывается плотной крышкой, предохраняющей отделившуюся воду от испарения, и в процессе всего испытания его сохраняют неподвижным.
5. После 2 ч спокойного отстаивания вода собирается с поверхности бетонной смеси резиновой грушей. Количество отстоявшейся воды измеряется с точностью до 1 см3 мерным стаканом или путем взвешивания.
6. Отношение количества отстоявшейся воды VB к объему бетона Vб определяет величину относительного водоотделения ДВ.
|
ГОСУДАРСТВЕННЫЙ ПРОИЗВОДСТВЕННЫЙ
КОМИТЕТ |
|
|
||
|
Строительная организация |
|
|
|
|
|
|
|
|
||
|
Строительство (наименование и |
|
|
||
|
местонахождение объекта) |
|
|
|
|
|
|
|
|
||
|
ЖУРНАЛ №__________ |
||||
|
Опора № ___________________________ |
||||
|
№ оболочек по плану фундамента ______ |
||||
|
Оболочка №____________ |
||
|
Наружный диаметр оболочки __________м |
|
Отметка верха бетона в оболочке____м |
|
Толщина стенки оболочки ______________см |
|
Заданная характеристика бетона: |
|
Длина оболочки _______________________м |
|
марка бетона _____________________ |
|
Диаметр скважины в скальной породе _____м
|
водо-цементное отношение ________ |
|
|
Диаметр уширения ____________________м |
|
Расход цемента ___________________ |
|
Отметка верха оболочки ________________м |
|
Подвижность смеси (осадка конуса)__ |
|
Отметка грунта в полости оболочки или низа скважины ____________________________м |
|
_________________________________ Показатель сохранения подвижности |
|
|
|
_________________________________ |
|
|
|
Диаметр бетонолитной трубы ____см |
|
Дата, смена |
Время очередной записи |
Фактические характеристики бетонной смеси |
Количество уложенной бетонной смеси нарастающим итогом, м3 |
Средняя интенсивность укладки бетонной смеси, м3/ч |
Отметка верха бетонной смеси в полости уширения, скважины, оболочки, м |
Заглубление бетонолитной трубы в бетонную смесь, м |
Уровень бетонной смеси в трубе от ёе низа, м |
Примечание |
||||
|
Состав смеси |
Водо-цементное отношение |
Консистенция (осадка конуса), см |
Относительное водоотделение, % |
Коэффициент сохранения подвижности смеси (К)
|
||||||||
|
1 |
2 |
3 |
4 |
5 |
6 |
7 |
8 |
9 |
10 |
11 |
12 |
13 |
|
|
|
|
|
|
|
|
|
|
|
|
|
|
Производитель работ
Сменный мастер
Дежурный лаборант
|
ГОСУДАРСТВЕННЫЙ ПРОИЗВОДСТВЕННЫЙ
КОМИТЕТ |
|
СВОДНАЯ ВЕДОМОСТЬ ЗАПОЛНЕНЫХ БЕТОНОМ СКВАЖИН, УШИРЕНИЙ И ОПОРЫ ______________________ |
||||
|
Строительная организация |
|
|
|
|||
|
|
|
Наружный диаметр оболочек ______м |
||||
|
Строительство (наименование и |
|
Толщина стенки оболочки ________см |
||||
|
местонахождение объекта) |
|
|
|
|||
|
|
|
|
||||
|
№ пп |
Дата бетонирования |
№ оболочек по плану фундамента |
Отметка низа оболочки, м |
Отметка низа скважины, уширения, грунта в полости оболочки, м |
Диаметр скважины или уширения, м |
Отметка верха бетона в полости оболочки, м |
Объем уложенного бетона, м3 |
Фактическая марка бетона заполнения |
|||||
|
по проекту |
фактически |
по проекту |
фактическая |
по проекту |
фактический |
по проекту |
фактическая |
по проекту |
фактический |
||||
|
1 |
2 |
3 |
4 |
5 |
6 |
7 |
8 |
9 |
10 |
11 |
12 |
13 |
14 |
|
|
|
|
|
|
|
|
|
|
|
|
|
|
|
Начальник производственно-технического отдела
Начальник участка
Производитель работ
|