ИНФОСАЙТ.ру
Госты, стандарты, нормативы. В библиотеке 60000 документов. Регулярное обновление. Круглосуточный бесплатный доступ!
БИБЛИОТЕКА ГОСТОВ, СТАНДАРТОВ И НОРМАТИВОВ

:: АЛГОТРЕЙДИНГ ::


АЛГОТРЕЙДИНГ
шаг за шагом


БЕСПЛАТНЫЕ УРОКИ по созданию торговых роботов на PYTHON с нуля, шаг за шагом.


Минимальные знания на PYTHON.
Библиотеки BackTrader и Pandas, сигналы с Pine Script из TradingView.
Связка с брокерами, телеграм.
Создание простых интерфейсов.

 

Все документы, представленные в каталоге, не являются их официальным изданием и предназначены исключительно для ознакомительных целей. Электронные копии этих документов могут распространяться без всяких ограничений. Вы можете размещать информацию с этого сайта на любом другом сайте.


ТИПОВАЯ ТЕХНОЛОГИЧЕСКАЯ КАРТА НА МОНТАЖ ВЕНТИЛИРУЕМОГО ФАСАДА С ОБЛИЦОВКОЙ КОМПОЗИТНЫМИ ПАНЕЛЯМИ

ТК-23

Москва 2006

Технологическая карта подготовлена в соответствии с требованиями «Руководства по разработке технологических карт в строительстве», подготовленного Центральным научно-исследовательским и проектно-экспериментальным институтом организации, механизации и технической помощи строительству (ЦНИИОМТП), и на основе конструкций вентилируемых фасадов ООО «НП Строй».

Технологическая карта разработана на монтаж вентилируемого фасада на примере конструктивной системы FS-300. В технологической карте указана область ее применения, изложены основные положения по организации и технологии производства работ при монтаже элементов вентилируемого фасада, приведены требования к качеству работ, технике безопасности, охране труда и противопожарным мероприятиям, определена потребность в материально-технических ресурсах, рассчитаны затраты труда и график производства работ.

Технологическую карту разработали кандидаты техн. наук В. П. Володин, ЮЛ. Корытов.

Содержание

1 ОБЩАЯ ЧАСТЬ

Навесные вентилируемые фасады предназначены для утепления и облицовки алюмокомпозитными панелями внешних ограждающих конструкций при строительстве новых, реконструкции и капитальном ремонте существующих зданий и сооружений.

Основными элементами фасадной системы FS-300 являются:

- несущий каркас;

- теплоизоляция и ветрогидрозащита;

- облицовочные панели;

- обрамление завершения фасадной облицовки.

Фрагмент и элементы фасадной системы FS-300 показаны на рисунках 1, 3-13. Экспликация к рисункам 1, 2-13 приведена ниже:

1 - кронштейн несущий - основной несущий элемент каркаса, предназначенный для крепления несущего регулирующего кронштейна;

2 - кронштейн опорный - дополнительный элемент каркаса, предназначенный для крепления опорного регулирующего кронштейна;

3 - несущий регулирующий кронштейн - основной (совместно с несущим кронштейном) несущий элемент каркаса, предназначенный для «фиксированной» установки вертикальной направляющей (несущего профиля);

4 - опорный регулирующий кронштейн - дополнительный (совместно с опорным кронштейном) элемент каркаса, предназначенный для подвижной установки вертикальной направляющей (несущего профиля);

5 - вертикальная направляющая - длинномерный профиль, предназначенный для крепления облицовочной панели к каркасу;

6 - скользящий кронштейн - элемент крепления, предназначенный для фиксирования облицовочной панели;

7 - заклепка вытяжная - крепежный элемент, предназначенный для крепления несущего профиля к несущим регулирующим кронштейнам;

8 - винт установочный - крепежный элемент, предназначенный для фиксации положения скользящих кронштейнов;

9 - винт стопорный - крепежный элемент, предназначенный для дополнительной фиксации верхних скользящих кронштейнов панелей к вертикальным направляющим профилям во избежание сдвига облицовочных панелей в вертикальной плоскости;

Рис. 1. Фрагмент фасада системы FS-300

10 - болт стопорный (в комплекте с гайкой и двумя шайбами) - крепежный элемент, предназначенный для установки основных и дополнительных элементов каркаса в проектное положение;

11 - термоизолирующая прокладка несущего кронштейна, предназначенная для выравнивания рабочей поверхности и устранения «мостиков холода»;

12 - термоизолирующая прокладка опорного кронштейна, предназначенная для выравнивания рабочей поверхности и устранения «мостиков холода»;

13 - облицовочные панели - алюмокомпозитные панели в сборе с элементами крепления. Устанавливаются с помощью скользящих кронштейнов (6) в «распор» и дополнительно фиксируются от горизонтального сдвига вытяжными заклепками (14) к вертикальным направляющим (5).

Типовые размеры листов для изготовления облицовочных панелей - 1250×4000 мм, 1500×4050 мм (ALuComp) и 1250×3200 мм (ALUCOBOND). В соответствии с требованиями заказчика предусмотрены возможности варьирования длиной и шириной панели, а также цветом покрытия лицевого слоя;

15 - теплоизоляция из минераловатных плит для утепления фасада;

16 - ветрогидрозащитный материал - паропроницаемая мембрана, предохраняющая теплоизоляцию от увлажнения и возможного выветривания волокон утеплителя;

17 - тарельчатый дюбель для крепления теплоизоляции и мембраны к стене здания или сооружения.

Обрамления фасадной облицовки - конструктивные элементы, предназначенные для оформления парапета, цоколя, оконных, витражных и дверных примыканий и пр. К ним относятся: перфорированные профили для свободного доступа воздуха снизу (в цокольной части) и сверху, оконные и дверные обрамления, самогнутые кронштейны, нащельники, угловые пластины и пр.

2 ОБЛАСТЬ ПРИМЕНЕНИЯ ТЕХНОЛОГИЧЕСКОЙ КАРТЫ

2.1 Типовая технологическая карта разработана на монтаж системы навесных вентилируемых фасадов FS-300 для облицовки стен зданий и сооружений алюмокомпозитными панелями.

2.2 За объем выполняемых работ принята облицовка фасада общественного здания высотой 30 м и шириной 20 м.

2.3 В состав работ, рассматриваемых технологической картой, входят: монтаж и демонтаж фасадных подъемников, монтаж системы вентилируемого фасада.

2.4 Работы выполняются в две смены. В смену работают 2 звена монтажников, каждое на своей вертикальной захватке, по 2 человека в каждом звене. Используются два фасадных подъемника.

2.5 При разработке типовой технологической карты принято:

стены здания - железобетонные монолитные, плоские;

фасад здания имеет 35 оконных проемов с размерами каждого - 1500×1500 мм;

размер панелей: П1-1000×900 мм; П2-1000×700 мм; П3-1000×750 мм; П4-500×750 мм; У1 (угловая) - Н-1000 мм, В - 350×350×200 мм;

теплоизоляция - плиты из минеральной ваты на синтетическом связующем толщиной 120 мм;

воздушный зазор между теплоизоляцией и внутренней стенкой фасадной панели - 40 мм.

При разработке ППР данная типовая технологическая карта привязывается к конкретным условиям объекта с уточнением: спецификации элементов несущего каркаса, облицовочных панелей и обрамления фасадной облицовки; толщины теплоизоляции; величины зазора между теплоизоляционным слоем и облицовкой; объема работ; калькуляции затрат труда; объема материально-технических ресурсов; графика выполнения работ.

3 ОРГАНИЗАЦИЯ И ТЕХНОЛОГИЯ ВЫПОЛНЕНИЯ РАБОТ

ПОДГОТОВИТЕЛЬНЫЕ РАБОТЫ

3.1 До начала монтажных работ по устройству вентилируемого фасада системы FS-300 должны быть проведены следующие подготовительные работы:

- согласно требованиям СНиП 12-03-2001 рабочая зона (а также подходы к ней и близлежащие территории) освобождается от строительных конструкций, материалов, механизмов и строительного мусора - от стены здания до границы зоны, опасной для нахождения людей при эксплуатации фасадных подъемников (рис. 2);

Рис. 2. Схема организации строительной площадки

1 - ограждение строительной площадки; 2 - мастерская; 3 - материально-технический склад; 4 - рабочая зона; 5 - граница зоны, опасной для нахождения людей при эксплуатации фасадных подъемников; 6 - открытая площадка складирования строительных конструкций и материалов; 7 - мачта освещения; 8 - фасадный подъемник

- на строительной площадке устанавливают инвентарные мобильные здания: неотапливаемый материально-технический склад для хранения элементов вентилируемого фасада (композитных листов или готовых к монтажу панелей, утеплителя, паропроницаемой пленки, конструктивных элементов несущего каркаса) и мастерскую - для изготовления облицовочных панелей и обрамления завершения фасадной облицовки в построечных условиях;

- производят осмотр и оценку технического состояния фасадных подъемников, средств механизации, инструмента, их комплектности и готовности к работе;

- в соответствии с проектом производства работ устанавливают на здание фасадные подъемники и запускают в работу согласно Руководству по эксплуатации (3851Б.00.00.000 РЭ);

- на стене здания отмечают расположение маячных точек анкерирования для установки несущих и опорных кронштейнов.

3.2 Облицовочный композитный материал поставляют на строительную площадку, как правило, в виде листов, раскроенных по проектным размерам. В этом случае в мастерской на строительной площадке с помощью ручного инструмента, вытяжных заклепок и элементов сборки кассет формируют облицовочные панели с креплением.

3.3 Хранить листы из композитного материала на строительной площадке необходимо на уложенных на ровном месте брусьях толщиной до 10 см, с шагом 0,5 м. Если монтаж вентилируемого фасада планируют на срок более 1 месяца, листы следует переложить рейками. Высота стопки листов не должна превышать 1 м.

Грузоподъемные операции с упакованными листами из композитного материала следует производить с использованием текстильных ленточных строп (ТУ 3150-010-16979227) или других строп, исключающих травмирование листов.

Не допускается хранение облицовочного композитного материала вместе с агрессивными химическими веществами.

3.4 В случае поступления на строительную площадку облицовочного композитного материала в виде готовых облицовочных панелей с креплением их укладывают в пачку попарно, лицевыми поверхностями друг к другу так, чтобы соседние пары соприкасались тыловыми сторонами. Пачки ставят на деревянные подкладки, с небольшим уклоном от вертикали. Панели укладывают в два ряда по высоте.

3.5 Разметка точек установки несущих и опорных кронштейнов на стене здания проводится в соответствии с технической документацией к проекту на устройство вентилируемого фасада.

На начальном этапе определяют маячные линии разметки фасада - нижнюю горизонтальную линию точек установки кронштейнов и двух крайних по фасаду здания вертикальных линий.

Крайние точки горизонтальной линии определяют с помощью нивелира и отмечают их несмываемой краской. По двум крайним точкам, используя лазерный уровень и рулетку, определяют и отмечают краской все промежуточные точки установки кронштейнов.

С помощью отвесов, опущенных с парапета здания, по крайним точкам горизонтальной линии определяют вертикальные линии.

Используя фасадные подъемники, отмечают несмываемой краской точки установки несущих и опорных кронштейнов на крайних вертикальных линиях.

ОСНОВНЫЕ РАБОТЫ

3.6 При организации производства монтажных работ площадь фасада здания разбивают на вертикальные захватки, в пределах которых выполняют работы разными звеньями монтажников с первого или второго фасадных подъемников (рис. 3). Ширина вертикальной захватки равна длине рабочего настила люльки фасадного подъемника (4 м), а длина вертикальной захватки равна рабочей высоте здания. Первое и второе звенья монтажников, работающие на 1-м фасадном подъемнике, чередуясь посменно, проводят последовательно монтажные работы на 1-й, 3-й и 5-й вертикальных захватках. Третье и четвертое звенья монтажников, работающие на 2-м фасадном подъемнике, чередуясь посменно, проводят последовательно монтажные работы на 2-й и 4-й вертикальных захватках. Направление производства работ - от цокольной части здания вверх до парапета.

3.7 Для монтажа вентилируемого фасада одним звеном рабочих из двух монтажников определена сменная захватка, равная 4 м2 фасада.

3.8 Монтаж вентилируемого фасада начинается от цоколя здания на 1-й и 2-й вертикальных захватках одновременно. В пределах вертикальной захватки монтаж осуществляют в следующей технологической последовательности:

Рис. 3. Схема разбивки фасада на вертикальные захватки

Условные обозначения:

 - направление производства работ

 - вертикальные захватки для 1-го и 2-го звеньев монтажников, работающих на первом фасадном подъемнике

 - вертикальные захватки для 3-го и 4-го звеньев монтажников, работающих на втором фасадном подъемнике

 - часть здания, на котором монтаж вентилируемого фасада завершен

Облицовочные панели:

П1 - 1000×900 мм;

П2 - 1000×700 мм;

П3 - 1000×750 мм;

П4 - 500×750 мм;

У1 (угловая): Н=1000 мм, В = 350×350×200 мм

- разметка точек установки несущих и опорных кронштейнов на стене здания;

- сверление отверстий для установки анкерных дюбелей;

- крепление к стене несущих и опорных кронштейнов с помощью анкерных дюбелей;

- устройство теплоизоляции и ветрогидрозащиты;

- крепление к несущим и опорным кронштейнам регулирующих кронштейнов с помощью стопорных болтов;

- крепление к регулирующим кронштейнам направляющих профилей;

- крепление скользящих кронштейнов к направляющим профилям;

- установка облицовочных панелей;

- монтаж элементов облицовки вентилируемого фасада к внешнему углу здания.

3.9 Монтаж обрамления фасадной облицовки цоколя производят без использования фасадного подъемника с поверхности земли (при высоте цоколя до 1 м). Парапетный отлив монтируют с кровли здания на заключительном этапе каждой вертикальной захватки.

3.10 Точки установки несущих и опорных кронштейнов на вертикальную захватку размечают с использованием маячных точек, отмеченных на крайних горизонтальной и вертикальных линиях (см. п. 3.5), с помощью рулетки, уровня и красящего шнура.

При разметке точек анкерирования для установки несущих и опорных кронштейнов для последующей вертикальной захватки маяками служат точки крепления несущих и опорных кронштейнов предыдущей вертикальной захватки.

3.11 Для крепления к стене несущих и опорных кронштейнов в размеченных точках просверливают отверстия, диаметром и глубиной соответствующие анкерным дюбелям, которые прошли испытания на прочность для данного вида стенового ограждения.

Если отверстие просверлено ошибочно не в том месте и требуется просверлить новое, то последнее должно находиться от ошибочного на расстоянии как минимум одной глубины просверленного отверстия. При невозможности выполнения данного условия можно применить метод крепления кронштейнов, показанный на рис. 4.

Очистка отверстий от отходов сверления (пыли) производится сжатым воздухом.

Рис. 4. Узел крепления несущих (опорных) кронштейнов в случае невозможности их крепления к стене в проектных точках сверлений

Дюбель вставляют в подготовленное отверстие и подбивают монтажным молотком.

Под кронштейны укладывают термоизоляционные прокладки для выравнивания рабочей поверхности и устранения «мостиков холода».

Кронштейны крепят к стене шурупами с помощью электродрели, с регулируемой скоростью вращения и соответствующими насадками для завинчивания.

3.12 Устройство теплоизоляции и ветрогидрозащиты состоит из следующих операций:

- навешивание на стену через прорези для кронштейнов плит утеплителя;

- навешивание на теплоизоляционные плиты полотнищ ветрогидрозащитной мембраны с перехлестом 100 мм и временное их закрепление;

- высверливание через утеплитель и ветрогидрозащитную мембрану отверстий в стене для тарельчатых дюбелей в полном объеме по проекту и установка дюбелей.

Расстояние от дюбелей до краев теплоизоляционной плиты должно быть не менее 50 мм.

Монтаж теплоизоляционных плит начинают с нижнего ряда, которые устанавливают на стартовый перфорированный профиль или цоколь и монтируют снизу вверх.

Плиты навешивают в шахматном порядке горизонтально радом друг с другом таким образом, чтобы между плитами не было сквозных щелей. Допустимая величина незаполненного шва - 2 мм.

Доборные теплоизоляционные плиты должны быть надежно закреплены к поверхности стены.

Для установки доборных теплоизоляционных плит их необходимо подрезать с помощью ручного инструмента. Ломать плиты утеплителя запрещается.

При монтаже, транспортировке и хранении теплоизоляционные плиты должны быть защищены от увлажнения, загрязнения и механических повреждений.

Перед началом монтажа теплоизоляционных плит сменная захватка, на которой будут проводить работы, должна быть защищена от попадания атмосферной влаги.

3.13 Регулирующие несущий и опорный кронштейны крепят соответственно к несущему и опорному кронштейнам. Положение этих кронштейнов регулируют таким образом, чтобы обеспечить выравнивание по вертикальному уровню отклонения неровностей стен. Кронштейны крепят при помощи болтов со специальными шайбами из нержавеющей стали.

3.14 Крепление к регулирующим кронштейнам вертикальных направляющих профилей производится в следующей последовательности. Профили устанавливают в пазы регулирующих несущих и опорных кронштейнов. Затем профили фиксируют заклепками к несущим кронштейнам. В опорных регулирующих кронштейнах профиль устанавливают свободно, что обеспечивает его свободное перемещение по вертикали для компенсации температурных деформаций.

В местах стыковки по вертикали двух следующих друг за другом профилей для компенсации температурных деформаций рекомендуется выдерживать зазор в пределах от 8 до 10 мм.

3.15 При устройстве примыкания к цоколю крепление перфорированного нащельника с помощью уголка к вертикальным направляющим профилям производят с помощью вытяжных заклепок (рис. 5).

3.16 Монтаж облицовочных панелей начинают с нижнего ряда и ведут снизу вверх (рис. 6).

На вертикальные направляющие профили (4) устанавливают скользящие кронштейны (9). Верхний скользящий кронштейн устанавливаетют в проектное положение (фиксируется с помощью установочного винта 10), а нижний - в промежуточное (9). Панель надевается на верхние скользящие кронштейны и с помощью перемещения нижних скользящих кронштейнов устанавливается «в распор». Верхние скользящие кронштейны панели дополнительно крепят самонарезными винтами от вертикального сдвига. От горизонтального сдвига панели также дополнительно крепят к несущему профилю заклепками (11).

3.17 При установке облицовочных панелей на стыке вертикальных направляющих (несущих профилей) (рис. 7) необходимо соблюдать два условия: верхняя облицовочная панель должна закрывать зазор между несущими профилями; должна быть точно выдержана проектная величина зазора между нижней и верхней облицовочными панелями. Для выполнения второго условия рекомендуется применять шаблон, выполненный из деревянного квадратного бруска. Длина бруска равна ширине облицовочной панели, а грани - проектной величине зазора между нижней и верхней облицовочными панелями.

Рис. 5. Узел примыкания к цоколю

Рис. 6. Установка облицовочной панели

Рис. 7. Установка облицовочных панелей на стыке несущих профилей

Рис. 8. Узел крепления облицовочных панелей на наружном углу здания

3.18 Устройство примыкания вентилируемого фасада к внешнему углу здания осуществляют с использованием угловой облицовочной панели (рис. 8).

Угловые облицовочные панели изготавливаются поставщиком-изготовителем или на строительной площадке с размерами, указанными в проекте фасада.

Угловую облицовочную панель крепят к несущему каркасу вышеуказанными способами, а к боковой стене здания - с помощью уголков, показанных на рис. 8. Обязательным условием является установка анкерных дюбелей для закрепления угловой облицовочной панели на расстоянии не ближе 100 мм от угла здания.

3.19 В пределах сменной захватки монтаж вентилируемого фасада, не имеющего узлов примыканий и оконных обрамлений, осуществляют в следующей технологической последовательности:

- разметка точек анкерирования для установки несущих и опорных кронштейнов на стене здания;

- сверление отверстий для установки анкерных дюбелей;

- крепление к стене несущих и опорных кронштейнов с помощью анкерных дюбелей;

- устройство теплоизоляции и ветрогидрозащиты;

- крепление к несущим и опорным кронштейнам регулирующих кронштейнов с помощью стопорных болтов;

- крепление к регулирующим кронштейнам направляющих профилей;

- установка облицовочных панелей.

Монтажные работы проводят в соответствии с требованиями, указанными в пп. 3.10 - 3.14 и пп. 3.16 и 3.17 настоящей технологической карты.

3.20 В пределах сменной захватки монтаж вентилируемого фасада, имеющего оконное обрамление, осуществляют в следующей технологической последовательности:

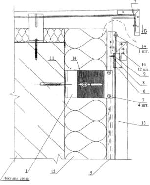
- разметка точек анкерирования для установки несущих и опорных кронштейнов, а также точек анкерирования для крепления элементов оконного обрамления на стене здания;

- крепление к стене элементов подконструкции оконного обрамления (рис. 9);

- крепление к стене несущих и опорных кронштейнов;

- устройство теплоизоляции и ветрогидрозащиты;

- крепление к несущим и опорным кронштейнам регулирующих кронштейнов;

- крепление к регулирующим кронштейнам направляющих профилей;

- крепление оконного обрамления к направляющим профилям с дополнительным креплением к рамному профилю (рис. 10, 11, 12);

- установка облицовочных панелей.

3.21 В пределах сменной захватки монтаж вентилируемого фасада, имеющего примыкание к парапету, осуществляют в следующей технологической последовательности:

- разметка точек анкерирования для установки несущих и опорных кронштейнов к стене здания, а также точек анкерирования для крепления парапетного отлива к парапету;

- сверление отверстий для установки анкерных дюбелей;

- крепление к стене несущих и опорных кронштейнов с помощью анкерных дюбелей;

- устройство теплоизоляции и ветрогидрозащиты;

- крепление к несущим и опорным кронштейнам регулирующих кронштейнов с помощью стопорных болтов;

- крепление к регулирующим кронштейнам направляющих профилей;

- установка облицовочных панелей;

- крепление парапетного отлива к парапету и к направляющим профилям (рис. 13).

3.22 При перерывах в работе на сменной захватке не защищенная от атмосферных осадков утепленная часть фасада укрывается защитной полиэтиленовой пленкой или иным способом, чтобы предотвратить намокание утеплителя.

4 ТРЕБОВАНИЯ К КАЧЕСТВУ И ПРИЕМКЕ РАБОТ

4.1 Качество вентилируемого фасада обеспечивается текущим контролем технологических процессов подготовительных и монтажных работ, а также при приемке работ. По результатам текущего контроля технологических процессов составляются акты освидетельствования скрытых работ.

4.2 В процессе подготовки монтажных работ проверяют:

- готовность рабочей поверхности фасада здания, конструктивных элементов фасада, средств механизации и инструмента к выполнению монтажных работ;

Материал: сталь оцинкованная (лист 5 > 0,55 мм) по ГОСТ 14918-80

Рис. 9. Общий вид оконного обрамления

Рис. 10. Примыкание к оконному проему (нижнее)

Горизонтальный разрез

* В зависимости от плотности материала ограждающей конструкции здания.

Рис. 11. Примыкание к оконному проему (сбоку)

* В зависимости от плотности материала ограждающей конструкции здания.

Рис. 12. Примыкание к оконному проему (верхнее)

Вертикальный разрез

Рис. 13. Узел примыкания к парапету

- качество элементов несущего каркаса (размеры, отсутствие вмятин, изгибов и прочих дефектов кронштейнов, профилей и других элементов);

- качество утеплителя (размеры плит, отсутствие разрывов, вмятин и других дефектов);

- качество облицовочных панелей (размеры, отсутствие царапин, вмятин, изгибов, надломов и прочих дефектов).

4.3 В процессе монтажных работ проверяют на соответствие проекту:

- точность разметки фасада;

- диаметр, глубину и чистоту отверстий под дюбели;

- точность и прочность крепления несущих и опорных кронштейнов;

- правильность и прочность крепления к стене плит утеплителя;

- положение регулирующих кронштейнов, компенсирующих неровности стены;

- точность установки несущих профилей и, в частности, зазоры в местах их стыковки;

- плоскостность фасадных панелей и воздушные зазоры между ними и плитами утеплителя;

- правильность устройства обрамлений завершения вентилируемого фасада.

4.4 При приемке работ производится осмотр вентилируемого фасада в целом и особенно тщательно обрамлений углов, окон, цоколя и парапета здания. Обнаруженные при осмотре дефекты устраняют до сдачи объекта в эксплуатацию.

4.5 Приемка смонтированного фасада оформляется актом с оценкой качества работ. Качество оценивают степенью соответствия параметров и характеристик смонтированного фасада указанным в технической документации к проекту. К этому акту прилагаются акты освидетельствования скрытых работ (по п. 4.1).

4.6 Контролируемые параметры, способы их измерения и оценки приведены в табл. 1.

Таблица 1

Контролируемые параметры

№ п.п.

Технологические процессы и операции

Параметры, характеристики

Допуск значений параметров

Способ контроля и инструмент

Время проведения контроля

1

Разметка фасада

Точность разметки

0,3 мм на 1 м

Лазерный нивелир и уровень

В процессе разметки

2

Сверление отверстий под дюбеля

Глубина h, диаметр D

Глубина h больше длины дюбеля на 10 мм; D + 0,2 мм

Глубиномер, нутромер

В процессе сверления

3

Крепление кронштейнов

Точность, прочность

Согласно проекту

Нивелир, уровень

В процессе крепления

4

Крепление к стене утеплителя

Прочность, правильность, влажность не более 10 %

То же

Влагомер

В процессе и после крепления

5

Крепление регулирующих кронштейнов

Компенсация неровностей стены

»

Визуально

То же

6

Крепление направляющих профилей

Зазоры в местах стыков

Согласно проекту (не менее 10 мм)

Шаблон

В процессе работы

7

Крепление облицовочных панелей

Отклонение плоскости поверхности фасада от вертикали

1/500 высоты вентилируемого фасада, но не более 100 мм

Измерительный, через каждые 30 м по ширине фасада, но не менее трех измерений на принимаемый объем

В процессе и после монтажа фасада

5 МАТЕРИАЛЬНО-ТЕХНИЧЕСКИЕ РЕСУРСЫ

5.1 Потребность в основных материалах и изделиях приводится в таблице 2.

Таблица 2

№ п.п.

Наименование

Единица измерения

Потребность на 600 м2 фасада (в т.ч. общая площадь окон 78,75 м2)

1

Монтаж несущего каркаса:

 

 

кронштейн несущий

шт.

250

кронштейн опорный

шт.

470

несущий регулирующий кронштейн

шт.

250

опорный регулирующий кронштейн

шт.

470

вертикальная направляющая

м

698

скользящий кронштейн

шт.

1430

заклепка вытяжная 5×12 мм (сталь нержавеющая)

шт.

1000

винт установочный

шт.

1430

болт стопорный М8 в комплекте с шайбой и гайкой

шт.

720

винт стопорный

шт.

715

кронштейн крепления оконных примыканий

шт.

350

2

Устройство теплоизоляции и ветрогидрозащита:

 

 

утеплитель

м2

570

тарельчатый дюбель

шт.

4560

ветрогидрозищтная пленка

м2

600

3

Монтаж облицовочных панелей

 

 

облицовочная панель:

 

 

П1 - 1000×900 мм

шт.

300

П2 - 1000×700 мм

шт.

120

П3 - 1000×750 мм

шт.

160

П4 - 500×750 мм

шт.

70

У1 - внешний угол, Н - 1000 мм, В - 350×350×200 мм

шт.

60

перфорированный профиль (цокольный узел)

м

20

обрамление примыканий к оконному проему:

 

 

нижнее (L - 1500 мм)

шт.

35

боковое (L = 1500 мм)

шт.

70

верхнее (L = 1500 мм) шт.

шт.

35

верхняя облицовочная панель (парапетный узел)

шт.

20

5.2 Потребность в механизмах, оборудовании, инструменте, инвентаре и приспособлениях приводится в таблице 3.


Таблица 3

№ п.п.

Наименование

Тип, марка, ГОСТ, № чертежа, завод-изготовитель

Техническая характеристик

Назначение

Количество на звено

1

Подъемник фасадный (люлька)

ПФ3851Б, ЗАО «Тверской экспериментально-механический завод»

Длина рабочего настила 4 м, грузоподъемность 300 кг, высота подъема до 150 м

Производство монтажных работ на высоте

1

2

Отвес, шнур

ОТ400-1, ГОСТ 7948-80. Шнур трехпрядный капроновый или хлориновый

Масса отвеса не более 0,4 кг. Длина шнура 5 м, диаметр 3 мм

Разграничение захваток, проверка вертикальности

2

3

Ватерпас

Тип 70-1500 «STABILA»

Длина 1500 мм, 1 верт. и 1 гориз. уровень. Точность измерения 0,5 мм/м

Проверка горизонтальных плоскостей

1

4

Лазерный нивелир

BL 40 VHR СКБ «Стройприбор»

Точность измерения 0,1 мм/м

Измерение высот

1

5

Лазерный уровень

BL 20 СКВ «Стройприбор»

То же

Проверка горизонтальных плоскостей

1

6

Дрель

Интерскол ДУ 1000-ЭР

Мощность 1000 Вт. Максимальный диаметр сверления отверстия в бетоне 20 мм

Сверление отверстий в стене

1

7

Рулетка стальная

Р20УЗК, ГОСТ 7502-98

Длина 20 м, масса 0,35 кг

Измерение линейных размеров

2

8

Отвертка с рычажным наконечником

Отвертка Профи ООО «ИНФОТЕКС»

Реверсивная рычажная

Завинчивание/отвинчивание гаек, винтов, болтов

2

9

Гайковерт ручной

 

Момент затяжки определяется по расчету

Завинчивание/отвинчивание гаек, винтов, болтов

1

10

Электродрель с насадками для завинчивания

Интерскол ДУ-800-ЭР

Потребляемая мощность 800 Вт, максимальный диаметр сверления в бетоне 20 мм, масса 2,5 кг

Сверление отверстий и завинчивание болтов

1 компл

11

Ручные клепальные инструменты

Клепальные клещи «ЭНКОР»

 

Установка заклепок

1

12

Клепальный пистолет аккумуляторный

Заклепочник аккумуляторный ERT 130 «RIVETEC»

Сила заклепки 8200 Н, рабочий ход 20 мм, масса с аккумулятором 2,2 кг

Установка вытяжных заклепок

1

13

Ножницы для резки металла (правые, левые)

Ножницы ручные электрические ВЭРН-0,52-2,5; ножницы по металлу «Мастер»

Мощность 520 Вт, толщина разрезания алюминиевого листа до 2,5 мм; правые, левые, размер 240 мм

Резка облицовочных панелей

1

14

Молоток

МПЛИ-1 ГОСТ 11042-90

 

Забивка дюбелей

1

15

Защитные перчатки для укладки теплоизоляции

ГОСТ 12.4.010-75

Спилковые

Безопасность работ

2

16

Ограждения инвентарные участков производства работ

ГОСТ 2340-78

 

То же

Местоположение по факту

17

Пояс предохранительный

ГОСТ Р 50849-96*

 

»

2

18

Каска строительная

ГОСТ 124.087-84

Масса 0,2 кг

»

2

6. КАЛЬКУЛЯЦИЯ ЗАТРАТ ТРУДА

Таблица 4

№ п.п.

Наименование технологического процесса

Ед. измерения

Объем работ

Норма затрат труда на единицу измерения, чел.-ч

Затраты труда на общий объем работ, чел.-ч

1

Монтаж фасадного подъемника

 

 

 

 

Для вертикальной захватки:

 

 

 

 

1-й

1 шт.

1

11,19

11,19

2-й

1 шт.

1

11,19

11,19

3-й

1 шт.

1

9,40

9,40

4-й

1 шт.

1

9,40

9,40

5-й

1 шт.

1

9,40

9,40

2

Демонтаж фасадного подъемника

 

 

 

 

На вертикальной захватке:

 

 

 

 

1-й

1 шт.

1

8,65

8,65

2-й

1 шт.

1

8,65

8,65

3-й

1 шт.

1

8,65

8,65

4-й

1 шт.

1

15,55

15,55

5-й

1 шт.

1

15,55

15,55

3

Монтаж вентилируемого фасада (монтаж несущего каркаса; установка теплоизоляции и ветрогидрозащиты; установка облицовочных панелей)

1 м2

600

4

2400

4

Переноска материалов (грузов) (20 м)

7,2

(1,5 + 0,56) = 2,06

14,83

 

Итого:

 

 

 

2522,5

7. ГРАФИК ПРОИЗВОДСТВА РАБОТ

№ п.п.

Наименование технологического процесса

Затраты труда на общий объем работ, чел.-ч

Состав звена

Продолжит, процесса на объем работ, ч

Рабочие дни

5

10

15

20

25

30

35

40

45

50

1

2

3

4

5

6

7

8

9

10

11

12

13

14

15

1

Монтаж подъемника

 

5 раз. - 1

 

 

 

 

 

 

 

 

 

 

 

На 1 верт. захватке

11,19

4 раз. - 1

2,8

 

 

 

 

 

 

 

 

 

 

 

 

На 2 верт. захватке

11,19

3 раз. - 1

2,8

 

 

 

 

 

 

 

 

 

 

 

 

 

На 3 верт. захватке

9,40

2 раз. - 1

2,35

 

 

 

 

 

 

 

 

 

 

 

 

 

На 4 верт. захватке

9,40

 

2,35

 

 

 

 

 

 

 

 

 

 

 

 

 

На 5 верт. захватке

9,40

 

2,35

 

 

 

 

 

 

 

 

 

 

 

 

 

2

Демонтаж подъемника

 

5 раз. - 1

 

 

 

 

 

 

 

 

 

 

 

На 1 верт. захватке

8,65

4 раз. - 1

2,88

 

 

 

 

 

 

 

 

 

 

 

 

На 2 верт. захватке

8,65

3 раз. - 1

2,88

 

 

 

 

 

 

 

 

 

 

 

 

На 3 верт. захватке

8,65

 

2,88

 

 

 

 

 

 

 

 

 

 

 

 

 

На 4 верт. захватке

11,65

 

3,88

 

 

 

 

 

 

 

 

 

 

 

 

 

На 5 верт. захватке

11,65

 

3,88

 

 

 

 

 

 

 

 

 

 

 

 

 

3

Монтаж фасада

2400

2 звена, в каждом:

 

 

 

 

 

 

 

 

 

 

 

На 1 верт. захватке

480

5 раз. - 1

120

 

 

 

 

 

 

 

 

 

 

 

 

 

 

 

 

 

 

На 2 верт. захватке

480

3 раз. – 1 (работа в 2 смены)

120

 

 

 

 

 

 

 

 

 

 

 

 

 

 

 

 

 

 

На 3 верт. захватке

480

 

120

 

 

 

 

 

 

 

 

 

 

 

 

 

 

 

 

 

 

 

На 4 верт. захватке

480

 

120

 

 

 

 

 

 

 

 

 

 

 

 

 

 

 

 

 

 

 

На 5 верт. захватке

480

 

120

 

 

 

 

 

 

 

 

 

 

 

 

 

 

 

 

 

4

Переноска материалов

14,83

2 раз. - 1

14,83

 

 

 

 

 

 

 

 

 

 

 

 

 

 

 

 

 

 

 

 

 

Общая продолжительность производства работ - 48,6 рабочих дня

8 ТЕХНИКА БЕЗОПАСНОСТИ, ОХРАНА ТРУДА И ПРОТИВОПОЖАРНЫЕ МЕРОПРИЯТИЯ

8.1 При организации и проведении работ по монтажу вентилируемых фасадов должны выполняться требования следующих нормативных документов:

- СНиП 12-03-2001 «Безопасность труда в строительстве. Часть 1. Общие требования»;

- СНиП 12-04-2002 «Безопасность труда в строительстве. Часть 2. Строительное производство»;

- ГОСТ 12.4.011-89 «ССБТ. Средства защиты работающих. Общие требования и классификация».

8.2 Пожарная безопасность на рабочих местах должна обеспечиваться в соответствии с требованиями:

- ППБ 01-03 «Правила пожарной безопасности в Российской Федерации»;

- ГОСТ 12.1.004-91 «ССБТ. Пожарная безопасность. Общие требования».

8.3 Электробезопасность на рабочих местах должна обеспечиваться в соответствии с требованиями:

- ГОСТ 12.1.019-79 «ССБТ. Электробезопасность. Общие требования»;

- ГОСТ 12.1.030-81 «ССБТ. Электробезопасность. Защитное заземление, зануление»;

- ПОТ Р М-016-2001 (РД 153-34.0-03.150-00) «Межотраслевые правила по охране труда (правила безопасности) при эксплуатации электроустановок».

8.4 При организации строительной площадки, размещении участков работ, рабочих мест, проездов строительных машин и транспортных средств, проходов для людей следует установить опасные для работников зоны, в пределах которых постоянно действуют или потенциально могут действовать опасные или вредные производственные факторы. Опасные зоны должны быть обозначены знаками безопасности и надписями установленной формы в соответствии с требованиями ГОСТ 12.4.026-76 «ССБТ. Цвета сигнальные и знаки безопасности».

Расположение и конструкция ограждений участков производства строительно-монтажных работ должны быть указаны в ППР и соответствовать требованиям ГОСТ 23407-78 «Ограждения инвентарные строительных площадок и участков производства строительно-монтажных работ. Технические условия».

8.5 Складирование и хранение материалов, изделий и оборудования должно осуществляться в соответствии с требованиями стандартов или технических условий на материалы, изделия и оборудование, а также СНиП 12-03-2001.

8.6 Рабочие места в случае необходимости должны иметь временные ограждения в соответствии с требованиями ГОСТ 12.4.059-89 «ССБТ. Строительство. Ограждения защитные инвентарные. Общие технические условия».

8.7 Строительная площадка, участки работ, рабочие места, проезды и подходы к ним в темное время суток должны быть освещены в соответствии с требованиями ГОСТ 12.1.046-85 «ССБТ. Строительство. Нормы освещения строительных площадок». Освещенность должна быть равномерной, без слепящего действия осветительных приборов на работающих.

8.8 При монтаже вентилируемого фасада с использованием фасадного подъемника необходимо выполнять следующие требования:

- площадка вокруг проекции подъемника на землю должна быть ограждена. Пребывание посторонних лиц в этой зоне во время работы, монтажа и демонтажа подъемника запрещено;

- при установке консолей необходимо закрепить на подъемнике плакат с надписью «Внимание! Идет установка консолей»;

- до присоединения канатов к консолям необходимо проверить надежность заделки канатов на коуш;

- крепление канатов к консолям необходимо проверять после каждого передвижения консоли;

- балласт, состоящий из контргрузов, после установки на консоль должен быть надежно закреплен. Самопроизвольное сбрасывание балласта должно быть исключено;

- при проведении работ на подъемнике на консолях должны быть закреплены плакаты «Балласт не снимать» и «Опасно для жизни работающих»;

- канаты подъемный и предохранительный должны надежно натягиваться пригрузами. При работе подъемника пригрузы гарантированно не должны касаться земли;

- на пригрузах и элементах балласта (контргрузах) должна указываться их фактическая масса. Использование нетарированных пригрузов и контргрузов запрещено;

- работа на подъемнике должна осуществляться только в касках;

- вход в люльку подъемника и выход из нее должны осуществляться только с земли;

- при работе в люльке подъемника рабочий должен обязательно пользоваться предохранительным поясом с креплением его к поручням люльки.

8.9 При эксплуатации подъемника запрещается:

- производить работы на подъемнике при скорости ветра свыше 8,3 м/с, при снегопаде, дожде или тумане, а также в темное время суток (при отсутствии необходимого освещения);

- пользоваться неисправным подъемником;

- перегружать подъемник;

- подъем на подъемнике больше двух человек;

- производить с люльки подъемника сварочные работы;

- работать без кожухов лебедок и ловителей.

8.10 Проектной разработки вопросов, связанных с обеспечением безопасности работ, рассматриваемых в данной карте, не требуется.



уроки по алготрейдингу на Python с нуля



Яндекс цитирования

   Copyright © 2008-2026 ,  www.infosait.ru

backtrader - уроки алготрейдинга на python