|
|
Все документы, представленные в каталоге, не являются их официальным изданием и предназначены исключительно для ознакомительных целей. Электронные копии этих документов могут распространяться без всяких ограничений. Вы можете размещать информацию с этого сайта на любом другом сайте.
ОАО
«Центральный научно-исследовательский и проектно-экспериментальный институт
промышленных зданий и сооружений» РУКОВОДСТВО ПО ПРОЕКТИРОВАНИЮ И УСТРОЙСТВУ СТЕН ПОДВАЛОВ, ПОКРЫТИЙ И ПОЛОВ С ТЕПЛОИЗОЛЯЦИЕЙ ИЗ ЭКСТРУЗИОННОГО ПЕНОПОЛИСТИРОЛА "URSA FOAM" Зам. генерального директора С.М. Гликин Руководитель отдела А.М. Воронин Содержание 1. ОБЛАСТЬ ПРИМЕНЕНИЯ1.1 Руководство распространяется на проектирование и устройство стен подвалов, покрытий и полов зданий различного назначения, а также полов зданий холодильников с теплоизоляцией из плитного экструзионного пеноплистирола URSA FOAM. 1.2 При проектировании и устройстве теплоизоляции, кроме настоящих рекомендаций должны выполняться требования действующих норм по технике безопасности. 1.3 Материалы разработаны для следующих условий: - здания одно- и многоэтажные, I-IV степени огнестойкости с сухим и нормальным температурно-влажностным режимом для строительства на всей территории страны; - стены подвала из штучных материалов (кирпич, камни, бетонные блоки) или монолитного железобетона; - температура холодной пятидневки обеспеченностью 0,92 - до минус 55°С. 1.4 Проектирование следует вести с учетом указаний следующих действующих норм и рекомендаций: СНиП 31-01-2003 «Здания жилые многоквартирные»; СНиП 31-05-2003 «Общественные здания административного назначения»; СНиП 31-03-2001 «Производственные здания»; СНиП 2.09.04-87* «Административные и бытовые здания» (изд. 2001); СНиП 2.11.02-87 «Холодильники»; СНиП 23-02-2003 «Тепловая защита зданий»; СНиП 21-01-97* «Пожарная безопасность зданий и сооружений»; СНиП 23-01-99 «Строительная климатология»; СНиП II-26-76 «Кровли»; «Кровли. Руководство по проектированию, устройству правилам приемки и методом оценки качества» ОАО «ЦНИИПромзданий», 2002 г. 2. ТЕПЛОИЗОЛЯЦИЯ2.1 В качестве теплоизоляции применяются изделия из экструзионого пенополистирола URSA FOAM. В зависимости от плотности и типа поверхности плиты выпускаются шести марок: - URSA FOAM N-III; - URSA FOAM N-III-PZ; - URSA FOAM N-V; - URSA FOAM N-W; - URSA FOAM N-W-PZ. 2.2 Плиты изготовляют номинальным размером 1250´600 мм. Плиты могут иметь гладкую поверхность или термоуплотненную вафельной структуры (PZ) и форму канта «I» или «L». 2.3 Для наружной изоляции стен подвала, расположенных выше уровня земли рекомендуются плиты марки URSA FOAM N-W и URSA FOAM N-W-PZ. Для наружной теплоизоляции стен подвала, расположенных ниже уровня земли, а также холодильников все марки плит в зависимости от величины действующих нагрузок. Для изоляции покрытий, стен и покрытий холодильников - плиты марок URSA FOAM N-W, URSA FOAM N-W-PZ, URSA FOAM и URSA FOAM N-III-PZ; Для внутренней теплоизоляции стен подвала рекомендуется применять плиты марок URSA FOAM N-W и URSA FOAM N-W-PZ. 2.4 Для теплоизоляции покрытий и полов рекомендуется применять плиты марок URSA FOAM N-W, URSA FOAM N-W-PZ, URSA FOAM N-III и URSA FOAM N-III-PZ. Для теплоизоляции покрытий с эксплуатируемой кровлей, в т.ч. с травяным покровом плиты марок URSA FOAM N-W, URSA FOAM N-W-PZ, URSA FOAM N-III и URSA FOAM-PZ, а при эксплуатируемых кровлях под автостоянки URSA FOAM N-V. 2.5 Для теплоизоляции полов могут применяться все марки плит URSA FOAM в зависимости от величины нагрузки. 2.6 Показатели физико-технических свойств и номенклатура пенополистирольных плит URSA FOAM приведены в таблице 1. Таблица 1
3. НОРМЫ ТЕПЛОЗАЩИТЫ И ДАННЫЕ ПО ТОЛЩИНЕ ТЕПЛОИЗОЛЯЦИИ3.1 Минимальное допустимое сопротивление теплопередаче покрытий зданий различного назначения в различных климатических условиях регламентировано СНиП 23-02-2003 «Тепловая защита зданий». Сопротивление теплопередаче ограждающих конструкций зданий холодильников регламентировано СНиП 2.11.02-87 «Холодильники». Сопротивление теплопередаче стен подвалов, заглубленных ниже уровня земли, принимается с учетом указаний СНиП 41-01-2003, а расположенных выше уровня земли по СНиП 23-02-2003. Показатель теплоусвоения полов жилых, общественных и производственных зданий не должен превышать значений, приведенных СНиП 23-02-2003. В противном случае предусматривается устройство слоя дополнительной теплоизоляции из плит URSA FOAM. 3.2 По назначению рассматриваемые в работе здания образуют следующие группы: 1. - жилые, лечебно-профилактические и детские учреждения, школы, интернаты; 2. - общественные, кроме указанных выше, административные и бытовые, за исключением помещений с влажным режимом; 3. - производственные с сухим и нормальным влажностным режимом; 4. - холодильники. 3.3 При новом строительстве требуемая толщина слоя теплоизоляции из плитного пенополистирола определена из следующих условий: - в стенах подвала при несущей части стены, выполненной из кирпича или камней толщиной 510 мм или из бетонных блоков толщиной 500 мм с отделочным штукатурным слоем толщиной 20 мм со стороны помещения; - в покрытиях, выполненных из сборных железобетонных ребристых плит по серии 1.465.1-21 или многопустотных плит толщиной 220 мм по ГОСТ 9561-91 или из монолитного железобетона и рулонной кровлей по керамзитобетонной стяжке толщиной 30 мм. 3.4 Теплоизоляция стен подвала рассчитывается только для «теплых» подвалов, в которых предусмотрена нижняя разводка труб систем отопления, горячего водоснабжения, а также труб систем водоснабжения и канализации. При расположении теплоизоляционного слоя с наружной стороны стены ее влажностный режим (при необходимости) должен быть проверен в соответствии с указаниями СНиП 23-02-2003; зона возможной конденсации влаги при этом совпадает с наружной поверхностью теплоизоляции. 3.5 Требуемое сопротивление теплопередаче стен подвала над уровнем земли принимается равным сопротивлению теплопередаче наружных стен здания, которое находится по табл. СНиП 23-02-2003 в зависимости от значения градусо-суток отопительного периода. 3.6 Градусо-сутки отопительного периода вычисляются по формуле: ГСОП=(tв-tот.п.)·Zот.п.; где tв - расчетная температура внутреннего воздуха в помещении 1-го этажа, °С; tот.п., Zот.п - средняя температура, °С, и продолжительность, сут., периода со средней суточной температурой воздуха, ниже или равной 8°С по СНиП 23-01-99. 3.7 Требуемая толщина теплоизоляции стены подвала, расположенной выше уровня земли, принимается равной толщине теплоизоляции наружной стены и вычисляется по формуле:
где Rприв.о - - приведенное сопротивление теплопередаче наружной стены, принятое в зависимости от значения ГСОП, м2·°С/Вт; δ - толщина несущей части стены, м; λ - коэффициент теплопроводности материала несущей части стены, Вт/(м·°С). 3.8 Приведенное сопротивление теплопередаче, м2·°С/Вт, стены подвала, расположенной ниже уровня земли, определяемой по формуле:
где δут - толщина теплоизоляции, м; λут - коэффициент теплопроводности материала теплоизоляции, Вт/(м·°С). 3.9 Требуемая толщина теплоизоляции стены подвала, расположенной ниже уровня земли, находится из условия Rо=Rприв.о и вычисляется по формуле:
3.10 Необходимая толщина теплоизоляции из пенополистирольных плит URSA FOAM в стенах подвала перечисленных выше трех групп помещений для всех областных и республиканских центров РФ приведена в таблице 2, в покрытиях - в таблице 2а, а в полах холодильников в соответствии с требованиями СНиП 2.11.02-87 в таблицах 3, 4 и 5. 3.11 Требуемая толщина теплоизоляции в полах по необогреваемому грунту принимается по расчету в соответствии с указаниями СНиП 23-02-2003. При этом пол должен удовлетворять требованиям по показателю теплоусвоения. 3.12 При реконструкции покрытий толщина слоя дополнительной теплоизоляции определена из условия, что покрытия имеют существующее сопротивление теплопередаче, рассчитанное по формуле 1 главы СНиП II-3-79** выпуска 1986 г. для tв=18°С и φ=55% и приведена в таблице 2а. Дополнительная теплоизоляция выполняется по отремонтированному покрытию, включая кровлю. 3.13 Необходимость устройства специального парозащитного слоя (пленка, обмазочная изоляция) определяется расчетом по СНиП 23-02-2003.
4. СТЕНЫ ПОДВАЛОВ4.1 Теплоизоляция стен подвалов необходима при размещении в подвалах служебно-вспомогательных помещений, складов и т.п. В результате достигается снижение затрат на отопление, исключается возможность образования конденсата на стенах, повышается комфортность и улучшаются условия работы конструкций. 4.2 При отсутствии грунтовых вод для изоляции рекомендуется применять плиты марок URSA FOAM N-W или URSA FOAM N-W-PZ, при наличии грунтовых вод - плиты марок URSA FOAM N-III, URSA FOAM N-III-PZ и URSA FOAM N-V. 4.3 Плитная теплоизоляция располагается по выровненной наружной поверхности стен подвала (рис. 1) после выполнения по ней гидроизоляции, которая в зависимости от гидроусловий может быть окрасочной или оклеечной (см. «Рекомендации по проектированию гидроизоляции подземных частей зданий и сооружений», М., ЦНИИПромзданий, 1996 г.). 4.4 При невозможности устройства теплоизоляции с наружной стороны поверхности стен подвала допускается размещение ее с внутренней стороны. При этом обязательна проверка на возможность накопления конденсационной влаги в стене согласно СНиП 23-02-2003. 4.5 Плиты пенополистирола к стене крепят на битумно-цементном клее. В зоне цоколя обязательна установка дюбелей из расчета 4 дюбеля на плиту 1250´600 мм. Примыкание изоляции к окнам и дверям наружных стен подвальных помещений выполняется аналогично таковым для надземной части. 4.6 Работы по теплоизоляции стен, расположенных ниже уровня земли следует выполнять после завершения гидроизоляционных работ. 4.7 Крепление теплоизоляционных плит к гидроизолированнной поверхности производят в следующей последовательности: битуминозный покровный слой гидроизоляции подплавляют в трех - пяти точках и к ним плотно прижимают теплоизоляционную плиту. 4.8 Каждую теплоизоляционную плиту с четвертями укладывают вплотную к соседним плитам с последующей проклейкой швов (стыков) полосой «Герлена» шириной 100 мм. 4.9 При расположении утепляемой подземной конструкции выше уровня грунтовых вод по стыкам теплоизоляционных плит предусматривают наклейку полосы «Герлена» для исключения возможного попадания капиллярной влаги в стыки. 4.10 При наличии грунтовых вод наружную поверхность теплоизоляции целесообразно оштукатуривать по сетке и покрыть гидроизоляционным составом. 4.11 Теплоизоляция стены подвала со стороны помещения может быть также приклеена к поверхности стены, либо закреплена механическим способом с последующим устройством отделочного слоя. 5.
ПОКРЫТИЯ С ТРАДИЦИОННОЙ КРОВЛЕЙ
| ||||||||||||||||||||||||||||||||||||||||||||||||||||||||||||||||||||||||||||||||||||||||||||||||||||||||||||||||||||||||||||||||||||||||||||||||||||||||||||||||||||||||||||||||||||||||||||||||||||||||||||||||||||||||||||||||||||||||||||||||||||||||||||||||||||||||||||||||||||||||||||||||||||||||||||||||||||||||||||||||||||||||||||||||||||||||||||||||||||||||||||||||||||||||||||||||||||||||||||||||||||||||||||||||||||||||||||||||||||||||||||||||||||||||||||||||||||||||||||||||||||||||||||||||||||||||||||||||||||||||||||||||||||||||||||||||||||||||||||||||||||||||||||||||||||||||||||||||||||||||||||||||||||||||||||||||||||||||||||||||||||||||||||||||||||||||||||||||||||||||||||||||||||||||||||||||||||||||||||||||||||||||||||||||||||||||||||||||||||||||||||||||||||||||||||||||||||||||||||||||||||||||||||||||||||||||||||||||||||||||||||||||||||||||||||||||||||||||||||||||||||||||||||||||||||||||||||||||||||||||||||||||||||||||||||||||||||||||||||||||||||||||||||||||||||||||||||||||||||||
|
Наименование материала, марка, фирма |
Наименование показателей |
|||
|
Поверхностная плотность, г/м2 |
Толщина, мм |
Разрывная нагрузка, кгс, вдоль/поперек |
Относительное удлинение, %, вдоль/поперек |
|
|
Дорнит СП «Веротекс» ТУ 1867882-90 |
250-600 |
3-6 |
55/80-50/26 |
110/90...70/13 |
|
Геотекс Сургутский ГПЗ ТУ 2282-535-00203521-97 |
450-550 |
4-5 |
74/64-90/60 |
80/100 |
|
Дорнит Московский НПЗ ТУ 8397-038-35766623-97 |
450±50 |
4±0,8 |
39/59 |
120 |
|
Тураr®, фирма Du Pont (США) |
110-190 |
0,41-0,52 |
40/40-80/80 |
60/60...65/65 |
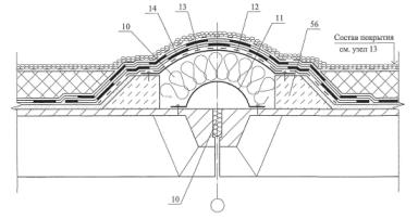
7.1 Дополнительная теплоизоляция устраивается по существующей рулонной кровле, отремонтированной в соответствии с рекомендациями «Кровли. Руководство по проектированию, устройству, правилам приемки и методам оценки качества» ОАО «ЦНИИПромзданий» 2002 г, при этом особое внимание обращается на состояние примыкания кровли к деформационным швам, парапетам, вентшахтам, трубам. В зоне воронок внутреннего водостока полностью удаляются старая теплоизоляция и кровля. Воронки поднимаются на новый уровень; кровля в зоне примыкания к воронке должна быть понижена относительно прилегающих участков на 15-20 мм.
7.2 Над существующими в старой кровле разжелобками плиты пенополистирола по разметке прорезают дисковой пилой, обеспечивая их плотное прилегание к основанию.
7.3 Необходимая толщина слоя теплоизоляции из плит пенополистирола при λ=0,031 Вт/м°С для разных видов помещений и всех областных и республиканских центров страны приведена в табл. 2а.
8.1 Дополнительная теплоизоляция устраивается по существующей рулонной кровле (см. п. 7.1).
8.2 Укладывают дополнительный теплоизоляционный слой из стандартных плит, указанных в п. 2.4 с фильтрующим слоем и нагрузкой гравием (см. п. 6.5 и далее).
Над существующими в старой кровле разжелобками (конек, ендова) плиты теплоизоляции по разметке прорезают дисковой пилой, обеспечивая их плотное прилегание к основанию.
8.3 Необходимая толщина слоя теплоизоляции приведена в табл. 2а.
9.1 Конструкции полов холодильников представлены:
- на междуэтажных перекрытиях многоэтажных холодильников;
- на обогреваемых грунтах;
- над вентилируемыми подпольями.
9.2 Сборный железобетонный каркас многоэтажных холодильников принят по серии 1.420.1-14 для сетки колонн 6´6 м.
9.3 Несущие конструкции перекрытий над проветриваемыми подпольями приняты по серии 1.44-ЗМ/92 «Конструкции железобетонные над холодными вентилируемыми подпольями».
Требуемое сопротивление паропроницанию полов принимается по главе СНиП 2.11.02-87 «Холодильники»: для перекрытий над подпольем - по табл. 9, междуэтажных перекрытий - по табл. 10 и для полов на грунте - по табл. 11.
Пароизоляция выполняется оклеечной - из битумно-полимерных рулонных материалов или из полимерной пленки, и располагается, как правило, между плитой перекрытия или подготовкой под полы и теплоизоляционным слоем.
10.1 Теплоизоляционный слой должен предусматриваться в подвалах на грунте в помещениях с нормируемым теплоусвоением.
10.2 Полы на грунте в помещениях с нормируемой температурой внутреннего воздуха, расположенные выше отмостки здания или ниже ее не более чем на 0,5 м, должны быть утеплены в зоне примыкания пола к наружным стенам или стенам, отделяющим отапливаемые помещения от не отапливаемых, шириной 0,8 м путем укладки по грунту слоя неорганического влагостойкого утеплителя толщиной, определяемой из условия обеспечения термического сопротивления этого слоя утеплителя не менее термического сопротивления наружной стены.
10.3 Требуемая толщина теплоизоляционного слоя должна устанавливаться расчетом в соответствии с указаниями СНиП 23-02-2003.
11.1 К производству работ допускаются рабочие, прошедшие медицинский осмотр, обучение правилам техники безопасности, методам ведения этих работ и мерам пожарной безопасности. О проведении инструктажа должно быть отмечено в специальном журнале под расписку. Журнал должен храниться у ответственного за проведение работ на объекте или в строительной организации.
11.2 При устройстве теплоизоляции из экструзионных пенополистирольных плит не допускается проведение сварочных и других работ с использованием оборудования с открытым пламенем и искрообразованием.
11.3 По окончании работ не допускается оставлять неиспользованный гидрофобизированный материал и пенополистирольные плиты на покрытии.
11.4 При производстве работ по устройству изоляционных работ необходимо предусматривать средства пожаротушения - углекислотные огнетушители и песок.
11.5 Не допускается длительное нахождение изоляционных материалов при температуре 70°С и выше.
|
№ поз. |
Наименование |
№ поз. |
Наименование |
|
1 |
Несущая часть стены |
8 |
Стена подвала из бетонных блоков |
|
2 |
Слой эффективной теплоизоляции |
9 |
Пол подвала |
|
3 |
Отделочный штукатурный слой из цементно-известкового раствора по металлической сетке |
10 |
Перекрытие над подвалом |
|
4 |
Облицовка плиткой цоколя |
11 |
Теплоизоляция стен подвала из экструзионного пенополистирола URSA FOAM |
|
5 |
Отмостка |
12 |
Лента «Герлен» |
|
6 |
Горизонтальная гидроизоляция из цементного раствора М 100 |
13 |
Точечная приклейка плит URSA FOAM битумом с t£120°С |
|
7 |
Обмазочная или оклеечная гидроизоляция битуминозными материалами |
14 |
Штукатурка цементно-песчаным раствором по стеклосетке и металлической сетке |
![]()
Теплоизоляция стены подвала плитами из экструзионного пенополистирола с наружной стороны

![]()
Теплоизоляция стены подвала плитами из экструзионного пенополистирола со стороны помещения

ЭКСПЛИКАЦИЯ
|
№ поз. |
Наименование |
№ поз. |
Наименование |
|
1 |
Железобетонная плита покрытия |
40 |
Водоприемная воронка |
|
2 |
Выравнивающая затирка цементно-песчаным раствором марки 50 толщиной 5-15 мм - грунтовка раствором битума в керосине (1:3); - пароизоляция (по
расчету) - слой стеклорубероида «Бикрост» - 3 мм, |
41 |
Защитная решетка |
|
3 |
Точечная приклейка теплоизоляции битумом с t£120 °С |
42 |
Гравийная засыпка |
|
4 |
Теплоизоляция - пенополистирольные плиты URSA FOAM |
43 |
Пригрузочный слой из гравия γ = 1800 кг/м3, ГОСТ 8268-82 (из расчета 50 кг/м2) |
|
5 |
Стяжка из цементно-песчаного раствора марки 50-20 мм |
44 |
Предохранительный (фильтрующий) слой - холст из синтетических волокон, ТУ 6-19-290-83 |
|
6 |
Кровельный ковер |
45 |
Кровельный ковер - два слоя наплавляемого рулонного материала из филизола или один слой полимерной пленки «Кровлен», наклеенной на мастике |
|
7 |
Уплотняющие прокладки - ПРП-40 К (2 шт), ГОСТ 19177-81, перевить; или типа «Вилатерм-СМ» |
46 |
Слой кровельного материала |
|
8 |
Заделка стыка цементно-песчаным раствором |
47 |
Водоприемный стояк |
|
9 |
Дополнительные слои кровельного ковра |
48 |
Прижимной фланец, устанавливаемый на мастику толщиной 5 мм |
|
10 |
Минеральная вата |
49 |
Легкий бетон выравнивающего слоя ендовы |
|
11 |
Компенсатор из оцинкованной стали толщиной 0,8 мм |
50 |
Пробка деревянная антисептированная 65´120´120 через 510 |
|
11 |
Выкружка из оцинкованной стали толщиной 0,8 мм |
51 |
Рейка деревянная антисептированная сеч. 25´60 |
|
13 |
Стеклоткань |
52 |
Патрубок |
|
14 |
Рулонный битумно-полимерный материал, уложенный насухо |
53 |
Стальная полоса сеч. 4´40 |
|
15 |
Негорючая теплоизоляция, например, пенобетон γ=500 кг/м3, толщина по теплотехническому расчету |
54 |
Гвозди КЗ´70, ГОСТ 4028-63 |
|
16 |
Деревянный антисептированный брусок 40´40´h - 4 шт. |
55 |
Рамка из стального уголка |
|
17 |
Уплотнитель - ПРП по ГОСТ 19177-81 |
56 |
Легкий бетон |
|
18 |
Зажимной хомут |
57 |
Пароизоляция |
|
19 |
Опора из легкого бетона |
58 |
Плиты тротуарные, ГОСТ 17608-91 |
|
20 |
Фундамент под вентилятор |
59 |
Костыль из стальной полосы 4´40 |
|
21 |
Гвоздь с шайбой |
60 |
Слив из оцинкованной кровельной стали |
|
22 |
Цементно-песчаный раствор марки 50 |
61 |
Слой песка с размерами частиц до 4-х мм |
|
23 |
Защитный фартук из кровельной стали |
62 |
Опоры из атмосферостойкой резиновой пластины по ГОСТ 7338-90*, 1 класса, вида Ф, с присоединенными к ней вулканизацией ребрами из той же резины |
|
24 |
Герметизирующая мастика |
63 |
Слой щебня (гравия) фракцией 10-20 мм |
|
25 |
Кожух вентилятора |
64 |
Уклонообразующий слой из легкого бетона класса В 7,5 с затиркой раствором или стяжка из цементно-песчаного раствора марки 100 |
|
26 |
Колпак водоприемной воронки |
65 |
Камень брусчатый по ГОСТ 23668-79 |
|
27 |
Пропускаемая труба |
66 |
Огрунтовка поверхности под кровлю |
|
28 |
Зонт из оцинкованной стали |
67 |
Бортовой камень |
|
29 |
Патрубок с фланцем |
68 |
Наклонный бортик из цементно-песчаного раствора |
|
30 |
Грунтовочный слой |
69 |
Слой кровельного материала (усиление ковра) |
|
31 |
Разделительный слой из кровельного битумно-полимерного материала |
70 |
Стенка деформационного шва |
|
32 |
Противокорневой слой |
71 |
Крепежный элемент |
|
33 |
Дренажный слой из гравия |
72 |
Существующее покрытие |
|
34 |
Фильтрующий слой |
73 |
Восстановленный кровельный ковер |
|
35 |
Растительный слой |
74 |
Новый водоизоляционный ковер |
|
36 |
Тротуар из цементно-песчаного раствора или бетонных плиток, асфальтобетона |
75 |
Сплошная приклейка плит теплоизоляции 1,5 м с каждой стороны ската |
|
37 |
Стальной стакан с фланцем |
76 |
Полоса кровельного материала |
|
38 |
Парапетная плита |
77 |
Водоприемный патрубок с фланцем |
|
39 |
Ограждение кровли |
|
|





![]()
Примыкание к воронке и парапету

![]()
Примыкание к фундаменту под вентилятор

![]()
Пропуск трубы через покрытие


![]()
Конструкция традиционной эксплуатируемой кровли

![]()
Пропуск трубы через традиционную эксплуатируемую кровлю

Парапет стены при традиционной эксплуатируемой кровле

Воронка внутреннего водостока при традиционной эксплуатируемой кровле

Деформационный шов при традиционной эксплуатируемой кровле
![]()




Примыкание к парапету и воронке
![]()

Противопожарный пояс
![]()

Примыкание кровли к трубе
![]()

Примыкание кровли к фундаменту под вентилятор
![]()

Примыкание к парапету
![]()

Деформационный шов
![]()


Эксплуатируемая кровля с устройством тротуара
![]()
Вариант 1

Вариант 2

Эксплуатируемая кровля с устройством газона
![]()

Эксплуатируемая кровля с устройством автостоянки
![]()

Воронка внутреннего водостока при инверсионной эксплуатируемой кровле
![]()

Парапет стены при инверсионной эксплуатируемой кровле


Деформационный шов при инверсионной эксплуатируемой кровле
![]()

Повышение теплозащиты покрытия с традиционной кровлей

Повышение теплозащиты покрытия с инверсионной кровлей

Повышение теплозащиты в коньке

Повышение теплозащиты в ендове

ЭКСПЛИКАЦИЯ
|
№ поз. |
Наименование |
№ поз. |
Наименование |
|
1 |
Монолитное бетонное покрытие класса В22,5 - 40 мм |
15 |
Железобетонная наружная стеновая панель с теплоизоляцией |
|
2 |
Армобетонная стяжка - 80 мм |
16 |
Монолитное бетонное покрытие класса В22,5 - 40 мм |
|
3 |
Слой пергамина насухо с промазкой швов битумной мастикой |
17 |
Фольгоизол по битумной грунтовке - 5 мм |
|
4 |
Теплоизоляция - пенополистирольные плиты URSA FOAM |
18 |
Стяжка из цементно-песчаного раствора марки 100-20 мм |
|
5 |
Оклеенная пароизоляция |
19 |
Уплотненный песок влажностью 10% - 200 мм |
|
7 |
Железобетонная плита перекрытия подполья |
20 |
Бетонная подготовка класса В20 с электронагревателями |
|
8 |
Ригель перекрытия |
21 |
Гидроизоляция оклеенная (по расчету) |
|
9 |
Сборные железобетонные плиты 500´500´40 мм |
22 |
Стяжка из бетона В10 с выравниванием поверхности под гидроизоляцию - 50 мм |
|
10 |
Прослойка из цементно-песчаного раствора марки 300-15 мм |
23 |
Подсыпка местным грунтом с уплотнением |
|
11 |
Стяжка из бетона класса В15, армированная сеткой 60-3,0-0 по ГОСТ 5336-80 - 80 мм |
24 |
Грунт основания |
|
12 |
Железобетонная плита безбалочного перекрытия - 160 мм |
25 |
Наружная стена холодильника |
|
13 |
Цементно-песчаный раствор марки 200 по металлической сетке 35-2,0-0 по ГОСТ 5336-80 |
26 |
Теплоизоляция стены из пенополистирольных плит URSA FOAM |
|
14 |
Противопожарный пояс из пенобетона g=500 кг/м |
|
|
![]()
Пол на перекрытии над проветриваемым подпольем

![]()
Пол на междуэтажном перекрытии


ЭКСПЛИКАЦИЯ
|
№ поз. |
Наименование |
№ поз. |
Наименование |
|
1 |
Покрытие из паркета |
6 |
Покрытие пола из линолеума |
|
2 |
Клеевой состав |
7 |
Бетонный подстилающий слой |
|
3 |
Грунт основания |
8 |
Гидроизоляция |
|
4 |
Стяжка из цементно-песчаного раствора марки 100-30 мм |
9 |
Покрытие из керамической плитки |
|
5 |
Теплоизоляция - из плит экструзионного пенополистирола URSA FOAM |
10 |
Шов из цементно-песчаного раствора |



Тип здания - жилой дом с нижней разводкой систем отопления и горячего водоснабжения;
Место строительства - Москва;
Конструкция стены - кирпичная с толщиной несущей части 640 мм, утепленная плитным экструзиным пенополистиролом с λА=0,031 Вт/(м·°С) и защитным слоем из цементно-известковой штукатурки толщиной 30 мм.
1. Определяем значение градусо-суток отопительного периода:
ГСОП=(tв-toт.п.)·Zот.п.=(20+3,1) 214=4943
2. По СНиП 23-02-2003 г. находим значение приведенного сопротивления теплопередачи:
(м2·ºC)/Вт
3. Требуемая толщина теплоизоляции стены подвала, расположенной выше уровня земли:
![]()
Принимаем толщину теплоизоляции равной 70 мм;
4. Вычисляем толщину теплоизоляции стены подвала, расположенной ниже уровня земли:
![]()
Принимаем толщину теплоизоляции равной 40 мм;
При размещении теплоизоляционного слоя с внутренней стороны стены определяют расположение зоны конденсации графическим способом.
1. Определяем сопротивление паропроницания слоев стены:
![]()
![]()
![]()
![]()
2. Вычерчиваем стену в масштабе сопротивлений паропроницаемости (рис. 1)

Зона конденсации
влаги в стене подвала, утепленной со стороны помещения
1 - стена подвала; 2 - теплоизоляция; 3 - облицовка; 4 - зона конденсации
3. Температуры на границах слоев стены определяются по формуле:
![]()
![]()
![]()
![]()
![]()
4. Данным температурам соответствуют следующие значения упругости водяного пара:
Ев=1865 Па; Е1=1807 Па; Е2=517 Па; Ен=157 Па.
5. Значения действительной упругости водяного пара при относительной влажности воздуха в помещении φ=60% и наружного воздуха φ=80% составляет:
ев=2064·0,6=1238 Па;
ен=45·0,8=36 Па.
6. Количество водяного пара, поступающего к зоне конденсации:
![]()
7. Количество водяного пара, уходящего от левой зоны конденсации:
![]()
8. Количество водяного пара, конденсирующего в стене:
Р=Р1-Р2=445-87=358 мг/(м2·ч·Па)
9. В течение месяца в стене сконденсируется влаги:
![]()
10. Определим скорость удаления влаги в летнее время при следующих исходных параметрах воздуха:
tн=16°С; φн=75; ен=2,064·0,75=1548 Па.
11. Температура в плоскости прилегания пенополистирольной плиты к кирпичной стене:
![]()
![]()
12. Этой температуре соответствует максимальная упругость водяного пара Ез.к.=1829 Па;
13. Другая поверхность зоны конденсации отстоит от внутренней поверхности кирпичной стены на расстоянии:
δ=0,6·0,11=0,07 м;
где 0,11 мг/(м2·ч·Па) - коэффициент паропроницаемости кирпичной кладки.
14. Термическое сопротивление зоны конденсации:
![]()
15. Температура этой поверхности τх составит:
![]()
16. Этой температуре соответствует максимальная упругость водяного пара Ез.к=1937 Па;
17. Так как Ез.к=1937 Па>ев=1238 Па, то высыхание будет происходить в обоих направлениях;
18. Количество влаги, удаляемой в сторону помещения:
![]()
19. Количество влаги, удаляемой по направлению к наружной стороне стены:
![]()
20. Тогда: Рвыс=Р1+Р2=0,431+0,075=0,51 г/(м2·ч·Па)
21. Количество влаги, удаляемой из стены в течение месяца:
![]()
что больше, чем Rw=0,26 кг/м2 откуда следует, что сконденсирующаяся влага будет удаляться за летний период.
Исходные данные:
tв=18°C φв=82%.
1. Фактическое сопротивление теплопередаче покрытия Rо (м2·°С)/Вт, равно:


Конструкция покрытия с дополнительным слоем теплоизоляции:
1 - гравий на мастике; 2 - 4-слоя рубероида на битумной мастике; 3 - стяжка из цементно-песчаного раствора; 4 - экструзионный пенополистирол, γ=30 кг/м2; 5 - 4 слоя рубероида на мастике (существующая кровля); 6 - стяжка из цементно-песчаного раствора; 7 - теплоизоляция из пенобетона, γ=600 кг/м2; 8 - пароизоляция из слоя рубероида на битумной мастике; 9 - железобетонная плита γ=2500 кг/м2
2. По СНиП 23-01-99 выписываем в таблицу значения среднемесячных температур и давления водяных паров наружного воздуха
|
Месяц |
1 |
2 |
3 |
4 |
5 |
6 |
7 |
8 |
9 |
10 |
11 |
12 |
|
tв,°C |
-10,9 |
-9,5 |
-4,6 |
6,0 |
14,1 |
18,1 |
19,8 |
18,6 |
12,5 |
5,2 |
-1,4 |
-7,3 |
|
ев,Па |
2,4 |
2,5 |
4,1 |
9,3 |
16,0 |
20 |
23,0 |
21,0 |
14,5 |
8,8 |
5,4 |
3,3 |
Zo.n.=140 cyт.
3. Значения Rп.н. и Rп.в., как сумма Rп:
![]()
![]()
(μ=0.0125 мг/(м·ч·Па) – для экструзионного ППС)
4. Вычисляем сопротивление теплопередаче слоев покрытия от внутренней поверхности до плоскости возможной конденсации:
![]()
5. Продолжительность сезонов и среднемесячные температуры наружного воздуха по СНиП 23-01-99.
Зима (январь, февраль, декабрь): Z1=3 мес.
tн1=(-10,9-9,5-7,3):3=-9,5°С
Весна- осень (март, апрель, октябрь, ноябрь): Z2=4 мес.
tн2=(-4,6+6,0+5,2-1,4):4=5,2°С
Лето (май, июнь, июль, август, сентябрь): Z3=5 мес.
tн3=(14,1+18,1+19,8+18,6+12,5):5=16,6°С
6. Соответственно значение температур τ:
![]()
![]()
![]()
![]()
7. Среднемесячным τ соответствует:
Е1=296 Па; Е2=916 Па; Е3=1901 Па
8. Средние значения:
![]()
ев=1063·0,6=1238 Па; при φв=60%;
![]()
![]()
ев=1091·0,82=894 Па.
9. Определяем:
![]()
т.е. по этому условию дополнительной пароизоляции не требуется.
10. Проверяем возможность влагонакопления за период с отрицательными среднемесячными температурами, для чего определяем упругость водяного пара наружного воздуха за период Zо.п..
![]()
Средняя температура наружного воздуха за тот же период:
tн.о.=(-10,9-9,5-4,6-1,4-7,3):5=-6,9 °С
![]()
этой температуре соответствуют Ео=319 Па;
γут=100 кг/м3; δут=0,06 м; ΔWcp=25%.
Вычисляем:
![]()
т.е. по этому условию дополнительной пароизоляции не требуется.
|