|
|
Все документы, представленные в каталоге, не являются их официальным изданием и предназначены исключительно для ознакомительных целей. Электронные копии этих документов могут распространяться без всяких ограничений. Вы можете размещать информацию с этого сайта на любом другом сайте.
ЛЕНИНГРАДСКИЙ НАУЧНО-ИССЛЕДОВАТЕЛЬСКИЙ ИНСТИТУТ ОРДЕНА ТРУДОВОГО КРАСНОГО ЗНАМЕНИ АКАДЕМИИ КОММУНАЛЬНОГО ХОЗЯЙСТВА ИМ. К. Д. ПАМФИЛОВА МИНИСТЕРСТВА ЖИЛИЩНО-КОММУНАЛЬНОГО ХОЗЯЙСТВА РСФСР
РЕКОМЕНДАЦИИ
Утверждены
Москва Стройиздат 1987 СОДЕРЖАНИЕДля инженерно технических работников строительных организаций. ВВЕДЕНИЕОдним из эффективных направлений научно-технического прогресса в ремонтно-строительном производстве является внедрение облегченных каркасных перегородок поэлементной сборки, т.е. возведение конструкций на объекте из отдельных индустриальных элементов. Каркас конструкции выполняется из металлических или асбестоцементных профилей, а также из дерева. Средний слой - из звукоизоляционного материала. Отделка поверхностей производится гипсокартонными листами, представляющими собой улучшенный вариант сухой гипсовой штукатурки - повышенной прочности и трещиностойкости. После обработки стыков получается ровная поверхность, пригодная для окраски, наклейки обоев или облицовки плитками. Основные преимущества каркасных перегородок по сравнению с традиционными заключаются в снижении веса конструкции в 2-3 раза и в отсутствии "мокрых" процессов при устройстве перегородок на объекте. Отпадает необходимость использования для монтажа кранового оборудования. Конструкции ремонтнопригодны; легко демонтируются и устраиваются в новом месте; материалы от разборки используются повторно. В настоящее время стоимость каркасных перегородок несколько выше стоимости традиционных, что объясняется более высокой стоимостью материалов и отсутствием массового их выпуска. В настоящих Рекомендациях рассматриваются особенности конструкции перегородок по металлическому и деревянному каркасу, особенности монтажа, отделки, транспортирования, техники безопасности. Приводятся рекомендуемые нормокомплекты оборудования, инструментов и инвентаря, технологические карты. В тексте технологических карт не приводятся требования техники безопасности и перечни инструментов и механизмов, которые изложены в соответствующих разделах. ЛенНИИ АКХ (канд. техн. наук А.И. Костриц, инженеры: Л.С. Глейбман, Е.Е. Конолицина, В.Л. Пугачева); УНИИ АКХ (В.В. Домнин, Т.Ф. Трусова); ПКБ АКХ (Л.А. Когель , О.С. Овчарова). Использованы материалы Гипрокоммунстроя Минжилкомхоза РСФСР. 1. ОБЩИЕ ПОЛОЖЕНИЯ1.1. Настоящие Рекомендации распространяются на облегченные конструкции перегородок, состоящие из металлического или деревянного каркаса и гипсокартонных листов с последующей послемонтажной отделкой. 1.2. Конструкции предназначены для устройства при ремонте и модернизации зданий межквартирных, межкомнатных перегородок, а также перегородок санитарно-технических узлов при высоте помещений до 4,2 м. Перегородки данного типа могут быть различной конфигурации в плане и практически любой ширины. Решение конструкции для различных размеров по ширине достигается за счет изменения шага установки стоек каркаса и прирезки по месту гипсокартонных листов в зоне примыкания сбоку к стенам и снизу к полу. 1.3. Применение конструкции допускается при ремонте жилых зданий, расположенных в районах с сейсмичностью не более 6 баллов, а также при относительной влажности воздуха в помещениях не более 60%. До монтажа перегородок должны быть выполнены все работы по устройству чистых полов и остеклений оконных проемов, а также по удалению построечного мусора. 1.4. Настоящие Рекомендации могут быть использованы при проектировании и производстве работ по устройству перегородок, приемке работ и при ремонте данных конструкций в процессе эксплуатации жилых зданий. 2. НОРМАТИВНЫЕ ТРЕБОВАНИЯ2.1. Звукоизолирующая способность перегородок нормируется в соответствии с их назначением (межквартирные, межкомнатные, перегородки санузлов). При проектировании перегородок достижение нормативных значений обеспечивается толщиной перегородки, количеством слоев обшивки из гипсокартонных листов, применением звукопоглощающего материала необходимой толщины, герметичностью заделки сопряжений между листами, к потолку, полу, стенам и монтажных отверстий. 2.2. Толщина конструкций перегородок определяется по результатам расчета звукоизолирующей способности. При этом индекс изоляции воздушного шума должен быть: - для межквартирных перегородок - не менее 50 дБ; - для межкомнатных перегородок (без дверей), для перегородок между кухней и комнатой в квартире - не менее 41 дБ; - для перегородок санитарного узла, граничащего с жилой комнатой - не менее 45 дБ. Расчетные значения звукоизолирующей способности рекомендуемых типов конструкций межквартирных и межкомнатных перегородок приведены в табл. 3, гр. 5. 2.3. Конструктивное решение соединения перегородок с элементами перекрытий (потолка и пола) и со стенами должно обеспечивать эксплуатационную надежность в случае примыкания к неровным поверхностям и компенсировать возможные деформации (прогибы, осадки и т.п.) без снижения эксплуатационных качеств. Соблюдение этого требования обеспечивается тем, что каркасные перегородки при их устройстве не должны доходить до плоскостей потолка и стен на 1,5-2,0 см. Этот зазор должен быть плотно заделан герметикой. 2.4. К перегородкам санитарно-технических узлов предъявляются следующие дополнительные требования: воздухонепроницаемость перегородок без дверных проемов, стыков и узлов примыканий, обеспечивающая непроникновение через них запахов в соседние помещения; водостойкость поверхностей, подвергаемых непосредственному воздействию воды в процессе эксплуатации, достигаемая за счет применения водостойких покрытий; конструктивная надежность узлов и стыков, исключающая затекание воды внутрь конструкции перегородки. 2.5. Перегородки должны выдержать без разрушения наружных слоев, внутреннего заполнения и элементов каркаса следующие виды нагрузок (табл. 1): кратковременные статические от санитарно-технического оборудования - при этом прогибы перегородок из их плоскости при нагрузке 500 Н/м (50 кгс/м) не должны превосходить 1/200 высоты конструкции; динамические - при этом прогибы перегородок из их плоскости в момент удара с усилием 120 Н (12 кг) не должны превосходить 1/125 высоты конструкции. Таблица 1
Таблица 2
2.6. Прогиб перегородки, вызванный различием температурно-влажностных условий в соседних помещениях квартиры (разница относительной влажности воздуха 30% при температуре 20-25ºС с одной стороны перегородки и 15-20°С с другой), не должен превышать 1/500l в любом направлении (l - длина, на которой измеряется прогиб). 2.7- Гипсокартонные листы, изготовленные из строительного гипса, армированного стекловолокном, и картона, соединенного с гипсовым сердечником, применяемые для обшивки каркаса, должны быть правильной формы и соответствовать требованиям ГОСТ 6266-81 с изм. и ТУ 400-1-158-78. Отклонения размеров листа не должны превышать по длине ±8 мм, по ширине ±42 мм, по толщине ±0,5 мм, разность диагоналей ±3 мм, серповидность кромки до 1 мм на метр, но не более 3 мм на всю длину. Листы должны быть без искривлений и с обжатыми с лицевой стороны продольными кромками, без признаков повреждения ребер и надрыва картона, без загрязнений и масляных пятен. Листы с лицевой стороны к кромке должны уменьшаться по толщине на 3 мм и ширине - на 65 мм. Требования к внешнему виду гипсокартонных листов приведены в табл. 2. 2.8. Прочность гипсовых картонных листов, определяемая методом испытания по ГОСТ 6266-81 с изм., должна быть по разрушающей нагрузке не менее 350 Н (35 кв.). Плотность гипсового сердечника при влажности 1% должна быть не более 853 кг/м. Влажность листов, получаемых с завода-изготовителя, не должна превышать 1% по весу. Прочность гипсокартонных листов должна позволять устанавливать самосверлящие-самонарезающие винты на расстоянии 10 мм от края без образования трещин, выколов и т.п. дефектов. 3. КОНСТРУКЦИИ ПЕРЕГОРОДОК3.1. Конструкции перегородок состоят из элементов каркаса (стоек и направляющих), звукоизоляционного материала (минераловатные плиты) и элементов обшивки (гипсокартонные листы с обеих сторон). Они рекомендуются для применения при ремонте жилых зданий с высотой этажа от 2,7 до 4,2 м для межквартирных, межкомнатных перегородок и перегородок санитарно-технических узлов (табл. 3). 3.2. В зависимости от материала, из которого изготовляются элементы каркаса, различают перегородки по металлическому или деревянному каркасу. Профиль из тонколистового холоднопрокатного металла имеет характеристики, приведенные в табл. 4. Сечения брусков деревянного каркаса составляют 40×50, 40×80 мм - для межкомнатных перегородок и перегородок санузлов и 40×50 и 40×94 мм - для межквартирных. Расстояние между стойками составляет 400 мм - для металлического каркаса и 300 мм - для деревянного каркаса. Во избежание действия усилий на стойку перегородок при прогибе верхнего перекрытия следует между верхней направляющей и потолком укладывать упругие прокладки толщиной не менее 5 мм. 3.3. В качестве обшивного материала рекомендуются гипсокартонные листы. Обшивка каркаса производится с обеих сторон по одному листу - для межкомнатных перегородок и перегородок санузлов, по два листа - для межквартирных перегородок санузлов, по два листа - для межквартирных перегородок. В качестве звукоизоляционного материала следует использовать полужесткие и жесткие минераловатные плиты на синтетическом связующем (ГОСТ 9573-82). Размеры плит 600×500 или 300×500 мм толщиной 50 мм. Для перегородок санузлов в качестве обшивки могут применяться листы из асбоцемента, стеклопластика, водостойкой фанеры толщиной не менее 8 мм; древесностружечные прессованные плиты толщиной не менее 200 мм. Крепление листов производится к стойке каркаса через 300 мм. 3.4. Межквартирные перегородки по металлическому каркасу для обеспечения нормативных требований звукоизоляции и пожаростойкости облицовываются с каждой стороны двумя рядами гипсокартонных листов, стыки которых выполняются вразбежку. 3.5. Узлы сопряжения каркаса перегородок с ограждающими конструкциями выполняются креплением направляющих и крайних стоек через прокладку из полосовой губчатой резины с помощью дюбелей, самосверлящих-самонарезающих винтов, гвоздей в зависимости от материала перекрытий, стен и существующих перегородок. 3.6. Установка гипсокартонных листов производится с зазором в пределах 10 мм от верхнего перекрытия. Зазор между гипсокартонными и ограждающими конструкциями заполняется герметиком или зачеканивается мастикой, покрывается шпаклевкой и проклеивается перфорированной бумагой или технической марлей. Примыкание гипсокартонных листов друг к другу осуществляется только на стойках каркаса. Листы к металлическим стойкам крепятся самосверлящими-самонарезающими винтами. Таблица 3
Таблица 4
Рис.
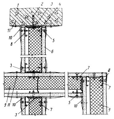
1. Крепление межкомнатной перегородки по металлическому каркасу к перекрытиям: Рис.
2. Крепление межкомнатных перегородок по металлическому каркасу к стенам и
между собой: Рис.
3. Крепление межкомнатной перегородки по деревянному каркасу к перекрытиям: Рис.
4. Крепление межкомнатных
перегородок по деревянному каркасу к стенам и между собой (в плане): Рис.
5. Крепление межквартирной перегородки по металлическому каркасу к перекрытиям: Рис.
6. Крепление перегородок санузлов к перекрытиям: Рис.
7. Деталь устройства перегородки в месте пропуска сантехнических труб через
конструкцию:
Рис. 8. Детали крепления к перегородкам с использованием: а) анкеров с распорной гайкой; б) кронштейнов; в) дюбелей АП; г) крючков К-1 3.7. Конструкции узлов примыкания межкомнатных и межквартирных каркасных перегородок к плоскости пола, потолка, стен показаны на рис. 1-5 Узел примыкания перегородок санузлов к полу для исключения подтекания воды к перегородкам рекомендуется располагать на 20 мм выше уровня пола санитарного узла (рис. 6). Пропуск санитарно-технических труб через перегородку осуществляется в нижней части, выполняемой из монолитного бетона, поверх которой устраивается перегородка (рис. 7). Для установки и навески санитарно-технического оборудования, тяжелых и легких домашних предметов на каркасных перегородках должны предусматриваться специальные крепления (рис. 8). 4. УСТРОЙСТВО ПЕРЕГОРОДОК НА ОБЪЕКТЕТРАНСПОРТИРОВАНИЕ И СКЛАДИРОВАНИЕ МАТЕРИАЛОВ4.1. При транспортировании и складировании следует строго выполнять требования главы СНиП III-4-80. 4.2. Гипсокартонные листы перевозят с завода-изготовителя на объект в водонепроницаемой заводской упаковке в контейнерах, не допускающих их механических повреждений. Контейнеры располагаются в автомашинах в вертикальном положении и при перевозке их укрывают брезентом. При отсутствии контейнеров укладка гипсокартонных листов на транспортные средства производится плашмя лицевыми поверхностями друг к другу без прокладок между ними. При механизированной разгрузке под нижние листы укладывают деревянные прокладки. По железной дороге элементы перегородок разрешается перевозить только в крытых вагонах. 4.3. Транспортирование элементов каркаса производится в пакетах, которые стягиваются металлическими лентами. Между элементами каркаса и металлическими лентами по периметру прокладывают деревянные бруски для предохранения от деформации при транспортировании. 4.4. Разгрузку контейнеров с транспортных средств следует выполнять автокраном, автопогрузчиком или башенным краном. Хранение гипсокартонных листов производится только в помещениях, защищенных от проникновения влаги, пыли и снега. Хранение на открытом воздухе не допускается. Гипсокартонные листы складываются в горизонтальном положении в штабеля высотой не более 1,5 м (ТУ 400-1-158-78) без прокладок между листами. При этом следует выполнять правило: листы попарно складывают лицевыми поверхностями друг к другу. 4.5. Минераловатные плиты доставляются на объект в решетчатой таре в крытых транспортных средствах или в виде блоков из 5-10 плит размером 600×500 или 300×500 мм, обернутых в оболочку (полиэтилен, крафт-бумага и т.п.). Масса блока не должна превышать 60 кг. Минераловатные. плиты должны храниться уложенными в штабеля высотой не более 1,5 м в условиях, не допускающих их увлажнения и повреждения. 4.6. При больших сосредоточенных объемах работ раскрой и комплектацию элементов перегородок (стоек и направляющих металлического каркаса, обвязки деревянного каркаса и гипсокартонных листов) следует производить централизованно в заготовительных мастерских или в специально выделенном помещении на объекте. Комплектация производится на каждый этаж захватки (на каждую квартиру) с соответствующей маркировкой. 4.7. Подача заготовок на этаж башенными «ранами и подъемниками производится через оконные проемы с использованием грузовых подъемных площадок. ПОЭЛЕМЕНТНАЯ СБОРКА4.8. До монтажа перегородок должны быть выполнены следующие работы: - общестроительные и специальные работы на всех этажах, включая устройство (ремонт) кровли; - санитарно-технические, включая установку ванны и унитаза в санузле (подводка к ним труб выполняется после установки перегородок), опробованы системы отопления и водоснабжения; - электрические (кроме скрытой проводки внутри перегородки или в плинтусе); - штукатурные работы, требующие "мокрых" процессов (выравнивание и затирка поверхностей стен, потолков, оштукатуривание участков стен за отопительными приборами и т.п.); - стекольные работы; - устройство черного пола по перекрытиям балочного типа и основания под паркет (в случае перекрытий из настилов); - доставка на объект и подача на этажи к месту сборки необходимых изделий, материалов, инструментов и приспособлений. 4.9. Перегородки монтируют методом поэлементной сборки в закрытых сухих помещениях при температуре воздуха не ниже +10°С при относительной его влажности не более 70%. 4.10. Технологическая последовательность работ по устройству перегородок приведена в прил. 1 (для варианта с металлическим каркасом) и в прил.2 (для варианта с деревянным каркасом). Принятая технология поэлементной сборки предусматривает выполнение работ в четыре этапа. Перечень операций по каждому этапу для обоих вариантов перегородок приведен в табл. 5 Таблица 5
4.11. Технологическая последовательность поэлементной сборки межквартирных перегородок с металлическим каркасом обусловлена их конструктивным отличием (два ряда нижних и верхних направляющих, два ряда стоек и в некоторых случаях два ряда гипсокартонных листов с каждой стороны), поэтому на I этапе рекомендуется размечать не ось перегородки, а оси каждой из двух направляющих. На IV этапе последовательно крепятся сначала весь первый ряд гипсокартонных листов, а затем второй (наружный) ряд, электропроводка может проходить через отверстия в стойках каркаса в два ряда для обслуживания помещений каждой из квартир. 4.12. Сборка перегородок санузлов аналогична описанной в п. 4.10. Различие заключается лишь в том, что до монтажа по периметру санитарно-технического узла на перекрытие по разметке укладывают на растворе подкладочные железобетонные бруски размером 120×60 мм, верхняя отметка которых на 20 мм выше отметки чистого пола. К этим брускам крепятся дюбелями нижние направляющие. В процессе сборки устанавливаются дверные блоки и фрамуги, а к стойкам крепятся устройства для навески санитарно-технического оборудования и электрических приборов. Следует соблюдать обязательное правило: все внутренние поверхности листов сухой гипсовой штукатурки со стороны каркаса необходимо проолифить в два слоя. ОТДЕЛКА ПОВЕРХНОСТЕЙ4.13. Поверхности перегородок, подготовленные под отделку, должны соответствовать следующим требованиям: - поверхность гипсокартонных листов должна быть ровной, гладкой, без загрязнений и масляных пятен, а их влажность не превышать 1% по весу; - различия по толщине между смежными листами не должны превышать 1 мм, а зазоры между ними - 2 мм - головки самосверлящих самонарезающих винтов, шурупов должны быть углублены в лист не менее чем на 0,5 мм - места сопряжений перегородок со стенами, полом, и потолком должны быть выполнены без отклонений от проектных решений. Таблица 6
4.14. Подготовка поверхностей перегородок под отделку (табл. 6), предусматривает обязательную заделку стыков и сопряжений с соблюдением положений, приведенных в п. 4.17. Поверхности межкомнатных и межквартирных перегородок окрашиваются или оклеиваются обоями. Для санитарно-технических узлов и кухонь могут быть рекомендованы следующие варианты отделки: - два слоя олифы и масляная окраска за два раза, - клеенка на тканевой основе на клее бустилат, - моющиеся обои на клее бустилат, - перхлорвиниловая плитка на клее бустилат, - пластмассовые или керамические плитки на клее бустилат. 4.15. Для отделки поверхностей рекомендуются следующие составы и материалы: - сухая гипсовая шпаклевка "сугик" (ТУ 400-2-164-73); - синтетическая шпаклевка "эмульсин" (ТУ-400-2-1б2-73); - гипсополимерцементный состав; - поливинилацетатная дисперсия (ГОСТ 18992-80); - гипсоцементнопуццолановое вяжущее (ОСТ 21-29-77); - клей малярный (ГОСТ 2067-80); - марля техническая (ГОСТ 11109-74 с изм.); - пленка поливинилхлоридная отделочная (ТУ 400-1-461-73); - пленка декоративная отделочная самоклеющаяся; - материал отделочный поливинилхлоридный пленочный на бумажной основе "Изоплен" (ТУ 400-1-51-66-74); - обои (ГОСТ 6810-81 с изм.); - материал поливинилхлоридный отделочный "Винистен" (ТУ 400-1/51-91-73); - перфорированная бумажная лента; - клей бустилат (ТУ 400-2-50-75); - поливинилхлоридные плитки (ТУ МХП 2024-49); - клеенка столовая с латексным покрытием (ТУ 17-1380-75); - клеенка столовая с наполненным поливинилхлоридным покрытием; - плитки керамические облицовочные, глазурованные, гладкие и рельефные (ГОСТ 6141-82). 4.16. До начала работ по заделке стыков в приобъектной мастерской или на объекте приготовляют шпаклевочные составы "сугик" и "эмульсин", а также гипсополимерцементный состав, используя для этих целей растворомешалки РП-40 или УМ-80. Перед приготовлением шпаклевки "сугик" в растворомешалку заливают заранее приготовленную огрунтовку (состав: поливинилацетатная эмульсия: вода=1 мас.ч.:6 мас.ч.), а затем при непрерывном перемешивании добавляют сухую смесь в соотношении 1:3 по объему. Перемешивание состава продолжают в течение 8-10 минут, после чего состав пригоден к употреблению. Гипсополимерцементный раствор состоит из следующих компонентов (в мас.ч,):
В растворомешалку заливают поливинилацетатную дисперсию и малярный клей, взятые в соотношении по рецептуре. В полученную массу при непрерывном перемешивании добавляют гипсоцементнопуццолановое вяжущее и воду до удобонаносимой консистенции. Продолжительность перемешивания составляет также 8-10 мин. Шпаклевка "эмульсин" состоит из следующих компонентов (мас.ч.):
В случае необходимости шпаклевку доводят до рабочей консистенции, вводя в нее поливинилацетатную огрунтовку. Вводить в шпаклевку воду, мыловар, олифу и другие растворители запрещается. 4.17. После того, как очищены от пыли и подтеков раствора поверхности перегородок, обрабатывают стыки между листами и места сопряжений с перекрытием и стенами шпаклевкой "сугик" или гипсополимерцементным раствором. Для этого фаску, образованную двумя смежными гипсовыми плитами, заполняют составом и разравнивают его металлическим шпателем с шириной рабочей части 18-20 см заподлицо с основной плоскостью гипсовых плит. Аналогичным способом заполняют ,и зазоры в местах сопряжений перегородок с перекрытием и стенами. Затем, через 20 мин после нанесения шпаклевки все стыки и сопряжения проклеиваются полосками технической марли шириной 6 см или перфорированной бумажной лентой. Для этого один конец марли прижимают к нанесенному слою шпаклевки и шпателем разравнивают ее по всей длине стыка, утапливая в свеженанесенный шпаклевочный слой. В местах сопряжения перегородки с перекрытием и стенами марлю перегибают вдоль и наклеивают одновременно на перегородку и панель перекрытия или стену. Наклейку и разравнивание марли в этих местах удобнее производить кистью, смоченной в поливинилацетатной огрунтовке. Таким же способом наклеивают марлю и на наружные углы гипсовых перегородок. При подготовке поверхностей под оклейку обоями рекомендуются шпаклевка "су-гик" или гипсополимерцементный состав, а при подготовке под окраску - синтетическая шпаклевка "эмульсин" или шпаклевка "сугик". Стальным шпателем с шириной рабочей части 18-20 см после полного схватывания нанесенного первого слоя, но не раньше чем через 8 часов, наносят шпаклевку или гипсополимерцементный состав тонким слоем до получения ровной поверхности, находящейся в одной плоскости с поверхностью двух смежных гипсокартонных листов. Шпаклевка раковин от головок самосверлящих самонарезающих винтов и шурупов производится одновременно со шпаклевкой стыков между гипсокартонными листами, заподлицо с поверхностью листов. Если винты не имеют заводского антикоррозийного покрытия, то перед шпаклевкой их головки обрабатываются кисточкой эмалью любого типа или масляной краской. После полного высыхания шпаклевочных составов места их нанесения шлифуют мягкой стеклянной шкуркой, закрепленной в держателе на удлиненной ручке. Затем производят окончательную отделку поверхностей перегородок. 5. ПРИЕМКА РАБОТ5.1. На всех этапах устройства перегородок производится пооперационный контроль (установка каркаса, скрытой электропроводки, приклейка минераловатных плит, облицовка гипсокартонными листами, подготовка поверхности к отделке, отделка поверхности) и составляются акты на скрытые работы. 5.2. При приемке поверхности каркасных перегородок под отделку следует руководствоваться требованиями табл. 7. Таблица 7
6. ТЕХНИКА БЕЗОПАСНОСТИ6.1. Работы по устройству каркасных перегородок следует производить в соответствии с требованиями главы СНиП III-4-80 "Техника безопасности в строительстве", "Правила техники безопасности при текущем и капитальном ремонте жилых и общественных зданий". М.: Стройиздат, 1972. 6.2. Все работы по устройству перегородок разрешается производить с использованием инструментов, инвентаря и приспособлений, гарантирующих безопасность производства работ и приведенных в прил. 3. 6.3. К работе с монтажно-поршневым пистолетом ПЦ-52-1 допускаются лица не моложе 20 лет, имеющие удостоверение оператора, прошедшие инструктаж и имеющие наряд-допуск на право производства работ с монтажно-поршневым пистолетом ПЦ-52-1. Рабочие должны быть обеспечены спецодеждой и средствами индивидуальной защиты (респираторами, защитными очками и др.). При креплении металлических направляющих дюбель-гвоздями к полу и потолку с помощью монтажно-поршневого пистолета ПЦ-52-1 возникает опасная зона в радиусе 10 мм от места пристрелки и 5 мм в глубину от поверхности забивки. Опасную зону следует оградить и обозначить хорошо видными предупреждающими надписями. Производство работ в помещениях, смежных с поверхностью, в которую производится забивка дюбелей, запрещается. Рабочий персонал из этих помещений должен быть удален, помещения закрыты и вывешена надпись: "Вход запрещен, работают с пистолетом". Оператору запрещается: - забивать дюбели в хрупкие и легкопробиваемые строительные конструкции, а также в крупнофракционные бетонные конструкции (крупность зерен инертных свыше 40 мм); - оставлять пистолет без присмотра; - направлять пистолет на людей; - использовать строительно-монтажный пистолет не по назначению; - производить выстрел без дюбеля; - работать во взрыво- и пожароопасных помещениях; - передавать пистолет другому лицу. 6.4. При работе с электроинструментом рабочий должен получить инструктаж о безопасных способах производства работ с электроинструментом. Напряжение электроинструмента должно быть не выше 220В в помещениях без повышенной опасности. (Это сухие помещения с относительной влажностью не более 15% и температурой воздуха плюс 5-25°С, с полами, обладающими большим электрическим сопротивлением без тонкопроводящей пыли.) В помещениях с повышенной опасностью напряжение электроинструмента должно быть не выше 36В. При монтаже сборных каркасных перегородок запрещается: - работать электроинструментом с приставных лестниц; - натягивать и перегибать провода переносного электроинструмента; - допускать пересечения электропроводов с тросами, электросварочными проводами, находящимися под напряжением, со шлангами для подачи кислорода, ацетилена и других газов; - передавать переносной электроинструмент другим лицам; - разбирать и производить самим ремонт электроинструмента; - оставлять без надзора электроинструмент, присоединенный к электросети. При прекращении подачи напряжения во время работы электроинструмент следует выключить и отключить от электросети. 6.5. Ежедневно по окончании работ все инструменты должны быть сданы лицу, ответственному за их исправность и хранение; спецодежду и индивидуальные средства защиты рабочий должен очистить от пыли и сдать на место хранения. 6.6. Работа с минераловатными плитами должна производиться изолировщиками при наличии спецодежды и очень аккуратно. Запрещается бросать плиты во избежание разрыва оболочки и пыления. Минеральные волокна, попадающие на кожу, необходимо осторожно удалить не втирая. Строго запрещается хранить и принимать пищу в помещениях, где работают с минераловатными плитами. Производство работ на высоте более 1,5 м от пола следует выполнять с монтажных столиков или с инвентарных сборно-разборных передвижных подмостей. Работать с приставных лестниц запрещается. 7. ЭКСПЛУАТАЦИЯ И РЕМОНТ КАРКАСНЫХ ПЕРЕГОРОДОК7.1. Сохранность перегородок определяется правильной эксплуатацией, своевременным выявлением дефектов в результате осмотров и их устранением после проведения ремонтных работ. 7.2. При осмотре перегородок особое внимание следует уделять креплению их к стенам, перекрытиям и между собой, а также сопряжению перегородок со смежными конструкциями, с отопительными панелями и трубопроводами, состоянию облицовки на кухне и в санузлах. 7.3. В процессе эксплуатации следует обращать внимание на возможные дефекты: зыбкость, выпучивание, трещины в гипсокартонных листах и местах сопряжений, увлажнения в местах расположения трубопроводов и приборов, снижение звукоизолирующей способности (табл. 8). Таблица 8
7.4. Всем квартиросъемщикам, проживающим в квартирах с перегородками данного типа, следует разъяснить основные правила эксплуатации, из которых важнейшими являются следующие: не допускать повреждений гипсокартонных листов; своевременно производить окраску или облицовку гипсокартонных листов; использовать специальные крепежные приспособления для навески легких бытовых предметов (рис. 8) . 7.5. Запрещается крепление тяжелых настенных предметов и санитарно-технического оборудования на каркасных перегородках, если для этого не было предусмотрено специального крепежного приспособления в стойках каркаса. ПРИЛОЖЕНИЕ
1
| ||||||||||||||||||||||||||||||||||||||||||||||||||||||||||||||||||||||||||||||||||||||||||||||||||||||||||||||||||||||||||||||||||||||||||||||||||||||||||||||||||||||||||||||||||||||||||||||||||||||||||||||||||||||||||||||||||||||||||||||||||||||||||||||||||||||||||||||||||||||||||||||||||||||||||||||||||||||||||||||||||||||||||||||||||||||||||||||||||||||||||||||||||||||||||||||||||||||||||||||||||||||||||||||||||||||||||||||||||||||||||||||||||||||||||||||||||||||||||||||||||||||||||||||||||||||||||||||||||||||||||||||||||||||||||||||||||||||||||||||||||||||||||||||||||||||||||||||||||||||||||||||||||||||||||||||||||||||||||||||||||||||||||||||||||||||||||||||||||||||||||||||||||||||||||||||||||||||||||||||||||||||||||||||||||||||||||||||||||||||||||||||||||||||||||||||||||||||||||||||||||||||||||||||||||||||||||||||||||||||||||||||||||||||||||||||||||||||||||||||||||||||||||||||||||||||||||||||||||||||||||||||||||||||||||||||||||||||||||||||||||||||||||||||||||||||||||||||||||||||
|
Дефект |
Норма дефекта |
|
Отклеивание картона по длине кромок |
Не допускается |
|
Отклеивание картона с торцов кромок |
" |
|
Надрывы картона с обнажением гипса длиной до 30 мм: |
|
|
на лицевой стороне |
" |
|
на тыльной стороне |
1 место |
|
Незаполненные гипсом края |
Не допускается |
|
Отбитость углов |
Не более одного на длине грани в 20 мм |
|
Повреждение продольных кромок: |
|
|
в панелях со скосом |
То же |
|
в панелях с прямыми кромками |
Не допускается |
|
Местные утолщения или утоньшения не более 1,5 мм: |
|
|
на лицевой стороне |
" |
|
на тыльной стороне |
Допускается не более 5% площади плиты |
Допускаемые дефекты поверхностей, отделанных листами СГШ
|
Дефект |
Норма дефекта при отделке |
||
|
простой |
улучшенной |
высококачественной |
|
|
Неровности поверхности (обнаруживаются при накладывании правила или шаблона длиной 2 м) |
Не более трех неровностей глубиной или выпуклостью до 5 мм |
Не более двух неровностей глубиной или выпуклостью до 3 мм |
Не более двух неровностей глубиной или выпуклостью до 2 мм |
|
Отклонения поверхности стен от вертикали |
15 мм на всю высоту помещения |
1 мм на 1 м высоты, но не более 10 мм на всю высоту помещения |
1 мм на 1 м высоты, но не более 5 мм на всю высоту помещения |
Перегородки гипсокартонных листов не должны иметь отклонений поверхностей, превышающих значения, приведенные в табл. 2.
Если дефекты и отклонения не превышают нормативных, перегородка сдается под отделочные работы.
8. Работы по устройству перегородок выполняет бригада в составе монтажников конструкций:
5 разр 1 чел.
4 разр 2 чел.
3 разр 2 чел.
Итого 5 чел.
Заделку стыков выполняет бригада маляров:
4 разр 1 чел.
3 разр 1 чел. см. табл. 3
Материально-технические ресурсы (см. табл. 4).
Расход строительных материалов
|
Наименование |
Единица измерения |
Количество |
|
Гипсокартонные листы |
М2 |
176 |
|
Металл |
кг |
225 |
|
Минераловатные плиты ГОСТ 9573-82, γ=125 кг/м3 |
м3 |
4,4 |
|
Крепежные элементы |
кг |
4,0 |
|
Дюбели ДГ |
" |
2,4 |
|
Шпаклевка (ТУ 400-1-3/53-74) СЛЩД |
" |
5,0 |
1. Технологическая карта разработана на устройство межкомнатных перегородок из гипсокартонных листов поэлементной сборки по деревянному каркасу общей площадью 100 м2 (рис. 1). Данная технологическая карта применяется при капитальном и выборочном ремонте зданий. При привязке карты к конкретным условиям ремонта уточняются объем работ, калькуляция трудовых затрат, график выполнения процесса и технико-экономические показатели.
2. Трудоемкость на 100 м2 перегородки 22,5 чел.-дней.
Выработка на одного рабочего в смену 4,4 м2 площади перегородки.
3. До начала устройства перегородок из гипсокартонных листов должны быть выполнены следующие работы:
- закончены все общестроительные и специальные работы, связанные с процессами увлажнения и загрязнения, а также опробованы системы водоснабжения и отопления;
- монтажные работы приняты по акту для производства столярно-плотничных и отделочных работ;
- завезены и разложены у мест сборки необходимые материалы;
- приготовлены все инструменты и приспособления;
- подготовлена поверхность перекрытия.
4. Подача гипсокартонных листов и деревянных брусков для каркаса непосредственно на этаж осуществляется подъемником ПГС-1000 до начала устройства перегородок.
Гипсокартонные листы складируются в рабочей зоне горизонтально без подкладок между ними, не более 100 шт. по высоте.
Антисептированные деревянные бруски каркаса сечением 40×50 и 80×40 мм подаются на этажи в пакетах, связанных вязальной проволокой.
5. Устройство перегородок производится в следующей последовательности:
а) в соответствии с проектом определяют точное местоположение перегородки, устанавливают на шаблоне (раздвижная рейка) нужный размер и откладывают от стены местоположение перегородки, отмечая краской риски на перекрытии. Затем шнуром по рискам наносят край перегородки и размечают места расположения дверных коробок:
б) заготовленные бруски нижней обвязки раскладывают по линиям разметки (направляющие) и пристреливают их к железобетонному перекрытию дюбель-гвоздями монтажно-поршневым пистолетом ПЦ-52-1, к деревянному перекрытию приколачивают гвоздями.
Перед установкой нижних направляющих на их поверхности, примыкающие к перекрытию, наклеивается клеем 88Н пористая резина. Шаг забивки дюбель-гвоздей - 500 мм;
в) перед установкой верхних направляющих на их поверхности, примыкающие к перекрытию, наклеивается клеем 88Н пористая резина.
С помощью 2-х распорок - стоек и отвеса по нижнему бруску обвязки устанавливают верхний брусок обвязки сечением 50×40 мм (верхняя направляющая) и с подмостей пристреливают его дюбель-гвоздями к железобетонному перекрытию (гвоздями к деревянному) с тем шагом, что и нижние направляющие.
Размер дюбель-гвоздей зависит от марки бетона и толщины пристреливаемого материала и определяется согласно инструкции на монтажно-поршневой пистолет ПЦ-52-1;
г) замеряют высоту вертикальных боковых брусков сечение 80×40 мм и распиливают их по нужному размеру. Затем пристреливают их дюбель-гвоздями к стенам.
В местах примыканий стоек к стенам и колоннам прокладывается пористая резина;





Рис. 1. Общий вид и детали устройства
перегородок из гипсокартонных листов на деревянном каркасе:
а - общий вид; б - примыкание к перекрытию; в -
опирание на перекрытие; г - примыкание к стене (в плане); в - угловое примыкание (в плане); е -
T-образное
примыкание перегородки (в плане)
д) устанавливают все остальные промежуточные стойки каркаса сечением 50×40 мм по шаблону через 400 мм и крепят их гвоздями к верхним и нижним направляющим (брускам обвязки). Раздвижной рейкой замеряют высоту промежуточных стоек и распиливают их ножовкой на специальном верстаке. Установку стоек начинают со стоек дверного проема или с угловых стоек. Шаг расстановки стоек не более 400мм (регулируется шаблоном). Все работы на высоте выполняются со стремянок или с инвентарных подмостей. Вертикальность установки стоек проверяется отвесом;
е) в стойках каркаса электрической сверлильной машиной ИЭ-1023 просверливаются отверстия для электропроводки на высоте 1-1,5 м от пола;
ж) устанавливают и крепят шурупами с шагом 500 мм к стойкам каркаса дверные коробки;
з) устанавливают первый слои гипсокартонных листов с одной стороны перегородки и крепят их к стойкам каркаса гвоздями на высоту 1,7 м с пола, выше высоты 1 ,7 м - со стремянок или инвентарных подмостей. Шляпки гвоздей при забивке должны быть утоплены на 1 мм в панель при помощи добойника.
Гипсокартонные листы устанавливаются только вертикально.
Установку гипсокартонных листов начинают от угла помещения или дверного проема. Листы устанавливают с помощью подножки-домкрата, прижимая их к потолку.
Раскрой гипсокартонных листов производится на специальном сборно-разборном столе с помощью угольника и ножа. Обрезанные кромки зачищаются;
и) через отверстия в стойках проводится электропроводка;
к) между стойками, каркаса устанавливаются минераловатные плиты толщиной 50 мм, которые приклеиваются на мастике КН-2 в нескольких точках к гипсокартонным листам;
л) устанавливаются гипсокартонные листы с другой стороны перегородки в последовательности, указанной в п.з.;
м) все стыки гипсокартонных листов, углы и примыкания шпаклюются с одновременной прокладкой бумажной ленты. Шляпки гвоздей шпаклюются заподлицо водостойкой шпаклевкой СBШ;
н) после установки перегородок и подготовки их поверхностей (шпаклевка неровностей, стыков и утопленных головок винтов-саморезов) производится нанесение наружного отделочного слоя;
о) по окончании отделочных работ устанавливаются плинтусы.
6. Края листов в местах сопряжения с дверными коробками должны быть подогнаны заподлицо и перекрыты наличниками.
Поверхности, отделанные гипсокартонными листами, не должны иметь отклонений от геометрических форм, превышающих допускаемые отклонения (табл. l).
Величина и количество допускаемых дефектов внешнего вида листа
|
Дефект поверхности |
Норма дефекта |
|
Неровности поверхности (обнаруживаются при накладывании правила или шаблона длиной 2 м) |
Не более двух неровностей глубиной или высотой по 2 мм |
|
Отклонение поверхности стен от вертикали |
1 мм на 1 м высоты, но не более 5 мм на всю высоту помещения |
Бруски каркаса должны быть предварительно антисептированы пастой М-200. Влажность брусков не должна превышать 15-17%, что проверяется влагомером.
7. При приемке работ по отделке поверхностей листовыми материалами следует проверять:
- надежность крепления листов к основанию;
- отсутствие трещин в листах и швах;
- отсутствие пятен;
- ровность облицованной поверхности;
- отсутствие вибрации листов;
- отсутствие провеса более 1 мм в стыках;
- качество обработки швов.
8. Работы по устройству перегородок выполняет бригада в составе:
маляры 5 разряда 1 чел.
маляры 4 разряда 1 чел.
плотники 5 разряда 1 чел
плотники 4 разряда 1 чел
плотники 3 разряда 1 чел
Итого 5 чел. (см. табл. 2).
Материально-технические ресурсы приведены в табл. 3
График выполнения работ

Расход строительных материалов
|
Наименование |
Единица измерения |
Количество |
|
Деревянный каркас |
м3 |
0,7 |
|
Звукоизоляционные плиты |
" |
4,4 |
|
Гипсокартонные листы |
м |
176 |
|
Шпаклевка |
кг |
5 |
|
Гвозди |
" |
22 |
|
Дюбели ДГ |
" |
2,4 |
|
Наименование |
Характеристика |
ГОСТ, ТУ, № чертежа |
Изготовитель |
Разовая потребность, шт. |
Срок службы, мес. |
Годовая потребность |
Примечание |
||
|
по металлическому каркасу |
по деревянному каркасу |
по металлическому каркасу |
по деревянному каркасу |
||||||
1.Оборудование |
|||||||||
|
Подъемник ПГС-800-16 |
Грузоподъемность 800 кг, габарит кабины 3,1×1,5 м |
|
Карачаровский механический завод |
1 |
1 |
Положение о планово-предупредительном ремонте |
- |
- |
- |
2. Механизированный инструмент |
|||||||||
|
Машина сверлильная электрическая ИЗ-1023 |
Диаметр сверла до 23 мм, масса 6,5 кг |
Паспорт 0К №10.01.08 |
Резекненское ПО "Электрострой-инструмент" |
- |
1 |
24 |
- |
0,50 |
Для прорезки отверстий в стойках |
|
Машина ручная сверлильная электрическая с комплектом насадок ИЭ-6015 (на базе ИЭ-1032) |
Диаметр сверла до 9 мм, насадка-пила по дереву, глубина до 35 мм, насадка-точило, диаметр круга 125 мм |
ГОСТ 8524-80 с изм. |
Конаковский завод механизированного инструмента |
1 |
- |
24 |
0,50 |
- |
- |
|
Ножницы вырубные электрические |
Масса 2,9 кг |
Паспорт ОК №10.08.02 ГОСТ 20524-80 с изм. |
То же |
1 |
- |
24 |
0,50 |
- |
Замена - ножницы электрические ЭМ-168. Для резки стоек и направляющих толщиной листа 1 мм |
|
Пила дисковая электрическая по дереву ИЭ-5101 |
Глубина пропила 65 мм, масса 6,8 кг |
Паспорт ОК №10.07.02 |
Резекненское ПО "Электрострой-инструмент" |
- |
1 |
24 |
- |
0,50 |
Для резки брусьев каркасных |
|
Пистолет монтажный поршневой ПЦ-52-1 |
- |
ТУ 3-741-72 |
Тульский оружейный завод |
1 |
1 |
48 |
0,25 |
0,25 |
Для пристрелки деревянных брусков к железобетонным конструкциям |
|
Станок заточный электрический ИЭ-'9703 |
Диаметр круга 100 мм, масса 16,5 кг |
Паспорт 0К №4.20.00.36 |
Даугавапилсский завод "Электроинструмент" |
- |
1 |
48 |
- |
0,25 |
Для заточки инструмента |
|
Точило электрическое БЭТ-1 |
Диаметр круга 100 мм, масса 7,2 кг |
Паспорт ОК №4.20.00.37 |
Выборгский завод "Электроинструмент" |
1 |
1 |
48 |
0,25 |
0,25 |
То же |
|
Шуруповерт электрический реверсивный с магнитной головкой ИЭ-3603 |
Момент затяжки 15 Н·м, масса 2,5 кг |
- |
Конаковский завод механизированного инструмента |
4 |
1 |
24 |
2,00 |
0,50 |
Замена - ЭМ-159. Для крепления дверных коробок |
3. Инвентарь |
|||||||||
|
Ванночка для мастики с лезвием |
- |
- |
НИИ Мосстроя |
1 |
1 |
24 |
0,5 |
0,5 |
- |
|
Ведро |
8 литров |
- |
- |
1 |
1 |
6 |
2,0 |
2,0 |
- |
|
Подмости раздвижные |
- |
Рабочий чертеж 0659-00 |
ПО "Мосспецпромпроект" |
2 |
1 |
12 |
2,0 |
1,0 |
Для монтажа |
|
Стол сборно-разборный |
- |
Рабочий чертеж 0663.3 |
ПО "Мосспецпромпроект" |
1 |
1 |
18 |
0,7 |
0,7 |
Для резки листов |
|
Стремянка |
- |
То же, 0472.00 |
То же |
- |
2 |
12 |
- |
1,0 |
Для монтажа |
4. Ручной инструмент |
|||||||||
|
Дрель ручная двухскоростная |
470×270×78 мм, масса 2,56 кг |
ТУ 24-7-11-065-72 |
- |
1 |
- |
24 |
0,5 |
- |
Для крепления элементов |
|
Добойник стальной |
- |
ТУ 22-3060-74 |
- |
- |
2 |
18 |
- |
1,30 |
Для утапливания головки гвоздей. |
|
Кельма для штукатурных работ типа КШ |
- |
- |
2 |
2 |
12 |
2 |
2,0 |
Для заделки стыков |
|
|
Кисть маховая КМ-60 |
- |
ГОСТ 10597-80 |
- |
2 |
2 |
12 |
2 |
2 |
- |
|
Клещи |
Усилие до 100 кг для металла толщиной свыше 0,8 мм |
Рабочий чертеж 0811.00 |
ПО "Мосспецпромпроект" |
2 |
- |
12 |
2,0 |
- |
Для крепления и обрамления углов |
|
Молоток плотничный типа МПЛ |
Масса 0,8 кг |
ГОСТ 11042-83 |
- |
2 |
2 |
24 |
1,0 |
1,0 |
- |
|
Нож кровельный (садовый) |
190×21×20 мм, масса 0,12 кг |
ТУ 400-28-187-76 |
- |
2 |
- |
24 |
1,0 |
- |
Для вырезки отверстий |
|
Нож штукатурный КНРЛ |
190×30 мм, масса 0,073 кг |
ТУ 400-27-18-71 |
- |
2 |
- |
18 |
1,3 |
- |
Для резки листов |
|
Ножницы ручные для прямой резки металла 1-320 |
Толщина металла до 1 мм, масса ножниц 0,7 кг |
ГОСТ 7210-75 |
- |
1 |
- |
24 |
0,5 |
- |
Для резки направляющих |
|
Ножницы ручные для фигурной резки металла 3-320 |
Толщина металла до 1 мм, масса ножниц 0,6 кг |
- |
- |
1 |
- |
24 |
0,5 |
- |
То же |
|
Ножовка по дереву |
- |
ТУ 14-1-303-72 |
- |
- |
2 |
24 |
- |
1,0 |
Для подгонки деревянных стоек |
|
Ножовка по дереву мелкозубая с широким полотном Н-3 |
- |
ТУ 27-31-2386-77 |
- |
2 |
- |
18 |
1,3 |
- |
Для подрезки гипсовых листов |
|
Ножовка по дереву узкая |
- |
ТУ 14-1302-72 |
- |
1 |
- |
12 |
1,0 |
- |
Для прорезки отверстий |
|
Отвертка для винтов и шурупов с крестообразным шлицем N* 2 |
- |
ГОСТ 10754-80 |
- |
- |
2 |
24 |
- |
1,0 |
Для крепления листов |
|
Отвертка слесарно-монтажная |
Ширина шлица 0,8-2 мм |
ГОСТ 17199-71 с изм. |
- |
2 |
- |
24 |
1,0 |
- |
Для завинчивания шурупов в труднодоступных листах |
|
Отвертка с шуруподержателем |
Для винтов и шурупов до 3 мм, масса 0,135 кг |
ТУ 36-868-76 |
- |
2 |
- |
24 |
1,0 |
- |
То же |
|
Плоскогубцы комбинированные 200 |
- |
ГОСТ 5547-75 с изм. |
- |
- |
1 |
24 |
- |
0,50 |
- |
|
Полотно ножовочное для металла |
300×16×0,65 мм |
ГОСТ 6645-68 с изм. |
- |
По потребности |
- |
0,5 |
По потребности |
- |
- |
|
Приспособление для прорезки круглых отверстий |
182×92 мм, масса 0,27 кг |
Рабочий чертеж 0629.00 |
ПО "Мосспецпромпроект" |
1 |
7 |
12 |
0,50 |
0,50 |
- |
|
Просекатель |
Усилие 300 Н для металла до 0,8 |
То же, ОР-361 |
ВНИИСМИ |
2 |
- |
18 |
1,3 |
- |
- |
|
Рейка ножовочная ручная |
426×30,95 мм, масса 0,8 кг |
ГОСТ 17270-71 с изм. |
- |
1 |
- |
24 |
0,50 |
- |
Для резки металлических стоек |
|
Распорка-стойка |
- |
- |
Трест "Ленинградоргстрой" |
- |
2 |
24 |
- |
1,0 |
Для временного крепления потолочных брусьев |
|
Рашпиль плоский тупоносый |
Длина 250 мм |
ГОСТ 6876-79 |
- |
2 |
- |
6 |
м |
- |
- |
|
Рычаг ножной |
Масса 1,7 кг |
Рабочий чертеж И479 |
Трест "Ленинградоргстрой" |
2 |
2 |
24 |
1,0 |
1,0 |
Для проверки вертикальности установки листов |
|
Скребок металлический |
1200×200 мм, масса 0,5 кг |
Рабочий чертеж ШИ-28 |
Трест "Оргтехстрой" Главсредуралстроя |
2 |
2 |
12 |
2,0 |
2,0 |
- |
|
Стамеска плоская |
Ширина 10 и 25 мм |
- |
- |
2 |
36 |
- |
0,7 |
- |
|
|
Топор строительный типа А2 в сборе |
Масса 2 кг |
ГОСТ 18578-73 с изм. |
- |
- |
2 |
24 |
- |
1,0 |
- |
|
Шпатель малярный ШД |
ШД-35, ШД-45, ШД-75, ШД-95, ШД-130 |
ГОСТ 10778-83 |
- |
2 комплекта |
2 комплекта |
18 |
1, 3 комплекта |
- |
- |
|
Шпатель пластмассовый |
- |
Рабочий чертеж 4408 |
Мосоргстрой Главмосстроя при Мосгорисполкоме |
- |
1 |
12 |
1,0 |
1,0 |
- |
|
Шпатель с гибкой вставкой |
- |
- |
Трест "Оргтехстрой" Главприокстроя Минпромстроя СССР |
1 |
1 |
12 |
1,0 |
1,0 |
- |
|
Щетка стальная прямоугольная |
310×9×56 мм, масса 0,26 кг |
ТУ 494-01-104-76 |
- |
2 |
- |
3 |
8,0 |
- |
Для очистки кромок листов |
5. Разметочный, измерительный и поверевочный инструмент |
|||||||||
|
Влагомер "Сосна" |
- |
- |
- |
- |
1 |
48 |
- |
0,25 |
Для замера влажности |
|
Карандаш плотничный |
- |
- |
Славянская фабрика |
2 |
2 |
4 |
6,0 |
6,0 |
- |
|
Линейка измерительная металлическая |
Длина 300 мм |
- |
1 |
1 |
24 |
1,0 |
1,0 |
Для разметки |
|
|
Метр складной деревянный |
Масса 0,25 кг |
РСТ 149-71 Латвийская ССР |
- |
1 |
1 |
12 |
1,0 |
1,0 |
То же |
|
Отвес стальной строительный ОТ-400 |
Масса 400 г |
- |
- |
2 |
36 |
- |
0,7 |
- |
|
|
Рейка раздвижная |
Высота замера до 4,2 м |
Рабочий чертеж 0422.00 |
ПО "Мосспецпромпроект " |
1 |
1 |
12 |
1,0 |
1,0 |
Для замера высоты |
|
Рейка шаблон раздвижная |
- |
- |
Трест "Ленинградоргстрой" |
- |
1 |
12 |
- |
1,0 |
Для разметки места установки перегородки |
|
Рулетка металлическая в закрытом корпусе типа РЗ-10 |
Длина 10 м |
ГОСТ 7502-80 с изм. |
- |
2 |
1 |
24 |
2,0 |
1,0 |
То же |
|
Угольник металлический |
500×240 мм, масса 0,48 кг |
ТУ 22-2785-73 |
- |
1 |
1 |
12 |
1,0 |
1,0 |
- |
|
Уровень магнитный |
Длина 500 мм |
Рабочий чертеж ОР-373 |
ВНИИСМИ |
1 |
- |
36 |
0,3 |
- |
Для выверки положения стоек |
|
Уровень магнитный |
Длина 1200 мм |
То же, ОР 374 |
ВНИИСМИ |
1 |
- |
36 |
0,3 |
- |
То же |
|
Уровень строительный УС5-1-300 |
Длина 300 мм |
ГОСТ 9416-76 |
- |
1 |
- |
24 |
0,5 |
- |
Для проверки горизонтальности направляющих |
|
Циркуль разметочный 350 |
Габариты 350×25 мм |
- |
- |
1 |
1 |
24 |
0,5 |
о,5 |
Для разметки круглых отверстий |
|
Чертилка СТД 967/2 с твердосплавным наконечником |
- |
ТУ 36-1633-73 |
- |
4 |
- |
6 |
8,0 |
- |
- |
|
Шаблон для расстановки стоек |
Масса 0,68 кг |
Рабочий чертеж 0426 |
ПО "Мосспецпромпроект" |
2 |
2 |
12 |
1,0 |
1,0 |
- |
|
Шнур разметочный в корпусе ИР-146А |
Длина 15м |
ТУ 22-3527-76 |
Одесский завод "СОМ" |
1 |
1 |
18 |
0,65 |
0,65 |
- |
6. Вспомогательный инструмент |
|||||||||
|
Брусок шлифовальный прямоугольный |
40×20×200 мм, масса 0,55 кг |
ГОСТ 2456-82 |
- |
1 |
- |
9 |
1,3 |
- |
Для заточки режущего инструмента |
|
Напильник трехгранный |
Длина 150 мм |
ГОСТ 6476-80 |
- |
- |
1 |
3 |
- |
4 |
То же |
7. Средства защиты и улучшения условий труда |
|||||||||
|
Каска пластмассовая для строителей "Салво" |
- |
ТУ 205ЭССР 281-77 |
- |
Каждому |
Каждому |
36 |
- |
- |
- |
|
Наушники противошумные |
- |
- |
- |
1 |
- |
- |
- |
- |
- |
|
Очки защитные закрытые ЗП2-84 с прямой вентиляцией |
- |
ТУ 12.4.003-74 |
- |
1 |
- |
12 |
1,0 |
- |
- |
|
Перчатки резиновые технические |
- |
ТУ 20010-74 |
- |
4 |
- |
12 |
4,0 |
- |
- |
|
Респиратор ШВ-1 "Лепесток" |
- |
ТУ 95-7039-73 |
- |
2 |
2 |
3 |
8,0 |
8,0 |
- |
|
Рукавицы |
- |
- |
- |
5 |
5 |
2 |
30,0 |
30,0 |
- |
|
Фартук-пояс пистолетчика (дюбеля, патроны, пистолет) |
- |
- |
Трест Ленинградоргстрой |
1 |
1 |
24 |
0,5 |
0,5 |
- |
|
Фартук-пояс облицовщика (метр складной, ножи, отвертки, шуруповерт, шурупы) |
- |
- |
- |
2 |
2 |
24 |
1,0 |
1,0 |
- |
|
Ящик для хранения и переноски мелкого инструмента |
- |
- |
- |
2 |
2 |
36 |
0,65 |
0,65 |
- |
|