ИНФОСАЙТ.ру
Госты, стандарты, нормативы. В библиотеке 60000 документов. Регулярное обновление. Круглосуточный бесплатный доступ!
БИБЛИОТЕКА ГОСТОВ, СТАНДАРТОВ И НОРМАТИВОВ

:: АЛГОТРЕЙДИНГ ::


АЛГОТРЕЙДИНГ
шаг за шагом


БЕСПЛАТНЫЕ УРОКИ по созданию торговых роботов на PYTHON с нуля, шаг за шагом.


Минимальные знания на PYTHON.
Библиотеки BackTrader и Pandas, сигналы с Pine Script из TradingView.
Связка с брокерами, телеграм.
Создание простых интерфейсов.

 

Все документы, представленные в каталоге, не являются их официальным изданием и предназначены исключительно для ознакомительных целей. Электронные копии этих документов могут распространяться без всяких ограничений. Вы можете размещать информацию с этого сайта на любом другом сайте.


ГОССТРОЙ СССР

ЦЕНТРАЛЬНЫЙ НАУЧНО-ИССЛЕДОВАТЕЛЬСКИЙ И ПРОЕКТНО-ЭКСПЕРИМЕНТАЛЬНЫЙ ИНСТИТУТ
ОРГАНИЗАЦИИ, МЕХАНИЗАЦИИ И ТЕХНИЧЕСКОЙ ПОМОЩИ СТРОИТЕЛЬСТВУ
(ЦНИИОМТП)

ТЕХНОЛОГИЧЕСКИЕ СХЕМЫ ВОЗВЕДЕНИЯ
ОДНОЭТАЖНЫХ ПРОМЫШЛЕННЫХ ЗДАНИЙ

ВЫПУСК II

МОНТАЖ НАДЗЕМНОЙ ЧАСТИ

Под общей редакцией к.т.н. Гребенника Р.А. и к.т.н. Мачабели Ш.Л.

МОСКВА - 1985

Рекомендовано к изданию решением Научно-технического совета ЦНИИОМТП Госстроя СССР.

Технологические схемы возведения одноэтажных промышленных зданий. Выпуск II. Монтаж надземной части. М., 1985, 160 с. (Госстрой СССР, Центр, науч.-исслед. и проектно-эксперим. ин-т организации, механизации и техн. помощи стр-ву. ЦНИИОМТП).

Приведены описания, схемы и технико-экономические показатели монтажа конструкций одноэтажных промышленных зданий. Представлен также состав унифицированной нормативно-технологической документации по комплектации объектов строительства материальными ресурсами. В приложениях даны рекомендуемые технологическая оснастка, оборудование для монтажа и транспортные средства для перевозки конструкций.

Работа предназначена для научно-исследовательских институтов, учебных и строительных организаций.

ВВЕДЕНИЕ

В работе освещены вопросы возведения одноэтажных промышленных зданий унифицированных габаритных схем со сборными железобетонными каркасами из типовых строительных конструкций и стальными конструктивными элементами. Второй выпуск содержит технологические схемы на монтаж конструкций надземной части зданий.

Приведена прогрессивная технология устройства основных конструктивных частей зданий, комплекты механизмов, транспортных средств и вспомогательных устройств, применяемых при возведении одноэтажных промышленных зданий, даны показатели затрат труда рабочих и времени работы механизмов.

Наряду с технологией, основанной на применении существующего оборудования, показаны перспективные схемы применения новых механизмов и приспособлений.

Комплексное внедрение прогрессивных организационно-технологических решений, рекомендуемых в настоящей работе, позволит, по предварительным расчетам, уменьшить: на 5 - 10 % сроки строительства, на 10 - 15 % затраты труда (по рассматриваемым конструктивным частям зданий), на 0,4 - 2,0 руб. стоимость строительно-монтажных работ в расчете на 1 м2 производственной площади.

В разработке технологических схем монтажа надземной части принимали участие сотрудники ЦНИИОМТП Е.Е. Блинков, Н.А. Болобан, А.В. Величенков, В.Г. Виноградова, Р.А. Гребенник, В.П. Зайцев, Ш.Л. Мачабели, С.Ц. Мкртчан, В.А. Слесарев, О.В. Слободкина, И.Я. Стронгин, И.И. Шаров, И.Я. Шемонаев.

Рекомендации по геодезическому обеспечению производства монтажных работ подготовлены С.В. Климановым, А.Б. Клюшиным и В.С. Сытником.

Подбор транспортных средств для перевозки типовых сборных железобетонных конструкций выполнен М.И. Гриффом, Д.М. Златопольским и В.Ф. Трофименковым.

Вопросы производственно-технологической комплектации конструкций изделий и материалов освещены А.М. Безрученко и И.А. Мякишевой, вопросы техники безопасности В.А. Алексеевым.

В настоящем выпуске монтаж типовых сборных железобетонных конструкций надземной части одноэтажных промышленных зданий показан на примере массового использования унифицированных габаритных схем; представлен также монтаж стальных подкрановых балок и светоаэрационных фонарей.

Приведены регламентированные сочетания унифицированных высоты, пролета, шага для колонн в крайних и средних рядах и стропильных конструкций в зданиях без кранов с подвесным подъемно-транспортным оборудованием и в зданиях, оборудованных мостовыми кранами.

Габаритные схемы зданий имеют 132 варианта сочетаний, из них 81 - для зданий без кранов с подвесным подъемно-транспортным оборудованием и 51 - для зданий, оборудованных мостовыми кранами. Каждое сочетание характеризует определенный тип зданий. Всем типам зданий присвоены условные порядковые номера, согласно которым в схемах монтажа даются технологические решения и рекомендации по выбору монтажного оборудования и вспомогательных приспособлений, порядку расположения и движения кранов и транспортных средств и т.п.

Схемы разработаны на основе применения современных методов производства работ с использованием прогрессивного монтажного оборудования и оснастки. В них предусмотрены краны на гусеничном и пневмоколесном ходу, получившие наибольшее распространение в практике монтажа одноэтажных промышленных зданий. Как показали научно-исследовательские работы, а также практика строительства одноэтажных промышленных зданий для монтажа сборных конструкций целесообразно применять самоходные стреловые краны.

В соответствующих разделах приведены рекомендуемые типы и марки стреловых гусеничных, пневмоколесных и автомобильных кранов и приспособлений для монтажа, выгрузки и раскладки сборных конструкций.

По каждому варианту даны рекомендуемые и заменяющие краны.

Рекомендуемые - из числа выпускаемых в настоящее время, отвечающих современным требованиям технологии монтажа, параметры которых (грузоподъемность, вылет и высота подъема крюка) с наибольшим приближением соответствуют требуемым параметрам монтажа данного конструктивного элемента.

Заменяющие - из числа выпускаемых в настоящее время или имеющихся в большом количестве в строительно-монтажных организациях, которые по своим параметрам могут быть использованы для монтажа при отсутствии рекомендуемых кранов.

Подбор кранов произведен на основе расчетных схем монтажа с учетом возможности работы как с транспортных средств, так и с предварительной раскладкой при соблюдении правил техники безопасности.

В таблицах выбора кранов в графе «Длина стрелового оборудования» цифрой дана длина стрелы (в м); в случае применения башенно-стрелового варианта оборудования (БС) первая цифра обозначает высоту башни, а вторая - длину стрелы.

Условия для определения минимальных значений требуемых параметров крана принимались следующие:

уровень стоянки крана - 0,4 м;

минимальное приближение оси стрелы крана к ранее смонтированным и монтируемым элементам - 1 м;

минимальный зазор при переносе монтируемого элемента над ранее смонтированными - 0,5 м;

максимальный угол наклона оси стрелы к горизонту - 78°, башни (при башенно-стреловом оборудовании) - 88°;

минимальное расстояние между смонтированными частями здания, разложенными на площадке сборными конструкциями, транспортными средствами и поворотной частью кранов - 1 м.

Разработка схем, подбор кранов, подсчет требуемых затрат труда рабочих и времени работы машин выполнены на основе действующих СНиПов и сборников ЕНиР.

В ряде случаев при использовании новых видов оборудования или приспособлений, затраты труда рабочих и времени работы машин определены согласно опытно-расчетным данным. Даны краткие характеристики транспортных средств для перевозки конструкций, вспомогательных приспособлений и оборудования для монтажа сборных конструкций.

При монтаже сборных железобетонных и металлических конструкций следует руководствоваться требованиями СНиПа III-16-80 «Бетонные и железобетонные конструкции сборные. Правила производства и приемки работ» и СНиПа III-18-75 «Металлические конструкции. Правила производства и приемки работ», а также «Инструкцией по монтажу сборных железобетонных конструкций промышленных зданий и сооружений» ВСН 280-77.

При заделке стыков и швов следует также учитывать требования СНиПа III-15-76 «Бетонные и железобетонные конструкции монолитные. Правила производства и приемки работ».

Все работы следует осуществлять в строгом соответствии с требованиями СНиПа III-4-80 «Техника безопасности в строительстве», «Правил устройства и безопасной эксплуатации грузоподъемных кранов» Госгортехнадзора СССР, «Инструкции по технике безопасности при монтаже стальных и сборных железобетонных конструкций» ВСН 61-75. Особенности технологии и дополнительные требования по безопасности при монтаже различных сборных конструкций, связанные с применением рекомендуемых методов и вспомогательных приспособлений, приведены в соответствующих разделах.

Геодезические разбивочные работы

На площадках основных промышленных сооружений разбивочная основа создается в виде геодезической строительной сетки, координатные оси которой параллельны осям основных сооружений. На отдельных площадках строительная сетка может проектироваться в различных системах координат и с разной ориентировкой осей. Связь этих систем в пределах всей площадки осуществляется путем привязки к пунктам геодезической основы.

Главные и габаритные оси промышленных сооружений разбивают в натуре по проектным координатам от пунктов строительной сетки способом прямоугольных координат с точностью порядка 1:5000.

Для разбивки фундаментов сооружения от габаритных осей строят горизонтальную обноску и по ней створно-линейным способом от исходных осей разбивают основные строительные оси. Разбивка осей по обноске ведется компарированными на плоскости тканевыми лентами или рулетками с учетом всех поправок измерений. Точность отложения проектных расстояний по обноске в зависимости от вида сооружения может быть от 1:10000 до 1:25000. При взаимной увязке смежных осей средняя квадратическая погрешность 1 - 2 мм. Основные оси фиксируют на обноске и закрепляют грунтовыми знаками или штриховой покраской, наносимой на существующих зданиях и сооружениях.

По мере строительства фундаментов знаки закрепления осей переносят внутрь зданий.

От основных осей ведут детальную разбивку котлованов, опалубки, осей фундаментов и коммуникаций. Детальные разбивочные работы выполняются струйным способом, оптическим визированием или при помощи лазерных визиров с допускаемым отклонением от проектных осей в среднем 2 - 3 мм. По высоте точки определяются геометрическим нивелированием с такой же точностью.

Общие требования техники безопасности при производстве монтажных работ

Мероприятия по технике безопасности являются составной частью конкретных организационно-технологических решений, изложенных в технологических схемах. Они разрабатываются в целях отражения требований главы СНиПа III-4-80 «Техника безопасности в строительстве» и стандартов безопасности труда. Не допускается заменять конкретные мероприятия ссылками на требования нормативно-технических документов. Ссылки на нормативы следует приводить только в качестве справки о документе, требования которого послужили основанием для разработки мероприятий.

При проектировании новых методов ведения работ, применении новых материалов, производственного оборудования и инструментов, по которым в нормативных документах не предусмотрены требования, разрабатываемые в технологических схемах, мероприятия по технике безопасности должны соответствовать требованиям организаций-разработчиков. Недопустимо применять новые материалы не имея данных об их пожаро- взрывоопасности, токсичности и вредности.

Требования техники безопасности должны быть учтены в последнюю очередь, после того, как будут сформированы решения, отвечающие всем другим требованиям. Это объясняется тем, что требования техники безопасности являются, как правило, наиболее жесткими. При этом сначала следует провести анализ разработанных решений с целью выявления потенциальных условий возникновения травмы, а затем разработать соответствующие мероприятия для их устранения. При выполнении анализа следует иметь в виду, что условия возникновения травмы характеризует совокупность таких признаков, как возникновение опасного производственного фактора, воздействие которого на человека может привести к травме и появление человека в зоне его действия; возникновение дополнительного производственного фактора, усиливающего действие опасного производственного фактора. Мероприятия техники безопасности должны быть направлены на устранение признаков опасности. В первую очередь следует предусмотреть меры по устранению или ограничению действия опасного производственного фактора и одновременно - меры по устранению необходимости появления человека в опасной зоне или ограничению доступа туда. В случае необходимости производства работ в опасной зоне должны приниматься решения по снижению степени опасного воздействия. Повышению безопасности способствует также дублирование мероприятий.

В процессе производства строительно-монтажных работ опасные зоны и соответственно опасные производственные факторы, действующие в пределах этих зон, делятся на две группы: зоны постоянных опасных производственных факторов, действие которых обусловлено нормальным ходом производства, и зоны потенциально опасных производственных факторов, действующих (возникающих) при аварийной ситуации. К постоянным опасным производственным факторам относятся: движущиеся машины и их неогражденные подвижные части; неизолированные части электроустановок, нормально находящиеся под напряжением; неогражденные конструкции при перепаде высот 1,3 м и более. К потенциально опасным производственным факторам относятся: обрушающиеся конструкции, а также обрушающийся грунт; падающие предметы; опрокидывающиеся машины; появление напряжения на металлических частях машин, конструкций, оборудования, нормально находящихся без напряжения.

Характер действия опасных производственных факторов определяет характер функциональных мероприятий по технике безопасности. При наличии постоянных опасных производственных факторов функциональные мероприятия по технике безопасности сводятся к снижению степени воздействия указанных факторов путем устранения необходимости появления человека в опасной зоне или ограничения в нее доступа. Для этого необходимо в технологических схемах предусматривать применение средств механизации и автоматизации, устраняющих ручной труд в опасных зонах, а также рациональные методы ведения работ, способствующие переносу трудоемких операций в безопасные условия. В случае, когда выполнение этих мер не представляется возможным, следует ограничить доступ работающих в опасные зоны. Для этого опасные зоны в пределах рабочего места нужно ограждать. При необходимости выполнения работ в условиях действия постоянных опасных производственных факторов должны быть составлены графики выполнения совмещенных работ, предусматривающие ограничение действия таких факторов по времени. При невозможности выполнения указанных мероприятий во время работы в опасных зонах необходимо применять средства защиты и проводить дополнительный инструктаж рабочих.

При возможности возникновения потенциально опасных производственных факторов функциональные мероприятия по технике безопасности должны быть направлены на предотвращение или ограничение вероятности появления этих факторов. Поэтому важно, чтобы предусматриваемые при разработке организационно-технологических решений средства механизации и технологическая оснастка соответствовали объемно-планировочным и конструктивным решениям зданий и сооружений и условиям производства работ. Для повышения безопасности работ необходимо установить опасные для нахождения людей зоны, в пределах которых потенциально опасные производственные факторы могут действовать в течение длительного периода времени, например, вблизи мест перемещения грузов подъемно-транспортным оборудованием, вблизи строящегося здания или сооружения. В этих зонах запрещается размещать временные здания, сооружения, а также рабочие места, связанные с длительным нахождением людей. Проходы и проезды по возможности следует располагать за пределами опасных зон.

Учет мероприятий по технике безопасности в технологических схемах на монтажные работы

При разработка технологических схем на монтажные работы следует предусматривать мероприятия по предупреждению опасности падения человека с высоты, опасности падения на человека конструкций, изделий, материалов при перемещении их краном или в результате потери ими устойчивости в процессе монтажа или складирования, а также возможности опасного воздействия на работающих электрического тока и машин (согласно приложению 8, СНиП III-4-80).

При разработке мероприятий по технике безопасности для бригады монтажников следует учитывать: размеры захватки, на которой ведется монтаж; технологическую последовательность выполнения работ на захватке; оснащенность бригады средствами механизации, технологической оснасткой и средствами защиты; численность, профессиональный и квалификационный состав бригады, выполняющей работы на захватке.

Размеры захватки определяют границы рабочего места, в пределах которого рабочие должны быть обеспечены средствами защиты. Наряду с этим размеры захватки определяют границы опасной зоны вблизи строящегося здания, где во время монтажа находиться запрещено. В связи с этим мероприятия по технике безопасности должны включать:

выбор и обоснование табеля оснащения бригады средствами, обеспечивающими предупреждение опасности падения человека и предметов с высоты;

способы прохода людей на рабочие места;

организацию труда рабочих на захватке с применением технологической оснастки и средств защиты;

меры по ограничению доступа людей в опасные зоны.

Средства безопасности, включаемые в табель оснащения бригады, делятся на три группы. Средства защиты по предупреждению падения человека с высоты при возведении зданий и сооружений включают средства коллективной защиты (ограждающие и улавливающие устройства), а также средства индивидуальной защиты (предохранительные пояса и страховочные устройства, применяемые в комплекте со страховочным поясом). Страховочные устройства могут быть индивидуального и коллективного пользования. Средства, предупреждающие падение предметов на человека (улавливающие сетки, козырьки, защитные настилы; технологическая оснастка, обеспечивающая безопасность труда, включая средства подмащивания, монтажную оснастку, лестницы, грузозахватные приспособления). Выбирая средства защиты, следует учитывать, что наиболее эффективными являются ограждающие устройства, предназначенные для применения при расположении рабочих мест на перекрытии, покрытии или средствах подмащивания на расстоянии менее 2 м от границы перепада конструкций по высоте 1,3 м и более. Когда рабочие места располагаются на конструкциях или оборудовании, где невозможна установка ограждающих устройств, следует применять улавливающие устройства или предохранительные пояса, которые предотвращают травмирование в случае падения. При этом улавливающее устройство является более надежным средством, чем предохранительный пояс, эффективность использования которого зависит от опыта, дисциплинированности и квалификации рабочего.


УНИФИЦИРОВАННЫЕ ГАБАРИТНЫЕ СХЕМЫ ОДНОЭТАЖНЫХ ПРОМЫШЛЕННЫХ ЗДАНИЙ

Характеристика зданий

Бескрановые и с подвесными кранами

Оборудованные опорными мостовыми кранами

 

Высота до низа стропильных конструкций

Шаг, м

Ширина пролета, м

Электрическими

Ручными

 

колонн

стропильных конструкций

6

9

12

18

24

30

36

Грузоподъемность крана, т

Ширина пролета, м

Грузоподъемность крана, т

Ширина пролета, м

 

крайних

средних

18

24

30

36

9

12

18

1

2

3

4

5

6

7

8

9

10

11

12

13

14

15

16

17

18

19

20

 

3

6

6

6

1

7

13

 

 

 

 

 

 

 

 

 

 

 

 

 

 

3,6

2

8

14

 

 

 

 

 

 

 

 

 

 

 

 

4,2

3

9

15

 

 

 

 

 

 

 

 

 

 

 

 

4,8

4

10

16

22

49

 

 

 

 

 

 

 

 

 

 

4,8

12

 

 

 

23

50

 

 

 

 

 

 

 

 

 

 

4,8

12

 

 

 

24

51

 

 

 

 

 

 

 

 

 

 

5,4

6

6

5

11

17

25

52

 

 

 

 

 

 

 

 

 

 

6

6

12

18

26

53

0

 

 

 

 

 

8

0

0

0

 

6

12

 

 

 

27

54

0

 

 

 

 

 

 

 

 

 

6

12

 

 

 

28

55

0

 

 

 

 

 

 

 

 

 

6,6

6

6

 

 

 

29

56

 

 

 

 

 

 

0

0

0

 

7,2

 

 

19

30

57

0

0

 

 

 

 

8; 20

0

0

0

 

7,2

12

 

 

 

31

58

0

0

 

 

 

 

 

 

 

 

 

7,2

12

 

 

 

32

59

0

0

 

 

 

 

 

 

 

 

7,8

6

6

 

 

 

33

60

 

 

 

 

 

 

8; 20

0

0

0

 

8,4

 

 

20

34

61

0

0

10

82

 

103

 

0

0

0

 

8,4

12

 

 

 

35

62

0

0

83

 

104

 

 

 

 

 

 

8,4

12

 

 

 

36

63

0

0

84

 

105

 

 

 

 

 

8,4

12

 

 

 

37

64

0

0

85

 

106

 

 

 

 

 

9

6

6

6

 

 

 

 

 

 

 

 

 

 

 

 

20

0

0

0

 

9,6

 

 

21

38

65

0

0

10; 20

86

107

 

 

0

0

0

 

9,6

12

 

 

 

39

66

0

0

87

108

 

 

 

 

 

 

 

9,6

12

 

 

 

40

67

0

0

88

109

 

 

 

 

 

 

9,6

12

 

 

 

41

68

0

0

89

 

110

 

 

 

 

 

10,8

6

6

6

 

 

 

42

69

0

0

10; 20; 30

90

 

111

 

 

 

 

 

 

10,8

12

 

 

 

43

70

0

0

91

112

0

0

 

 

 

 

 

10,8

12

 

 

 

44

71

0

0

92

113

0

0

 

 

 

 

 

10,8

12

 

 

 

45

72

0

0

93

114

0

0

 

 

 

 

 

12

6

6

 

 

 

46

73

0

0

10; 20; 30; 50

94

115

0

0

 

 

 

 

 

12

12

 

 

 

47

74

0

0

95

116

0

0

 

 

 

 

 

12

12

 

 

 

48

75

0

0

96

117

0

0

 

 

 

 

 

13,2

6

6

 

 

 

 

76

0

0

97

118

0

0

 

 

 

 

 

13,2

12

 

 

 

 

77

0

0

98

119

0

0

 

 

 

 

 

13,2

12

 

 

 

 

78

0

0

99

120

0

0

 

 

 

 

 

14,4

6

6

 

 

 

 

79

0

0

100

121

0

0

 

 

 

 

 

14,4

6

12

 

 

 

 

80

0

0

 

101

122

0

0

 

 

 

 

 

14,4

 

 

 

 

81

0

0

102

123

0

0

 

 

 

 

 

15,6

6

6

 

 

 

 

 

0

0

 

124

0

0

 

 

 

 

 

15,6

6

12

12

 

 

 

 

 

0

0

30; 50

 

125

0

0

 

 

 

 

 

15,6

12

 

 

 

 

 

 

 

 

126

0

0

 

 

 

 

 

16,8

6

6

 

 

 

 

 

0

0

 

127

0

0

 

 

 

 

 

16,8

12

 

 

 

 

 

0

0

 

128

0

0

 

 

 

 

 

16,8

12

 

 

 

 

 

 

 

 

129

0

0

 

 

 

 

 

18

6

6

 

 

 

 

 

0

0

 

130

0

0

 

 

 

 

 

18

12

 

 

 

 

 

0

0

 

131

0

0

 

 

 

 

 

18

12

 

 

 

 

 

 

 

 

132

0

0

 

 

 

 

 

Примечание. Клетки, заполненные цифрами и нулями, соответствуют ячейкам зданий с унифицированными параметрами. Цифрами 1 - 132 обозначены условные номера ячеек, обеспеченных номенклатурой железобетонных конструкций и технологическими схемами их монтажа; заполненные нулями ячейки обеспечены номенклатурой других конструкций (стальных, комбинированных и т.д.), схемы для них в настоящее время разрабатываются.


МОНТАЖ ЖЕЛЕЗОБЕТОННЫХ КОЛОНН

Схемы разработаны для установки в стаканы фундаментов сборных железобетонных колонн одноэтажных промышленных зданий унифицированных габаритных схем массой до 26 т и высотой до 19,35 м.

Организация и технология производства работ

До монтажа колонн следует:

забетонировать или установить фундаменты под колонны и проверить соответствие их проектному положению с помощью геодезических инструментов;

засыпать пазухи фундаментов;

нанести риски установочных осей на верхней грани фундаментов и боковых гранях колонн;

закрыть стаканы фундаментов щитами для предохранения от загрязнения;

устроить дороги для проезда крана и автомобилей;

подготовить площадки для складирования колонн у места их установки;

доставить в зону монтажа необходимые монтажные средства, приспособления и инструменты.

Железобетонные колонны на объекте раскладывают на деревянных подкладках в зоне действия монтажного крана. Толщина подкладок должна быть не менее 25 мм.

При отсутствии монтажных петель колонны стропят петлей-удавкой в местах, обозначенных на заводе-изготовителе. Канат при этом не должен иметь узлов и перекруток. Для предохранения каната от перегибов и перетирания под ребра колонн следует положить стальные подкладки.

Каждую колонну необходимо осмотреть с тем, чтобы она не имела деформаций, повреждений, трещин, раковин, сколов, обнаженной арматуры, наплывов бетона; проверить геометрические размеры колонны, наличие монтажного отверстия, правильность установки стальных закладных деталей.

Для выверки и временного закрепления колонн используют комплект монтажной оснастки, размещаемый в контейнере. В состав комплекта входят инвентарные клиновые вкладыши и другие приспособления (РЧ-595 ЦНИИОМТП).

Комплект приспособлений и инструмента для установки колонн

Наименование

Количество, шт.

Контейнер

1

Вкладыши клиновые

50

Приставки дополнительные

 

толщиной 36 мм

20

"           70 мм

20

"           105 мм

20

Ключи накидные

4

Ограждения вкладышей

8

Ключи трещоточные

4

Фиксаторы

 

длиной 1285 мм

4

"        1535 мм

4

Зубила

2

Ломы ЛМ24

2

Молотки

2

Отвертки

2

Кельмы КП

2

Рулетки

 

РС-20

1

РС-1

1

Канаты пеньковые диаметром 12 мм, длиной 15 м

2

Ведра

2

Скребки

2

Колонны при помощи монтажного крана устанавливают в стаканы фундамента на армобетонные подкладки или на выравнивающий слой бетонной смеси.

Для обеспечения устойчивости колонн высотой более 12 м кроме клиновых вкладышей используют расчалки, которыми временно крепят колонну в плоскости наименьшей жесткости.

Клиновые вкладыши извлекают только после достижения бетоном стыка прочности, указанной в проекте производства работ, а в случае отсутствия такого указания - по достижении бетоном стыка 70 % проектной прочности.

Геодезический контроль и обеспечение точности монтажа колонн

При монтаже необходимо проверять: отметку дна стакана фундамента, совмещение риски на грани в нижней части колонны с разбивочной риской на верхней грани фундамента, вертикальность колонн, отметки крановой консоли и оголовка колонны. Совмещение осей колонны и разбивочных осей на фундаменте следует контролировать по двум осям с помощью деревянного угольника и слесарного метра. Вертикальность колонны проверяют с помощью теодолита при двух положениях его вертикального круга по двум разбивочным осям или с помощью зенит-прибора методом вертикального проектирования. Отметки опорных площадок для подкрановых балок и ферм, а также отметки дна стакана фундамента контролируют методом геометрического нивелирования. Для контроля первых двух параметров применяется навесная нивелирная рейка.

Допускаемая погрешность при контроле точности указанных параметров не должна превышать 20 % допускаемого отклонения по контролируемому параметру.

Допускаются следующие отклонения (в мм):

осей колонн в нижнем сечении относительно разбивочных

осей.................................................................................................... ±5;

осей колонн от вертикали в верхнем сечении при высоте

колонн

до 8 м............................................................................................. ±20;

до 16 м........................................................................................... ±25;

отметок верха колонн или опорных площадок (кронштейнов,

консолей).......................................................................................... ±10.

Техника безопасности при производстве работ

При выверке и временном креплении колонны в стакане с помощью инвентарных клиновых вкладышей предварительно следует проверить пригодность их к работе. Запрещается использовать клиновые вкладыши с поврежденными деталями. Для вращения винта клинового вкладыша следует применять специальный ключ. Удлинение рукоятки ключа не допускается.

Расстроповку установленных колонн следует производить только после их закрепления в стакане фундамента клиновыми вкладышами, а колонн высотой более 12 м - дополнительно и расчалками.

Монтажные приспособления

Армобетонные подкладки используют при выверке колонн, установленных в стаканы фундаментов. Применение таких подкладок исключает необходимость устройства выравнивающего слоя из бетонной или растворной смеси, упрощает выведение опорных площадок (верха колонны, консолей, подкрановых балок) на проектную отметку, облегчает выверку колонны по вертикали. Подкладки размерами 100´100 мм, толщиной 20 и 30 мм из раствора марки 200 армируют сеткой с ячейками 10´10 мм из стальной проволоки диаметром 1 мм. Пакет из армобетонных подкладок укладывают на дно стакана.

Инвентарный фиксатор предназначен для обеспечения проектного положения низа колонны в плане и фиксации ее при дальнейшей выверке по вертикали. Фиксатор состоит из стойки со шкалой-указателем, тяги с клином, упора, ручки-фиксатора, струбцины, съемной приставки и соединительной скобы. Тягу с клином устанавливают и фиксируют на высоте, соответствующей требуемому положению упора, которое контролируется расположением ручки-фиксатора на шкале стойки. После этого фиксатор подвигают вплотную к стенке на дне стакана фундамента и крепят струбциной. Цифра на шкале, против которой находится ручка-фиксатор, показывает расстояние между стенкой стакана и концом упора. Оно должно соответствовать требуемому зазору между гранью колонны и стенкой стакана. При зазорах менее 80 мм съемная приставка снимается.

Для удобства работы стойки фиксаторов скреплены попарно соединительными скобами.

При установке колонны в стакан ее торец скользит по упору. После закрепления колонны вкладышами ручку-фиксатор ослабляют, тягу опускают, ослабляют винт струбцины и фиксатор извлекают из стакана.

Инвентарный клиновой вкладыш состоит из корпуса с гайкой и ручкой, винта с бобышкой и клина, подвешенного на шарнире.

Клиновые вкладыши устанавливают в зазоры между гранями колонны и стенками стакана фундамента. При зазорах более 90 мм применяются дополнительные приставки.

Работает клиновой вкладыш следующим образом. При вращении винта ключом под действием бобышки клин перемещается в корпусе на шарнире. В результате создается усилие распора между клином и корпусом.

Прежде чем заделать стык между колонной и фундаментом бетонной смесью на клиновой вкладыш устанавливают ограждение, которое извлекают из стакана сразу же после уплотнения смеси (при жестких бетонных смесях) или после начала схватывания.

После набора бетоном замоноличивания 70 % проектной прочности клиновой вкладыш вынимают за ручку, предварительно сняв распор вращением винта.


Затраты труда при установке колони

Обоснование

Наименование работ

Состав звена

Единица измерения

Затраты труда, чел.-ч

(Время работы машин, маш.-ч)

для колонн массой (в тоннах) до

2

3

4

6

8

10

15

20

25

30

ЕНиР, 1979 г., § 1-5, № 4, 5, 6 (применительно)

Выгрузка колонн и раскладка их краном

Такелажники 2 разр. - 2

1 колонка

0,14

(0,07)

0,16

(0,08)

0,17

(0,09)

0,20

(0,10)

0,24

(0,12)

0,26

(0,13)

0,34 (0,17)

0,42

(0,21)

0,48

(0,24)

0,56

(0,28)

ЕНиР, 1980 г., § 4-1-4, табл. 3, К = 0,8 по данным хронометража

Установка колонн в проектное положение при помощи крана

Монтажники 5 разр. - 1

4 разр. - 1

3 разр. - 2

2 разр. - 1

1 колонна

2,64

(0,53)

3,20

(0,64)

3,71

(0,74)

4,68

(0,93)

5,28

(1,05)

6,16

(1,28)

7,60

(1,52)

8,40

(1,68)

9,20

(1,84)

9,50

(1,90)

ЕНиР, 1980 г., § 4-1-18

Заделка стыков колонн с фундаментами:

 

 

 

 

 

 

 

 

 

 

 

 

 

вручную

Монтажники 4 разр. - 1

3 разр. - 1

1 стык

0,83

-

0,83

-

0,83

-

1,25

-

1,25

-

1,25

-

1,25

-

1,25

-

1,25

-

1,25

-

Расчетные данные ЦНИИОМТП

механизированным способом (пневмонагнетателем)

 

 

-

-

-

-

-

-

-

-

0,26

(0,13)

0,36

(0,18)

0,36

(0,18)

0,56

(0,28)

0,78

(0,39)

0,78 (0,39)

Всего: с заделкой стыков вручную

 

 

3,61

(0,60)

4,19

(0,72)

4,71

(0,83)

6,11

(1,03)

6,74

(1,17)

7,66

(1,36)

9,19

(1,69)

10,08

(1,89)

10,93

(2,08)

11,31

(2,18)

с заделкой стыков при помощи пневмонагнетателя

 

 

-

-

-

-

-

-

-

-

5,76

(1,30)

6,77

(1,54)

8,3

(1,87)

9,39

(2,17)

10,46

(2,47)

10,84

(2,57)

Типоразмеры и марки кранов и приспособлений, рекомендуемых для монтажа, разгрузки и раскладки колонн

Условные номера ячеек здания

Исходные данные для монтажа

Требуемые параметры кранов для монтажа

Гусеничные краны

Пневмоколесные краны

Приспособления (№ в приложении)

Разгрузка и раскладка конструкций

 

Масса, т

Длина колонны, м

Расчетная высота приспособления, м

Рекомендуемые

Заменяющие

Рекомендуемые

Заменяющие

вылет крюка, м

грузоподъемность, т

высота подъема крюка, м

марка крана

приспособления (№ в приложении)

монтируемого элемента

строповочного приспособления

марка

длина стрелового оборудования, м

марка

длина стрелового оборудования, м

 

Здания без кранов

 

1 - 19; 22 - 27; 30; 49 - 54; 57 - 58

4,7

0,181

4 - 8,1

1,25

4

4,9

5,8 - 9,9

МКГ-16М

10

МКГ-16М

МКА-10М

10

КС-4361А

5; 36

МКА-10М

4

 

28; 29; 31; 32; 33; 55; 56; 59; 60

5,2 - 6,2

0,181

6,9 - 8,1

1,25

4

5,4 - 6,4

8,7 - 9,9

МКГ-16М

10

МКГ-16М

МКА-10М

10

КС-4361А

5; 36

МКА-10М

4

 

20; 21; 34 - 41; 61 - 68

5,8 - 7,9

0,181

8,6 - 10,5

1,25

4

6,0 - 8,1

10,4 - 12,3

МКГ-16М

15

МКГ-16М

КС-4362

12,5

КC-4361A

5; 36

МКА-10М

4

 

42 - 45; 69 - 72

7,9 - 8,3

0,345

11,2 - 11,8

1,7

4

8,3 - 8,7

13,4 - 14,0

МКГ-16М

15

МКГ-16М

МКП-25А

19,1

КС-5363

6; 36

МКА-10М

4

 

46 - 48; 73 - 75

9,1

0,345

13

1,7

4

9,5

15,2

РДК-25

17,5

МКГ-25, МКГ-25БР

МКП-25А

19,1

КС-5363

6; 36; 38

МКА-10М

4

 

76 - 78

10

0,345

14,2

1,7

4

10,4

16,4

РДК-25

БС 12,5 + 10

МКГ-25, МКГ-25БР

МКП-25А

19,1

КС-5363

6; 36; 38

КС-4561

4

 

79 - 81

10,4 - 10,8

0,345

14,8 - 15,4

1,7

4

10,8 - 11,2

17 - 17,6

РДК-25

БС 12,5 + 10

МКГ-25, МКГ-25БР

МКП-25А

19,1

КС-5363

6; 36; 38

КС-4561

4

 

Здания, оборудованные мостовыми кранами

 

92 - 105

7

0,345

9,4

1,7

3,5

7,4

11,6

МКГ-16М

18

МКГ-16

КС-4362

14

КС-4361А

6; 36

КС-4561

4

 

83 - 93; 104 - 114

5,3 - 13,2

0,345

8,7 - 11,8

1,7

3,5

5,7 - 13,6

10,9 - 14

РДК-25

17,5

МКГ-25, МКГ 25БР

МКП-25А

19,1

КС-5363

6; 36

КС-4561

4

 

94 - 96; 115 - 117

8,1 - 13,3

0,32

12,6 - 13,3

1,7

3,5

8,5 - 13,7

14,8 - 15,5

РДК-25

17,5

МКГ-25, МКГ-25БР

МКП-25А

19,1

КС-5363

7; 34; 35; 38

КС-4561

4

 

97 - 118

8,9 - 13,8

0,32

13,9 - 14,7

1,7

3,5

9,3 - 14,2

16,1 - 16,9

РДК-25

БС 12,5 + 10

МКГ-25, МКГ-25БР

МКП-25А

19,1

КС-5363

7; 34; 35; 38

КС-4561

4

 

98; 99; 119; 120

14,7

0,32

14,7

1,7

3,5

15,1

16,9

РДК-25

БС 12,5 + 10

МКГ-25, МКГ-25БР

МКП-25А

19,1

КС-6362

7; 34; 35; 38

КС-4561

4

 

100 - 102; 121 - 123

9,7 - 18,8

0,451

15,1 - 15,8

1,8

3,5

10,2 - 19,3

17,4 - 18,1

РДК-25

БС 12,5 + 10

СКГ-40А

КС-6362

20

КС-6362

8; 34; 35; 38

РДК-250.1 КС-5363

8

 

124 - 129

14 - 24

0,451

16,4 - 18,4

1,8

4

14,5 - 24,5

18,7 - 20,7

СКГ-63А

25

СКГ-63

МКТ-40

20

МКТ-40

8; 34; 35; 38

СКГ-63А МКТ-40

8

 

130 - 132

21,8 - 26,6

0,451

19 - 19,7

1,8

4

22,2 - 27,1

21,3 - 22

СКГ-63А

25

СКГ-63

КС-6362

35

МКТ-100

8; 35; 34; 38

СКГ-63А МКТ-40

8

 


Выгрузка и предварительная раскладка колонн в зданиях пролетами 6, 9 и 12 м

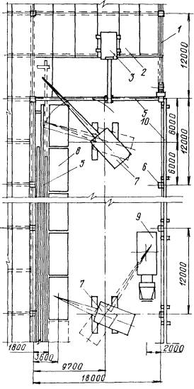
Схемы движения крана и автомобиля при раскладке колонн

 направление движения крана;

 направление движения автомобиля

1 - стаканы фундамента; 2 - колонны; 3 - кран; 4 - автомобиль; 5 - траверса

Выгрузка и предварительная раскладка колонн в зданиях пролетами 18, 24 и 30 м

Схема движения крана и автомобиля

 направление движения крана;

 направление движения автомобиля

1 - стаканы фундаментов; 2 - колонны; 3 - кран; 4 - автомобиль; 5 - траверса

Схема установки колонн

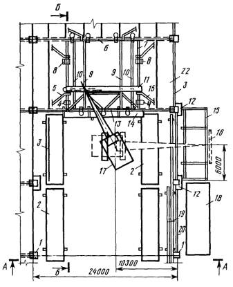
Схемы движения крана при установке колонн

В пролетах 18, 24 и 30 м

1 - стаканы фундаментов; 2 - колонны; 3 - кран; 4 - траверса

Схемы установки армобетонных прокладок

δ = H - h - L, где

δ - зазор между дном стакана и колонной;

H - проектная отметка консоли или верха колонны;

h - фактическая отметка дна стакана фундамента;

L - фактический размер от консоли или верха колонны до ее низа.

Величина зазора δ, мм

30 - 35

35 - 45

45 - 55

55 - 65

65 - 75

75 - 85

85 - 95

Количество подкладок толщиной, мм

20

-

2

1

-

2

1

-

30

1

-

1

2

1

2

3

Схемы установки инвентарных фиксаторов и клиновых вкладышей

Колонны прямоугольного сечения

Двухветвевые колонны

1 - колонны; 2 - стаканы фундаментов; 3 - армобетонные подкладки; 4 - клиновые вкладыши; 5 - инвентарные фиксаторы

Схемы временного крепления расчалками колонн длиной более 12 м

1 - фундаменты; 2 - колонны; 3 - расчалки с винтовой стяжкой; 4 - стропы; 5 - клиновые вкладыши; 6 - петля; 7 - переносной железобетонный якорь

Примечание. При креплении расчалки за ранее установленную колонну стык должен быть замоноличен и иметь прочность бетона не менее 70 % проектной

Клиновой вкладыш

9 - корпус; 10 - бобышка; 11 - гайка; 12 - винт; 13 - ключ; 14 - ручка; 15 - шарнир; 16 - клин

Приставка

Ширина зазора между гранью колонны и стенкой стакана, мм

Толщина применяемой приставки, мм

55 - 95

-

95 - 130

36

130 - 160

70

160 - 200

105

Инвентарный фиксатор

Длина фиксатора, мм

Глубина стакана, мм

1285

550 - 800

1535

800 - 1350

Ограждение клинового вкладыша

1 - тяга с клином; 2 - упор; 3 - струбцина; 4 - стойка; 5 - ручка-фиксатор; 6 - соединительная скоба; 7 - пластина из прорезиненного текстильного корда; 8 - накладка; 9 - ручка; 10 - кожух; 11 - заклепка

МОНТАЖ СТАЛЬНЫХ ПОДКРАНОВЫХ БАЛОК

Технологические схемы разработаны для стальных подкрановых балок промышленных зданий пролетами 18 и 24 м унифицированных габаритных схем высотой до низа стропильных конструкций от 8,4 до 18 м.

В схемах рассмотрены конструктивные решения и технология монтажа стальных разрезных подкрановых балок длиной 6 и 12 м серии 1.426-1 под мостовые краны общего назначения грузоподъемностью от 5 до 50 т для одноэтажных промышленных зданий с железобетонные каркасом.

Конструктивные решения

Для изготовления подкрановых балок используются широкополочные двутавровые несимметричные балки - для пролетов 6 м и симметричные - для пролетов 12 м. Конструкция балок предусматривает центральное опирание их на колонны через опорные ребра. Узлы опирания показаны на схеме.

Балки между собой и с колоннами соединяются болтами, а с колоннами связевых ячеек здания - сваркой. Опираются подкрановые балки на закладные детали консолей колонн.

Для обеспечения жесткости в горизонтальной плоскости к верхним поясам подкрановых балок длиной 12 м крепят тормозные фермы. Панели ферм имеют горизонтальные связи, закрепляемые на балках через каждые 1,5 м. Балки длиной 6 м тормозных ферм не имеют.

Характеристика стальных подкрановых балок приведена ниже.

Подкрановые балки изготовляют в соответствии с требованиями главы СНиПа III-18-75 «Металлические конструкции».

Характеристика стальных подкрановых балок

Грузоподъемность крана, т

Длина балок, м

6

12

Высота, мм

Масса, т

Высота, мм

Масса, т

До 20

800

0,605; 0,66

1100

1,975; 2,325

30 - 50

1300

0,995; 1,265

1600

2,93; 3,85

Технологические схемы установки подкрановых балок

Балки при выгрузке укладывают на деревянные подкладки под углом к оси колонн. Такое расположение дает возможность осмотреть их и подготовить торцы балок перед началом укрупнения и установки.

Установку подкрановых балок по каждому ряду колонн следует начинать в связевой ячейке.

Подкрановые балки можно устанавливать с последующей выверкой и безвыверочным методом.

В первом случае балки устанавливают на всю длину температурного блока. После временного крепления выверяют отметку их верха на опорах. Если отклонения превышают 5 мм по сравнению с наиболее высокой отметкой, под остальные опоры балок подкладывают стальные прокладки.

Для обеспечения проектного положения балок длиной 6 м рекомендуется применять устройство конструкции ЦНИИОМТП.

При безвыверочном методе сборные железобетонные колонны изготовляют с уменьшением на 20 мм по сравнению с проектным расстоянием от низа колонны до верха подкрановой консоли. В этом случае на дно стакана фундамента подливают бетонную (растворную) смесь до проектной отметки с точностью ±5 мм.

На боковую грань колонны после ее установки на расстоянии около 1,5 м от земли переносят отметки опорной поверхности консолей колонн, что облегчает геодезический контроль.

Перед установкой подкрановой балки на консоль колонны непосредственно на закладную деталь между анкерными болтами укладывают стальные подкладки - компенсаторы толщиной 6 - 10 мм для приведения уровня опорной поверхности консолей в соответствие с проектным с точностью ±5 мм. Это позволяет устанавливать и окончательно закреплять подкрановые балки без выверки их по высоте.

Схемы монтажа подкрановых балок разработаны в двух вариантах - отдельными элементами и укрупненными блоками.

Для балок длиной 6 м даны схемы установки отдельными элементами. Представлены схемы выгрузки и раскладки балок автомобильным краном с длиной стрелы 10 м. Двигаясь вдоль пролета здания, кран выгружает и раскладывает балки попеременно вдоль двух рядов колонн: сначала по ходу движения выгружает балки вдоль первого ряда, затем перемещается на 2 м влево и выгружает балки в сторону второго ряда колонн. Потом кран возвращается в сторону первого ряда колонн и т.д. Такой порядок выгрузки конструкций позволяет приступать к установке подкрановых балок не дожидаясь завоза конструкций на весь пролет.

Представлены схемы установки балок монтажным краном.

Предварительно к колоннам крепят приставные или навесные лестницы-площадки. В это же время монтажники очищают балки от грязи, закрепляют предохранительный канат и готовят инструмент. Затем, привязав оттяжки, стропят балку. По сигналу бригадира монтажников машинист поднимает и подает балку к месту установки; монтажники при помощи оттяжек придают балке близкое к проектному положение, удерживая ее на высоте 15 см от опорной поверхности. Монтажники, стоящие на лестницах-площадках, ориентируясь по рискам, устанавливают балку в проектное положение. Проверив правильность положения балки в плане, ее крепят четырьмя болтами. После этого по сигналу бригадира машинист ослабляет натяжение ветвей стропа и монтажники расстроповывают балку, а бригадир еще раз проверяет правильность ее закрепления. В это время два других монтажника готовят к подъему следующую балку.

Схемы установки подкрановых балок длиной 12 м разработаны в двух вариантах: отдельными элементами и укрупненными блоками. Представлены также схемы движения транспортных средств и крана.

Подкрановые балки складируют между колоннами на деревянных подкладках. Тормозные фермы рекомендуется завозить на строительную площадку одновременно с подкрановыми балками. Это позволяет избегать лишних перемещений крана.

Как основной вариант в технологических схемах приведена установка балок блоками длиной 12 м, укрупненными в заводских условиях. В зону монтажа доставляют по два блока.

При доставке на строительную площадку отдельных конструктивных элементов балок для пролетов 12 м предусматривается укрупнительная сборка в зоне установки балок длиной 12 м для балок крайнего и среднего рядов гусеничным краном с длиной стрелы 10 м. Края располагают с учетом возможности укрупнения двух блоков (без перемещения стенда) и складирования их в зоне работы крана.

Сборочный стенд устанавливают на деревянную подкладку, выверяют, затем краном укладывают на него балку и временно крепят ее, после чего устанавливают пояс тормозной фермы и крепят его к балке. Далее по верхнему поясу подкрановой балки и поясу тормозной фермы раскладывают и приваривают отправочные марки. Вслед за этим демонтируют съемные инвентарные элементы.

По окончании укрупнительной сборки блока крепят болтами два временных подкоса из угловой стали размером 150´150´50 мм - одним концом к нижнему поясу подкрановой балки, а другим - к поясу тормозной фермы. Эти подкосы необходимы для подъема блока к месту установки, после установки блока в проектное положение их снимают.

Со сборочного стенда блок снимают краном и укладывают в зоне работы монтажного крана, а монтажники начинают на этом же стенде сборку второго блока в той же последовательности. После этого стенд переносят краном на 24 м (два шага колонн) для укрупнительной сборки других блоков. Технология укрупнительной сборки блоков подкрановых балок для крайнего и среднего рядов колонн аналогична.

Последовательность установки укрупненных блоков такова. Предварительно навешивают на колонны или приставляют к ним лестницы-площадки. Монтажники очищают от грязи и наледи укрупненный блок, натягивают страховочный канат для обеспечения безопасности производства работ, готовят инструмент.

Затем, привязав оттяжки, стропят блок. По сигналу бригадира монтажников машинист поднимает блок над колоннами на 0,5 м, а монтажники при помощи оттяжек придают ему необходимое положение и опускают к месту установки, удерживая на высоте около 15 см от опорной поверхности. Монтажники, стоящие на лестницах-площадках, ориентируясь по рискам, приводят блок в проектное положение и, проверив правильность его положения, закрепляют четырьмя болтами.

По сигналу бригадира машинист крана ослабляет натяжение ветвей стропа. Два монтажника расстроповывают блок, а бригадир еще раз проверяет правильность его закрепления.

Затем монтажники устанавливают следующие блоки подкрановых балок в такой же технологической последовательности.

Геодезический контроль и обеспечение точности монтажа стальных подкрановых балок

Размеры подкрановых балок, доставленных на площадку, должны быть проверены компарированной стальной рулеткой. На все опорные поверхности балок необходимо нанести несмываемой краской установочные риски продольных осей. Погрешность контрольных измерений не должна превышать 10 % величины допускаемого отклонения от проекта по каждому контролируемому параметру.

Балки в проектное положение устанавливают по осевым рискам на балках и консолях колонн и временно раскрепляют при помощи анкерных болтов. Окончательную выверку производят в пределах монтажной захватки или температурного блока при помощи геодезических инструментов: по высоте - нивелиром, установленным на тормозной конструкции; в плане - по теодолиту или по стальной проволоке, натянутой на 0,8 - 1 м выше уровня подкрановых балок по оси подкранового пути и закрепленной на крайних колоннах к кронштейнам; напротив каждой колонны с проволоки опускают отвес. Используют также лазерный визир ЛВ-5М, который устанавливают на тормозную конструкцию и ориентируют по оси балки; выверка балки производится по лазерному пучку в плане и по высоте.

Расстояния между осями установленных балок измеряют компарированной рулеткой с двукратным смещением мерного прибора, внося поправку на провисание рулетки и температуру. Смещения балок и рельсов в плане контролируют методом бокового нивелирования с помощью теодолита и рейки, а их положение по высоте - методом геометрического нивелирования. Средняя погрешность при проверке точности размеров подкрановых балок и рельсов не должна превышать 20 % допускаемого отклонения по контролируемому размеру.

При установке стальных подкрановых балок допускаются следующие отклонения в мм:

Отклонение расстояния между осями подкрановых

рельсов одного пролета................................................................ ±10

Смещение оси подкранового рельса с оси подкрановой

балки.................................................................................................. 15

Отклонение оси подкранового рельса от прямой

на участке длиной 40 м.................................................................... 15

Разность отметок головки подкрановых рельсов

в одном разрезе пролета здания:

на опорах........................................................................................... 15

в пролете........................................................................................... 20

Разность отметок подкрановых рельсов на соседних

колоннах при расстоянии между колоннами

менее 10 м......................................................................................... 10

более 10 м......................................................................................... 1/1000 длины

                                                                                                            балки, но не

                                                                                                            более 15 мм

Взаимное смещение торцов смежных подкрановых

рельсов по высоте и в плане........................................................... 2

Устройство для выверки подкрановых балок

Устройство для выверки подкрановых балок длиной 6 м состоит из жесткой рамы с направляющими и двух стоек. В направляющих рамы передвигается плита, на которой установлен гидравлический домкрат. К штоку домкрата прикреплена верхняя траверса, соединенная посредством тяг с нижней траверсой. К последней подвешены два крюка с канатами.

Рама изготовлена из стального проката. С боков к ней прикреплены кронштейны для подъема и опускания роликов. В кронштейне со стороны стыковки с рамой имеется паз, куда вставляют линейку для вертикальной выверки балки. К передней части рамы прикреплен подшипник со штурвалом и гайкой. Через штурвал проходит винт, жестко соединенный одним концом с плитой. При вращении штурвала винт перемещается вдоль рамы, передвигая плиту по направляющим. С противоположной стороны к раме приварен упор из угловой стали, с помощью которого рама цепью крепится к колонне.

В комплект устройства входят три пары сменных стоек. В зависимости от высоты балки (680; 850 и 1050 мм) используют стойки высотой соответственно 955, 1125 и 1325 мм.

Выверку подкрановых балок с помощью устройства выполняют два монтажника. Сначала устройство монтажным краном устанавливают на торец подкрановой балки. Перемещают устройство вдоль балки на роликах вручную при помощи веревки.

Для выверки балки устройство устанавливают на консоль колонны и закрепляют страховочной цепью. Верхний пояс балки захватывается клещевыми крюками устройства. Смещение балки по высоте и в плане производится при помощи домкрата и горизонтального винта. По окончании выверки под балку укладывают подкладки и закрепляют ее анкерными болтами. Далее траверсу опускают, выводят крюки из зацепления, устройство поднимают и на роликах перекатывают по балке к следующей колонне.


Затраты труда на монтаж одной стальной подкрановой балки (отдельным элементом) по колоннам

Обоснование

Наименование работ

Состав звена

Затраты труда, чел.-ч

(Время работы машин, маш.-ч)

Крайний и средние ряды колонн

Крайний ряд колонн без стойки фахверка

Крайний ряд колонн со стойкой фахверка

Средний ряд колонн

Балки пролетом 6 м, массой, т

Балки пролетом 12 м, массой, т

0,605

0,66

0,995

1,265

1,975

2,325

2,93

3,85

1,975

2,325

2,93

3,85

1,975

2,325

2,93

3,85

Расчетные данные цнииомТЦ

Выгрузка и раскладка элементов

Монтажники

6 разр. - 1

5 разр. - 1

3 разр. - 1

0,42

(0,14)

0,46

(0,15)

0,69

(0,23)

0,45

(0,15)

1,37

(0,46)

1,50

(0,50)

1,71

(0,57)

2,04

(0,68)

1,06

(0,36)

1,19

(0,40)

1,41

(0,47)

1,75

(0,58)

0,86

(0,28)

0,99

(0,33)

1,20

(0,40)

1,54

(0,51)

То же

Установка балок в проектное положение

Монтажники

6 разр. - 1

5 разр. - 2

4 разр. - 3

3 разр. - 1

Электросварщик

5 разр. - 1

12,91

(2,73)

12,99

(2,73)

13,40

(2,80)

13,74

(2,85)

30,22

(5,64)

30,42

(5,68)

31,18

(5,78)

32,53

(5,95)

26,51

(5,86)

26,71

(5,90)

27,47

(6,00)

28,58

(6,16)

23,74

(4,58)

24,23

(4,64)

24,96

(4,75)

26,11

(4,92)

Итого

13,33

(2,87)

13,45

(2,88)

14,09

(3,03)

14,19

(3,05)

31,59

(6,10)

31,92

(6,18)

32,89

(6,35)

34,57

(6,63)

27,57

(6,22)

27,90

(6,30)

28,88

(6,47)

30,33

(6,74)

24,6

(4,86)

25,22

(4,97)

26,16

(5,15)

27,65

(5,43)

Примечание. Затраты труда определены для подкрановых балок с максимальной массой.

Затраты труда и время работы крана при монтаже подкрановых балок крайнего ряда колонн пролетом 12 м укрупненными блоками (без стоек фахверка)

Обоснование

Наименование работ

Состав звена

Единица измерения

Норма времени на единицу измерения, чел.-ч

Балки массой, т

1,975

2,325

2,93

3,85

Объем работ

Затраты труда, чел.-ч

Время работы крана, (маш.-ч)

Объем работ

Затраты труда, чел.-ч

Время работы крана, (маш.-ч)

Объем работ

Затраты труда, чел.-ч

Время работы крана, (маш.-ч)

Объем работ

Затраты труда, чел.-ч

Время работы крана, (маш.-ч)

ЕНиР, 1979 г., § 5-1-1, № 4

Выгрузка и раскладка балок в зоне монтажа

Монтажники

6 разр. - 1

5 разр. - 1

3 разр. - 1

1 т

0,36

1,975

0,71

(0,24)

2,325

0,84

(0,28)

2,93

1,05

(0,35)

3,85

1,38

(0,46)

ЕНиР, 1979 г., § 5-1-1, № 3

Выгрузка и раскладка тормозных ферм и поясов

Монтажники

6 разр. - 1

5 разр. - 1

3 разр. - 1

1 т

0,7

0,948

0,66

(0,22)

0,948

0,66

(0,22)

0,948

0,66

(0,22)

0,948

0,66

(0,22)

ЕНиР, 1979 г., § 5-1-1, № 3

Установка сборочного стенда

Монтажники

6 разр. - 1

5 разр. - 1

3 разр. - 1

1 т

0,7

0,6

0,42

(0,14)

0,6

0,42

(0,14)

0,6

0,42

(0,14)

0,6

0,42

(0,14)

ЕНиР, 1979 г., § 5-1-5, e

Укрупнительная сборка балки и тормозной фермы с поясом

Монтажники

6 разр. - 1

5 разр. - 1

4 разр. - 2

2 разр. - 1

1 эл.

1 т

1,45

1,25

4

2,923

9,45

(1,9)

4

3,273

9,9

(1,98)

4

3,878

10,64

(2,13)

4

4,798

11,8

(2,36)

ЕНиР, 1979 г., § 5-1-4, а, б

Установка и разборка временных подкосов

Монтажники

4 разр. - 1

3 разр. - 3

1 шт.

1,3

2

2,6

(0,65)

2

2,6

(0,65)

2

2,6

(0,65)

2

2,6

(0,65)

ЕНиР, 1979 г., § 5-1-12, ж

Укладка рельсов с постоянным закреплением

Монтажники

6 разр. - 1

4 разр. - 2

3 разр. - 1

1 м

0,72

12

8,64

(2,16)

12

8,64

(2,16)

12

8,64

(2,16)

12

8,64

(2,16)

ЕНиР, 1979 г., § 5-1-6, № 1, 2б

Установка укрупненного блока на колонну

Монтажники

6 разр. - 1

5 разр. - 2

4 разр. - 3

2 разр. - 1

1 эл.

1 т

3,5

0,48

1

2,923

4,9

(0,7)

1

3,273

5,07

(0,72)

1

3,878

5,36

(0,77)

1

4,798

5,8

(0,83)

ЕНиР, 1979 г., § 5-1-6, № 1, 2к

Выверка укрупненного блока с постоянным закреплением

Монтажники

6 разр. - 1

5 разр. - 2

4 разр. - 3

2 разр. - 1

1 эл.

1 т

1,7

0,77

1

2,923

3,95

(0,56)

1

3,273

4,22

(0,6)

1

3,878

4,68

(0,67)

1

4,798

5,39

(0,77)

ЕНиР, 1979 г., § 22-1,

К = 1,25,

К = 1,1

Электросварка вручную стальных элементов толщиной более 6 мм в неудобных условиях работы

Электросварщик

5 разр. - 1

10 м шва

3,29

0,1

0,33

-

0,1

0,33

-

0,1

0,33

-

0,1

0,33

 

ЕНиР, 1979 г., § 5-1-1, № 4

Выгрузка и раскладка рельсов

Монтажники

6 разр. - 1

5 разр. - 1

3 разр. - 1

1 т

0,36

0,84

0,3

(0,1)

0,84

0,3

(0,1)

0,84

0,3

(0,1)

0,84

0,3

(0,1)

Итого

31,96

(6,7)

 

32,98

(6,85)

 

34,7

(7,2)

 

37,3

(7,69)

Затраты труда на монтаж подкрановых балок среднего ряда колонн пролетом 12 м укрупненными блоками

Обоснование

Наименование работ

Состав звена

Единица измерения

Норма времени на единицу измерения, чел.-ч

Балки массой, т

1,975

2,325

2,93

3,85

Объем работ

Затраты труда, чел.-ч

Время работы крана, (маш.-ч)

Объем работ

Затраты труда, чел.-ч

Время работы крана, (маш.-ч)

Объем работ

Затраты труда, чел.-ч

Время работы крана, (маш.-ч)

Объем работ

Затраты труда, чел.-ч

Время работы крана, (маш.-ч)

ЕНиР, 1979 г., § 5-1-1, № 4

Выгрузка и раскладка двух подкрановых балок

Монтажники

6 разр. - 1

5 разр. - 1

3 разр. - 1

1 т

0,36

3,95

1,4

(0,47)

4,65

1,67

(0,56)

5,86

2,1

(0,7)

7,7

2,77

(0,92)

ЕНиР, 1979 г., § 5-1-1, № 3

То же, двух тормозных ферм

Тот же

1 т

0,7

0,42

0,29

(0,1)

0,12

0,29

(0,1)

0,42

0,29

(0,1)

0,42

0,29

(0,1)

ЕНиР, 1979 г., § 5-1-1, № 3

Установка сборочного стенда

-"-

1 т

0,7

0,6

0,42

(0,14)

0,6

0,42

(0,14)

0,6

0,42

(0,14)

0,6

0,42

(0,14)

ЕНиР, 1979 г., § 5-1-5, е

Укрупнительная сборка балок и тормозных ферм

Монтажники

6 разр. - 1

5 разр. - 1

4 разр. - 2

2 разр. - 1

1 эл.

1 т

1,45

1,25

4

4,37

11,26

(2,25)

4

5,07

12,14

(2,43)

4

6,28

13,65

(2,73)

4

8,12

15,95

(3,19)

ЕНиР, 1979 г., § 5-1-4, а, б

Разборка съемных элементов

Монтажники

4 разр. - 1

3 разр. - 3

1 эл.

1,3

4

5,2

(1,3)

4

5,2

(1,3)

4

5,2

(1,3)

4

5,2

(1,3)

ЕНиР, 1979 г., § 5-1-12, ж

Укладка рельсов с постоянным закреплением

Монтажники

6 разр. - 1

4 разр. - 2

3 разр. - 1

1 м

0,72

12

8,64

(2,16)

12

8,64

(2,16)

12

8,64

(2,16)

12

8,64

(2,16)

ЕНиР, 1979 г., § 5-1-6, № 1, 2б

Установка укрупненного блока на колонну

Монтажники

6 разр. - 1

5 разр. - 2

4 разр. - 3

2 разр. - 1

1 эл.

1 т

3,5

0,48

1

4,37

5,6

(0,8)

1

5,07

5,94

(0,85)

1

6,28

6,51

(0,93)

1

8,12

7,4

(1,06)

ЕНиР, 1979 г., § 5-1-6, № 1, 2к

Выверка укрупненного блока с постоянным закреплением

То же

1 эл.

1 т

1,7

0,77

1

4,37

5,07

(0,72)

1

5,07

5,6

(0,8)

1

6,28

6,54

(0,93)

1

8,12

7,95

(1,14)

ЕНиР, 1979 г., § 22-1,

К = 1,25

К = 1,1

Электросварка вручную стальных элементов толщиной более 6 мм в неудобных условиях работы

Электросварщик

5 разр. - 1

10 м шва

3,29

0,2

0,66

-

0,2

0,66

-

0,2

0,66

-

0,2

0,66

-

ЕНиР, 1979 г., § 5-1-1, № 4

Выгрузка и раскладка рельсов

Монтажники

6 разр. - 1

5 разр. - 1

3 разр. - 1

1 т

0,36

1,68

0,61

(0,2)

1,68

0,61

(0,2)

1,68

0,61

(0,2)

1,68

0,61

(0,26)

Итого

39,15

(8,14)

 

41,17

(8,54)

 

44,62

(9,19)

 

49,89

(10,21)

Параметры и марки кранов и приспособлений, рекомендуемых для монтажа стальных подкрановых балок отдельными элементами длиной 6 и 12 м

Условные номера ячеек здания

Исходные данные монтажа

Требуемые параметры

Гусеничные краны

Пневмоколесные краны

Приспособление (№ в приложении)

Разгрузка, раскладка и укрупнение

 

Масса, т

Высота, м

(длина), м

вылет крюка, м

грузоподъемность, т

высота подъема крюка, м

Рекомендуемые

Заменяющие

Рекомендуемые

Заменяющие

монтируемого элемента

строповочного приспособления

верха нижележащего элемента*

монтируемого элемента

строповочного приспособления

марка крана

приспособление (№ в приложении)

марка

длина стрелового оборудования, м

марка

длина стрелового оборудования, м

82; 86; 90; 103; 107;

0,61; 0,66; 1; 1,27

0,15

5,6; 7,4

0,68; 0,68; 0,85; 1,05

5,3

7

0,8; 0,9; 1,2; 1,5

12,1 - 13,9; 12,1 - 14,0; 12,2 - 14,2; 12,4 - 14,2

МКГ-16М

18

МКГ-10

КС-4361А

22

МКА-10М

26; 42; 64; 43

КС-3561А

26

 

83; 84; 85; 87; 88; 89; 91; 92; 93; 94; 95; 96; 97; 98; 99; 100; 101; 102; 104; 105; 106; 108; 109; 110; 112; 113; 114; 115; 116; 117; 118; 119; 120; 121; 122; 123; 124; 125; 126

1,98; 2,33; 2,92; 3,85

0,15

5,6; 7,4; 8,6; 9,8; 10,7; 11,9

1,05; 1,3; 1,45; 1,65

5,3

7

2,2; 2,5; 3,1; 4,0

12,4 - 18,7; 12,6 - 18,9; 12,8 - 19,1; 13,0 - 19,3

МКГ-16М

23

МКГ-10 МКГ-16М

КС-4362

22

МКА-16

26; 42; 45; 64; 43

КС-3561А

26

 

127; 128; 129; 130; 131; 132

1,98; 2,33; 2,92; 3,85

0,15

13,1 - 14,3

1,05; 1,3; 1,45; 1,65

5,3

7

2,2; 2,5; 3,1; 4,0

20,0 - 21,2; 20,2 - 21,4; 20,4 - 21,6; 20,6 - 21,8

МКГ-16М

23 + 2,3

23 + 2,3

МКГ-16М

КС-4362

БС 16,6 + 10

МКА-10М

26; 45; 64; 43

КС-3561А

26

* За отметку верха нижележащего элемента принят оголовок колонны.

Параметры и марки кранов и приспособлений, рекомендуемых для монтажа стальных подкрановых балок объемными блоками длиной 12 м

Условные номера ячеек здания

Исходные данные для монтажа

Требуемые параметры

Гусеничные краны

Пневмоколесные краны

Приспособление (№ в приложении)

Разгрузка, раскладка и укрупнение

Масса, т

Высота (длина), м

вылет крюка, м

грузоподъемность, т

высота подъема крюка, м

Рекомендуемые

Заменяющие

Рекомендуемые

Заменяющие

 

монтируемого элемента

строповочного приспособления

верха нижележащего элемента*

монтируемого элемента

строповочного приспособления

марка

длина стрелового оборудования, м

марка крана

приспособление (№ в приложении)

марка

длина стрелового оборудования

 

83; 84; 85; 104; 105; 106

4,37; 5,07; 6,28; 8,12

0,15

8,4

1,05; 1,3; 1,45; 1,65

5,3

3,7

4,51; 5,21; 6,42; 8,26

15,8; 15,3; 15,58; 15,78

МКГ-16М

18

МКГ-16М

КС-4362

18

МКА-16

26; 42; 64; 43

МКГ-16М

26

 

87; 88; 89; 91; 92; 93; 108; 109; 110; 112; 113; 114

4,37; 5,07; 6,28; 8,12

0,15

9,6; 10,8

1,05; 1,3; 1,45; 1,65

5,3

4,1

4,51; 5,21; 6,42; 8,26

16,38 - 17,58; 16,58 - 17,88; 16,78 - 17,98; 16,98 - 18,18

МКГ-16М

18

МКГ-16М

КС-4362

22

МКА-16

26; 43; 45; 64

МКГ-16М

26

 

94; 95; 96; 97; 98; 99; 115; 116; 117; 118; 119; 120

4,37; 5,07; 6,28; 8,12

0,15

12; 13,2

1,05; 1,3; 1,45; 1,65

5,3

4,9; 5,3

4,51; 5,21; 6,42; 8,26

18,78 - 19,98; 19,08 - 20,28; 19,18 - 20,38; 19,38 - 20,56

МКГ-16М

23

МКГ-16М

КС-4362

22

МКА-16

26; 43; 45; 64

МКГ-16М

26

 

100; 101; 102; 121; 122; 123

4,37; 5,07; 6,28; 8,12

0,15

14,4

1,05; 1,3; 1,45; 1,65

5,3

5,8

4,51; 5,21; 6,42; 8,26

21,15; 21,4; 21,55; 21,75

МКГ-16М мкг-25БР

23; 23,5

МКГ-16М МКГ-25

КС-4363 МКП-25А

22; 22,1

КС-5363

26; 43; 45; 64

МКГ-16М

26

 

124; 125; 126; 127; 128; 129; 130; 131; 132

4,37; 5,07; 6,28; 8,12

0,15

15,6

1,05; 1,3; 1,45; 1,65

5,3

6,2 - 7

4,51; 5,21; 6,42; 8,26

22,38 - 24,78; 22,68 - 25,08; 22,78 - 25,19; 22,98 - 25,38

МКГ-25БР, МКП-25БР

23,5; 28,5

МКГ-25

МКП-25А

22,1

КС-5363

26; 43; 45; 64

МКГ-16М

26

 

* За отметку верха нижележащего элемента принят оголовок колонны.


Установка для выверки уложенных подкрановых балок (конструкция ЦНИИОМТП)

1 - консоль колонны; 2 - подкрановая балка; 3 - стойка рамы; 4 - нижняя траверса; 5 - кронштейн; 6 - рама; 7 - плита; 8 - домкрат; 9 - тяга; 10 - верхняя траверса; 11 - ролик для перекатывания установки; 12 - закладная деталь колонны

Схемы и узлы крепления тормозных ферм для подкрановых балок пролетом 12 м по крайним рядам колонн

1 - оси ряда колонн; 2 - фермы; 3 - колонны; 4 - стойки фахверка; 5 - пояса тормозных ферм; 6 - подкрановые балки; 7 - съемные элементы; 8 - оси температурных швов; 9 - упорные коротыши; 10 - оси колонн

Схемы и узлы крепления тормозных ферм подкрановых балок пролетом 12 м по средним рядам колонн

1 - оси рядов колонн; 2 - тормозные фермы; 3 - колонна; 4 - вертикальная связь; 5 - ось температурного шва; 6 - ось подкрановой балки; 7 - оси колонн; 8 - упорные коротыши с овальными отверстиями 23´40 мм; 9 - съемные элементы

Примечания.

1. По варианту I тормозные фермы крепят к подкрановым балкам на заводе. Перевозят и монтируют балки вместе с тормозными фермами.

2. По варианту II тормозные фермы изготовляют и монтируют отдельно от подкрановых балок.

Схема выгрузки и раскладки подкрановых балок пролетом 6 м при установке их отдельными элементами

1 - колонна крайнего ряда; 2 - колонна среднего ряда; 3 - подкрановая балка; 4 - деревянная подкладка; 5 - балковоз; 6 - автомобильный кран; 7 - оттяжка; 8 - строп

Схема установки подкрановых балок пролетом 6 м отдельными элементами

1 - колонна крайнего ряда; 2 - приставные лестницы; 3 - подкрановые балки; 4 - деревянные подкладки; 5 - монтажный кран; 6 - колонна среднего ряда; 7 - стойка со страховочным канатом; 8 - строп; 9 - монтажная лестница; 10 - оттяжка; 11 - место крепления приставной лестницы к колонне

Схема выгрузки и раскладки подкрановых балок пролетом 12 м при установке их отдельными элементами

1 - колонны крайнего ряда; 2 - стойки фахверка; 3 - подкрановые балки; 4 - деревянные подкладки; 5 - автомобильный кран; 6 - транспортное средство; 7 - тормозная ферма; 8 - пояс тормозной фермы; 9 - колонны; 10 - строп; 11 - оттяжка

 направление движения крана;

 то же, транспортного средства

Схема монтажа подкрановых балок пролетом 12 м отдельными элементами по колоннам крайнего ряда со стойками фахверка

1 - колонны крайнего ряда; 2 - стойки фахверка; 3 - подкрановые балки; 4 - тормозные фермы; 5 - приставные лестницы; 6 - деревянная подкладка; 7 - автомобильный кран; 8 - строп; 9 - стойки со страховочным канатом; 10 - монтажная лестница; 11 - оттяжка; 12 - места крепления приставной лестницы к колонне

Схема монтажа подкрановых балок пролетом 12 м отдельными элементами по колоннам крайнего ряда без стоек фахверка

1 - колонна крайнего ряда; 2 - подкрановая балка; 3 - тормозные фермы; 4 - пояс тормозной фермы; 5 - монтажный кран; 6 - деревянные подкладки; 7 - приставная лестница; 8 - строп; 9 - стойка со страховочным канатом; 10 - монтажная лестница; 11 - оттяжка

Схема установки подкрановых балок пролетом 12 м отдельными элементами по колоннам среднего ряда

1 - тормозные фермы; 2 - подкрановые балки; 3 - колонны среднего ряда; 4 - приставные лестницы; 5 - строп; 6 - монтажный кран; 7 - деревянные подкладки; 8 - стойка со страховочным канатом; 9 - монтажная лестница; 10 - оттяжка; 11 - ось движения крана

Схема выгрузки и раскладки укрупненных блоков подкрановых балок пролетом 12 м

1 - колонна крайнего ряда; 2 - стойка фахверка; 3 - тормозная ферма; 4 - подкрановая балка; 5 - деревянные подкладки; 6 - автомобильный кран; 7 - балковоз Б-12; 8 - укрупненный блок крайнего ряда; 9 - траверса; 10 - укрупненный блок среднего ряда; 11 - колонны среднего ряда

Схема установки укрупненных блоков подкрановых балок пролетом 12 м по колоннам среднего ряда

1 - колонна среднего ряда; 2 - укрупненный блок; 3 - деревянная подкладка; 4 - монтажный кран; 5 - траверса; 6 - стойка со страховочным канатом; 7 - оттяжка; 8 - приставные лестницы; 9 - монтажные лестницы

МОНТАЖ ЖЕЛЕЗОБЕТОННЫХ ПОДКРАНОВЫХ БАЛОК

Технологическая схема разработана на монтаж железобетонных подкрановых балок длиной 6 и 12 м марок БКНБ6-3с массой 4,2 т и БКНБ12 массой 11,6 т (серия К-Э-01-50, выпуски 1 - 4).

В состав работ, рассматриваемых схемой, входят: установка подкрановых балок и электросварка стыков.

Организация и технология строительного процесса

До начала монтажа подкрановых балок должны быть выполнены работы по:

подготовке и планировке площадки, включая планировку мест раскладки подкрановых балок перед подъемом;

устройству проездов для передвижения кранов;

подводке силовой и осветительной сети;

устройству временных помещений, необходимых для ведения монтажных работ;

монтажу, выверке и закреплению по проекту колонн и вертикальных связей по ним;

доставке к месту работ необходимого оборудования, инструмента, вспомогательных материалов и грузозахватных приспособлений.

При монтаже железобетонных подкрановых балок следует руководствоваться требованиями главы СНиПа III-16-80 «Бетонные и железобетонные конструкции сборные».

Перед установкой железобетонных подкрановых балок необходимо произвести геодезическую проверку правильности положения колонн в соответствии с допусками, также приведенными в главе СНиПа III-16-80.

При перевозке и складировании подкрановые балки должны находиться в проектном положении. При этом опоры балок следует располагать в пределах опорных закладных элементов.

В зону разгрузки подкрановые балки доставляют балковозами типа УПЛ-12. Монтаж подкрановых балок выполняется при помощи гусеничного крана РДК-25 и траверс грузоподъемностью 5 и 12 т.

Перед подъемом балки необходимо установить на колонны монтажные лестницы, очистить монтажные узлы от грязи и мусора, закрепить на балке оттяжки из пенькового каната и застропить ее. Балку поднимают выше проектной отметки на 30 - 50 см, а затем с помощью оттяжек приводят ее в положение, близкое к проектному. При установке подкрановых балок риски на нижних торцевых гранях балок должны совпадать с рисками на консолях колонн. Временное крепление балки осуществляется с помощью болтового устройства или струбцины конструкции ЦНИИОМТП. В схеме представлена технология монтажа подкрановых балок с применением новых узлов сопряжения балок с колоннами. Новые узлы сопряжения предложены ЦНИИпромзданий совместно с ЦНИИОМТП и трестом Промтехмонтаж ЛатвССР. Новизна их заключается в том, что опорный лист и анкерные болты отсутствуют, а выверка балок производится с помощью устройства конструкции ЦНИИОМТП.

После укладки балок на консоли колонн и временного крепления струбцинами или гибким вертикальным листом положение подкрановых балок выверяют по высотным отметкам, а положение продольной оси отвесом, навешенным на осевую проволоку (струну). Струна закрепляется на кронштейнах, установленных на крайних колоннах ряда на расстоянии 750 мм от оси ряда. Риски положения оси колонн выносятся при помощи теодолита. Выверка балок в плане и по высоте производится при помощи приспособления ЦНИИОМТП, которое передвигают по ряду балок.

Выверку другого ряда балок в проекте выполняют таким же образом после отмеривания рулеткой проектного расстояния между рядами балок в пролете.

После выверки правильности укладки балок производится приварка закладных деталей колонн к верхним полкам балок, а также сварка по нижнему поясу подкрановой балки.

В каждую смену монтаж подкрановых балок выполняет звено из семи человек. В состав звена входят:

монтажники конструкций 5 разряда - 1,

4 разряда - 2,

3 разряда - 1,

2 разряда - 1,

электросварщики 5 разряда - 2.

Применение новых узлов сопряжения и рекомендуемого комплекта оборудования по сравнению с типовыми узлами позволяет более рационально использовать рабочее время крана при монтаже балок.

В этом случае отпадает необходимость повторного использования крана при выверке, время его работы сокращается на 0,67 маш.-ч (на каждую балку), затраты труда на сварочные работы уменьшаются с 1,4 до 0,81 чел.-ч, затраты труда монтажников - на 2,1 чел.-ч, снижение расхода стали составляет от 20 до 63 кг на одну подкрановую балку.

Контроль качества работ по монтажу сборных железобетонных подкрановых балок следует выполнять в соответствии с требованиями главы СНиПа III-16-80.

Отклонения от геометрических размеров, допускаемые при монтаже подкрановых балок:

смещение продольной оси подкрановой балки от проектного положения на опорной поверхности (площадке) колонны - не более 8 мм;

отклонения от проектных отметок верхних полок подкрановых балок на двух соседних колоннах вдоль ряда и на двух колоннах в одном поперечном разрезе пролета ±16 мм;

отклонения расстояний между осями подкрановых рельсов одного пролета ±10 мм;

смещение оси подкранового рельса от оси подкрановой балки 20 мм;

отклонение оси подкранового рельса на участке длиной 40 м - 15 м;

разность отметок головки подкрановых рельсов в одном разрезе пролета зданий: на опорах - 15 мм; в пролете - 20 мм;

разность отметок подкрановых рельсов на соседних колоннах одного ряда - не более 20 мм;

взаимное смещение торцов смежных подкрановых рельсов по высоте и в плане - 2 мм.

Для обеспечения безопасности работающих на монтажной площадке необходимо: оградить зону монтажа; установить щиты с предупредительными надписями и сигналами; поставить указатели проездов и проходов; устроить искусственное освещение проездов, проходов и рабочих мест для работы в темное время суток.

Технико-экономические показатели

 

С усовершенствованным узлом сопряжения

По типовым деталям

Затраты труда на 1 м3 сборного железобетона, чел.-дн.

0,34

0,44

Затраты машинного времени крана, маш.-смен

29,0

38,1

Выработка одного рабочего в смену, м3 сборного железобетона

2,97

2,28

Стоимость затрат труда, руб.-коп.

497-45

609-21

Калькуляция затрат труда на здание размером 120´132 м

Обоснование

Наименование работ

Единица измерения

Объем работ

Норма времени на единицу измерения, чел.-ч (маш.-ч)

Затраты труда на весь объем работ, чел.-дн.

Время работы крана, (маш.-смен)

Хронометражные данные ЦНИИОМТП

Установка железобетонных подкрановых балок массой

 

 

 

 

 

до 5 т (длина 6 м)

1 шт.

44

5,2

(1,04)

27,9

(5,6)

до 11 т (длина 12 м)

-"-

88

10,9

(2,18)

117,0

(23,4)

ЕНиР, 1980 г., § 4-1-17, п. 10

Электросварка стыков подкрановых балок

1 м шва

84,6

0,56

5,8

 

 

Итого:

 

 

 

150,7

(29,0)

Материально-технические ресурсы

Потребность в машинах, оборудовании, инструменте, инвентаре и приспособлениях

Наименование

ГОСТ, марка или № чертежа

Кол-во

Технические данные

1

2

3

4

Кран гусеничный

РДК-25

1

Грузоподъемность 25 т

Устройство для выверки подкрановых балок

Проектная часть ЦНИИОМТП

2

-

Траверса для установки железобетонных балок длиной 6 м

ПИ Проектстальконструкция

1

Грузоподъемность 5 т

То же, для балок длиной 12 м

То же

1

Грузоподъемность 12 т

Лестница приставная вертикальная

ПК Сталь монтаж, чертеж 1990-01-07

4

Масса до 300 кг

Лестница монтажная

ВНИПИ Промстальконструкция, чертеж 29170М

4

-

Струбцина для временного крепления и выверки подкрановых балок

ПЧ ЦНИИОМТП, проект 839.00.000

4

Включает три хомута и две стяжки массой 8 кг

Стойка со страховочным канатом

Промстальконструкция, Ленинградское отделение

4

Высота 1 - 1,2 м

Сварочный трансформатор в комплекте

ТС-500

2

Мощность 32 кВт

Теодолит

ГОСТ 10529-79

2

-

Нивелир

ГОСТ 10528-76

2

-

Лом стальной строительный

ГОСТ 1405-72

2

-

Рулетка измерительная

ГОСТ 7502-80

2

-

Строп двухветвевой длиной 6 м

ПИ ПСК Ростовское отделение, РЧ 21905Р

1

Грузоподъемность 5 т

То же, длиной 12 м

То же, РЧ 27272-1

1

Грузоподъемность 12 т

Молоток строительный

ГОСТ 11042-72

2

-

Канат пеньковый, 30 м

ГОСТ 483-75

4

-

Балковоз к тягачу МАЗ-504А (для перевозки балок длиной до 12 м) или

-

1

Грузоподъемность 12 т

Полуприцеп-плитовоз УПЛ-1412 (для перевозки балок длиной до 12 м)

Проект 1480.00.000 ЦЭКБстроймехавтоматики ЦНИИОМТП

1

-

Схема движения крана при монтаже подкрановых балок

Схема монтажа подкрановых балок

1 - колонна крайнего ряда; 2 - колона среднего ряда; 3 - подкрановые балки; 4 - монтажный кран; 5 - направление движения крана и его стоянки; 6 - приставные лестницы; 7 - монтажные лестницы; 8 - оттяжка; 9 - деревянная подкладка; 10 - стойка со страховочным канатом

Детали опирания подкрановых балок на среднюю колонну

1 - колонна; 2 - закладные детали колонны; 3 - подкрановая балка; 4 - опорные листы; 5 - гайки с анкерными болтами (поставляются вместе с колонной)

Примечания:

1. Монтажные швы приняты высотой 10 мм, выполняются после окончательной вывески балок и подкрановых путей.

2. Опорные листы поставляют с подкрановыми балками и приваривают к закладным деталям балок до установки их на место.

Временное крепление железобетонной подкрановой балки при помощи струбцины ЦНИИОМТП (проект 839.00.000)

1 - подкрановая балка; 2 - струбцина для временного крепления балки; 3 - винтовая стяжка; 4 - колонна; 5 - приставная монтажная лестница; 6 - механизм выверки; 7 - домкрат; 8 - механизм передвижения; 9 - ролики

Устройство для выверки железобетонных подкрановых балок

Техническая характеристика

Грузоподъемность, т

общая.................................................................. 10

на один домкрат................................................ 5

Высота подъема балки, мм................................. 100

Горизонтальное перемещение балки, мм.......... 50

Габаритные размеры, мм

длина.................................................................. 1246

ширина............................................................... 900

высота................................................................ 1900

Масса, кг............................................................... 285

Разработано ПЧ ЦНИИОМТП, проект 532-3.00.000

МОНТАЖ ПОКРЫТИЙ

Даны схемы монтажа сборных железобетонных покрытий одноэтажных промышленных зданий: стропильных ферм (балок) длиной 6; 9; 12; 18 и 24 м (массой от 1,5 до 18,6 т), подстропильных ферм длиной 12 м (массой 11,3 т) и плит размерами 3´6 и 3´12 м (массой 2,7 и 7 т).

Наряду с типовыми решениями узлов опирания стропильных конструкций в схемы включены усовершенствованные узлы, разработанные ЦНИИОМТП совместно с ЦНИИпромзданий.

Схемы монтажа стропильных конструкций с шагом 12 м даны как для традиционного «продольного», так и для «поперечного» метода.

Раскладка и установка элементов покрытия ведется стреловыми самоходными кранами.

Выгрузка ферм (балок) и плит на объекте производится в зоне действия монтажного крана.

Перед монтажом конструкций необходимо оснастить:

подстропильные фермы - предохранительным канатом, навесной люлькой и оттяжками;

стропильные фермы (балки) - предохранительным канатом и оттяжками;

плиты покрытия - оттяжками, а крайние плиты, кроме того, временным ограждением.

Подстропильные и стропильные фермы (балки) длиной до 18 м стропят в двух местах, стропильные конструкции длиной более 18 м и плиты покрытия - в четырех.

При шаге стропильных конструкций 12 м и длине плит 12 м покрытие монтируют продольным методом (вдоль пролета) и поперечным методом (поперек пролета).

Поперечный метод монтажа покрытия рекомендуется для бесфонарных и бескрановых зданий. При таком методе монтажный кран размещают в пределах ячейки и при укладке плит стрела его располагается поперек плиты. Это позволяет применять более легкие краны, так как при этом вынос крюка за край плиты составит 1,5 м вместо 6.

Фермы (балки) и плиты покрытия можно монтировать с транспортных средств или с предварительной раскладкой их в зоне действия крана. Фермы (балки) покрытия следует устанавливать в проектное положение, совмещая осевые риски на их торцах с рисками на опорных поверхностях нижележащих конструкций (колонн, подстропильных ферм). Затем закладные детали элементов соединяют сваркой.

Устойчивость ферм в процессе монтажа при шаге 6 и 12 м обеспечивается с помощью крышевого кондуктора-распорки или инвентарной распорки. Кондуктор устанавливают на покрытие ранее смонтированной ячейки. Точка крепления стрелы крышевого кондуктора-распорки или инвентарной распорки должна находиться на расстоянии не менее 3 м от опоры фермы. Временное крепление можно снять только после установки и окончательной приварки закладных частей одной плиты шириной 1,5 или 3 м, начиная со второй по счету от любого конца фермы.

Первую с торца здания ферму крепят расчалками. Расчалки закрепляют за переставные инвентарные якоря или за ранее установленные и замоноличенные колонны. Инвентарные распорки и расчалки снимают по мере укладки и приварки плит покрытия. Одновременно с фермами следует устанавливать все предусмотренные проектом постоянные связи.

При бесфонарной кровле плиты покрытия рекомендуется укладывать от одного конца фермы к другому, начиная со стороны ранее смонтированного пролета, при наличии фонарей - от концов ферм к середине пролета. Плиты покрытия рекомендуется укладывать по разметке на верхних поясах ферм (балок) с целью обеспечения проектного положения в плане на стропильной конструкции. Закладные детали каждой плиты не менее чем в трех узлах опирания необходимо приваривать к закладным деталям верхнего пояса фермы (балки).

На монтаже ферм заняты пять монтажников конструкций. Три монтажника устанавливают монтажные лестницы-площадки, проверяют размеры фермы, наличие, правильность расположения закладных деталей и осевых рисок, которые при необходимости восстанавливают, закрепляют оттяжки. Два других монтажника подготавливают места опирания ферм, при необходимости очищают их, восстанавливают осевые риски.

Первые три монтажника стропят ферму и при подъеме регулируют ее положение оттяжками. На высоте около 0,6 м над местами опирания два других монтажника принимают ферму, наводят ее по осевым рискам и устанавливают в проектное положение. Затем сваривают закладные детали, после чего производится расстроповка фермы.

При укладке в каждой ячейке первой плиты один монтажник находится на плите, уложенной в смежной ячейке, второй - на лестнице-площадке, навешенной на колонну. В дальнейшем оба монтажника переходят на вновь уложенную плиту для укладки следующей.

Геодезический контроль и обеспечение точности монтажа покрытия

При поступлении на площадку ферм (балок) и плит покрытия точность их размеров следует проверить стальной компарированной рулеткой. Средняя квадратическая погрешность контрольных измерений не должна превышать 10 % допускаемого отклонения по каждому параметру.

При монтаже покрытия необходимо контролировать величину: смещения осей ферм (балок) по нижнему поясу относительно геометрических осей опорных конструкций; отклонения расстояний между осями ферм на уровне верхних поясов; разность отметок лицевых поверхностей двух смежных плит в стыке; смещения в плане плит покрытия относительно их проектного положения на опорных поверхностях, узлах ферм и других несущих конструкциях.

Смещение осей ферм относительно геометрических осей опорных конструкций проверяют стальным метром. Расстояние между осями ферм - компарированной рулеткой с введением поправок на ее провисание и температуру. Измерения следует производить с двукратньм смещением мерного прибора. Отметки лицевых поверхностей плит в стыке контролируют методом геометрического нивелирования. Положение плит в плане проверяют стальным метром. Средняя квадратическая погрешность при контроле точности указанных параметров не должна превышать 20 % допускаемого отклонения по каждому контролируемому параметру.

При установке конструкций покрытия допускаются следующие отклонения в мм:

Смещение осей ферм (балок) по нижнему поясу

относительно геометрических осей опорных конструкций......... ±5

Отклонение расстояний между осями ферм (балок)

покрытия в уровне верхних поясов................................................ ±20

Разность отметок лицевых поверхностей двух смежных

плит покрытий в стыке................................................................... 5

Смещение в плане плит покрытия относительно их

проектного положения на опорных поверхностях, узлах

ферм и других несущих конструкциях

(вдоль опорных сторон плит)......................................................... ±13

Техника безопасности при производстве работ

При монтаже покрытия необходимо соблюдать следующие условия.

Для строповки ферм (балок) покрытия, как правило, должны применяться траверсы, оснащенные захватами с дистанционной расстроповкой (автоматическими или полуавтоматическими).

При установке стропильных конструкций крышевой кондуктор-распорка должен быть надежно закреплен натяжными устройствами и фиксирующими упорами.

Работая с крышевым кондуктором-распоркой, необходимо выполнять правила работы с электрооборудованием.

При установке кондуктора на покрытие и при его передвижении необходимо проверить наличие предохранительных башмаков и правильность положения рычагов конечных выключателей, ограничивающих передвижение кондуктора и предотвращающих падение его с покрытия. Во время перерывов в работе стрела кондуктора должна быть опущена.


Затраты труда при монтаже одного элемента покрытия

Обоснование

Наименование работ

Состав эвена

Затраты труда, чел.-ч

(Время работы механизмов, маш.-ч)

Конструкции

стропильные; длина/шаг, м

подстропильные, длина и шаг 12 м

плиты; размеры, м/площадь, м2

6/6

9/6

12/6

18/6

18/12

24/6

24/12

1,5´6/9

3´6/18

1,5´12/18

3´12/36

масса, т

 

1,5

3,4

5,4

7,8

9,4

14

18,6

11,3

2

2

5,1

7

 

1

2

3

4

5

6

7

8

9

10

11

12

13

14

15

 

ЕНиР, 1979 г., § 24-13, № 21 - 23, г

Выгрузка и раскладка ферм

Такелажники

4 разр. - 1

2 разр. - 1

0,26

(0,13)

058

(0,29)

0,92

(0,46)

1,32

(0,36)

1,60

(0,80)

2,10

(1,05)

2,64

(1,32)

1,70

(0,85)

__-__

_

__-__

_

__-__

_

__-__

_

ЕНиР, 1979 г., § 1-5, № 4, 5, 6, а

Выгрузка и раскладка плит

Такелажники

4 разр. - 1

2 разр. - 1

__-_

__-

__-_

__-_

__-_

__-_

__-_

__-__

0,14

(0,07)

0,16

(0,08)

0,20

(0,10)

0,23

(0,12)

 

Расчетные данные ЦНИИОМТП

Установка в проектное положение стропильных конструкций с применением крышевого кондуктора-распорки

Монтажники

6 разр. - 1

5 разр. - 1

4 разр. - 1

3 разр. - 1

2 разр. - 1

__-_

__-_

__-_

5,40

(1,08)

5,40

(1,08)

6,75

(1,35)

6,75

(1,35)

__-__

__-__

__-__

__-__

__-__

 

ЕНиР, 1980 г., § 4-1-6, табл. 4

Установка в проектное положение стропильных и подстропильных конструкций по традиционной технологии

Монтажники

6 разр. - 1

5 разр. - 1

4 разр. - 1

3 разр. - 1

2 разр. - 1

2,30

(0,46)

4,00

(0,8)

5,50

(1,10)

8,50

(1,70)

8,50

(1,70)

10,00

(2,00)

10,00

(2,00)

5,50

(1,10)

__-__

_

__-__

_

__-__

_

__-__

_

 

ЕНиР, 1980 г. § 4-1-7

Укладка плит в проектное положение

Монтажники

4 разр. - 1

3 разр. - 2

2 разр. - 1

__-_

-

__-_

-

__-_

_

__-_

_

__-_

_

__-_

_

__-_

_

__-__

_

0,88

(0,22)

1,32

(0,33)

1,32

(0,33)

1,92

(0,48)

 

ЕНиР, 1980 г., § 4-1-17, № 16 (1 м шва - 0,56)

Электросварка стропильных конструкций при усовершенствованном узле опирания

Электросварщики

5 разр. - 2

0,34

-

0,34

-

0,34

-

0,34

-

0,43

-

0,43

-

0,43

-

__-_

-

__-_

-

__-_

-

__-_

-

__-_

-

 

ЕНиР, 1980 г. § 4-1-17, № 1б (1 м шва - 0,56), № 2б (1 м шва - 0,31)

Электросварка конструкций при типовых узлах опирания

Электросварщики

5 разр. - 2 (для ферм).

Электросварщики

5 разр. - 1 (для плит)

0,99

-

0,99

-

0,99

-

1,34

-

1,46

-

1,34

-

1,46

-

0,99

-

0,18

-

0,18

-

0,22

-

0,22

-

 

ЕНиР, 1980 г., § 4-1-19, № 3а (100 м шва - 4,1)

Заделка швов плит раствором механизированным способом

Монтажники

4 разр. - 1

3 разр. - 1

__-_

-

__-_

-

__-_

-

__-_

-

__-_

-

__-_

-

__-_

-

__-_

-

0,31

(0,15)

0,37

(0,18)

0,55

(0,27)

0,62

(0,31)

 

ЕНиР, 1980 г., § 4-1-19, № 3б (106 м шва - 6,4)

То же, вручную

Монтажники

4 разр. - 1

3 разр. - 1

__-_

-

__-_

-

__-_

-

__-_

-

__-_

-

__-_

-

__-_

-

__-_

-

0,48

-

0,58

-

0,86

-

0,96

-

 

Итого: с применением крышевого кондуктора-распорки и усовершенствованного узла опирания стропильных конструкций и заделкой швов плит механизированным способом

2,90

(0,59)

4,92

(1,09)

6,76

(1,56)

7,06

(1,74)

7,43

(1,88)

9,19

(2,40)

9,82

(2,67)

8,19

(1,95)

1,51

(0,44)

2,03

(0,59)

2,29

(0,70)

2,99

(0,91)

 

с применением традиционной технологии монтажа, типовых узлов опирания и заделкой швов плит вручную

3,55

(0,59)

5,57

(1,09)

7,41

(1,56)

11,16

(2,36)

11,56

(2,50)

13,44

(3,05)

14,10

(3,32)

8,19

(1,95)

1,68

(0,29)

2,24

(0,41)

2,60

(0,43)

3,33

(0,60)

 

 

Примечание. Состав звена при выгрузке указан применительно к гусеничным и пневмоколесным кранам грузоподъемностью 25 т.

Параметры и марки кранов и приспособлений, рекомендуемых для монтажа конструкций покрытий бесфонарных промышленных зданий продольным методом

Условные номера ячеек здания

Исходные данные для монтажа

Требуемые параметры

Гусеничные краны

Пневмоколесные краны

Разгрузка и раскладка

 

Масса, т

Высота (длина), м

вылет крюка, м

грузоподъемность, т

высота подъема крюка, м

Рекомендуемые

Заменяющие

Рекомендуемые

Заменяющие

приспособления (№ в приложении)

марка крана

приспособление (№ в приложении)

монтируемого элемента

строповочного приспособления

верха нижележащего элемента

монтируемого элемента

строповочного приспособления

марка

длина стрелового оборудования, м

марка

длина стрелового оборудования, м

1

2

3

4

5

6

7

8

9

10

11

12

13

14

15

16

17

18

 

1 - 4; 7 - 10; 13 - 15

1,5 - 5,4

2,7

0,53

0,53

3,4 - 5,2

4 - 6,1

0,6 - 1,4

0,3

2,1

1,6

2,7 - 3,3

5,7 - 6,3

2,1 - 6,0

3,3

6,6 - 9,2

6,4 - 8,5

МКГ-16М

15

МКГ-16М

КС-4362

12,5

КС-4362

21; 24; 41; 42; 53; 63;

КС-4561 МКА-10М

24; 19

 

5; 11; 16

1,5 - 5,4

2,7

0,53

0,53

5,2 - 5,8

6,4 - 6,7

0,6 - 1,4

0,3

2,1

1,6

3,5 - 3,6

6,5 - 6,6

2,1 - 6,0

3,3

8,4 - 9,8

8,8 - 9,1

МКГ-16М

15

МКГ-16М

КС-4362

12,5

КС-4362

24; 19; 41; 42; 53; 63;

КС-4561 МКА-10М

24; 19

 

6; 12; 17; 18; 22

1,5 - 7,8

2,7

0,53

0,53

4,5 - 6,7

7 - 7,9

0,6 - 2,7

0,3

2,1

1,6

3,7 - 3,9

6,7 - 6,9

2,1 - 8,4

3,3

7,7 - 12,0

9,4 - 10,3

МКГ-16М

15

МКГ-16М

КС-4362

15

КС-4362

18; 21; 24; 41; 42; 53; 63

КС-4561 МКА-10М

24; 19

 

19; 20; 21; 26; 30

5,4 - 7,8

2,7

0,143

0,53

6,4 - 10,0

9 - 11,4

1,4 - 2,7

0,3

5,3

1,6

3,4 - 4,3

6,4 - 7,3

5,6 - 8,0

3,3

13,6 - 18,5

11,4 - 13,8

МКГ-16М

18

МКГ-16М

КС-4362

17,5

КС-4362

14; 21; 41; 44; 53; 63

КС-4561 МКА-10М

14; 19

 

24; 25; 28; 29; 51; 52; 55; 56

9,4 - 18,6

7

0,513

1,336

5,2 - 6,4

7,9 - 9,7

2,7 - 3,3

0,45

4,5

3,9

2,5 - 2,6

8,5 - 8,6

10,0 - 19,2

8,4

12,9 - 14,7

14,9 - 17,2

РДК-25

БС 12,5 + 10

МКГ-25, МКГ-25БР

КС-6362

15 + 8

МКТ-40

17; 18; 41; 53; 63

КС-4561 РДК-25

17; 20

 

23; 27; 31; 34; 35; 38; 42; 49; 50; 53; 54; 47; 58; 61; 62; 65; 82; 83; 86; 90; 103; 104; 107

7,8 - 14,9

2,7

0,513

0,53

4,5 - 11,2

8,5 - 13,9

2,7 - 3,3

0,3

4,5

1,6

3,6 - 4,6

6,6 - 7,6

8,4 - 15,4

3,3

18,2 - 16,3

10,9 - 16,3

РДК-25

БС 12,5 + 10

МКГ-25, МКГ-25БР

МКП-25А

17,5

КС-5363

17; 21; 41; 44; 53; 63

КС-4561 РДК-25

17; 19

 

32; 33; 36; 37; 40; 41; 59; 60; 63; 64; 84; 85; 88; 89; 105; 106

9,4 - 18,6

7

0,513

1,336

7,6 - 10,0

10,3 - 12,7

2,7 - 3,3

0,45

4,5

3,9

2,7 - 2,9

8,7 - 8,9

10,0 - 19,2

8,4

15,3 - 18,3

15,2 - 17,6

РДК-25

БС 12,5 + 10

МКГ-25, МКГ-25БР

КС-6362

20 + 8

МКГ-40

17; 18; 41; 44; 53; 63

КС-4561

17; 19

 

39; 43; 46; 87; 91; 94; 97

7,8 - 11,3

2,7

0,513

0,53

9,3 - 15,1

12,7 - 16,3

2,2 - 2,7

0,3

4,5

1,6

4,2 - 5,2

7,2 - 8,2

8,4 - 11,9

33

16,5 - 22,8

15,7 - 18,7

РДК-25

БС 17,5 + 10

МКГ-25, МКГ-25БР

МКП-25А

22,5

КС-5363

21; 17; 41;44; 53; 63

КС-4561 РДК-25

17; 19

 

44; 45; 47; 48; 67; 68; 71; 72; 92; 93; 95; 96; 98; 99; 109; 110; 113; 114

9,4 - 18,6

7

0,513

1,336

10 - 13,6

13,3 - 16,3

2,7 - 3,3

0,45

4,5

3,9

2,9 - 3,2

8,9 - 9,2

10,0 - 19,2

8,4

17,7 - 21,9

18,2 - 21,2

РДК-25

БС 17,5 + 10

МКГ-25, МКГ-25БР

КС-6362

20 + 8

МКТ-40

17; 18; 41; 44; 53; 63

КС-4561 РДК-25

17; 20

 

66; 69; 70; 108; 111; 112

11,3 - 14,9

2,7

0,513

0,53

9,3 - 12,7

13,3 - 14,5

2,2 - 3,3

0,3

4,5

1,6

4,6 - 4,8

7,6 - 7,8

11,8 - 15,5

3,3

16,5 - 21,0

15,7 - 16,9

РДК-25

22,5 + 5

МКГ-25

КС-6362

20 + 8

МКГ-40

17; 21; 41; 44; 53; 63

КС-4561 РДК-25

17; 19

 

73; 115

11,3 - 14,9

2,7

0,513

0,53

11,7 - 13,9

15,7

2,2 - 3,3

0,3

4,5

1,6

5

8

11,9 - 15,5

3,3

18,9 - 22,2

18,1

РДК-25

22,5 + 5

МКГ-25

МКТ-40

20 + 6

КС-6362

17; 21; 41; 44; 53; 63

КС-4561 РДК-25

17; 19

 

74; 75; 77; 78; 80; 81; 116; 117; 119; 120; 122; 123

18,6

7

0,513

1,336

12,4 - 14,8

15,7 - 18,1

3,3

0,45

4,5

3,9

3,1 - 3,3

9,1 - 9,3

19,2

8,4

20,7 - 23,1

20,7 - 23,1

РДК-25

БС 17,5 + 10

МКГ-25

КС-6362

35

МКТ-100

17; 18; 41; 44; 53; 63

РДК-25

17; 20

 

76; 118

11,3 - 149

2,7

0,513

0,53

12,9 - 15,1

16,9

2,2 - 3,3

0,3

4,5

1,6

5,2

8,2

11,9 - 15,5

3,3

20,1 - 23,4

19,3

РДК-25

22,5 + 5

МКГ-25

МКТ-40

25 + 6

КС-7362

17; 18; 41; 44; 53; 63

КС-4561 РДК-25

17; 20

 

79; 121; 124

11,3 - 14,9

2,7

0,513

0,53

14,1 - 17,5

18,1 - 19,3

2,2 - 3,3

0,3

4,5

1,6

3,3 - 3,4

6,3 - 6,4

11,9 - 15,5

3,3

21,3 - 25,8

20,5 - 21,7

РДК-25

БС 17,5 + 10

МКГ-25

МКТ-40

15 + 6

МС-7362

17; 21; 41; 44; 53; 63

КС-4561 РДК-25

17; 19

 

100

7,8 - 11,3

2,7

0,513

0,53

14,1 - 16,3

17,5

2,2 - 2,7

0,3

4,5

1,6

5,4

8,4

8,4 - 11,9

3,3

21,3 - 24,0

19,9

РДК-25

БС 27,5 + 5

МКГ-25

МКП-25А

27,5 + 5

КС-6363

17; 21; 41; 44; 53; 63

КС-4561 РДК-25

17; 19

 

101; 102

9,4

7

0,513

1,336

14,8

17,5

2,7

0,45

4,5

3,9

3,3

9,3

10,0

8,4

22,5

22,5

РДК-25

БС 17,5 + 10

МКГ-25

КС-6362

25,8

МКТ-40

17; 18; 41; 44; 53; 63

КС-4561

17; 20

 

125; 126; 128; 129; 131;

18,6

7

0,513

1,336

16 - 18,4

19,3 - 21,7

3,3

0,46

4,5

3,9

3,4 - 3,5

9,4 - 9,5

19,4

8,4

24,3 - 26,7

24,3 - 26,7

РДК-25

БС 22,5 + 10

МКГ-25

КС-8362

35

МКТ-100

17; 18; 41; 44; 53; 63

РДК-25

17; 20

 

127

11,3 - 14,9

2,7

0,513

0,53

16,5 - 18,7

20,5

2,2 - 3,3

0,3

4,5

1,6

3,5

6,5

11,9 - 16,5

3,3

23,7 - 27,0

22,9

РДК-25

БС 22,5 + 10

МКГ-25

МКТ-40

25 + 6

КС-7362

17; 21; 41; 44; 53; 63

КС-4561 РДК-25

17; 19

 

130

11,3 - 14,9

2,7

0,513

0,53

17,7 - 19,9

21,7

2,2 - 3,3

0,3

4,5

1,6

3,6

9,6

11,9 - 15,6

3,3

24,9 - 28,2

24,1

РДК-25

БС 22,5 + 10

МКГ-25

МКТ-40

30 + 6

КС-7362

17; 18; 41; 44; 53; 63

КС-4561 РДК-25

17; 19

 

Примечание. В числителе приведены данные для ферм (балок), в знаменателе - для плит.

Параметры и марки кранов и приспособлений, рекомендуемых для монтажа покрытий бесфонарных промышленных зданий поперечным методом

Рекомендуемые

Исходные данные для монтажа

Требуемые параметры

Гусеничные краны

Пневмоколесные краны

Приспособление (№ в приложении)

Разгрузка и раскладка

 

Масса, т

Высота (длина), м

вылет крюка, м

грузоподъемность, т

высота подъема крюка, м

Рекомендуемые

Заменяющие

Рекомендуемые

Заменяющие

марка крана

приспособление (№ в приложении)

монтируемого элемента

строповочного приспособления

верха нижележащего элемента

монтируемого элемента

строповочного приспособления

марка

стрелового оборудования, м

марка

длина стрелового оборудования, м

 

24; 25; 28; 29

9,4

7,0

0,513

1,336

5,2 - 6,4

7,9 - 9,1

2,7

0,45

4,5

3,9

5

6

10,0

8,2

12,9 - 14,1

12,8 - 14,0

МКГ-16М

15

МКГ-16М

МКП-25А

17,5

КС-5363

17; 18; 40; 42; 53; 63

РДК-25 КС-4561

17; 20

 

32; 33; 36; 37; 55; 56; 59; 60; 84; 85

9,4 - 18,6

7,0

0,513

1,336

6,4 - 8,6

9,7 - 11,5

2,7 - 3,3

0,45

4,5

3,9

4,5

6

10,0 - 19,2

8,2

12,9 - 17,2

14,6 - 16,4

РДК-25

17,5

МКГ-25 МКГ-25БР

КС-6362

20

КС-7362

17; 18; 40; 44; 53; 63

КС-4561 РДК-25

17; 20

 

40; 41; 44; 45; 88; 89; 92; 93

9,4

7,0

0,513

1,336

10,0 - 11,2

12,7 - 13,9

2,7

0,45

4,5

3,9

5,1

6

10,0

8,4

17,7 - 18,9

17,6 - 17,8

РДК-25

22,5

МКГ-25 МКГ-25БР

КС-6362

20

КС-7362

17; 18; 40; 44; 53; 63

КС-4561 РДК-25

17; 20

 

47; 48; 95; 96; 98; 99

9,4

7,0

0,513

1,336

12,4 - 13,6

15,1 - 16,3

2,7

0,45

4,5

3,9

5,6

6,2

10,0

8,4

20,1 - 21,3

20,0 - 21,2

РДК-25

22,5

МКГ-25 МКГ-25БР

КС-6362

25

КС-7362

17; 18; 40; 44; 53; 63

КС-4561 РДК-25

17; 20

 

51; 52

18,6

7,0

0,513

1,336

5,2

8,5

3,3

0,45

4,5

3,9

4,5

5,5

19,2

8,4

13,0

13,4

РДК-25

17,5

МКГ-25 МКГ-25БР

КС-6362

15

КС-7362

17; 18; 40; 42; 53; 63

РДК-25

17; 20

 

63; 64; 68; 105; 106; 109;110

18,6

7,0

0,513

1,336

8,3 - 10,0

12,1 - 13,3

3,3

0,45

4,5

3,9

2,9

4,4

19,2

8,4

17,1 - 18,3

15,0 - 17,2

РДК-25

БС 12,5 + 10

МКГ-25 МКГ-25БР

КС-6362

20

КС-7362

17; 18; 40; 44; 53; 63

РДК-25

17; 20

 

71; 72; 74; 75; 77; 78; 80; 81; 113; 114; 115; 117; 119; 120; 122; 123

18,6

7,0

0,513

1,336

11,2 - 14,6

14,5 - 18,1

3,3

0,45

4,5

3,9

3,2

4,7

19,2

8,4

19,5 - 23,1

19,4 - 23,0

РДК-25

БС 17,5 + 10

ДЭК-50

КС-7362

24

-

17; 18; 40; 44; 53; 63

РДК-25

17; 20

 

101; 102

9,4

7,0

0,513

1,336

14,8

17,5

2,7

0,45

4,5

3,9

5,6

6,5

10,0

8,4

22,5

22,4

РДК-25

27,5

МКГ-25 МКГ-25БР

КС-6362

25

КС-7362

17; 18; 40; 44; 53; 63

КС-4561 РДК-25

17; 20

 

125; 126; 128; 129; 131; 132

18,6

7,0

0,513

1,336

16,0 - 18,4

19,3 - 21,7

3,3

0,45

4,5

3,9

3,5

5,0

19,2

8,4

24,3 - 26,7

24,2 - 26,6

РДК-25

БС 22,5 + 10

МКГ-25 МКГ-25БР

КС-7362

31

-

17; 18; 40; 44; 53; 63

РДК-25

17; 20

 

Примечание. В числителе приведены данные для ферм (балок), в знаменателе - для плит.


Схемы выгрузки, раскладки элементов и монтажа продольным методом покрытия пролетами 6; 9; 12 м

Ячейка здания пролетом 6 м, шаг колонн и стропильных конструкций 6 м

Ячейка здания пролетом 9 м, шаг колонн и стропильных конструкций 6 м

Ячейка здания пролетом 12 м, шаг колонн и стропильных конструкций 6 м

1 - временное ограждение; 2 - смонтированное покрытие; 3 - приставная лестница-площадка; 4 - кран; 5 - штабель плит; 6 - колонна; 7 - стропильная конструкция; 8 - плита покрытия; 9 - транспортное средство

Схемы выгрузки, раскладки элементов и монтажа продольным методом покрытия пролетом 18 м

Шаг колонн и ферм 6 м

Шаг колонн 12 м, ферм 6 м

Шаг колонн и ферм 12 м

1 - временное ограждение; 2 - смонтированное покрытия; 3 - крышевой кондуктор-распорка для временного крепления ферм; 4 - приставная лестница-площадка; 5 - стропильная ферма; 6 - колонна; 7 - кран; 8 - штабель плит; 9 - транспортное средство; 10 - подстропильная ферма

Схемы выгрузки, раскладки элементов и монтажа поперечным методом покрытия пролетом 18 м

1 - телескопическая вышка; 2 - инвентарная распорка; 3 - временное ограждение; 4 - штабель плит; 5 - смонтированное покрытие; 6 - колонна; 7 - стропильная ферма; 8 - кран; 9 - плитовоз; 10 - фермовоз; 11 - траверса; 12 - плита покрытия; 13 - оттяжка

Схемы выгрузки и раскладки элементов покрытия пролетом 24 м, монтируемого продольным методом

Шаг колонн и ферм 6 м

Шаг колонн 12 м, ферм 6 м

1 - временное ограждение; 2 - смонтированное покрытие; 3 - крышевой кондуктор-распорка; 4 - лестница-площадка; 5 - стропильная ферма; 6 - колонна; 7 - кран; 8 - штабель плит; 8 - транспортное средство; 10 - подстропильная ферма

Схемы выгрузки, раскладки и монтажа элементов покрытия пролетом 24 м продольным методом

Шаг колонн и ферм 12 м

1 - временное ограждение; 2 - смонтированное покрытие; 3 - крышевой кондуктор-распорка; 4 - лестницы-площадки; 5 - стропильная ферма; 6 - колонна; 7 - кран; 8 - штабеля плит; 9 - транспортное средство; 10 - подстропильная ферма; 11 - траверса; 12 - оттяжки; 13 - монтируемая плита

Схемы выгрузки, раскладки элементов и монтажа поперечным методом покрытия пролетом 24 м

1 - колонна; 2 - смонтированное покрытие; 3 - временное ограждение; 4 - штабель плит; 5 - телескопическая вышка; 6 - инвентарная распорка; 7 - стропильная ферма; 8 - радиус действия крана; 9 - плитовоз; 10 - фермовоз; 11 - кран; 12 - траверса; 13 - оттяжка; 14 - плита покрытия

Опирание стропильной фермы на среднюю колонну

Усовершенствованный узел сопряжения стропильных ферм с колоннами или подстропильными фермами

Усовершенствованный узел сопряжения стропильных ферм с колоннами и подстропильными фермами в отличие от типового не имеет опорной плиты и анкерных болтов.

При таком сопряжении закладную деталь стропильной фермы приваривают непосредственно к закладной детали колонны (подстропильной фермы). Для обеспечения проектного положения концов стропильной фермы в местах ее опирания наносят соответствующие риски.

Для обеспечения проектного положения стропильной фермы рекомендуется использовать фиксатор в виде пластины, привариваемой к закладным деталям колонны (подстропильной фермы). Можно также применять инвентарные съемные скобы-фиксаторы.

Применение пластин-фиксаторов или съемных скоб-фиксаторов позволит осуществлять принудительный безвыверочный (в плане) монтаж стропильных ферм.

Усовершенствованный узел сопряжения

1 - колонна; 2 - закладная деталь колонны; 3 - опорная плита; 4 - закладная деталь стропильной фермы; 5 - шайба анкерного болта; 6 - стропильная ферма; 7 - анкерные болты; 8 - гайка; 9 - разбивочная ось; 10 - монтажный шов; 11 - риска на оголовке колонны

Опирание стропильной фермы на смежные концы подстропильных ферм

1 - колонна; 2 - закладная деталь колонны; 3 - подстропильная ферма; 4 - анкерный болт; 5 - стропильная ферма; 6 - закладная деталь стропильной фермы; 7 - шайба анкерного болта; 8 - гайка; 9 - разбивочная ось; 10 - опорная плита; 11 - монтажный шов; 12 - закладная деталь подстропильной фермы

Опирание стропильной фермы на среднюю часть подстропильной фермы

Примечание. Для выравнивания отметок опорных поверхностей смежных концов двух подстропильных ферм следует применять стальную прокладку, которую приваривают к заниженной опорной закладной детали.

Обеспечение проектного положения стропильных ферм на колонне

при помощи приварных пластин-фиксаторов

при помощи съемной скобы-фиксатора

1 - колонна; 2 - закладная деталь колонны; 3 - стропильная ферма; 4 - приварные пластины-фиксаторы; 5 - закладная деталь стропильной конструкции; 6 - анкер закладной детали; 7 - разбивочная ось; 8 - монтажный шов; 9 - риска на оголовке колонны; 10 - скоба-фиксатор

Универсальная траверса для монтажа строительных конструкций и плит покрытия

1 - палец; 2 - фиксатор; 3 - захват; 4 - строп; 5 - ферма; 6 - колесо; 7 - скоба

Техническая характеристика

Параметры

Траверса

Захватых) типоразмеров (см. стр. 63, 64)

1

2

3

4

5

Грузоподъемность, т

12

4

4

10

10

6,3

Ширина зева захвата, мм

-

200

480

300

370

680

Максимальные размеры сечения конструкций, входящих в зев захвата, мм

 

 

 

 

 

 

ширина

-

180

450

280

350

650

высота

-

180

50

300

420

250

Габаритные размеры, мм

 

 

 

 

 

 

длина

6850

1880

1690

2090

2275

1910

ширина

 

530

900

650

720

1100

высота

1570

180

180

180

180

180

Масса (с двумя захватами), кг

До 980

140

174

159

168

213

х) Конструкция захватов разработана сотрудниками ЦЭКБстроймехавтоматика ЦНИИОМТП Госстроя СССР.

Автоматический захват для монтажа строительных конструкций

Автоматический захват для монтажа стропильных ферм, элементов фонарей, подкрановых и стропильных балок, объемных блоков покрытий и других конструкций используется в качестве съемного грузозахватного приспособления, навешиваемого на траверсу или непосредственно на крюк крана. Устройство обеспечивает автоматическую строповку и расстроповку конструкций при вертикальных перемещениях крюка крана. Захват состоит из жесткой П-образной рамы, поворотной опорной балки, двух установленных на раме направляющих штанг и механизма фиксации.

Последний имеет подставку, подвижную в вертикальной плоскости, стойку с поворотной (в одну сторону) звездочкой. Звездочка взаимодействует с головкой, снабженной серьгой, при помощи которой захват подвешивается на траверсу или крюк крана. Стойка соединена гибкой связью с поворотной опорной балкой. В вертикальной прорези головки расположены две защелки и захватные седла. На одном конце звездочки закреплен удлиненный стержень. На раме шарнирно укреплен сигнальный флажок.

Захват в раскрытом состоянии поднимают краном и наводят на конструкцию. При этом головка захвата опускается в нижнее положение, удлиненный стержень освобождается от захватных седел и опорная балка под действием собственной массы опускается, перекрывая зев захвата.

После подъема, установки конструкции и ее закрепления в проектном положении захват опускается и происходит холостой ход головки. В это время звездочка поворачивается и при последующем подъеме головки удлиненный стержень попадает в захватные седла. Звездочка вместе со стойкой и тросиком поднимается, в результате чего опорная балка поворачивается вокруг оси. При подъеме опорной балки в крайнее верхнее положение ее верхняя грань соприкасается с флажком и поднимает его, сигнализируя о расстроповке конструкции.

В ЦЭБстроймехавтоматика ЦНИИОМТП разработано 5 типоразмеров захватов.

Применение автоматических захватов позволяет: значительно повысить безопасность ведения работ; исключить опасные работы верхолазов; автоматизировать процессы строповки и расстроповки и сократить их трудоемкость и продолжительность в 8 - 10 раз.

а - в раскрытом состоянии; б - в закрытом состоянии; 1 - П-образная рама; 2 - подставка; 3 - стойка; 4 - направляющая штанга; 5 - звездочка; 6 - головка; 7 - серьга; 8 - удлиненный стержень звездочки

Автоматический захват. Общий вид. Типоразмеры

1 - рама; 2 - направляющая штанга; 3 - головка; 4 - звездочка; 5 - строительная конструкция; 6 - захватная балка

Крышевой кондуктор-распорка

Крышевой кондуктор-распорка предназначен для временного крепления и приведения в проектное положение стропильных ферм при шаге 6 или 12 м.

Он выполнен в виде стрелы (распорки) с захватом, шарнирно-соединенной с кареткой, установленной на ходовой тележке.

Для закрепления кондуктора в рабочем положении тележка снабжена фиксирующими упорами и натяжным устройством, состоящим из ручной лебедки и двухветвевого стропа.

Кондуктор имеет четыре электропривода, посредством которых осуществляется опускание и подъем стрелы, перемещение фиксирующих упоров, каретки со стрелой, кондуктора по плитам покрытия.

Установка каретки на тележке возможна в трех положениях: по продольной оси тележки и с поперечным сдвигом вправо или влево на 700 мм.

Конструкция кондуктора позволяет применять его на покрытиях при уклонах до 20°. При этом каретка со стрелой находится в горизонтальном положении.

На покрытие первой смонтированной ячейки здания кондуктор распорку поднимают краном и устанавливают так, чтобы реборды колес входили в зазоры между плитами. Закрепляют кондуктор в рабочем положении при помощи фиксирующих упоров и натяжного устройства.

После установки стропильной фермы на колонны стрелу кондуктора опускают и она захватывает верхний пояс фермы.

Проектное расстояние между осями верхних поясов монтируемой и ранее установленной ферм обеспечивается путем совмещения стрелы каретки с нулевой отметкой шкалы, прикрепленной к раме тележки кондуктора.

С помощью крышевого кондуктора-распорки стропильные фермы монтируют на 20 - 30 мин быстрее. Соответственно снижаются время работы крана и затраты труда монтажников. Более надежно закрепляется верхний пояс фермы, повышается точность установки фермы, безопасность ее выверки и расстроповки.

Техническая характеристика

Максимальное горизонтальное усилие, кН..................... 10

Ход каретки кондуктора, мм............................................. 1000

Скорость передвижения тележки, м/мин........................ 7

Продолжительность подъема стрелы, с........................... 45

Установленная мощность, кВт......................................... 2,4

База тележки, мм................................................................ 3000

Ширина колеи, мм............................................................. 2940 - 2980

Общая масса, кг.................................................................. 2900

1 - плита покрытия; 2 - натяжное устройство; 3 - каретка; 4 - стрела с захватом; 5 - устанавливаемая ферма; 6 - фиксирующий упор; 7 - смонтированная ферма; 8 - тележка

МОНТАЖ СТРУКТУРНЫХ КОНСТРУКЦИЙ ПОКРЫТИЙ

Монтаж структурных конструкций из прокатных профилей типа «ЦНИИСК» включает укрупнительную сборку блока и установку его в проектное положение. Выполнение укрупнительной сборки блоков структур типа «ЦНИИСК» предусмотрено на конвейерной линии.

До начала монтажа конструкций покрытий должны быть выполнены следующие подготовительные работы: планировка монтажной площадки; устройство автодорог к месту монтажа; подводка электроэнергии.

Должны быть также: установлены колонны; закончены работы по устройству бетонной подготовки под полы; уложены инвентарные пути для подачи готовых блоков со сборочной площадки к месту их установки; изготовлены и установлены на инвентарные пути стенды для укрупнительной сборки; сделана раскладка по маркам монтажных элементов.

Монтаж структурных конструкций покрытий типа «ЦНИИСК» осуществляется предварительно укрупненными блоками размерами 12´18 м и 12´24 м.

Приведенные схемы разработаны применительно к более тяжелым блокам размером 12´24 м.

Укрупнение блока производится на стенде, выполненном в виде трех тележек, установленных на инвентарные пути.

Последовательность укрупнительной сборки на стенде такова:

на крайние тележки устанавливают торцевые фермы;

при помощи монтажного крана (КС-4561А) устанавливают элементы нижнего пояса структуры, при этом конец каждого элемента опирают на соответствующий узел торцевой фермы, а другой - на временную опору;

устанавливают продольные элементы верхнего пояса структуры, опирая их общим концом на торцевую ферму, а другим - на среднюю тележку стенда;

устанавливают раскос структуры, при этом для закручивания гаек следует использовать гайковерты, обеспечивающие крутящий момент 0,2 кН·м; устанавливают распорки по верхнему поясу.

После укрупнительной сборки несущего каркаса блока и полного закрепления в соответствии с проектом всех его элементов блок перемещают при помощи электрической лебедки на следующую стоянку для установки профилированного стального настила.

Готовый блок покрытия посредством лебедки доставляют по инвентарным путям в зону действия монтажного крана. Установку блока в проектное положение выполняют краном СКГ-63 с башенно-стреловым оборудованием. С помощью этого крана можно вести монтаж блоков покрытий зданий высотой от 3 до 18 м.

Затраты труда и время работы крана при монтаже укрупненных объемных блоков покрытий размером 12´24 м

Обоснование

Наименование работ

Состав звена

Единица измерения

Количество

Норма времени на единицу измерения, чел.-ч

Затраты труда на весь объем работ, чел.-ч

Время работы крана, (маш.-ч)

ЕНиР, 1980 г., § Т-63-6-3

Укрупнительная сборка каркаса блока

Монтажники конструкций

5 разр. - 1

4 разр. - 2

3 разр. - 2

1 блок

1

141

141,0

(14,2)

ЕНиР, 1979 г., § 5-1-19, табл. 1, п. 26

Монтаж профилированного стального настила картинами

Монтажники конструкций

5 разр. - 1

4 разр. - 1

3 разр. - 2

100 м2

2,88

11,48

33,1

(8,2)

ЕНиР, 1979 г., § 24-19, п. 7б

Доставка блока в зону монтажа

Такелажники

4 разр. - 1

3 разр. - 1

2 разр. - 2

т

9,4

0,45

4,2

-

ЕНиР, 1979 г., § 5-1-3, п. 7б

Установка приставных лестниц краном

Монтажники конструкций 4 разр. - 2

3 разр. - 1

шт.

2

0,36

0,7

(0,2)

ЕНиР, 1980 г., § Т-63

-6-5

Установка блока в проектное положение

Монтажники конструкций

5 разр. - 1

4 разр. - 2

3 разр. - 1

1 блок

1

3,7

3,7

(0,9)

 

Всего:

 

 

 

 

182,7

(23,5)

Монтаж структурных конструкций покрытия

Монтаж структурных конструкций покрытия. Разрезы

I, II, III - блоки покрытия

Монтаж конструкций покрытия ведется краном СКГ-63.

МОНТАЖ КРУПНОРАЗМЕРНЫХ ПЛИТ ПОКРЫТИЙ ДЛИНОЙ НА ПРОЛЕТ

Технологическая схема разработана на монтаж железобетонных плит покрытий типа «П» с малым уклоном, разработанных ЦНИИпромзданий совместно с НИИЖБом для промышленных зданий высотой до 15 м.

В состав работ, рассматриваемых схемой, входят: установка железобетонных балок; укладка железобетонных плит типа «П»; электросварка монтажных стыков; заливка швов раствором.

Организация и технология строительного процесса

До начала монтажа балок и плит покрытия должны быть: установлены колонны в соответствии с рабочими чертежами; смонтировано освещение всей территории строительной площадки, проездов и рабочих мест; подготовлены и размещены в зоне монтажа кран, инвентарь, приспособления, средства для безопасного ведения работ.

Балки и плиты доставляют в горизонтальном положении поштучно на балковозах типа 2021 (конструкция ЦНИИОМТП) на базе КрАЗ-258. Доставленные на объект балки и плиты складируют в два яруса по высоте в зоне действия монтажного крана.

Строповка и подъем плит покрытия производится при помощи траверсы грузоподъемностью 15 т конструкции ЦНИИпромзданий; балок - при помощи двухветвевого стропа грузоподъемностью 2,5 т.

Монтаж балок и плит покрытия размером 18´3 м ведется краном РДК-25.

Балки устанавливают в проектное положение, совмещая осевые риски на их торцах с рисками на опорных поверхностях колонн. Соединение балок с колоннами производится сваркой закладных элементов.

Для производства монтажных работ и подъема рабочих к монтажным узлам применяются телескопические вышки высотой до 15 м.

Крепление смонтированных конструкций производится с помощью электросварки закладных деталей плит или балок не менее чем в трех углах. Швы между плитами, предварительно очистив их от строительного мусора, заливают бетонной смесью.

Работы по монтажу покрытий из сборных железобетонных балок и плит типа «П» размером 3´18 м выполняет бригада из 18 человек в две смены. В каждую смену работают звено № 1 из 7 человек и звено № 2 из 2 человек.

Состав звена № 1:

монтажник конструкций (звеньевой) - 1,

монтажник конструкций 5 разряда - 1,

монтажник конструкций 4 разряда - 1,

монтажник конструкций 3 разряда (он же такелажник) - 1,

монтажник конструкций 2 разряда (он же такелажник) - 1,

электросварщик 5 разряда - 1,

машинист крана 5 разряда - 1.

Состав звена № 2:

монтажник конструкций 4 разряда - 1,

монтажник конструкций 3 разряда - 1.

Операционный контроль качества работ по монтажу балок и плит покрытия типа «П» следует выполнять в соответствии с требованиями главы СНиПа III-16-80 и СН 47-74 (Инструкции по разработке ПОС и ППР).

Допускаемые отклонения от проектных величин при монтаже балок и плит покрытия, приведенные в главе СНиПа III-16-80, не должны превышать следующих значений:

Смещение осей балок по нижнему поясу относительно

геометрических осей на опорных конструкциях........................... 5 мм

Отклонение расстояний между осями балок покрытий на

уровне верхних поясов.................................................................. ±20 мм

Разность отметок лицевых поверхностей двух смежных

плит покрытий в стыке при длине плиты свыше 4 м.................. 10 мм

Смещение в плане плит покрытий относительно их

проектного положения на опорных поверхностях балок............. 13 мм

Указания по технике безопасности

При производстве работ необходимо выполнять правила, изложенные в главе СНиПа III-4-80 «Техника безопасности в строительстве».

Особое внимание следует обратить на приведенные ниже требования.

Во время установки железобетонных плит рабочие должны пристегиваться при помощи цепи предохранительного пояса к ранее надежно укрепленным плитам покрытия. Для этой цели к строповочным петлям на плите крепится стальной канат диаметром 11 мм.

Между монтажником, обслуживающим установку по замоноличиванию швов, и монтажником, выполняющим заливку швов, должна быть установлена звуковая или световая сигнализация.

Технико-экономические показатели

Затраты труда на весь объем работ (здание размером

72´144 м), чел.-дн................................................................... 240,32

Затраты труда на 1 м3 железобетона, чел.-дн....................... 0,29

Время работы крана на монтаже, маш.-смен........................ 15,5

Выработка одного рабочего в смену, м3

сборного железобетона........................................................... 3,42

Стоимость затрат труда, руб.-коп.......................................... 1132-26

Материально-технические ресурсы

Машины, оборудование, инвентарь и приспособления

Наименование

Марка

Кол-во

Кран гусеничный грузоподъемностью 25 т

РДК-25

2

Балковоз (тягач КрАЗ-258)

ПК-2021

2

Траверса для подъема плит грузоподъемностью 15 т

ЦНИИпромзданий

Шифр 2729

1 компл.

Строп двухветвевой грузоподъемностью 2,5 т

ПК Главстальконструкция

1

Электросварочный аппарат

ТС-500

1

Мачта прожекторная инвентарная

-

4

Прожектор

ПЗС-35

8

Канат в комплекте с карабином диаметром 11 мм длиной 16 м

-

2

Телескопическая вышка высотой до 15 м

Карачаровский механический завод

2

Инвентарное ограждение

Промстальконструкция РЧ 4570р-2

150 м

Оттяжка из пенькового каната

-

50 м

Лестница приставная Л1 длиной 7,8 м

Промстальконструкция

2

Калькуляция затрат труда

Обоснование

Наименование работ

Единица измерения

Объем работ

Норма времени на единицу измерения,

чел.-ч

(маш.-ч)

Затраты труда на весь объем работ,

чел.-ч

(маш.-ч)

Время работы машин, (маш.-ч)

ЕНиР, 1960 г., § 24-13, п. 17в, г

Разгрузка и раскладка балок покрытия массой до 2 т

т

221

0,34

(0,17)

75,1

(37,57)

То же, п. 21в, г

То же, плит покрытия массой до 10 т

"

1920

0,17

(0,085)

326,4

(163,2)

ЕНиР, 1980 г., § 4-1-6, т. 2а, в

Монтаж балок покрытия массой до 2 т

шт.

120

1,6

(0,32)

192,0

(38,4)

ЕНиР, 1980 г., § 4-1-17, п. 1а

Электросварка монтажных стыков балок

1 м шва

72

0,37

26,7

-

ЕНиР, 1960 г., § 4-1-7, п. 10а, б (К = 2 по интерполяции)

Монтаж плит покрытия размером 3´18 м

шт.

192

2,64

(0,66)

506,9

(126,43)

ЕНиР, 1980 г., § 4-1-7, п. 2б

Электросварка монтажных стыков плит

1 м шва

217,5

0,31

67,2

-

ЕНиР, 1980 г., § 4-1-19, п. 3б

Заделка швов между плитами бетонной смесью

100 м шва

38,16

6,4

244,22

-

ЕНиР, 1979 г., § 5-1-3, п. 9б

Установка и перемещение инвентарных лестниц и вышек

м

2112

0,24

506,88

-

ЕНиР, 1979 г., § 5-1-3, п. 11а

Установка и разработка временного ограждения на плитах покрытия

"

180

0,14

25,2

-

 

Итого:

 

-

-

1970,6

(365,6)

Схема монтажа балок и плит покрытия типа «П»

1 - плиты покрытия; 2 - балки покрытия; 3 - колонны; 4 - траверса грузоподъемностью 15 т; 5 - кран; 6 - двухветвевой строп грузоподъемностью 2,5 т

Детали крепления балок и плит покрытия

1 - плиты покрытия; 2 - балка покрытия; 3 - колонны; 4 - металлическая стойка; 5 - сварной шов; 6 - опорный столик; 7 - стеновая панель; 8 - анкер; 9 - болт; 10 - гайка

МОНТАЖ СТАЛЬНЫХ СВЕТОАЭРАЦИОННЫХ ФОНАРЕЙ

Схемы разработаны для монтажа светоаэрационных фонарей одноэтажных промышленных зданий пролетами 18 и 24 м, высотой до низа стропильных ферм от 3 до 18 м.

Конструкция фонарей предусматривает возможность подвески монорельсов, несущих специальные устройства для мойки стекол двухъярусных переплетов. Фонари приняты П-образные, с вертикальными переплетами. Они расположены вдоль здания по середине пролета.

Покрытие фонарей типовое, из железобетонных плит размерами 3´6 и 3´12 м, с наружным водостоком.

Основными элементами стальных конструкций фонаря являются фонарные панели и фермы, панели торцов фонарей, а также связи.

Фонарные панели располагаются в плоскости остекленных переплетов фонаря, каждая из них опирается на две соседние стропильные фермы покрытия и в зависимости от их шага имеет длину 6 или 12 м.

Фонарные фермы состоят из стоек и раскосов. Их располагают вдоль стропильной фермы.

Панели торцов фонаря состоят из стоек, горизонтальных элементов и раскосов, они расположены в плоскости стропильных ферм.

Связи предусмотрены: горизонтальные - по верху фонарей, вертикальные - между фонарными фермами в виде решетчатых ферм с параллельными поясами. Вертикальные связи доставляют на объект в готовом виде.

Номинальные размеры фонарей и их переплетов в зависимости от пролетов зданий приведены ниже.

Номинальная ширина фонаря, м

Номинальная высота фонарного переплета, мм

Пролет здания, м

6

1´1750

18

 

2´1250

 

12

1´1750

24

 

2´1250

24; 30; 36

 

2´1500

 

Схемы монтажа составлены для торцевых и средних фонарей шириной 12 м при наибольшей высоте остекления 2´1500 мм. Они могут быть применены также для монтажа фонарей шириной 6 м при внесении незначительных уточнений.

Схемы содержат рекомендации по организации и технологии производства работ для двух методов монтажа фонарей: отдельными (предварительно укрупненными) плоскостными элементами и с предварительным укрупнением фонарей в объемные блоки длиной 12 м.

Укрупняемые блоки снабжаются переплетами с нащельниками, приборами, открывающими и закрывающими переплеты, и монорельсами, к которым крепят устройства для мойки стекол.

Схемы монтажа фонарей отдельными (предварительно укрупненными) плоскостными элементами предусматривают: выгрузку и сортировку элементов, подготовку основания под стенды и инвентарных приспособлений для укрупнительной сборки; укрупнительную сборку отправочных марок в плоскостные элементы, оснащение их инвентарными приспособлениями; установку укрупненных плоскостных элементов в проектное положение; монтаж отдельных линейных элементов фонарей; демонтаж инвентарных приспособлений и переходных мостиков; укладку железобетонных плит покрытия по фонарям.

Стенды для укрупнительной сборки устанавливают на спланированном естественном основании, исключающем возможность просадки. Отклонения рабочей поверхности стенда не должны превышать ±5 мм по вертикали.

После укрупнения на стенде на фонарную панель навешивают переплеты, которые временно скрепляют проволочными скрутками (не менее двух на каждый переплет), укрепляют нащельники, навешивают приборы, открывающие переплеты. Монтажные приспособления (подкосы и навесные лестницы) крепят при помощи струбцин и стального каната с карабином.

Фонарную ферму на том же стенде укрупняют из следующих элементов заводской готовности: двух треугольных ферм и двух линейных элементов верхнего пояса. Нижние узлы фермы на период монтажа раскрепляют инвентарной распоркой-шаблоном.

После установки на стенд конструктивных элементов торцевой панели фонаря на них укладывают асбестоцементные листы, закрепляемые на болтах, а затем крепят нащельники и детали карниза. В завершающей стадии на укрупненную панель навешивают монтажные приспособления (подкосы, обеспечивающие временное крепление, и лестницы для монтажников).

Для укрупнительной сборки плоскостных элементов фонаря целесообразно применять автомобильный кран. Этот же кран используют при выгрузке и складировании элементов.

Укрупненные панели и фермы фонаря при помощи крана устанавливают в кассеты, располагаемые в зоне его действия.

Плоскостные элементы фонарей монтируют в одном потоке со стропильными фермами и плитами покрытия одним и тем же краном. При этом для торцевых фонарей соблюдается такая очередность: глухую (остекленную) торцевую панель устанавливают на смонтированную стропильную ферму покрытия, затем устанавливают очередную стропильную ферму; укладывают прилегающие к фонарю плиты покрытия; устанавливают остекленные фонарные панели и фонарную ферму (с инвентарной распоркой-шаблоном), после чего вертикальные связи, монорельсы, горизонтальные связи и плиты покрытия фонаря. Плиты укладывают от одного края фонаря к другому.

При монтаже рядовых фонарей в отличие от торцевых отсутствуют горизонтальные связи и вместо вертикальных связей устанавливаются прогоны коробчатого сечения.

Устойчивость плоскостных элементов (торцевой и фонарной панелей) обеспечивается путем крепления подкосов к монтажным петлям примыкающих плит покрытия. Окончательное закрепление элементов производится болтами. Для работ по креплению горизонтальных связей и установке фонарных ферм используют монтажные люльки. Их навешивают на стропильную ферму и на фонарные панели.

Технологические схемы монтажа объемных блоков фонарей, собранных на кондукторе из предварительно укрупненных плоскостных элементов или доставленных с завода в готовом виде, включают следующие процессы: выгрузку и складирование конструктивных элементов; подготовку основания под стенд и кондуктор; установку стенда и кондуктора в рабочее положение; подготовку инвентарных приспособлений; укрупнительную сборку плоскостных элементов и объемного блока фонаря на кондукторе; установку объемного блока в проектное положение; укладку плит по фонарям; демонтаж инвентарных приспособлений.

Укрупнительную сборку панелей и ферм фонаря на стенде целесообразно осуществлять при помощи автомобильного крана, используемого при выгрузке и складировании элементов. При сборке объемных блоков целесообразно использовать еще и монтажный кран. Это ускоряет темп монтажа здания.

Сборка объемного торцевого блока фонаря на кондукторе ведется в следующем порядке.

Кондуктор размещают на спланированном основании и устанавливают на него две укрупненные фонарные панели (одну автомобильным краном, другую - монтажным), прикрепляя каждую четырьмя болтами к опорным узлам кондуктора.

Сначала устанавливают и прикрепляют к фонарным панелям торцевую панель и фонарную ферму, а затем присоединяют к ним вертикальные связи, монорельсы и горизонтальные связи фонаря.

Собранный объемный блок отсоединяют от кондуктора и при помощи специальной траверсы поднимают и устанавливают в проектное положение. Предварительно должны быть уложены примыкающие к фонарю железобетонные плиты покрытия. Монтаж ведут гусеничным краном.

В рядовом объемном блоке фонаря торцевая панель отсутствует. Поэтому свободные концы монорельсов и горизонтальных связей (из-за наличия в рядовом блоке только фонарной фермы) в процессе укрупнения удерживаются опорами кондуктора, а в процессе подъема и установки - клещевыми захватами траверсы.

При установке рядового блока в проектное положение свободные концы горизонтальных связей и монорельсов опирают на фонарную ферму ранее смонтированного блока и скрепляют с ней. Затем укладывают плиты покрытия фонаря от одного края фонаря к другому. После чего стенд и кондуктор переставляют при помощи крана в смежную ячейку здания.

Монтаж конструкций покрытия следующей ячейки начинают с установки стропильной фермы и укладки плит покрытия, примыкающих с обеих сторон к фонарю.

Обеспечение точности монтажа стальных светоаэрационных фонарей

Точность монтажа светоаэрационных фонарей определяется качеством изготовления отправочных заводских элементов, а также точностью размеров укрупненных на площадке плоскостных и объемных блоков.

В процессе приемки отправочные элементы должны быть выборочно проверены компарированной рулеткой. Если отклонения размеров превышают предельные, следует проверить все элементы. Элементы с отклонениями размеров выше предельных бракуют.

Места установки фонарных панелей и ферм следует предварительно размечать на каждой стропильной конструкции. В случае отсутствия заводской разметки места укладки плит покрытия размечают на верхнем поясе фонарных ферм.

Рекомендуются следующие предельные отклонения (в мм) для светоаэрационных фонарей:

Смещение относительно разбивки фонарных ферм и

панелей в нижнем сечении.................................................... ±10

Смещение плит покрытия вдоль их опорной грани в

плане на фонарной ферме...................................................... ±20

Отклонение фонарных ферм и панелей в верхнем

сечении от вертикали............................................................. 1:250 высоты фонаря

Погрешность измерения должна быть не более 10 % при приемке элементов и 20 % при монтаже от предельных отклонений по контролируемому параметру.

Техника безопасности при производстве работ

Особое внимание при монтаже светоаэрационных фонарей необходимо обратить на следующее.

Навесные лестницы, подмости, люльки и другие приспособления, необходимые для работы монтажников в процессе укрупнения плоскостных элементов и объемных блоков, следует устанавливать до подъема элементов.

Установку и крепление укрупненных плоскостных элементов фонаря, а также объемных блоков монтажникам следует выполнять с навесных лестниц или с подмостей; установку и крепление связей, распорок и прогонов - с люлек, лестниц или подмостей.

Во время установки панелей фонаря (торцевой или двух фонарных) монтажники должны находиться на ранее уложенных плитах покрытия, а при расстроповке панелей и снятии подкосов - на навесных лестницах.

Монтаж фонарных ферм ведется монтажниками, находящимися в люльке, подвешенной к стропильной ферме покрытия. Соединение верхних узлов фонарных ферм с панелями и расстроповка ферм должны выполняться с навесных лестниц с ограждениями.

При установке и закреплении в проектном положении вертикальных связей, прогонов и монорельсов монтажники должны находиться на навесных лестницах, прикрепленных к фонарной ферме и торцевой панели, при монтаже горизонтальных связей - на переходном мостике с одной стороны и на стремянке с другой.

Запрещается ходить по установленным конструкциям, не имеющим ограждений. Крайние плиты покрытия и фонаря должны быть ограждены перилами.

Расстроповка блока фонаря допускается только после временного крепления концов монорельсов. Инвентарные приспособления (подкосы, люльки, переходные мостики и др.) можно демонтировать после окончательного закрепления всех элементов фонаря.

Затраты труда и время работы крана при монтаже отдельными укрупненными плоскостными элементами рядового фонаря шириной 12 м, при шаге ферм 12 м и высоте переплетов остекления 2´1500 мм

Обоснование

Наименование работ

Состав звена

Единица измерения

Количество

Норма времени на единицу измерения, чел.-ч

Затраты труда на весь объем работ, чел.-ч

Время работы крана, (маш.-ч)

1

2

3

4

5

6

7

8

ЕНиР, 1979 г., § 5-1-1, № 3

Сортировка и подача конструкций к месту укрупнения

Монтажники

6 разр. - 1

5 разр. - 1

3 разр. - 1

т

5,15

0,7

3,6

(1,2)

ЕНиР, 1979 г., § 5-1-1, № 3 (применительно)

Сборка стенда для укрупнения панелей и фонарных ферм

Монтажники

6 разр. - 1

5 разр. - 1

3 разр. - 1

т

1

0,7

0,7

(0,23)

ЕНиР, 1979 г., § 5-1-5, № 1, 2е

Укрупнительная сборка фонарных панелей и переплетов

Монтажники

6 разр. - 1

5 разр. - 1

4 разр. - 2

2 разр. - 1

шт.

т

10

3,31

1,45

1,25

18,6

(3,7)

ЕНиР, 1979 г., § 5-1-14, б

Установка начальников и деталей механизма открывания переплетов

Монтажник

4 разр. - 1

Электросварщик

4 разр. - 1

т

0,24

20,4

4,9

-

ЕНиР, 1979 г., § 1-7, т. 2, № 1

Установка укрупненных ферм и панелей фонаря в кассету

Монтажники

4 разр. - 2

шт.

3

0,09

0,27

(0,14)

ЕНиР, 1979 г., § 5-1-5, № 1, 2е

Укрупнительная сборка фонарной фермы на стенде

Монтажники

6 разр. - 1

5 разр. - 1

4 разр. - 2

2 разр. - 1

шт.

т

4

0,6

1,45

1,25

6,55

(1,31)

ЕНиР, 1979 г., § 5-1-6, № 1, 2з

Монтаж укрупненных фонарных панелей и ферм

Монтажники

6 разр. - 1

5 разр. - 2

4 разр. - 3

2 разр. - 1

шт.

т

3

4,15

10,2

0,88

34,3

(4,9)

ЕНиР, 1979 г., § 5-1-6, № 1, 2е

Монтаж распорок и монорельсов

Монтажники

6 разр. - 1

5 разр. - 2

4 разр. - 3

2 разр. - 1

шт.

т

4

1,04

0,46

5

7,04

(1,0)

ЕНиР, 1979 г., § 5-1-1, № 2

Установка кассеты для складирования элементов

Монтажники

6 разр. - 1

5 разр. - 1

3 разр. - 1

т

1

0,57

0,6

(0,2)

ЕНиР, 1979 г., § 5-1-3, № 9б с примеч. 3, К = 1,7

Установка и снятие инвентарных лестниц с ограждением

2 звена

Монтажники

4 разр. - 2

3 разр. - 1

1 м

35 + 20

0,41

22,6

(3,8)

ЕНиР, 1979 г., § 5-1-3, № 6а с примеч. 3, К = 1,7

Устройство и снятие подмостей вдоль стропильной фермы покрытия

2 звена

Монтажники

4 разр. - 2

3 разр. - 1

м2

7,2

0,8

5,76

(0,96)

ЕНиР, 1979 г., § 5-1-3, № 7а (применительно)

Установка и снятие монтажных подкосов

2 звена

Монтажники

4 разр. - 2

3 разр. - 1

шт.

7

0,29

2,04

(0,34)

 

Итого:

 

 

 

 

106,9

(17,8)

Затраты труда и время работы крана при монтаже укрупненных объемных блоков рядового фонаря шириной 12, при шаге ферм - 12 м и высоте переплетов остекления 2´1500 мм

Обоснование

Наименование работ

Состав звена

Единица измерения

Количество

Норма времени на единицу измерения, чел.-ч

Затраты труда на весь объем работ, чел.-ч

Время работы крана, (маш.-ч)

1

2

3

4

5

6

7

8

ЕНиР, 1979 г., § 5-1-1, № 3

Сортировка и подача конструкции к месту укрупнения

Монтажники

6 разр. - 1

5 разр. - 1

3 разр. - 1

т

5,15

0,7

3,6

(1,2)

ЕНиР, 1979 г., § 5-1-1, № 3 (применительно)

Сборка стенда для укрупнения панелей и фонарных ферм

Монтажники

6 разр. - 1

5 разр. - 1

3 разр. - 1

т

1

0,7

0,7

(0,23)

ЕНиР, 1979 г., § 5-1-5, № 1, 2е

Укрупнительная сборка фонарных панелей и переплетов

Монтажники

6 разр. - 1

5 разр. - 1

4 разр. - 2

2 разр. - 1

шт.

т

10

3,31

1,45

1,25

18,6

(3,7)

ЕНиР, 1979 г., § 5-1-14, б

Установка нащельников и деталей механизма открывания переплетов

Монтажник

4 разр. - 1

Электросварщик

4 разр. - 1

т

0,24

20,4

4,9

-

ЕНиР, 1979 г., § 1-7, т. 2, № 1

Установка укрупненных ферм и панелей фонаря в кассету

Монтажники

4 разр. - 2

шт.

3

0,09

0,27

(0,14)

ЕНиР, 1979 г., § 5-1-5, № 1, 2e

Укрупнительная сборка фонарной фермы на стенде

Монтажники

6 разр. - 1

5 разр. - 1

4 разр. - 2

2 разр. - 1

шт.

т

4

0,6

1,45

1,25

6,55

(1,31)

ЕНиР, 1979 г., § 5-1-5, № 1, 2е с примеч. 2

Сборка блока из предварительно укрупненных панелей и фонарной фермы на кондукторе

Монтажники

6 разр. - 1

5 разр. - 1

4 разр. - 2

2 разр. - 1

шт.

т

3

4,15

1,45

1,25

9,54

(1,9)

ЕНиР, 1979 г., § 5-1-6, № 1, 2е

Сборка распорок и монорельсов

Монтажники

6 разр. - 1

5 разр. - 2

4 разр. - 3

2 разр. - 1

шт.

т

4

1,04

0,46

5

7,04

(1,0)

ЕНиР, 1979 г., § 5-1-1, № 2

Установка кассеты для складирования элементов

Монтажники

6 разр. - 1

5 разр. - 1

3 разр. - 1

т

1

0,57

0,6

(0,2)

ЕНиР, 1979 г., § 5-1-3, № 9а с примеч. 3, К = 1,7

Установка и снятие инвентарных лестниц с ограждением

2 звена

Монтажники

4 разр. - 2

3 разр. - 1

1 м

35 + 20

0,324

17,9

(3,0)

ЕНиР, 1979 г., § 5-1-3, № 6а с примеч. 3, К = 1,7

Установка и снятие переходного мостика

2 звена

Монтажники

4 разр. - 2

3 разр. - 1

м2

6

0,8

4,8

(0,8)

ЕНиР, 1979 г., § 5-1-1, № 1

Установка кондуктора для сборки блока

Монтажники

6 разр. - 1

5 разр. - 1

3 разр. - 1

т

2,6

0,45

1,17

(0,39)

 

Итого на укрупнение блока

 

 

 

 

75,67

(13,87)

ЕНиР, 1979 г., § 5-1-3, № 6а с примеч. 3, К = 1,7

Устройство и снятие подмостей вдоль стропильной фермы покрытия

2 звена

Монтажники

4 разр. - 2

3 разр. - 1

м2

7,2

0,8

5,76

(0,96)

ЕНиР, 1979 г., § 5-1-6, № 1, 2з

Установка блока фонаря в проектное положение

Монтажники

6 разр. - 1

5 разр. - 2

4 разр. - 3

2 разр. - 1

1 блок т

1

5,15

10,2

0,88

14,73

(2,1)

 

Итого на установку блока фонаря

 

 

 

 

20,5

(3,06)

 

ВСЕГО

 

 

 

 

96,2

(16,9)


Параметры и марки кранов и приспособлений, рекомендуемые для монтажа светоаэрационных фонарей и железобетонных плит по ним (монтаж фонарей элементами, предварительно укрупненными в плоскостные блоки)

Условные номера ячеек здания

Исходные данные для монтажа

Требуемые параметры

Гусеничные краны

Пневмоколесные краны

Приспо­собление (№ в приложении)

Разгрузка, раскладка и укрупнение

Масса, т

Высота (длина), м

вылет крюка, м*

грузо­подъ­емность, т

высота подъема крюка, м

Рекомендуемые

Заменя­ющие

Рекомендуемые

Заме­няющие

монти­руемого элемента

стропо­воч­­ного приспо­собления

верха ниже­лежащего элемента

монти­руемого элемента

стропо­воч­ного приспо­собления рас­четная

марка

длина стрелового обору­дования, м

марка

длина стрелового обору­дования, м

марка крана

приспо­собление (№ в прило­жении)

Шаг стропильных конструкций 6 м, ширина фонарей 6 и 12 м**

22; 23; 26; 27; 30; 31; 49; 50; 53; 54; 57; 58

2,7

0,112

11,9 - 14,9

0,3

5,1

13,3 - 13,9

12

2,9

17,8 - 20,8

МКГ-25БР

18,5 + 5

РДК-25

ДЭК-251

МКП-25А

19,1 + 5

КС -5363

19; 25; 47; 46; 33; 53; 63

КС-3561А

25; 31; 33

34; 35; 61; 62; 82; 83; 103; 104

2,7

0,112

15,5 - 16,1

0,3

5,1

14,2

12

2,9

21,4 - 22,0

МКГ-25БР

23,5 + 5

РДК-25

ДЭК-251

МКП-25А

22,1 + 5

КС-5363

25; 47; 46; 19; 33; 53; 63

КС-3561А

25; 31; 33

38; 39; 42; 43; 65; 66; 69; 70; 86; 87; 90; 92; 107; 111; 112

2,7

0,112

16,7 - 18,5

0,3

5,1

14,5 - 14,8

12

2,9

22,6 - 24,4

МКГ-25БР

28,5 + 5

РДК-25

ДЭК-251

КС-5363

БС 20 + 10

МКТ-40

25; 47; 46; 63; 53; 19; 33

КС-3561А

25; 31; 33

46; 73; 76; 79; 94; 115; 118; 121

2,7

0,112

19,1 - 22,1

0,3

5,1

15,1 - 15,7

12

2,9

25,0 - 28,0

МКГ-25БР

БС 28,5 + 5

РДК-25

ДЭК-251

КС-5363

БС 20 + 10

МКТ-40

25; 47; 46; 63; 53; 19; 33

КC-3561A

25; 31; 33

124; 127; 130

2,7

0,112

22,7 - 25,7

0,3

5,1

16,0 - 16,6

12

2,9

28,6 - 31,6

МКГ-25БР

БС 33,5 + 5

РДК-25

ДЭК-251

МКТ-40

25 + 7

КС-6362

25; 47; 46; 63; 53; 19; 33

КС-3561А

25; 31; 33

Шаг стропильной конструкции 12 м, ширина фонарей 6 и 12 м***

24; 25; 28; 29; 32; 33; 36; 37; 40; 41; 44; 45; 51; 52; 55; 56; 59; 60; 63; 64; 67; 68; 71; 72; 84; 85; 88; 89; 92; 93; 105; 106; 109; 110; 113; 114

7,0

0,112

11,9 - 18,5

0,5

5,1

13,6 - 14,8

9

7,2

18,0 - 24,6

МКГ-40

БС 20,8 + 10

СКГ 40/63

КС-6362

25 + 8

МКТ-40

25; 53; 47; 20; 46; 33; 63

КС-3561А

25; 31; 33

47; 48; 74; 75; 77; 78; 95; 96; 116; 117; 119; 120

7,0

0,112

19,1 - 20,9

0,5

5,1

15,1 - 16,4

9

7,2

25,2 - 27,0

МКГ-40

БС 25,8 + 10

СКГ 40/63

КС-6362

30 + 8

МКТ-40

25; 47; 46; 63; 53; 20; 33

КС-3561А

25; 31; 33

80; 81; 122; 123; 125; 126; 128; 129

7,0

0,112

22,1 - 14,5

0,5

5,1

15,7 - 16,3

9

7,2

28,2 - 30,6

МКГ-40

БС 25,8 + 10

СКГ 40/63

КС-6362

30 + 8

МКТ-40

25; 47; 46; 63; 53; 20; 33

КС-3561А

25; 31; 33

131; 132

7,0

0,112

25,7

0,5

5,1

16,6

9

7,2

31,8

МКГ-40

БС 25,8 + 15

СКГ 40/63

КС-6362

30 + 8

МКТ-40

25; 47; 46; 63; 53; 20; 33

КС-3561А

25; 31; 33

* Значения требуемого вылета крюка крана приведены для двух случаев: в числителе - для кранов с обычным стреловым оборудованием; в знаменателе - для кранов с башенно-стреловым оборудованием.

** Для монтажа фонарей при шаге стропильных конструкций 6 м рекомендуемые краны подобраны из условия монтажа железобетонных плит покрытий размером 3´6 м и массой 2,7 т, которые определяют максимальные требуемые параметры монтажных кранов.

*** Для шага стропильных инструкций 12 м параметры кранов подобраны из условия размера плит 3´12 м массой 7 т.

Параметры и марки кранов и приспособлений, рекомендуемых для монтажа светоаэрационных фонарей и железобетонных плит по ним (монтаж с предварительным укрупнением фонарей в объемные блоки длиной 12 м)

Условные номера ячеек здания

Исходные данные для монтажа

Требуемые параметры

Гусеничные краны

Пневмоколесные краны

Приспособление (№ в приложении)

Разгрузка и раскладка и укрупнение

 

Масса, т

Высота (длина), м

вылет крюка*, м (числитель - для стреловых, знаменатель - для башенно-стреловых кранов)

грузоподъемность, т

высота подъема крюка, м

Рекомендуемые

Заменяющие

Рекомендуемые

Заменяющие

марка крана

приспособление (№ в приложении)

монтируемого элемента

строповочного приспособления

верха нижележащего элемента

монтируемого элемента

строповочного приспособления расчетная

марка

длина стрелового оборудования, м

марка

длина стрелового оборудования, м

Фонари шириной 6 м при шаге стропильных конструкций 6 м

 

22; 23; 26; 27; 30; 31; 34; 35; 38; 42; 43; 46; 49; 82; 83; 86; 87; 90; 91; 94

3,84 (4,54)

2,26

7,9 - 15,1

4

2,5

9,6 - 11,4

9,0

6,1 (6,8)

14,9 - 22,1

МКГ-25БР

БС 18,5 + 10

РДК-25

КС-6362

БС 20 + 8

МКП-25А

19; 29; 46; 47; 53; 63

КС-3561А

25; 31; 32; 33; 46

 

Фонари шириной 12 м при шаге стропильных конструкций 6 м

 

45; 50; 53; 54; 57; 58; 61; 62; 65; 66; 69; 70; 73; 76; 103; 104; 107; 108; 111; 112; 115; 118

4,84 (6,32)

2,26

8,5 - 16,9

4

2,5

9,6 - 11,7

9,0

7,1 (8,58)

15,5 - 23,9

МКГ-25БР

БС 18,5 + 10

РДК-25

КС-6362

БС 20 + 8

МКП-25А

19; 29; 46; 47; 53; 63

КС-3561А

25; 31; 32; 33; 46

 

79; 121

4,84

2,26

18,1

4

2,5

12

9,0

7,1

25,1

МКГ-25БР

БС 23,5 + 10

РДК-25

КС-5363

БС 25 + 8

МКП-25А

19; 29; 46; 47; 53; 63

КС-3561А

25; 31; 32; 33; 46

 

124; 127; 130

4,8

2,26

19,3 - 21,7

4

2,5

12,3 - 12,9

9,0

7,1

26,3 - 28,7

МКГ-25БР

БС 23,5 + 10

РДК-25

КС-5363

БС 25 + 8

МКП-25А

19; 29; 46; 47; 53; 63

КС-3561А

25; 31; 32; 33; 46

 

Фонари шириной 6 и 12 м при шаге стропильных конструкций 12 м. (Плиты размером 3´12 м массой 7 т)

 

24; 25; 28; 29; 32; 33; 36; 37; 40; 41; 44; 45; 52; 51; 55; 56; 59; 60; 63; 64; 67; 68; 71; 72; 84; 85; 88; 89; 92; 93; 105; 106; 109; 110; 113; 114

7

2,26

11,9 - 18,5

0,5

2,5

13,6 - 14,8

9,0

9,3

15,4 - 22,0

МКГ-40

БС 15,8 + 10

СКГ-40/63

КС-6362

25 + 8

МКТ-40

20; 29; 46; 47; 53; 63

КC-3561A

25; 31; 32; 33; 46

 

47; 48; 74; 75; 77; 78; 95; 96; 116; 117; 119; 120

7

2,26

19,1 - 20,9

0,5

2,5

15,1 - 15,4

9,0

9,3

22,6 - 24,4

МКГ-40

БС 20,8 + 10

СКГ-40/63

КС-6362

25 + 8

МКТ-40

20; 29; 46; 47; 53; 63

КС-3561А

25; 31; 32; 33; 46

 

80; 81; 122; 123; 125; 126; 128; 129

7

2,26

22,1 - 14,5

0,5

2,5

15,7 - 16,3

9,0

9,3

25,6 - 28,0

МКГ-40

БС 20,8 + 15

СКГ-40/63

КС-6362

30 + 8

МКТ-40

20; 29; 46; 47; 53; 63

КС-3561А

25; 31; 32; 33; 46

 

131; 132

7

2,26

25,7

0,5

2,5

16,9

9,0

9,3

29,2

МКГ-40

БС 20,8 + 15

СКГ-40/63

КС-6362

30 + 8

МКТ-40

20; 29; 46; 47; 53; 63

КС-3561А

25; 31; 32; 33; 46

 

* Значения требуемого вылета крюка крана приведены для двух случаев: в числителе - для кранов с обычным стреловым оборудованием; в знаменателе - для кранов с башенно-стреловым оборудованием.


Схемы конструкций фонаря шириной 12 м (вид сверху)

1 - вертикальные связи; 2 - фонарные фермы; 3 - оси стропильных ферм; 4 - фонарные панели; 5 - торцевые панели; 6 - ось температурного шва; 7 - монорельс; 8 - верх стропильной фермы

Схемы конструкций фонаря шириной 6 м (вид сверху)

1 - вертикальные связи; 2 - фонарные фермы; 3 - оси стропильных ферм; 4 - фонарные панели; 5 - торцевые панели фонарей; 6 - ось температурного шва; 7 - монорельс; 8 - верх стропильной фермы

Выгрузка и раскладка конструкций торцевого блока фонаря и укрупнительная сборка торцевой панели при монтаже плоскостными элементами

1 - колонны; 2 - навесные лестницы; 3 - штабеля плит; 4 - плиты покрытия; 5 - временное ограждение; 6 - стропильная ферма; 7 - укрупненная торцевая связь; 8 - фонарные панели; 9 - фонарная ферма; 10 - вертикальные связи; 11 - горизонтальные связи и монорельс; 12 - штабель асбестоцементных листов; 13 - конструктивные элементы фонаря; 14 - кассета; 15 - деревянные подкладки; 16 - связь по колоннам; 17 - стенд для сборки панелей и ферм; 18 - автомобильный кран; 19 - транспортное средство; 20 - торцевая панель; 21 - строп; 22 - асбестоцементные листы; 23 - нащельники и элементы карниза; 24 - карниз

Установка торцевой фонарной панели

1 - колонны; 2 - монтажные лестницы; 3 - плита покрытия; 4 - штабель плит; 5 - монтажный кран; 6 - торцевые панели фонаря; 7 - инвентарные подкосы; 8 - навесные лестницы; 9 - ограждение; 10 - стропильная ферма; 11 - фонарные панели; 12 - фонарная ферма; 13 - вертикальная связь; 14 - монорельс; 15 - горизонтальная связь; 16 - кассета; 17 - связи по колоннам; 18 - стенд для укрупнительной сборки панелей и ферм; 19 - оттяжка; 20 - траверса

Установка рядовой фонарной панели

1 - колонны; 2 - штабеля плит покрытия; 3 - навесные лестницы; 4 - фонарные панели; 5 - лестницы; 6 - инвентарные подкосы; 7 - торцевая панель; 8 - люлька; 9 - ограждение; 10 - монтажные лестницы; 11 - плиты покрытия; 12 - вертикальные связи; 13 - монорельс; 14 - горизонтальные связи; 15 - кассета; 16 - монтажный кран; 17 - стропильная ферма; 18 - связь по колоннам; 19 - стенд для укрупнительной сборки; 20 - траверса; 21 - оттяжка

Установка фонарной фермы

1 - колонны; 2 - штабеля плит покрытия; 3 - навесные лестницы; 4 - фонарные панели; 5 - лестницы; 6 - инвентарные подкосы; 7 - торцевые панели; 8 - ограждение; 9 - смонтированное покрытие; 10 - люлька; 11 - фонарная ферма; 12 - монтажные лестницы; 13 - вертикальные связи; 14 - монорельс; 15 - горизонтальные связи; 16 - монтажный кран; 17 - кассета; 18 - стропильная ферма; 19 - связи по колоннам; 20 - стенд для укрупнительной оборки; 21 - траверса; 22 - канат; 23 - оттяжка

Установка горизонтальных связей

1 - колонны; 2 - штабеля плит покрытия; 3 - ограждения; 4 - навесные лестницы; 5 - инвентарные подкосы; 6 - торцевая панель; 7 - фонарные панели; 8 - лестницы; 9 - вертикальные связи; 10 - монорельс; 11 - переходной мостик; 12 - монтажные лестницы; 13 - фонарная ферма; 14 - люлька; 15 - кассета; 16 - горизонтальная связь; 17 - монтажный кран; 18 - стенд для укрупнительной сборки панелей и ферм; 19 - стропильная ферма; 20 - связи по колоннам; 21 - страховочный канат; 22 - смонтированные плиты покрытия

Укладка плит покрытия фонаря

1 - колонны; 2 - монтажные лестницы; 3 - штабеля плит; 4 - ограждения; 5 - траверса; 6 - плиты покрытия фонаря; 7 - торцевая панель; 8 - горизонтальная связь; 9 - вертикальная связь; 10 - монорельс; 11 - фонарная ферма; 12 - фонарные панели; 13 - плиты покрытия; 14 - кассета; 15 - монтажный кран; 16 - стропильные фермы; 17 - связи по колоннам; 18 - стенд для укрупнительной сборки панелей и ферм; 19 - навесные лестницы; 20 - оттяжка

Выгрузка и складирование конструкций фонарей и установка фонарных панелей на кондуктор при сборке в объемные блоки

1 - элементы фонарных ферм; 2 - фонарные панели; 3 - транспортное средство; 4 - автомобильный кран; 5 - место складирования горизонтальных связей; 6 - место складирования прогонов; 7 - место складирования вертикальных связей; 8 - траверса; 9 - сани с кондуктором для укрупнения и транспортирования фонарных блоков; 10 - место складирования элементов торцевых панелей; 11 - стенд для укрупнительной сборки панелей и ферм; 12 - приставная лестница

Примечание. Перед установкой фонарной панели в блок на панель навешивают фонарные переплеты с нащельниками

Укрупнительная сборка фонарной фермы и установка ее на кондуктор при сборке объемного блока

 Направление движения транспортных средств

1 - фонарные панели; 2 - фонарная ферма; 3 - приставная лестница; 4 - место складирования горизонтальных связей; 5 - место складирования прогонов; 6 - места складирования вертикальных связей; 7 - установленная фонарная панель; 8 - сани с кондуктором для укрупнения и транспортирования фонарных блоков; 9 - место складирования элементов торцевых панелей; 10 - стенд для укрупнительной сборки панелей и ферм; 11 - автомобильный кран; 12 - транспортное средство; 13 - элементы фонарной фермы

Выгрузка и складирование прогонов и установка их в фонарный блок

 Направление движения транспортных средств

1 - элементы фонарных ферм; 2 - фонарные панели; 3 - место складирования горизонтальных связей; 4 - места складирования прогонов; 5 - транспортное средство; 6 - места складирования вертикальных связей; 7 - автомобильный кран; 8 - приставная лестница; 9 - сани с кондуктором для укрупнения и транспортирования фонарных блоков; 10 - установленная фонарная ферма; 11 - место складирования элементов торцевых панелей; 12 - стенд для укрупнительной сборки панелей ферм

Монтаж стропильной фермы. План

1 - колонны; 2 - штабеля плит покрытия; 3 - приставная лестница; 4 - площадка навесная; 5 - стропильная ферма; 6 - траверса; 7 - смонтированное покрытие; 8 - смонтированный торцевой фонарь; 9 - инвентарная распорка; 10 - гусеничный кран; 11 - место складирования стропильных ферм; 12 - кассета; 13 - ось движения трактора с блоком

Монтаж стропильной фермы. Разрез А-А

1 - колонны; 2 - приставные лестницы; 3 - площадка навесная; 4 - стропильная ферма; 5 - траверса; 6 - инвентарная распорка; 7 - оттяжка; 8 - гусеничный кран; 9 - штабеля плит покрытия; 10 - кассеты для складирования стропильных ферм

Монтаж плит покрытия, примыкающих к фонарю. План

1 - колонны; 2 - штабеля плит покрытия; 3 - траверса; 4 - приставная лестница; 5 - площадка навесная; 6 - смонтированная стропильная ферма; 7 - плита покрытия; 8 - временное ограждение; 9 - смонтированное покрытие; 10 - смонтированный торцевой фонарь; 11 - инвентарная распорка; 12 - место складирования стропильных ферм; 13 - кассета; 14 - гусеничный кран; 15 - ось движения крана

Монтаж плит покрытия, примыкающих к фонарю. Разрез А-А

1 - колонны; 2 - оттяжка; 3 - приставная лестница; 4 - плита покрытия; 5 - временное ограждение; 6 - траверса; 7 - смонтированная ферма; 8 - инвентарная распорка; 9 - гусеничный кран; 10 - площадка навесная; 11 - штабель плит покрытия; 12 - стропильные фермы; 13 - кассета; 14 - оси движения крана

Монтаж торцевого фонарного блока

1 - колонны; 2 - штабеля плит; 3 - монтажный кран; 4 - люлька; 5 - траверса; 6 - фонарный блок; 7 - навесные лестницы; 8 - временное ограждение; 9 - плиты покрытия; 10 - навесные лестницы; 11 - навесные стремянки; 12 - вертикальная связь; 13 - торцевая панель; 14 - кондуктор для укрупнительной сборки блока фонаря; 15 - фонарная панель; 16 - переходной мостик; 17 - монорельс; 18 - горизонтальные связи; 19 - фонарная ферма; 20 - стропильная ферма; 21 - связь по колоннам; 22 - стенд для сборки панелей и ферм; 23 - оттяжка

Монтаж рядового фонарного блока. План

1 - колонны; 2 - штабеля плит покрытия; 3 - лестница; 4 - смонтированное покрытие; 5 - временное ограждение; 6 - смонтированный торцевой фонарь; 7 - траверса; 8 - рядовой фонарный блок; 9 - площадка навесная; 10 - гусеничный кран; 11 - место складирования стропильных ферм; 12 - трактор; 13 - сани с кондуктором; 14 - кассета

Монтаж рядового фонарного блока. Разрез А-А

1 - колонны; 2 - приставная лестница; 3 - временное ограждение; 4 - смонтированное покрытие; 5 - рядовой фонарный блок; 6 - траверса; 7 - площадка навесная; 8 - гусеничный кран; 9 - инвентарная рама; 10 - кассета; 11 - стропильные фермы; 12 - штабеля плит покрытия; 13 - кондуктор для укрупнительной сборки фонарей блоками; 14 - сани

МОНТАЖ ПРОФИЛИРОВАННОГО СТАЛЬНОГО НАСТИЛА ПОКРЫТИЯ

Схема разработана на укрупнительную сборку и монтаж картин профилированного стального настила марки Н 60-782-0,8 с использованием машины для автоматического сверления отверстий (проект 1698.00.000 ЦЭКБстроймехавтоматика ЦНИИОМТП). Укрупнительную сборку настила в картины предусмотрено выполнять на сборочной площадке, расположенной в зоне действия монтажного крана, предназначенного для установки картин на предварительно укрупненный блок покрытия или в проектное положение.

Укрупненные картины могут быть двух размеров - 6´12 и 5,5´12 м (их укладывают у температурного шва).

До начала укрупнительной сборки картин профилированного стального настила должна быть подготовлена сборочная площадка, установлены и выверены стенды, доставлены необходимые монтажные приспособления. Для обеспечения поточности работ укрупнительную сборку предусмотрено выполнять на двух стендах.

Профилированный настил складируют пакетами на площадках около стендов. Укладкой листов настила с подгонкой на стенде занимаются три монтажника 2 разряда.

До начала сверления отверстий под комбинированные заклепки сверлильная машина должна быть подключена к электросети напряжением 330 В, а в конце стыка соединяемых листов должен быть установлен инвентарный упор, обеспечивающий автоматическое отключение механизма передвижения.

Машину для сверления отверстий размещают на профилированном настиле так, чтобы ведущие колеса находились впереди и в соседних гофрах от стыка, а ведомое колесо - в стыке листов. Для сверления отверстий монтажник должен сначала включить два автоматических включателя защитного устройства, затем подать напряжение к машине, нажав кнопку «включено», расположенную на дверце электрошкафа в задней части машины, переключить тумблер режима работы на «автомат» и нажать кнопку «пуск» привода машины на пульте управления.

В процессе перемещения машины по стыку и сверления отверстий, монтажник устанавливает комбинированные заклепки. После автоматической остановки машины в конце стыка, монтажники должны переставить ее к следующему стыку, развернув на 180°.

В схеме предусмотрено применение двух машин для сверления отверстий на одном стенде. В этом случае сокращаются сроки монтажа и обеспечивается максимальная загрузка машин.

До начала монтажа картин профилированного настила в зону работы крана должен быть доставлен кондуктор-тележка с укрупненным каркасом блока покрытия. Установку картин профилированного настила производят тем же монтажным краном, которым выполнялось укрупнение каркаса блока покрытия. После установки картины на блок ее крепят к прогонам при помощи самонарезающих винтов или дюбелей.

При монтаже картин профилированного настила следует руководствоваться указаниями главы СНиПа III-18-75 «Металлические конструкции. Правила изготовления, монтажа, приемки» и главы СНиПа III-4-80 «Техника безопасности в строительстве».

Затраты труда и время работы крана при укрупнительной сборке и установке на блок покрытия картин профилированного стального настила размером 6´12 м

Обоснование

Наименование работ

Составы звеньев

Единица измерения

Количество

Норма времени на единицу измерения, чел.-ч

Затраты труда на весь объем работ, чел.-ч

Время работы крана, (маш.-ч)

ЕНиР, 1979 г., § 5-1-1, п. 3

Сортировка и подача настила краном к месту укрупнения

Монтажники

6 разр. - 1

5 разр. - 1

3 разр. - 1

т

0,86

0,70

0,60

(0,20)

ЕНиР, 1979 г., § 5-1-19, табл. 2, п. 11

Раскладка и укладка листов профилированного стального настила на стенде

Монтажники

3 разр. - 3

100 м2

0,72

1,35

0,97

-

ЕНиР, 1979 г., § 5-1-19 в, табл. 2, п. 3, К = 0,2

Сверление отверстий под комбинированные заклепки машиной для автоматического сверления

Монтажник

4 разр. - 1

100 отверстий

2,0

0,11

0,22

-

ЕНиР, 1979 г., § 5-1-19 в, табл. 2, п. 4

Установка заклепок при помощи ручных клепателей

Монтажник

4 разр. - 1

100 заклепок

2,0

0,73

1,46

-

ЕНиР, 1979 г., § 5-1-19 в, табл. 1, п. 4

Установка предварительно укрупненных картин на блок покрытия краном с креплением их самонарезающими винтами

Монтажники

5 разр. - 1

4 разр. - 1

3 разр. - 2

100 м2

0,72

6,44

4,64

(1,14)

 

Итого

7,89

(1,34)

 

В том числе:

 

 

 

на укрупнение

3,25

(0,20)

 

на установку

4,64

(1,14)

Схема монтажа покрытия из профилированного настила

1 - машина для сверления отверстий; 2 - рабочее место монтажника; 3 - отверстия под заклепки; 4 - стенд; 5 - кран; 6 - траверса; 7 - картина из профилированного настила; 8 - прогон; 9 - кондуктор

МОНТАЖ НАРУЖНЫХ СТЕН

Рассмотрена установка панелей стен, выполняемая после монтажа каркаса всего здания или части его. Установка панелей с остеклением отдельно не рассматривается, так как они имеют такие же размеры и так же крепятся к колоннам, как глухие панели стен.

В схемах рассмотрена новая прогрессивная технология монтажа, предусмотрено применение специализированного оборудования, способствующего повышению производительности труда и качества монтажа, а также созданию безопасных условий работы.

Панели наружных стен приняты длиной 6 и 12 м. Высота панелей от 0,6 до 1,8 м. Типовые решения, допуская различную компоновку наружных продольных и торцевых стен в пределах колонн, в то же время строго регламентируют раскладку панелей в верхней части стен.

Монтаж стен ведется самостоятельным потоком после сборки конструктивных элементов каркаса и покрытия на захватке (обычно в пределах температурного шва). Панели устанавливают при помощи кранов на гусеничном или пневмоколесном ходу с прямыми стрелами, со стрелами с гуськом или со специализированным башенно-стреловым оборудованием. Наибольшее применение находят гусеничные краны, так как для них проще подготавливать основание под проезды.

Панели стен монтируют участками между колоннами на всю высоту здания.

Для выгрузки и установки панелей стен в кассеты предусмотрен автомобильный кран. При этом строповка панелей длиной 6 м производится двухветвевым стропом, а панелей длиной 12 м - траверсой.

При разработке исходных данных для схем монтажа были приняты панели стен длиной 6 и 12 м наибольшей массы.

Ширина зоны монтажа, проезда для транспортного средства, доставляющего конструкции, зоны работы крана зависят от технологии выполнения монтажных работ, от места расположения кассет и от других факторов.

Монтаж наружных стен по существующей технологии приведен для трех вариантов взаимного расположения монтажного крана и кассет с панелями при различном количестве панелей в одной кассете.

1. Кассета расположена между монтажным краном и монтируемой стеной. В кассете достаточно панелей для устройства стены на всю высоту.

2. Монтажный кран расположен между кассетой и монтируемой стеной. В кассете достаточно панелей для устройства стены на всю высоту.

3. Монтажный кран расположен между двумя кассетами. В кассете недостаточно панелей для устройства стены на всю высоту.

Минимальную ширину зоны (в м) вдоль фасада здания определяют следующим образом:

для первого варианта I + 3,5 + I + B/2 = 5,5 + B/2;

для второго варианта I + 2R + I + 3,5 + 0,5 = 6 + 2R;

для третьего варианта I + 3,5 + I + 2R + 2 + 3,5 + 0,5 = 10,5 + 2R,

где I - расстояние между кассетой и монтируемой стеной, между поворотной частью крана и кассетой (в случае использования двух кассет), между поворотной частью крана и стеной;

3,5 - ширина кассеты вместимостью шесть панелей;

0,5 - расстояние от монтажного крана до края проезда;

R - радиус вращения хвостовой части крана;

В - ширина гусеничного хода крана.

Таким образом, наименьшая ширина зоны по периметру здания, необходимая для монтажа наружных стен, получается по первому варианту, а наибольшая - по третьему.

Если стена состоит более чем из 12 панелей, монтаж необходимо вести за 3 проходки монтажного крана по периметру здания. По существующей технологии монтажники выверяют и крепят устанавливаемые панели с внутренней стороны здания. При возможности проезда внутри здания в качестве рабочих мест монтажников целесообразно использовать два подъемника на базе автомобилей. Это позволяет монтажникам принимать каждую панель в местах ее соединений с колоннами. Типы подъемников, применяемых при монтаже и заделке стыков панелей для разных высот стен, даны в приложении. При отсутствии подъемников в качестве рабочего места можно использовать подмости и люльки. В случае невозможности проезда внутри здания в качестве рабочих мест могут быть использованы самоподъемные люльки.

Монтаж наружных стен промышленных зданий по прогрессивной технологии ведется с применением крана со специализированным башенно-стреловым оборудованием. Это оборудование разработано для кранов Э-1254, Э-10011Д и РДК-25.

Основными технологическими особенностями применения специализированного оборудования являются:

совмещение грузоподъемного крана с монтажной площадкой;

возможность перемещения монтажной площадки по вертикали (вверх и вниз по башне), а также по горизонтали (от башни к стене и обратно);

размещение панелей в кассетах, устанавливаемых между краном и монтируемой стеной;

ширина зоны по периметру здания, составляющая около 8,5 м.

Прогрессивная технология монтажа наружных стен промышленных зданий с применением экспериментального образца башенно-стрелового оборудования на кранах Э-1254 и РДК-25 была осуществлена на стройках треста Промтехмонтаж Минстроя ЛатвССР. Затраты труда при этом оказались в два раза меньше, чем при традиционной технологии.

Геодезический контроль и обеспечение точности монтажа наружных стен

При установке наружных стен зданий особое значение имеет точность монтажа в связи с выполнением панелями стен ограждающих функций и с эстетической точки зрения. Поэтому необходимы: соблюдение размеров швов, должное качество их заделки, сохранение целостности граней лицевых поверхностей.

Техническая характеристика кранов со специализированным башенно-стреловым оборудованием

 

Э-1254

Э-10011Д

РДК-25

Грузоподъемность, т

 

 

 

крана

7

6,3

12

монтажной площадки

1

1

0,5

Вылет крюка, м

 

 

 

максимальный

3,3

6,15

10

минимальный

3,3

3,15

4

Высота подъема крюка, м

 

 

 

для башни со средней секцией

 

 

 

при максимальном вылете

21,5

19

25,8

при минимальном вылете

25

22,5

32,3

длина монтажной площадки, м

7 и 13

7

7 и 13

для башни без средней секции

 

 

 

при максимальном вылете

-

15

-

при минимальном вылете

-

18,5

-

длина монтажной площадки, м

-

7 и 13

-

Скорость подъема и опускания крюка, м/мин

16

22,5

7,37; 0,37

Скорость подъема и опускания площадки, м/мин

5

5

5

Высота пола площадки над уровнем земли, м

 

 

 

для башни со средней секцией

 

 

 

в нижнем положении

4

3,2

2,5

в верхнем положении

18

15,5

20

для башни без средней секции

 

 

 

в нижнем положении

-

3,2

-

в верхнем положении

-

11,5

-

Ход площадки по горизонтали, м

3

3

3

Скорость горизонтального перемещения площадки, м/мин

5

5

5

Примечание. Поворотная часть крана может вращаться при нижнем положении монтажной площадки на минимальном вылете. При остальных положениях монтажной площадки поворотная часть крана автоматически блокируется.

Контроль геометрических размеров панелей при приемке на строительной площадке следует производить компарированной рулеткой.

При геодезической проверке точности выполнения работ по монтажу проверяется:

1. Совмещение нижней грани панели с рисками, вынесенными от разбивочных осей на фундаментную балку или на опорные столики - для первого ряда панелей и для панелей над проемами. Положение осей панелей относительно разбивочных осей проверяют в двух местах нижней грани панели стальной линейкой или боковым нивелированием.

2. Совмещение грани устанавливаемой панели с гранями нижележащей панели. Для последующих рядов контролируют с помощью теодолита, при этом рейку поочередно приставляют к верхней грани нижележащей панели и к нижней грани устанавливаемой - в двух местах по длине панели.

3. Вертикальность устанавливаемой панели, определяемая по двум граням при помощи отвеса-рейки или методом бокового нивелирования.

4. Положение панелей по высоте путем замера разности отметок верхних граней установленных панелей методом геометрического нивелирования, а также положение опорных столиков (маяков) и подкладок на фундаментных балках.

Погрешность контрольных измерений при определении точности изготовления панелей стен не должна превышать 10 %, точности монтажа - 20 %.

Допустимые отклонения при монтаже стен:

Смещение осей или граней панелей стен в нижнем

сечении относительно разбивочных осей или

установленных ниже конструкций............................................ 5 мм

Отклонение плоскостей панелей в верхнем сечении

от вертикали (на высоту этажа или яруса)............................... 10 мм

Разность отметок верха панелей каждого яруса в

пределах выверяемого участка

при контактной установке................................................ 12 + 2n,

где - порядковый

номер ряда

при установке по маякам.................................................. 10 мм

Техника безопасности при производстве работ

Особое внимание при монтаже наружных стен нужно обращать на следующее:

при устройстве рабочих мест монтажников с внутренней стороны здания следует обеспечивать возможность подъема рабочих на всю требуемую высоту; использовать лестницы в качестве рабочих мест для этой цели не допускается;

применяя подвешиваемые на стальных канатах люльки или подмости в качестве рабочих мест для монтажников, необходимо проверять состояние стальных канатов и надежность их крепления;

при ветре силой 5 баллов (скоростью 7,5 - 9,8 м/с), гололедице, сильном снегопаде, дожде и грозе монтаж производить запрещено.

Затраты труда при монтаже панелей стен

Обоснование

Наименование работ

Состав звена

Единица измерения

Количество

Затраты труда, чел.-ч

(Время работы машин, маш.-ч)

Характеристика панелей: размеры, м; площадь, м2; масса, т

6´1,2; 7,2; 2,9

6´1,8; 10,8; 4,4

12´1,2; 14,4; 5,4

12´1,8; 21,6; 8,2

Применительно ЕНиР, 1979 г., § 1-5, № 5а

Выгрузка панелей и установка в кассеты

Такелажники

2 разр. - 2

Машинист

5 разр. - 1

шт.

1

0,156

(0,078)

-

-

-

То же, применительно

 

 

 

-

0,176

(0,088)

0,19

(0,095)

0,23

(0,115)

Расчетные данные цнииомтп

Установка панелей стен в проектное положение по прогрессивной технологии с применением специализированного башенно-стрелового оборудования

Монтажники

5 разр. - 1

4 разр. - 1

3 разр. - 1

2 разр. - 1

Машинист

5 разр. - 1

шт.

1

2

(0,5)

2

(0,5)

2,6

(0,65)

3,4

(0,85)

ЕНиР, 1980 г., § 4-1-8, табл. 1, применительно

Установка панелей стен в проектное положение (по существующей технологии)

Монтажники

5 разр. - 1

4 разр. - 1

3 разр. - 1

2 разр. - 1

Машинист

5 разр. - 1

шт.

1

3,24

(0,81)

4,2

(1,05)

4,2

(1,05)

5,5

(1,37)

ЕНиР, 1980 г., § 4-1-17, табл. 1а

Электросварка монтажных стыков

Электросварщик

5 разр. - 1

длина шва, м

катет шва, мм

1

6

0,37

0,37

-

-

0,64

8

-

-

0,24

0,24

ЕНиР, 1980 г., § 4-1-19, табл. 1б, (на 100 м 18,5 чел.-ч)

Заливка вертикальных и горизонтальных швов

Монтажники

4 разр. - 1

3 разр. - 1

м

7,2

1,33

-

-

-

7,8

-

1,44

-

-

13,2

-

-

2,44

-

13,8

-

-

-

2,55

ЕНиР, 1980 г., § 4-1-22, табл. 2 (на 10 м 1,45 чел.-ч)

Расшивка швов

Монтажник

4 разр. - 1

м

7,2

1,04

-

-

-

7,8

-

1,13

-

-

13,2

-

-

1,91

-

13,8

-

-

-

2

Расчетные данные ЦНИИОМТП

Оборудование рабочих мест при установке панелей и заделке стыков с применением монтажных подъемников

Машинисты

5 разр. - 2

шт.

2

__-__

(7,1)

__-__

(7,98)

__-__

(11,28)

__-__

(12,32)

 

Итого, кроме выгрузки конструкций с применением прогрессивной

4,74

(0,5)

4,94

(0,5)

7,19

(0,65)

8,19

(0,85)

 

с применением традиционной технологии

5,98

(7,91)

7,14

(9,03)

8,7

(12,33)

10,29

(13,69)


Параметры и марки кранов и приспособлений, рекомендуемых для монтажа панелей наружных стен промышленных зданий

Условные номера ячеек здания

Исходные данные монтажа

Требуемые параметры

Гусеничные краны

Пневмоколесные краны

Приспо­собление (№ в приложении)

Разгрузка и раскладка

 

Масса, т

Высота, м

вылет крюка, м

грузоподъ­емность, т

высота подъема крюка, м

Рекомендуемые

Заменяющие

Рекомендуемые

Заменяющие

марка крана

приспо­собление (№ в прило­жении)

стеновой панели

монтажного приспо­собления

стены

монта­жного приспо­собления

марка

длина стрелового обору­дования, м

марка

длина стрелового обору­дования, м

 

1

2

3

4

5

6

7

8

9

10

11

12

13

14

15

16

17

 

1 - 19

4,4

0,09

4,5 - 9,6

3,8

7,1

4,49

8,8 - 13,9

МКГ-16М РДК-25

18

МКГ-16М

КС-4362

18

КС-4361А

22; 48; 59

МКА-10М

1

 

20; 21

4,4

0,09

10,8 - 12

3,8

9,4

4,49

15,1 - 16,3

РДК-25

17,5 + 5

МКГ-25

КС-5363

20

МКП-25А

22; 48; 59

МКА-10М

1

 

22 - 24

4,4

0,09

9,3

7,2

3,8

9,4

7,1

4,49

13,6 - 11,5

РДК-25 МКГ-16М

12,5 + 5

18

МКГ-25 МКГ-16М

КС-5363 КС-4362

15

18

МКП-25А КС-4361А

22; 48; 59

МКА-10М

1

 

26 - 28; 30 - 32

4,4

0,09

10,5 - 11,7

8,4 - 9,6

3,8

9,4

7,1

4,49

14,8 - 16,0

12,7 - 13,9

РДК-25 МКГ-16М

17,5 + 5

18

МКГ-25 МКГ-16М

КС-5363 КС-4362

20

18

МКП-25А КС-4361А

22; 48; 59

МКА-10М

1

 

25

8,2

0,53

8,4

2,1

7,1

8,73

11,0

РДК-25

12,5

МКГ-25БР

КС-5363

15

МКП-25А

24; 59

МКА-16

2

 

29

8,2

0,53

9,6

2,1

9,5

8,73

11,4

СКГ-40А

20

МКГ-25БР

КС-6362

15

МКТ-40

24; 59

МКА-16

2

 

33; 37; 56; 85

8,2

0,53

10,2 - 12

2,1

9,5

8,73

12,8 - 14,6

СКГ-40А

20

МКГ-40

КС-6362

20

МКТ-40

24; 59

МКА-16

2

 

34 - 36; 38 - 40; 86 - 88

4,4

0,09

12,9 - 14,1

3,8

9,4

4,49

17,2 - 18,4

РДК-25

17,5 + 5

МКГ-25

КС-5363

20

МКП-25А

22; 48;59

МКА-10М

1

 

53; 54; 55; 57 - 59; 61 - 63; 65 - 67; 103; 104; 107 - 109

4,4

0,09

10,5 - 14,1

3,8

9,4

4,49

14,8 - 18,4

РДК-25

17,5 + 5

МКГ-25

КС-5363

20

МКП-25А

22; 48; 59

МКА-10М

1

 

42 - 44; 46 - 47; 82 - 84; 90 - 92; 94; 95; 97; 98; 100; 101

4,4

0,09

12,9 - 18,9

10,8 - 16,8

3,8

9,4

4,49

17,2 - 23,2

15,1 - 21,1

РДК-25

25 + 5

СКГ-40А

КС-6362

25

МКT-40

22; 48; 60

MКA-10M

1

 

69; 70; 71; 73; 74; 76; 77; 79; 80; 111 - 113; 115; 116; 118; 119; 121; 122

4,4

0,09

15,3 - 18,9

3,8

9,4

4,49

19,6 - 23,2

РДК-25

25 + 5

МКГ-25

КС-5363

25

МКП-25

22; 48; 60

МКА-10М

1

 

49 - 51

4,4

0,09

9,3

3,8

9,4

4,49

13,6

РДК-25

17,5 + 5

МКГ-25

КС-5363

15

МКП-25

22; 48; 59

МКА-10М

1

 

52

8,2

0,53

9

2,1

9,5

8,73

11,6

СКГ-40А

20

СКГ-40А

КС-6362

15

МКТ-40

24; 59

МКА-16

2

 

41; 60; 64; 85; 89; 106; 105

8,2

0,53

11,4 - 13,2

2,1

9,5

8,73

14,0 - 15,8

СКГ-40А

20

СКГ-40А

КС-6363

20

МКТ-40

24; 59

МКА-16

2

 

68; 110

8,2

0,53

13,8

2,1

9,5

8,73

16,4

СКГ-40А

20

СКГ-40А

КС-6362

25

МКТ-40

24; 60

МКА-16

2

 

45; 48; 72; 75; 78; 93; 96; 99; 102; 114; 117; 120

8,2

0,53

14,4 - 18

2,1

9,5

8,73

17,0 - 20,6

СКГ-40А

25

СКГ-40А

КС-6362

25

МКТ-40

24; 60

МКА-16

2

 

21; 123; 126

8,2

0,53

18,6 - 19,8

2,1

9,5

8,73

21,2 - 22,4

СКГ-40А

25

СКГ-40А

КС-6362

25 + 8

МКТ-40

24; 60

МКА-16

2

 

124; 125; 127; 128; 130; 131

4,4

0,09

20,1 - 22,5

3,8

9,4

4,49

24,4 - 26,8

РДК-25

17,5 + 5

МКГ-25

КС-5363

20 + 10

МКТ-40

22; 48; 60

МКА-10М

1

 

129; 132

8,2

0,53

21 - 22,2

2,1

9,5

8,73

23,6 - 24,8

СКГ-40А

25 + 5

СКГ-40А

КС-6362

25 + 8

МКТ-40

24; 60

МКА-16

2

 

Примечание. Две строки в графах содержат данные по зданиям: в верхней строке - с фермами покрытия; в нижней - с балками покрытий.


Кран Э-1254 (Э-1252, Э-1258) с оборудованием для монтажа конструкций наружного стенового ограждения

1 - кран; 2 - кассета для складирования панелей; 3 - строп; 4 - панель; 5 - плита покрытия; 6 - стропильная ферма; 7 - колонна

Монтаж стеновых панелей по прогрессивной технологии

Монтаж наружных стен

1 - кран; 2 - кассеты для панелей; 3 - оттяжки; 4 - стропы; 5 - панели; 6 - смонтированные покрытия; 7 - стропильные фермы; 8 - стены; 9 - колонны; 10 - гидроподъемники

МОНТАЖ ПЕРЕГОРОДОК

Разработаны схемы монтажа перегородок из сборных железобетонных панелей одноэтажных промышленных зданий высотой до низа стропильных ферм покрытия от 3 до 18 м.

Панели перегородок устанавливают после монтажа несущих и ограждающих конструкций здания, так как допускаемые ветровые нагрузки на них невелики. Толщина панелей перегородок - 80 мм.

Рассмотрен монтаж продольных и поперечных перегородок высотой от 1,8 до 16,8 м (на 12 м ниже низа стропильных конструкций).

Верхнюю часть перегородок, выполненную в виде легкого стального каркаса, обшитого асбестоцементными листами, крепят к закладным деталям колонн или к конструкциям покрытия.

Панели продольных и поперечных перегородок устанавливают при помощи автомобильных или пневмоколесных кранов и траверсы высотой 0,8 м для работы в стесненных условиях.

Выгрузка панелей перегородок из транспортных средств в кассеты предусмотрена автомобильным краном.

Для установки панелей перегородок в стесненных условиях используют автомобильные краны с обычными стрелами различной длины, автомобильные краны с гидроприводом и телескопической стрелой на жесткой подвеске, а также пневмоколесные краны с телескопическим башенно-стреловым оборудованием.

Наличие на кране телескопической стрелы позволяет плавно изменять ее длину при стесненных условиях работы, например, когда верхняя часть стрелы находится в междуферменном пространстве.

С помощью крана К-161 можно монтировать перегородки в зданиях высотой до низа ферм от 6 до 15,6 м.

Рабочим местом монтажников при устройстве перегородок и заделке стыков служат два монтажных подъемника, размещаемые у концов панели.

Монтаж панелей ведут снизу вверх. Это позволяет быстрее начать отделочные работы.

Раствор для заделки стыка наносят на верхнюю грань панели непосредственно перед ее установкой.

Вместо монтажных подъемников можно применять подъемную люльку, рассчитанную на подъем двух рабочих, материалов (раствора с тарой) и инструментов общей массой до 200 кг. Стальными канатами люльку подвешивают между колоннами к опорному узлу фермы.

Геодезический контроль и обеспечение точности монтажа перегородок

Доставленные на строительную площадку панели перегородок следует проверить. Точность их размеров определяют стальной компарированной рулеткой. Погрешность контрольных измерений не должна превышать 10 % допускаемого отклонения по контролируемому параметру.

При устройстве перегородок следует контролировать: положение осей или граней панелей в нижнем сечении относительно разбивочных осей на ниже установленных конструкциях; отклонение от вертикали плоскостей этих панелей в верхнем сечении; разность отметок верха панелей каждого яруса в пределах выверяемого участка. Положение осей панелей относительно разбивочных осей проверяется двумя промерами от оси до грани панели.

При проверке методом бокового нивелирования рейку следует поочередно прикладывать к нижней части грани панели и к верхней. Отклонение плоскостей панелей от вертикали контролируется с помощью отвеса-рейки или методом бокового нивелирования. Отметку верха перегородок проверяют методом геометрического нивелирования с помощью нивелиров и реек. Погрешность контроля точности указанных параметров не должна превышать 20 % допускаемого отклонения по контролируемому параметру.

Допускаемые отклонения панелей перегородок (в мм) при монтаже:

Смещение осей или граней панелей перегородок

в нижнем сечении относительно разбивочных

осей установленных ниже конструкций............................... ±5

Отклонение плоскостей панелей перегородок в

верхнем сечении от вертикали (на высоту

этажа или яруса)........................................................................ 10

Разность отметок верха панелей перегородок

каждого яруса или этажа в пределах

выверяемого участка

при контактной установке........................................................ 12 + 2n, где

n - порядковый

номер ряда

при установке по маякам.......................................................... 10

Техника безопасности при производстве работ

Кроме общих, необходимо учитывать требования, связанные с особенностью установки панелей перегородок в стесненных условиях.

В зоне установки панелей необходимо обеспечить освещенность в соответствии с существующими нормами.

Техническая характеристика телескопического башенно-стрелового оборудования пневмоколесного крана К-161

Грузоподъемность (без опор), т

при горизонтальном положении стрелы

минимальная длина башни и вылет стрелы 2,85 - 4,35 м....... 5

то же, 4,35 - 8,85 м....................................................................... 2

максимальная длина башни и вылет стрелы 3,88 - 5,38 м....... 5

то же, 5,38 - 9,88 м....................................................................... 2

при наклонном положении стрелы................................................ 2

Высота подъема крюка (максимальная), м

при минимальной длине башни

горизонтальное положение стрелы........................................... 7,33

наклонное положение стрелы (60° к горизонту)...................... 12,65

при максимальной длине башни

горизонтальное положение стрелы........................................... 10,94

наклонное положение стрелы (60° к горизонту)...................... 16,25

Полный ход выдвижения телескопической стрелы, м................. 6

Скорость подъема крюка (регулирование бесступенчатое),

м/мин................................................................................................. 0 - 25

Скорость выдвижения телескопической стрелы, м/мин.............. 5

Угол наклона телескопической башни к горизонту

при работе оборудования, град....................................................... 65 - 74

Максимальный угол наклона телескопической стрелы к

горизонту (при работе), град........................................................... 60

Минимальное расстояние от зева крюка до верха стрелы, м...... 1,13

Радиус вращения поворотной части, м.......................................... 3,05

Высота крана в транспортном положении, м............................... 4

Масса крана, кг................................................................................. 26985

в том числе навесного оборудования, кг....................................... 4185

Затраты труда и время работы машин при устройстве перегородок из сборных железобетонных панелей

Обоснование

Наименование работ

Состав звена

Единица измерения

Количество

Затраты труда, чел.-ч

Время работы машин, (маш.-ч)

Характеристика панелей: размеры, м; площадь, м2; масса, т

6´1,2 м; 7,2 м2; 1,4 т

6´1,8 м; 10,8 м2; 2,1 т

ЕНиР, 1979 г., § 1-6, № 3а

Выгрузка панелей с установкой в кассеты

Такелажники

2 разр. - 2

шт.

1

0,13

(0,07)

0,16

(0,08)

ЕНиР, 1980 г., § 4-1-8, табл. 2, № 9а

Установка панелей перегородок в проектное положение

Монтажники

5 разр. - 1

4 разр. - 1

3 разр. - 1

2 разр. - 1

шт.

1

0,84

(0,21)

1,08

(0,27)

ЕНиР, 1980 г., § 4-1-17, № 1а (на 1 м = 0,37)

Электросварка монтажных стыков

Электросварщик

5 разр. - 1

длина шва, м

катет шва, мм

0,6

6

0,222

0,222

ЕНиР, 1980 г., § 4-1-22, № 4 (на 10 м = 1,7)

Расшивка швов (снаружи и изнутри здания)

Монтажник

4 разр. - 1

м

14,4

2,448

-

-

15,6

-

2,652

-

Расчетные данные цнииомтп

Устройство рабочих мест при установке панелей и заделке стыков с применением монтажных подъемников

 

шт.

2

-

(2,658)

-

(2,922)

 

Итого, кроме выгрузки конструкций

 

 

 

3,51

(2,868)

3,954

(3,192)

Параметры и марки кранов и приспособлений, рекомендуемых для монтажа панелей перегородок

Условные номера ячеек здания

Высота до низа стропильных конструкций, м

Исходные данные для монтажа

Требуемые параметры

Рекомендуемые автомобильные краны

Масса, т

Высота, м

вылет крюка, м

грузоподъемность, т

высота подъема крюка, м

марка

длина стрелового оборудования, м

марка заменяющего

панели

приспособления

перегородки

приспособления

1, 7, 13

3

2,3

0,53

1,8

2,1

6,5

2,83

3,9

КС-2571A

8

КС-3562Б

2, 8, 14

3,6

 

 

2,4

 

6,5

 

4,5

КС-3575А

8

КС-3561А

3, 9, 15

4,2

 

 

3

 

6,5

 

5,1

КС-3571

8

 

4, 10, 16, 22 - 25, 49 - 52

4,8

 

 

3,6

 

6,5

 

5,7

 

10

 

5, 11, 17

5,4

 

 

4,2

 

6,5

 

6,3

 

10

 

6, 12, 18, 26 - 29, 53 - 56

6

 

 

4,8

 

6,5

 

6,9

 

10

 

19, 30 - 33, 57 - 60

7,2

 

 

6

 

6,5

 

8,1

 

12

 

20, 34 - 37, 61 - 64, 82 - 85, 103 - 106

8,4

 

 

7,2

 

6,5

 

9,3

 

12

 

21, 38 - 41, 65 - 68, 86 - 89, 107 - 110

9,6

 

 

8,4

 

7

 

10,5

 

14

 

42 - 45, 69 - 72, 90 - 93, 111 - 114

10,8

 

 

9,6

 

7

 

11,7

 

14

 

46 - 48, 73 - 75, 94 - 96, 115 - 117

12

 

 

10,8

 

6,5

 

12,9

 

14

 

76 - 78, 97 - 99, 118 - 120

13,2

 

 

12

 

6,5

 

14,1

 

14

 

79 - 81, 100 - 102, 121 - 123

14,4

2,3

0,53

13,2

2,1

6,5 - 7

2,83

15,3

КС-4572

15,75

КС-4561А

124 - 126

15,6

 

 

14,4

 

7

 

16,5

КС-4571

21,75

МКА-16

127 - 129

16,8

 

 

15,6

 

7

6,5

 

17,7

 

21,75

 

130 - 132

18

 

 

16,8

 

7

 

18,9

 

21,75

 

Примечание. В качестве приспособления для установки панелей перегородок используется траверса (п. 24 приложения), а для выгрузки и раскладки - краны (автомобильные) КС-1562А с двухветвевыми стропами (п. 1 приложения).

Технологическая схема устройства продольной перегородки краном КС-3571 с применением самоподъемной люльки

1 - колонны; 2 - стропильная ферма; 3 - плита покрытия; 4 - траверса; 5 - панель перегородки; 6 - люлька; 7 - перегородка; 8 - оттяжка; 9 - панелевоз; 10 - автомобильный кран; 11 - наружное стеновое ограждение

Технологическая схема устройства перегородок краном КС-2571А

1 - стропильные фермы; 2 - плиты покрытия; 3 - траверсы; 4 - панели перегородок; 5 - перегородки; 6 - оттяжки; 7 - автомобильный кран; 8 - кассеты; 9 - колонны; 10 - монтажные подъемники

Технологическая схема устройства продольной перегородки краном КС-3571 с применением монтажных подъемников

1 - колонны; 2 - стропильная ферма; 3 - плита покрытия; 4 - траверса; 5 - панель перегородки; 6 - перегородка; 7 - монтажные подъемники; 8 - кассета; 9 - оттяжка; 10 - автомобильный кран; 11 - наружное стеновое ограждение

Технологическая схема устройства перегородки краном с телескопическим башенно-стреловым оборудованием

1 - колонны; 2 - стропильная ферма; 3 - плита покрытия; 4 - траверса; 5 - панель перегородки; 6 - перегородка; 7 - оттяжка; 8 - монтажный кран; 9 - наружное стеновое ограждение; 10 - кассета с панелями; 11 - монтажный подъемник; 12 - колонны фахверка

МОНТАЖ ПОДВЕСНЫХ ПОТОЛКОВ

Даны схемы монтажа сборных железобетонных конструкций подвесного потолка (чердачного перекрытия) одноэтажных промышленных зданий совмещенным и раздельным методами.

Схемы разработаны для одноэтажного промышленного здания с плоской кровлей. Сетка колонн 12´18 м. Высота до низа ферм покрытия 6 м. На этой же отметке располагается подвесной потолок из сборных железобетонных конструкций серии 4-959-65 «Конструкции типовой секции бесфонарных зданий с сеткой колонн 12´18 м для предприятий текстильной промышленности». Рассматриваемая конструкция подвесного потолка нашла широкое применение при строительстве зданий для текстильной промышленности.

Совмещенный метод монтажа предусматривает установку одним краном в одном потоке пяти различных конструктивных элементов: стропильных ферм, подвесных опор, балок и плит чердачного перекрытия, плит покрытия.

Для совмещенного метода монтажа разработана универсальная траверса, с помощью которой можно устанавливать все указанные конструктивные элементы. Грузоподъемность траверсы от 2,5 до 20 т (2,5 т - для плит подвесного потолка, 6,3 т - для балки подвесного потолка, 8 т - для плит покрытия и 20 т - для ферм).

Схема строповки приведена на чертеже. Высота строповки элементов подвесного потолка и покрытия определена из расчета их установки гусеничным краном РДК-25 со стрелой длиной 22,5 м.

Ниже рассмотрены два варианта совмещенного монтажа конструкций: при движении монтажного крана поперек и вдоль пролетов.

Для выполнения работ по первому варианту рекомендуется кран РДК-25 грузоподъемностью 25 т, по второму - СКГ-63А грузоподъемностью 63 т.

Монтаж подвесного потолка раздельным методом осуществляют после сборки каркаса здания или его части. Это вызвано, во-первых, тем, что в некоторых проектных решениях предусмотрено крепление элементов подвесных потолков к уже смонтированным конструкциям покрытия (фермам, плитам). Во-вторых, для установки относительно легких элементов подвесного потолка (до 5 т) неэффективно использовать тяжелые краны, применяемые при установке элементов каркаса массой до 20 т.

Для монтажа элементов подвесного потолка раздельным методом внутри здания рекомендуется кран К-161, оснащенный телескопическим башенно-стреловым оборудованием.

Геодезический контроль и обеспечение точности монтажа подвесных потолков

Необходимо проверять точность размеров балок подвесного потолка и плит перекрытия, доставляемых на строительную площадку при помощи стальной компарированной рулетки. Погрешность контрольных измерений не должна превышать 10 % допускаемого отклонения по контролируемому параметру.

При монтаже необходимо контролировать: отклонение расстояний между осями балок перекрытия на уровне верхнего пояса; смещение осей балок по нижнему поясу относительно геометрических осей опорных конструкций; разность отметок лицевых поверхностей двух смежных плит перекрытия в стыке; смещение в плане плит перекрытия относительно их проектного положения на опорных поверхностях.

Расстояние между осями балок перекрытия проверяют рулеткой с двукратным смещением мерного прибора, а смещение осей балок относительно геометрических осей опорных конструкций - по двум осям с помощью деревянного угольника и стального метра. Отметки лицевых поверхностей плит перекрытия в стыке проверяют методом геометрического нивелирования оптическим нивелиром НЗ или лазерным прибором ПИЛ-1. При этом рейку прикладывают к лицевой поверхности плит. Положение плит перекрытия в плане контролируют с помощью теодолита методом бокового нивелирования.

Особое внимание должно быть обращено на соблюдение размеров швов, должное качество их заделки, целостность лицевых поверхностей и граней плит.

Погрешность при контроле точности указанных параметров не должна превышать 20 % допускаемого отклонения по контролируемому параметру.

Допускаемые отклонения (в мм) конструкций подвесного потолка при монтаже:

Смещение осей балок по нижнему поясу относительно

геометрических осей опорных конструкций................................. 5

Отклонение расстояний между осями балок перекрытия

на уровне верхних поясов........................................................... ±20

Разность отметок лицевых поверхностей двух смежных

плит перекрытия в стыке................................................................ 5

Смещение в плане плит перекрытия относительно их

проектного положения на опорных поверхностях................... ±20

Техника безопасности при производстве работ

При работе необходимо учитывать требования, связанные с особенностями конструкций подвесного потолка и их креплением, а также порядок устройства рабочих мест для монтажников.

Подвесные опоры в целях сокращения объема верхолазных работ целесообразно крепить к нижнему поясу фермы еще на земле.

Балки подвесного потолка в проектном положении необходимо устанавливать и крепить только после устройства стыков стропильных ферм и подвесных опор.

Отверстия в плитах подвесного потолка и покрытия необходимо заделывать сразу же после их установки. Особенно тщательно следует заделывать в плитах подвесного потолка многочисленные проемы для светильников и вентиляционных коробов.

Затраты труда при монтаже покрытия и подвесных потолков

Обоснование

Наименование работ

Состав звеньев

Единица измерения

Количество

Затраты труда, чел.-ч

(Время работы машин, маш.-ч)

Характеристика конструкций: размеры, м; площадь, м2; масса, т

стропильная ферма, пролет - 18 м; 4,8 т

плита покрытия 12´3 м; 36 м2; 7 т

балка чердачного перекрытия 11,5´0,45´0,45 м; 4,8 т

подвесная опора 0,17 т

плита чердачного перекрытия 6,2 м; 12 м2; 1,73 т

1

2

3

4

5

6

7

8

9

10

ЕНиР, 1979 г.,

§ 24-13, 24 вг

(0,14 ´ 14,8 = 2,07; 0,069 ´ 14,8 = 1,02)

Выгрузка конструкций

Такелажники

4 разр. - 1

2 разр. - 1

шт.

1

2,07

(1,02)

-

-

-

-

ЕНиР, 1979 г., § 1-5, № 1а

 

 

 

1

-

-

-

0,12

(0,06)

-

То же, № 3а

 

Такелажники 2 разр. - 2

 

1

-

-

-

-

0,14

(0,07)

Применительно ЕНиР, 1979 г., § 1-5

 

 

 

1

-

0,23

(0,115)

0,18

(0,09)

-

-

ЕНиР, 1980 г., § 4-1-6, табл. 4, № 2а, б

Установка в проектное положение

Монтажники

6 разр. - 1

5 разр. - 1

4 разр. - 1

3 разр. - 1

2 разр. - 1

шт.

1

8,5

(1,7)

-

-

-

-

По расчету применительно к ЕНиР, 1980 г., § 4-1-7

 

Монтажники

4 разр. - 1

3 разр. - 2

2 разр. - 1

шт.

1

-

1,92

(0,48)

-

-

-

ЕНиР, 1980 г., § 4-1-6, табл. 2, № 4 в, г

 

Монтажники

6 разр. - 1

5 разр. - 1

4 разр. - 1

3 разр. - 1

2 разр. - 1

 

1

-

-

2,7

(0,54)

-

-

Применительно к ЕНиР, 1979 г., § 5-1-6, выпуск 1, № 5 и 6

 

Монтажники

5 разр. - 1

4 разр. - 1

3 разр. - 2

 

1

-

-

-

3

(0,75)

-

ЕНиР, 1980 г., § 4-1-7, № 3 а, б

 

Монтажники

4 разр. - 1

3 разр. - 2

2 разр. - 1

 

1

-

-

-

-

0,96

(0,24)

ЕНиР, 1980 г., § 4-1-17, № 1а (на 1 м 0,37)

Электросварка монтажных стыков

Электросварщик

5 разр. - 1

длина шва, м

катет шва, мм

0,37

6

0,14

-

-

-

-

ЕНиР, 1980 г., § 4-1-17, № 2б (на 1 м 0,31)

 

 

 

0,71

6

-

0,22

-

-

-

ЕНиР, 1980 г., § 4-1-17, № 1а (на 1 м 0,37)

 

 

 

0,64

8

-

-

0,24

-

-

То же

 

 

 

3,8

8

-

-

-

1,4

-

ЕНиР, 1960 г., § 4-1-17, № 2а (на 1 м 0,2)

 

 

 

0,32

3

 

-

-

-

0,064

ЕНиР, 1980 г., § 4-1-19, № 4б (на 100 м 2,3)

Заливка швов

Монтажники

4 разр. - 1

3 разр. - 1

м

15

-

0,345

-

-

-

То же

 

 

 

11

 

 

 

 

 

ЕНиР, 1980 г., § 4-1-27, табл. 8а, б (на 1 м2 1,75 + 1,2)

Установка и разборка деревянной опалубки

Плотники

4 разр. - 1

2 разр. - 1

м2

0,5

-

-

1,475

-

-

То же

 

 

 

1,9

-

-

-

5,6

-

ЕНиР, 1980 г., § 4-1-41, 1б (на 1 м3 1,35)

Укладка бетонной смеси в опалубку

Бетонщики

4 разр. - 1

2 разр. - 1

м2

0,12

-

-

0,16

-

-

0,33

-

-

-

0,44

-

 

Итого, кроме выгрузки конструкций

8,64

(1,7)

2,485

(0,48)

4,575

(0,54)

10,44

(0,75)

1,277

(0,24)

Схемы строповки сборных железобетонных конструкций универсальной траверсой

Строительной фермы пролетом 18 м

Балки чердачного перекрытия

Грузоподъемность траверсы 6,3 т

Плиты чердачного перекрытия

Грузоподъемность траверсы 2,5 т

Плиты покрытия

Грузоподъемность траверсы 8 т

Схемы укладки элементов чердачного перекрытия при движении крана в поперечном направлении

Укладка балки

Укладка плиты

1 - балки чердачного перекрытия; 2 - плиты чердачного перекрытия; 3 - плиты покрытия; 4 - стропильные фермы; 5 - траверса универсальная; 6 - монтажный кран; 7 - оттяжка; 8 - лестница-площадка приставная; 9 - колонны

Схема укладки элементов чердачного перекрытия при движении крана в продольном направлении

Установка балки

Укладка плиты

1 - балки чердачного перекрытия; 2 - плиты чердачного перекрытия; 3 - плиты покрытия; 4 - универсальная траверса; 5 - стропильная ферма; 6 - колонны; 7 - монтажный кран; 8 - лестница-площадка приставная; 9 - оттяжка

Схемы укладки элементов чердачного перекрытия раздельным методом

Установка балки

Укладка плиты

1 - плиты чердачного перекрытия; 2 - балки чердачного перекрытия; 3 - траверса; 4 - плиты покрытия; 5 - стропильные фермы; 6 - колонны; 7 - монтажный кран; 8 - подмости выдвижные катучие; 9 - оттяжка

ЗАДЕЛКА СТЫКОВ И ШВОВ СБОРНЫХ ЖЕЛЕЗОБЕТОННЫХ КОНСТРУКЦИЙ

Замоноличивание стыков колонн с фундаментами растворными (бетонными) смесями

Подача растворной (бетонной) смеси в стыки колонн с фундаментами производится с помощью установки для приема и подачи жестких растворов (УПТЖР) конструкции Управления механизации отделочных работ Главмосстроя.

Установка выполнена в виде утепленного фургона, в котором размещены пневмонагнетатель С-862, бункер для приема раствора, электропривод для перемешивания и загрузки раствора в пневмонагнетатель. Обеспечение установки сжатым воздухом предусматривается от передвижной компрессорной станции производительностью 5 - 6 м3/мин

Установку и компрессорную станцию располагают на объекте, исходя из возможной дальности подачи растворной (бетонной) смеси по горизонтали до 70 - 80 м (подвижность смеси 6 - 8 см).

Затраты труда и время работы машины при замоноличивании колонн в фундаментах

Обоснование

Размеры стакана, мм

Сечение колонн, мм

Состав звена

Объем бетона замоноличивания, м3

Затраты труда, чел.-ч

Время работы машины, маш.-ч

 

по верху

по низу

высота

на 1 м3

на стык

на 1 м3

на стык

 

Расчетные данные ЦНИИОМТП

1150´550

1100´500

1250

1000´400

Монтажники

4 разр. - 1,

3 разр. - 1

0,45

0,6

0,27

0,3

0,13

 

1450´650

1400´600

1250

1300´500

0,6

0,36

0,18

 

1550´750

1500´700

1250

1400´600

0,94

0,56

0,28

 

2050´750

2000´700

1250

1900´600

1,29

0,77

0,39

 

Затраты труда и время работы машины при замоноличивании стыков цементно-песчаным раствором

Обоснование

Размеры плит покрытия, м

Состав звена

Объем работ на 1 плиту

Затраты труда, чел.-ч

Время работы машины, маш.-ч

 

на 1 м

на плиту

на секцию 144´72 м

на 1 м

на плиту

на секцию 144´72 м

м3 раствора

м шва

 

ЕНиР, 1974 г., § 4-1-19, п. 3а

6´1,5

Монтажники

4 разр. - 1,

3 разр. - 1

0,0653

7,5

0,041

0,31

354

0,02

0,15

177

 

6´3

0,1038

9

0,37

225

0,18

112

 

12´3

0,2136

15

0,62

117

0,31

88

 

Техническая характеристика установки УПТЖР

Производительность, м3................................... 4,5

Объем приемного бункера, м3............................ 2,5

Установленная мощность, кВт........................... 12

Габаритные размеры, мм

длина................................................................ 4700

ширина............................................................. 2300

высота............................................................... 2400

Масса, кг............................................................... 4500

Доставленную в автомобиле-самосвале смесь выгружают в приемный бункер установки и после перемешивания по направляющему лотку она поступает в пневмонагнетатель. Оттуда раствор по рукаву посредством сжатого воздуха подается в замоноличиваемый стык. Для предотвращения резких выхлопов раствора из рукава и снижения скорости его выхода на конце рукава устанавливается гаситель.

Использовать установку рекомендуется при наличии достаточного фронта работ по замоноличиванию стыков или при наличии резерва работ по укладке бетонной смеси в фундаменты, стены подвалов, по устройству подготовки под полы и т.п.

Замоноличивание стыков плит покрытия цементно-песчаным раствором

Нагнетание раствора в стыки плит покрытия производится с помощью агрегата конструкции ЦНИИОМТП, состоящего из прямоугольного растворонасоса, вибросита и накопительной емкости объемом 0,8 м3, смонтированных на одной раме.

Агрегат устанавливают на объекте в соответствии с возможной дальностью транспортирования растворной смеси по горизонтали до 30 - 40 м (подвижность смеси 7 - 9 см).

Доставленная авторастворовозом смесь порционно выгружается в поворотный бункер объемом 0,5 м3, а затем в накопительную емкость агрегата. Из емкости через вибросито раствор поступает в приемный бункер и далее растворонасосом подается по рукаву диаметром 50 мм в стыки плит покрытия.

Техническая характеристика прямоточного растворонасоса на базе растворонасоса СО-30 (С-684)

Производительность, м3/ч (в зависимости от подвижности

раствора)...................................................................................... 1,5 - 4

Максимальное рабочее давление, МПа.................................... 1,5

Вместимость загрузочного бункера, л....................................... 70

Диаметр плунжера, мм............................................................... 90

Ход плунжера, мм....................................................................... 100

Число ходов плунжера в мин..................................................... 155

Мощность электродвигателя, кВт.............................................. 4,5

Габаритные размеры, мм

длина........................................................................................ 1260

ширина..................................................................................... 460

высота...................................................................................... 800

Масса, кг....................................................................................... 250

С помощью монтажного крана агрегат устанавливают у торцов двух плит, то есть над стропильной фермой (балкой).

Замоноличивание стыков и швов песчаным бетоном с применением установки «Пневмобетон»

Представлены две схемы, предусматривающие применение установки «Пневмобетон» для замоноличивания стыков и швов песчаным бетоном.

По первой схеме используют централизованно приготовленную смесь, доставленную на объект автомобилем-самосвалом.

По второй схеме используют смесь, приготовленную непосредственно на объекте (песок и цемент вручную загружают в скиповый подъемник и подают в растворосмеситель С-220А). Готовая смесь по направляющему лотку поступает на вибросито и далее в приемный бункер питателя установки «Пневмобетон». По выходе из него смесь транспортируется по рукаву в струе сжатого воздуха, нагнетаемого в установку от компрессорной станции.

На выходе из рукава вместе со сжатым воздухом из бетонной смеси в атмосферу уносится около 20 % воды затворения, вследствие чего подвижность смеси резко снижается и стык заполняется плотной жесткой цементно-песчаной смесью. Установку «Пневмобетон» выпускает экспериментально-механический завод НИИ Мосстроя.

Техническая характеристика установки «Пневмобетон» на базе растворонасоса СО-30 (С-684)

Производительность, м3

при подвижности смеси 11 см и более..................................... 3

то же, 6 - 7 см.............................................................................. 2

Расход сжатого воздуха, м3/мин

при набрызге смеси.................................................................... 9

при нагнетании смеси................................................................ 6

Наибольшее допустимое давление сжатого воздуха, МПа...... 0,7

Диаметр материального рукава, мм.......................................... 50

Электродвигатель

тип............................................................................................. А02-41-4

мощность, кВт........................................................................... 4

Замоноличивание стыков в зимнее время

Технология замоноличивания стыков в зимних условиях, методы предварительного обогрева стыкуемых поверхностей и прогрева стыков, продолжительность и температурно-влажностный режим выдерживания бетона (раствора), способы утепления стыков, сроки и порядок распалубливания и загружения конструкций определяются проектом производства работ и «Руководством по производству бетонных работ» (Стройиздат, 1975), разработанным ЦНИИОМТП и НИИЖБом.

Контроль качества выполненных работ

Технический персонал строительной организации должен проводить пооперационный контроль, работники строительной лаборатории - периодический контроль.

Пооперационный контроль включает:

проверку соблюдения правил приготовления и транспортировки бетонной (растворной) смеси;

систематическое наблюдение за проведением очистки стыков от грязи, снега, льда и т.п. и правильность установки опалубки;

проверку подвижности бетонной (растворной) смеси на месте ее укладки;

систематическое наблюдение за процессом уплотнения бетонной (растворной) смеси;

проверку соблюдения технологии производства работ, предусмотренной проектом и ППР.

Периодический контроль, выполняемый работниками строительной лаборатории, заключается в проверке качества составляющих бетонной (растворной) смеси и прочности бетона (раствора).

Работы по замоноличиванию стыков сдают по акту на скрытые работы.

Техника безопасности при производстве работ

Замоноличивание стыков бетонной (растворной) смесью необходимо выполнять в соответствии с действующими инструкциями по эксплуатации машин, оборудования, инструментов и приспособлений, а также правилами, изложенными ниже.

Перед началом работ рабочие обязаны осмотреть инвентарь, инструменты и убедиться в их исправности.

Бетонщики, работающие с переносным вибратором, должны быть в резиновых сапогах и перчатках.

При заделке стыков необходимо пользоваться предохранительными поясами, которые закрепляют за монтажные петли плит перекрытия.

Рабочие, занятые приготовлением водного раствора поташа, нитрита натрия, должны надевать резиновые перчатки и сапоги, а также пользоваться защитными очками. К работе с указанными растворами допускаются лица, прошедшие специальное обучение и инструктаж по технике безопасности и оказанию первой помощи пострадавшим.

Принимать пищу или курить во время работы, хранить пищу на рабочем месте, а также прикасаться руками в перчатках к открытым участках кожи запрещается, так как растворы могут вызвать поражения кожного покрова, раздражение слизистых оболочек и дыхательных путей.

Участок, где производится электропрогрев стыков, должен быть огражден и в ночное время освещен. На ограждении вывешивают надписи «опасно», «под напряжением», а также плакаты с правилами по оказанию первой помощи при поражении электрическим током. На огражденном участке запрещается производить какие-либо другие работы.

Электротепляки и трубчатые электронагреватели включают в сеть только после их установки и подключения к распределительной панели.

Провода временных линий электропередачи необходимо изолировать и подвесить к инвентарным переносным опорным стойкам, а проходящую по перекрытию электропроводку заключить в рукава.

Обслуживающий персонал должен быть в диэлектрических галошах и перчатках.

На участок, где ведется прогрев, допускаются только представитель строительной лаборатории и дежурный электромонтер.

Увлажнять бетон во время прогрева запрещается.

Для тушения горящих проводов следует применять сухой песок или огнетушители. Тушить водой провода, находящиеся под напряжением, запрещается.

Пневматические установки подлежат регистрации в органах Госгортехнадзора.

Герметизация стыков панелей наружных стен нетвердеющими мастиками

Герметизация стыков производится с наружной стороны здания. Для выполнения этой работы используют строительные вышки ВС-22-МС, ВС-18-МС и т.п., смонтированные на автомобильных шасси, а также различные подмости.

Все необходимое оборудование и инструмент для герметизации стыков хранят в будке изолировщиков.

Для герметизации стыков нетвердеющими мастиками по пористым резиновым прокладкам необходимы следующие средства технологического оснащения: будка изолировщиков; электрогерметизатор ИЭ-6602, термошкаф (для работы в зимний период), две стальных расшивки, две кисти-ручники, заправщик жгутовых материалов и газовая горелка в комплекте с баллоном для пропана-бутана, редуктором и рукавами.

Герметизацию стыков нетвердеющей мастикой выполняют в таком порядке. Устанавливают в рабочее положение строительную вышку и будку изолировщиков. Подключают к электрической сети электрогерметизатор и термошкаф (в зимний период). Изолировщиков, электрогерметизатор, запас брикетов мастики и пористых прокладок и прочие инструменты поднимают в люльках строительной вышки к стыкам. Сначала изолировщики подготавливают стыки к работе: очищают от пыли и грязи кистями и скребками; удаляют дождевую воду с поверхностей стыков пламенем газовой горелки с последующей протиркой поверхностей чистыми обтирочными концами. В процессе работы с газовой горелкой следят за тем, чтобы слой грунтовки, нанесенный на поверхность наружных стеновых панелей на заводе, не разрушался. В случае разрушения этого слоя поврежденные места огрунтовывают заново. Затем для стыка подбирают пористую прокладку такой толщины, чтобы после введения в стык прокладка была обжата на 25 - 50 % ее диаметра. Пористые прокладки закладывают в стыки при помощи заправщика жгутовых материалов или деревянной конопаткой. Герметизацию стыков производят путем нагнетания мастики в устье стыка электрогерметизатором ИЭ-6602.

Технические характеристики строительных вышек

Показатель

Модель вышки

ВС-22-МС

ВС-18-МС

Марка используемого шасси

ЗИЛ-130

ГАЗ-52-01

Высота подъема, м

22

18

Вылет стрелы, м

9,7

8,3

Грузоподъемность, кг

250

250

Габаритные размеры (в транспортном положении), м

 

 

длина

11,4

9,4

ширина

2,5

2,3

высота

3,4

3,3

Масса общая, т

7,1

5,3

Затраты труда и время работы машины при герметизации 100 м стыка

Обоснование

Наименование операций

Состав эвена

Затраты труда, чел.-ч

Время работы машины, маш.-ч

Сборник типовых норм и расценок на строительные и ремонтно-строительные работы, 1983, вып. 10 ЦБНТС, норма Т-10-5

Герметизация горизонтальных стыков мастикой УМС-50

Монтажники

4 разр. - 1,

3 разр. - 1

9,5

9,5

То же, вертикальных стыков

10,5

10,5

ЕНиР, 1974 г., § 4-1-22, п. 1

Конопатка стыков паклей

Монтажник

4 разр. - 1

9,5

-

УНиР-1-23 Главмосстроя

Укладка гернита в стыки

Монтажники

4 разр. - 1,

3 разр. - 1

7,45

-

Герметизация стыков в зимнее время

Зимой герметизацию стыков рекомендуется выполнять при температуре наружного воздуха не ниже -20 °С. При использовании мастики «Тегерон» температура должна быть не ниже -25 °С. Перед началом работ стыки следует очистить от снега и льда, а при необходимости просушить пламенем газовой горелки.

Пористые прокладки в зимнее время перед использованием следует выдерживать в отапливаемом помещении в расправленном виде.

Контроль качества выполненных работ

Качество герметизации стыков контролирует технический персонал строительной организации (пооперационный контроль) и работники строительной лаборатории (периодический контроль).

Пооперационный контроль включает проверку:

фактических размеров стыков;

плотности обжатия жгутов гернита и пороизола, плотности укладки просмоленной пакли;

соответствия проекту глубины наружного зазора, оставленного для нанесения мастики;

качества подготовки поверхностей стыков, подлежащих герметизации;

температуры наружного воздуха и нагрева нетвердеющей мастики в гильзах;

толщины, непрерывности и плотности слоя нанесенной в стыки мастики;

сцепления мастики с бетонной поверхностью.

Периодический контроль состоит в проверке качества герметизирующих мастик. Порядок отбора проб и образцов и методы их испытания должны соответствовать ГОСТу и техническим условиям.

Качество сцепления нетвердеющей мастики с бетонной поверхностью панелей наружных стен контролируют с помощью ножа или стальной линейки. Для этого лезвием ножа или торцом линейки в месте контакта мастику отжимают от панели. При хорошем соединении с поверхностью бетона мастика не отслаивается, а разрыв происходит по слою мастики.

Работы по герметизации стыков фиксируют в журнале и сдают представителю заказчика по акту на скрытые работы.

Техника безопасности при производстве работ

При выполнении работ по герметизации стыков необходимо руководствоваться действующими инструкциями по эксплуатации машин, оборудования, инструментов и приспособлений, а также правилами, изложенными ниже.

Перед началом работ на рабочих местах должны быть вывешены плакаты и предупредительные надписи, разъясняющие безопасные способы выполнения операций.

Проводить герметизацию стыков в зоне монтажных работ запрещается.

Зимой рабочие места изолировщиков и дно люльки строительной вышки должны быть очищены от снега и льда и посыпаны песком.

В будке изолировщиков и других местах, где приготовляют мастику, хранят запасы ее компонентов, курить и пользоваться открытым огнем запрещается.

Герметизацию стыков следует производить в спецодежде и рукавицах, а при работе с пневмошприцем надевать защитные очки.

До включения термостата в электрическую сеть рабочий должен убедиться в отсутствии в нем посторонних предметов, удалить остатки мастики, проверить состояние направляющих, сетки и ТЭНов. Исправность терморегулятора и наличие заземления корпуса термостата нужно проверять систематически.

Перед набивкой гильз мастикой необходимо проверить исправность всех узлов установки (в том числе конечного выключателя), отсутствие в загрузочной воронке посторонних предметов. Во время работы установки по набивке гильз мастикой запрещается:

устранять неисправности;

прикасаться руками или посторонними предметами к мастике в установке, удалять мастику со стенок загрузочного отверстия;

пользоваться при загрузке мастики одеждой и рукавицами, имеющими тесемки, завязки, длинные обшлага.

Готовя к работе пневмошприц, необходимо убедиться в его полной исправности, надежности крепления сменного наконечника и резинового рукава к шприцу и компрессору, целостности резинового рукава. Перед включением компрессора также необходимо проверить его исправность, надежность всех креплений. Работать пневмошприцем при давлении подводимого воздуха более 0,7 МПа запрещается.

Производить ремонт, разборку и наладку пневмошприца можно только при выключенном компрессоре и отсоединенном рукаве подачи сжатого воздуха.

При обнаружении неисправности пневмошприца или резинового рукава необходимо немедленно прекратить работу, выключить компрессор и принять все меры для сброса давления в воздушной магистрали.

При работе со строительной вышки рукав подачи сжатого воздуха должен быть надежно прикреплен к поручням люльки.

Перед началом работы с газовой горелкой необходимо: убедиться в отсутствии утечки газа из вентилей, стыков и мест соединений рукава с редуктором и горелкой (длина рукава не должна превышать 30 м); убрать легковоспламеняющиеся материалы и посторонние предметы; установить баллон с пропаном-бутаном в вертикальном положении не менее чем в 3 м от места работ и не менее чем в 1 м от электрической арматуры (выключателей, розеток, проводов); баллон должен быть защищен от нагревания выше +45 °С солнечными лучами и другими источниками тепла.

В процессе работы необходимо следить за рукавом и горелкой во избежание поджога рукава и ожогов пламенем горелки.

Запрещается отбор газа из баллона при снижении в нем давления до величины, ниже которой невозможно поддерживать требуемое рабочее давление и редуктор перестает выполнять функции обратного клапана.

Во избежание возможных ударов и повреждений баллона при переноске в пределах строящегося здания перемещать его можно только на специальной тележке. За пределами строительной площадки баллоны транспортируют автотранспортом, соблюдая при этом специальные технические условия.

К ремонту редуктора, горелки и баллона допускаются лица, имеющие право на выполнение таких работ.

По окончании работы баллоны, горелку и рукава следует убирать в запирающийся стальной контейнер с прорезями или жалюзийными решетками для проветривания. В непосредственной близости от контейнера должен находиться исправный огнетушитель. Хранить в одном контейнере баллоны с пропаном-бутаном и с кислородом запрещено.

Схема расположения агрегата для замоноличивания стыков, монтажного крана и транспортного средства

1 - накопительная емкость; 2 - монтажный кран; 3 - поворотный бункер; 4 - растворовоз; 5 - шланг; 6 - вибросито; 7 - прямоточный растворонасос

Схема питателя установки «Пневмобетон» на базе серийно выпускаемого растворонасоса С-32 (С-684)

1 - шланг материальный; 2 - вибратор; 3 - сито; 4 - бункер вместимостью 70 л; 5 - электродвигатель; 6 - растворонасос; 7 - прямоточная приставка; 8 - смесительная камера

Схема заделки стыков при централизованной доставке песчаной бетонной смеси

Схема заделки стыков при приготовлении песчаной бетонной смеси на стройплощадке

1 - компрессор; 2 - воздуховоды; 3 - рукав; 4 - питатель; 5 - установка УПТЖР; 6 - автомобиль-самосвал; 7 - въездная эстакада; 8 - растворосмеситель С-220А; 9 - водопровод; 10 - ларь с цементом; 11 - песок

Схема расположения оборудования при герметизации стыков панелей наружных стен

1 - панели наружных стен; 2 - вертикальные стыки наружных стен; 3 - будка изолировщика; 4 - строительная вышка; 5 - горизонтальные швы наружных стен

ПРОИЗВОДСТВЕННО-ТЕХНОЛОГИЧЕСКАЯ КОМПЛЕКТАЦИЯ КОНСТРУКЦИЙ, ИЗДЕЛИЙ И МАТЕРИАЛОВ

Производственно-технологическая комплектация как основа соблюдения технологии и ритма возведения одноэтажных промышленных зданий предполагает комплектное обеспечение строительно-монтажных работ конструкциями, изделиями и материалами в сроки, установленные проектом производства работ (ППР). Для этого в составе ППР разрабатывается унифицированная нормативно-технологическая документация по комплектации (УНТД). Она является организационно-технологической документацией, используемой для организации и оперативного управления процессами комплектного обеспечения строящегося объекта материально-техническими ресурсами в соответствии с ритмом и технологией производства строительно-монтажных работ.

В состав унифицированной нормативно-технологической документации по комплектации материальными ресурсами объектов строительства входят: карточка реквизитов объекта (форма № 1); схема образования технологических комплектов (форма № 2); комплектовочно-технологическая карта (форма № 3).

В карточке реквизитов объекта содержатся технические характеристики объекта, сроки начала и окончания строительства, адресные данные заказчика, строительной организации, объекта, станции назначения для доставки грузов, наименование плательщика и его расчетный счет, реквизиты получателя.

В схеме образования технологических комплектов приводится графическое изображение границ технологических комплектов на планах и разрезах здания. К схеме прилагается таблица, в которой дается привязка технологических комплектов к видам работ и технологии ведения строительно-монтажных работ.

Комплектовочно-технологическая карта (КТК) определяет состав и объем материальных ресурсов, содержащихся в каждом технологическом комплекте, а также последовательность поставки этих комплектов на объект в соответствии с графиком производства работ. КТК разрабатываются по укрупненным номенклатурным группам материальных ресурсов, которым присваивают соответствующие обозначения.

При формировании технологических комплектов для возведения одноэтажных промышленных зданий применяют ниже перечисленные номенклатурные группы.

Наименование номенклатурных групп

Условное обозначение

Конструкции железобетонные и бетонные

КЖ

Конструкции металлические

КМ

Конструкции деревянные и пиломатериалы

КД

Металлопрокат

МП

Метизы

МЗ

Материалы изоляционные (рулонные и мастики)

МИ

Общестроительные материалы

СМ

Строительные полуфабрикаты

СП

В каждую группу входят следующие виды материальных ресурсов:

КЖ - все виды железобетонных конструкций и изделий;

КМ - металлические конструкции и изделия, профилированный настил, конструкции из цветных металлов (алюминиевые);

КД - деревянных конструкций и изделий, пиломатериалов и т.п.;

МП - прокат черных металлов, рельсы и крепления к ним и т.д.;

МИ - все виды гидроматериалов (рулонных и мастик), тепло- и звукоизоляционных материалов;

СМ - цемент, песок, щебень, гравий и т.п.;

МЗ - крепежные детали, электроды, фрамужные и скобяные изделия, прочие мелкие металлические детали и изделия, которые используются при монтажных работах.

Сводная комплектовочно-технологическая карта (СКТК) содержит данные о составе технологических комплектов на объект в целом для укрупненных группировок по каждой номенклатурной группе материальных ресурсов с разбивкой по технологическим этапам работ и пусковым комплексам.

Карта повышения технологической готовности (КПТГ) изделий и полуфабрикатов определяет количество полуфабрикатов (бетонных и растворных смесей) для непосредственного потребления на строительном объекте.

Структура технологического комплекта определяется исходя из рациональной технологической схемы, а объем - в зависимости от условий организации монтажного процесса, системы производства и поставок строительных конструкций и сопутствующих монтажному процессу изделий и материалов.

Объем технологического комплекта по стоимости рекомендуется не более 25 тыс. руб., а по времени его использования на строительном объекте (запас для производства монтажных работ) - 10 - 15 дн.

УНТД разрабатывается в следующем порядке. На основе проектно-сметной документации и ППР заполняется карточка реквизитов объекта (форма 1) и разрабатывается схема образования технологических комплектов (форма 2). Схема образования технологических комплектов выполняется одновременно с графиком строительства объекта (сетевым, линейным или циклограммой). При подготовке схемы составляется таблица, где дается привязка технологических комплектов к сетевому или линейному графику с распределением работ по бригадам-исполнителям.

Границы каждого технологического комплекта определяются по схеме условными разрезами здания на части, установленными в соответствии с принятой в ППР технологической последовательностью монтажа строительных конструкций. При этом следует иметь в виду, что при возведении одноэтажных промышленных зданий наиболее часто применяется комбинированный метод монтажа: раздельно устраивают фундаменты и монтируют колонны, подкрановые балки, наружные стены и внутренние перегородки; комплексно - конструкции покрытия (подстропильные и стропильные фермы, плиты покрытия, светоаэрационные фонари).

Разработка КТК производится в два этапа после составления схем образования технологических комплектов. На первом этапе КТК разрабатывают на сборные железобетонные, бетонные, металлические и деревянные конструкции и изделия, на втором этапе - для остальных номенклатурных групп.

Исходными данными для разработки КТК на сборные железобетонные конструкции являются чертежи с маркой КЖ. Заполняют КТК на весь объем монтажных работ, предусматриваемый ППР. Итоговая потребность в сборных железобетонных конструкциях определяется в м3 по наименованиям и сериям конструкций. Общая потребность сборного железобетона на объект и объем технологических комплектов также указываются в м3.

Металлоизделия для монтажа железобетонных конструкций (стояки, накладки, элементы жесткости и т.д.) указываются в КТК на соответствующий технологический комплект. Заполнять КТК на металлоизделия и металлические конструкции, сопутствующие монтажу сборных железобетонных конструкций рекомендуется параллельно с разработкой КТК на сборный железобетон. Полный объем комплектов следует указывать в тоннах.

Исходными данными для составления КТК на металлические конструкции являются чертежи с маркой КМ. При заполнении КТК указывают тип, серию конструкции или номер рабочих чертежей. КТК на строительные металлоконструкции и металлоизделия заполняются аналогично картам на сборные железобетонные конструкции.

Исходными данными для заполнения КТК на конструкции из дерева, столярные изделия (оконные и дверные изделия), пиломатериалы и т.д. являются чертежи с маркой АР и сметы.

Разработка КТК на строительные материалы, сопутствующие монтажу сборных конструкций (общестроительные, изоляционные, вспомогательные, метизы и т.п.), входящие в состав технологического комплекта, осуществляется на основании схемы образования технологических комплектов и действующих производственных норм расхода материалов.

Сводная комплектовочно-технологическая карта (форма 4) разрабатывается на основании комплектовочно-технологических карт и схем образования технологических комплектов по всем номенклатурным группам материальных ресурсов.

Унифицированную нормативно-технологическую документацию по комплектации согласовывают с главным технологом строительного треста, главными инженерами УПТК и СМУ, ведущего строительство данного объекта. Утверждается УНТД главным инженером строительно-монтажной организации. Формы УНТД прилагаются.

Форма 1

КАРТОЧКА РЕКВИЗИТОВ ОБЪЕКТА

Наименование реквизитов

Код

Реквизиты объекта

Строительная организация

 

 

Заказчик

 

 

Наименование и адрес объекта

 

 

Пусковой комплекс

 

 

Товарная строительная продукция

 

 

Категория объекта

 

 

Получатель (плательщик)

 

 

№ расчетного счета и отделение банка

 

 

Количество бригад на объекте

 

 

Номера бригад и фамилии бригадиров

 

 

__________________

__________________

__________________

Продолжительность строительства

Дата начала и окончания строительства

Конструктивная характеристика:

вид фундаментов

вид каркаса, перекрытия

вид ограждающих конструкций

этажность

секционность

проектность

номера унифицированной типовой секции

Форма 2

СХЕМА ОБРАЗОВАНИЯ ТЕХНОЛОГИЧЕСКИХ КОМПЛЕКТОВ

для объекта _______________________

наименование

Таблица привязки технологических комплектов к работам по сетевому (линейному) графику

№ п/п

Наименование технологического этапа строительства

Код технологического этапа строительства

Код работы по графику и номер бригады-исполнителя

Номер технологического комплекта

Обозначение номенклатурной группы

Объем СМР (тыс. руб.)

Границы технологического комплекта (оси, отметки на плане)

1

2

3

4

5

6

7

8

 

 

 

 

 

 

 

 

Форма 3

КОМПЛЕКТОВОЧНО-ТЕХНОЛОГИЧЕСКАЯ КАРТА

на объект ________________________

наименование

Наименование строительно-монтажной организации

Номенклатурная группа _________________________

№ п/п

Код конструкции, материалов и полуфабрикатов

Наименование конструкций, материалов и полуфабрикатов

Серия, марка, ГОСТ

Единица измерения

Количественная характеристика единицы

Потребность на объект

Количество материальных ресурсов по технологическим комплектам

номера комплектов

1

2

3

4

5

6

7

8

9

10

11

12

13

 

 

 

 

 

 

 

 

 

 

 

 

 

Руководитель отдела подготовки

строительного производства                               _________________

подпись

Исполнитель                                                         _________________

подпись

Форма 4

СВОДНАЯ КОМПЛЕКТОВОЧНО-ТЕХНОЛОГИЧЕСКАЯ КАРТА

на объект __________________________________

наименование

Наименование строительно-монтажной организации __________________________

№ п/п

Обозначение укрупненных номенклатурных групп

Наименование укрупненных номенклатурных групп и группировок

Единица измерения

Потребность на объект

Количество материальных ресурсов по технологическим комплектам в укрупненной номенклатуре

номера технологических комплектов

1

2

3

4

5

6

7

8

9

10

11

12

13

 

 

 

 

 

 

 

 

 

 

 

 

 

Руководитель отдела подготовки

строительного производства                               ___________________

подпись

Исполнитель                                                         ___________________

подпись

ПРИЛОЖЕНИЕ 1

ТЕХНОЛОГИЧЕСКАЯ ОСНАСТКА И ОБОРУДОВАНИЕ ДЛЯ МОНТАЖА СБОРНЫХ КОНСТРУКЦИИ ОДНОЭТАЖНЫХ ПРОМЫШЛЕННЫХ ЗДАНИЙ

№ п/п

Наименование оснастки; назначение; разработчик и шифр чертежей

Эскиз оснастки и схема строповки

Грузоподъемность, т

Масса, кг

Расчетная высота, м

1

2

3

4

5

6

1

Строп четырехветвевой 4СК-5,0/4000 (5000; 6300) в комплекте: 1 - строп ВК-2,0/4000 (5000; 6300); 2 - крюк К1-2.

Разгрузка конструкций; монтаж плит покрытий, панелей стен и перегородок.

ВНИПИ Промстальконструкция. Шифр 29700-101; 109

5

37,1

40,7

45,1

4

5

6,3

2

Строп четырехветвевой 4СК-10,0/4000 (5000; 6300) в комплекте: 1 - звено Рт2-10; 2 - крюк К1-4; 3 - строп ВК-4,0/4000 (5000; 6300).

Разгрузка конструкций; монтаж плит покрытий и панелей наружных стен.

ВНИПИ Промстальконструкция. Шифр 29700-102; 109

10

89,9

96,7

105,1

4

5

6,3

3

Строп двухветвевой 2СК-5,0/2200 (-2,5/2000) в комплекте: 1 - звено Рт1-5(2,5); 2 - строп ВК-4,0/3000 (-2,0/3000); 3 - крюк К1-4 (-2); 4 - подкладки под канат.

Разгрузка конструкций; монтаж панелей стен и перегородок.

ЦНИИОМТП проект 3484.00.000

5

2,5

32,5

13,5

2,2

2

4

Строп двухветвевой 2СТ-16/5000 (6300; 8000; 10000, 12500) в комплекте: 1 - строп 2СТ-16; 2 - подстропок ПК-4/1800; 3 - строп ВК-4/3200; 4 - коуш.

Разгрузка колонн прямоугольного сечения серий КЭ-01-49 и 1.424 массой до 16 т.

ВНИПИ Промстальконструкция.

Шифр 29700-35; -104; -109; -121

16

200,4 - 211,4

5,2 - 8,2

5

Траверса Тр-8-0,4 (-0,5) в комплекте: 1 - строп 2СТ-10/4000 (5000; 6300); 2 - траверса; 3 - строп СКК1-4,0/2000-8000;

Монтаж бесконсольных колонн сечением 400´400; 400´500 и 500´500 мм серий КЭ-01-49 и 1.424, массой до 8 т с диаметром отверстий в колонне 50 мм.

ВНИПИ Промстальконструкция.

Шифр 29700-49; -103; -109; -116

8

181,4 - 195,4

1,25

6

Траверса Тр-12,5-0,5 (-0,4) в комплекте: 1 - строп 2СТ-16,0/4000 (5000; 6300); 2 - траверса; 3 - строп СКК1-6,3/2000-12000.

Монтаж колонн сечением 400´600 и 500´600 мм серий КЭ-01-49 и 1.424, массой до 12,5 т с диаметром отверстий в колонне 60 мм.

ВНИПИ Промстальконструкция.

Шифр 29700-48; -104; -109; -115

12,5

325 - 345

1,7

7

Траверса Тр-16-1,0 (0,6) в комплекте: 1 - строп 2СТ-16,0/5000 (6300; 8000; 10000; 12500); 2 - траверса; 3 - подстропок ПП-8/2000 (3200).

Монтаж двухветвевых колонн крайних и средних рядов серий КЭ-01-52 и 1.424 массой до 16 т из положения «плашмя».

ВНИПИ Промстальконструкция.

Шифр 29700-32; -34; -104; -112; -113

16

286 - 320

1,7

8

Траверса Тр-25-1,4 в комплекте: 1 - строп 2СТ-25/8500/1700; 2 - траверса; 3 - подстропок ПП-5/2000; 4 - прокладка под канат; 5 - канат для расстроповки.

Монтаж двухветвевых колонн крайнего ряда серий КЭ-01-52 и 1.424 массой до 25 т из положения «плашмя».

ВНИПИ Промстальконструкция.

Шифр 29700-31; -105; -112

25

450,6

1,75

9

Траверса Тр-25-0,7 в комплекте: 1 - строп 2CT-25/6300/1000; 2 - траверса; 3 - подстропок ПП-8/3400; 4 - подкладка под канат; 5 - канат для расстроповки.

Монтаж двухветвевых колонн среднего ряда серий КЭ-01-52 и 1.424 массой до 25 т из положения «плашмя».

ВНИПИ Промстальконструкция.

Шифр 29700-33; -105; -112

25

413,6

1,75

10

Траверса Тр-12,5-0,4КС в комплекте: 1 - строп 2СТ-16/6300А; 2 - траверса; 3 - строп СКК1-8/3700 (5000); 4 - подкладка под канат.

Монтаж крайних колонн прямоугольного сечения массой до 12 т с захватом за крановую консоль.

ВНИПИ Промстальконструкция.

Шифр 29700-47; -104; -146; -147

12,5

316 - 328

1,7

11

Траверса Тр-12,5-0,4КС-0,5С в комплекте: 1 - строп 2СТ-16/6300А; 2 - траверса; 3 - строп СКК1-8/3700 (5000).

Монтаж средних колонн прямоугольного сечения массой до 12 т с захватом за крановую консоль.

ВНИПИ Промстальконструкция.

Шифр 29700-47; -104; -146; -147

12,5

302-314

1,7

12

Траверса универсальная в комплекте с автоматическими захватами: 1 - траверса; 2 - лебедка; 3 - захваты; 4 - стропы.

Монтаж железобетонных подкрановых балок серии КЭ-01-50 длиной 6 и 12 м, массой до 12 т.

ЦЭКБстроймехавтоматика ЦНИИОМТП.

Проект траверсы 105-3.00.000.

Проект захватов 1854.00.000

12

426; 880

3,1

13

Строп двухветвевой 2СТ-16/5000 в комплекте: 1 - строп 2СТ-16/5000; 2 - строп СКК1-12,5/5000; 3 - пружинный замок Пр2,5; 4 - канат для расстроповки.

Монтаж железобетонных подкрановых балок серии КЭ-01-50 длиной 12 и (6) м, массой до 12 т.

ВНИПИ Промстальконструкция.

Шифр 29700-43; -100; -104; -109

12

265,2

4,3

14

Строп двухветвевой 2СТ-10/4000 в комплекте: 1 - строп 2СТ-10/4000; 2 - строп СКК1-8/3200; 3 - пружинный замок Пр8; 4 - канат для расстроповки.

Монтаж двускатных балок серий 1.462-3 и 1.463-3 длиной 12 и 18 м и массой до 10 т.

ВНИПИ Промстальконструкция.

Шифр 29700-41и; -100; -103; -109

10

143,2

5,3

15

Строп двухветвевой 2СТ-16/5000 в комплекте: 1 - строп 2СТ-16/5000; 2 - строп СКК1-8/3200; 3 - пружинный замок Пр8; 4 - канат для расстроповки.

Монтаж подстропильных ферм серий 1.463-4 и ПК-01-110/68 массой до 12 т.

ВНИПИ Промстальконструкция.

Шифр 29700-40и; -100; -104; -109

12

215

6,2

16

Строп двухветвевой 2СТ-10/4000 в комплекте: 1 - строп 2СТ-10/4000; 2 - строп СКК1-8/3200; 3 - пружинный замок Пр8; 4 - канат для расстроповки.

Монтаж стропильных ферм серий ПК-01-129/68 и 1.463-3, массой до 10 т, длиной 18 м.

ВНИПИ Промстальконструкция.

Шифр 29700-38и; -100; -103; -109

10

143,2

3

17

Траверса Тр-20-5 в комплекте: 1 - траверса; 2 - канат для расстроповки.

Монтаж стропильных балок и ферм серий ПК-01-129/68 и 1.462-5, длиной 18 и 24 м, массой до 20 т.

ВНИПИ Промстальконструкция.

Шифр 29700-38и; -39; -40и; -41и

20

513

4,5

18

Траверса универсальная в комплекте: 1 - траверса; 2 - строп ВК-4/5000; 3 - автоматический захват.

Монтаж стропильных ферм серий ПК-01-129/68 и 1.463-3, длиной 18 м, массой до 12 т и плит покрытий длиной 6 и 12 м и массой до 8 т.

ЦЭКБстроймехавтоматика ЦНИИОМТП.

Проект траверсы 105-3.00.000.

Проект захватов 1664.00.000

12

1326

3,9

19

Стропы четырехветвевые в комплекте: 1 - строп 4СК-10/4000 (для плит с петлями снаружи); 2 - строп 4СК-10/5000 (для плит с утопленными петлями).

Монтаж плит покрытий серий ПК-01-106 и 1.465-7 длиной 6 м и массой до 5 т, а также плит по ГОСТу 22701.III-77.

ВНИПИ Промстальконструкция.

Шифр 29700-44; -102; -109

5

89,9

96,7

3,6

4,7

20

Строп четырехветвевой в комплекте: 1 - строп 4СК-10/4000; 2 - подстропок ПК-4/3400; 3 - подстропок ПК-4/5000.

Монтаж плит покрытий серий

ПК-01-106 и 1.465-3, длиной 12 м и массой до 10 т.

ВНИПИ Промстальконструкция.

Шифр 29700-45; -102; -121

10

143,5

152,7

5,2

6,5

21

Траверса в комплекте со стропами.

Монтаж плит покрытия размерами 1,5´6 и 3´6 серии ПК-01-106.

ВНИПИ Промстальконструкция (Новосибирский филиал).

Шифр 2006-78

4

396

0,3

528

1,6

22

Строп двухветвевой 2СТ-10/4000 в комплекте: 1 - строп СКК1-8/4000; 2 - пружинный замок Пр8; 3 - канат для расстроповки.

Монтаж стеновых панелей серии 1.432-5 длиной 6 м и массой до 6 т.

ВНИПИ Промстальконструкция.

Шифр 2970-25; -103

6

94,8

3,8

23

Строп четырехветвевой 4СК-16/5000 в комплекте: 1 - строп СКК1-6,3/5000; 2 - крюк К1-6,3; 3 - свободные ветви стропа.

Монтаж стеновых панелей серии 1.432-11 длиной 12 м и массой до 8 т.

ВНИПИ Промстальконструкция.

Шифр 29700-25; -62

8

150

4,5

24

Траверса Тр-20-5 в комплекте: 1 - траверса; 2 - стропы 1СК-6,3/2000.

Монтаж панелей стен и перегородок серий 1.432-11 и 1.431 длиной 6 и 12 м, массой до 8 т.

ВНИПИ Промстальконструкция.

Шифр 29700-110, ГОСТ 25573-82

8

533

2,1

25

Строп двухветвевой 2СТ-10/4000 в комплекте: 1 - строп 2СТ-10/4000; 2 - строп ВК-2/1600; 3 - пружинный замок Пр3,2; 4 - подкладка под канат; 5 - канат для расстроповки.

Монтаж и укрупнительная сборка ферм и панелей фонарей серии 1.464-11; -13 массой до 2 т, длиной 6 и 12 м.

ВНИПИ Промстальконструкция. Шифр 29700-20; -103; -109

10

112,2

4,6 - 5,1

26

Строп четырехветвевой 4СК-10/4000 в комплекте: 1 - строп 4СК-10/4000 для балок среднего ряда; 2 - строп 2СТ-10/4000 для балок крайнего ряда; 3 - строп ВК-4/4000; 4 - захват Кр3,2; 5 - канат для расстроповки.

Монтаж блоков подкрановых балок средних (крайних) рядов по серии 1.462-1 пролетом 6 и 12 м и массой до 10 т.

ВНИПИ Промстальконструкция.

Шифр 29700-14; -102; -103; -108;

10

138,3 (147,1)

7,8 (5,3)

27

Строп двухветвевой 2СТ-10/4000 в комплекте: 1 - строп 4СК-10/4000; 2 - пружинный замок Пр3,2; 3 - строп ВК-2/1600; 4 - канат для расстроповки; 5 - проектный сухарь.

Монтаж вертикальных связей серии 1.424-4 массой до 2 т по колоннам.

ВНИПИ Промстальконструкция.

Шифр 29700-13; -103; -109

2

115,2

4

28

Траверса Тр-2-1 в комплекте: 1 - траверса; 2 - строп 2СТ-10/4000.

Монтаж крановых рельсов КР50-КР100 и железнодорожных Р33 - Р65 длиной до 12 м и массой до 2 т.

ВНИПИ Промстальконструкция.

Шифр 29700-24; -103; -119

2

128,8

4,5

29

Траверса универсальная.

Монтаж светоаэрационных фонарей серии 1.464-11; -13 укрупненными пространственными блоками размером 6´12 и 12´12 м.

ЦЭКБстроймехавтоматика ЦНИИОМТП.

Проект 1529.10.000

16

2260

2,5

30

Траверса универсальная.

Совмещенный монтаж элементов покрытия и подвесного потолка; укрупнение фонарных ферм.

ЦНИИОМТП. Проект 3241.28.000

а) 2,5

935

6

б) 6,3

 

5,5

в) 8

 

3,25

г) 20

 

3,5

31

Стенд сборочный.

Укрупнительная сборка фонарных ферм и панелей серии 1.364-11; -13.

ВНИПИ Промстальконструкция. Шифр 29800-20; -21

-

487

-

32

Кондуктор сборочный.

Укрупнительная сборка пространственных блоков фонарей серии 1.464-11; -13 размером 6´12 и 12´12 м.

ЦЭКБстроймехавтоматика ЦНИИОМТП. Шифр 1529.00.000

-

2255

-

33

Подкосы телескопические инвентарные.

Временное крепление и выверка плоскостных блоков фонарей серии 1.464-11 (213).

ЦНИИОМТП.

Проект 4444.00.200

-

а) 33

2,7

 

3,4

 

3,9

-

а1) 39

4,1

 

4,4

 

4,9

34

Опорное приспособление.

Перевод колонны в вертикальное положение:

а) из положения «плашмя»,

б) из положения «на ребро».

ПКК треста Сибстальконструкция.

Шифр 2008-01; -02; -04

-

77

-

35

Кондуктор.

Временное крепление и выверка двухветвевых колонн массой до 35 т.

ПК треста Уралстальконструкция.

Шифр 2801 М-5; -6; -7

-

446

1,4

36

Комплект приспособлений и инструмента в составе: 1 - вкладыш клиновой инвентарный; 2 - ограждение. Выверка и временное закрепление железобетонных колонн массой до 24 т в стаканах фундаментов.

пч цнииоМТп

323-2.00.000

-

725

-

37

Инвентарная распорка.

Выверка и временное крепление железобетонных колонн в плоскости ряда при шаге 6 м.

ПКК треста Сибстальконструкция.

Шифр 2008-27

-

140

-

38

Расчалка с карабином и винтовой стяжкой. 1 - струбцина; 2 - расчалка; 3 - якорь.

Временное крепление стропильных ферм и колонн.

ВНИПИ Промстальконструкция.

Шифр 1798М-10

-

13

-

39

Инвентарная распорка.

1 - струбцина; 2 - распорка; 3 - плита.

Временное крепление стропильных ферм при шаге 6 м.

ВНИПИ Промстальконструкция.

Шифр 4234Р-44

-

63

-

40

Инвентарная распорка.

1 - струбцина; 2 - распорка; 3 - плита.

Временное крепление стропильных ферм при шаге 12 м.

ПИ Промстройпроект.

Серия 04-00-1, альбом 4, приложения

-

89

-

41

Крышевой кондуктор-распорка.

1 - рама; 2 - стрела; 3 - лебедка.

Временное крепление и выверка монтируемых стропильных ферм с шагом 6 и 12 м.

ЦЭКБстроймехавтоматика ЦНИИОМТП.

Проект 1524.00.000

1

2900

-

42

Лестница приставная монтажная.

Обеспечение рабочего места на высоте.

ВНИПИ Промстальконструкция.

Шифр 29800-05-01

-

177

4,8

202

6

236

7,2

269

8,4

43

Лестница навесная монтажная Л1; Л2; Л3.

Обеспечение рабочего места на высоте.

ВНИПИ Промстальконструкция.

Шифр 29800-11; -12; -13

-

32

2,7

53

3,9

53

4,1

44

Лестница секционная приставная с площадкой; монтажная.

Обеспечение рабочего места на высоте от 6 до 18 м.

ВНИПИ Промстальконструкция, Саратовская группа.

Шифр 17203Р

-

853

6 - 18

45

Лестница секционная приставная с площадкой; монтажная.

Обеспечение рабочего места на высоте от 5 до 20 м.

ВНИПИ Промстальконструкция, Ленинградский отдел.

Шифр 16368Р

-

1289

5 - 20

46

Лестница приставная.

Обеспечение рабочего места при укрупнении и монтаже фонарей.

ЦНИИОМТП.

Проект 4444.00.600

0,3

31

3,9

37

4,7

42

5,2

47

Мостик переходный монтажный.

Обеспечение безопасности при монтаже связей светоаэрационных фонарей.

цнииомтп.

Проект 4444.00.700

-

490

-

48

Люлька подвесная.

Подъем рабочих, инструмента и материалов при установке панелей стен длиной 6 м. Подвешивается внутри здания.

ВНИПИ Промстальконструкция.

Шифр 29800-15; -07

0,5

-

-

49

Подмости монтажные.

Обеспечение рабочего места на высоте.

1 - колонна; 2 - подмости.

ВНИПИ Промстальконструкция.

Шифр 29800-19; -20

-

39

-

50

Площадка с лестницей.

Обеспечение рабочего места на высоте.

1 - колонна; 2 - площадка с лестницей.

ПК Главстальконструкция.

Шифр 229

-

118

-

51

Вышка телескопическая катучая ВТК-12.

Обеспечение рабочего места на высоте от 3,9 до 12 м.

ПКК Проектстроймеханизация. Шифр ОТК-12

0,2

870

3,9 - 12

52

Вышка передвижная монтажная.

Обеспечение рабочего места на высоте.

ВНИПИ Промстальконструкция.

Шифр 29800-17

0,2

-

До 7

53

Маршевая лестница.

Подъем рабочих к месту проведения работ на высоте до 18 м.

ВНИПИ Промстальконструкция. Шифр 29800-01

0,2

-

До 18

54

Выдвижные подмости на автопогрузчике.

Обеспечение рабочего места на высоте до 12,5 м.

ВНИПИ Промстальконструкция. Шифр 229Т, вып. 1

0,25

-

До 12,5

55

Подмости передвижные телескопические М-25.

Обеспечение рабочего места на высоте от 1,8 до 6 м.

ПКБ Главэнергомеханизация ММСС.

Шифр М-25

0,125

-

1,8 - 6

56

Подмости передвижные ВО-10,6-12.

Монтаж стеновых ограждений, внутренних перегородок, подвесных потолков.

СКБ-Мосстрой.

Шифр 2505

0,5

2300

10,6

57

Подмости монтажные.

Монтаж стеновых панелей и заделка стыков.

ВНИПИ Промстальконструкция.

Шифр 29800-15

-

4160

До 28

58

Леса самоходные (подмости передвижные) на пневмоходу.

Монтаж стеновых ограждений, внутренних перегородок, подвесных потолков; отделочные работы.

ЦЭКБстроймехавтоматика ЦНИИОМТП.

Шифр 1647.00.000

2

15000

17,8

59

Шарнирная двухсекционная вышка Ш2СВ-18.

Обеспечение рабочего места на высоте от 3,2 до 18 м.

ПКБ Ленинградского филиала Академии коммунального хозяйства

0,15

7500

3,2 - 17,1

60

Вышки телескопические серийные: а) ВТ-23; б) ТВ-2В; в) ТВ-3; г) ТВ-1А.

Обеспечение рабочего места на высоте от 13,8 до 21,7 м

а) 0,2

8950

21,7

б) 0,15

4650

15

в) 0,2

4774

14

г) 0,15

4470

13,8

61

Специализированное башенно-стреловое оборудование на кранах: а) Э-12541 б) РДК-25.

Монтаж наружного стенового ограждения зданий высотой: а) 20 м, б) 22 м.

ЦЭКБстроймехавтоматика ЦНИИОМТП.

Проекты:

а) 1449.00.000,

б) 1640.00.000

а) 7

12840

18

б) 8

12500

25,8

62

Будка изолировщика с комплектом оборудования и инструмента.

Герметизация стыков панелей наружных стен.

ЦНИИОМТП.

Проект 3295.14.000

-

3000

-

63

Временное ограждение.

Обеспечение безопасности работ на покрытиях.

ВНИПИ Промстальконструкция.

Шифр 29800-20; -3

-

-

-

64

Стойка для крепления предохранительного каната.

Обеспечение безопасности при работе монтажников на высоте.

ВНИПИ Промстальконструкция, Ленинградский отдел.

Шифр 29800-13; -3

30

-

-

СПИСОК ОРГАНИЗАЦИЙ-РАЗРАБОТЧИКОВ ТЕХНОЛОГИЧЕСКОЙ ОСНАСТКИ И ОБОРУДОВАНИЯ ДЛЯ МОНТАЖА ПРОМЫШЛЕННЫХ ЗДАНИЙ

Наименование организации

Адрес

ВНИПИ Промстальконструкция

103473, Москва, Садово-Самотечная ул., 13

ВНИПИ Промстальконструкция (Ленинградский отдел)

194100, Ленинград, Литовская ул., 17 «а»

ВНИПИ Промстальконструкция (Новосибирский филиал)

630122, г. Новосибирск-122, пл. Калинина

ВНИПИ Промстальконструкция (Саратовский отдел)

410810, г. Саратов, ул. Международная, 2

ПКБ Ленинградского филиала АКХ им. Памфилова

193019, Ленинград, С-19, Хрустальная ул., 18

ПКК треста Сибстальконструкция

630007, г. Новосибирск, Серебряниковская ул., 13

Проектная контора треста Уралстальконструкция

620203, г. Свердловск, ул. Мичурина, 21

Промстройпроект

119021, Москва, Комсомольский просп., 42

СКБ-Мосстрой Главмосстроя

123007, Москва, Хорошевское шоссе, 35/2, корп. 1

ЦНИИОМТП Госстроя СССР

127434, Москва, Дмитровское шоссе, 9

ЦЭКБстроймехавтоматика ЦНИИОМТП

127434, Москва, Дмитровское шоссе, 9

ПРИЛОЖЕНИЕ 2

ТРАНСПОРТНЫЕ СРЕДСТВА ДЛЯ ПЕРЕВОЗКИ СБОРНЫХ ЖЕЛЕЗОБЕТОННЫХ КОНСТРУКЦИЙ

Размеры конструкций, мм

Масса, т

Рекомендуемые транспортные средства

длина

высота

ширина

марка

Грузоподъемность, т

количество перевозимых элементов, шт.

коэффициент использования грузоподъемности

1

2

3

4

5

6

7

8

Балки фундаментные

5050

450

400

1,5 - 2,2

КрАЗ-257 Б1

12

8 - 6

1 - 1,1

5950

450

520

 

Полуприцеп СдАЗ-885 В

7,5

5 - 3

1 - 0,88

Полуприцеп УПЛ-0906

9,0

6 - 4

1,0

4300

450

400

1,3 - 1,8

МАЗ-5335

8,0

6 - 4

0,98 - 0,9

4450

450

520

 

Прицеп МАЗ-5243

6,8

5 - 4

0,96 - 1,05

4750

450

520

 

Полуприцеп ОдАЗ-885 В

7,5

6 - 4

1,04 - 0,9

5050

450

200

0,7 - 1,6

КрАЗ-257 Б1

12

16 - 8

0,93 - 1,06

5950

450

300

 

Полуприцеп ОдАЗ-885 В

7,5

11 - 5

1,02 - 1,06

5950

450

260

 

-"-             УПЛ-0906

9,0

12 - 5

1,0

4300

450

200

0,6 - 1,2

МАЗ-5335

8,0

13 - 7

0,98 - 1,05

4450

300

200

 

Прицеп МАЗ-5243

6,8

11 - 6

0,97 - 1,06

4750

260

200

 

Полуприцеп ОдАЗ-885 В

7,5

11 - 6

0,88 - 0,96

Балки обвязочные

5950

585

200

1,75 - 2,5

Полуприцеп ОдАЗ-885 В

7,5

4 - 3

0,93 - 1

5950

585

250

 

-"-         МАЗ-5245

13,5

8 - 6

1,03 - 1,1

Перемычки

3500

290

200

0,5 - 0,6

ЗИЛ-130

5

10 - 8

1 - 0,96

3500

290

250

 

Прицеп ГКБ-817

5 - 5,5

10 - 8

1 - 0,96

МАЗ-5335

8,0

15 - 12

0,94 - 0,9

Прицеп МАЗ-5243

6,8

14 - 11

1,02 - 0,97

5000

290

200

0,7 - 0,9

КрАЗ-257 Б1

12

17 - 13

0,99 - 0,97

5000

290

250

 

Полуприцеп ОдАЗ-885 В

7,5

11 - 8

1,02 - 0,96

-"-           МАЗ-5245

13,5

19 - 15

0,98 - 1

3500

290

250

0,8 - 1,1

ЗИЛ-130

5

6 - 4

0,96 - 0,88

3500

290

380

 

Прицеп ГКБ-817

5 - 5,5

6 - 4

0,96 - 0,88

МАЗ-5335

8,0

10 - 7

1 - 0,96

Прицеп МАЗ-5243

6,8

8 - 6

0,94 - 0,97

5000

290

250

1,1 - 1,6

КрАЗ-257 Б1

12

11 - 7

1,01 - 0,93

5000

290

380

 

Полуприцеп ОдАЗ-885 В

7,5

7 - 5

1,02 - 1,07

-"-            МАЗ-5245

13,5

12 - 8

0,98- 1,05

Балки стропильные пролетами 6, 9, 12 и 18 м

Односкатные

11960

890

280

4,5

Полуприцеп УПР-1212

12

2

0,75

-"-          УПЛ 1412

14

3

0,96

8960

890

300

3,4

-"-          УПР-1212

12

3

0,85

-"-          УПЛ 1412

14

4

0,97

5960

590

300

1,5

-"-          ОдАЗ-885 В

7,5

5

1

-"-          УПР-1212

12

2

0,83

11960

890

280

5

-"-          УПЛ 1412

14

3

1,07

Двускатные

11960

1390

200

4,7

Полуприцеп УПР-1212

12

2

0,78

-"-           УПЛ 1412

14

3

1,0

11960

1390

200

5,4

-"-           УПР-1212

12

2

0,9

-"-           УПЛ 1412

14

2

0,77

17960

1640

200

8,5

-"-           ПК 2021

20

2

0,85

17960

1640

200

10,4

-"-           ПК 2021

20

2

1,04

17960

1640

200

12,1

-"-           ПК 2021

20

1

0,6

Колонны прямоугольного сечения для зданий без мостовых кранов

Крайние ряды

4500 - 6900

300; 400

300; 400

1,8 - 2,8

Полуприцеп МАЗ-5245

13,5

8 - 5

1,07 - 1,04

8100

400

400

3,2

-"-            УПР-1212

12

4

1,07

-"-            УПР-1212

12

2

0,97 - 1,1

9300 - 10500

500

500

5,8 - 6,6

-"-            ПЛ 1412

14

2

0,83 - 0,94

9300-10500

500

60

7 - 7,9

-"-            УПР-1212

12

2

0,58 - 0,66

-"-            ПЛ 1412

14

 

1 - 1,13

Средние ряды

5100 - 6900

300; 400

300; 400

2,1 - 3

Полуприцеп МАЗ-5245

13,5

6 - 4

0,93 - 0,89

8100

400

400

3,3

-"-           УПР-1212

12

3 - 4

0,82 - 1,1

5000 - 7500

500

600

3,7 - 5,6

-"-           МАЗ-5245

13,5

4 - 2

1,09 - 0,83

8600 - 9800

500

600

6,5 - 7,4

-"-           УПР-1212

12

2 - 1

1,08 - 0,62

Колонны прямоугольного сечения для зданий, оборудованных постовыми кранами грузоподъемностью 10 и 20 т

Крайние ряды

9400 - 10600

600

400

5,3 - 7,18

Полуприцеп УПР-1212

12

2 - 1

0,88- 0,6

11800

800

400

8

-"-           ПЛ 1412

14

2 - 1

1,15 - 0,57

Средние ряды

9400 - 11800

300

400

7 - 10,1

Полуприцеп УПР-1212

12

1

0,58 - 0,84

9400 - 11800

800

400

 

-"-           ПЛ 1412

14

2 - 1

1 - 0,72

8700 - 11100

800

500

10,1 - 12,4

-"-           УПР-1212

12

1

0,84 - 1,03

Колонны двухветвевые для зданий, оборудованных мостовыми кранами грузоподъемностью 10, 20 и 30 т

Крайние ряды

13960 - 15750

1000

500

8,5 - 9,7

Полуприцеп УПЛ 1412

14

1

0,61 - 0,69

-"-           ПК 2021

20

2

0,85 - 0,97

Средние ряды

13250 - 15050

1400

500

600

13,2 - 17,9

Полуприцеп УПЛ 1412

14

1

0,94

-"-           ПК 2021

20

1

0,66 - 0,89

Фермы стропильные безраскосные

17940

3000

240

6,5

Полуприцеп УПФ 1218

12

2

1,08

17940

3000

240

7,7

-"-            УПФ 1218

12

1

0,64

17940

3000

280

9,2

-"-            УПФ 1218

12

1

0,77

23940

3300

240

9,2

-"-            ПФ-2024

20

2

0,92

23940

3300

240

10,5

-"-            ПФ-2024

20

2

1,05

23940

3300

240

11,7

-"-            ПФ-2024

20

1

0,59

23940

3300

280

14,2

-"-            ПФ-2024

20

1

0,71

Фермы стропильные сегментные

17980

2630 - 2735

200

4,5

Полуприцеп УПФ 1218

12

2

0,75

17960

2630 - 2735

250

5

-"-            УПФ 1218

12

2

0,83

17980

2630 - 2735

250

7,8

-"-            УПФ 1218

12

1 - 2

0,65

23940

3160 - 3315

250

9,2

-"-            ПФ-2024

20

2

0,92

23940

3160 - 3315

250

11,2

-"-            ПФ-2024

20

2

1,12

23940

3160 - 3315

300

14,9

-"-            ПФ-2024

20

1

0,75

Фермы стропильные

11960

2225

550

11,3

Полуприцеп УПФ 1218

12

1

0,9

Панели стеновые из ячеистых и легких бетонов

3000

900

160 - 300

0,4 - 1,1

Полуприцеп ПП 1207

12,5

12 - 4

0,4 - 0,37

3000

1200

160 - 300

0,5 - 1,6

-"-            ПП 1207

12,5

12 - 4

0,48 - 0,51

3000

1800

160 - 300

0,8 - 2,2

-"-            УПП 1207

12

10 - 5

0,67 - 0,92

-"-            ПП 1207

12,5

12 - 4

0,77 - 0,7

6000

900

160 - 300

0,8 - 2,2

-"-            ПП 1207

12,5

6 - 2

0,5 - 0,37

6000

1200

160 - 300

1 - 3

-"-            ПП 1207

12,5

6 - 2

0,48 – 0,51

6000

1500

160 - 300

1,7 - 3,7

-"-            ПП 1207

12,5

6 - 2

0,82 - 0,6

6000

1800

160 - 300

1,6 - 4,4

-"-            УПП 1207

12

8 - 3

1,07 - 1,1

 

 

 

 

-"-            ПП 1207

12,5

6 - 2

0,77 - 0,7

11980

900 - 1800

200; 240; 300

2,9 - 7,6

-"-            УПП 2012

20

7 - 2

1,0 - 0,76

Плиты покрытия и оболочки длиной 6 м

5970

300

1490

1,2 - 2

Полуприцеп ОдАЗ-885 В

7,5

6 - 4

0,96 - 0,7

-"-            МАЗ-5245

13,5

4

0,53 - 1,07

5970

300

2980

1,8 - 3,6

-"-            УПЛ 0906

9

4 - 2

0,8

Плиты покрытия длиной 12 м

11970

2980

455

7,4 - 7,9

Полуприцеп УПР 1212

12

1

0,61 - 0,66

-"-            УПЛ 1412

14

1

0,53 - 0,56

Плиты покрытия длиной 18 м

17960

289

600

10,7

Полуприцеп УПР 1212

-"-            УПЛ 2024

1

1

0,62 - 0,81

Плиты покрытия длиной 24 м

23960

298

800

16,4

Полуприцеп УПЛ 1724

-"-            УПЛ 2024

1

1

0,82 - 0,91

СОДЕРЖАНИЕ

Введение. 1

Общие требования техники безопасности при производстве монтажных работ. 3

Монтаж железобетонных колонн. 6

Монтаж стальных подкрановых балок. 15

Монтаж железобетонных подкрановых балок. 27

Монтаж покрытий. 32

Монтаж структурных конструкций покрытий. 47

Монтаж крупноразмерных плит покрытий длиной на пролет. 49

Монтаж стальных светоаэрационных фонарей. 52

Монтаж профилированного стального настила покрытия. 69

Монтаж наружных стен. 70

Монтаж перегородок. 77

Монтаж подвесных потолков. 82

Заделка стыков и швов сборных железобетонных конструкций. 87

Производственно-технологическая комплектация конструкций, изделий и материалов. 93

Приложение 1. Технологическая оснастка и оборудование для монтажа сборных конструкции одноэтажных промышленных зданий. 96

Приложение 2. Транспортные средства для перевозки сборных железобетонных конструкций. 105

 



уроки по алготрейдингу на Python с нуля



Яндекс цитирования

   Copyright © 2008-2026 ,  www.infosait.ru

backtrader - уроки алготрейдинга на python