ИНФОСАЙТ.ру
Госты, стандарты, нормативы. В библиотеке 60000 документов. Регулярное обновление. Круглосуточный бесплатный доступ!
БИБЛИОТЕКА ГОСТОВ, СТАНДАРТОВ И НОРМАТИВОВ

:: АЛГОТРЕЙДИНГ ::


АЛГОТРЕЙДИНГ
шаг за шагом


БЕСПЛАТНЫЕ УРОКИ по созданию торговых роботов на PYTHON с нуля, шаг за шагом.


Минимальные знания на PYTHON.
Библиотеки BackTrader и Pandas, сигналы с Pine Script из TradingView.
Связка с брокерами, телеграм.
Создание простых интерфейсов.

 

Все документы, представленные в каталоге, не являются их официальным изданием и предназначены исключительно для ознакомительных целей. Электронные копии этих документов могут распространяться без всяких ограничений. Вы можете размещать информацию с этого сайта на любом другом сайте.


ТИПОВЫЕ ТЕХНОЛОГИЧЕСКИЕ КАРТЫ НА ПРОИЗВОДСТВО ОТДЕЛЬНЫХ ВИДОВ РАБОТ

ТИПОВАЯ
ТЕХНОЛОГ
ИЧЕСКАЯ КАРТА
НА СПЕЦИАЛЬНЫЕ СТРОИТЕЛЬНЫЕ РАБОТЫ

6547030004

814004

МОНТАЖ ЗДАНИЯ МНОГОЦЕЛЕВОГО
НАЗНАЧЕНИЯ ИЗ ЛМК КОМПЛЕКТНОЙ
ПОСТАВКИ РАЗМЕРОМ (18 + 12)´60 м
С
КАРКАСОМ ИЗ ШИРОКОПОЛОЧНЫХ ДВУТАВРОВ
(ПРОЕКТ 236-01 В1)

МОСКВА - 1991

ТИПОВЫЕ ТЕХНОЛОГИЧЕСКИЕ КАРТЫ НА ПРОИЗВОДСТВО ОТДЕЛЬНЫХ ВИДОВ РАБОТ

ТИПОВАЯ
ТЕ
ХНОЛОГИЧЕСКАЯ
КАРТА
НА СПЕЦИАЛЬНЫЕ СТРОИТЕЛЬНЫЕ РАБОТЫ

6547030004

814004

МОНТАЖ ЗДАНИЯ МНОГОЦЕЛЕВОГО НАЗНАЧЕНИЯ
ИЗ
ЛМК КОМПЛЕКТНОЙ ПОСТАВКИ РАЗМЕРОМ (18 + 12)´60 м
С
КАРКАСОМ ИЗ ШИРОКОПОЛОЧНЫХ ДВУТАВРОВ
(ПРОЕКТ 236-01 В1)

РАЗРАБОТАНА

Институтом Оргуралсибстрой

Главный инженер института          В.А. Шевков

Начальник отдела ТСП-3                 И.А. Ершов

СОГЛАСОВАНО

управлением механизации и технологии строительства Госстроя СССР

Письмо от 13.12.1990 г. 12-348

Введена в действие с 1.06.1991 г.

МОСКВА - 1991

1. ОБЛАСТЬ ПРИМЕНЕНИЯ

Типовая технологическая карта (ТТК) разработана на монтаж двухпролётного здания многоцелевого назначения из лёгких металлический конструкций (ЛМК) комплектной поставки по проекту шифра 236-01 В1, разработанному экспериментальным конструкторским бюро НПО «Союзстройконструкция» Минуралсибстроя РСФСР в 1985 г.

ТТК выполнена в соответствии с «методическими указаниями по разработке типовых технологических карт в строительстве» (М.: ЦНИИОМТП, 1987).

Типовая технологическая карта разработана на измеритель конечной продукции - одно здание.

Организация и технология работ разработана только на монтаж основных конструктивных элементов, затраты труда на все сопутствующие работы учтены в калькуляции.

ТТК предназначена для использования при составлении проекта производства работ (ППР) строительными подразделениями.

Привязка типовой технологической карты к конкретному объекту и условиям строительства состоит в уточнении объёмов работ, средств механизации, потребности в трудовых и материально-технических ресурсах.

Порядок привязки ТТК к местным условиям:

рассмотрение материалов карты и выбор искомого варианта;

проверка соответствия исходных данных (объёмов работ, марок механизмов и т.д.) принятому варианту;

корректировка объёмов работ в соответствии с избранным вариантом производства работ и конкретным проектным решением;

пересчёт калькуляции, оценочных технико-экономических показателей и потребности в материально-технических ресурсах применительно к избранному варианту;

оформление графической части с конкретной привязкой механизмов, оборудования и приспособлений в соответствии с их фактическими габаритами.

Краткая характеристика объёмно-планировочного и конструктивного решения здания:

здание одноэтажное, двухпролётное, с размерами в плане (18 + 12)´60 м;

высота до низа несущих конструкций в 18-метровом пролёте равна 7,8 м, в 12-метровом пролёте - 7,665 м.

В 18-метровом пролёте предусмотрена установка мостового электрического крана грузоподъёмностью 5 т с управлением с пола. Отметка головки рельса - 6,7 м.

Здание со стальным каркасом, несущие конструкции - рамного типа из широкополочных двутавров, ригель, рамы - с перфорированными стенками, прогоны и фахверк - из холодногнутых С-образных профилей.

Стены - из трехслойных стеновых панелей (ТУ 67-651-84) с минераловатным утеплителем и профилированными металлическими обшивками.

Покрытие - из кровельных бескаркасных двухслойных панелей (ТУ 67-717-85) марки ПКМ-120 с утеплителем из минераловатных плит повышенной жёсткости.

Цоколь - из керамзитобетонных стеновых панелей серии 1.432-14/80.

Производство работ предусмотрено в летний и зимний периоды года.

2. ОРГАНИЗАЦИЯ И ТЕХНОЛОГИЯ ВЫПОЛНЕНИЯ РАБОТ

2.1. Общие положения

В подготовительный период (до начала монтажа здания) необходимо выполнить следующие мероприятия:

принять по акту выполненные фундаменты с составлением исполнительной схемы;

привести стройплощадку в состояние, соответствующее стройгенплану;

обеспечить бригаду по перечню и в количестве, предусмотренном данной технологической картой, необходимым инструментом, инвентарем и приспособлениями.

Строительные материалы и конструкции доставляются на приобъектный склад специальным автотранспортом.

ТТК предусматривает монтаж конструкций с приобъектного склада. Схемы складирования конструкций приведены на листе 39.

Возведение здания (лист 14) необходимо начинать с устройства ячейки жёсткости, которая расположена в центре здания (оси 5 - 6), поэтому здание возводится в четыре очереди (направление монтажа конструкций по каждой очереди: от ячейки жёсткости к крайним осям).

В целях упрощения монтажных работ и обеспечения их безопасности часть конструкций укрупняется. Колонны и балки покрытия укрупнить в 18-метровом пролете в рамы, в 12-метровом пролёте - в полурамы, панели покрытия - в картины.

Укрупнительную сборку и монтаж здания вести пневмоколёсным краном КС-4361 (К-161) с длиной стрелы 20 м, грузоподъёмностью 16 т, кроме того, возможны варианты применения других типов кранов с аналогичными техническими характеристиками.

Укрупнение рам выполнять по ходу их монтажа. Укрупнение картин покрытия производить до начала возведения здания, картины укладывать краном на площадке складирования вблизи мест монтажа.

Укрупнительную сборку картин выполнять с соблюдением следующих требований:

сборку картин покрытия выполнять на специально изготовленном шаблоне (лист 29), шаблон укладывать на спланированную площадку;

конструкции укладывать на шаблон в следующем порядке:

сначала уложить прогоны покрытия, закрепить их к шаблону, затем последовательно уложить на прогоны панели покрытия;

до укладки панелей на прогонах выполнить разметку, согласно таблице типоразмеров картин (листы 27, 28);

разметку под самонарезающие винты производить согласно рабочим чертежам.

Вырезку и извлечение теплоизоляционных слоев в местах установки самонарезающих винтов выполнять сверлильной машиной со специальной насадкой. Установку винтов производить гайковертом, комбинированных заклёпок - пистолетом ручной односторонней клёпки.

Варианты рекомендуемых машин и оборудования для монтажа приводятся в табл. 1.

Таблица 1

Наименование комплекта машин и оборудования

Вариант

(фасет-код)

Техническая характеристика

Марка

Количество

Кран монтажный

1

(02-1)

Кран пневмоколесный грузоподъёмностью 16 т

КС-4361 (К-161)

1

2

(02-2)

Кран автомобильный грузоподъёмностью 16 т

МТА-160-К

1

3

(02-3)

Кран гусеничный грузоподъёмностью 25 т

МКГ-25.1

1

4

(02-4)

Кран пневмоколесный грузоподъёмностью 25 т

МКМ-25А

1

Транспортные средства

1

Полуприцеп-панелевоз грузоподъёмностью 12 т

УПП-1207

МАЗ-504В

1

1

Тягач

МАЗ-504В

1

2

Полуприцеп-панелевоз грузоподъёмностью 12 т

ПП-1207

1

2

Тягач

УПЛ-1412

1

Оборудование для рабочего места

1

(01-1)

Передвижные подмости

ЦНИИОМТП пр. 4401.00.000

1

1

(01-3)

Приставные лестницы

Л-1

2

ЛА-4

2

1

(01-3)

Тоже

Л-1

2

ЛА-4

2

2

(01-2)

Автоподъёмник

АП-17

1

3

(01-2)

-"-

АП-17

1

В ТТК разработаны три варианта организации работ по монтажу здания в зависимости от применяемых средств подмащивания.

I вариант предусматривает использование при установке рам каркаса и подкрановых балок приставных лестниц, для монтажа стенового ограждения и панелей покрытия - подмостей ЦНИИОМТП и приставных лестниц.

Монтаж конструкций здания выполнять комплексным методом (ячейками). Размер ячейки 6´18 и 6´12 м.

Выбор метода монтажа ячейками сделан из расчёта наименьшего числа перестановок средств подмащивания, т.к. при одной их установке монтируются насколько конструкций в пределах ячейки.

В данной ТТК I вариант принимается за базовый. Схема монтажа здания для I варианта приведена на листе 14.

II вариант предусматривает использование приставных лестниц при установке рам каркаса, подкрановых балок и панелей покрытия; для монтажа стенового ограждения используются автоподъёмники АП-17.

Монтаж конструкций здания ведётся комбинированным (смешанным) методом в два этапа:

1-й этап - монтаж рам каркаса, подкрановых балок (в 18-метровом пролёте) и панелей покрытия ячейками (комплексный метод);

2-й этап - монтаж стенового ограждения отдельным потоком.

Монтаж конструкций на 1-м этапе выполнять краном грузоподъёмностью 16 т (марку крана выбирать согласно табл. 1).

Стеновые ограждения на 2-м этапе монтировать автомобильным краном КС-3562А грузоподъёмностью 10 т, с длиной стрелы 14 м.

Комбинированный метод монтажа конструкций здания позволит уменьшить время нахождения автоподъёмников АП-17 на монтаже здания (листы 34, 36).

III вариант предусматривает использование автоподъёмников АП-17 при монтаже всех конструктивных элементов здания.

Монтаж конструкций здания ведется комплексным методом (ячейками), т.к. при этом методе уменьшается количество перемещений крана и автоподъёмников (лист 37).

Для всех вариантов предусматривается свободный метод монтажа элементов с последующей их выверкой.

Строповку всех конструкций выполнять стропами из стальных канатов, схемы строповки приведены на листах 30 - 32.

При монтаже конструкций необходимо обеспечить устойчивость и неизменяемость смонтированной части здания, устойчивость монтируемых конструкций на всех стадиях монтажа.

Работы по монтажу здания производить комплексной бригадой монтажников, владеющих смежной профессией. Состав бригады приводится в табл. 2. Монтаж конструктивных элементов здания выполнять специализированными звеньями монтажников; состав звеньев приводится в графике производства работ (табл. 7).

Таблица 2

Профессия членов бригады

Разряд

Кол-во

Основная

Смежная

VI

V

IV

III

Монтажник

-

1

-

-

-

1

Монтажник

Сварщик

-

1

-

-

1

Монтажник

Изолировщик

-

-

1

-

1

Монтажник

Такелажник

-

-

1

1

2

Монтажник

Такелажник

-

-

1

1

2

Электросварщик

Монтажник

-

1

-

-

1

Итого:

 

1

2

3

1

8

Машинисты грузоподъёмных кранов и автомобильных подъёмников в состав комплексной бригады не включаются.

Монтажников, не участвующих в монтаже конструкций, необходимо занять на сопутствующих работах.

2.2. Технологическая последовательность выполнения работ на ячейке в 18-метровом пролете:

укрупнительная сборка первой рамы каркаса;

монтаж первой рамы каркаса;

укрупнительная сборка второй рамы каркаса;

монтаж второй рамы каркаса;

монтаж связей по колоннам (в ячейках жёсткости);

монтаж подкрановых балок;

монтаж элементов стенового ограждения;

монтаж конструкций покрытия.

Укрупнительная сборка первой рамы каркаса

Укрупнительную сборку колонн и балок покрытия в рамы выполнять на строительной площадке в зоне действия стрелы крана. Конструкции для укрупнительной сборки укладывать на подкладки из деревянных шпал.

Перед сборкой рамы необходимо: подготовить укрупняемые колонны и балки покрытия; проверить соответствие геометрических размеров укрупняемых элементов допускам; стыкуемые поверхности очистить от грязи, ржавчины, снега, льда, масла и пыли. Кроме того, необходимо спилить напильником или срубить зубилом заусенцы на кромках деталей и отверстий; проверить соответствие допускам диаметров отверстий.

Сборку рамы производить в два этапа:

1-й этап - на подкладки из шпал уложить колонны и балки покрытия и собрать две полурамы, установив болты без окончательной затяжки;

2-й этап - полурамы соединить между собой в коньковом узле болтами, произвести замеры линейных размеров рамы и выполнить окончательную затяжку всех болтов рамы.

Укрупнительную сборку всех последующих рам каркаса выполнять согласно требованиям, изложенным для первой рамы каркаса.

Последовательность выполнения болтовых соединений узлов рамы:

совместить с помощью проходных оправок все отверстия стыка;

установить пробки;

установить болты по проекту.

При этом необходимо соблюдать следующие требования:

проходные оправки забивать во все отверстия с помощью кувалды, коническая часть оправки должна упираться в кромки отверстий, которые по мере перемещения оправки вглубь пакета совместятся.

Для фиксации взаимного расположения соединяемых элементов и предупреждения их сдвига часть отверстий (не менее 10 %) должна заполниться пробками. После установки пробок все оправки выбить.

Стяжку соединяемых элементов производить установкой постоянных болтов. Головки и гайки болтов должны плотно соприкасаться с плоскостями элементов конструкций и шайб. Резьба болта должна находиться вне тела пакета соединяемых элементов, а гладкая часть его стержня не должна выступать из шайбы. Гайки и контргайки следует закручивать до отказа, от середины соединения к его краям.

Монтаж первой рамы каркаса

Подъём рамы из горизонтального положения выполнять методом поворота рамы вокруг подвижного шарнира (скольжением).

Работы выполнять в два этапа:

1-й этап - приподнять раму за вершину (без отрыва опорной части колонн от земли), уменьшая вылет стрелы крана до минимального;

2-й этап - привести раму в вертикальное положение, поднимая крюк крана; при этом опорные части колонн рамы должны скользить по направляющим.

До подъёма рамы необходимо:

приварить опорные уголки под стеновые прогоны;

на базы колонн надеть опорные приспособления (лист 17);

под колонны на участке скольжения уложить на землю направляющие из швеллера 12 и покрыть их смазкой,

До подъёма рамы необходимо нанести осевые риски масляной краской в двух уровнях по высоте колонн:

на вертикальные грани опорных плит колонн и на оголовки колонн по двум смежным граням;

на консолях колонн нанести осевые риски для укладки подкрановых балок.

Установку рамы на фундаменты производить на стальные подкладки, которые выполняют из обрезков листовой стали и укладывают на фундаменты по краям опорной плиты колонны с двух противоположных сторон (с двух других сторон забить инвентарные клинья).

Требуемую толщину подкладок подбирать по каждому фундаменту, используя данные исполнительной съёмки фундаментов и измерений длин колонн.

Установку монтируемой рамы в проектное положение производить, совмещая осевые риски на опорных плитах колонн с осевыми рисками, нанесенными на верхней поверхности фундамента.

Для предохранения резьбы анкерных болтов от повреждения необходимо до монтажа рамы надеть на них стальные предохранительные колпаки, изготовляемые из обрезков газовых труб.

Вертикальность установки рамы в продольной и поперечной плоскостях проверять с помощью двух теодолитов, установленных в створах продольной и поперечной разбивочных осей, совмещая положение нижних и верхних рисок на колоннах с вертикальной визирной осью теодолита.

В продольной плоскости вертикальность рамы достигают изменением толщины подкладок под опорными плитами колонн. Для этого необходимо приподнять раму краном, вынуть подкладки, изменить их толщину и уложить на прежнее место. Убедившись в вертикальности установленной рамы, подкладки, собранные в пакет, соединить от сдвига электросваркой.

После установки рамы в продольной плоскости необходимо временно ее раскрепить. Временное крепление рамы выполнять расчалками из стального каната, в количестве 4 шт. на раму. Верхний конец расчалки крепить к колонне рамы, а нижний - за фундаменты (на анкерные болты фундаментов установить анкера). Расчалки снабжены винтовыми стяжками (талрепами) для выверки рамы в вертикальной плоскости.

Расстроповку рамы выполнять только после временного её закрепления. Расчалки снимать после монтажа вертикальных связей связевой ячейки.

Вертикальность рамы в поперечной плоскости достигают наклоном её в нужную сторону, регулируя длину расчалок с помощью талрепов.

После приведения рамы в проектное положение затянуть гайки анкерных болтов и подлить цементный раствор под опорные плиты колонн.

Схема монтажа первой рамы каркаса приведена на листе 16.

Монтаж второй рамы каркаса

В продольном направлении раму устанавливать аналогично указаниям, изложенным для первой рамы.

Временное крепление рамы после установки её в продольной плоскости выполнять инвентарной распоркой, которую до монтажа рамы крепить струбциной к балке покрытия в середине пролёта.

При установке рамы распорку перевести из вертикального положения в горизонтальное с помощью оттяжки из бельного каната и закрепить струбциной к первой раме каркаса. Подъём и закрепление распорки производить с приставной лестницы с площадкой, установленной у первой рамы.

После временного закрепления рамы выполнить её расстроповку и выверку в поперечной плоскости.

Вертикальность рамы в поперечной плоскости достигают наклоном ее в нужную сторону, регулируя длину распорки с помощью фаркопфа. Распорку снимают после монтажа картины покрытия.

Монтаж всех последующих рам выполнять согласно требованиям, изложенным для монтажа второй рамы.

Схема монтажа второй рамы каркаса показана на листе 20.

Монтаж вертикальных связей по колоннам

Монтаж вертикальных связей по колоннам в ячейке жесткости следует выполнять перед монтажом подкрановых балок.

Установку вертикальных связей производить с передвижных площадок, монтаж выполнять поэлементно, без укрупнения.

Монтаж подкрановых балок

Монтаж подкрановых балок производить без тормозных площадок, последние монтировать после укладки и закрепления подкрановых балок.

В качестве средств подмащивания при монтаже подкрановых балок и тормозных площадок использовать приставные лестницы. Выверку подкрановых балок выполнять с передвижных подмостей конструкции ЦНИИОМТП.

При установке подкрановых балок необходимо руководствоваться следующими требованиями:

до подъёма подкрановой балки нанести осевые риски на опорное ребро балки, к балке закрепить оттяжки из бельного каната;

установку балки в проектное положение производить, совмещая осевые риски на опорном ребре балки с осевыми рисками на консолях колонн;

временное крепление подкрановой балки выполнять болтами, болты не закручивать до отказа (вначале закрепить нижний пояс балки, затем состыковать балку со смонтированной ранее, в последнюю очередь выполнить крепление верхнего пояса балки к колонне);

расстроповку балки производить после временного закрепления нижнего пояса балки.

Подкрановые рельсы длиной 12 м подавать краном под покрытие ячейки, смежной с монтируемой, до монтажа панелей покрытия в монтируемой ячейке. Рельсы временно укладывать на элементы крепления верхнего пояса подкрановой балки к колонне и устанавливать в проектное положение монтажными ломиками после выверки подкрановых балок.

Выверку смонтированных подкрановых балок производить по окончании монтажа и временного закрепления всех подкрановых балок в пролёте здания.

Перед выверкой произвести геодезическую съёмку подкрановых балок с составлением исполнительной схемы, на которой необходимо указать:

расстояние между осями подкрановых балок;

отклонение оси подкрановой балки от оси подкранового пути;

отметки подкрановых балок на опорах и в середине балки;

размеры от оси подкрановой балки до грани колонны.

Балку устанавливать на проектную отметку путём забивки стальных клиньев между опорной поверхностью консоли колонны и нижним поясом подкрановой балки. Затем под опорное ребро балки уложить монтажную стальную подкладку, которую потом приварить к консоли колонны. Толщину монтажных подкладок подбирать, руководствуясь данными исполнительной съёмки.

Выверку подкрановой балки в плане выполнять монтажными ломиками.

После выверки подкрановые балки закрепить по проекту, затянув гайки монтажных болтов до отказа.

Схема монтажа подкрановых балок приведена на листе 22.

Монтаж элементов стенового ограждения

При монтаже элементов стенового ограждения средства подмащивания устанавливать снаружи и изнутри здания.

Снаружи здания для подмащивания использовать передвижные площадки конструкции ЦНИИОМТП.

Крепление стеновых панелей изнутри здания на отм. 8,170 выполнять с лестниц с монтажными площадками; лестницы закреплять за прогоны покрытия здания (прогоны монтировать одновременно с монтажом стенового ригеля на отм. 8,170).

Подъём на лестницы производить с подкрановых балок. Для выхода на подкрановые балки использовать приставные лестницы.

При монтаже элементов стенового ограждения необходимо руководствоваться следующими требованиями:

до монтажа стеновых панелей должны быть смонтированы цокольные стеновые панели и стеновые ригели в пределах ячейки;

до подъёма стеновой панели проверить ее основные размеры, правильность и надёжность установки пластин для крепления панели, закрепить по торцам панели полосы из минераловатной плиты;

установку панели производить на опорные ригели;

устанавливаемая панель должна плотно прилегать к ранее смонтированной;

установку и временное крепление панели в нижнем и верхнем узлах выполнять, закрепляя панели крепежными болтами к ригелю согласно рабочим чертежам, при этом гайки болтов не закручивать до отказа для обеспечения подвижности панели при выверке;

расстроповку панели производить только после временного ее крепления;

вертикальность панели проверять по отвесу, выверку выполнять монтажными ломиками при ослабленном натяжении крепежных болтов;

после выверки вертикальности гайки болтов затянуть.

Схема монтажа элементов стенового ограждения показана на листе 23.

Монтаж конструкций покрытия

Направление работ по монтажу конструкций покрытия предусмотрено от продольных осей пролёта к коньку кровли.

Крепление элементов покрытия выполнять с приставных лестниц с площадками и смонтированного покрытия.

Для подъёма рабочих на покрытие использовать приставные лестницы.

При монтаже конструкций покрытия необходимо руководствоваться следующими требованиями:

панели покрытия длиной 6,1 м до начала монтажа укрупнить в картины;

конструкции покрытия в коньковой части здания монтировать поэлементно, сначала смонтировать прогоны покрытия, затем - панели;

покрытие в коньковой части здания выполнять после монтажа картин покрытия ячейки;

строповку картин и панелей покрытия выполнять четырехветвевыми стропами с помощью специальных захватов (лист 31);

укладку картин покрытия на балки выполнять, совмещая отверстия в прогонах картины с отверстиями на крепежных уголках балки покрытия, точность укладки картины регулировать путём рихтовки ее монтировками при натянутых стропах;

после монтажа картин покрытия в двух смежных ячейках в проём между картинами уложить доборную панель;

ширину проёма, необходимую для укладки доборной панели, контролировать до крепления картины с помощью шаблона из профилированного листа;

шаблон укладывать на смежные картины в местах опирания прогонов.

Схема монтажа покрытия ячейки показана на листах 25, 26.

Технологическая последовательность выполнения работ на ячейке в 12-метровом пролёте:

укрупнительная сборка первой полурамы каркаса;

монтаж первой полурамы каркаса;

укрупнительная сборка второй полурамы каркаса;

монтаж второй полурамы каркаса;

монтаж связей по колоннам (в ячейках жёсткости);

монтаж распорок;

монтаж элементов стенового ограждения;

монтаж конструкций покрытия.

Укрупнительная сборка первой полурамы каркаса

Укрупнительную сборку колонн и балок покрытия в полурамы выполнять на строительной площадке в зоне действия стрелы крана. Конструкции для укрупнительной сборки укладывать горизонтально на подкладки из деревянных шпал.

Сборку полурамы производить в два этапа:

1-й этап - на подкладки из шпал уложить колонну и балку, собрать полураму, установив болты без окончательной затяжки;

2-й этап - измерить основные линейные размеры полурамы, затем произвести окончательную затяжку гаек крепежных болтов.

Укрупнительную сборку всех последующих полурам каркаса выполнять согласно требованиям, изложенным для первой полурамы каркаса.

Последовательность выполнения болтовых соединений и основные требования к их выполнению приведены на листе 4.

Монтаж первой полурамы каркаса

Подъём полурамы из горизонтального положения выполнять методом поворота ее вокруг подвижного шарнира без отрыва опорной части колонны от земли. Полураму при подъёме застропить за балку покрытия согласно схеме строповки (лист 30), подъём производить уменьшая вылет стрелы крана.

До подъёма полурамы приварить опорные уголки под стеновые прогоны, а на базу колонны надеть опорное приспособление (лист 16).

Временное крепление полурамы выполнять расчалками из стального каната, в количестве 2 шт. на полураму. Верхний конец расчалки крепить к колонне полурамы, а нижний - за фундаменты (на болты фундаментов установить анкер).

Расчалки снабжены винтовыми стяжками (талрепами) для выверки полурамы.

Монтаж полурамы выполнять в три этапа:

1-й этап - установка полурамы на фундамент и одновременное совмещение отверстий в узле стыковки с рамой смежного 18-метрового пролёта;

2-й этап - установка и закрепление болтов в узле стыковки, согласно рабочим чертежам;

3-й этап - выверка вертикальности полурамы и закрепление основания согласно рабочим чертежам.

При установке первой полурамы необходимо руководствоваться следующими требованиями:

до подъёма полурамы нанести осевые риски и закрепить на базе колонны опорное приспособление;

осевые риски наносить в двух уровнях по высоте колонны: на вертикальную наружную грань опорной плиты колонны и на оголовок колонны по наружной её грани;

установку полурамы на фундамент производить на стальные подкладки;

совмещение отверстий в узле стыковки полурамы с рамой 18-метрового пролёта производить с изменением толщин стальных подкладок под опорной плитой колонны, при необходимости подкладки собирать в пакет, соединив их от сдвига электросваркой;

совмещение отверстий выполнять при натянутых стропах крана;

последовательность и основные требования к выполнению болтовых соединений приведены на листе 4;

после установки болтов в стыке с рамой полураму временно раскрепить расчалками, после чего расстропить;

вертикальность установки полурамы в поперечной плоскости проверять с помощью теодолита, установленного в створе поперечной разбивочной оси, совмещая положение нижних и верхних рисок на колонне с вертикальной визирной осью теодолита;

выверку вертикальности установленной полурамы производить, регулируя натяжение расчалок с помощью талрепов;

расчалки снимать после монтажа вертикальных связей связевой ячейки.

После приведения полурамы в проектное положение затянуть гайки анкерных болтов и подлить цементный раствор под опорную плиту колонны.

Стыковку полурамы с рамой смежного пролёта выполнять с передвижных подмостей конструкции ЦНИИОМТП.

Схема монтажа первой полурамы приведена на листе 16.

Монтаж второй полурамы каркаса

При монтаже второй полурамы каркаса необходимо руководствоваться требованиями, приведенными для монтажа первой полурамы каркаса.

Временное крепление второй полурамы выполнять инвентарной распоркой, которую до монтажа полурамы крепить струбциной к балке покрытия в середине пролёта.

Выверку вертикальности полурамы в поперечной плоскости выполнять с помощью фаркопфов распорок. Распорку снимать после монтажа картины покрытия.

Монтаж всех последующих полурам выполнять согласно требованиям, изложенным для монтажа второй полурамы.

Схема монтажа второй полурамы каркаса показана на листе 20.

Монтаж связей по колоннам (в ячейке жесткости)

Монтаж связей по колоннам в ячейке жесткости выполнять после монтажа двух полурам.

Установку связей (вертикальных и горизонтальных) осуществлять с передвижных площадок конструкции ЦНИИОМТП, монтаж производить краном поэлементно без укрупнения.

Монтаж распорок

Монтаж распорок между колоннами выполнять после монтажа двух полурам.

В качестве средств подмащивания использовать передвижные площадки конструкции ЦНИИОМТП.

Монтаж элементов стенового ограждения

При монтаже элементов стенового ограждения в качестве средств подмащивания использовать передвижные площадки конструкции ЦНИИОМТП, которые устанавливать снаружи и изнутри здания.

Основные требования, которыми необходимо руководствоваться при монтаже элементов стенового ограждения, приведены на листе 6.

Схема монтажа элементов стенового ограждения показана на листе 23.

Монтаж конструкций покрытия

Направление работ по монтажу конструкций покрытия предусмотрено от карниза кровли к смонтированному смежному пролёту.

Панели покрытия до начала монтажа укрупнить в картины.

При монтаже конструкций покрытия необходимо руководствоваться требованиями, приведенными для монтажа конструкций покрытия в 18-метровом пролете.

Схема монтажа покрытия ячейки показана на листе 25.

2.3. Геодезическое обеспечение

Все геодезические работы на стройплощадке выполнять в соответствии со СНиП 3.01.03-84 и ГОСТ 21779-82.

Инженерно-геодезические работы предшествуют процессу строительства, сопутствуют ему и завершают его.

Их можно разбить на следующие стадии:

создание планово-высотного обоснования;

вынос в натуру и закрепление основных осей;

детальные разбивочные работы при выполнении нулевого цикла;

детальные разбивочные работы при возведении надземной части;

исполнительная съёмка геометрического положения смонтированных конструкций с составлением исполнительных схем.

Вынос разбивочных осей на все фундаменты выполнять от основных осей с помощью теодолита и рулетки и закреплять на поверхности бетона фундамента краской.

На все фундаменты, сдаваемые под монтаж металлических конструкций, должна составляться исполнительная схема, на которой указываются:

проектные и фактические расстояния между осями;

проектные и фактические отметки верха бетона;

проектные и фактические отметки верха анкерных болтов.

После выверки и проектного закрепления каркаса здания производится исполнительная съёмка положения смонтированных конструкций.

На исполнительной съемке указать:

смещение осей колонн в нижнем сечении относительно разбивочных осей;

отклонение осей колонн от вертикали в верхнем сечении;

отметки опорных поверхностей подкрановых балок.

Исполнительные схемы прилагать к акту на приёмку сооружения для последующих строительных работ.

2.4. Указания по производству работ в зимнее время

Конструкции подавать на монтаж очищенными от снега, наледи и грязи. Особенно тщательно защищать от увлажнения и наледи стыкуемые поверхности элементов. При необходимости наледь удалять не только скребками и щётками, но и прогревая обледеневшие места до полного исчезновения следов наледи. Для прогрева применять газовые и другие горелки. Пользоваться горячей водой запрещается.

При отрицательных температурах сварочные работы необходимо выполнять с соблюдением следующих рекомендаций:

особо тщательно заваривать кратеры и замыкающие участки швов;

удалить влагу и снег на расстоянии не менее 0,8 - 1 м от места сварки и зачищать от ржавчины прилегающие к шву участки на ширину 20 мм;

предварительно просушивать зону сварки с помощью горелок и других источников нагрева;

тщательно выполнять прихватки и проверять отсутствие в них непроваров и трещин. При сильных морозах (температуре ниже минус 30 °С) прихватки заменять сплошными швами;

использовать теплые после прокалки электроды;

дефектные участки швов удалять без приложения ударных нагрузок;

обеспечивать сварщиков теплой спецодеждой и обувью;

свариваемые поверхности и рабочие места сварщиков защищать от снега, дождя, сильного ветра и сквозняков.

Не разрешается производить электросварочные работы при температуре ниже минус 30 °С для сталей класса АI и температуре ниже минус 20 °С для сталей класса АII.

3. ТРЕБОВАНИЯ К КАЧЕСТВУ И ПРИЁМКЕ РАБОТ

Порядок и организацию работ по контролю качества строительно-монтажных работ (СМР) устанавливает ОСТ 36-125-85.

При производстве СМР контроль необходимо осуществлять в следующем порядке:

входной контроль документации;

приёмочный контроль площадок, зданий, сооружений и конструктивов для производства СМР;

входной контроль материалов;

операционный контроль;

приёмочный контроль;

инспекционный контроль.

В данный раздел ТТК включены элементы операционного контроля качества основных технологических процессов (табл. 3).

Операционный контроль выполняется производителями работ и мастерами. К проведению операционного контроля могут быть привлечены строительные (сварочные) лаборатории и геодезические службы.

Операционному контролю предшествует самоконтроль исполнителей, бригадиров, звеньевых и рабочих, обязанных обеспечивать качество выполняемых ими операций.

Основными рабочими документами при операционном контроле качества являются схемы операционного контроля качества, разрабатываемые в составе ППР, строительные нормы и правила.

Результаты операционного контроля фиксируются в журнале работ и учитываются при определении оценки качества работ.

При приёмочном контроле производят проверку и оценку качества выполненных СМР, а также ответственных конструкций. Правила приемки регламентирует СНиП 3.01.04-87 «Приемка в эксплуатацию законченных строительством объектов. Основные положения».

Приемочный контроль смонтированных конструкций осуществляют: согласно СНиП 3.03.01-87 «Несущие и ограждающие конструкции».

При приемке смонтированных конструкций предъявляют следующие документы:

рабочие чертежи смонтированных конструкций с указанием на них всех отклонений от требований проекта, допущенных в процессе монтажа и согласованных с проектными организациями;

паспорта на монтируемые конструкции или их элементы, а также сертификаты на материалы, примененные при монтаже и сварке;

исполнительные схемы геодезической проверки положения конструкций;

журналы монтажных, сварочных работ и заделки стыков;

акты освидетельствования скрытых работ;

документация лабораторных анализов и испытаний при сварке и замоноличивании стыков;

опись удостоверений сварщиков, работающих при монтаже конструкций.

Таблица 3

Наименование процессов, подлежащих контролю

Предмет контроля

Инструмент и способ контроля

Время контроля

Ответственный контролёр

Технические критерии оценки качества

Приёмка фундаментов для установки рам каркаса

Соответствие выполненных фундаментов рабочим чертежам

Нивелир, рулетка

В процессе работ и по их окончании

Мастер

Отклонения отметок опорных поверхностей фундаментов от проектных - 5 мм

Разность отметок опорных поверхностей соседних фундаментов по ряду и в пролёте - 3 мм

Смещение осей фундаментов относительно разбивочных осей - 5 мм

Смещение анкерных болтов в плане - 5 мм

Укрупнительная сборка рам каркаса

Точность сборки

Рулетка, визуально

В ходе и по окончании укрупнительной сборки

-"-

Отклонения линейных размеров - 8 мм

Отклонения равенства диагоналей - 20 мм

Монтаж рам каркаса

Точность установки

Рулетка, теодолит, линейка измерительная

В процессе монтажа

-"-

Отклонения отметок опорных поверхностей колонн от проектных - 5 мм

Разность отметок опорных поверхностей соседних колонн по ряду и в пролёте - 3 мм

Смещение осей колонн относительно разбивочных осей в опорном сечении - 5 мм

Отклонения осей колонн от вертикали в верхнем сечении - 10 мм

Монтаж подкрановых балок и рельсов

То же

Рулетка, нивелир, линейка измерительная

То же

-"-

Смещение оси подкрановой балки с продольной разбивочной оси - 5 мм

Смещение опорного ребра балки с оси колонны - 20 мм

Смещение оси рельса с оси подкрановой балки - 15 мм

Отклонение оси рельса от прямой на длине 40 м - 15 мм

Разность отметок головок рельсов в одном поперечном разрезе пролёта здания, мм:

на опорах - 15

в пролёте - 20

Разность отметок подкрановых рельсов на соседних колоннах - 10 мм

Взаимное смещение торцов стыкуемых рельсов в плане и по высоте - 2 мм

Укрупнительная сборка кровельных панелей в картины

Точность сборки, соответствие размеров картины рабочим чертежам

Рулетка, визуально

В процессе работ и по их окончании

-"-

Отклонения линейных размеров - 8 мм

Отклонения равенства диагоналей - 20 мм

Монтаж кровельных панелей

Точность установки

Рулетка, шаблон из листа профнастила, визуально

В процессе монтажа

Мастер

Отклонение длины опирания панели на прогоны в местах поперечных стыков - 5 мм

Отклонение положения центров:

самонарезающих болтов - 5 мм;

комбинированных заклёпок:

вдоль настила - 20 мм;

поперек настила - 5 мм

Монтаж стеновых панелей

Тоже

Отвес, рулетка, линейка измерительная, визуально

То же

-"-

Отклонение от вертикали продольных кромок панелей: 0,001L мм, где L - длина панели

Отклонение плоскости наружной поверхности стенового ограждения от вертикали - 0,002H, где H - высота ограждения

Постановка болтов в монтажных стыках

Проверка плотности стяжки и качества затяжки собранного узла

Гайковёрт, щуп, молоток, визуально

В процессе работ и по их окончании

-"-

В собранном узле болты заданного в проекте диаметра должны пройти в 100 % отверстий. Допускается прочистка 20 % отверстий сверлом, диаметр которого равен диаметру отверстия, указанному в чертежах

Плотность стяжки собранного узла надлежит проверять щупом толщиной 0,3 мм, который в пределах зоны, ограниченной шайбой, не должен проходить между собранными деталями на глубину более 20 мм. Качество затяжки постоянных болтов следует проверять обстукиванием их молотком массой 0,4 кг, при этом болты не должны смещаться

Сварочные работы

Контроль сварных соединений в процессе их выполнения, соответствие проекту марки электродов

Линейка измерительная, визуально

В процессе монтажа

-"-

Поверхность шва должна быть равномерно-чешуйчатая, без прожогов, наплывов, сужений и перерывов

Глубина подрезов - до 5 % толщины свариваемого проката, но не более 1 мм

Дефекты (непровары, цепочки и скопления пор), соседние по длине шва:

расстояние между близлежащими концами - не менее 200 мм


Схема монтажа конструкций здания

Условные обозначения:

 - временные автодороги;  - площадки складирования;  стоянки крана;  - направление движения крана КС-4361;  - подмости ЦНИИОМТП;  - приставная лестница;  - номер очереди и направление производства работ

1 - рама каркаса; 2 - полурама каркаса; 3 - подкрановая балка; 4 - прогон покрытия; 5 - картина покрытия; 6 - панель покрытия; 7 - стеновая панель наружная; 8 - фундамент; 9 - стойка рамы; 10 - обратная засыпка; 11 - подмости ЦНИИОМТП; 12 - временная распорка; 13 - приставная лестница Л-1; 14 - приставная лестница ЛА-4; 15 - кран КС-4361

1. Данный лист смотреть совместно с л. 14.

2. Пунктиром показано проектное положение конструкций.

Последовательность монтажа здания

Схема монтажа первых рам каркаса по оси «6»

15 - расчалка РЧ-1; 16 - расчалка РЧ-2; 17 - положение рамы (полурамы) при укрупнительной сборке

Данный лист смотреть совместно с л. 14

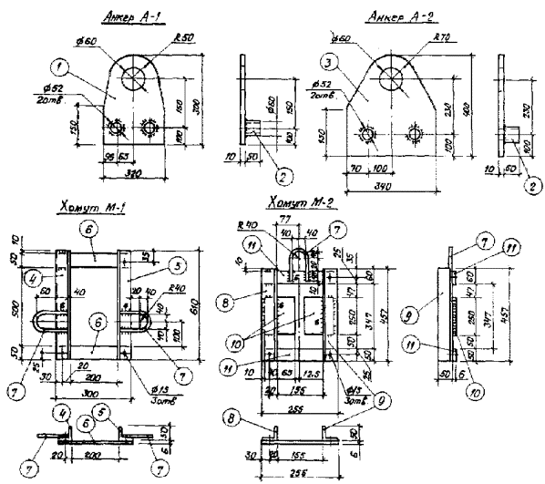
1 - фундамент по проекту; 2 - анкер А-1; 3 - анкерный болт М42 (по проекту); 4 - гайка М42; 5 - расчалка из каната; 6 - талреп, Q = 0,5 т; 7 - стойка рамы; 8 - скоба такелажная, типоразмер 1,7; 9 - рожковый зажим; 10 - хомут М-1; 11 - болт М12; 12 - анкер А-2; 13 - хомут М-2;

1. Узлы II - V замаркированы на л. 16.

2. Хомуты М-1, М-2, анкеры А-1, А-2 разработаны на л. 19.


Схема поворота рамы вокруг подвижного шарнира (скольжением)

Спецификация металлических изделий (Сталь марки ВСт3пс5)

Марка элем.

№ дет.

Сечение

Длина, мм

Кол-во

Масса, кг

Примечание

Т

Н

1 дет.

Всех

Марки

ОП-1

1

из тр. Æ 219´8

630

1

 

26,2

26,2

37,5

 

2

-115´8

600

2

 

4,3

8,6

 

3

-70´8

100

6

 

0,4

2,4

 

 

 

 

 

 

 

 

 

 

1 % на сварку:

 

 

 

 

0,3

 

1 - стойка рамы; 2 - поднимаемая рама; 3 - опорное приспособление ОП-1; 4 - вертикальное положение рамы; 5 - кран КС-4361; 6 - направляющая из С12; 7 - подкладки из шпал

1. Подъем рам после укрупнения выполнять методом поворота вокруг подвижного шарнира (скольжением) в два этапа: поднять раму, уменьшая вылет стрелы крана до Rmin = 6,5 м, затем привести раму в вертикальное положение, поднимая крюк крана, при этом опорная часть колонны будет скользить по основанию.

2. Для уменьшения сил трения при скольжении рам, а также для предохранения башмаков колонн от смятия необходимо надеть на башмаки колонн опорные приспособления ОП-1, поверхность скольжения направляющих покрыть смазкой.

Спецификация металлических изделий (Сталь марки ВСт3пс5)

Марка элем.

№ дет.

Сечение

Длина, мм

Кол-во

Масса, кг

Примеч.

Т

Н

1 дет.

Всех

Марки

А-1

1

-300´10

320

1

 

7,5

7,5

8,0

 

2

тр. Æ 60´2,5

50

2

 

0,2

0,4

 

 

 

 

 

 

 

 

 

 

 

 

 

 

 

 

 

А-2

3

-340´10

400

1

 

10,6

10,6

11,0

 

2

тр. Æ 60´2,5

50

2

 

0,2

0,4

 

 

 

 

 

 

 

 

 

М-1

4

L 50´50

610

1

 

2,3

2,3

7,0

 

5

L 50´50

610

1

 

2,3

2,3

 

6

-50´6

300

2

 

0,7

1,4

 

7

Æ 16

300

2

 

0,5

1,0

 

 

 

 

 

 

 

 

 

 

 

 

 

 

 

 

 

М-2

8

L 50´50

457

1

 

1,7

1,7

8,0

 

9

L 50´50

457

1

 

1,7

1,7

 

10

-105´6

250

2

 

1,2

2,4

 

11

-50´6

255

2

 

0,6

1,2

 

7

Æ 16

300

1

 

0,5

1,0

 

 

 

 

 

 

 

 

 

 

Ведомость изделий

Марка элем.

Кол.

Масса, кг

марки

всего

А-1

4

8,0

32,0

А-2

2

11,0

22,0

М-1

2

7,0

14,0

М-2

1

8,0

8,0

 

 

 

 

Итого:

76


Схема монтажа второй рамы каркаса

 


Схема подъема рамы пролетом 12 м методом поворота без отрыва от земли

1 - рама 1; 2 - рама 2; 3 - полурама 1; 4 - полурама 2; (1, 2, 3, 4 - в проектном положении); 5 - положение рамы (полурамы) перед подъемом; 6 - расчалка РЧ-1; 7 - расчалка РЧ-2; 8 - временная распорка; 9 - центр тяжести полурамы; 10 - приставная лестница ЛА-4; 11 - подмости ЦНИИОМТП


Монтаж каркаса пролетом 12 м (оси Б-В) начинать после монтажа всех конструкций пролета 18 м (оси А-Б) согласно схеме разбивки на очереди.

1. Данный лист рассматривать совместно с л. 20.

2. Схемы строповки конструкций приведены на листах 30 - 32.

Схема монтажа подкрановых балок

1 - рама каркаса; 2 - подкрановая балка; 3 - вертикальная связь; 4 - ригель стеновой; 5 - панель стеновая; 6 - приставная лестница Л-1; 7 - передвижная площадка; 8 - подмости ЦНИИОМТП; 9 - лестница с монтажной площадкой; 10 - лестница ЛА-1; 11 - страховочный трос из каната Æ 11 мм по ГОСТ 2688-80; 12 - петля из ● Æ 16; 13 - смонтированная часть здания; 14 - временная распорка



1. Данный лист смотреть совместно с л.л. 22, 23.

2. Крюки навесных лестниц (узел VII) привязать отожженной стальной проволокой Æ 4 - 5 мм в две нитки к смонтированным и надежно закрепленным конструкциям.

3. Страховочный трос крепить к смонтированным колоннам, натянуть с помощью фаркопфа, провисание троса ограничивать специальным устройством (узел IX)


Схема монтажа покрытия ячейки (пролет 18 м)

Схема укладки картины на шаблон при укрупнительной сборке

1 - рама каркаса; 2 - картина покрытия; 3 - панель доборная; 4 - смонтированная часть покрытия; 5 - приставная лестница ЛА-4; 6 - временная распорка; 7 - укрупняемая картина покрытия; 8 - дополнительный прогон; 9 - шаблон Ш-1; 10 - болт М12

Примечания.

1. Прогоны укрупнительных картин крепить к шаблону Ш-1 на болтах М12.

2. Конструкция шаблона Ш-1 дана на л. 29.

3. При укрупнительной сборке картин покрытия, имеющих два прогона, на шаблон укладывать дополнительный прогон (из несмонтированных) и крепить его аналогично прогонам картины.


Схема монтажа покрытия ячейки (пролет 12 м)

Данный лист смотреть совместно с л. 25.


Маркировочная схема раскладки картин (пролет 18 м)

Таблица типоразмеров картин покрытия, мм

Тип картины

Размер картины

Размер консоли прогона

ширина

длина

А

Б

1

5915

6000

-

85

2

5070

6000

760

170

3

5070

6000

675

255

4

5070

6000

590

340

5

5070

6000

505

423

6

5070

6000

420

570

7

5070

6000

335

595

8

5070

6000

250

680

9

5070

6000

165

765

10

5915

6000

80

5

1 - укрупненные картины; 2 - места укладки доборных панелей; 3 - участок поэлементного монтажа панелей; 4 - панели ПП1; 5 - прогон покрытия

1. Картины укрупнять согласно маркировочной схеме, при этом строго соблюдать размеры консолей прогонов, указанные в таблице типоразмеров картин покрытия.

2. Привязка укладываемых панелей ПП1 к осям здания указана на маркировочной схеме.

3. Крепление панелей ПП1 к прогонам выполнять по проекту.

4. Между смежными картинами покрытия уложить доборные панели.

5. Укрупнение картин с индексом «а» выполнять зеркально.

Маркировочная схема раскладки картин (пролет 12 м)

Таблица типоразмеров картин покрытия, мм

Тип картины

Размер картины

Размер консоли прогона

ширина

длина

А

Б

1

5915

6000

-

85

2

5070

6000

760

170

3

5070

6000

675

255

4

5070

6000

590

340

5

5070

6000

505

425

6

5070

6000

420

510

7

5070

6000

335

595

8

5070

6000

250

680

9

5070

6000

165

765

10

5915

6000

80

5

1. Укрупнение картин с индексом «а» выполнять зеркально, без сдвоенного крайнего прогона.

2. Данный лист смотреть совместно с л. 27.

3. Привязка укладываемых панелей ПП1 к осям здания указана на маркировочной схеме.

Шаблон Ш-1

Спецификация на один элемент (сталь марки ВСт3кп2)

Марка эл-та

№ дет.

Сечение

Длина, мм

Кол-во

Масса, кг

Примечание

Т

Н

шт.

общ.

эл-та

Ш-1

1

С16

5760

2

 

82

164

464

 

2

С16

5800

2

 

82

164

 

3

L 75´6

7420

1

 

51

51

 

4

L 75´6

3720

2

 

26

52

 

5ТМ

L 63´5

140

3

3

1

6

 

6

-100´6

160

4

 

1

4

 

7

-140´6

460

1

 

3

3

 

8

-230´6

280

2

 

2,5

5

ф.л.

9

-230´6

350

2

 

3

5

"

10

Æ 16

360

4

 

1

4

 

 

 

 

 

 

 

 

 

 

 

 

 

 

 

 

 

 

 

 

 

 

 

 

 

1 % на сварные швы

 

 

 

5

 

1. Шаблон Ш-1 использовать для изготовления картин из кровельных панелей.

2. Все отверстия d = 17.

3. Все обрезы 40 мм.

4. Все швы Kf = 5 мм (кроме оговоренных).

5. Сварку производить электродами типа Э42 по ГОСТ 9467-75*.


Схемы строповки конструкций

1. Данный лист смотреть совместно с л. 31, 32.

2. Под стропы в местах огибания ими острых углов элементов поднимаемых конструкций подкладывать инвентарные металлические подкладки (узел XV).

Схемы строповки конструкций

1. Данный лист рассматривать совместно с л. 30, 32.

2. Петлю поместить в шов между панелями.


Схема строповки рамы пролетом 12 м

1 - стойка рамы; 2 - балка рамы; 3 - рама каркаса; 4 - подкрановая балка; 5 - цокольная стеновая панель; 6 - трехслойная стеновая панель; 7 - кровельная панель ПКМ-120; 8 - картина покрытия; 9 - полурама каркаса; 10 - строп СКП1-2,5/10200; 11 - строп 4СК1-3,2/5000; 12 - строп СКП1-3,2/7160; 13 - строп СКП1-1,1/8000; 14 - строп СКП1-1,1/9000; 15 - строп СКП1-0,32/1500; 16 - пружинный замок ПР-3,2; 17 - захват КР-3,2; 18 - траверса ТР-1; 19 - захват ЗХ-1; 20 - захват ЗХ-2; 21 - скоба такелажная, типоразмер 1.7; 22 - болт М16; 23 - инвентарные стальные подкладки под канат; 24 - подкладки из круглого леса Æ 160 мм, l = 1000 мм; 25 - канат для дистанционной расстроповки; 26 - расчалки РЧ-1, РЧ-2; 27 - пакет панелей ПКМ-120

1. Данный лист рассматривать совместно с л. 30, 31.

2. Конструкция захватов ЗХ-1, ЗХ-2 и траверсы Тр-1 дана на л. 33.

Захват ЗХ-1

Спецификация на один элемент (сталь марки ВСт3кп2)

Марка элем.

№ дет.

Сечение

Длина, мм

Кол-во

Масса, кг

Примечание

Т

Н

1 дет.

всех

марки

ЗХ-1

1

L 100´8

270

1

 

3,3

3,3

5,5

 

2

L 100´8

60

2

 

0,7

1,4

 

3

Æ 16

265

1

 

0,5

0,5

 

 

 

 

 

 

 

 

 

1 % на сварку:

 

 

 

0,3

 

ЗХ-2

4

С20

270

1

 

5,0

5,0

8,5

 

5

-110´10

225

1

 

1,9

1,9

 

2

L 100´8

60

2

 

0,7

1,4

 

 

 

 

 

 

 

 

 

1 % на сварку:

 

 

 

0,2

"

ТР-1

6

С20

5640

1

 

103,8

103,8

115,6

 

3

Æ 16

265

2

 

0,5

1,0

 

2

L 100´8

60

14

 

0,7

9,8

 

 

 

 

 

 

 

 

 

1 % на сварку:

 

 

 

1,0

 

 

Ведомость изделий

Марка эл-та

Кол.

Масса, кг

1 шт.

общ.

ЗХ-1

1

5,5

5,5

ЗХ-2

1

8,5

8,5

Тр-1

2

115,6

231,2

 

 

 

 

Итого:

245,2

1. Сварку конструкций производить электродами Э42 по ГОСТ 9467-75*.

2. Высота катета сварного шва равна 6 мм.


Схема монтажа конструкций здания, II вариант

(I этап: монтаж каркаса, подкрановых балок и покрытия здания)


Последовательность монтажа на I этаже

1 - рама каркаса; 2 - полурама каркаса; 3 - подкрановая балка; 4 - картина покрытия; 5 - панель покрытия; 6 - фундамент; 7 - временная распорка; 8 - приставная лестница ЛА-4; 9 - приставная лестница Л-1; 10 - подмости ЦНИИОМТП; 11 - трехслойная стеновая панель; 12 - автоподъемник АП-12

1. Основные условные обозначения на л. 14.

2. Данный лист читать совместно с л. 35.

3. По окончании монтажа конструкций на I этапе выполнить обратную засыпку котлованов под фундаменты.


Данный лист читать совместно с л. 34.

Схема монтажа конструкций здания, II вариант

(II этап: монтаж стеновых панелей и ригелей)

Условные обозначения

 - направление движения крана КС-3562А;  - стоянка крана КС-3562А;  - направление движения автоподъемника АП-17;  - стоянка автоподъемника АП-17

1. Условные обозначения на л. 14.

2. Данный лист рассматривать совместно с л. 34.

3. Монтаж стенового ограждения выполнять с помощью автомобильного крана КС-3562А, l = 14 м.

Схема монтажа конструкций здания, III вариант


Последовательность монтажа

1 - рама каркаса; 2 - полурама каркаса; 3 - подкрановая балка; 4 - картина покрытия; 5 - панель покрытия; 6 - трехслойная стеновая панель; 7 - фундамент; 8 - временная распорка; 9 - кран КС-4361; 10 - автоподъемник АП-17

1. Основные условные обозначения на л. 14, 36.

2. Направление движения автоподъемника № 1 показано внутри здания, автоподъемника № 2 - снаружи здания. Автоподъемник № 2 использовать при монтаже стеновых панелей.


Схемы складирования конструкций

1 - подкладка из бруса 130´150 мм; 2 - подкладка из доски 100´40 мм; 3 - склад-пирамида

4. КАЛЬКУЛЯЦИИ ЗАТРАТ ТРУДА, МАШИННОГО ВРЕМЕНИ И ЗАРАБОТНОЙ ПЛАТЫ

4.1. Калькуляция № 1 на монтаж элементов каркаса здания.

Таблица 4

Наименование процесса

Номер фасета для пересчёта показателей

Единица измерения

Объём работ

Обоснование (ЕНиР и др. нормы)

Нормы времени

Расценка, р.-к.

Затраты труда

Заработная плата, р.-к.

Время пребывания машины на объекте, маш.-ч

Заработная плата с учетом пребывания машины на объекте, р.-к.

рабочих, чел.-ч

машиниста, чел.-ч (маш.-ч)

рабочих

машиниста

рабочих, чел.-ч

машиниста, чел.-ч (маш.-ч)

рабочих

машиниста

1. Разгрузка с автотранспорта приспособлений, инвентаря, колонн, балок покрытия, прогонов, связей

03

100 т

0,65

§ Е1-5, табл. 2, п. 5а, б

5,4

2,7

3-46

2-87

3,51

1,76

2-25

1-87

1,76

1-87

2. Укрупнение конструктивных элементов каркаса в рамы пролётом 18 м

02, 04

1 констр. элемент

11

§ Е5-1-3, табл. 2, п. 1, 3к, К = 1,1

0,20

0,04

0-16,8

0-04,6

2,2

0,44

1-85

0-51

0,44

0-51

Добавлять на 1 т

34,3

п. 2, 4к, к = 1,1

0,61

0,12

0-51,5

0-12,9

20,92

4,12

17-66

4-42

4,12

4-42

3. Укрупнение конструктивных элементов каркаса в полурамы пролётом 12 м

02, 04

1 констр. элемент

11

§ Е5-1-3, табл. 2, п. 1, 3к, к = 1,1

0,20

0,04

0-16,8

0-04,6

2,2

0,44

1-85

0-51

0,44

0-51

 

 

Добавлять на 1 т

12,56

п. 2, 4к, к = 1,1

0,61

0,12

0-51,5

0-12,9

7,66

1,51

6-47

1-62

1,51

1-62

4. Установка опорных столиков

02

1 т

0,3

§ Е5-1-18, табл. 1, п. 1а, к = 1,1

36,3

-

2704,9

-

10,89

-

8-12

-

-

-

5. Прихватка

05

1 т

0,3

§ Е5-1-18, табл. 1, п. 2а, к = 1,1

4,51

-

3-56,4

-

1,35

-

1-07

-

-

-

6. Электросварка опорных столиков

05

10 м шва

0,62

§ Е22-1-6, п. 6, 9г

3,3

-

3-00

-

2,05

-

1-86

-

-

-

7. Монтаж рам (пролёт 18 м)

02

1 укруп. блок

11

§ Е5-1-6, табл. 2, п. 1, 3и, к = 1,1

8,36

1,21

7-10,6

1-28,7

91,96

13,31

78-17

4-16

13,31

14-16

Добавлять на 1 т

34,3

п. 2, 4и, к = 1,1

0,96

0,13

0-81,4

0-14

32,93

4,46

27-92

4-80

4,46

4-80

8. Монтаж полурам (пролёт 12 м)

02

1 укрупн. блок

11

§ Е5-1-6, табл. 2, п. 1, 3и, к = 1,1

8,36

1,21

7-10,6

1-28,7

91,96

13,31

78-17

14-16

13,31

14-16

Добавлять на 1 т

12,56

п. 2, 4и, к = 1,1

0,96

0,13

0-81,4

0-14

12,06

1,63

10-22

1-76

1,63

1-76

9. Монтаж вертикальных связей

02

1 констр. элемент

18

§ Е5-1-6, табл. 2, п. 1, 3в, к = 1,1

0,36

0,12

0-29

0-12,9

6,48

2,16

5-22

2-32

2,16

2-32

Добавлять на 1 т

0,78

п. 2, 4в, к = 1,1

1,65

0,55

1-32

0-58,3

1,29

0,43

1-03

0-46

0,43

0-46

10. Монтаж распорок

02

1 констр. элемент

10

§ Е5-1-6, табл. 2, п. 1, 3б, к = 1,1

0,33

0,11

0-26,4

0-11,7

3,3

1,1

2-64

1-17

1,1

1-17

Добавлять на 1 т

0,95

п. 2, , к = 1,1

1,1

0,36

0-88

0-38,5

1,05

0,34

0-84

0-37

0,34

0-37

11. Монтаж прогонов

02

1 констр. элемент

130

§ Е5-1-6, табл. 2, п. 1, 3б, к = 1,1

0,33

0,11

0-26,4

0-11,7

42,9

14,3

34-32

15-21

14,3

15-21

Добавлять на 1 т

14,4

п. 2, 4б, к = 1,1

1,1

0,36

0-88

0-38,5

15,84

5,18

12-67

5-54

5,18

5-54

12. Монтаж горизонтальных связей

02

1 констр. элемент

20

§ Е5-1-6, табл. 2, п. 1, 3в, к = 1,1

0,36

0,12

0-29,0

0-12,9

7,2

2,4

5-80

2-58

2,4

2-58

Добавлять на 1 т

1,9

п. 2, 4в, к = 1,1

1,65

0,55

1-32

0-58,3

3,14

1,05

2-51

1-11

1,05

1-11

13. Постановка болтов:

 

 

 

 

 

 

 

 

 

 

 

 

 

 

с подмостей

 

100 шт.

17,7

§ Е5-1-19, п. 1

11,5

-

8-57

-

203,55

-

51-69

-

-

-

с земли

 

100 шт.

2,0

 

8,05

-

6-00

-

16,1

-

12-00

-

-

-

14. Установка лестницы

01

1 шт.

1

§ Е5-1-2, п. 8а, б, к = 1,1

0,37

0,19

0-27,8

0-19,8

0,37

0,19

0-28

0-20

0,19

0-20

15. Перестановка лестницы

01

1 шт.

22

§ Е5-1-2, (п. 8а, б)´1,2, к = 1,1

0,45

0,22

0-33,4

0-23,8

9,9

4,84

7-35

5-24

4,84

5-24

16. Снятие лестницы

01

1 шт.

1

§ Е5-1-2, (п. 8а, б)´0,8, к = 1,1

0,30

0,15

0-22,2

0-15,4

0,30

0,15

0-22

0-15,4

0,15

0-15,4

Итого:

 

 

 

 

 

 

 

 

591,11

73,12

472-18

78-16

73,12

78-16

4.2. Калькуляция № 2 на монтаж подкрановых балок, тормозных площадок, вертикальных связей.

Таблица 5

Наименование процесса

Номер фасета для пересчёта показателей

Единица измерения

Объём работ

Обоснование (ЕНиР и др. нормы)

Нормы времени

Расценка, р.-к.

Затраты труда

Заработная плата, р.-к.

Время пребывания машины на объекте, маш.-ч

Заработн. плата с учётом пребыван. машины на объекте, р.-к.

рабочих, чел.-ч

машиниста, чел.-ч (маш.-ч)

рабочих

машиниста

рабочих, чел.-ч

машиниста, чел.-ч (маш.-ч)

рабочих

машиниста

1. Разгрузка с автотранспорта приспособлений, инвентаря, подкрановых балок, тормозных площадок, вертикальных связей, упоров

03

100 т

0,165

§ Е1-5, табл. 2, п. 5а, б

5,4

2,7

3-46

2-87

0,89

0,45

0-57

0-47

0,45

0-47

2. Монтаж подкрановых балок

02

1 констр. элемент

20

§ Е5-1-9, п. 1в, г, к = 1,1

2,3

0,46

1-87

0-48,9

46,0

9,2

37-40

9-78

9,2

9-78

Добавлять на 1 т

8,6

п. 2в, г, к = 1,1

0,53

0,11

0-42,7

0-11,7

4,56

0,95

3-67

1-01

0,95

1-01

3. Постановка болтов

-

100 шт.

3,16

§ Е5-1-19, п. 1

11,5

-

8-57

-

36,34

-

27-08

-

-

-

4. Общая выверка подкрановых балок

-

1 констр. элемент

20

§ Е5-1-9, п. 1д, К = 1,1

1,87

-

1-50,7

-

37,4

-

30-14

-

-

-

Добавлять на 1 т

8,6

п. 2д, К = 1,1

0,84

-

0-67,5

-

7,22

-

5-81

-

-

-

5. Монтаж тормозных площадок

02

1 т

1,51

§ Е5-1-10, табл. 1, п. 2а, в, К = 1,1

8,8

2,86

6-42,4

3-03,6

13,29

4,32

9-70

4-58

4,32

4-58

6. Постановка болтов

-

100 шт.

0,24

§ Е5-1-19, п. 1

11,5

-

8-57

-

2,76

-

2-06

-

-

-

7. Электросварка тормозных площадок

05

1 т

1,51

§ Е5-1-10, табл. 1, п. 2б

2,2

-

1-74

-

3,32

-

2-63

-

-

-

8. Монтаж рельсов

02

1 м рельсов

120,0

§ Е5-1-13, (п. 1, 2ж)´0,7, К = 1,1

0,36

0,09

0-30,2

0-06,5

43,20

10,80

36-24

7-80

10,80

7-80

9. Электросварка рельсов

05

10 м шва

6,0

§ Е22-1-6, п. 1, 4г

2,5

-

2-28

-

15,0

-

13-68

-

-

-

10. Монтаж вертикальных связей

02

1 констр. элемент

4

§ Е5-1-6, табл. 2, п. 1, 3в, К = 1,1

0,36

0,12

0-29,0

0-12,9

1,44

0,48

1-16

0-52

0,48

0-52

Добавлять на 1 т

0,114

п. 2, 4в, К = 1,1

1,65

0,55

1-32

0-58,3

0,19

0,06

0-15

0-07

0,06

0-07

11. Постановка болтов

-

100 шт.

0,48

§ Е5-1-19, п. 1

11,5

-

8-57

-

5,52

-

4-11

-

-

-

12. Монтаж упоров

02

1 т

0,182

§ Е5-1-18, табл. 2, п. 1, 2д, К = 1,1

4,84

2,42

3-60,8

2-56,3

0,88

0-44

0-66

0-47

0,44

0-47

13. Электросварка упоров

05

1 м шва

0,52

§ Е22-1-6, п. 1, 4г, К = 1,1

2,5

-

2-28

-

1,30

-

1-19

-

-

-

14. Установка лестниц

01

1 шт.

4

§ Е5-1-2, п. 8а, б, К = 1,1

0,37

0,18

0-27,8

0-19,8

1,48

0,72

1-11

0-79

0,72

0-79

15. Перестановка лестниц

01

1 шт.

20

§ Е5-1-2, (п. 8а, б)´1,2, К = 1,1

0,45

0,22

0-33,4

0-23,8

9,00

4,4

6-68

4-76

4,4

4-76

16. Снятие лестниц

01

1 шт.

4

§ E5-1-2, (п. 8а, б)´0,8, К = 1,1

0,30

0,15

0-22,3

0-15,8

1,20

0,60

0-89

0-63

0,60

0-63

Итого:

 

 

 

 

 

 

 

 

230,99

32,42

184-93

30-88

32,42

30-88

4.3. Калькуляция № 3 на монтаж ограждающих конструкций здания.

Таблица 6

Наименование процесса

Номер фасета для пересчета показателей

Единица измерения

Объём работ

Обоснование (ЕНиР и др. нормы)

Нормы времени

Расценка, р.-к.

Затраты труда

Заработная плата, р.-к.

Время пребывания машины на объекте, маш.-ч

Заработная плата с учётом пребывания машины на объекте, р.-к.

рабочих, чел.-ч

машиниста, чел.-ч (маш.-ч)

рабочих

машиниста

рабочих, чел.-ч

машиниста, чел.-ч (маш.-ч)

рабочих

машиниста

1. Разгрузка с автотранспорта приспособлений, инвентаря, стеновых и кровельных панелей, угловых стоек, стоек фахверка

03

100 т

1,34

§ Е1-5, табл. 2, п. 5а, б

5,4

2,7

3-46

2-87

7,24

3,62

4-64

3-85

3,62

3-85

2. Монтаж угловых стоек и стоек фахверка

02

1 констр. элемент

12

§ Е5-1-6, табл. 2, п. 1, 3в, к = 1,1

1,01

0,35

0-84,5

0-37,3

12,12

4,20

10-14

4-48

4,20

4-48

3. Постановка болтов:

-

Добавлять на 1 т

2,9

п. 2, 4з, к = 1,1

2,75

0,91

2-20

0-96,8

7,98

2,64

6-38

2-81

2,64

2-81

с подмостей

 

100 шт.

0,24

§ Е5-1-19, п. 1

11,5

-

8-57

-

2,76

-

2-06

-

-

-

с земли

 

100 шт.

0,24

 

8,05

-

6-00

-

1,93

-

1-44

-

-

-

4. Монтаж элементов фахверка

02

1 констр. элемент

86

§ Е5-1-6, табл. 2, п. 1, 3б, к = 1,1

0,33

0,11

0-26,4

0-11,7

28,38

9-46

22-70

10-06

9,46

10-06

5. Постановка болтов:

 

Добавлять на 1 т

6,07

п. 2, 4б, к = 1,1

1,1

0,36

0-88

0-38,5

6,68

2,19

5-34

2-34

2,19

2-34

с подмостей

 

100 шт.

2,56

§ Е5-1-19, п. 1

11,5

-

8-57

-

29,44

-

21-94

-

-

-

с земли

 

100 шт.

0,64

 

8,05

-

6-00

-

5,15

-

3-84

-

-

-

6. Монтаж стоек ворот

02

1 констр. элемент

8

§ Е5-1-6, табл. 2, п. 1, 3з, к = 1,1

1,06

0,35

0-84,5

0-37,3

8,48

2,80

6-76

2-98

2,80

2-98

 

Добавлять на 1 т

0,86

п. 2, 4з, к = 1,1

2,75

0,91

2-20

0-96,8

2,37

0,78

1-89

0-83

0,78

0-83

7. Постановка болтов:

-

 

 

 

 

 

 

 

 

 

 

 

 

 

с подмостей

 

100 шт.

0,16

§ Е5-1-19, п. 1

11,5

-

8-57

-

1,84

-

1-37

-

-

-

с земли

 

100 шт.

0,16

 

8,05

-

6-00

-

1,29

-

0-96

-

-

-

8. Сборка кровельных панелей в картины на стенде

04

100 м настила кровли

14,4

§ Е5-1-20, табл. 1, п. 3

5,8

-

4-28

-

83,52

-

61-63

-

-

-

9. Установка лестниц

01

1 шт.

4

§ Е5-1-2, п. 8а, б, к = 1,1

0,37

0,19

0-27,8

0-19,8

1,48

0,76

1-11

0-79

0,76

0-79

10. Перестановка лестниц

01

1 шт.

72

§ E5-1-2, (п. 8а, б)´1,2, к = 1,1

0,45

0,22

0-33,4

0-23,8

32,40

15,84

24-05

17-14

15,84

17-14

11. Снятие лестниц

01

1 шт.

4

§ Е5-1-2, (п. 8а, б)´0,8, к = 1,1

0,30

0,15

0-22,3

0-15,8

1,2

0,60

0-89

0-63

0,60

0-63

12. Подъём картин на кровлю

03

На каждый метр подъема 100 м2 настила кровли

144

§ Е5-1-20, табл. 5, п. 14, к = 1,1

0,05

0,017

0-04,3

0-01,8

7,20

2,45

6-19

2-59

2,45

2-59

13. Укладка на кровлю картин краном

02

100 м2

14,4

то же, п. 15, к = 1,1

2,2

0,55

1-71

0-58

31,68

7,92

24-62

8-35

7,92

8-35

14. Установка картин

-

100 м2

14,4

§ Е5-1-20, табл. 1, п. 4в

6,2

-

4-71

-

89,28

-

67-82

-

-

-

15. Подъём краном кровельных панелей в пачке на кровлю

03

100 м2

3,6

§ Е5-1-20, табл. 5, п. 9, к = 1,1

0,11

0,03

0-08,3

0-03,5

0,40

0,11

0-30

0-13

0,11

0-13

16. Установка кровельных панелей

-

100 м2

3,6

§ E5-1-20, табл. 1, п. 1в

10,5

-

7-90

-

37,80

-

28-44

-

-

-

17. Заделка стыков прокладками из минеральной ваты

05

м2

27

§ Е11-17, п. 2а применительно

0,12

-

0-07,2

-

3,24

-

1-94

-

-

-

18. Установка лестниц

01

1 шт.

2

§ Е5-1-2, п. 8а, б, к = 1,1

0,37

0,19

0-27,8

0-19,8

0,74

0,38

0-56

0-40

0,38

0-40

19. Перестановка лестниц

01

1 шт.

114

§ E5-1-2, (п. 8а, б)´1,2, к = 1,1

0,45

0,22

0-33,4

0-23,8

51,30

25,08

38-08

27-13

25,08

27-13

20. Снятие лестниц

01

1 шт.

2

§ Е5-1-2, (п. а, б)´0,8

0,30

0,15

0-22,3

0-15,8

0,60

0,30

0-45

0-32

0,30

0-32

21. Монтаж трехслойных стеновых панелей

02

1 панель

94

Типовой Сборник, § Т-7-65

2,3

0,38

1-33

0-26,7

216,20

35,72

125-02

25-10

35,72

25-10

22. Установка железобетонных стеновых панелей

02

1 панель

26

§ Е4-1-8, табл. 2, п. 9, к = 1,1

1,54

0,39

1-16,6

0-40,8

40,04

10,14

30-32

10-61

10,14

10-61

23. Монтаж оконных переплётов

02

1 т

7,1

§ Е5-1-15, табл. 2, п. 7, 8, к = 1,1

4,73

1,54

3-78,4

1-62,8

33,58

10,93

26-87

11-56

10,93

11-56

24. Электросварка оконных переплетов

05

1 т

7,1

§ Е5-1-15, табл. 2, п. 9

0,57

-

0-45

-

4,05

-

3-20

-

-

-

25. Установка ворот

02

1 т

3,28

§ E5-1-15, табл. 2, п. 7, 8 применительно, к = 1,1

4,73

1,54

3-78,4

1-62,8

15,51

5,05

12-41

5-34

5,05

5-34

26. Электросварка ворот

05

1 т

3,28

§ Е5-1-15, табл. 2, п. 9 применительно

0,57

-

0-45

-

1,87

-

1-48

-

-

-

27. Установка передвижных подмостей

01

1 шт.

2

§ Е5-1-2, п. 2а

0,51

-

0-38

-

1,02

-

0-76

-

-

-

28. Перестановка передвижных подмостей

01

1 шт.

56

§ Е5-1-2, п. 2а´1,2

0,61

-

0-46

-

34,16

-

25-76

-

-

-

Итого:

802,93

140,97

571-36

137-44

140,97

137-44

ВСЕГО по калькуляциям1, 2, 3

1625,03

246,51

1228-47

246-48

246,51

246-48

5. ГРАФИК ПРОИЗВОДСТВА РАБОТ НА МОНТАЖ ЗДАНИЯ

Таблица 7


6. МАТЕРИАЛЬНО-ТЕХНИЧЕСКИЕ РЕСУРСЫ

6.1. Потребность в инструменте, инвентаре и приспособлениях.

Таблица 8

Наименование

Марка, техническая характеристика, НТД, № чертежа

Кол-во, шт.

Назначение

Строп четырехветвевой

4СК1-3,2/5000, ГОСТ 25573-82*

1

Подъём цокольных стеновых панелей, панелей покрытия

Строп двухпетлевой

СКП1-1,25/1500, ГОСТ 25573-82*

4

Подъём подкрановых балок

То же

СКП1-2,5/10200, ГОСТ 25573-82*

4

Подъём рам каркаса, стеновых панелей

То же

СКП1-0,32/7160, ГОСТ 25573-82*

2

Подъём стеновых панелей

Пружинный замок

ПР-3,2; ВНИПИ Промстальконструкция Минмонтажспецстроя СССР, проект 29700-100

2

Дистанционная расстроповка конструкций

Захват

ТТК, шифр 6547030004, л. 33

1

Подъём кровельной панели ПКМ-120

Траверса

ТТК шифр 6547030004, л. 33 или проект 009.00.000 ЦНИИОМТП Госстроя СССР

2

Подъём укрупненных блоков покрытия

Расчалка из каната

13-Г-1-ОЖ-Н-1370, ГОСТ 2688-80*, Lк = 14830 мм

2

Временное крепление первой рамы каркаса

То же

13-Г-1-ОЖ-Н-1370, ГОСТ 2688-80*, Lк = 9580 мм

2

То же

Инвентарная распорка

ВНИПИ Промстальконструкция Минмонтажспецстроя СССР, проект 4234Р-44

1

Временное крепление рам каркаса

Рожковый зажим

16-1, ОСТ 24.090.51-86

24

Временное крепление петли каната

Талреп

1.6.1.ВУ, ГОСТ 19191-73*

4

Натяжение каната расчалки

Скоба такелажная

Сп-1,6, ГОСТ 25573-82*

8

Строповка каната

Канат бельный

Æ 11 мм L = 5000 мм, ГОСТ 483-75*

2

Оттяжка конструкций при монтаже

Подкладка под канат

ВНИПИ Промстальконструкция Минмонтажспецстроя СССР, проект 29700-106-00

4

Установка под канат в местах перегиба стропа при обхвате поднимаемой конструкции

Склад-пирамида для стеновых панелей

Трест Мосоргтехстрой Главмосстроя, проект 3942.10А

4

Складирование цокольных стеновых панелей

Приставная лестница

Высота 4890 мм

ВНИПИ Промстальконструкция Минмонтажспецстроя СССР

2

Монтаж подкрановых балок

Приставная лестница

ЛА-4, ВЗСАК им. Ф.Б. Якубовского

2

Монтаж рам каркаса, панелей покрытия

Лестница с монтажной площадкой

ВНИПИ Промстальконструкция Минмонтажспецстроя СССР, проект 52708М-202

2

Монтаж стеновых панелей

Лестница

ЛА-1, ВНИПИ Промстальконструкция Минмонтажспецстроя СССР, проект 15058

2

То же

Площадка передвижная

ЦНИИОМТП Госстроя СССР, проект 770.09.000

2

Организация рабочего места монтажника при монтаже стеновых панелей

Подмости облегченные

ЦНИИОМТП Госстроя СССР, проект 4401.00.000

2

То же

Трансформатор сварочный

ТД-500, ГОСТ 95-77*Е

1

Питание переменным током при ручной дуговой сварке

Преобразователь частоты тока

ИЭ-9401А

1

Преобразование переменного тока напряжением 380/220 В в ток напряжением 36 В

Штепсельное соединение

ИЭ-9902

2

Подключение электроинструмента к питающей электросети

Машина ручная сверлильная электрическая (с набором сверл)

ИЭ-1026Б или ИЭ-1035

2

Сверление отверстий под самонарезные винты и комбинированные заклёпки

Гайковёрт ручной электрический

ИЭ-3114Б или ИЭ-3113А

2

Установка самонарезающих винтов

Электрододержатель

ГОСТ 14651-78*Е

1

Сварка конструкций

Пенал для электродов

ЦНИИОМТП, проект 3.294.71.000

2

Хранение и транспортирование электродов

Насадка-выборка

Трест Уралстальконструкция

ТСО Стальконструкция Минмонтажспецстроя СССР, проект 19р-1

2

Сверление отверстий в теплоизоляционном слое

Насадка магнитная

То же, проект 19р-2

2

Применяется с гайковертом в качестве удлинителя

Ящик инструментальный

ЯМД, ТУ 36-1037-75

2

Хранение и переноска мелкого инструмента и крепежных изделий

Приспособление для хранения комбинированных заклёпок

Индивидуального изготовления

2

Хранение комбинированных заклёпок на рабочем месте в удобном положении для захвата заклёпочником

Пистолет ручной односторонней клёпки

СТД-96/1, Ногинский опытный завод монтажных приспособлений Минмонтажспецстроя СССР, проект 4610-00-00

2

Установка комбинированных заклёпок

Нормокомплект для сварочных работ

ПКТИ ТСО «Южуралстрой», проект 712.00.000А

1

Для сварочных работ

Лом монтажный

ЛМА (ЛМВ) ГОСТ 1405-83

2

Рихтовка элементов

Кувалда

ГОСТ 11402-75*

1

Выпрямление конструкций

Рулетка

РС-1, ГОСТ 7502-80*

1

Измерение элементов и разбивка осей

Линейка измерительная металлическая

ГОСТ 427-75*

1

То же

Нивелир в комплекте

Н-3, ГОСТ 10528-76*

1

Выполнение геодезических работ

Теодолит в комплекте

Т1, ГОСТ 10529-86

2

То же

Пояс предохранительный

ГОСТ 12.4.089-86

2

Для защиты от падения с высоты

Каска строительная

ГОСТ 12.4.087-84

7

Индивидуальное средство защиты

Обувь диэлектрическая

ГОСТ 13385-78*

2

Электробезопасность

Щуп металлический

ТУ 2-034-225-87

2

Контроль натяжения болтов

6.2. Потребность в материалах и полуфабрикатах для выполнения работ.

Таблица 9

Наименование материала, полуфабриката, конструкции (марка, ГОСТ)

Вариант (фасет-код)

Исходные данные

Потребность в материале

Единица измерения

Объём работ в нормативных единицах

Принятая норма расхода материала

Электроды Э-42

-

1 т

216

17 кг

3672 кг

Прочие материалы

-

1 т

216

2,78 руб.

600 руб.

7. ТЕХНИКА БЕЗОПАСНОСТИ

До начала работ все члены бригады должны быть проинструктированы о правильных приемах труда и правилах техники безопасности. Получив инструктаж, расписываются в специальных журналах.

В процессе производства строительно-монтажных работ присутствуют следующие опасные факторы:

падение работающих с высоты;

поражение электрическим током;

поражение от падения груза.

Для предупреждения этих опасных факторов необходимо применять средства индивидуальной защиты работающих.

Основным средством индивидуальной защиты работающих от падения с высоты является предохранительный пояс. Все работы на высоте 1,3 м и более, а также на участках, расположенных на расстоянии менее 2 м от границы перепада по высоте, выполнять с предохранительными поясами (при невозможности устройства ограждений).

Для защиты электросварщиков от поражения электрическим током необходимо соблюдать следующие требования:

для защиты рук электросварщики должны обеспечиваться рукавицами или перчатками, изготовленными из искростойких материалов с низкой электропроводностью;

для защиты ног должна применяться специальная обувь, предохраняющая ноги от ожогов брызгами расплавленного металла, а также от механических травм;

для защиты головы от механических травм и поражения электрическим током должны выдаваться защитные каски из токонепроводящих материалов;

для защиты лица и глаз электросварщики должны обеспечиваться защитными щитками, масками, защитными очками и светофильтрами.

Для предупреждения поражения работающих от падения груза все лица, находящиеся на строительной площадке, обязаны носить защитные каски (ГОСТ 12.4.087-84). Рабочие и инженерно-технические работники без защитных касок и других необходимых средств индивидуальной защиты к выполнению работ не допускаются.

До выполнения монтажных работ необходимо установить порядок обмена условными сигналами между лицом, руководящим монтажом, и машинистом крана. Все сигналы подаются только одним лицом (бригадиром, звеньевым, стропальщиком), кроме сигнала «Стоп», который может быть подан любым работником, заметившим явную опасность.

При гололедице, сильном снегопаде, тумане, грозе и дожде монтажные работы прекращаются.

Не допускается также производить монтажные работы при скорости ветра 15 м/с и более. Монтаж панелей с большой парусностью следует прекращать при скорости ветра 10 м/с.

Одним из важных мероприятий предупреждения производственного травматизма является тщательная подготовка строительных конструкций к подъёму на высоту для установки в проектное положение.

Перед началом монтажа конструкцию тщательно осматривают, геометрические размеры проверяют с помощью стальной рулетки и выявленные дефекты устраняют на месте складирования или непосредственного монтажа.

Перед началом подъёма проверяют правильность и надёжность строповки конструкции и к ней прикрепляют гибкие канаты для дистанционной расстроповки, гибкие оттяжки для предотвращения раскачивания и вращения ее в процессе подъёма и установки, а также (при необходимости) устройства (расчалки из стальных канатов, распорки и т.п.), обеспечивающие устойчивость после расстроповки.

Расстроповку конструкций, установленных в проектное положение, производят только после временного или постоянного надёжного их закрепления по проекту болтами, пробками, электроприхваткой с установкой связей, распорок, расчалок и т.д.

Расчалки для временного закрепления конструкции изготовляют из стального каната одинакового диаметра в каждой паре и располагают с углами наклона и к горизонту, и к плоскости расчаливания (в горизонтальной плоскости) не более 45°.

Расчалки прикрепляют к специальным якорям или конструкциям способами, исключающими ослабление натяжения, и располагают за пределами движения транспорта и монтажных механизмов.

При отсутствии специальных указаний в проекте расстроповку конструктивных элементов, соединяемых болтами, осуществляют только после установки в узле не менее 30 % болтов и 10 % пробок, в случаях, когда общее их число в узле более 5; при 5 и менее - должен быть установлен не менее чем один болт и одна пробка.

В процессе выполнения сборочных операций совмещение отверстий и проверка их совпадения в монтируемых деталях должны производиться с использованием специального инструмента (конусных оправок, сборочных пробок). Проверять совпадение отверстий в монтируемых деталях пальцами рук не допускается.

Расстроповку конструктивных элементов, соединяемых электросваркой, воспринимающих монтажные нагрузки, осуществляют только после заварки узлов соединений проектными сварными швами или прихваткой, размеры которых определяют проектом, а расстроповку конструкций, не воспринимающих монтажные нагрузки, - после выполнения прихваток, длина которых должна быть не менее 10 % длины проектных монтажных швов данного соединения, но не короче 50 мм; до расстроповки в дополнение к указанным должны быть установлены временные или постоянные связи, распорки и расчалки.

Производство электросварочных работ во время дождя или снегопада при отсутствии навесов над электросварочным оборудованием и рабочим местом не допускается. Электросварочные работы выполнять согласно требованиям ГОСТ 12.3.003-86 «Работы электросварочные».

При производстве работ руководствоваться требованиями СНиП III-4-80*, «Правил устройства и безопасной эксплуатации грузоподъёмных кранов», утвержденных Госгортехнадзором в 1969 г. и ГОСТ 12.1.013-78 «Строительство. Электробезопасность».

8. ТЕХНИКО-ЭКОНОМИЧЕСКИЕ ПОКАЗАТЕЛИ НА ЗДАНИЕ

Нормативные затраты труда монтажников, чел.-ч                                              1625,03

Нормативные затраты машинного времени, маш.-ч                                           246,51

Заработная плата монтажников, р.-к.                                                                    1228-47

Заработная плата механизаторов, р.-к.                                                                  246-48

Продолжительность выполнения работ, смена                                                   39,54

Выработка одного рабочего, т/чел.-смену                                                             1,06

Условные затраты на механизацию базового варианта, р.-к.                             1639-29

Сумма изменяемых затрат, р.-к.                                                                             2887-76

9. ФАСЕТНЫЙ КЛАССИФИКАТОР ФАКТОРОВ

ФАСЕТ 01

Стоимость 1 маш.-ч (чел.-ч) использования средств подмащивания, р.-к.

Наименование фактора

Обоснование

Код

Значение фактора

Передвижные подмости

По калькуляции

1

0-75

Автоподъёмник АП-17

СНиП IV-3-82, Приложение. Сб. сметных цен

2

4-45

Лестница приставная

По калькуляции

3

0-41

ФАСЕТ 02

Стоимость 1 маш.-ч работы монтажного крана, р.-к.

Наименование фактора

Обоснование

Код

Значение фактора

Кран пневмоколёсный грузоподъёмностью 16 т

СНиП IV-3-82, Приложение. Сб. сметных цен

1

6-65

Кран автомобильный грузоподъёмностью 16 т

То же

2

4-63

Кран гусеничный грузоподъёмностью 25 т

-"-

3

6-39

Кран пневмоколёсный грузоподъёмностью 25 т

-"-

4

6-91

ФАСЕТ 03

Условия производства работ

Наименование фактора

Обоснование

Код

Значение фактора

Вредные при сварочных работах

ЕНиР, Общая часть, п. 5;

§ Е22-1-6, п. 6г, 9г

1

По калькуляции

Вредные при изоляционных работах

ЕНиР, Общая часть, п. 5, § Е11-41

2

Н.вр. и Расц. умножать на 0,6

СОДЕРЖАНИЕ

1. Область применения. 1

2. Организация и технология выполнения работ. 2

2.1. Общие положения. 2

2.2. Технологическая последовательность выполнения работ на ячейке в 18-метровом пролете. 4

2.3. Геодезическое обеспечение. 11

2.4. Указания по производству работ в зимнее время. 11

3. Требования к качеству и приёмке работ. 12

4. Калькуляции затрат труда, машинного времени и заработной платы.. 49

4.1. Калькуляция № 1 на монтаж элементов каркаса здания. 49

4.2. Калькуляция № 2 на монтаж подкрановых балок, тормозных площадок, вертикальных связей. 52

4.3. Калькуляция № 3 на монтаж ограждающих конструкций здания. 54

5. График производства работ на монтаж здания. 57

6. Материально-технические ресурсы.. 59

6.1. Потребность в инструменте, инвентаре и приспособлениях. 59

6.2. Потребность в материалах и полуфабрикатах для выполнения работ. 60

7. Техника безопасности. 60

8. Технико-экономические показатели на здание. 62

9. Фасетный классификатор факторов. 62

 



уроки по алготрейдингу на Python с нуля



Яндекс цитирования

   Copyright © 2008-2026 ,  www.infosait.ru

backtrader - уроки алготрейдинга на python