ИНФОСАЙТ.ру
Госты, стандарты, нормативы. В библиотеке 60000 документов. Регулярное обновление. Круглосуточный бесплатный доступ!
БИБЛИОТЕКА ГОСТОВ, СТАНДАРТОВ И НОРМАТИВОВ

:: АЛГОТРЕЙДИНГ ::


АЛГОТРЕЙДИНГ
шаг за шагом


БЕСПЛАТНЫЕ УРОКИ по созданию торговых роботов на PYTHON с нуля, шаг за шагом.


Минимальные знания на PYTHON.
Библиотеки BackTrader и Pandas, сигналы с Pine Script из TradingView.
Связка с брокерами, телеграм.
Создание простых интерфейсов.

 

Все документы, представленные в каталоге, не являются их официальным изданием и предназначены исключительно для ознакомительных целей. Электронные копии этих документов могут распространяться без всяких ограничений. Вы можете размещать информацию с этого сайта на любом другом сайте.


ПРАВИТЕЛЬСТВО МОСКВЫ

ДЕПАРТАМЕНТ ГРАДОСТРОИТЕЛЬНОЙ ПОЛИТИКИ,
РАЗВИТИЯ И РЕКОНСТРУКЦИИ ГОРОДА

УПРАВЛЕНИЕ НАУЧНО-ТЕХНИЧЕСКОЙ
ПОЛИТИКИ В СТРОИТЕЛЬНОЙ ОТРАСЛИ

ГОСУДАРСТВЕННОЕ УНИТАРНОЕ ПРЕДПРИЯТИЕ
НАУЧНО-ИССЛЕДОВАТЕЛЬСКИЙ ИНСТИТУТ
МОСКОВСКОГО СТРОИТЕЛЬСТВА
ГУП «НИИМОССТРОЙ»

ТЕХНИЧЕСКИЕ РЕКОМЕНДАЦИИ
по проектированию и бесканальной
прокладке трубопроводов горячего
водоснабжения из труб «ПЭ-х»,
теплоизолированных пенополиуретаном
в гофрированной полиэтиленовой
оболочке «Профлекс»

ТР 130-02

МОСКВА - 2003

Настоящие Технические рекомендации разработаны ГУП «НИИМосстрой» по заказу ЗАО «Завод АНД «Газтрубпласт» (г. Москва) по согласованию с Управлением научно-технической политики в строительной отрасли Департамента градостроительной политики, развития и реконструкции города.

Технические рекомендации разработаны на основании результатов научно-исследовательских работ, проведенных ГУП «НИИМосстрой», а также работ ЗАО «Завод АНД «Газтрубпласт» по освоению производства труб из сшитого полиэтилена «ПЭ-х» (РЕХ) с индустриальной теплоизоляцией из пенополиуретана (ППУ) в полиэтиленовой гофрированной оболочке, опыта бесканальной прокладки в г. Москве внутриквартальных сетей горячего водоснабжения из труб ПЭ-х теплоизолированных ППУ типа Calpex, поставляемых фирмой «Brugg Rohrsysteme» (Швейцария).

При разработке рекомендаций использованы Технические условия «Трубы «Профлекс» из сшитого полиэтилена с теплоизоляцией из пенополиуретана в гофрированной полиэтиленовой оболочке» (ТУ 2248-015-40270293-2002), проект европейских норм СЕNТС 107 «District Heating - Preinsulated flexible pipe systems - Requirements and test», технические и информационные материалы по проектированию и монтажу подземных систем теплопроводов «Саlpex» фирмы «Брюгг Рорсистем», отраслевые нормы ВСН 11-94 по проектированию и бесканальной прокладке внутриквартальных тепловых сетей из стальных труб с индустриальной теплоизоляцией из ППУ в полиэтиленовой оболочке, ТР 112-00 по строительству тепловых сетей из стальных труб с индустриальной теплоизоляцией из ППУ в полиэтиленовой оболочке, а также Руководящие технические материалы НТЦ «Пластик» «Расчет эксплуатационных характеристик труб» по ТУ 2248-015-40270293-2002 «Трубы «Профлекс» из сшитого полиэтилена ПЭ-х с теплоизоляцией из пенополиуретана в «гофрированной полиэтиленовой оболочке», а также проект свода правил Госстроя по проектированию и монтажу подземных сетей горячего водоснабжения из труб сшитого полиэтилена с теплоизоляцией из пенополиуретана в полиэтиленовой оболочке.

Настоящие Технические рекомендации согласованы с Ассоциацией производителей и потребителей трубопроводов, АО «Моспроект», УТЭХ и другими организациями.

В разработке Технических рекомендаций участвовали: от ГУП «НИИМосстрой» - к.т.н. А.В. Сладков, к.т.н. А.Г. Нейман, к.т.н. В.Г. Петров-Денисов, инж. В.Л. Павлов от ЗАО «Завод АНД «Газтрубпласт» - М.И. Гориловский, д.т.н. В.В. Коврига, к.ф.-м.н. А.Ю. Шмелев, И.В. Гвоздев, М.И. Кузин.

Правительство Москвы

Департамент градостроительной политики, развития и реконструкции города

Технические рекомендации по проектированию и бесканальной прокладке трубопроводов горячего водоснабжения из труб ПЭ-х теплоизолированных пенополиуретаном в гофрированной полиэтиленовой оболочке «Профлекс»

ТР 130-02

вводятся впервые

1. ОБЩАЯ ЧАСТЬ

1.1. Настоящие технические рекомендации распространяются на подземную бесканальную прокладку внутриквартальных сетей горячего водоснабжения условным диаметром до 110 мм, с рабочим давлением воды до 1,0 МПа и температурой до 75 °С.

1.2. Для строительства и реконструкции подземных трубопроводов горячего водоснабжения в г. Москве рекомендуется применять гибкие трубы из сшитого полиэтилена (ПЭ-х) с теплоизоляцией из пенополиуретана в гофрированной полиэтиленовой оболочке, соответствующие требованиям ТУ 2248-039-00284581-99 «Трубы напорные из сшитого полиэтилена для систем холодного и горячего водоснабжения и отопления» и ТУ 2248-015-40270293-2002 «Трубы «Профлекс» из сшитого полиэтилена ПЭ-х с теплоизоляцией из пенополиуретана в гофрированной полиэтиленовой оболочке».

Примечание: Допускается для бесканальной прокладки внутквартальных сетей горячего водоснабжения в г. Москве использовать гибкие трубы ПЭ-х с теплоизоляцией из пенополиуретана в гофрированной полиэтиленовой оболочке импортного производства, имеющие сертификаты соответствия в системе ГОСТ Р и «Мосстройсертификация», выданные органами сертификации, аккредитованными: в системе ГОСТ Р - Госстроем РФ, а в системе «Мосстройсертификация» - ГУП «Мосстройсертификация» и санитарно-эпидемиологические заключения, выданные органами сертификации, аккредитованными Минздравом РФ, а также заключение комиссии по импортозамещению (распоряжение № 1106 РМ от 04.10.99 г.).

Разработаны ГУП «НИИМосстрой»

Утверждены:

Начальник Управления научно-технической

политики в строительной отрасли

А.Н. Дмитриев

«9» 12 2002 г.

Дата введения в действие

«1» января 2003 г.

1.3. При бесканальной прокладке внутриквартальных сетей горячего водоснабжения в г. Москве рекомендуется применять теплоизолированные «однотрубные трубы» «Профлекс» типа 1 (стандартные). Сортамент и расчетная масса «Профлекс-1» представлены в табл. 1 (конструкция и условные обозначения - см. рис. 1.)

Примечание. При специальном технико-экономическом обосновании для подвода горячей воды к малоэтажным зданиям допускается применение двухтрубных труб «Профлекс».

Таблица 1

Сортамент и масса теплоизолированных труб «Профлекс-1»

Тип трубы

Размеры трубы ПЭ-х, мм

Размеры гофрированной ПЭ-оболочки, мм

Толщина теплоизоляционного слоя ППУ, а, не менее

Расчетная масса 1 м трубы, кг

Длина в бухте*, не менее, м

номинальный наружный диаметр, d (с пред. откл.)

номинальная толщина стенки, е (с пред. откл.)

наружный диаметр, d (с пред. откл.)

номинал. толщина стенки, е1 (с пред. откл.)

высота гофра, h

SDR 11

SDR 7,4

32/75-1

32+0,3

2,9+0,5

4,4+0,7

75+3

2,0+0,5

2,0

-

-

520

40/75-1

40+0,4

3,7+0,6

5,5+0,8

73+3

2,0+0,5

2,0

12

0,93

520

50/90-1

50+0,5

4,6+0,7

6,9+0,9

90+3

2,2+0,5

2,0

14

1,57

330

63/110-1

63+0,6

5,8+0,8

8,6+1,1

110+3

2,4+0,5

3,0

17

2,25

230

75/125-1

75+0,7

6,8+0,9

10,3+1,3

125+3

2,7+0,5

3,5

17

2,25

280

90/140-1

90+0,9

8,2+1,1

12,3+1,5

140+З

3,0+0,5

4,0

17

3,00

130

110/160-1

110+1,0

10,0+1,2

15,1+1,8

160+3

3,2+0,5

4,0

17

5,37

280

Примечание. Предельные отклонения длин труб «Профлекс» в бухте при длине: до 500 м - до +3 %, более 500 м - до +1,5 %.

Рис. 1. Схема конструкции гибких теплоизолированных труб «Профлекс»:

1 - труба ПЭ-х; 2 - пенополиуретан; 3 - полиэтиленовая пленка; 4 - гофрированная полиэтиленовая оболочка

1.4. Справочные показатели свойств теплоизолированных труб «Профлекс» приведены в табл. 2.

Таблица 2

Справочные показатели свойств теплоизолированных труб «Профлекс»

№ п/п

Наименование показателя свойств, ед. измерения

Значение показателя

№ НТД

1. Трубы ПЭ-х

 

1.1

Предел текучести при растяжении, МПа

Не менее 16

-

1.2

Относительное удлинение при разрыве, %

Не менее 150

-

1.3

Стойкость при постоянном внутреннем давлении (ч) при начальном напряжении (МПа) в стенке труб и температуре (°С):

 

 

12 при 20 °С

Не менее 1,0

ТУ 2248-039-00284581-99

4,4 при 95 °С

Не менее 1000

1.4

Степень сшивки, %

Не менее 70

ТУ 2248-015-40270293-2002

1.5

Коэффициент линейного теплового расширения 1/°К

1,5×104

-"-

1.6

Коэффициент эквивалентной равномернозернистой шероховатости, мм

0,0106

-"-

2. Теплоизоляционный слой ППУ

 

2.1

Плотность, кг/м3

Не менее 55

ТУ 2248-015-40270293-2002

2.2

Прочность на сжатие, МПа

Не менее 0,2

-"-

2.3

Объемная доля закрытых пор, %

Не менее 90

-"-

2.4

Водопоглощение при кипячении, %

Не более 10

-"-

2.5

Теплопроводность, Вт/м×К

Не более 0,032

-"-

3. Гофрированная ПУ-оболочка

3.1

Прочность при вдавливании индентора, кН

Не менее 0,12*

ТУ 2248-015-40270293-2002

4. Теплоизоляционная конструкция в целом

4.1

Прочность на сдвиг в осевом направлении трубы ПЭ-х относительно ППУ при температуре 23 °С, МПа

Не менее 0,12*

ТУ 2248-015-40270293-2002

4.2

Жесткость конструкции в радиальном направлении при 5 % деформации сжатия, кН/м2

Не менее 2,0*

-"-

1.5. В комплекте с теплоизолированными трубами «Профлекс» рекомендует поставлять:

- соединительные детали из латуни;

- детали для присоединения к запорной арматуре;

- тройники из латуни (см. Приложение 1);

- элементы для изоляции стыковых соединений, тройников с компонентами ППУ А и Б для заливки стыковых соединений;

- концевые предохранители;

- теплоизолированные отводы ПЭ-х (см. Приложение 2);

- утеплительные кольца для прохода труб «Профлекс» сквозь стенки строительных конструкций;

- сигнальная лента (красный цвет);

Примечание: Допускается комплектация труб «Профлекс» соединительными деталями, элементами и материалами импортного производства при наличии на них сертификата соответствия системы ГОСТ Р или системы «Мосстройсертификация».

2. ОСОБЕННОСТИ ПРОЕКТИРОВАНИЯ ВНУТРИКВАРТАЛЬНЫХ СЕТЕЙ ГОРЯЧЕГО ВОДОСНАБЖЕНИЯ ИЗ ТРУБ «ПРОФЛЕКС»

2.1. При проектировании внутриквартальных сетей горячего водоснабжения из труб «Профлекс» следует руководствоваться общими требованиями СНиП 2.04.01-85*, СНиП 2.04.05-91*, СНиП 3.05.01-85, СП 40-102-2000.

2.2. Теплоизолированные трубы «Профлекс-1», включая трубы ПЭ-х, теплоизоляционный слой ППУ, гофрированную полиэтиленовую оболочку и их соединения, применяемые для внутриквартальных сетей горячего водоснабжения, обладают расчетным сроком службы не менее 25 лет (СНиП 2.04.01-85*, СНиП 2.04.05-91) при условии действия постоянной температуры воды 75 °С в течение всего срока службы.

Исходя из указанного срока службы для систем горячего водоснабжения следует использовать трубы «Профлекс-1» с внутренней трубой ПЭ-х со стандартным отношением SDR 11 или SDR 7,4; при этом постоянно действующее рабочее давление горячей воды в течение всего срока службы не должно превышать соответственно 0,6 МПа и 1,0 МПа.

2.3. Гидравлический расчет сетей горячего водоснабжения труб ПЭ-х рекомендуется производить по методике СП 40-102-2000.

Определение удельных потерь напора по длине труб ПЭ-х и скорости течения воды в зависимости от расхода рекомендуется производить по таблицам приложения 3.

Для приближенного гидравлического расчета трубопроводов горячего водоснабжения из труб ПЭ-х можно пользоваться номограммой (рис. 2), составленной для средней температуры воды 60 °С.

При использовании номограммы для расчета подающего трубопровода горячей воды (температура +75 °С) рекомендуется ввести поправочный коэффициент 0,96, циркуляционного трубопровода горячей воды (температура +50 °С) - поправочный коэффициент 1,025.

Рис. 2. Номограмма для приближенного гидравлического расчета труб ПЭ-х «Профлекс» при средней температуре воды 60 °С

2.4. При гидравлическом расчете трубопроводов горячего водоснабжения из труб «Профлекс», прокладываемых размоткой бухт (катушек) потери напора в местных сопротивлениях можно не учитывать.

2.5. Все изменения проектных решений по прокладке трубопроводов горячего водоснабжения из труб «Профлекс» должны в обязательном порядке согласовываться с проектными и эксплуатационными организациями.

2.6. При проектировании внутриквартальных подземных сетей горячего водоснабжения бесканально из труб «Профлекс» специальных компенсаторов температурной деформации предусматривать, как правило, не требуется.

2.7. При бесканальной прокладке труб «Профлекс» совместно с трубами теплоснабжения в 4-х и более трубных прокладках трубопроводы горячего водоснабжения из труб «Профлекс» по возможности должны повторять общую конфигурацию в плане.

2.8. Размер траншеи при 2-трубных и многотрубных прокладках, глубину заложения, расстояние между стенками траншеи и трубами «Профлекс», толщину «постели» и обсыпки рекомендуется принимать по пособию АО «Моспроект» (ПП 27-2.2-93).

2.9. Минимальная глубина заложения труб «Профлекс» от поверхности земли или дорожного покрытия должна приниматься не менее 0,6 м от верха гофрированной полиэтиленовой оболочки.

Примечание. При необходимости заложения в грунт труб «Профлекс» более чем на 2,0 м рекомендуется производить специальный прочностной расчет теплоизоляционной конструкции, исходя из условия допустимой относительной вертикальной деформации теплоизоляционной конструкции 5 %.

2.10. При пересечении трамвайных путей, проездов общегородского значения, крупных автомагистралей, железных дорог прокладку трубопроводов горячего водоснабжения из труб «Профлекс» рекомендуется осуществлять в проходных каналах.

2.11. При бесканальной прокладке трубопроводов горячего водоснабжения из труб «Профлекс» последние рекомендуется укладывать на песчаное основание толщиной не менее 100 мм с обсыпкой из песка с коэффициентом фильтрации не менее 5 м в сут толщиной 200 мм при несущей способности грунта не менее 0,15 МПа. При меньшей несущей способности необходимо устраивать под трубы «Профлекс» искусственное основание.

2.12. При бесканальной прокладке трубопроводов горячего водоснабжения из труб «Профлекс» сопутствующий дренаж можно не предусматривать.

2.13. Трубы «Профлекс», используемые для внутриквартальных сетей горячего водоснабжения, не оборудуются системой дистанционного оперативного контроля (ОДК) за состоянием влажности теплоизоляции из ППУ.

2.14. Для соединения труб «Профлекс» между собой рекомендуются соединительные детали из латуни компрессионного типа с заливкой стыка смесью пенополиуретана с использованием муфты и манжет из термоусаживающего полиэтилена.

Схема соединений представлена на рис. 3.

Рис. 3. Основной тип соединения теплоизолированных труб «Профлекс-1»:

1 - труба ПЭ-х; 2 - теплоизоляционная конструкция трубы ПЭ-х; 3 - латунный элемент; 4 - разрезное обжимное кольцо из латуни; 5 - зажимная накидная гайка; 6 - муфта из термоусаживающего полиэтилена; 7 - манжета из термоусаживающего полиэтилена; 8 - отверстие для заливки смесью пенополиуретана; 9 - пенополиуретан; 10 - зажимная муфта (хомут) из латуни

Для присоединения труб «Профлекс» к запорной арматуре рекомендуется применять переход, состоящий из компрессионного и стального патрубка с фланцем на одном конце, привариваемый к арматуре.

2.15. Трубопроводы «Профлекс» и их концы не должны размещаться в подвалах зданий и в ЦТП и должны заканчиваться присоединениями к стальным трубопроводам горячего водоснабжения и оборудоваться неподвижными опорами (упорами).

Для расчета опор (упоров) осевые усилия, возникающие в трубе ПЭ-х трубопровода «Профлекс» ориентировочно принимаются:

Наружный диаметр труб ПЭ-х, мм

Усилие, Н

32

400

40

600

50

1000

63

1500

75

2200

90

3500

110

4700

2.16. При повороте трассы радиусы изгиба труб «Профлекс» рекомендуется ориентировочно применять для диаметров оболочки, мм, не менее (м): 75 » 0,7; 90 » 0,8; 110 » 0,9; 125 » 1,0; 140 » 1,1; 160 » 1,2.

2.17. При проходе труб «Профлекс» сквозь стены строительных конструкций (камер, колодцев и пр.) рекомендуется применять уплотнительные кольца длиной не менее 50 мм преимущественно из резины или полимерного материала, замоноличиваемые цементным раствором в отверстиях строительных конструкций.

3. ТРАНСПОРТИРОВКА, СКЛАДИРОВАНИЕ И ХРАНЕНИЕ ТРУБ «ПРОФЛЕКС»

3.1. Транспортировка теплоизолированных труб «Профлекс», соединительных деталей, элементов и материалов должны выполняться в соответствии с общими требованиями ТУ 2248-015-40270293-2002.

3.2. Трубы «Профлекс» в бухтах должны складироваться и храниться на приобъектных складах на ровных площадках.

На стройплощадках бухты труб должны складироваться на площадках, свободных от твердых включений, на песчаных насыпях толщиной не менее 100 мм в горизонтальном положении в рядах высотой не более 2 м.

3.3. Теплоизолированные отводы следует хранить отдельно, соединительные детали, элементы и материалы отдельно в закрытых помещениях.

3.4. Перевозку, погрузку и разгрузку труб «Профлекс» и теплоизолированных отводов и элементов следует производить при температуре не ниже минус 25 °С. При разгрузке запрещается сбрасывать бухты и теплоизолированные отводы труб «Профлекс».

3.5. Погрузку и разгрузку бухт труб следует производить с помощью мягких полотенец или строп.

4. МОНТАЖНЫЕ РАБОТЫ

4.1. Работы по монтажу внутриквартальных сетей горячего водоснабжения из труб «Профлекс» следует производить с учетом общих требований СНиП 3.05.03-85 и СП 40-102-2000 в соответствии с проектом организации строительства (ПОС) и проектом производства работ (ППР).

4.2. Разработчикам проектов организации строительства (ПОС) и организации работ (ПОР) их необходимо согласовывать с эксплуатационными организациями. Без согласования запрещается начинать работы по прокладке сетей горячего водоснабжения из труб «Профлекс».

4.3. Прокладка подземных сетей горячего водоснабжения из труб «Профлекс» включает следующие основные этапы работ:

- разбивку трассы и ее приемку:

- разработку траншей;

- разматывание бухт:

- соединение (присоединение) труб;

- гидравлические испытания;

- теплоизоляцию стыков труб;

- устройство опор (упоров);

- предварительный нагрев трубопровода (при необходимости);

- обратную засыпку траншей с послойным уплотнением песчаного грунта в пазухах.

После окончания каждого этапа оформляется приемо-сдаточный акт о выполнении работ с участием производителя работ, представителей проектной и эксплуатирующей организаций.

Земляные работы

4.4. Разработку траншей и работы по устройству оснований для бесканальной прокладки труб «Профлекс» следует производить с учетом общих требований СНиП 3.02.01-87.

4.5. Минимальную ширину для траншеи следует принимать согласно СНиП 3.05.03-85 в зависимости от диаметра теплоизоляционной оболочки.

4.6. Размеры приямков под соединения и теплоизоляцию стыков труб рекомендуется принимать: ширину 2D + а + 1,0 м, длину » 1,0 м, глубину » 0,5 м (где «а» - расстояние в свету между оболочками труб).

4.7. На дне траншеи следует устраивать песчаную подушку толщиной не менее 10 см.

4.8. При обратной засыпке в траншее трубопровода из труб «Профлекс» обязательно устройство над верхом труб защитного слоя из песчаного грунта толщиной не менее 20 см, не содержащего твердых включений (щебня, камней, кирпичей и пр.) с подбивкой пазух между трубами и основанием и уплотнением грунта как между трубами, так между трубами и стенками траншеи.

4.9. После соединения (присоединения) труб ПЭ-х и гидравлического испытания трубопровода производится обратная его засыпка строительными механизмами (кроме мест соединений) по защитному слою грунта местным (не мерзлым) грунтом, не содержащим обломков строительных конструкций размерами более 30 см.

4.10. После теплоизоляции соединений труб «Профлекс» производят засыпку приямков песком с уплотнением грунта в приямках и вокруг стыков ручной механической трамбовкой.

Монтажные работы

4.11. Перед укладкой бухты труб отводы и соединительные детали подвергают тщательному осмотру с целью обнаружения проколов, пробоин, глубоких надрезов, трещин в гофрированной полиэтиленовой оболочке и других механических повреждений. При обнаружении сквозных повреждений гофрированной оболочки их заделывают путем экструзионной сварки или наложения термоусаживающихся манжет.

При наличии в оболочке глубоких трещин и надрезов длиной более 300 мм, поперечных трещин размером более половины периметра оболочки участок труб «Профлекс» вырезают из бухты.

4.12. Бухты труб «Профлекс» запрещается укладывать в траншею, заполненную водой.

4.13. Бухту труб «Профлекс» разматывают по дну или по бровке траншеи, начиная с внутреннего витка.

4.14. В случае укладки бухты «Профлекс» при отрицательной температуре наружного воздуха бухту труб рекомендуется выдержать при положительной температуре, или перед размоткой бухты осуществить их нагрев подаваемым в трубы ПЭ-х воздухом с температурой не более 60 °С.

4.15. Разрезку труб «Профлекс» рекомендуется выполнять вручную с использованием ножовок для резки металлов или дерева, мелкозубыми плотницкими пилами и столярными ножовками. Линия реза должна быть перпендикулярна оси трубы.

4.16. Для соединения труб ПЭ-х на концах труб «Профлекс» снимается вручную с помощью ножа и стамески теплоизоляция с обнажением концов труб ПЭ-х на длину при диаметре: до 63 мм на 90 мм; до 110 мм на 140 мм.

4.17. Соединение труб и теплоизоляция стыков труб «Профлекс» между собой и с теплоизолированными отводами, тройниками и т.д. выполняются по технологической инструкции завода-изготовителя труб, осуществляющего комплектацию труб «Профлекс» соединительными деталями из латуни. Указанные работы должны производиться персоналом, прошедшим обучение и имеющим допуск на право производства работ по соединению и теплоизоляции стыков труб «Профлекс».

4.18. Работы по соединению и теплоизоляции стыков труб «Профлекс» в обычных условиях проводят при температуре 10 °С.

При более низкой температуре работы производят с использованием тепляков.

Испытания трубопроводов

4.19. Испытания и промывка трубопроводов «Профлекс» производятся в соответствии с требованиями СНиП 2.04.01-85*, СНиП 3.05.03-85 и СП 40-102-2000. Трубопроводы должны подвергаться предварительному и окончательному испытанию на прочность и плотность.

4.20. Предварительные испытания трубопроводов на прочность и плотность следует выполнять гидравлическим способом.

4.21. Предварительное испытательное (избыточное) гидравлическое давление при испытании на прочность, выполняемое до окончательной засыпки трубопровода, теплоизоляции стыков и установки арматуры, должно быть равным 1,5 рабочему давлению и поддерживаться подкачкой воды на этом уровне в течение 30 мин.

Затем испытательное давление снижают до рабочего, которое поддерживают в течение 30 мин, и производят осмотр соединений трубопровода.

4.22. Предварительное испытание может производиться строительно-монтажной организацией без участия заказчика. Результаты испытаний должны регистрироваться в журнале работ.

4.23. Гидравлическое давление при окончательных испытаниях на плотность, выполняемых после теплоизоляции стыков труб и окончательной засыпки трубопроводов (без арматуры), должно быть равным 1,3 рабочему давлению.

4.24. Окончательное испытание проводят в следующем порядке:

- в трубопроводе создают давление, равное рабочему, и поддерживают его в течение 2 ч;

- давление поднимают до уровня испытательного и поддерживают его подкачкой воды в течение 2 ч.

Трубопровод считается выдержавшим окончательное испытание, если при последующей выдержке в течение 2 ч под испытательным давлением падение давления не превысит 0,02 МПа в течение 1 ч.

4.25. Трубопровод горячей воды, смонтированный из труб «Профлекс», следует тщательно промыть проточной питьевой водой.

5. СДАЧА И ПРИЕМКА ТРУБОПРОВОДОВ В ЭКСПЛУАТАЦИЮ

5.1. Приемка в эксплуатацию сетей горячего водоснабжения должна производиться в соответствии с указаниями СНиП 3.01.04-87 «Приемка в эксплуатацию законченных строительством объектов».

5.2. Приемку сетей горячего водоснабжения из труб «Профлекс» осуществляет рабочая комиссия из представителей заказчика (председатель), эксплуатационной организации, подрядчика, проектной организации и завода-изготовителя трубной продукции.

5.3. Для окончательной приемки сетей горячего водоснабжения в эксплуатацию заказчик назначает приемочную комиссию и устанавливает срок ее работы. Заказчик и генеральный подрядчик представляют комиссии следующие документы: утвержденную проектно-сметную документацию на строительство (с внесенными изменениями); списки специализированных организаций, принимающих участие в выполнении строительно-монтажных работ; материалы исполнительной геодезической съемки; акт на разбивку трассы: исполнительные чертежи на построенный трубопровод с актами на скрытые виды работ; акты сдачи и приемки отдельных этапов работ по монтажу трубопровода, в т.ч. на герметичность стыков; паспорта завода-изготовителя на трубы «Профлекс»; акты на проведение испытаний трубопроводов на прочность и плотность; акт о проведении промывки трубопровода. Комиссия по результатам ознакомления с вышепредставленными материалами оформляет акт приемки в эксплуатацию трубопровода горячего водоснабжения (в 5-ти экз.).

6. ТРЕБОВАНИЯ БЕЗОПАСНОСТИ

6.1. При производстве работ необходимо соблюдать требования СНиП 12.03-2001 «Безопасность труда в строительстве», включая изменения, касающиеся погрузочно-разгрузочных, земляных, электросварочных и газопламенных работ, гидравлических и пневматических испытаний (в части установления опасных зон). Настоящим разделом устанавливаются специальные требования безопасности, определенные специфическими свойствами материалов труб, их теплоизоляции, теплоизолированных отводов, деталей и элементов, специальными методами производства монтажных работ.

6.2. К работам по устройству сетей горячего водоснабжения из труб «Профлекс» допускаются лица, достигшие 18 лет, прошедшие медицинское освидетельствование, специальное обучение, вводный инструктаж и инструктаж на рабочем месте по технике безопасности.

6.3. При хранении теплоизоляционных труб «Профлекс» и отводов на объекте строительства и на месте монтажа, учитывая горючесть труб ПЭ-х (группа горючести «ГЗ») пенополиуретана и полиэтилена (группа горючести «Г4» по ГОСТ 30244-94, следует соблюдать правила противопожарной безопасности (ГОСТ 12.1.004-91). Запрещается разводить огонь и проводить огневые работы в непосредственной близости (не ближе 2 м) от места складирования изолированных труб, хранить рядом с ними горючие и легковоспламеняющиеся жидкости.

6.4. При возгорании труб, их теплоизоляции и теплоизолированных отводов следует использовать обычные средства пожаротушения; при пожаре в закрытом помещении следует пользоваться противогазами марки БКФ (ГОСТ 12.4.121-83)

6.5. При термоусадке элементов стыка (термоусаживающих муфт-манжет) пламенем пропановой горелки необходимо тщательно следить за нагревом муфт и манжет и полиэтиленовых оболочек труб, не допуская пережогов полиэтилена или его возгорания.

6.6. Отходы пенополиуретана и полиэтилена при разрезке труб «Профлекс» или освобождении труб ПЭ-х от изоляции должны быть сразу после окончания рабочей операции собраны и складированы в специально отведенном месте на расстоянии не менее 2-х м от труб и деталей.

6.7. Трубы «Профлекс» (трубы ПЭ-х, вспененный пенополиуретан и полиэтилен) не взрывоопасны, при обычных условиях не выделяют в окружающую среду токсичных веществ и не оказывают при непосредственном контакте вредного влияния на организм человека. Обращение с ними не требует особых мер предосторожности (класс опасности 4 по ГОСТ 12.1.005).

6.8. Все работы по заливке стыков труб «Профлекс» смесью пенополиуретана (приготовление смеси ППУ, заливка смеси в стык) должны производиться в спецодежде с применением индивидуальных средств защиты (костюм хлопчатобумажный, спецобувь, перчатки резиновые, рукавицы хлопчатобумажные, очки защитные).

6.9. На месте заливки стыков ППУ должны находиться средства для дегазации применяемых веществ (5 - 10 %-ный раствор аммиака, 5 %-ный раствор соляной кислоты), а также аптечка с медикаментами (1,3 %-ный раствор поваренной соли, 5 %-ный раствор борной кислоты, 2 %-ный раствор питьевой соды, раствор йода, бинт, вата, жгут). Следует помнить, что компонент «Б» смеси ППУ (полиизоциант) относится к ядовитым веществам.

6.10. В ходе устройства защитного слоя из грунта над трубопроводом из труб «Профлекс» после отсыпки и трамбовки на защитный слой следует укладывать маркировочную ленту красного цвета по всей длине трассы трубопровода горячего водоснабжения из труб «Профлекс».

7. ОХРАНА ОКРУЖАЮЩЕЙ СРЕДЫ

7.1. Меры по охране окружающей среды должны соответствовать требованиям СНиП 3.05.03-85 и настоящего раздела.

7.2. Без согласования с соответствующей организацией не допускается производить разрытие траншей на расстоянии менее 2 м до стволов деревьев и менее 1 м до кустарников, перемещение грузов кранами на расстоянии менее 0,5 м до крон или стволов деревьев; складирование труб и других материалов на расстоянии менее 2 м до стволов деревьев без временных ограждающих или защитных устройств вокруг них.

7.3. Слив воды из трубопроводов после промывки (дезинфекции) производить в места, предусмотренные ППР.

7.4. После окончания работ по устройству сети горячего водоснабжения территория должна быть очищена и восстановлена в соответствии с требованиями проекта.

7.5. Отходы труб ПЭ-х, теплоизоляции из пенополиуретана и полиэтилена следует собрать для последующего их вывоза и захоронения в местах, согласованных с Мосгорсанэпиднадзором, или на завод для утилизации.

Приложение 1

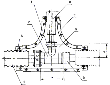
1 - соединение компрессионное из латуни (с зажимной накидной гайкой); 2 - тройник из металла; 3 - резиновые кольца; 4 - труба «Профлекс-1»; 5 - соединение компрессионное из латуни (с зажимной муфтой); 6 - теплоизоляция; 7 - оболочка из стеклопластика; 8 - плечо отвода для «Профлекс-1»

Спецификация тройников из латуни для труб «Профлекс-1»

Диаметр тройников

а

в

75´75

300

135

90´75

320

140

90´90

320

140

110´90

320

160

110´110

320

150

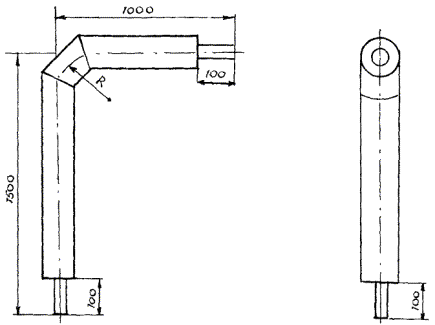
Приложение 2

Спецификация теплоизолированных отводов 90° для труб «Профлекс-1»

Размеры в мм

Тип отвода

Труба ПЭ-х

Полиэтиленовая оболочка (ПЭ)

Толщина изолирующего слоя ППУ «а»

Радиус R

SDR 7,4

SDR 11

номинальные наружный диаметр и толщина стенки d´e

номинальный наружный диаметр D (с пред. откл.)

номинальная толщина стенки «е» (с пред. откл.)

40/75-1

40´5,5

40´3,7

75+0,7

2,2+0,5

14

175

50/90-1

50´6,9

50´4,6

90+0,8

2,2+0,5

17

200

63/125-1

63´8,6

63´5,8

125+1,2

2,5+0,5

28

200

75/125-1

75´10,3

75´6,8

125+1,3

2,5+0,5

22

240

90/140-1

90´12,3

90´8,2

140+1,3

3,0+0,5

21

285

110/160-1

110´15,1

110´10

160+1,5

3,0+0,5

21

345

Примечание. Оболочка из ПЭ 63 (ГОСТ 16338-85)

Приложение 3

Таблицы для гидравлического расчета труб «Профлекс» в системах горячего водоснабжения

Таблица 1

Для гидравлических расчетов подающего трубопровода горячей воды из труб ПЭ-х, SDR 7,4 «Профлекс» (скорость V, м/с)

Наружный диаметр ´ толщина стенки, мм

40´5,5

50´6,9

63´8,6

75´10,3

90´12,3

110´15,1

Расход Q, л/с

V

1000i

V

1000i

V

1000i

V

1000i

V

1000i

V

1000i

1

2

3

4

5

6

7

8

9

10

11

12

13

0,05

 

 

 

 

 

 

 

 

 

 

 

 

0,1

0,15

1,25

 

 

 

 

 

 

 

 

 

 

0,25

0,37

6,42

0,24

2,18

 

 

0,11

0,31

 

 

 

 

0,5

0,75

22,66

0,48

7,64

0,31

2,48

0,22

1,07

 

 

 

 

0,75

1,13

47,82

0,73

16,05

0,46

5,18

0,33

2,2

 

 

 

 

1,0

1,51

81,32

0,97

27,26

0,61

8,76

0,43

3,76

0,3

1,53

 

 

1,25

1,89

123,5

1,22

41,2

0,76

13,2

0,54

5,7

0,37

2,29

 

 

1,5

2,27

175,7

1,46

57,8

0,92

18,5

0,65

7,9

0,45

3,32

0,3

1,2

1,75

2,65

231,8

1,7

77,0

1,07

24,6

0,76

10,5

0,52

4,2

0,35

1,6

2,0

3,03

298,0

1,94

98,85

1,23

31,5

0,87

13,4

0,6

5,4

0,4

2,0

3,0

4,54

640,3

2,91

211,5

1,84

67,1

1,3

28,5

0,9

11,5

0,6

4,3

4,0

 

 

3,89

363,8

2,45

115,1

1,73

48,8

1,2

19,5

0,8

7,3

5,0

 

 

4,86

554,9

3,06

175,1

2,17

74,1

1,5

29,6

1,0

11,0

6,0

 

 

5,83

784,4

3,68

247,0

2,6

104,4

1,8

41,7

1,2

15,5

7,0

 

 

 

 

4,29

330,7

3,0

139,6

2,1

55,7

1,4

20,7

8,0

 

 

 

 

4,9

425,9

3,47

179,6

2,4

71,5

1,6

26,6

9,0

 

 

 

 

 

 

3,9

224,4

2,7

89,3

1,8

33,1

10,0

 

 

 

 

 

 

4,3

273,97

3,0

108,9

2,0

40,4

11,0

 

 

 

 

 

 

4,77

328,2

3,3

130,4

2,21

48,3

12,0

 

 

 

 

 

 

5,2

387,2

3,6

153,7

2,41

56,9

13,0

 

 

 

 

 

 

 

 

3,9

178,9

2,61

66,1

15,0

 

 

 

 

 

 

 

 

4,5

234,6

3,01

86,7

17,0

 

 

 

 

 

 

 

 

5,1

297,6

3,42

109,9

19,0

 

 

 

 

 

 

 

 

 

 

3,81

135,6

21,0

 

 

 

 

 

 

 

 

 

 

4,2

163,9

23,0

 

 

 

 

 

 

 

 

 

 

4,6

194,8

25,0

 

 

 

 

 

 

 

 

 

 

5,0

228,2

Таблица 1а

Для гидравлических расчетов циркуляционного трубопровода горячей воды из труб ПЭ-х, SDR 7,4 «Профлекс» (скорость V, м/с)

Наружный диаметр ´ толщина стенки, мм

40´5,5

50´6,9

63´8,7

75´10,4

90´12,4

110´15,2

Расход Q, л/с

V

1000i

V

1000i

V

1000i

V

1000i

V

1000i

V

1000i

1

2

3

4

5

6

7

8

9

10

11

12

13

0,05

 

 

 

 

 

 

 

 

 

 

 

 

0,1

0,15

1,38

 

 

 

 

 

 

 

 

 

 

0,25

0,38

6,97

0,24

2,39

0,15

0,79

0,1

0,34

 

 

 

 

0,5

0,76

24,3

0,49

8,24

0,3

2,69

0,22

1,17

0,15

0,48

 

 

0,75

1,14

51,0

0,73

17,2

0,46

5,58

0,33

2,41

0,22

0,99

 

 

1,0

1,51

86,5

0,97

29,1

0,61

9,4

0,43

4,05

0,3

1,65

 

 

1,25

1,89

130,7

1,22

43,8

0,77

14,1

0,54

6,07

0,37

2,47

 

 

1,5

2,27

183,4

1,46

61,3

0,92

19,7

0,65

8,46

0,45

3,43

0,3

1,3

1,75

2,65

244,3

1,7

81,5

1,07

26,2

0,76

11,2

0,52

4,54

0,35

1,71

2,0

3,03

313,4

1,94

104,5

1,23

33,5

0,87

14,3

0,6

5,8

0,4

2,19

3,0

4,54

670,2

2,92

222,3

1,84

70,9

1,3

30,2

0,9

12,2

0,6

4,59

4,0

 

 

3,89

381,2

2,45

121,1

1,73

51,5

1,2

20,7

0,8

7,77

5,0

 

 

4,86

580,1

3,06

183,8

2,17

78,1

1,5

31,3

1,0

11,7

6,0

 

 

5,83

818,3

3,68

258,8

2,6

109,7

1,8

44,0

1,2

16,4

7,0

 

 

 

 

4,28

345,9

3,03

146,5

2,1

58,6

1,4

21,9

8,0

 

 

 

 

4,9

444,9

3,47

188,2

2,4

75,2

1,6

28,0

9,0

 

 

 

 

5,51

555,7

3,9

234,8

2,7

93,8

1,8

34,9

10,0

 

 

 

 

 

 

4,34

286,4

3,0

114,2

2,0

42,5

11,0

 

 

 

 

 

 

4,77

342,8

3,3

136,6

2,2

50,8

12,0

 

 

 

 

 

 

5,2

403,9

3,6

160,9

2,41

59,8

13,0

 

 

 

 

 

 

 

 

3,9

187,1

2,61

69,4

14,0

 

 

 

 

 

 

 

 

4,2

215,1

2,81

79,8

15,0

 

 

 

 

 

 

 

 

4,49

245,0

3,02

90,8

16,0

 

 

 

 

 

 

 

 

4,79

276,8

3,21

102,5

17,0

 

 

 

 

 

 

 

 

5,09

310,4

3,42

114,9

18,0

 

 

 

 

 

 

 

 

 

 

3,62

127,98

19

 

 

 

 

 

 

 

 

 

 

3,82

141,7

20

 

 

 

 

 

 

 

 

 

 

4,02

156,1

21

 

 

 

 

 

 

 

 

 

 

4,22

171,1

23

 

 

 

 

 

 

 

 

 

 

4,6

203,2

25

 

 

 

 

 

 

 

 

 

 

5,02

237,9

Таблица 2

Для гидравлических расчетов подающего трубопровода горячей воды из труб ПЭ-х, SDR 11 «Профлекс» (скорость V, м/с)

Наружный диаметр ´ толщина стенки, мм

40´3,7

50´4,6

63´5,8

75´6,8

90´8,2

110´10

Расход Q, л/с

V

1000i

V

1000i

V

1000i

V

1000i

V

1000i

V

1000i

1

2

3

4

5

6

7

8

9

10

11

12

13

0,05

 

 

 

 

 

 

 

 

 

 

 

 

0,1

0,12

0,71

 

 

 

 

 

 

 

 

 

 

0,25

0,3

3,6

0,19

1,2

 

 

 

 

 

 

 

 

0,5

0,6

12,8

0,38

4,3

0,24

1,4

 

 

 

 

 

 

0,75

0,9

26,9

0,57

8,9

0,36

2,9

0,25

1,2

 

 

 

 

1,0

1,2

45,7

0,77

15,1

0,48

4,9

0,34

2,0

0,24

0,8

 

 

1,25

1,5

69,2

0,96

22,8

0,6

7,3

0,42

3,1

0,29

1,27

0,2

0,5

1,5

1,8

97,1

1,15

32,0

0,72

10,3

0,5

4,3

0,35

1,8

0,24

0,7

1,75

2,1

129,6

1,34

42,6

0,84

13,6

0,59

5,7

0,41

2,3

0,28

0,9

2,0

2,4

166,4

1,53

54,6

0,96

17,5

0,68

7,3

0,47

3,0

0,31

1,1

3,0

3,6

356,6

2,3

116,6

1,45

37,1

1,01

15,4

0,7

6,3

0,47

2,4

4,0

4,79

614,4

3,06

200,2

1,93

63,5

1,35

26,3

0,94

10,7

0,63

4,0

5,0

5,99

938,2

3,83

305,1

2,41

96,5

1,69

39,9

1,18

16,3

0,79

6,0

6,0

 

 

4,59

430,7

2,89

136,0

2,03

56,2

1,41

22,9

0,94

8,5

7,0

 

 

5,36

577,0

3,38

181,8

2,37

75,0

1,65

30,5

1,1

11,3

8,0

 

 

 

 

3,86

234,0

2,7

96,5

1,88

39,2

1,26

14,5

9,0

 

 

 

 

4,34

292,5

3,04

120,4

2,12

48,9

1,41

18,0

10,0

 

 

 

 

4,82

357,2

3,38

147,0

2,35

59,6

1,57

22,0

11,0

 

 

 

 

5,3

428,1

3,72

176,0

2,59

71,3

1,73

26,3

12,0

 

 

 

 

 

 

4,05

207,5

2,82

84,0

1,89

30,9

13,0

 

 

 

 

 

 

4,39

241,5

3,06

97,7

2,04

36,0

14,0

 

 

 

 

 

 

4,73

278,0

3,29

112,4

2,2

41,3

15,0

 

 

 

 

 

 

 

316,9

3,52

1281

2,36

47,0

16,0

 

 

 

 

 

 

 

 

3,76

144,8

2,52

53,1

17,0

 

 

 

 

 

 

 

 

4,0

162,4

2,67

59,6

18,0

 

 

 

 

 

 

 

 

4,23

181,0

2,83

66,4

19,0

 

 

 

 

 

 

 

 

4,47

200,5

2,99

73,5

20,0

 

 

 

 

 

 

 

 

4,7

221,0

3,15

81,0

21,0

 

 

 

 

 

 

 

 

4,94

242,5

3,3

88,8

23,0

 

 

 

 

 

 

 

 

5,4

288,3

3,62

105,5

25,0

 

 

 

 

 

 

 

 

 

 

3,93

123,5

27,0

 

 

 

 

 

 

 

 

 

 

4,25

143,0

29,0

 

 

 

 

 

 

 

 

 

 

4,56

163,7

31,0

 

 

 

 

 

 

 

 

 

 

4,88

185,9

33,0

 

 

 

 

 

 

 

 

 

 

5,19

209,3

Таблица 2а

Для гидравлических расчетов циркуляционного трубопровода горячей воды из труб ПЭ-х, SDR 11 «Профлекс» (скорость V, м/с)

Наружный диаметр ´ толщина стенки, мм

40´3,7

50´4,6

63´5,8

75´6,8

90´8,2

110´10

Расход Q, л/с

V

1000i

V

1000i

V

1000i

V

1000i

V

1000i

V

1000i

1

2

3

4

5

6

7

8

9

10

11

12

13

0,05

 

 

 

 

 

 

 

 

 

 

 

 

0,1

0,12

0,79

 

 

 

 

 

 

 

 

 

 

0,25

0,3

3,95

1,3

 

 

 

 

 

 

 

 

 

0,5

0,6

13,7

0,38

4,6

0,24

1,5

 

 

 

 

 

 

0,75

0,9

28,7

0,57

9,6

0,36

3,1

0,25

1,32

 

 

 

 

1,0

1,2

48,6

0,77

16,2

0,48

5,2

0,34

2,2

0,24

0,92

0,16

0,35

1,25

1,5

73,4

0,96

24,3

0,6

7,9

0,42

3,3

0,29

1,4

0,2

0,52

1,5

1,8

102,8

1,15

34,0

0,72

11,0

0,5

4,6

0,35

1,9

0,24

0,7

1,75

2,1

136,8

1,34

45,2

0,84

14,5

0,59

6,1

0,41

2,5

0,28

0,9

2,0

2,4

175,4

1,53

57,9

0,96

18,6

0,68

7,8

0,47

3,2

0,31

1,2

3,0

3,6

374,2

2,3

122,9

1,45

39,3

1,01

16,4

0,7

6,7

0,47

2,5

4,0

4,79

642,5

3,1

210,3

1,93

67,0

1,35

27,8

0,94

11,4

0,63

4,3

5,0

5,99

978,8

3,83

319,6

2,41

101,5

1,69

42,1

1,18

17,2

0,679

6,4

6,0

 

 

4,59

450,4

2,89

142,8

2,03

59,2

1,41

24,2

0,94

9,0

7,0

 

 

5,4

602,3

3,38

190,6

2,37

78,9

1,65

32,2

1,1

11,9

8,0

 

 

 

 

3,86

245,0

2,7

101,3

1,88

41,3

1,26

15,3

9,0

 

 

 

 

4,3

305,8

3,04

126,3

2,12

51,4

1,41

19,0

9,0

 

 

 

 

4,82

373,0

3,38

153,9

2,35

62,6

1,57

23,2

11,0

 

 

 

 

5,3

446,6

3,72

184,2

2,59

74,9

1,73

27,7

12,0

 

 

 

 

 

 

4,05

217,0

2,82

88,1

1,89

32,5

13,0

 

 

 

 

 

 

4,39

252,3

3,06

102,4

2,04

37,8

14,0

 

 

 

 

 

 

4,73

290,2

3,29

117,7

2,2

43,4

15,0

 

 

 

 

 

 

5,06

330,6

3,53

134,1

2,36

49,4

16,0

 

 

 

 

 

 

 

 

3,76

151,4

2,51

55,8

17,0

 

 

 

 

 

 

 

 

4,0

169,7

2,67

62,4

18,0

 

 

 

 

 

 

 

 

4,23

189,0

2,83

69,5

19,0

 

 

 

 

 

 

 

 

4,47

209,3

3,0

77,0

20,0

 

 

 

 

 

 

 

 

4,7

230,7

3,15

84,8

21,0

 

 

 

 

 

 

 

 

4,94

252,9

3,3

92,9

23,0

 

 

 

 

 

 

 

 

5,4

300,4

3,62

110,3

25,0

 

 

 

 

 

 

 

 

 

 

3,93

129,1

27,0

 

 

 

 

 

 

 

 

 

 

4,25

149,2

29,0

 

 

 

 

 

 

 

 

 

 

4,56

170,8

31,0

 

 

 

 

 

 

 

 

 

 

4,88

193,8

33,0

 

 

 

 

 

 

 

 

 

 

5,19

218,1

СОДЕРЖАНИЕ

1. Общая часть. 2

2. Особенности проектирования внутриквартальных сетей горячего водоснабжения из труб «профлекс». 4

3. Транспортировка, складирование и хранение труб «профлекс». 7

4. Монтажные работы.. 7

5. Сдача и приемка трубопроводов в эксплуатацию.. 9

6. Требования безопасности. 10

7. Охрана окружающей среды.. 11

Приложение 1. 11

Приложение 2. 12

Приложение 3. Таблицы для гидравлического расчета труб «профлекс» в системах горячего водоснабжения. 12

 



уроки по алготрейдингу на Python с нуля



Яндекс цитирования

   Copyright © 2008-2026 ,  www.infosait.ru

backtrader - уроки алготрейдинга на python