ИНФОСАЙТ.ру
Госты, стандарты, нормативы. В библиотеке 60000 документов. Регулярное обновление. Круглосуточный бесплатный доступ!
БИБЛИОТЕКА ГОСТОВ, СТАНДАРТОВ И НОРМАТИВОВ

:: АЛГОТРЕЙДИНГ ::


АЛГОТРЕЙДИНГ
шаг за шагом


БЕСПЛАТНЫЕ УРОКИ по созданию торговых роботов на PYTHON с нуля, шаг за шагом.


Минимальные знания на PYTHON.
Библиотеки BackTrader и Pandas, сигналы с Pine Script из TradingView.
Связка с брокерами, телеграм.
Создание простых интерфейсов.

 

Все документы, представленные в каталоге, не являются их официальным изданием и предназначены исключительно для ознакомительных целей. Электронные копии этих документов могут распространяться без всяких ограничений. Вы можете размещать информацию с этого сайта на любом другом сайте.


Типовая инструкция по охране труда для транспортерщика дробильно-сортировочных установок

 

ТОИ Р-218-28-94

 

Утверждена

Федеральным дорожным департаментом

Минтранса РФ 24 марта 1994 г.

 

Вводится в действие с 1 июля 1994 г.

 

Общие требования безопасности

 

1. К работе транспортерщиком допускаются лица не моложе 18 лет, признанные годными к данной работе медицинской комиссией, прошедшие обучение по учебной программе транспортерщика, имеющие удостоверение на право выполнения данной работы.

2. Поступавший на работу транспортерщик должен пройти вводный инструктаж по безопасным методам и приемам труда, экологическим требованиям, а также первичный инструктаж на рабочем месте, о чем должны быть сделаны соответствующие записи в журналах с обязательными подписями инструктируемого и инструктирующего.

3. Первичный инструктаж на рабочем месте производится с каждым транспортерщиком индивидуально с практическим обучением безопасным методам и приемам производства работ.

4. Все транспортерщики после первичного инструктажа на рабочем месте и проверки знаний в течение первых 3-5 смен (в зависимости от стажа, опыта и характера работы) выполняют работу под наблюдением бригадира или мастера, после чего оформляется допуск их к самостоятельной работе. Допуск к самостоятельной работе фиксируется датой и подписью инструктирующего в журнале регистрации инструктажа.

5. Повторный инструктаж с транспортерщиком должен проводиться не реже чем через 3 месяца. Периодическая проверка знаний по безопасности труда должна проводиться один раз в 12 месяцев.

6. При изменении правил по охране труда, технологического процесса, замене или модернизации оборудования, приспособлений, инструмента, нарушении действующих норм и правил по охране труда, которые привели или могут привести к травматизму, аварии, пожару, при перерывах в работе более 30 календарных дней, по требованию органов надзора проводится внеплановый инструктаж.

О проведении повторного и внепланового инструктажа производится соответствующая запись в журнале регистрации инструктажа на рабочем месте с обязательной подписью инструктируемого и инструктирующего.

При регистрации внепланового инструктажа указывается причина, вызвавшая его проведение.

7. Знания, полученные при инструктаже, проверяет работник, проводивший инструктаж.

8. Транспортерщик, получивший инструктаж и показавший неудовлетворительные знания, к работе не допускается. Он обязан вновь пройти инструктаж.

9. Транспортерщик должен иметь II квалификационную группу по технике безопасности. Квалификационная группа должна подтверждаться ежегодно в установленном порядке.

10. Транспортерщик должен знать принцип работы и устройство транспортных механизмов, технологию производства работ, инструкцию завода-изготовителя по эксплуатации транспортеров, инструкцию по охране труда, правила внутреннего распорядка организации труда работников дробильно-сортировочной установки, требования по выполнению режимов труда и отдыха.

11. Рабочее место - кабина обзора, рабочая зона обслуживания - система транспортных механизмов должны удовлетворять нормативным требованиям безопасности труда.

12. Основными вредными производственными факторами, воздействующими на транспортерщика, являются запыленность и шум.

Нормативные показатели этих факторов не должны превышать:

- запыленность - 10 мг/м3 (для кварцевой пыли 2 мг/м3, при содержании кварца более 10%);

- шум - 65-70 дБА.

Средствами защиты от вредных факторов, возникающих при работе транспортеров и смежных агрегатов являются от:

- пыли - орошение водой, аспирация;

- шума - установка кожухов, звукоизолирующих кабин;

- пыли и шума - средства индивидуальной защиты.

13. На рабочем месте транспортерщика должны быть:

- необходимый инструмент и инвентарь (молоток, слесарный, кувалда, зубило слесарное, гаечные ключи, отвертки слесарно-монтажные, плоскогубцы комбинированные, кусачки торцевые, лом, лопата совковая, скребки для уборки просипи, метла и веник);

- смазочный инвентарь (стандартный шприц винтовой, емкость для хранения солидола, канистра, воронка, ящик для ветоши);

- противопожарный инвентарь (ящик для песка, огнетушители ОУ-2, ОХВП-10, ведро, лопата, топор, багор и др.);

- связь (телефон, пульт звуковой и световой сигнализации);

- средства индивидуальной защиты;

- средства оказания первой помощи пострадавшим (аптечка);

- принадлежности личной гигиены (полотенце, мыло, рукомойник, шкафчик для спецодежды, спецобуви и средств индивидуальной защиты);

- питьевая кипяченая вода;

- достаточное освещение (50-100 лк);

- техническая и производственная документация (технологическая карта, инструкция завода-изготовителя (выписка) по эксплуатации конвейерной установки, инструкция по охране труда, инструкция по оказанию первой доврачебной помощи, противопожарной защите, экологические требования, режим труда и отдыха).

14. Транспортерщик должен работать в спецодежде, спецобуви и средствах индивидуальной защиты, установленных стандартами (куртка и брюки на утепленной подкладке, комбинезон рабочий, сапоги валяные с резиновым низом, перчатки резиновые диэлектрические и рукавицы специальные, каска "Труд", пылезащитные очки, респиратор "Лепесток", наушники противошумные, резиновые коврики для ног).

15. Транспортерщик обязан знать значение звуковой и световой сигнализации, установленных на дробильно-сортировочных установках, а также сигналов, применяемых при производстве взрывных работ.

16. В случае нарушений требований безопасности другими работниками, транспортерщик обязан принять возможные меры к предупреждению и устранению опасности и доложить об этом бригадиру или мастеру.

17. Оборудование конвейерной установки должно быть надежно заземлено.

18. При ведении процесса транспортирования материалов нахождение посторонних лиц в рабочей зоне запрещается.

19. При расположении транспортеров в наклонных галереях (эстакадах) на всю длину через каждые 10 м должны быть установлены дистанционные выключатели или вилки разрыва.

20. При эксплуатации ленточных транспортеров в условиях, когда вся его длина не просматривается с места пуска, должна быть установлена двухсторонняя звуковая и световая сигнализация. Прямая сигнализация допускается, когда транспортер просматривается с места пуска на всю длину.

21. Подача материалов на ленту транспортера должна производиться через бункер, воронку или с помощью передвижного транспортера.

22. При загрузке транспортера из бункера управление затвором бункера должно быть расположено так, чтобы рабочий находился на расстоянии не менее 1,0 м от поступающего из бункера материала.

23. Бункера, расположенные на уровне земли (пола), должны иметь с трех сторон ограждение высотой не менее 1,1 м из досок, толщиной 20 мм, а с погрузочной стороны - бортовой брус.

24. При ручной загрузке бункера высота его не должна превышать 1,0-1,2 м.

25. Натяжные и приводные барабаны транспортеров должны быть ограждены так, чтобы лента была закрыта на расстоянии не менее 1,0 м от оси барабана. Для очистки барабана и ленты от налипших материалов должны быть установлены механические очистители.

26. Допуск транспортерщиков в нетрезвом состоянии на рабочие места запрещается. Транспортерщики, оказавшиеся при исполнении служебных обязанностей в нетрезвом состоянии, немедленно отстраняются от работы и привлекаются к строгой ответственности в соответствии с действующим законодательством.

27. Транспортерщик обязан содержать рабочее место и зону обслуживания в чистоте и порядке. На транспортерном участке не должно быть посторонних предметов, материалов и т.п.

28. За невыполнение требований инструкции по охране труда, разработанной на основе данной типовой инструкции, транспортерщик несет ответственность согласно правилам внутреннего трудового распорядка и действующему законодательству об охране труда.

Требования безопасности перед началом работы

 

29. Перед началом работы транспортерщик обязан:

- надеть спецодежду и спецобувь, подготовить индивидуальные средства защиты, проверить их исправность;

- ознакомиться с условиями работы предыдущей смены;

- получить на рабочем месте точные и конкретные указания от бригадира (мастера) по выполнение задания, безопасным приемам и методам труда, ознакомиться с технологической картой производства работ.

Проверить:

- исправность телефонной связи, освещения;

- наличие и исправность комплекта инструмента и принадлежностей;

- наличие средств пожаротушения и оказания первой доврачебной помощи;

- наличие необходимых смазочных материалов.

30. Перед пуском транспортных механизмов транспортерщик обязан проверить:

- состояние роликов, конвейерной ленты, приводных и натяжных станций лотков и течек, надежность крепления болтовых соединений;

- исправность ограждений соединительных муфт и открытых передач привода, приводных и концевых барабанов, грузов натяжного устройства;

- исправность ограждений переходных мостиков с перилами через конвейер, предохранительных сеток (козырьков) в местах перехода людей под конвейером;

- наличие и исправность тросовых выключателей, а также тормозных устройств наклонных конвейеров;

- исправность пусковых систем, звуковой и световой сигнализации;

- состояние герметизации укрытий пылящих точек и мест, системы гидрообеспечения;

- отсутствие на конвейере инструмента и посторонних предметов;

- состояние конвейерной ленты, ее натяжение дня нормальной работы фрикционного привода, правильность ее перемещения (хода) по всей длине как на холостом ходу, так и под нагрузкой;

- устойчивость транспортера, поперечную горизонтальность (Поперечный уклон транспортера не допускается);

- исправность опорных роликов;

- наличие и целостность заземления путем наружного осмотра.

31. Обо всех недостатках и неисправностях, обнаруженных при проверке и осмотре, транспортерщик обязан сообщить мастеру и до их устранения к работе не приступать.

Требования безопасности во время работы

 

32. Пуск конвейера транспортерщик должен производить через 1-2 минуты после подачи установленных сигналов о готовности смежных с ним механизмов к запуску.

33. Подачу предупредительных сигналов о запуске производить только с разрешения мастера смены.

Всякий непонятный сигнал должен восприниматься как сигнал "Стоп!"

34. После пуска транспортерщик должен проверить работу конвейера на холостом ходу, при этом лента не должна сползать набок, иметь перекосы, иметь провисающие участки и задевать при движении за отдельные части конструкции конвейера. Натяжение конвейерной ленты определяется тяговой способностью фрикционного привода, стрелой прогиба провисающих участков, динамическими нагрузками.

35. Перед началом технологического процесса транспортерщик должен надеть предохранительные средства индивидуальной защиты.

36. При ведении технологического процесса транспортерщик обязан:

- обслуживать и обеспечивать бесперебойную работу транспортеров рабочей зоны;

- регулировать равномерное поступление и распределение материала на ленте;

- обеспечивать своевременную подачу в производство материалов;

- иметь постоянную связь со смежными участками.

37. Во время работы конвейера транспортерщику запрещается:

- производить смазку и крепление болтов, замену роликов;

- производить натяжение или ослабление конвейерной ленты и устранять пробуксовывание путем подбрасывания между лентой и барабаном глины, песка или других материалов, удерживать и поправлять ленту или поддерживающие ролики какими-либо случайными приспособлениями или предметами (обрезками труб, ломами, металлическими прутьями и др.);

- устанавливать или снимать ограждения;

- чистить конвейерную ленту, течки, ролики и другие движущиеся части;

- переполнять разгрузочные площадки сверх нормального объема;

- производить уборку просыпи вручную;

- выполнять любые ремонтные работы;

- оставлять без присмотра работающий транспортер и покидать рабочее место без разрешения бригадира или мастера.

Все указанные работы разрешается производить только после полной остановки конвейера, при отключенном от электросети двигателе, снятых электрослесарем предохранителях или изъятых вилок разрыва пускового устройства, включенной аварийной сигнализации и установке на пусковом устройстве запрещающей надписи "Не включать - работают люди!". Смежные агрегаты также должны быть отключены.

38. Все профилактические и ремонтные работы производятся только в присутствии мастера.

39. Применяемые при производстве ремонтных работ инструменты, предохранительные приспособления и все другие средства защиты должны быть в установленные сроки освидетельствованы и испытаны в соответствии с действующими правилами и нормами, иметь клеймо с указанием порядкового номера, даты очередного испытания.

Запрещается пользоваться неисправными приспособлениями, средствами защиты, а также приспособлениями с просроченными сроками испытания и освидетельствования.

40. Перед началом ремонтных работ предохранительные приспособления должны быть осмотрены транспортерщиком, пользующимся этими приспособлениями.

41. При производстве ремонтных работ на высоте 1,3 м и более от земли или перекрытия без ограждений транспортерщик должен пользоваться исправными средствами защиты.

Применение деревянных лестниц длиной более 5 м запрещается.

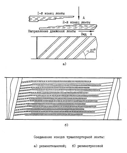
42. При обрыве резинотканевых лент типа РТЛ для получения высокой прочности соединение концов ленты необходимо производить горячей вулканизацией с разделкой концов резинотканевых и тросовых лент.

43. При подготовке резинотканевых лент для соединения концов вулканизацией следует применять ступенчатую косую разделку под углом 20° по прокладкам, а для резинотросовой - двухступенчатую раскладку канатиков каждого из концов ленты.

44. Соединение транспортных лент механическим способом допускается только для конвейеров прерывного действия.

45. После осмотра или окончания ремонтных работ транспортерщик обязан убрать с конвейера все инструменты, запчасти и другие посторонние предметы.

46. Пуск транспортерной установки после ремонта в работу транспортерщик должен производить только с разрешения и в присутствии мастера (механика).

Требования безопасности в аварийных ситуациях

 

47. В случае неисправности конвейера (обрыв тяговых приспособлений, обрыв, пробуксовывание, перекос или сход ленты в сторону, застревание кусков материала между разгрузочным лотком и несущим элементом, обнаружения металлических или иных посторонних предметов и т.д.) необходимо подать аварийные световые и звуковые сигналы и отключить конвейерную установку.

Сообщить мастеру о причинах остановки конвейерной установки и не приступать к пуску до устранения неисправности.

48. При несчастных случаях подать сигналы аварийной остановки, остановить работу конвейера и приступить к оказанию доврачебной помощи пострадавшему.

49. Пуск конвейера после аварийной остановки производить только после разрешения мастера или механика в установленном порядке.

Требования безопасности по окончании работы

 

50. После поступления общего сигнала об окончании работы дробильно-сортировочной установки транспортерщик обязан:

- подать установленные световые и звуковые сигналы об окончании приема материалов и окончании работы;

- закончить транспортировку материала, находящегося на конвейерах;

- остановить конвейерную установку;

- осмотреть все узлы конвейерной установки, проверить исправность ленты. Выявленные при осмотре неисправности следует устранить, а в случае невозможности ликвидации их своими силами доложить об этом мастеру. После очистки, осмотра и устранения неисправностей необходимо произвести смазку всех узлов конвейерной установки;

- привести в порядок рабочее место:

убрать просыпи материала, крупные и смерзшиеся массы, ненужные приспособления и посторонние предметы;

- убрать инструмент в специальное место в кабине:

- проверить и привести в порядок индивидуальные предохранительные средства защиты, спецодежду и спецобувь;

- принять душ или вымыть лицо и руки теплой водой с мылом;

- доложить мастеру об окончании работы и работе конвейера в течение смены.

51. При сменной работе дробильно-сортировочной установки, передать смену сменщику, информировать его о работе конвейера, поступающем на конвейер материале, записях в журнале работы конвейерной установки, возможных случаях возникновения аварийной ситуации, нарушениях охраны труда и принятых мерах.

Сдачу и принятие смены производить в присутствии мастера или бригадира.

 

Согласовано:

Центральным комитетом профсоюза работников      

автомобильного транспорта и дорожного хозяйства

 

январь 1994 г.



уроки по алготрейдингу на Python с нуля



Яндекс цитирования

   Copyright © 2008-2026 ,  www.infosait.ru

backtrader - уроки алготрейдинга на python