ИНФОСАЙТ.ру
Госты, стандарты, нормативы. В библиотеке 60000 документов. Регулярное обновление. Круглосуточный бесплатный доступ!
БИБЛИОТЕКА ГОСТОВ, СТАНДАРТОВ И НОРМАТИВОВ

:: АЛГОТРЕЙДИНГ ::


АЛГОТРЕЙДИНГ
шаг за шагом


БЕСПЛАТНЫЕ УРОКИ по созданию торговых роботов на PYTHON с нуля, шаг за шагом.


Минимальные знания на PYTHON.
Библиотеки BackTrader и Pandas, сигналы с Pine Script из TradingView.
Связка с брокерами, телеграм.
Создание простых интерфейсов.

 

Все документы, представленные в каталоге, не являются их официальным изданием и предназначены исключительно для ознакомительных целей. Электронные копии этих документов могут распространяться без всяких ограничений. Вы можете размещать информацию с этого сайта на любом другом сайте.


ГОСТ Р ЕН 257-2004

НАЦИОНАЛЬНЫЙ СТАНДАРТ РОССИЙСКОЙ ФЕДЕРАЦИИ

ТЕРМОСТАТЫ (ТЕРМОРЕГУЛЯТОРЫ)
МЕХАНИЧЕСКИЕ
ДЛЯ ГАЗОВЫХ АППАРАТОВ

Общие технические требования
и методы испытаний

ГОССТАНДАРТ РОССИИ

Москва

Предисловие

1. РАЗРАБОТАН И ВНЕСЕН Техническим комитетом по стандартизации ТК 345 «Аппаратура бытовая, работающая на жидком, твердом и газообразном видах топлива»

2. УТВЕРЖДЕН И ВВЕДЕН В ДЕЙСТВИЕ Постановлением Госстандарта России от 3 февраля 2004 г. № 50-ст

3. Настоящий стандарт представляет собой аутентичный текст европейского стандарта ЕН 257-92 «Механический терморегулятор для газовых приборов» с изменением ЕН 257-92/А1-96

4. ВВЕДЕН ВПЕРВЫЕ

СОДЕРЖАНИЕ

ГОСТ Р ЕН 257-2004

НАЦИОНАЛЬНЫЙ СТАНДАРТ РОССИЙСКОЙ ФЕДЕРАЦИИ

ТЕРМОСТАТЫ (ТЕРМОРЕГУЛЯТОРЫ) МЕХАНИЧЕСКИЕ
ДЛЯ ГАЗОВЫХ АППАРАТОВ

Общие технические требования и методы испытаний

Mechanical thermostats (thermoregulators) for gas appliances.

General technical requirements and test methods

Дата введения 2005-01-01

1. Область применения

Настоящий стандарт устанавливает конструктивные и функциональные требования к механическим терморегуляторам для газовых аппаратов, определяет терминологию, маркировку и методы проведения испытаний.

Стандарт распространяется на механические терморегуляторы (далее - терморегуляторы), которые прямо или косвенно осуществляют регулирование температуры с помощью встроенного газового клапана и не нуждаются в подводе электрической энергии от внешнего источника.

Требования настоящего стандарта применимы к терморегуляторам всех газовых аппаратов, используемых для нагрева или охлаждения, работающих на природном и (или) сжиженном газах.

Настоящий стандарт распространяется на терморегуляторы, которые встраивают в газовые аппараты, устанавливаемые в закрытом помещении.

2. Нормативные ссылки

В настоящем стандарте использованы ссылки на следующие стандарты:

ГОСТ 9.030-74 Единая система защиты от коррозии и старения материалов и изделий. Резины. Методы испытаний на стойкость в ненапряженном состоянии к воздействию жидких агрессивных сред.

ГОСТ 617-90 Трубы медные. Технические условия.

ГОСТ 3262-75 Трубы стальные водогазопроводные. Технические условия.

ГОСТ 6211-81 Основные нормы взаимозаменяемости. Резьба трубная коническая.

ГОСТ 6357-81 Основные нормы взаимозаменяемости. Резьба трубная цилиндрическая.

ГОСТ 12815-80 Фланцы арматуры, соединительных частей и трубопроводов на Ру от 0,1 до 20,0 МПа (от 1 до 200 кгс/см2). Типы. Присоединительные размеры и размеры уплотнительных поверхностей.

ГОСТ 14254-96 (МЭК 529-89) Степени защиты, обеспечиваемые оболочками (Код IP).

ГОСТ 16093-81 Основные нормы взаимозаменяемости. Резьба метрическая. Допуски. Посадки с зазором.

ГОСТ 24705-81 Основные нормы взаимозаменяемости. Резьба метрическая. Основные размеры.

ГОСТ МЭК 730-1-95/ГОСТ Р МЭК 730-1-94 Автоматические электрические управляющие устройства бытового и аналогичного назначения. Общие требования и методы испытаний.

ГОСТ Р МЭК 335-1-94 Безопасность бытовых и аналогичных электрических приборов. Общие требования и методы испытаний.

3. Определения

В настоящем стандарте применяют следующие термины с соответствующими определениями:

3.1 терморегулятор: Устройство, работающее без подвода вспомогательной энергии от внешнего источника, регулирующее температуру в пределах заданного диапазона посредством установки расхода газа, соответствующего температуре датчика.

3.2 Разновидности терморегуляторов

3.2.1 настраиваемый терморегулятор: Терморегулятор, необходимое значение температуры на котором может быть задано пользователем в пределах между минимальным и максимальным значениями.

3.2.2 терморегулятор с фиксированной установкой: Терморегулятор с заранее заданной температурой переключения, которая не может быть изменена пользователем.

3.2.3 двухпозиционный терморегулятор: Терморегулятор, имеющий только две установки расхода «открыто - закрыто», «открыто - малый расход» или «малый расход - закрыто».

3.2.4 терморегулятор непрерывного действия: Терморегулятор, регулирующий расход газа таким образом, чтобы его изменение соответствовало определенному значению температуры.

3.2.5 терморегулятор непрерывного действия с дополнительным двухпозиционным режимом работы: Терморегулятор, который между положениями «закрыто» и «малый расход» работает как двухпозиционный регулятор, а между положениями «малый расход» и «открыто» работает как терморегулятор непрерывного действия.

3.3 исполнительный элемент: Подвижная деталь, которая изменяет расход газа через терморегулятор.

3.4 вентиляционное отверстие: Отверстие, с помощью которого в пространстве с переменным объемом поддерживается атмосферное давление.

3.5 устройство предварительной настройки: Устройство, с помощью которого предварительную настройку режимов работы может осуществлять только специалист. Это устройство может иметь тип нерегулируемой или свободной настройки: если, например, расход газа регулируется, то для этого используется либо отверстие, либо регулировочный винт.

3.6 устройство предварительной настройки с фиксированной установкой: Нерегулируемое устройство предварительной настройки, например фиксированный байпас, который обеспечивает минимальный расход газа через терморегулятор.

3.7 устройство настройки байпаса: Регулировочный винт или сменная диафрагма, которые устанавливают минимальный расход газа через терморегулятор; доступ к диафрагме может быть осуществлен только с помощью специального инструмента.

3.8 температурный датчик: Устройство, которое измеряет температуру регулируемой или контролируемой среды.

3.9 Герметичность

3.9.1 внешняя герметичность: Герметичность внутреннего газопроводящего пространства по отношению к атмосфере.

3.9.2 внутренняя герметичность (терморегулятор с нулевой герметизацией): Герметичность исполнительного элемента, находящегося в закрытом положении и уплотняющего газопроводящее пространство по отношению к другому пространству или выходному отверстию. Внутренняя герметичность характеризует суммарную утечку исполнительных элементов в закрытом состоянии.

3.10 Давление

3.10.1 Общие сведения

Все виды давления представляют собой статическое избыточное давление по отношению к атмосферному давлению, измеренному под прямым углом к направлению потока газа.

3.10.2 входное давление: Давление на входе терморегулятора.

3.10.3 максимальное рабочее давление: Наибольшее давление на входе, указанное изготовителем, при котором разрешается использовать терморегулятор.

3.10.4 минимальное рабочее давление: Наименьшее давление на входе, указанное изготовителем, при котором разрешается использовать терморегулятор.

3.10.5 выходное давление: Давление на выходе терморегулятора.

3.10.6 испытательное давление: Давление, при котором проводят испытания.

3.10.7 перепад давления: Разность между давлениями на входе и выходе терморегулятора при полностью открытом исполнительном элементе.

3.11 расход: Объем воздуха, проходящий через терморегулятор в единицу времени.

3.12 номинальный расход: Расход воздуха, заданный изготовителем для стандартных значений температуры и давления, при перепаде давления, равном 0,25 кПа, и полностью открытом исполнительном элементе.

3.13 эксплуатационная характеристика: Графическое представление расхода как функции от температуры датчика при заданной температуре.

3.14 механический люфт: Разность между углами положения установочной ручки, соответствующая калибровочному расходу воздуха крана при постоянной температуре датчика, при установке ручки из положения «закрыто» и положения «максимально открыто».

3.15 максимальная частота переключений: Задаваемое изготовителем количество циклов переключений в единицу времени, которое нельзя превышать во время работы устройства.

3.16 монтажное(-ые) положение(-ия): Задаваемое(-ые) изготовителем положение(-ия) для монтажа терморегулятора.

3.17 установочная ручка (или винт): Деталь терморегулятора, которую используют для установки температуры.

3.18 Температура

3.18.1 максимальная температура окружающей среды: Максимально допустимая температура окружающего воздуха, задаваемая изготовителем, при которой разрешается эксплуатация терморегулятора.

3.18.2 минимальная температура окружающей среды: Минимально допустимая температура окружающего воздуха, задаваемая изготовителем, при которой разрешается эксплуатация терморегулятора.

3.18.3 температурная установка: Любое значение температуры, выбранное в пределах диапазона регулирования терморегулятора.

3.18.4 диапазон температурных установок: Регулируемый диапазон, расположенный между минимальным и максимальным значениями температуры (задается с помощью установочной ручки).

3.18.5 калибровочный расход: Расход, заданный изготовителем, для выполнения регулирования.

3.18.6 установка калибровки: Значение температуры, при которой должен достигаться (обеспечиваться) калибровочный расход при перемещении установочной ручки из данного изготовителем положения в указанном направлении.

3.18.7 разность между температурами включения и выключения: Разность между температурами, которая необходима для изменения расхода при заданной установке.

3.19 отклонение при регулировке: Максимальное указанное изготовителем отклонение от заданного значения температуры.

3.20 дрейф: Продолжительное смещение характеристики терморегулятора.

3.21 стандартные условия: Температура окружающей среды 15 °С, атмосферное давление 101,3 кПа.

4. Классификация

4.1 Группы терморегуляторов

Терморегуляторы по устойчивости к изгибающей нагрузке, которую они должны выдерживать, подразделяют на группы:

- группа 1 - терморегуляторы, предназначенные для установки без воздействия на них изгибающих моментов от трубопроводов, например при помощи крепления их на кронштейнах;

- группа 2 - терморегуляторы, предназначенные для установки снаружи или внутри аппарата без дополнительного крепления.

Терморегулятор, удовлетворяющий требованиям группы 2, также удовлетворяет требованиям, предъявляемым к терморегуляторам группы 1.

5. Технические требования

5.1 Требования к конструкции

5.1.1 Механические терморегуляторы должны быть спроектированы, изготовлены и собраны таким образом, чтобы при установке и эксплуатации в соответствии с указаниями изготовителя они нормально функционировали.

5.1.2 Терморегуляторы не должны иметь острых углов и ребер, которые могут вызвать повреждение, травму или неправильную работу.

5.1.3 Отверстия для винтов, штифтов и т.п., используемых для монтажа деталей и их крепления, не должны выходить в газосодержащую полость.

Толщина стенок между этими отверстиями и газовыми каналами - не менее 1 мм.

5.1.4 Технологические отверстия, соединяющие газосодержащие полости с атмосферой, но не влияющие на работу терморегулятора, должны быть надежно герметизированы металлом.

При этом дополнительно можно использовать подходящий уплотняющий материал.

5.1.5 Герметичность соединений деталей терморегулятора, которые подвергаются воздействию при выполнении технического обслуживания, установки и замены, должна быть обеспечена в соответствии с требованиями 6.2 механическими средствами (например, с помощью уплотнения «металл - металл», уплотнительных колец). При этом исключается возможность использования таких уплотнительных материалов, как жидкие материалы, пасты и ленты. Герметичность должна быть обеспечена после каждой новой разборки и сборки.

Уплотнительные средства, применяемые для свободных соединений, должны оставаться эффективными при нормальных условиях эксплуатации.

Уплотнения, которые при выполнении технического обслуживания, установки и замены нельзя ослаблять, должны быть маркированы таким образом (например, с помощью лака), чтобы была очевидность невмешательства в конструкцию.

5.1.6 Детали, которые подвергают демонтажу (например, для выполнения технического обслуживания), необходимо демонтировать и устанавливать с использованием соответствующих инструментов.

Конструкция или маркировка съемных деталей должна исключать их неправильную сборку во время повторной сборки.

Если в соответствии с указаниями изготовителя терморегулятор должен быть демонтирован для проведения технического обслуживания, то подобное действие не должно приводить к изменению его настройки.

Винтовые соединения, которые можно ослаблять при выполнении технического обслуживания, должны иметь метрическую резьбу по ГОСТ 24705 (допуски на резьбу по ГОСТ 16093), если для обеспечения безупречного функционирования и установки терморегулятора не предусмотрено использование резьбы другого типа.

Не допускается применять самонарезающие винты, образующие стружку, для соединений газосодержащих или съемных деталей, которые следует демонтировать при техническом обслуживании.

Допускается применять самонарезающие винты, не образующие стружку. При необходимости допускается заменять эти винты на винты с метрической резьбой по ГОСТ 24705.

5.1.7 Монтаж устройства предварительной настройки следует осуществлять только с помощью специального инструмента. К устройству должен быть обеспечен свободный доступ, его установка не должна изменяться самопроизвольно.

Устройство предварительной настройки, соединяющее газосодержащую полость с атмосферой, должно быть герметизировано, например уплотнительным кольцом.

Устройство предварительной настройки не должно попадать в газосодержание полости терморегулятора. Если защита от атмосферного воздействия выполняется с помощью уплотнительного кольца или аналогичного приспособления, то при демонтаже устройство предварительной настройки не должно быть вытеснено давлением газа в соответствии с 7.2, терморегулятор должен оставаться герметичным.

Если устройство предварительной настройки используют для различных семейств (групп) газов, то оно должно иметь нерегулируемое минимальное отверстие.

Колпачки устройств предварительной настройки следует надевать и снимать специальным инструментом, они не должны влиять на установку температурного диапазона.

5.1.8 Случайные смещения подвижных деталей не должны наносить ущерб работе других частей терморегулятора.

5.1.9 Вентиляционные отверстия терморегулятора с мембранами, не подключенными к продувочному трубопроводу, должны быть рассчитаны таким образом, чтобы при повреждении мембраны при максимальном рабочем давлении скорость утечки не превысила 70 дм3/ч.

Это требование считается выполненным, если при максимальном рабочем давлении газа 3,0 кПа диаметр вентиляционного отверстия не превышает 0,7 мм.

Вентиляционные отверстия должны быть защищены от засорения и расположены так, чтобы их нельзя было легко закрыть. Мембрана не должна быть повреждена при попадании через вентиляционные отверстия острых предметов.

5.2 Требования к материалам

5.2.1 Общие требования к материалам

Материалы и покрытия деталей, методы сборки узлов терморегулятора должны обеспечивать их надежную и безопасную работу в период установленного срока службы при соблюдении указанных разработчиком условий эксплуатации, периодическом обслуживании и предусмотренных регулировках.

5.2.2 Цинковые сплавы

Цинковые сплавы разрешается применять для деталей терморегулятора с входным отверстием номинальным диаметром до 50 мм при максимальном рабочем давлении 20,0 кПа, если температура нагрева деталей не превышает 80 °С.

Для резьбовых соединений основных входных и выходных отверстий на деталях из цинковых сплавов разрешается только наружная резьба.

5.2.3 Корпус

Детали корпуса, непосредственно отделяющие газосодержащие полости терморегулятора от окружающей атмосферы, должны быть изготовлены из металла.

Допускается изготовлять детали корпуса из неметаллических материалов при условии, что после разрушения этих деталей скорость утечки воздуха не превысит 30 дм3/ч при максимальном рабочем давлении.

Требования не распространяются на уплотнительные кольца, прокладки и другие виды уплотнений.

5.2.4 Защита от коррозии

Пружины и другие детали, которые входят в контакт с газом или окружающей атмосферой, должны быть изготовлены из коррозионно-стойких материалов или должны иметь антикоррозионное покрытие.

Защитное покрытие пружин и других перемещающихся деталей не должно быть повреждено при эксплуатации.

5.2.5 Пропитка

В конструкции терморегулятора допускается применение соответствующих уплотняющих материалов с использованием вакуумной пропитки или пропитки под давлением.

5.3 Присоединительные элементы

5.3.1 Общие сведения

Соединения терморегуляторов с трубопроводами могут быть резьбовыми или фланцевыми.

Размеры присоединительных элементов приведены в таблице 1.

Таблица 1 - Присоединительные элементы

Номинальный диаметр входного отверстия DN, мм

Обозначение резьбы по ГОСТ 6211, ГОСТ 6357, дюймы

Условный проход фланцевого соединения по ГОСТ 12815, мм

6

1/8

6

8

1/4

8

10

3/8

10

15

1/2

15

20

3/4

20

25

1

25

32

1 1/4

32

40

1 1/2

40

50

2

50

5.3.2 Резьбовые соединения

5.3.2.1 Соединение терморегуляторов с трубопроводами следует осуществлять инструментом, обеспечивающим удобство монтажа.

5.3.2.2 Если на входе и выходе из терморегулятора имеется трубная резьба, то она должна соответствовать ГОСТ 6211 или ГОСТ 6357.

5.3.3 Фланцы

Присоединительные фланцы по ГОСТ 12815.

Допускаются фланцы другой конструкции, других исполнений уплотнительных поверхностей с обязательным соблюдением присоединительных размеров.

5.3.4 Резьбовые трубные соединения

Для трубных соединений допускается использовать медные трубы по ГОСТ 617. Перед выполнением соединения у монтажника не должно возникать необходимости в изменении формы трубы. Материал и размеры стяжных колец должны подходить для тех труб, для которых они используются. Несимметричные стяжные кольца можно применять только в тех случаях, когда исключена возможность неправильной сборки.

5.4 Сальниковые уплотнения для движущихся деталей

Уплотнения движущихся деталей, которые выходят из корпуса в атмосферу, и уплотнения исполнительного элемента следует изготовлять из прочных материалов, которые не деформируются в течение длительного времени. Сальники, регулируемые вручную, не следует использовать для уплотнения движущихся деталей. Устанавливаемый изготовителем сальник, который имеет блокировку регулировки и не должен устанавливаться снова, не считается регулируемым.

Применение сильфона в качестве единственного элемента уплотнения по отношению к атмосфере является недопустимым.

5.5 Штуцеры для измерения давления

Штуцеры для измерения давления (при их наличии) должны иметь наружный диаметр, равный 9-0,5 мм, и полезную длину не менее 10 мм для присоединения шланга присоединительного прибора. Диаметр отверстия - не более 1 мм.

5.6 Электрическое оборудование

5.6.1 Общие требования к электрическому оборудованию - согласно ГОСТ МЭК 730-1, раздел 9.

5.6.2 Требования к изоляционным материалам, токопроводящим деталям и неразъемным соединениям - согласно ГОСТ МЭК 730-1, 11.1.

5.6.3 Требования к контактной защите - по ГОСТ МЭК 730-1, раздел 8, 11.2.

5.6.4 Степень защиты терморегулятора указывает изготовитель в соответствии с ГОСТ 14254.

5.6.5 Требования к вводным отверстиям - по ГОСТ МЭК 730-1, 11.9.

5.6.6 Требования к путям утечки, границам, допускам и расстояниям по изоляции - по ГОСТ МЭК 730-1, 20.1 и 20.2.

5.6.7 Требования к электрическим подключениям - согласно ГОСТ Р МЭК 335-1, приложение В.

5.6.8 Электрические подключения могут быть выполнены в следующих вариантах:

- винтовые клеммы;

- невинтовые клеммы;

- штеккерные соединения.

5.6.9 Требования к сопротивлению изоляции и электрической прочности - по ГОСТ МЭК 730-1, 13.1 и 13.2.

Проверку соответствия вышеуказанным требованиям проводят после испытаний на влагостойкость по ГОСТ МЭК 730-1, 2.2.

5.7 Характеристика расхода

Байпас для малого расхода следует устанавливать с помощью регулируемого или нерегулируемого устройства предварительной настройки.

Байпас или устройство установки байпаса должно обеспечивать доступ для выполнения чистки без изменения калибровочной температурной установки.

Открытие и закрытие исполнительного элемента терморегулятора должно выполняться между положением «закрыто» и положением «малый расход».

Характеристики терморегулятора непрерывного действия, двухпозиционного терморегулятора и терморегулятора непрерывного действия с двухпозиционным режимом приведены на рисунке 2.

Значение расхода в момент быстрого переключения не должно быть меньше значения, заданного изготовителем.

5.8 Установка температуры

5.8.1 Установка диапазона

Крайние положения диапазона температурных установок должны иметь ограничители. Там, где это является существенным, изготовитель должен задавать границы, в пределах которых можно устанавливать температурный диапазон с помощью соответствующего инструмента. Ограничители температурного диапазона не могут самопроизвольно изменять свое положение.

5.8.2 Температурные установки

Если установочную ручку поставляют вместе с терморегулятором, то место ее расположения должно быть легко различимо. Должно быть обозначено, в каком направлении вращения происходит повышение или понижение температуры. Если на ручке расположены числа, то возрастающая последовательность чисел должна указывать на повышение температуры, в отличие от регулирования температуры в холодильнике, где возрастающая последовательность чисел должна указывать на понижение температуры.

В пределах заданного изготовителем диапазона температуры окружающей среды должна быть предусмотрена возможность выбора каждой установки во всем температурном диапазоне путем настройки положения установочной ручки или регулировочного винта.

Детали механизма настройки температурной установки не должны самопроизвольно изменять свое положение.

5.8.3 Терморегулятор с фиксированной установкой

Если терморегулятор с фиксированной установкой имеет устройство настройки, то оно должно быть опечатано (например, с помощью лака).

6. Требования назначения

6.1 Размещение терморегулятора

Функционирование терморегулятора в процессе проведения испытаний в соответствии с условиями раздела 7 должно быть удовлетворительным во всех положениях терморегулятора, указанных изготовителем.

6.2 Герметичность

6.2.1 Терморегулятор должен быть герметичным.

Терморегулятор считают герметичным в том случае, если значения скорости утечки не превышают значений, приведенных в таблице 2, при проведении испытаний по 7.2.

Таблица 2 - Значения максимально допустимой скорости утечки

Номинальный диаметр входного отверстия DN, мм

Максимально допустимая скорость утечки воздуха (см3/ч)

Наружная герметичность

Внутренняя герметичность1)

DN < 10

20

60

10 £ DN £ 15

40

60

15 £ DN £ 25

40

80

25 < DN £ 50

60

120

1) Для терморегуляторов с нулевой герметизацией.

6.2.2 При проведении испытаний по 7.2.2 герметичность соединений терморегулятора должна обеспечиваться после двухкратной разборки и сборки.

6.3 Заданное калибровочное значение

При проведении испытаний по 7.3 отклонение заданного калибровочного значения при постоянной температуре окружающей среды не должно превышать значения, указанного изготовителем.

6.4 Точность установки

Механический люфт при проведении испытаний устройства по 7.4 не должен превышать 5 %.

6.5 Скорость открытия двухпозиционного терморегулятора

Общий расход воздуха двухпозиционного терморегулятора или терморегулятора непрерывного действия, или терморегулятора непрерывного действия с двухпозиционным режимом работы за период времени от момента быстрого переключения до момента начала закрытия не должен превышать 1 дм3 при проведении испытаний по 7.5.

6.6 Диапазон рабочих давлений терморегулятора

Терморегулятор должен открываться и закрываться между минимальным значением давления и значением давления, равным 1,2-кратному максимальному рабочему давлению, заданному изготовителем, по крайней мере, при максимально допустимом давлении, равном 5,0 кПа, при проведении испытания по 7.6.

6.7 Номинальный и минимальный расход

Номинальный расход и значение минимального расхода следует измерять в соответствии с 7.7. Номинальный расход (3.12) должен составлять не менее 90 % расхода, указанного изготовителем.

Минимальный расход должен быть установлен для настраиваемого терморегулятора в пределах всего диапазона, заданного изготовителем. Для терморегуляторов с фиксированной установкой расход в минимальном положении должен находиться в пределах, заданных изготовителем.

6.8 Эксплуатационные характеристики терморегулятора

При проведении испытаний в соответствии с 7.8 проверяют:

- значение расхода воздуха внутри диапазона, заданного изготовителем, с учетом отклонения;

- разность между температурами включения и выключения двухпозиционного терморегулятора или терморегулятора непрерывного действия с двухпозиционным режимом работы в пределах диапазона, заданного изготовителем;

- границы пропорционального регулирования в пределах диапазона, заданного изготовителем.

6.9 Температура

6.9.1 Диапазон температур окружающей среды корпуса терморегулятора

Терморегулятор должен быть работоспособным в диапазоне температур окружающей среды, заданном изготовителем.

Максимальное значение температуры окружающей среды - не менее плюс 60 °С,

минимальное значение температуры окружающей среды - не выше 0 °С.

Отклонение температурной установки вследствие изменения температуры корпуса терморегулятора не должно превышать максимального значения, заданного изготовителем, при проведении испытаний по 7.9.1.

6.9.2 Влияние температур хранения и транспортирования

При проведении испытаний устройства в соответствии с 7.9.2 терморегулятор должен выдерживать окружающую температуру от минус 15 °С до плюс 60 °С, оставаясь при этом в пределах допусков, заданных изготовителем.

Область температур окружающей среды для терморегуляторов отопительных и охлаждающих аппаратов должна быть от минус 40 °С до плюс 50 °С.

6.9.3 Термическая перегрузка температурного датчика

Температурный датчик должен выдерживать термические перегрузки, составляющие 15 % температурного диапазона, но не менее чем на 25 °С выше своей максимальной рабочей температуры, при этом терморегулятор должен оставаться в пределах допусков, заданных изготовителем, при проведении испытаний по 7.9.3

Допускается термическая перегрузка температурного датчика до 110 °С, если она задана изготовителем и датчик используется при нагревании воды, отоплении помещений и в холодильных установках.

6.10 Момент вращения установочной ручки (или винта)

При проведении испытаний терморегуляторов в соответствии с 7.01 вращающий момент, требуемый для поворота установочной ручки (или винта) из закрытого положения или в закрытое положение, должен быть не более 0,5 Н∙м.

6.11 Крутящий и изгибающий моменты

6.11.1 Общие сведения

Терморегулятор должен быть выполнен таким образом, чтобы он был в состоянии выдерживать механические нагрузки, которые будут воздействовать на него во время установки и функционирования.

6.11.2 Крутящий момент (терморегуляторы групп 1 и 2 с резьбовыми соединениями)

Испытания терморегуляторов проводят по методике в соответствии с 7.11.2 с применением крутящего момента, значения которого приведены в таблице 3. После испытаний не допускается остаточная деформация терморегуляторов, а скорость утечки не должна превышать максимально допустимое значение, приведенное в 6.2.

6.11.3 Крутящий момент (терморегуляторы групп 1 и 2 с трубными соединениями)

Испытания терморегуляторов проводят в соответствии с 7.11.3 с применением крутящего момента, значения которого приведены в таблице 3. После испытаний не допускается остаточная деформация терморегуляторов, а скорость утечки не должна превышать максимально допустимое значение, приведенное в 6.2.

6.11.4 Изгибающий момент

Испытания терморегуляторов проводят в соответствии с 7.11.4.1 с применением изгибающего момента, значения которого приведены в таблице 3. После испытаний не допускается остаточная деформация терморегуляторов, а скорость утечки не должна превышать максимально допустимое значение, приведенное в 6.2. Для терморегуляторов группы 1 проводят дополнительное испытание в соответствии с 7.11.4.2.

Испытание изгибающим моментом не распространяется на терморегуляторы с фланцево-хомутовыми и клеммно-хомутовыми соединениями на входе газа в случае их соединения с газовыми коллекторами кухонных приборов.

6.11.5 Терморегуляторы с входными и выходными соединениями различного номинального диаметра

Для терморегуляторов группы 1, входные и выходные соединения которых имеют различные номинальные диаметры, каждое соединение испытывают в соответствии с 7.11.5 с применением крутящих и изгибающих моментов, значения которых приведены в таблице 3.

Таблица 3

Номинальный диаметр впускного отверстия DN1), мм

Крутящий момент2), Н∙м, для групп 1 и 2

Изгибающий момент, Н∙м, для группы

1

2

Время приложения нагрузки, с

10

10

900

10

6

15 (7)

15

7

25

8

20 (10)

20

10

35

10

35 (15)

35

20

70

15

50 (15)

70

40

105

20

85

90

50

225

25

125

160

80

340

32

160

260

130

475

40

200

350

175

610

50

250

520

260

1100

1) Соответствующие размеры элементов соединения приведены в таблице 1.

2) Значения, указанные в скобках, необходимо использовать при проведении испытаний терморегуляторов с фланцево-хомутовыми и клеммно-хомутовыми соединениями на входе газа в случае их соединения с газовыми коллекторами кухонных приборов.

6.12 Стойкость

6.12.1 Неметаллические материалы

6.12.1.1 Общие сведения

Неметаллические материалы, используемые для изготовления уплотнений и мембран, применяемых в терморегуляторах, должны быть однородными, не должны содержать «пузырей», пористых участков и посторонних включений. При визуальном контроле дефекты поверхности не допускаются.

6.12.1.2 Маслостойкость

Стойкость неметаллических материалов к воздействию смазочных материалов проверяют погружением в испытательное масло в соответствии с 7.12.1.2. После испытаний изменение массы - от минус 10 % до плюс 10 %.

6.12.1.3 Газостойкость

Стойкость неметаллических материалов к воздействию углеводородных газов проверяют погружением в пентан. После этого испытания изменение массы образца должно быть от минус 5 % до плюс 10 %.

6.12.2 Маркировка

Наклеивающиеся этикетки и все другие виды маркировки (8.1) должны быть стойкими к трению, влажности, температуре и не должны отклеиваться и обесцвечиваться. В особенности это касается маркировки на ручке, которая подвержена истиранию в результате воздействия руки пользователя.

Проверку соответствия маркировки приведенным требованиям следует осуществлять в соответствии с 7.12.2.

6.12.3 Работоспособность

После проведения механических и термических циклов переключения в соответствии с 7.12.3 терморегулятор должен быть работоспособным.

6.12.4 Прочность лакокрасочного покрытия

Поверхности, защищенные только лакокрасочным покрытием, должны выдерживать испытание на прочность по 7.12.4 до и после испытания на влагостойкость (7.12.5) без проникания шарика сквозь защитный слой краски до обнаженного металла.

6.12.5 Влагостойкость

Материалы и покрытия деталей и узлов терморегулятора должны выдерживать испытание на влагостойкость в соответствии с 7.12.5, при этом любые признаки коррозии, отслоения или вспучивания, видимые невооруженным глазом, не допускаются.

7. Методы испытаний

7.1 Общие сведения

7.1.1 Предмет и последовательность проведения испытаний

Предприятие-изготовитель представляет на испытания три образца терморегуляторов. Испытания проводят в последовательности, изложенной в таблице 4.

Таблица 4 - Последовательность проведения испытаний

Пункт требований

Проверяемый параметр

6.2/7.2

Герметичность (за исключением 5.2.3/7.2.4)

6.9.2/7.9.2

Влияние температуры хранения и температуры транспортирования

6.9.2/7.9.3

Термическая перегрузка температурного датчика

6.3/7.3

Установка калибровки

6.9.1/7.9.1

Диапазон температуры среды, окружающей корпус терморегулятора

6.4/7.4

Механический зазор

6.7/7.7

Номинальный расход и расход при минимальной установке

6.8/7.8

Эксплуатационные характеристики терморегулятора

6.5/7.5

Открытие двухпозиционного терморегулятора с нулевой герметизацией

6.6/7.6

Давление открытия и давление закрытия терморегулятора

6.10/7.10

Момент приведения в действие установочной ручки

6.11/7.11

Крутящий и изгибающий моменты

6.2/7.2

Герметичность (за исключением 5.2.3/7.2.4)

6.12.3/7.12.3.1

Работоспособность

6.12.3/7.12.3.2

Температурная цикличность

6.10/7.10

Момент приведения в действие установочной ручки

6.4/7.4

Механический зазор

6.2/7.2

Герметичность (за исключением 5.2.3/7.2.4)

6.3/7.3

Установка калибровки

6.12.4/7.12.4;

6.12.5/7.12.5

Механическая прочность покрытия и влагостойкость

7.9.4

Контроль калибровки

5.2.3/7.2.4

Неметаллические части корпуса (герметичность)

Примечание - Терморегуляторы, которые при замене деталей могут перестраиваться на другие газы, следует поставлять с этими деталями.

7.1.2 Проведение испытаний

Испытания терморегуляторов проводят сухим воздухом температурой (20 ± 5) °С при температуре окружающей среды (20 ± 5) °С, если иные условия не указаны изготовителем.

Все измеренные значения расхода воздуха следует привести к стандартным условиям: температура 15 °С, давление 101,325 кПа, воздух - сухой.

7.1.3 Монтажное положение

Испытания терморегуляторов проводят в монтажном положении, указанном изготовителем. Если указано несколько монтажных положений, то испытания проводят в наименее благоприятном положении, чтобы проверить выполнение требований 6.1.

7.2 Герметичность

7.2.1 Проверку герметичности следует проводить:

- для испытательного давления до 15 кПа включительно - объемным методом (приложение А);

- для испытательного давления более 15 кПа - методом падения давления (приложение Б).

При испытании на герметичность выход терморегулятора подключают к устройству для проверки герметичности. Воздух подают на вход терморегулятора. Испытания выполняют сначала при давлении 0,6 кПа, а затем при 1,5-кратном максимальном рабочем давлении, но не менее 15 кПа.

Для терморегуляторов, предназначенных для газов третьего семейства (сжиженных) номинальным давлением 11,2 или 14,8 кПа, испытательное давление должно быть не менее 22 кПа.

Предельно допустимая погрешность измерения устройств для проверки герметичности не должна превышать 1 см3 (объемный метод) или 10 Па (метод падения давления).

Точность измерения утечки - в пределах 5 см3/ч.

Допускается использование других методов определения герметичности, обеспечивающих необходимую точность измерения.

Пересчет данных измерений утечки методом падения давления в интенсивность утечки приведен в приложении В.

7.2.2 Наружная герметичность

На вход терморегулятора подают испытательное давление в соответствии с 7.2.1 и измеряют утечку.

Повторную проверку наружной герметичности (6.2.2) проводят после двухкратной разборки и сборки терморегулятора.

7.2.3 Внутренняя герметичность в закрытом состоянии

Это испытание следует проводить только для терморегуляторов с нулевой герметизацией. Установочная ручка должна быть расположена посередине температурного диапазона, а температурный датчик должен постепенно нагреваться (при регулировке холодильных установок - охлаждаться) при закрытом положении исполнительного элемента. После этого температуру датчика увеличивают (для холодильной установки - уменьшают) на значение, составляющее 10 % заданного значения температурного диапазона терморегулятора.

Проверяют герметичность терморегулятора испытательным давлением, подаваемым в указанном для газового потока направлении.

7.2.4 Герметичность при разрушении неметаллических деталей корпуса

Если терморегулятор содержит неметаллические детали корпуса, то эти детали удаляют или разрушают и измеряют скорость утечки, которая не должна превышать значение, приведенное в 5.2.3. Это испытание является завершающим (таблица 4), так как терморегулятор подвергается разрушению.

7.3 Установка калибровки

Корпус должен находиться при температуре окружающей среды (20 ± 2) °С, а установочную ручку следует поворачивать в направлении установки, указанном изготовителем. Характеристика терморегулятора - в соответствии с 7.8.

7.4 Механический люфт

Температуру датчика следует поддерживать постоянной, соответствующей примерно среднему значению температурного диапазона.

Давление воздуха на входе в терморегулятор поддерживают равным 2,0 кПа. Когда все исполнительные элементы находятся в полностью открытом состоянии, перепад давления должен быть равен 0,25 кПа.

При проведении испытаний температуру среды, окружающей корпус терморегулятора, следует поддерживать постоянной, с допуском ±1 °С.

Установочную ручку (винт) поворачивают от минимальной температурной установки до достижения калибровочного значения расхода. Это положение фиксируют. Установочную ручку (винт) поворачивают далее до достижения максимального расхода воздуха, затем поворачивают в обратную сторону до повторного достижения калибровочного расхода. Это положение фиксируют. Измеряют механический люфт - угловую разность между двумя положениями установочной ручки.

Данное испытание распространяется только на регуляторы непрерывного действия.

7.5 Скорость открытия двухпозиционного регулятора

На терморегулятор подается воздух давлением 2,0 кПа. При полностью открытых исполнительных элементах перепад давления должен быть 0,25 кПа.

При проведении испытаний температуру среды, окружающей корпус терморегулятора, следует поддерживать постоянной, с допуском ±1 °С.

Терморегулятор должен быть настроен изготовителем. Температурный датчик погружают в ванну с водой, температура которой увеличивается со скоростью 0,5 °С/мин, до момента закрытия исполнительного элемента. Затем температура уменьшается со скоростью 0,5 °С/мин до тех пор, пока терморегулятор не будет быстро открыт. В процессе уменьшения температуры измеряют полный расход от знамения температуры, при которой происходит быстрое переключение, до значения температуры, при которой начал закрываться исполнительный механизм.

При проверке терморегулятора холодильной установки указанные температурные изменения происходят в обратном порядке.

7.6 Давление открытия и закрытия терморегулятора с нулевой герметизацией

На вход терморегулятора с помощью устройства, изображенного на рисунке 1, подают воздух давлением, равным 1,2-кратному максимально допустимому рабочему давлению, но не менее 5,0 кПа. Падение давления при полностью открытом исполнительном элементе устанавливают 0,25 кПа. Выполняют проверку свободного открытия и закрытия исполнительного элемента при изменении температуры датчика.

7.7 Номинальный расход воздуха и минимальный расход воздуха

Номинальный расход воздуха и расход при минимальной настройке определяют по характеристике, указанной в 7.8.

Для приведения измеренного расхода qn, м3/ч, к стандартным условиям используют формулу

,                                                   (1)

где q - измеренное значение расхода, м3/час;

Р - испытательное давление, кПа;

Ра - атмосферное давление, кПа;

t - температура воздуха, °С.

Приведенные значения номинального расхода воздуха и расхода при минимальной настройке должны соответствовать требованиям 6.7.

7.8 Эксплуатационные характеристики терморегулятора

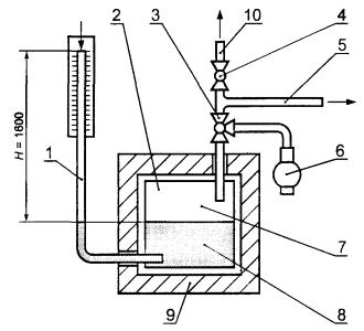
Испытания проводят при давлении воздуха на входе в терморегулятор, равном 2,0 кПа, на стенде, схема которого приведена на рисунке 1.

Погрешность измерения расхода воздуха ±2 %.

Регулирующим краном (позиция 8) устанавливают перепад давления, равный 0,25 кПа, при открытом исполнительном элементе. В процессе испытаний изменение давления не допускается.

Измеренный расход сравнивают с номинальным расходом, указанным изготовителем.

Терморегулятор непрерывного действия настраивают на минимальный расход воздуха, равный 20 % максимального расхода или на расход, указанный изготовителем, при закрытом исполнительном элементе.

В процессе проведения испытаний изменение настройки не допускается.

Строят кривые зависимости расхода воздуха от температуры (рисунок 2) для минимальных и максимальных температурных установок сначала при понижении температуры, а затем при ее повышении. Таким же образом строят кривую для установки калибровки, если она отличается от минимальной или максимальной температурной установки (7.3).

Для каждой температурной установки выбирают потенциально максимальный расход из значений, измеренных при данной установке.

В области пропорционального регулирования или в диапазоне регулирования по разности между температурами включения и выключения терморегулятора скорость изменения температуры должна составлять максимум 1 °С в минуту.

Для определения области пропорционального регулирования через две точки характеристической кривой, соответствующие 75 % и 25 % номинального расхода, проводят прямую линию. Эта прямая линия экстраполируется от минимального расхода А до номинального расхода В рисунки 2а) и 2в).

Область пропорционального регулирования Хр представляет собой разность температур между А и В, рисунки 2а) и 2в).

1 - регулятор давления; 2 - термометр; 3 - расходомер; 4, 5 - манометры; 6 - дифференциональный манометр; 7 - испытуемый образец; 8 - регулировочный кран; 9 - температурный датчик; 10 - камера с регулируемой температурой

В миллиметрах

Номинальный диаметр входного отверстия DN

Внутренний диаметр dBН

6

6

8

9

10

13

15

16

20

22

25

28

32

35

40

41

50

52

Рисунок 1 - Стенд для измерения расхода

Хр1, Хр2 - область пропорционального регулирования

а - терморегулятор непрерывного действия

Usd1, Usd2 - дифференцная температура

б - двухпозиционный терморегулятор

в - терморегулятор непрерывного действия с двухпозиционным регулированием

Рисунок 2 - Типовые характеристики терморегуляторов

Дифференциал температуры Usd для двухпозиционного терморегулятора показан на рисунке 2б).

7.9 Температура

7.9.1 Диапазон температуры среды, окружающей корпус терморегулятора

После проведения испытаний по 7.3 терморегулятор помешают в климатическую камеру и устанавливают максимальную температуру, указанную изготовителем, но не менее (60±2) °С.

Установку калибровки определяют по достижении установившегося температурного режима по 7.9.4.

7.9.2 Влияние температуры хранения и температуры транспортирования

Терморегулятор, включая капиллярные трубки и датчик, выдерживают в климатической камере в течение 2 ч при температуре минус (15 ± 2) °С, а затем в течение 2 ч либо при температуре (60 ± 2) °С, либо, в случае регулирования системы отопления помещений или холодильных установок, при температуре (50 ± 2) °С.

После охлаждения терморегулятора до температуры помещения проверяют установку калибровки в соответствии с 7.9.4.

7.9.3 Термическая перегрузка температурного датчика

Терморегулятор устанавливают на максимальную установку. Температурный датчик в течение часа находится в состоянии термической перегрузки в соответствии с 6.9.3, при этом температуру корпуса терморегулятора устанавливают равной температуре помещения. После этого контролируют установку калибровки в соответствии с 7.9.4.

7.9.4 Контроль калибровки

При положении установочной ручки согласно 7.3 определяют изменение калибровки в соответствии с 7.8.

7.10 Момент приведения в действие установочной ручки

Момент вращения измеряют динамометрическим ключом с точностью измерения ±10 % при угловой скорости движения 1,5 °/с.

Момент вращения измеряют при температуре терморегулятора, соответствующей его максимальной рабочей температуре, и при температуре окружающей среды. Каждое испытание состоит из пяти измерений. За окончательный результат принимают максимальное измеренное значение.

7.11 Крутящий и изгибающий моменты

7.11.1 Общие положения

Трубы, используемые для проведения испытаний в соответствии с 7.11.2 и 7.11.3, должны соответствовать требованиям ГОСТ 3262, а их минимальная длина должна в 40 раз превышать их номинальный диаметр.

Для уплотнения соединения терморегулятора с испытательными трубами применяют только незатвердевающие герметизирующие материалы.

Испытания фланцевых соединений следует проводить аналогично испытаниям резьбовых соединений.

Крутящий момент, необходимый для затяжки болтов фланцевого соединения, - по таблице 5.

Таблица 5 - Крутящий момент затягивания фланцевых болтов по ГОСТ 12815

Номинальный диаметр входного отверстия DN, мм

6

8

10

15

20

25

32

40

50

Крутящий момент, Н∙м

20

30

50

Перед следующим испытанием необходимо проконтролировать наружную и внутреннюю герметичность терморегулятора в соответствии с таблицей 2.

7.11.2 Испытание крутящим моментом терморегуляторов групп 1 и 2 с резьбовыми соединениями проводят в течение 10 с в следующей последовательности:

- трубу 1 заворачивают в терморегулятор крутящим моментом, не превышающим значений, приведенных в таблице 3, и закрепляют на расстоянии не менее 2d от терморегулятора (рисунок 3);

- трубу 2 заворачивают в терморегулятор крутящим моментом, не превышающим значений, приведенных в таблице 3, и проверяют герметичность соединений;

- опору трубы 2 выполняют так, чтобы изгибающий момент не передавался на терморегулятор;

- к трубе 2 прилагают крутящий момент в течение 10 с, постепенно увеличивая его, но не превышая значений, приведенных в таблице 3. Последние 10 % крутящего момента прилагают в течение 1 мин. Превышение значения крутящего момента, приведенного в таблице 3, не допускается;

- снимают нагрузку и визуально проверяют сборочный узел на наличие деформации, затем терморегулятор испытывают на внешнюю герметичность и внутреннюю герметичность (таблица 2);

- если входной и выходной патрубки терморегулятора смещены относительно общей оси, то присоединения меняют местами и испытание повторяют.

d - наружный диаметр трубы; 1 - первая труба; 2 - вторая труба; 3 - испытуемый терморегулятор

Рисунок 3 - Устройство для проведения испытаний терморегуляторов крутящим моментом

7.11.3 Испытания крутящим моментом терморегуляторов 1-й и 2-й групп с двумя резьбовыми трубными соединениями проводят в течение 10 с.

7.11.3.1 Соединения с зажимными кольцами

Для испытания соединений с зажимными кольцами используют стальную трубу с обрезным или двусторонним конусным кольцом из сплава меди и цинка.

Испытания проводят в следующей последовательности:

- корпус терморегулятора закрепляют неподвижно и к каждой гайке трубопровода в течение 10 с прикладывают крутящий момент согласно таблице 3;

- испытания выполняют при всех видах соединений;

- контролируют герметичность терморегулятора. Наличие деформации на терморегуляторе проверяют визуально, не принимая во внимание деформацию места установки вкладыша или сопряженных поверхностей от приложенного крутящего момента.

7.11.3.2 Соединения с отбортовкой

Для испытаний соединений с отбортовкой используют короткий участок стальной трубы с отбортованным концом и выполняют действия, описанные в 7.11.3.1.

Изменение формы в центре давления конуса или контрдетали, которое связано с прилагаемым моментом, не оценивают.

7.11.3.3 Терморегулятор с фланцево-хомутовыми и клеммно-хомутовыми соединениями на входе газа, соединенными с газовыми коллекторами кухонных приборов

Терморегулятор, в соответствии с рекомендациями изготовителя, подключают к газовому коллектору, крепежные винты затягивают. Фланцево-хомутовые и клеммно-хомутовые соединения устанавливают и затягивают с применением крутящего момента, указанного в таблице 3 (в скобках), в соответствии со способами, описанными в 7.11.3.1 или 7.11.3.2.

7.11.4 Испытания изгибающим моментом

7.11.4.1 Испытания терморегуляторов групп 1 и 2 изгибающим моментом следует проводить на терморегуляторе, прошедшем испытание крутящим моментом.

На расстоянии 40 DN от центра терморегулятора, как показано на рисунке 4, в течение 10 с прилагают силу, необходимую для получения изгибающего момента для терморегуляторов группы 1 или 2, учитывая массу трубы.

Снимают приложенную нагрузку, проверяют внешнюю и внутреннюю герметичность терморегулятора в соответствии с таблицей 2 и визуально проверяют сборочный узел на наличие деформации.

Если входной и выходной патрубки терморегулятора смещены относительно общей оси, то присоединения меняют местами и испытания повторяют.

7.11.4.2 Испытание терморегуляторов группы 1 изгибающим моментом в течение 900 с

Испытания проводят на том же терморегуляторе, что и испытания крутящим моментом.

На расстоянии 40 DN от центра терморегулятора, как показано на рисунке 4, прилагают силу в течение 900 с, необходимую для достижения требуемого изгибающего момента, учитывая массу трубы.

Не снимая приложенного усилия, проверяют сборочный узел на внешнюю и внутреннюю герметичность.

Если входной и выходной патрубки терморегулятора смещены относительно общей оси, то присоединения меняют местами и испытание повторяют.

7.11.5 Терморегуляторы с входными и выходными патрубками различного номинального диаметра

При испытаниях терморегуляторов группы 1, входные и выходные патрубки которых имеют различные номинальные диаметры, корпус терморегулятора закрепляют и к каждому соединению прикладывают требуемый крутящий или изгибающий момент в соответствии с 7.11.2, 7.11.3 и (или) 7.11.4.

После испытания проверяют герметичность и контролируют отсутствие деформации.

d - наружный диаметр трубы: 1 - первая труба; 2 - вторая труба: 3 - испытуемый терморегулятор

Рисунок 4 - Устройство для испытаний терморегуляторов изгибающим моментом

7.12 Надежность

7.12.1 Надежность неметаллических материалов

7.12.1.1 Общие положения

Испытаниям на надежность подвергают готовые детали из неметаллических материалов.

7.12.1.2 Маслостойкость

Испытание на маслостойкость проводят по ГОСТ 9.030 (метод А) определением изменения массы предварительно взвешенных деталей после погружения их на (168±2) ч в стандартное масло СЖР-2 при максимальной рабочей температуре терморегулятора.

Относительное изменение массы испытуемого образца m, %, вычисляют по формуле

,                                                              (2)

где т3 - масса испытуемого образца в воздухе после погружения в масло, г;

т1 - начальная масса испытуемого образца в воздухе, г.

7.12.1.3 Газостойкость

Стойкость неметаллических деталей к воздействию углеводородных газов проверяют в следующем порядке:

- предварительно взвешенные детали из неметаллических материалов погружают в жидкий пентан на (72 ± 2) ч при температуре (23 ± 2) °С так, чтобы они были полностью покрыты жидкой фазой пентана и не касались друг друга;

- детали извлекают из пентана, помещают в сушильный шкаф и выдерживают (168 ± 2) ч при температуре (40 ± 2) °С и атмосферном давлении, затем детали еще раз взвешивают.

Относительное изменение массы деталей m, %, вычисляют по формуле

,                                                              (3)

где т1 - масса деталей до погружения в пентан, г;

m5 - масса деталей, извлеченных из сушильного шкафа, г.

7.12.2 Маркировка

Прочность маркировки испытывают по ГОСТ МЭК 730-1.

7.12.3 Работоспособность

7.12.3.1 Цикличность

Каждый цикл механических переключений состоит из движения установочного механизма по всей области установки и его возвращения в исходное положение.

Выполняется примерно десять циклов в минуту.

Испытательное устройство должно обеспечивать равномерное перемещение установочного механизма без оказания воздействия на режим работы терморегулятора. Прикладываемый момент не должен превышать значение, заданное изготовителем.

Во время полного цикла переключения ось не должна находиться в канавке, чтобы не производился захват штифта.

Общее число переключений N определяют по таблице 6 в зависимости от предполагаемого применения терморегулятора, если изготовитель не указал большее количество циклов.

Таблица 6 - Число переключений

Разновидности терморегулятора

Число переключений терморегулятора N

для кухонных приборов и прямоточных водонагревателей

для отопительных аппаратов и холодильных установок

Настраиваемый

5000

1000

С фиксированной установкой

30000

5000

Сначала выполняется N/2 (половина) циклов при максимальной температуре, окружающей корпус регулятора, затем N/2 (половина) циклов при температуре (20 ± 5) °С.

За весь период испытаний температуру поддерживают равной примерно 2/3 заданного диапазона регулирования.

При испытаниях дополнительные процедуры смазки или настройки не допускаются.

7.12.3.2 Температурная цикличность

Каждый цикл термического переключения состоит из изменения температуры датчика, выше и ниже значения Ts, и возвращения к исходной температуре.

Ручку управления терморегулятором устанавливают на значение температуры Ts, °C, вычисленное по формуле

,                                                  (4)

где Т0 - максимальная установка температуры, °С;

Ти - минимальная установка температуры, °С.

1 - пружина; 2 - рабочая точка (стальной шарик диаметром 1 мм)

Рисунок 5 - Приспособление для проверки механической прочности лакокрасочного покрытия

На терморегулятор подают воздух под давлением 2,0 кПа.

Испытания проводят при температуре (60 ± 2) °С или при более высокой температуре, указанной изготовителем.

Количество циклов - 10000.

Изменение температуры выполняют следующим образом:

- для терморегулятора непрерывного действия во всей области пропорционального регулирования;

- для двухпозиционного терморегулятора между температурами включения и выключения;

- для терморегулятора непрерывного действия с двухпозиционным режимом в области пропорционального регулирования и, дополнительно, между температурами включения и выключения.

7.12.4 Прочность лакокрасочного покрытия

Механическую прочность лакокрасочного покрытия определяют приспособлением, схема которого приведена на рисунке 5. Жестко закрепленным стальным шариком диаметром 1 мм проводят вдоль испытуемой поверхности терморегулятора со скоростью от 30 до 40 мм/с и с силой контакта 10 Н.

Испытание выполняют дважды - до и после испытания на влагостойкость.

7.12.5 Влагостойкость

Терморегулятор помещают на 48 ч в климатическую камеру при температуре (40 ± 2) °С и относительной влажности более 95 %. Затем терморегулятор извлекают из камеры и визуально определяют отсутствие признаков коррозии, вспучивания или образования пузырей на лакокрасочном покрытии. Затем терморегулятор выдерживают в течение 24 ч при температуре окружающей среды, указанной в 7.1.1, и повторно проводят внешний осмотр.

8. Маркировка, инструкция по монтажу и эксплуатации

8.1 Маркировка корпуса терморегулятора

На видном месте каждого терморегулятора прикрепляют табличку по ГОСТ 12969 или наносят маркировку, содержащую:

- наименование или шифр изделия;

- наименование предприятия-изготовителя и (или) торговую марку;

- дату изготовления;

- группу 1 (если устройство относится к этой группе);

- направление потока газа.

Направление потока газа должно быть четко обозначено (литьем или рельефной стрелкой). Выполнение этого условия не требуется, если терморегулятор предназначен для использования с газовыми аппаратами одного типа и ошибка в этом случае невозможна.

8.2 Инструкция по монтажу и эксплуатации

С каждой партией изделий поставляют набор инструкций на языке(ах) страны, в которую поставляют терморегуляторы.

Инструкции должны содержать следующую информацию:

- описание изделия;

- максимальное рабочее давление;

- номинальный расход;

- минимальное и максимальное значения температуры окружающей среды;

- монтажное положение устройства;

- термическую перегрузку температурного датчика;

- переключение на газы других семейств;

- разность между температурами включения и выключения терморегулятора, область пропорционального регулирования, температурный диапазон и т.п.;

- данные об устройстве предварительной настройки;

- другие параметры терморегулятора, например минимальный расход, допустимое отклонение от установки и т.п.;

- тип газа, для которого предназначен данный терморегулятор.

8.3 Предупредительное уведомление

Предупредительное уведомление должно содержать следующее: «Прочитайте инструкцию по эксплуатации». Уведомление прилагают к каждой партии терморегуляторов, которые должны быть установлены в соответствии с правилами [1], [2].

ПРИЛОЖЕНИЕ А

(рекомендуемое)

Объемный метод определения герметичности

Устройство для проверки герметичности объемным методом приведено на рисунке А.1.

1 - сжатый воздух; 2 - градуированная шкала; 3 - испытуемый образец; 4 - измерительная бюретка; 5 - сосуд с постоянным уровнем; 6 - сосуд с водой; 7, 14 - сосуды для слива лишней воды; 8-13 - краны

Рисунок А.1 - Устройство для проверки герметичности газового тракта объемным методом

Устройство заполнено водой. Расстояние L между уровнем воды в сосуде с постоянным уровнем 5 и концом трубки в измерительном сосуде 4 регулируют таким образом, чтобы эта высота уровня воды соответствовала и испытательному давлению.

Порядок испытаний

Давление сжатого воздуха на входе в кран 8 регулируется до испытательного.

Краны 8 - 13 закрыты.

Испытуемый образец 3 подсоединен к системе.

Открыть кран 9, когда вода в сосуде с постоянным уровнем 5 перетечет в сосуд для слива лишней жидкости 7, кран закрыть.

Открыть краны 8 и 11. Подавать сжатый воздух и установить давление в измерительной бюретке 4 и образце для испытаний 3.

Открыть кран 10. Подождать в течение 15 мин, чтобы воздух в испытательном устройстве и образце достиг теплового равновесия.

На наличие какой-либо утечки будет указывать вода, переливающаяся из трубки в измерительную бюретку 4.

ПРИЛОЖЕНИЕ Б

(рекомендуемое)

Метод определения герметичности по потере давления

Устройство для проверки герметичности по потере давления изображено на рисунке Б.1.

1 - трубка со шкалой, мм; 2 - теплоизолированный сосуд под давлением; 3 - трехходовой кран; 4 - кран; 5 - патрубок для присоединения испытуемого образца; 6 - компрессор; 7 - воздушная камера объемом 1 дм3; 8 - вода; 9 - теплоизоляция; 10 - напорная трубка

Рисунок Б.1 - Устройство для проверки герметичности газового тракта методом потери давления

Устройство состоит из теплоизолированного сосуда под давлением 2, который заполнен водой таким образом, что объем воздуха над уровнем воды составляет 1 дм3. Стеклянная трубка 1 наружным диаметром 5 мм открыта сверху, а нижний ее конец находится в воде в теплоизолированном сосуде под давлением 2. Эта трубка служит для измерения потери давления.

Испытательное давление прикладывают к трубке 10, входящей в воздушную камеру 7. К патрубку 5 подсоединяют образец для испытаний посредством гибкой трубки длиной 1 м и внутренним диаметром 5 мм.

Порядок испытаний

Отрегулировать давление воздуха, создаваемое компрессором 6, через трехходовой кран 3 до испытательного давления. Подъем уровня воды в измерительной трубке 1 соответствует испытательному давлению.

Подсоединить образец для испытаний к патрубку 5 и отрегулировать давление посредством открывания трехходового крана 3.

Следует подождать в течение 10 мин, пока не установится тепловое равновесие, после чего начинается 5-минутный период испытаний. В конце этого периода потери давления считываются по измерительной трубке со шкалой 1.

ПРИЛОЖЕНИЕ В

(рекомендуемое)

Пересчет потери давления в интенсивность утечек

Интенсивность утечек gL, см3/ч, в зависимости от потери давления вычисляют по формуле

,

где Vg - суммарный внутренний объем установки для испытаний с краном, см3;

Р’ - абсолютное давление воздуха в начале испытания, кПа;

Р’’ - абсолютное давление воздуха в конце испытания, кПа.

Потери давления измеряют за период времени, равный 5 мин, и пересчитывают в интенсивность утечки за час.

ПРИЛОЖЕНИЕ Г

(справочное)

Библиография

[1] ПБ 12-368-2000 «Правила безопасности в газовом хозяйстве». Госгортехнадзор России, Москва, 2000 г.

[2] «Правила технической эксплуатации и требования безопасности труда в газовом хозяйстве Российской Федерации», утвержденные Росстройгазификацией 20 октября 1991 г.

Ключевые слова: терморегулятор, изгибающий и крутящий моменты, методы испытаний, маркировка



уроки по алготрейдингу на Python с нуля



Яндекс цитирования

   Copyright © 2008-2026 ,  www.infosait.ru

backtrader - уроки алготрейдинга на python