ИНФОСАЙТ.ру
Госты, стандарты, нормативы. В библиотеке 60000 документов. Регулярное обновление. Круглосуточный бесплатный доступ!
БИБЛИОТЕКА ГОСТОВ, СТАНДАРТОВ И НОРМАТИВОВ

:: АЛГОТРЕЙДИНГ ::


АЛГОТРЕЙДИНГ
шаг за шагом


БЕСПЛАТНЫЕ УРОКИ по созданию торговых роботов на PYTHON с нуля, шаг за шагом.


Минимальные знания на PYTHON.
Библиотеки BackTrader и Pandas, сигналы с Pine Script из TradingView.
Связка с брокерами, телеграм.
Создание простых интерфейсов.

 

Все документы, представленные в каталоге, не являются их официальным изданием и предназначены исключительно для ознакомительных целей. Электронные копии этих документов могут распространяться без всяких ограничений. Вы можете размещать информацию с этого сайта на любом другом сайте.


Министерство транспортного строительства СССР

ГОСУДАРСТВЕННЫЙ ВСЕСОЮЗНЫЙ ДОРОЖНЫЙ
НАУЧНО-ИССЛЕДОВАТЕЛЬСКИЙ ИНСТИТУТ
(СОЮЗДОРНИИ)

МЕТОДИЧЕСКИЕ РЕКОМЕНДАЦИИ
ПО ОСУШЕНИЮ ЗЕМЛЯНОГО ПОЛОТНА
И ОСНОВАНИЙ ДОРОЖНЫХ ОДЕЖД
В РАЙОНАХ ИЗБЫТОЧНОГО УВЛАЖНЕНИЯ
И СЕЗОННОГО ПРОМЕРЗАНИЯ ГРУНТОВ

Одобрены Техническим управлением
Минтрансстроя СССР

Москва - 1974

МЕТОДИЧЕСКИЕ РЕКОМЕНДАЦИИ ПО ОСУШЕНИЮ ЗЕМЛЯНОГО ПОЛОТНА И ОСНОВАНИЙ ДОРОЖНЫХ ОДЕЖД В РАЙОНАХ ИЗБЫТОЧНОГО УВЛАЖНЕНИЯ И СЕЗОННОГО ПРОМЕРЗАНИЯ ГРУНТОВ. М., Союздорнии, 1974.

Приведены современные конструкции и мероприятия, предназначенные для ограничения притока воды в активную зону земляного полотна и слои дорожной одежды. Рекомендованы мероприятия, обеспечивающие своевременное удаление избытка воды из основания. Изложены требования к материалам, применяемым для устройства дренирующих и морозозащитных слоев. Подробно освещены методы технико-экономического обоснования проектных решений.

ПРЕДИСЛОВИЕ

Среди большого числа факторов, влияющих на работу дорожной одежды и земляного полотна, немаловажное значение имеют мероприятия, призванные предохранить конструкцию от вредного воздействия увлажнения и промерзания в целях достижения оптимальных значений эксплуатационных качеств автомобильных дорог и повышения эффективности капитальных вложений.

Вопросы проектирования и обоснования указанных мероприятий освещены в настоящих "Методических рекомендациях по осушению земляного полотна и оснований дорожных одежд в районах избыточного увлажнения и сезонного промерзания грунтов".

В "Методических рекомендациях" приведены наиболее совершенные конструкции, назначение которых, с одной стороны, - предотвращать приток воды в активную зону земляного полотна и слои дорожной одежды, с другой, - своевременно удалять избыток воды, если она все же поступает в основание дорожной одежды в расчетный период. Кроме того, в них изложены требования к материалам, применяемым для устройства дренирующих и стабильных слоев, а также других элементов водозащитных и морозозащитных конструкций. Подробно освещены методы инженерного расчета и технико-экономического обоснования конструкций и мероприятий по осушению и морозозащите. Процесс проектирования и расчета иллюстрирован примерами.

В основу "Методических рекомендаций" положены: результаты экспериментально-теоретических исследований водно-теплового режима дорожных одежд и земляного полотна на дорогах, обслуживаемых постоянными станциями и постами эпизодических наблюдений; материалы обследования дорог, на которых имеются дренажные устройства различных конструкций; материалы, опубликованные в последние годы в СССР и за рубежом; учет опыта применения "Методических указаний по проектированию морозозащитных и дренирующих слоев в основании проезжей части автомобильных дорог".

"Методические рекомендации" разработаны Ленинградским филиалом Союздорнии (М.Б. Корсунский, П.Д. Россовский, В.Н. Гайворонский) совместно с Союздорнии (В.И. Рувинский), МАДИ (Н.А. Пузаков, А.Я. Тулаев, Т.У. Абеков) и Белдорнии (Р.З. Порицкий). Общее редактирование выполнено М.Б. Корсунским.

1. ОБЩИЕ ПОЛОЖЕНИЯ

1. "Методические рекомендации по осушению земляного полотна и оснований дорожных одежд в районах избыточного увлажнения и сезонного промерзания грунтов" разработаны для II и III дорожно-климатических зон.

Приводимые ниже рекомендации относятся главным образом к проектированию нового строительства. Но наряду с этим излагаются соответствующие мероприятия и для реконструируемых дорог.

2. Деформационные и прочностные характеристики грунта зависят от его состава, влажности и плотности.

Необходимая степень уплотнения грунта при сооружении земляного полотна регламентируется СНиП II-Д.5-72. Выбор же вида грунта, установление допустимых пределов увлажнения его в процессе эксплуатации дороги и назначение мероприятий, гарантирующих от превышения этих пределов, является основной технико-экономической задачей проектирования земляного полотна.

3. Влажность грунта, особенно в верхней, активной зоне земляного полотна (п. 4), непрерывно изменяется в зависимости от соотношения факторов, формирующих его водный баланс.

Основными источниками увлажнения земляного полотна и материалов дорожной одежды являются: атмосферные осадки, выпадающие на поверхность дороги; вода, застаивающаяся в боковых канавах, резервах и на прилегающей к дороге местности вследствие затрудненного стока; грунтовая вода.

Расходную часть баланса составляют испарение и сток воды с дороги, инфильтрация ее в глубокие слои.

4. Активной зоной считается верхняя часть земляного полотна от низа дорожной одежды до глубины 1,5 м от поверхности покрытия. В этой зоне распространяются значительные напряжения от временных нагрузок, а водно-тепловой режим и состояние грунта наиболее изменчивы.

5. Расчетную величину атмосферных осадков прогнозируют вероятностными методами. Основными статистическими характеристиками в этом случае являются многолетнее среднемесячное количество осадков (норма) и стандартное отклонение или коэффициент вариации.

Порядок прогнозирования расчетного количества осадков с использованием карт указанных характеристик и с учетом требуемой обеспеченности приведен в п. 46.

6. Под грунтовыми водами подразумевают воды, постоянно содержащиеся в горных породах, подстилаемых первым от поверхности земли водоупорным слоем*). Уровень грунтовых вод (УГВ) непрерывно изменяется.

*) Сезонные подземные воды называют верховодкой.

Наиболее неблагоприятно для устойчивости земляного полотна высокое положение УГВ в конце осени, обусловливающее значительное влагонакопление в грунте в процессе его промерзания.

Ввиду изменчивости осеннего УГВ по годам расчетное значение его определяют вероятностными методами, основанными на сочетании данных натурных наблюдений и соответствующих положений теории вероятности (п. 45).

Условия, при которых грунтовые воды практически не влияют на увлажнение грунтов земляного полотна, зависят от вида грунта, расстояния от поверхности покрытия до УГВ и расчетной глубины промерзания.

Чтобы определить безопасное расстояние до осеннего УГВ, к расчетной глубине промерзания добавляют следующие величины: для глин, суглинков тяжелых и тяжелых пылеватых - около 2 м; для легких пылеватых суглинков, супесей пылеватых и тяжелых пылеватых 1,5 м; для супесей легких крупных и пылеватых песков 1 м.

7. Поступление поверхностной воды в земляное полотно наблюдается при длительном ее застое на придорожной полосе осенью и весной. Приток воды в земляное полотно в этом случае зависит от свойств грунта (водопроницаемость, полная влагоемкость, оптимальная влажность, объемный вес скелета грунта), продолжительности стояния воды и расстояния от бровки земляного полотна до уреза застаивающейся у дороги воды lу.

Расчет минимальной безопасной величины lу изложен в пп. 16 - 18.

8. Увлажнение грунта земляного полотна и слоев дорожной одежды может быть уменьшено:

а) устройствами, препятствующими поступлению воды в пористые слои одежды и в подстилающий ее грунт;

б) дренажными конструкциями, обеспечивающими удаление избытка воды из основания проезжей части.

Вид, характер и оптимальное сочетание мероприятий по ограничению поступления воды в конструкцию и отводу избытка воды из-под проезжей части назначают на основании технико-экономического анализа вариантов, составленных применительно к данному типу влажностного режима земляного полотна и дорожной одежды.

9. В районах избыточного увлажнения и сезонного промерзания грунтов наблюдается различный характер изменения влажности земляного полотна в зависимости от водопроницаемости грунта.

В земляном полотне, возведенном из песков и крупных супесей, грунт в его верхней части подвергается значительному, но кратковременному увлажнению в процессе оттаивания за счет воды, скапливающейся на поверхности мерзлого донника.

В земляном же полотне, сооруженном из связных грунтов, увлажнение их происходит преимущественно за счет миграции грунтовых вод, причем решающее значение имеет их предзимний уровень. Просыхает грунт весной значительно медленнее, чем в первом случае.

10. В земляном полотне, возведенном из непылеватых песков и крупных супесей, может быть допущено кратковременное значительное содержание воды. Для ограничения поступления в конструкцию воды сверх допустимого предела предусматривают укрепление обочин сравнительно водонепроницаемыми материалами.

Кроме того, для сокращения весеннего периода просыхания грунтов предусматривают меры по уменьшению глубины промерзания земляного полотна, вводя в конструкцию слои из теплоизоляционных материалов (пп. 24 - 27, 47, 48).

11. Для обеспечения устойчивости земляного полотна, возводимого из связных грунтов, необходимо ограничить поступление в них влаги снизу и предусмотреть мероприятия для быстрейшего отвода из основания проезжей части воды, освобождающейся при оттаивании мерзлых грунтов, а также проникающей с поверхности дороги. С этой целью на участках, находящихся в неблагоприятных условиях увлажнения, где можно ожидать полное насыщение водой грунта верхней части земляного полотна*), проектируют специальные мероприятия, ограничивающие миграцию влаги (разд. 2). Для участков, где в неблагоприятный период года влажность грунта может превышать 0,75 Wт, необходимо запроектировать, кроме того, дренирующие слои с водоотводящими устройствами (разд. 3).

*) У супесчаных грунтов это бывает при влажности, равной примерно 0,70 Wт, а у суглинистых - 0,75 Wт (Wт - влажность при границе текучести).

Эффективность каждого мероприятия обосновывают соответствующими технико-экономическими расчетами, учитывая местные климатические условия, характер увлажнения поверхностными и грунтовыми водами, интенсивность и глубину промерзания, свойства грунтов земляного полотна и материалов, используемых для устройства дорожной одежды.

12. Вводимые в земляное полотно и дорожную, одежду устройства, ограничивающие увлажнение, должны:

- сохранять эксплуатационные качества в течение долговременной службы;

- обладать технологичностью, не нарушающей линейный механизированный поток сооружения дороги;

- без повреждения выдерживать нагрузки, возникающие при укладке и уплотнении вышележащих слоев грунта и дорожной одежды, а также при движении автомобилей по дороге;

- противостоять вредному воздействию мороза и возникновению неравномерных зимних деформаций на проезжей части;

- повышать прочность дорожной одежды;

- предохранять грунт под всякого рода трубами от размыва протекающей в них водой;

- не препятствовать содержанию и ремонту дороги и ремонту самих устройств.

13. Для обеспечения прочности и стабильности земляного полотна и дорожной одежды, зависящих в значительной мере от эффективности долговременной работы осушающих устройств, применяемые дренирующие, водоизолирующие и теплоизоляционные материалы, а также трубы должны соответствовать требованиям, изложенным в пп. 25 - 30; 69 - 79.

2. МЕРОПРИЯТИЯ ПО ОГРАНИЧЕНИЮ ПРИТОКА ВОДЫ В ЗЕМЛЯНОЕ ПОЛОТНО И ДОРОЖНУЮ ОДЕЖДУ

Защита от поверхностных вод

14. Для уменьшения притока поверхностных вод в основание проезжей части и грунт земляного полотна следует:

а) укреплять обочины и придавать им надлежащий поперечный уклон;

б) устраивать бордюры и лотки у краев проезжей части;

в) обеспечивать необходимые размеры берм и крутизну откосов;

г) правильно размещать боковые канавы.

15. Поперечные уклоны обочин назначают в зависимости от метеорологических особенностей района проложения дороги, типа укрепления обочин, вида грунта земляного полотна, условий стока воды с проезжей части в соответствии с требованиями СНиП II-Д.5-72 и работы /1/.

16. Размер бермы, крутизну откосов и расстояние до боковых канав на участках, где в летний период грунт на местности в верхней толще (до 1,5 м) просыхает до оптимальной влажности и меньше, назначают из условия, чтобы застаивающаяся осенью и весной вблизи дороги вода не проникала в грунт земляного полотна под обочины и проезжую часть. На участках, где летом влажность грунта не снижается до оптимальной, эти меры полностью не предохраняют земляное полотно от поступления воды, что необходимо учитывать при определении количества поступающей в конструкцию поверхностной воды (п. 18).

17. В случае, когда грунт за лето просыхает до оптимальной влажности, величину безопасного расстояния от бровки земляного полотна до уреза воды lу (рис. 1) определяют по формуле

,                                                 (1)

где  - эмпирический коэффициент, равный 1,15;

 - удельный вес воды, г/см3;

К - коэффициент фильтрации грунта местности, м/сутки;

 - объемный вес скелета грунта, г/см3;

 - полная влагоемкость грунта, определяемая по пробе, подвергшейся испытанию на фильтрацию, доли единицы (по весу);

 - оптимальная влажность грунта, доли единицы (по весу);

t - продолжительность стояния воды на поверхности земли в осенне-зимне-весенний период, сутки.

Если нет фактических данных о величине t, принимают максимальное ее значение, равное 230 суткам (для II и III дорожно-климатических зон).

Величина lу обычно для супесей составляет 4 - 10 м, для суглинков легких и легких пылеватых - 2 - 3 м, для суглинков тяжелых, тяжелых пылеватых и глин она не превышает 2 м. Меньшие значения lу относятся к грунтам с большим числом пластичности.

Если расстояние lу окажется больше величины заложения откоса насыпи по типовому поперечному профилю (рис. 1,а), в пределах полосы отвода можно запроектировать более пологие откосы (рис. 1,б) или бермы (рис. 1,в).

18. Для участков, где летом влажность грунта местности не снижается до оптимальной, величину lу определяют также по формуле (1). Однако при этом учитывают некоторый возможный приток воды в дренирующий слой (q, л/м2). На участках без боковых канав этот приток приближенно вычисляют по формуле

,                                                                      (2)

где  и  - среднесуточный приток воды в дренирующий слой в расчетном периоде в условиях соответственно 1-го и 2-го типов увлажнения земляного полотна (табл. 1 приложения 1).

Если же предусмотрено устройство боковых канав на расстоянии lу, то приток воды в дренирующий слой принимают таким, как рекомендуется для 1-го типа увлажнения земляного полотна (табл. 1 приложения 1).

19. При уклоне обочин, укрепленных одерновкой или засевом трав, назначенном в соответствии с п. 15, или при устройстве лотков вдоль краев проезжей части приток воды с поверхности дороги в основание проезжей части определяют по методике /2/.

Рис. 1. Схемы (а, б, в) к расчету безопасного расстояния от бровки земляного полотна до уреза застаивающейся вблизи дороги воды

Ограничение миграции влаги из нижних слоев в активную зону земляного полотна

20. Миграция влаги из нижних слоев земляного полотна в его верхнюю часть может быть ограничена:

а) увеличением расстояния от поверхности покрытия до уровня грунтовых вод или до поверхности земли (возведение более высокой насыпи, понижение УГВ);

б) применением для сооружения насыпи, взамен непригодного пылеватого грунта, материалов и грунтов с невысоким капиллярным поднятием (крупнообломочные грунты, щебень, гравий, пески, непылеватые суглинки и супеси);

в) введением в конструкцию одежды дополнительных слоев из стабильных материалов, к которым, кроме традиционных монолитных материалов, относят зернистые (щебень, гравий, ракушка, дресва, песок, металлургические и топливные шлаки и др., а также грунты и крупнообломочные материалы, укрепленные вяжущими);

г) устройством водоизолирующих прослоек из полиэтиленовой пленки или из тонкого слоя грунта, обработанного битумом, гидроизола и других материалов, устойчивых против агрессивного воздействия грунтовых вод;

д) введением в тело земляного полотна капилляропрерывающих прослоек из щебня или гравия;

е) устройством теплоизолирующего слоя (п. 24).

То или иное мероприятие либо их сочетание выбирают на основании технико-экономического анализа вариантов.

21. Слои из стабильных фильтрующих материалов укладывают на всю ширину земляного полотна (рис. 2,а): в этом случае они также дренируют основание проезжей части.

Рис. 2. Стабильный слой из фильтрующих материалов (а) и укрепленного грунта (б):

1 - покрытие; 2 - основание; 3 - укрепительная полоса; 4 - песок; 5 - укрепленная обочина и откос; 6 - укрепленный грунт

Стабильные слои из материалов, укрепленных вяжущими, а также из грунта в замкнутой изоляции можно устраивать на ширину проезжей части. Чтобы уменьшить неравномерность увлажнения и пучения грунта, подстилающего эти слои, их с глубиной уширяют (рис. 2,б).

22. Водоизолирующие и капилляропрерывающие прослойки устраивают в основании земляного полотна, приняв необходимые меры против поступления в них воды со стороны (рис. 3).

Капилляропрерывающий материал защищают сверху и снизу противозаиливающими прослойками из мелкого гравия или крупного песка.

Рис. 3. Водоизолирующие (а) и капилляропрерывающие (б) прослойки:

7 - гидроизол или битумогрунт; 8 - противозаиливающий слой (3 см); 9 - гравий (10 - 15 см). Обозначения 1 - 6 см. рис. 2

23. В ряде случаев (выемки, участки в нулевых отметках, а также участки, где невозможно или нецелесообразно возводить земляное полотно в насыпи необходимой высоты) при склонных к дренированию грунтах, неглубоком залегании грунтовых вод и благоприятном для их сброса рельефе предусматривают меры по понижению УГВ с помощью закрытого трубчатого дренажа.

24. Одним из перспективных мероприятий, уменьшающих зимнее влагонакопление в грунтах и неравномерное пучение, является предотвращение промерзания земляного полотна устройством теплоизолирующих слоев из пенопласта и стиропорбетона.

Теплоизолирующие слои должны быть шире проезжей части дороги примерно на 1 м с каждой стороны (рис. 4). Их устраивают на спрофилированной поверхности земляного полотна или на выравнивающем слое песка. Для предупреждения проникания влаги теплоизолирующие слои должны быть защищены полиэтиленовой пленкой или швы между плитами склеены (клеем № 88, БК-11 и пр.).

Рис. 4. Теплоизолирующий слой из жесткого пенопласта:

1 - покрытие; 2 - основание; 3 - укрепительная полоса; 4 - слой пенопласта; 5 - укрепленные обочина и откос

Сверху для защиты теплоизоляции от механических повреждений (при укладке, например, щебня) предусматривают укладку песчано-гравийной смеси слоем 10 см или песка слоем 5 см.

Новые материалы для теплоизолирующих слоев

25. Наряду с традиционными зернистыми материалами (щебень, незагрязненный гравий, песок, шлак и др.)*) для устройства морозозащитных (теплоизолирующих) слоев в СССР начинают применять новые материалы и, в частности, жесткие пенопласты (см. рис. 4) и бетоны на основе полистирола, и также грунты, укрепленные цементом (цементогрунты).

*) Зернистые материалы, используемые для устройства морозозащитных слоев, должны отвечать требованиям "Инструкции по проектированию дорожных одежд нежесткого типа* ВСН 46-72.

26. Полимерные теплоизоляционные материалы в дорожной конструкции обычно работают при температуре от +30° до -30 °С. В этих условиях они должны отвечать следующим требованиям:

а) существенно не изменять своего объема при замерзании в увлажненном состоянии;

б) их теплофизические свойства, информационные и прочностные характеристики не должны претерпевать значительных изменений в процессе долговременной эксплуатации в условиях многократного промерзания и оттаивания, а также при изменении напряженного состояния от воздействия внешних нагрузок;

в) обладать небольшим коэффициентом теплопроводности (желательно, чтобы l £ 0,05);

г-) быть морозостойкими (иметь коэффициент морозостойкости по потере прочности более 0,85) и трещиностойкими;

д) во избежание возникновения значительных растягивающих напряжений в теплоизоляционном материале величина его модуля упругости не должна существенно превышать значения этого показателя для подстилающего грунта;

е) обладать удобоукладываемостью.

27. Требованиям, приведенным в п. 26, удовлетворяют выпускаемые промышленностью СССР жесткие пенопласты (табл. 1).

Для дорожного строительства наиболее целесообразно применять пенопласт ПСБ-С (ВТУ 50-67), выпускаемый Мытищинским комбинатом стройпластмасс.

28. Цементогрунт, используемый для устройства морозозащитных слоев, должен отвечать следующим требованиям: предел прочности при сжатии в водонасыщенном состоянии через 28 суток после изготовления образцов должен быть не менее 10 кгс/см2, коэффициент уплотнения - не меньше 0,98, а расчетный модуль упругости - не ниже 1300 - 2000 кгс/см2*) /3/.

*) Большее значение модуля упругости - при содержании цемента выше 5 % (по весу).

Таблица 1

Физико-механические свойства пенопластов

Наименование свойств

Показатели свойств пенопластов

ПС-1

ПС-4

ПСБ-С

ПВХ-1

ПВХ-2

Объемный вес, кг/м3

100

60

100

70 - 100

100 - 130

Коэффициент теплопроводности, ккал /м×ч×град.

0,033

0,034

0,033

0,022

0,037

Предел прочности при изгибе, кгс/см2

40

15

6

15 - 28

20 - 40

Модуль упругости, кгс/см2

550

335

-

800

800

Коэффициент морозостойкости после 25 циклов

0,86

0,86

-

0,97

0,85

Рабочая температура, °С

 

+60 - -60

 

 

29. Приведенные в п. 28 требования удовлетворяются при введении в пучинистый грунт сравнительно малой дозы портландцемента марки "400".

Может быть также использован портландцемент марки "200", тогда рекомендуемое количество добавок увеличивается примерно в 1,3 раза /3/.

30. При устройстве морозозащитного слоя грунт, укрепляемый цементом, должен иметь оптимальную влажность.

Если влажность грунта превышает оптимальную (но не более, чем в 1,4 раза), то его осушают негашеной известью, количество которой зависит от вида грунта, степени пучинистости его и колеблется в пределах от 1 до 3 - 5 % (по весу). Хороший эффект при осушении переувлажненных грунтов дает применение цементов с повышенным содержанием CaO /3/.

Инженерный расчет мероприятий по ограничению миграции влаги в земляном полотне снизу вверх

31. Не требуется специальных мер по защите конструкций от вредного влияния воды:

- в районах с малой глубиной промерзания при глубоком залегании грунтовых вод;

- при земляном полотне, сложенном на всю глубину промерзания непучинистыми водопроницаемыми грунтами (песками, супесями легкими и крупными и т.п.);

- в случаях, когда толщина дорожной одежды, необходимая по условиям прочности, превышает 2/3 глубины промерзания.

32. При проектировании конструкций и мероприятий для дорог, находящихся в неблагоприятных грунтовогидрологических условиях в районах сезонного промерзания, выделяют типичные участки по погодно-климатическим особенностям (для дорог большого протяжения), по грунтовогидрогеологическим и гидрологическим условиям, типу покрытия и виду укрепления обочин, поперечному профилю земляного полотна (насыпь, выемка), характеру продольного профиля дороги, обеспеченности строительства местными материалами.

На каждом участке выбирают расчетное сечение, характерное для данных условий. Расчеты, сделанные для этого сечения, распространяют на весь участок (или ряд типичных участков).

33. Для каждого типичного участка прежде всего, в соответствии с рекомендациями пп. 20 - 30, намечают мероприятия по ограничению увлажнения активной зоны земляного полотна.

Если одними этими мероприятиями технически невозможно или экономически нецелесообразно обеспечить влажность до 0,75 Wт для суглинистого грунта и 0,7 Wт для супесчаного, рассматривают их совместно с вариантами дренажных конструкций для отвода избытка воды из основания проезжей части. Критерием допустимого увлажнения активной зоны земляного полотна в данных условиях является расчетная влажность грунта (п. 34).

34. Влажность грунта земляного полотна зависит от погодно-климатических и гидрологических условий местности, а также от конструктивных особенностей участка (от вида грунта и высоты насыпи, общей толщины дорожной одежды, теплофизических свойств конструктивных слоев и др.).

Вероятная максимальная влажность грунта Wmax земляного полотна в данных условиях не должна превышать расчетной влажности.

Под вероятной максимальной влажностью грунта Wmax подразумевается максимальная величина средней влажности грунта в пределах активной зоны земляного полотна (п. 4), наблюдающаяся в наиболее неблагоприятный период года (время, в течение которого грунт активной зоны наиболее увлажнен) хотя бы один раз за срок между капитальными ремонтами дорожной одежды.

35. Величину Wmax с учетом закона случайных независимых отклонений различного происхождения определяют по формуле*)

,                              (3)

где  - средняя многолетняя из ежегодных максимальных величин средней, в пределах активной зоны, влажности, в долях от предела текучести (Wт);

 - среднее многолетнее количество осадков за период осеннего влагонакопления (п. 46), мм;

 - среднее многолетнее значение расстояния до осеннего УГВ, считая от поверхности покрытия (п. 45), см;

 - среднемноголетнее значение максимальной глубины промерзания, считая от поверхности покрытия (п. 43), см;

 - среднемноголетний период промерзания грунтов земляного полотна (п. 44), сутки;

S1, S2, S3, S4 - среднеквадратические отклонения соответственно от , , ,  (пп. 43 - 46);

t - нормированное отклонение от  при требуемой вероятности Wmax принимают по таблицам одностороннего критерия оценки /4/: t = 1,64 при прогнозировании с вероятностью Р = 0,95 (повторяемость один раз в 20 лет), t = 1,28 при Р = 0,90 (один раз в 10 лет) и t = 0,67 при Р = 0,80 (один раз в 5 лет).

*) Формула (3) применима для определения величины Wmax на участках дорог, находящихся в районах сезонного промерзания грунтов в неблагоприятных грунтовогидрологических условиях (3-й тип местности по степени увлажнения). Для условий 1-го и 2-го типов местности ориентировочное значение Wmax может быть принято по ВСН 46-72.

36. Впредь до накопления многолетних фактических данных о влажности грунта в различных природных условиях при разных конструкциях дорожной одежды и земляного полотна среднюю многолетнюю влажность  можно получить расчетом, учитывающим средние многолетние натурные значения основных параметров, определяющих миграцию влаги.

В районах сезонного промерзания грунтов наиболее существенное влагонакопление, в пределах активной зоны, обычно происходит в осенне-зимний период, вследствие чего

,                                                                   (4)

где  - среднемноголетняя осенняя влажность грунта в пределах активной зоны (п. 37), в долях от Wт;

 - среднемноголетний прирост влажности за счет зимнего влагонакопления (п. 38), в долях от Wт.

37. Среднемноголетняя осенняя влажность  может быть определена по следующей корреляционной зависимости, хорошо согласующейся с данными непосредственных измерений влажности грунта земляного полотна наиболее распространенных конструкций:

,                                                          (5)

где W0 - начальная влажность (до периода осеннего влагонакопления), близкая к оптимальной, определяемой по методу стандартного уплотнения, в долях от Wт;

с - коэффициент, учитывающий сток с поверхности дороги с усовершенствованным покрытием и испарение; при супесчаных обочинах с = 0,4¸0,5, при суглинистых с = 0,6¸0,7, при укрепленных обочинах с = 0,8¸0,9;

m - показатель, зависящий от водопроницаемости грунта и УГВ; для непылеватых супесей m = 0,003¸0,004 мм-1, для других связных грунтов m = 0,004¸0,006 мм-1; большие значения их принимают при  £ 1,25 м.

38. Среднемноголетний прирост влажности за счет зимнего влагонакопления  на участках с неглубоким залеганием грунтовых вод в районах сезонного промерзания грунта определяют по формуле

,                                                      (6)

где  - среднемноголетний объем накопленной за зиму влаги в столбике грунта сечением  = 1 см2, определяемый по равенству (7), см3;

 - объемный вес скелета талого грунта, г/см3;

D - объемный вес воды, г/см3;

 - общая толщина слоев стабильных материалов (п. 41), эквивалентная по теплопроводности щебню, см.

Остальные обозначения приведены в п. 35.

39. Объем влаги, накопленной за зиму, вычисляют, используя зависимость

,    (7)

где В - комплексная характеристика, учитывающая свойства грунта земляного полотна, влияющие на влагонакопление, см2/сутки (п. 40);

1,09 - коэффициент расширения воды при замерзании;

 - показатель, учитывающий особенности климатических условий, характеризующий, в частности, режим и интенсивность промерзания (п. 44)*), см2/сутки;

*) Карты изолиний климатического показателя  имеются в работах /5, 6/.

; .

Остальные обозначения приведены в пп. 35 и 38.

С целью облегчить расчет величины  для формул (6) и (7) составлена номограмма (рис. 5).

Величину  определяют следующим образом. От точки, соответствующей на правой горизонтальной оси значению  проводят вертикальную линию до пересечения с кривой для имеющегося отношения . От этой точки ведут горизонтальную линию в левую часть номограммы до пересечения с прямой, соответствующей данному отношению

.

Рис. 5. Номограмма для определения прироста влажности грунта за счет зимнего влагонакопления и расчета дорожной конструкции на морозоустойчивость:

1 - слой из стабильных материалов; 2 - грунт земляного полотна

Проектируя эту точку на левую горизонтальную ось, получают значение . Добавив к нему  находят величину  (п. 36).

Из формул (5) - (7) и номограммы рис. 5 следует, что с изменением параметров конструкции (Н, Z1, B и др.) меняется влажность грунта земляного полотна и, в свою очередь, деформационные и прочностные характеристики грунта (Е, С, g). Разные значения этих характеристик вызывают необходимость сооружать одежду разной толщины для обеспечения требуемой прочности дорожной конструкции. Чтобы создать наиболее экономичную дорожную конструкцию с учетом характеристик водно-теплового режима земляного полотна, необходимо разработать варианты равнопрочных конструкций, варьируя вид грунта, высоту насыпи, а также конструкцию дорожной одежды. В результате технико-экономического сравнения вариантов выбирают наиболее целесообразную в данных условиях конструкцию, при которой влажность грунта земляного полотна будет равна расчетной.

40. Комплексная характеристика В зависит от влагопроводимости грунта, полной его влагоемкости при требуемой плотности (за вычетом объема защемленного воздуха), а также от капиллярной влагоемкости.

Величина характеристики В может быть определена на основании данных испытаний грунта на морозоустойчивость /5/ по следующей формуле:

,                                                                        (8)

где Кпуч - коэффициент пучения грунта, определяемый по данным испытания грунта на морозоустойчивость /5/;

 - показатель климатических условий, см2/сутки.

В случае невозможности экспериментально определить коэффициент Кпуч, расчетное значение комплексной характеристики грунтов В принимают, руководствуясь табл. 2.

Таблица 2

Характеристика свойств грунтов

Грунты

Расчетная величина показателя В, см2/сутки

Степень пучинистости в условиях 3-го типа местности по характеру увлажнения

Пески мелкие (непылеватые), содержащие более 5 % частиц мельче 0,05 мм, супеси легкие крупные

1,5 - 2,0

Слабопучинистые

Глины, суглинки легкие и тяжелые (непылеватые), супеси легкие

3,0 - 3,5

Пучинистые

Супеси пылеватые, суглинки тяжелые пылеватые, пески пылеватые

4,0 - 4,5

Сильнопучинистые

Супеси тяжелые пылеватые, суглинки легкие пылеватые

5,0

Очень сильнопучинистые

Примечание. Значения показателя В получены расчетным путем на основании фактических данных о величине пучения дорожных одежд на эксплуатируемых дорогах при известных значениях Z, Z1, H, a0.

41. Эквивалентную толщину (по отношению к щебню) слоев стабильных материалов Z1 с учетом их теплотехнических свойств определяют по следующей формуле:

,                                             (9)

где h1, h2, h3 - толщина конструктивных слоев из стабильных материалов, м;

, , ,  - коэффициенты теплопроводности уплотненного щебня и материалов других конструктивных слоев (табл. 3), ккал/м×ч×град.

42. Точность расчета зимнего прироста влаги в грунте в значительной мере зависит от достоверности данных о глубине промерзания. Наиболее целесообразно учитывать в расчетах данные систематических натурных наблюдений за промерзанием эксплуатируемых дорог в районе проектирования.

При отсутствии фактических данных глубину промерзания дорожной одежды и земляного полотна определяют приводимым ниже вероятностным расчетом.

Расчет этот основан на результатах многолетних натурных наблюдений за ходом промерзания эксплуатируемых дорог. Полученная корреляционная зависимость связывает глубину промерзания со степенью холодности зимы, характеризуемой суммой среднесуточных температур воздуха ниже 0 °С. Расчетом также учитываются географическая неравномерность естественных условий нагревания земляного полотна, характеризуемых суммой положительных температур воздуха в теплый период года, положение уровня грунтовых вод перед началом промерзания и теплотехнические свойства дорожной одежды.

43. Расчетно-вероятностную глубину промерзания с учетом указанных предпосылок определяют по формуле:

,             (10)

Таблица 3

Коэффициент теплопроводности и отношение lщ/li для разных стабильных материалов

Материалы

Коэффициент теплопроводности li, ккал/м×ч×град.

Отношение

Асфальтобетон

0,9

2,0

Асфальтобетон с заполнителем из гранулированного шлака

0,4 - 0,5

4,5 - 3,6

Щебень, обработанный битумом

0,9

2,0

Шлак, обработанный битумом

0,4 - 0,8

4,5 - 2,25

Керамзит, обработанный битумом

0,5

3,6

Песок, обработанный битумом

0,55

3,3

Цементобетон

1,3 - 1,8

1,4 - 1,0

Стиропорбетон

0,3 - 0,5

9,0 - 3,6

Шлакобетон

0,45 - 0,6

4,0 - 3,0

Обломочные материалы, укрепленные цементом

0,5

3,6

Цементогрунт

1,3

1,4

Щебень из гранита

1,8 - 2,0

1,0 - 0,9

Щебень из известняка

1,2 - 1,4

1,5 - 1,3

Гравий в основании

1,6

1,1

Песок

1,6

1,1

Шлак

0,3 - 0,5

6,0 - 3,6

Примечание. Коэффициенты теплопроводности материалов зависят от плотности, влажности и температуры; здесь даны средние значения li, которые могут быть использованы в расчетах, когда нет данных, полученных из опыта.

Рис. 6. Изолинии нормативных годовых сумм отрицательной (а) и положительной (б) температуры воздуха

где Z - прогнозируемая глубина промерзания по оси дороги, считая от поверхности покрытия, м;

 - средняя многолетняя сумма отрицательных среднесуточных температур воздуха за весь зимний период (рис. 6,а)*) или за любую часть зимы, градусо-сутки;

 - средняя многолетняя сумма положительных среднесуточных температур воздуха за весь теплый период года, градусо-сутки (рис. 6,б)*);

*) Карты построены по данным справочников /7/.

 - стандартное отклонение относительно среднего значения , градусо-сутки (рис. 7,а);

 - то же для , градусо-сутки (рис. 7,б);

t - нормированное отклонение (см. п. 35);

Н - расчетное расстояние до уровня грунтовых вод перед началом промерзания, считая от поверхности покрытия, м;

Н0 - безопасное по условиям зимнего влагонакопления расстояние до уровня грунтовых вод перед началом промерзания (для европейской части СССР Н0 = 3,1 м), м;

Hобщ - общая толщина слоев стабильных материалов, м;

lщ - коэффициент теплопроводности щебня, принят равным 1,8 ккал/м×ч×град.**);

**) Имеющиеся данные о теплопроводности суглинистых и супесчаных грунтов при оптимальной влажности и плотности, близкой к максимальной по стандартному уплотнению, свидетельствуют о тенденции к увеличению коэффициента теплопроводности для супесчаных грунтов по сравнению с суглинистыми. Однако количественно коэффициенты теплопроводности суглинистых и супесчаных грунтов близки к теплопроводности щебня (1,8 ккал/м×ч×град).

 - эквивалентная по теплопроводности щебня толщина слоев стабильных материалов, м;

 - гиперболический тангенс.

Средняя многолетняя глубина промерзания  может быть также определена по формуле (10) или по номограмме (рис. 8).

Рис. 7. Стандартное отклонение от суммы отрицательных (а) и положительных (б) температур воздуха

В этом случае среднеквадратическое отклонение от  получают по формуле

.

44. При использовании данных непосредственных измерений глубины промерзания величину показателя климатических условий a0 следует определять по формуле

.                                                        (11)

Наблюдения показали /6, 8/, что для автомобильных дорог величина  примерно равна: в европейской части СССР - среднемноголетнему количеству суток с момента наступления осенью среднесуточных температур воздуха ниже -5 °С до наступления весной периода с устойчивой температурой воздуха выше 0 °С, в зауральской части СССР, где климат более континентален и выше скорость промерзания, - с момента понижения температуры воздуха до -10 °С в начале зимы до наступления устойчивой температуры воздуха 0 °С весной.

Рис. 8. Номограмма для определения глубины промерзания дорожных конструкций

Среднеквадратическое отклонение от  обозначенное S4 (п. 35), определяют по известным правилам статистики.

45. Среднемноголетнее расстояние от поверхности покрытия до осеннего уровня грунтовых вод  и среднеквадратическое отклонение от него S2, от которых в значительной мере зависит влагонакопление в активной зоне земляного полотна, определяют методами, изложенными в работе /8/.

46. При прогнозировании расчетных значений атмосферных осадков, выпадающих в период осеннего влагонакопления на европейской части СССР, используют карту годовых норм осадков  (рис. 9) и график нарастания годовой нормы осадков по месяцам (рис. 10), составленные по данным Справочников по климату СССР" /7/ с учетом поправок к показаниям осадкомера. Разность между интегральными суммами осадков на период начала осеннего влагонакопления и на его конец (см. рис. 10) представляет норму осенних осадков .

Стандартное отклонение S1 от средних многолетних норм осадков за период осеннего влагонакопления зависит от величины  (рис. 11).

Среднее многолетнее количество осенних осадков определяют за период изменения температур воздуха от +10 до 0 °С (Т0). Период Т0 находят по графикам годового хода температур воздуха (рис. 12), которые строят по многолетним данным о среднемесячных температурах для каждого района в отдельности.

47. Чтобы уменьшить или полностью предотвратить промерзание грунтов земляного полотна, вместо толстых морозозащитных слоев из стабильных материалов (п. 21) могут быть устроены теплоизолирующие прослойки из жестких пенопластов и других легких материалов (пп. 26, 27).

Толщину теплоизолирующего слоя рассчитывают вероятностным методом, которым учитываются степень холодности зимы и географическая неравномерность естественных условий нагревания дорог в летний период, а также теплотехнические свойства дорожной одежды и теплоизоляционного материала. Расчет ведут по следующей формуле, основанной на результатах наблюдений за промерзанием дорог с теплоизолирующими слоями:

Рис. 9. Изолинии нормативных годовых сумм осадков (с поправками к показаниям осадкомера), мм

Рис. 10. Нарастание осадков по месяцам.

Числа на кривых - годовая норма осадков

,                     (12)

где  - толщина теплоизолирующей прослойки, см;

 - общая толщина слоев из стабильных материалов, расположенных над теплоизоляцией, см;

 - глубина от поверхности покрытия, ниже которой теплоизоляция неэффективна (для условий Северо-Запада страны  = 100 см);

 - эквивалентная по теплопроводности толщина слоев из стабильных материалов (по отношению к теплопроводности изоляционного материала), см;

 - коэффициент теплопроводности теплоизоляционного материала, ккал/м×ч×град. (табл. 1).

Для упрощения расчетов толщины теплоизолирующих прослоек по формуле (12) составлена несложная номограмма (рис. 13).

Рис. 11. Стандартное отклонение от средних значений сумм осадков, выпадающих в период осеннего влагонакопления

48. Местоположение теплоизолирующей прослойки в конструкции дорожной одежды назначают, исходя из следующих соображений.

Жесткие пенопласты обладают сравнительно низкими значениями модуля упругости (см. табл. 1), а прослойки из них устраивают незначительной толщины, вследствие чего они практически не участвуют в распределении напряжения от внешней нагрузки на подстилающий одежду грунт. Поэтому их следует укладывать непосредственно под дорожной одеждой на поверхность земляного полотна.

Рис. 12. Пример годового хода температуры воздуха

Теплоизоляционные легкие бетоны имеют сравнительно высокие значения модуля упругости, а толщина слоев из них достаточно велика. Эти слои участвуют в распределении напряжений на нижележащие слои и хорошо сопротивляются растягивающим напряжениям при изгибе. Поэтому указанные материалы следует использовать для устройства нижних слоев основания.

Их толщину, а также деформационные и прочностные характеристики необходимо учитывать при расчете дорожной одежды на прочность по трем критериям (ВСН 46-72).

Расстояние от поверхности покрытия до теплоизолирующих слоев не должно быть менее 30 см при легких бетонах и 50 см при жестких пенопластах.

В противном случае температура покрытия и верхних слоев основания будет зимой ниже, а летом выше, чем в конструкциях без теплоизолирующих прослоек. Это может привести к снижению трещиностойкости и сдвигоустойчивости монолитных слоев, в которых содержится органическое вяжущее, а также к образованию гололеда на покрытии.

49. Расстояние от поверхности покрытия до водоизолирующего слоя назначают в зависимости от расчетных величин глубины промерзания и расположения уровня грунтовых вод, а также от толщины и теплотехнических свойств материалов дорожной одежды. При этом, как показывает опыт, необходимо выдержать следующие условия: водоизолирующий слой должен быть размещен ниже границы активной зоны земляного полотна ниже 2/3 от расчетной глубины промерзания, но не ближе, чем на 20 см до расчетного уровня грунтовых вод.

Рис. 13. Номограмма для определения толщины теплоизоляционного слоя из жесткого пенопласта

3. ДРЕНАЖНЫЕ КОНСТРУКЦИИ ДЛЯ ОТВОДА ВОДЫ ИЗ ОСНОВАНИЯ

Дренажные устройства

50. Дорожную одежду и верхнюю часть земляного полотна осушают с помощью дренажной конструкции, представляющей собой устроенный в основании проезжей части дренирующий слой с обеспеченным отводом из него воды.

Дренажную конструкцию назначают с учетом количества воды, поступающей в основание дорожной одежды в расчетном периоде, фильтрационной способности дренирующего материала, наличия или возможности приобретения нужных материалов, производственных возможностей изготовления отдельных деталей дренажа (например, труб, трубофильтров) и др.

51. Весьма существенным фактором, влияющим на выбор толщины дренирующего слоя и на требования к водопроницаемости материала, является длина пути фильтрации в указанном слое. По этому признаку различают два основных варианта дренажной системы:

первый - длина пути фильтрации воды в дренирующем слое до сброса в дрену равна половине ширины проезжей части; это бывает в случае, когда водоотводящие дрены расположены вдоль краев проезжей части при двускатном поперечном профиле дороги;

второй - длина пути фильтрации значительно превышает половину ширины проезжей части; это бывает в тех случаях, когда верхняя часть земляного полотна возведена из песка или дрены расположены у одного края проезжей части при односкатном поперечном профиле дороги.

Во втором случае должны быть предъявлены более высокие требования к фильтрационной способности дренирующего материала или к толщине слоя из этого материала, чем в первом (п. 72).

52. При назначении водоотводящих устройств руководствуются следующими соображениями.

В большинстве случаев, особенно на морозоопасных участках (ВСН 46-72), рациональным является устройство верхней части земляного полотна из дренирующего материала без специальных водоотводящих устройств (см. рис. 2), так как он здесь выполняет одновременно функции морозозащитного слоя.

При большом количестве подлежащей отводу воды (более 0,005 - 0,007 м32 в сутки), а также в выемках и в местах с нулевыми отметками может оказаться целесообразным устройство продольных трубчатых дрен у краев проезжей части с поперечными выпусками (рис. 14,а); может быть применен также продольный дренаж из крупнопористого каменного материала (щебня, гальки) (рис. 14,б).

Помимо гончарных и асбестоцементных труб, для дрен могут быть использованы пластмассовые трубы (твердые и гибкие), а также трубофильтры (пп. 76 - 79). Для предохранения от проникания песка в крупные поры каменного материала продольных дрен целесообразно применять стеклоткань (п. 75).

Дренажную конструкцию выбирают на основании технико-экономического сравнения вариантов дренирующих слоев с различными водоотводящими устройствами.

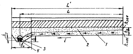
53. При устройстве дренирующего слоя из мелких или средней крупности песков (особенно в выемках и в местах с нулевыми отметками) его водопропускная способность может быть значительно повышена за счет усиления движения воды в капиллярной зоне. Для этого следует применить дренажную конструкцию, изображенную на рис. 15. Трубчатые дрены укладывают в ровиках, углубленных относительно поверхности грунтового основания на величину 0,5 - 1,0 от высоты капиллярного поднятия воды в песке. В ровики укладывают трубы, отвечающие требованиям п. 77.

54. При проектировании участка дороги, проходящего в выемке или в нулевых отметках, могут быть рассмотрены дренажные конструкции (рис. 16), в которых:

- вода из дренирующего слоя отводится продольными трубчатыми дренами, уложенными по краям проезжей части (рис. 16,а)*) или вдоль бровки земляного полотна (рис. 16,б) с выпуском воды за пределы выемки;

*) При капитальном типе укрепительных полос дренажные трубы целесообразно выносить за пределы укрепления.

Рис. 14. Продольный трубчатый дренаж с поперечными выпусками (а) и щебеночный с трубчатыми поперечными выпусками (б):

1 - покрытие; 2 - основание; 3 - укрепительная полоса, 4 - дренирующий слой; 5 - продольная трубчатая дрена d = 50 - 100 мм или трубофильтр d = 50 мм или щебеночная дрена; 6 - поперечная выпускная труба; 7 - бетонный оголовок; 8 - каменное основание; 9 - укрепление водоотвода в месте сброса воды из дрены; 10 - фильтровая обсыпка стыков труб (или сплошная обсыпка) или изоляция под щебнем (рубероид, толь, изол и др.); 11 - стеклоткань (изоляция сверху)

Рис. 15. Углубленный ровик с продольной дреной, усиливающей процесс фильтрации воды:

1 - зона свободной воды; 2 - капиллярная зона; 3 - труба d = 80¸100 мм или трубофильтр d = 50 мм; 4 - подушка из мелкого гравия; h0 - глубина фильтрационного потока непосредственно у дрены; hнас - глубина фильтрационного потока по оси дороги; h - глубина продольного ровика; в0 - ширина продольного ровика поверху

- вода сбрасывается из продольных дрен, уложенных по краям проезжей части, поперечными трубами-выпусками в водоприемные (смотровые) колодцы подкюветного дренажа (рис. 16,в) или водостока (рис. 16,г);

Рис. 16. Дренажные конструкции (а - е) в выемках и на участках с нулевыми отметками:

1 - дренирующий слой; 2 - продольные трубчатые дрены; 3 - поперечные выпускные трубы; 4 - подкюветный дренаж; 5 - водосток

- верхняя часть земляного полотна устроена из дренирующих материалов (рис. 16,д);

- дренирующий слой сопряжен с подкюветным дренажом (рис. 16,е), предусмотренным для перехвата или понижения уровня грунтовых вод.

55. При выборе конструкции дренажа руководствуются рекомендациями табл. 4. Кроме того, учитывают величину притока воды в дренирующий слой и обеспеченность района дорожно-строительными материалами.

Следует также иметь в виду:

а) конструкции рекомендуемого дренажа (см. рис. 16, а, б, в, г, е) позволяют устраивать пологие кюветы-лотки, что способствует повышению безопасности движения;

б) при дренаже (см. рис. 16, в, г), в состав которого входят смотровые водоприемные колодцы, можно контролировать работу трубчатых дрен. Это особенно важно на участках протяженностью 300 м и более, где возникает угроза нарушения трубчатого дренажа в одном из звеньев. При периодическом сбросе воды из дренирующего слоя в водосток уменьшается возможность переувлажнения грунтов основания в случае повреждения дренажной системы.

Эти преимущества характерны и для конструкции со сбросом воды из дренирующего слоя в подкюветный дренаж:

конструкции дренажа (см. рис. 16, а, в, г) имеют углубленные продольные ровики, усиливающие движение воды к трубчатым дренам;

при устройстве дренирующего слоя из мелких песков с коэффициентом фильтрации менее 2 м/сутки резко ухудшаются условия отвода воды трубчатыми дренами из капиллярной зоны. В этом случае целесообразно проектировать верхнюю часть земляного полотна из песка. Это обеспечит отвод воды из основания проезжей части к откосам, через которые происходит также испарение.

Таблица 4

Условия применения разных дренажных конструкций в выемках и на участках с нулевыми отметками

Конструкция дренажа (рис. 16)

Категория дороги

Протяженность выемки или участка с нулевыми отметками, м

Продольный уклон дороги,

Наличие подкюветного дренажа, устраиваемого для понижения или перехвата грунтовых вод

Коэффициент фильтрации дренирующего материала, м/сутки

I - III

IV - V

< 300

³ 300

< 5

³ 5

имеется

не имеется

1 - 2

> 2

а

+

+

+

-

-

+

-

+

-

+

6

+

+

+

-

-

+

-

+

+

-

в

+

+

+

+

+

+

+

-

-

+

г

+

+

-

+

+

+

-

+

-

+

д

-

+

+

+

+

+

-

+

+

+

е

+

+

+

+

+

+

+

-

+

-

Примечания: 1. Рекомендации по применению дренажа (рис. 16,а и б) в зависимости от продольного уклона дороги даны для случаев, когда трубчатые дрены имеют такой же продольный уклон, как и дорожное полотно.

2. Дренаж (см. рис. 16,д) допускается устраивать на дорогах III категории, проходящих в нулевых отметках и в выемках, разделанных под насыпь, с пологими откосами.

Конструкции дрен

56. Продольные дрены устраивают обычно по краям проезжей части или вдоль укрепительных полос.

Дренажные трубы, укладывают в неглубокие (10 - 15 см) лотки треугольного сечения или в углубленные ровики, как указано в п. 53 и на рис. 15.

Уклон дрен назначают в зависимости от рельефа местности, но он должен быть не менее 5 . Чем больше продольный уклон, тем эффективнее самоочистка труб движущейся водой.

57. Для устройства трубчатых дрен используют различные трубы, отвечающие требованиям п. 77.

Длинномерные звенья труб (асбестоцементных, жестких пластмассовых и др.) для повышения водоприемной способности должны иметь снизу круглые отверстия диаметром не более 3 - 5 мм. Отверстия просверливают в два ряда в шахматном порядке через 40 - 50 мм.

Вместо круглых отверстий лучше сделать через каждые 30 - 60 см в трубе пропилы глубиной 0,4 от ее внутреннего диаметра. Ширина пропилов не должна превышать 2,0 мм.

Полиэтиленовые трубы (гибкие) имеют обычно заводскую перфорацию в виде круглых или щелевидных отверстий (п. 79).

58. Звенья (блоки) трубофильтров изготавливают из пористого цементобетона или керамзитобетона. Длина блоков 500 и 825 мм, а внутренний диаметр - 50, 100 и 150 мм. Толщина стенок составляет 25 и 50 мм.

Сочленение звеньев трубофильтров осуществляют фальцевыми соединениями с обмазкой песчано-цементным раствором (рис. 17,а) или полиэтиленовыми муфтами-вкладышами (рис. 17,б).

59. Дренажные трубы следует укладывать на водонепроницаемые прослойки, в частности, из рулонных материалов - гидроизола и др. (рис. 18).

Рис. 17. Сопряжение звеньев трубофильтра:

а - фальцевое соединение; б - стык при помощи муфты-вкладыша;

1 - трубофильтр d = 100 мм; 2 - фальцы; 3 - заделка цементным раствором; 4 - полиэтиленовая муфта-вкладыш

Не допускается укладка труб непосредственно на грунт или материал фильтра, потому что в этом случае происходит заиливание труб или накопление под ними воды, переувлажняющей грунт земляного полотна.

При устройстве дрен из коротких (менее 4 м) труб с зазорами в местах стыков*) во избежание смешения их по горизонтали и вертикали в результате даже допустимого для проезжей части пучения или осадки грунта рекомендуется устраивать под трубами достаточно жесткое основание, в частности, из щебня или гравия, втрамбованного в грунт.

*) Допустимые величины зазоров между трубами приведены в "Рекомендациях по осушению дорожных одежд и верхней части земляного полотна автомобильных дорог" /9/.

60. Эффективность дренирования, срок службы и надежность работы продольных дрен зависят от конструкции стыков звеньев труб, размеров водоприемных отверстий и качества фильтровой обсыпки. В условиях избыточного увлажнения и сезонного промерзания грунтов при неглубоком залегании подземных вод наиболее рациональной является сплошная фильтровая обсыпка вокруг трубы на всем протяжении дрены (рис. 19).

Рис. 18. Основание под дренажные трубы:

а - трубчатые дрены под укрепительной полосой с эластичными стыками-муфтами или пластмассовые трубы; б - то же, с зазорами в стыках; в - трубчатые дрены по бровке земляного полотна с эластичными стыками; г - то же, с зазорами в стыках:

1 - водонепроницаемые подкладки (гидроизол и др.); 2 - трубофильтры с пластмассовыми гофрированными муфтами и др.; 3 - дренирующий слой; 4 - фильтровая обсыпка из мелкого каменного материала; 5 - трубы асбестоцементные и др.; 6 - щебень или гравий, втрамбованный в грунт

Pиc. 19. Сплошная фильтровая обсыпка трубы:

1 - звенья дренажной трубы; 2 - пропилы; 3 - стык двух труб; 4 - фильтровая обсыпка; 5 - материал дренирующего слоя; 6 - укрепленный каменной мелочью грунт толщиной слоя 2D50 %

Фильтровая обсыпка защищает трубы от заиливания, повышает водопропускную способность и долговечность дренажа.

Вместо фильтровых обсыпок для предохранения трубчатых дрен от заиливания грунтом и песком возможно устройство защиты из стеклоткани (п. 75).

На дне лотка на всем протяжении укладывают в обхват трубы полосу стеклоткани шириной, равной двум наружным диаметрам трубы; кроме того, тканью перекрывают сверху стыки труб.

У полиэтиленовых труб защита может быть сделана припайкой узких полосок стеклоткани, перекрывающих водоприемные отверстия трубы.

61. Поперечные выпуски из продольных дрен целесообразно устраивать из длинномерных труб диаметром около 10 см. Перфорации этих труб не требуется. Уклон труб-выпусков должен быть не меньше уклона продольных дрен. Расстояние между поперечными выпусками устанавливают, сообразуясь с продольным уклоном дороги и рельефом местности. Однако оно должно быть не более 300 м. При продольном уклоне дороги 20  и менее выпускные трубы укладывают перпендикулярно оси дороги в плане; при уклоне 40  - под углом 80°; при уклоне 60  - 70° и при уклоне 80  - 60° к оси.

Для предохранения труб-выпусков от деформаций, а также от засорения грунтом, осыпающимся по откосам дороги в процессе планировок, конец каждой трубы укрепляют бетонным опорным оголовком, а выходное отверстие снабжают самозакрывающейся заслонкой, которая представляет собой подвешенную на крючках пластинку; ось вращения и петли-крючки должны быть изготовлены из нержавеющего металла, а заслонка покрашена и с внутренней стороны обильно смазана минеральным маслом.

Закрывающее устройство предохранит выходные отверстия труб также от засорения снегом и облегчит содержание дренажа.

62. Щебеночный продольный дренаж (см. рис. 14,б) устраивают в неглубоких (0,1 - 0,12 м) ровиках треугольного сечения. Для предохранения грунта от размыва водой, движущейся в дрене, на дно ровика укладывают изоляцию из рулонного материала (рубероида, толя, гидроизола). Уложенный в дрену крупнопористый каменный материал сверху и с боков нужно прикрыть стеклотканью для предохранения его от заиливания песком.

Водоприемной частью дрен этого типа является вся их поверхность.

Выпуски из дрен устраивают в соответствии с указаниями п. 61.

63. Сопряжение продольных трубчатых дрен с водоотводящими поперечными трубами-выпусками надежнее всего осуществлять бетонными коленчатыми звеньями (рис. 20, а, в)*); это соединение является наиболее технологичным. При отсутствии указанных звеньев и невозможности их изготовления сопряжение может быть устроено прямым примыканием срезанных под требуемым углом концов труб и скреплением их цементным раствором (рис. 20,б).

*) Промышленность выпускает тройники и другие соединительные детали для труб из асбестоцемента и пластмасс.

Рис. 20. Конструкции сопряжения продольных трубчатых дрен и поперечных выпусков:

а - при помощи угольников; б - устройством среза труб; в - тройник (в вогнутых переломах профиля при двустороннем притоке воды); г - выпуск из щебеночной продольной дрены;

1 - трубы продольных дрен; 2 - угольник из бетона или жести; 3 - труба поперечного выпуска; 4 - заглушка; 5 - каменный материал с фильтровой обсыпкой либо защитой из стеклоткани; 6 - заделка цементным раствором; 7 - тройник; 8 - перемычка из песка, супеси и пр.; 9 - лист жести, рубероида и т.п.

В щебеночную дрену (рис. 20,г) отводящая воду поперечная труба вводится на уровне дна лотка либо на 2 - 3 см ниже; с низовой стороны лотка устраивают экран из рубероида, толя, жести и др., направляющий воду в трубу. Экран подпирают в лотке поперечной перемычкой, отсыпанной из песка, супеси или другого непучинистого материала.

64. Водостоки предусматривают при значительном протяжении участков с заниженным земляным полотном-выемок и мест с нулевыми отметками (п. 54, рис. 16,г). Водосток состоит из трубопровода, водоприемных колодцев и устьевой части (в местах сброса воды из трубопровода).

Для устройства трубопровода могут быть использованы асбестоцементные, бетонные или другие трубы диаметром не менее 100 мм.

Трубы укладывают ниже зоны промерзания на специально подготовленное основание. При устойчивых грунтax допускается укладка асбестоцементных труб на песчаное основание, при слабых грунтах - на основание из щебня или гравия, а также из тощего бетона.

Для нормальной работы водостока трубопровод должен иметь продольный уклон не менее 5 .

Для приема воды из основания проезжей части, а также для наблюдения за работой водостока и прочистки труб устраивают водоприемные (смотровые) колодцы. Их располагают в зависимости от уклонов местности и диаметра труб через каждые 60 - 100 м, а также на всех поворотах в плане и переломах в продольном профиле.

Колодец состоит из днища, рабочей камеры (колец), переходной части (конуса) и перекрытия (люка с крышкой); в стенках колодца делают отверстия для труб-выпусков из дренажной системы и для соединения их с трубопроводом.

В устьевой части водостока вокруг трубы необходимо укладывать теплоизоляционные материалы для защиты воды от замерзания. Места выпусков труб укрепляют.

Конструкции для перехвата и отвода воды, движущейся в дренирующем слое вдоль дороги

65. На участках с затяжными продольными уклонами, превышающими поперечные уклоны, а также в местах вогнутых вертикальных кривых для поперечного перехвата воды, движущейся в дренирующем слое вдоль дороги и накапливающейся в понижениях и в местах уменьшения уклонов, следует устраивать поперечные дрены на ширину проезжей части с трубчатыми выпусками под обочинами (рис. 21).

Эти дрены можно устраивать в виде неглубоких прорезей треугольного (рис. 21,а) сечения с заполнением каменным материалом или укладкой труб с фильтровой обсыпкой, а также трубофильтров (без обсыпки). Выпуски из дрен - трубчатые (рис. 21,б).

Можно также устраивать поперечные дрены из крупнопористого каменного материала, отсыпанного на листы рубероида (ГОСТ 10923-64), толя или гидроизола (ГОСТ 7415-55) и прикрытого сверху стеклотканью для предохранения от смывания песка (рис. 21,в).

При отсутствии изоляционных материалов может быть устроена фильтровая обсыпка из каменной мелочи.

66. Поперечные дрены с выпусками устраивают на всю ширину земляного полотна со сбросом воды в обе стороны дороги (рис. 22,а), либо укороченные со сбросом воды в одну сторону (например, на косогорах, рис. 22,б) или в продольные дрены (при малых насыпях и в выемках, рис. 22,в).

Рис. 21. Поперечный дренаж (а - в):

1 - покрытие и основание, 2 - дренирующий слой; 3 - щебень или гравий; 4 - накладка из гидроизоляционного материале; 5 - стеклоткань или фильтровая обсыпка; 6 - трубчатый выпуск

Выходы дрен на откос земляного полотна должны быть оформлены, как указано в п. 61.

Поперечные дрены устраивают через 15 - 20 м.

67. Надежная работа правильно устроенных дренажных конструкций может быть обеспечена лишь при надлежащем уходе за ними (приложение 3).

Рис. 22. Поперечный дренаж на участках, проходящих в насыпи (а), по косогору (б) и в выемке (в):

1 - покрытие и основание; 2 - дренирующий слой; 3 - щебень; 4 - трубчатый выпуск; 5 - продольная дрена; 6 - противозаиливающая прослойка песка в ровике

Материалы и трубы

68. Для устройства дренирующих слоев используют зернистые материалы: щебень, незагрязненный гравий, песок, шлак и др.

Основной характеристикой дренирующего материала является степень водопроницаемости. Для оценки качества этого материала большое значение имеют также данные о зерновом составе, обусловливающем не только водопроницаемость, но и капиллярные и другие свойства.

69. Необходимый коэффициент фильтрации дренирующего материала устанавливают расчетом в зависимости от количества поступающей в основание воды, толщины дренирующего слоя, конструкции водоотводящих дрен и других факторов (пп. 85, 86).

70. Коэффициент фильтрации дренирующего материала определяют в приборе Союздорнии при максимальной плотности, установленной методом стандартного уплотнения.

Ввиду наблюдающегося обычно разброса результатов определения коэффициента фильтрации испытания проводят дважды; при расхождении полученных данных более чем на 15 % необходимо третье, контрольное испытание.

71. В ряде случаев о пригодности материала для дренирующего слоя можно судить уже по его фракционному составу. При содержании частиц мельче 0,14 мм не более 5 % (по весу) материал обладает достаточно высокими фильтрационными свойствами и заведомо пригоден для устройства дренирующего слоя. Пылеватые же пески для дренирования основания непригодны. В остальных случаях требуется экспериментальное определение коэффициента фильтрации песка.

Следует иметь в виду, что коэффициент фильтрации зависит не только от крупности песка, но и от его однородности. Равномерность, присущая главным образом крупным пескам и частично пескам средней крупности, приводит к уменьшению, пористости и снижению водопроницаемости, а при наличии к тому же частиц мельче 0,14 мм иногда создается полная закупорка пор.

72. Область применения материалов в значительной мере зависит от их фильтрационной способности.

При коэффициенте фильтрации, равном 1 - 2 м/сутки, материал целесообразно применять на участках, где одновременно с дренированием основания требуется и устройство морозозащитного слоя значительной толщины, устраиваемого на всю ширину земляного полотна.

Для устройства дренирующего слоя сравнительно небольшой толщины (до 30 см) на всю ширину земляного полотна следует применять крупнозернистые материалы (чистые гравийные материалы, гравелистые пески, шлаки), обладающие небольшим капиллярным поднятием.

Для устройства дренирующего слоя только на ширину проезжей части могут быть использованы материалы с коэффициентом фильтрации более 2 м/сутки.

73. К зернистому материалу для устройства фильтровых обсыпок (п. 60) предъявляются следующие требования:

водопроницаемость его должна быть выше водопроницаемости материала дренирующего слоя;

обсыпка должна препятствовать прониканию частиц грунта и песка в дрену, при этом и сам фильтр не должен заиливаться;

частицы фильтра не должны проникать в водоприемные отверстия дрен;

каменный материал обсыпки должен быть морозостойким.

74. Основными показателями состава материала для фильтровых обсыпок являются коэффициенты однородности К0 и междуслойный т.

Значения этих коэффициентов должны быть в пределах:

 и ,

где D60, D50 и D10 - диаметры частиц обсыпки, меньше которых в фильтре имеется 60, 50 и 10 % по весу;

d50 - то же для материала дренирующего слоя.

Этим требованиям обычно удовлетворяет мелкий гравий.

75. Для защиты дрен от заиливания можно использовать стеклоткань, выпускаемую промышленностью в рулонах длиной 120 - 150 м. (Холст стекловолокнистый марки ВВГ СТУ 77-10-213-65).

Стеклоткань обладает хорошей фильтрационной способностью, устойчива против агрессивного действия грунтовых вод, долговечна, обеспечивает надежную защиту дрен, имеет незначительный вес, процесс устройства защитного слоя нетрудно механизировать.

При производстве работ со стеклотканью требуется соблюдение правил техники безопасности. Рабочие должны быть снабжены хлопчатобумажными рукавицами с длинными манжетами и дерматиновым покрытием со стороны ладоней, комбинезонами и защитными очками.

76. Для устройства продольных дрен применяют гончарные (ГОСТ 8411-62*) и асбестоцементные (ГОСТ 1839-72) трубы. В последние годы широкое распространение получают трубы из пористого бетона (трубофильтры)*). Они являются более эффективными и экономичными (не требуют фильтровой обсыпки из щебня или гравия) по сравнению с дренами других конструкций.

*) Трубофильтры керамзитобетонные дренажные (ТУ 400-1-415-71 Главмостпромстройматериалы) применимы в условиях, неагрессивных к бетону грунтовых вод.

Весьма перспективно использование пластмассовых труб, имеющих большие преимущества перед другими трубами (п. 79).

77. Трубы для устройства дрен должны удовлетворять следующим общим требованиям:

1) иметь достаточную водопропускную способность для обеспечения отвода всей поступающей в них воды;

2) через водоприемные отверстия в дрены не должны проникать частицы материала дренирующего слоя;

3) выдерживать давление от веса вышележащих слоев грунта и одежды, а также от временных нагрузок;

4) быть морозостойкими;

5) сохранять перечисленные свойства в течение длительного времени;

6) диаметр дренажных труб должен быть не менее 50 мм при глубине промерзания до 0,8 м и не менее 80 мм при более глубоком промерзании.

78. К трубофильтрам, кроме указанных в п. 77, предъявляются дополнительные требования: материал для пористого бетона стенок труб должен обеспечивать надежную защиту от заиливания:

 и ,

79. Выпускаемые промышленностью СССР полиэтиленовые трубы обладают значительной длиной (от 8 до 200 м), благодаря чему уменьшается количество стыков, малым весом, гибкостью. Трубы стойки к воздействию агрессивных вод. Укладку их нетрудно механизировать.

В целях обеспечения требуемой жесткости стенок следует применять гофрированные полиэтиленовые трубы марки ПВП диаметром 80 мм. Они выдерживают давление 0,5 - 0,7 кгс/см2, при замерзании воды полиэтилен не повреждается, так как обладает высоким коэффициентом линейного растяжения (0,0002).

Обычно полиэтиленовые трубы выпускаются с уже готовой перфорацией в виде круглых отверстий либо узких прорезей. Для дренажей пригодны трубы с отверстиями не более 5 мм, длина же прорезей должна быть не более 25 мм.

Расчет дренирования основания проезжей части

Приток воды в основание

80. В основание проезжей части поступает вода, освобождающаяся при оттаивании переувлажненного грунта земляного полотна под проезжей частью и обочинами, и вода от атмосферных осадков, проникающая с поверхности дороги.

Расчетный суммарный приток воды qp в основание дорожной одежды в зависимости от вида грунта земляного полотна, климатических условий и типа местности по характеру увлажнения в общем случае следует принимать по данным табл. 5, составленной по результатам многолетних наблюдений и расчета (приложение 2).

81. В ряде случаев нет надобности учитывать все источники поступления воды в конструкцию (п. 80). В частности, при устройстве изоляции на обочинах, предохраняющей от проникания в основание влаги от атмосферных осадков, в расчет следует принимать только то количество воды, которое поступает в дренирующий слой при оттаивании грунта земляного полотна.

При эффективных мероприятиях по предотвращению миграции влаги из нижних слоев земляного полотна приток воды в дренирующий слой из оттаивающего грунта земляного полотна весьма мал и им можно пренебречь.

В этом случае (см. также п. 18) приток воды в дренирующий слой определяют, руководствуясь рекомендациями, изложенными в приложении 2.

Таблица 5

Расчетный приток воды в основание дорожной одежды

Дорожно-климатическая зона

Тип местности по увлажнению

Расчетный приток воды в основание, л/сутки на 1 м2 проезжей части

Супесь легкая (непылеватая) и песок пылеватый (группа А)

Суглинок непылеватый и глина (группа Б)

Суглинок пылеватый (группа В)

Супесь пылеватая (группа Г)

II

1

3,5

2,0

4,5

7,0

2

4,5

4,5

6,5

9,0

3

5,5

6,5

9,0

12,0

III

1

3,0

2,0

2,5

4,0

2

3,0

3,0

4,0

6,0

3

3,5

3,5

6,0

8,0

IV

3

3,0

3,0

3,5

5,0

Примечания: 1. Данными табл. 5 учтен коэффициент пик Кп, характеризующий неустановившийся режим поступления воды в основание, обусловленный неравномерностью во времени оттаивания грунта и выпадения атмосферных осадков, а также коэффициент гидрологического запаса Кг, вводимый ввиду неизбежного снижения фильтрационной способности материала дренирующего слоя в процессе длительной эксплуатации дороги на участке распространения пылеватых грунтов.

2. В районах Прибалтики при грунтах групп Б, В и Г приводимые в табл. 5 данные следует увеличить на 25 %.

При наличии газонов или разделительной полосы табличные значения притока воды увеличивают на 20 %.

Принципы расчета дренирующих слоев

82. При проектировании дренирования оснований дорожных одежд учитывают два расчетных случая. Первый относится к началу весеннего периода, когда основание дорожной одежды под серединой проезжей части уже оттаяло, а дренирующий слой у краев находится еще в мерзлом состоянии и водоотводящие устройства не работают.

Второй расчетный случай относится ко времени, когда дренирующий слой полностью оттаял и водоотводящие устройства начали нормально работать.

Дренажная конструкция должна быть рассчитана так, чтобы на первом этапе было обеспечено временное размещение поступающей воды до начала работы водоотводящих устройств без снижения прочности дорожной одежды, а на втором этапе вода своевременно и полностью отводилась бы из основания.

83. Для обеспечения устойчивости материала дренирующего слоя под действием кратковременных повторных нагрузок от движущихся автомобилей полная толщина дренирующего слоя !

,                                                             (13)

где hнас - толщина слоя, полностью насыщенного водой, м;

hзап - дополнительная толщина слоя, зависящая от капиллярных свойств материала; для крупных песков hзап = 0,10¸0,12 м, для песков средней крупности - 0,14 - 0,15 м и для мелких - 0,18 - 0,20 м.

Во всех случаях полную толщину дренирующего слоя принимают не менее 0,20 м.

84. Рассчитывают дренирующий слой с учетом фильтрационных и капиллярных свойств материала, конструкции земляного полотна и типа водоотводящих устройств.

При использовании материалов с коэффициентом фильтрации Кф меньше 4 м/сутки дренирующий слой, толщину которого определяют из условия своевременного отвода воды, обеспечивает обычно и временное размещение ее, пока водоотводящие устройства еще не работают; при 5 < Kф £ 10 м/сутки дренирующий слой, рассчитанный на временное размещение воды, обеспечивает, как правило, и своевременный отвод ее после оттаивания водоотводящих устройств; при Кф = 4 - 5 м/сутки нужен расчет как на обеспечение фильтрационного процесса, так и на временное размещение воды.

Толщину дренирующего слоя из мелких и средней крупности песков рассчитывают с учетом движения воды не только в свободном состоянии, но и в зоне капиллярного насыщения (п. 86). При крупных песках и других крупнозернистых материалах (Kф > 10 м/сутки) движение воды в капиллярной зоне ничтожно и им пренебрегают (п. 85).

Методы расчета

85. При использовании в дренирующем слое крупных песков и других материалов с Kф > 10 м/сутки расчет его толщины на своевременный отвод воды ведут по номограмме (рис. 23).

По известным значениям qp 3/сутки на 1 м2, п. 80) и Кф (м/сутки) находят на оси абсцисс номограммы (см. рис. 23) величину qp/Кф, а по ней на оси ординат - hнас. При длине пути фильтрации Z > 3,5 м найденное по номограмме значение hнас следует умножить на отношение Z/3,5.

Полную толщину дренирующего слоя вычисляют по формуле (13).

По номограмме рис. 23 можно также определить требуемый коэффициент фильтрации при известных значениях hнас, qp и i.

Рис. 23. Номограмма для расчета толщины дренирующего слоя из крупных песков:

L - длина пути фильтрации; i - уклон низа дренирующего слоя

86. Метод расчета толщины дренирующего слоя, устраиваемого из мелких и средней крупности песков, основан на закономерностях установившегося режима движения воды в двух взаимно связанных потоках, расположенных в два яруса: в нижнем потоке движется свободная, а в верхнем - капиллярная вода.

Формула, характеризующая указанный фильтрационный процесс, приведена в работах /5, 6, 8/. Для упрощения расчетов по ней составлена номограмма (рис. 24).

Рис. 24. Номограмма для расчета толщины дренирующего слоя из мелких и средней крупности песков

Толщину дренирующего слоя с помощью номограммы (см. рис. 24) рассчитывают следующим образом. Предварительно вычисляют отношение q¢/Kф, где q¢ - приток воды на 1 пог. м дороги, м3/сутки; при односкатном поперечном профиле проезжей части q¢ = qpв, а при двускатном q¢ = 0,5 qpв (qp - по табл. 5; в - ширина проезжей части, м). Затем по номограмме рис. 24 при известных значениях q¢/Kф и i находят отношение  (горизонтальная ось) и по нему при заданной длине пути фильтрации Z определяют величину hнас.

По номограмме нетрудно определить также требуемое значение коэффициента фильтрации материала при заданной толщине дренирующего слоя и известных других расчетных параметрах.

87. При проектировании дренажной конструкции с углубленными продольными ровиками (см. рис. 15), усиливающими процесс движения воды, толщину дренирующего слоя рассчитывают по формуле

,                                                 (14)

где Z - наибольшая длина пути фильтрации, м;

 - расчетная величина притока воды в дренирующий слой (см. табл. 5), м32/сутки;

 - разность напоров, м;

;

i - поперечный уклон низа дренирующего слоя в долях единицы;

 - расстояние от оси дороги до внешней бровки ровика, м;

 - ширина ровика поверху, м;

 - глубина фильтрационного потока в дренирующем слое непосредственно у продольной дрены; для песков средней крупности h0 = 0,03 м, для мелких песков h0 = 0,05 м;

hнac - глубина фильтрационного потока по оси проезжей части, м;

 - дополнительная толщина дренирующего слоя (п. 83), м;

 - коэффициент расхода воды в капиллярной зоне; для мелких песков  = 0,3, а для песков средней крупности  = 0,4;

h - глубина ровика (табл. 6), м.

Таблица 6

Песок

Длина пути фильтрации Z, м

Глубина ровика h, м

Мелкий

£ 3,75

До 0,5 hк, но не менее 0,20

> 3,75

До 0,8 hк, но не менее 0,35

Средней крупности

£ 3,75

До 0,8 hк, но не менее 0,15

> 3,75

До 1,0 hк, но не менее 0,25

88. Для того чтобы обеспечить временное размещение воды в песке в начальном периоде оттаивания, толщину дренирующего слоя определяют по формуле, основанной на сравнении объема воды, накапливающейся в основании дорожной одежды за период бездействия водоотводящих устройств, с объемом воды, который может разместиться в свободных порах материала дренирующего слоя

,                                            (15)

где  - коэффициент заполнения влагой пор в материале дренирующего слоя к началу оттаивания (табл. 7);

Q = qp×tзап - количество воды, м32, накопившейся в дренирующем слое за время запаздывания начала работы водоотводящих устройств (tзап); в условиях II дорожно-климатической зоны tзап составляет 4 - 6 суток, в условиях III зоны - 3 - 4 суток (большие значения для мелких песков);

n - пористость материала в уплотненном состоянии, в долях единицы (см. табл. 7);

 - коэффициент заполнения пор капиллярной водой в запасной части песчаного слоя.

Таблица 7

Толщина дренирующего слоя, см

Коэффициент jзим для дорог во II дорожно-климатической зоне в материале с пористостью

0,4

0,36

0,32

0,28

До 20

0,4

0,5

0,6

0,7

20 - 40

0,35

0,4

0,5

0,6

Более 40

0,3

0,35

0,45

0,55

Примечание. В III дорожно-климатической зоне величину  можно принимать равной 0,8 от значений, указанных в табл. 7.

80. Опыт показывает, что в процессе долговременной эксплуатации дороги выходы сплошного песчаного премирующего слоя на откосы (см. рис. 16,д) нередко загрязняются, вследствие чего прекращается свободное вытекание воды из указанного слоя.

Поэтому наряду с расчетом толщины дренирующего слоя на кратковременное размещение воды и осушение следует проверить, достаточен ли объем незаполненных пор этого слоя для размещения в нем на продолжительное время (tпр = 20¸15 суток в условиях II и III дорожно-климатических зон) поступающего в конструкцию количества воды в случае невозможности свободного вытекания ее на откосы, но с учетом испарения влаги.

Проверка заключается в сопоставлении суммарного объема воды, поступающей весной за 15 - 20 дней в дренирующий слой, за вычетом количества влаги, испаряющейся за это время через откосы, с объемом воды, который может разместиться в свободных порах дренирующего слоя без снижения прочности дорожной одежды.

Qдon ³ Qп,                                                                      (16)

где Qдоп - количество воды, которое может разместиться в свободных порах дренирующего слоя на 1 пог. м дороги;

,                                     (17)

Qп - общее количество поступающей в дренирующий слой воды за вычетом объема испаряющейся влаги

;                                                     (18)

F - площадь поперечного сечения песчаного слоя толщиной от низа каменной части одежды до подстилающего грунта в пределах всей ширины земляного полотна, м;

 - коэффициент заполнения пор капиллярной водой в запасной части песчаного слоя;

в - ширина проезжей части, м;

а - ширина обочины, м;

q - среднесуточный приток воды в песчаный слой (табл. 1 приложения 1), л/сутки на 1 м2 проезжей части;

qи - среднесуточный объем испаряющейся через песчаную часть откосов влаги (табл. 8), л/сутки на 1 м2 откоса;

 - протяженность песчаного слоя по откосу земляного полотна (см. рис. 16,д), м.

Таблица 8

Среднесуточный расход воды на испарение через песчаную часть откоса земляного полотна в расчетном периоде, л/сутки на 1 м2 откоса

Дефицит влажности воздуха, Мб

Значение qu, л/сутки на 1 м2 откоса, при скорости ветра, м/сек

1

2

3

4

5

0,5

0,5

0,5

0,6

0,6

0,7

1,0

0,8

0,9

1,0

1,1

1,2

1,5

1,1

1,2

1,3

1,5

1,6

2,0

1,3

1,5

1,7

1,9

2,0

2,5

1,6

1,8

2,0

2,2

2,4

3,0

1,8

2,0

2,3

2,5

2,7

3,5

2,0

2,3

2,5

2,8

3,0

4,0

2,2

2,5

2,8

3,1

3,3

4,5

2,4

2,7

3,0

3,3

3,6

5,0

2,5

2,9

3,2

3,5

3,9

Примечание. Указанные в табл. 8 значения дефицита влажности воздуха и скорости ветра относятся к первому весеннему месяцу. Эти величины устанавливают по материалам гидрометеослужбы, опубликованным в климатических справочниках /7/. Скорость ветра определяют по многолетним среднемесячным данным, а дефицит влажности воздуха с учетом повторяемости один раз в 20 лет (в сторону снижения по сравнению со среднемноголетней величиной).

Остальные обозначения приведены выше.

В случае, когда Qдon < Qп, толщину дренирующего слоя следует увеличить.

90. В выемках дренирующий слой из мелких песков (Кф = 1¸2 м/сутки), изображенный на рис, 16, б, е, нередко не обеспечивает своевременного отвода воды из основания проезжей части в продольные дрены или подкюветный дренаж. В этом случае целесообразно дренажную конструкцию рассчитать на отвод части воды, поступающей в дренирующий слой, и на размещение в его свободных порах остального количества накапливающейся в этом слое воды.

Такой расчет может быть произведен следующим образом.

Глубину потока свободной воды в дренирующем слое по оси проезжей части при двускатном профиле основания hнac (м) определяют по формуле:

,                                                  (19)

где

;

;

;

Кф - коэффициент фильтрации дренирующего материала, м/сутки;

Z - расстояние по горизонтали от оси проезжей части до середины дренажной трубы, м;

 - расчетная продолжительность размещения воды в дренирующем слое, сутки ( = 20¸15 суток соответственно для II и III дорожно-климатических зон);

в - ширина проезжей части, м;

а - ширина обочины, м;

р - превышение поверхности подстилающего грунта по оси проезжей части над уровнем низа дренажной трубы, м;

,  - количество свободной и капиллярной воды, л, размещаемое в песчаном слое на площади 1 м2 при высоте слоя 1 см (табл. 9)*);

 - дополнительная толщина слоя ( = 0,2 м) *), м;

j - коэффициент заполнения пор водой в капиллярно-насыщенном слое песка толщиной ( = 0,83)*);

h0 - глубина потока свободной воды в дренирующем слое непосредственно у трубчатой дрены (h0 = 0,05 м) *), м;

*) Значения , , , j и h0 даны для мелких песков с коэффициентом фильтрации 1 - 2 м/сутки.

q - среднесуточный приток воды в дренирующий слой за расчетный период (табл. 1 приложения 1), л/сутки на 1 м2.

Таблица 9

Значения  и

Дорожно-климатическая зона

Количество воды, л, размещаемой в песчаном слое толщиной 1 см на площади 1м2

в зоне полного насыщения

в зоне капиллярного насыщения

II

1,1 - 2,0

0,7 - 1,3

III

1,9 - 2,2

1,2 - 1,4

IV - V

2,5

1,6

Примечания: 1. Меньшие табличные значения относятся к 3-му типу увлажнения земляного полотна, большие - к 1-му типу (приложение 1).

2. Величины водопоглощения в IV - V дорожно-климатических зонах даны только для 3-го типа увлажнения земляного полотна.

Полную толщину дренирующего слоя определяют по формуле (13).

Особенности расчета дренирующих слоев вблизи вогнутых переломов продольного профиля

91. Особое внимание при проектировании дренирующих слоев следует уделять участкам с вогнутыми переломами продольного профиля, где продольные уклоны превышают поперечные.

В тех местах, где величина продольного уклона уменьшается, происходит накопление воды, обусловленное различными скоростями ее притока и оттока.

Рис. 25. Номограмма для определения коэффициента накопления воды в дренирующем слое в местах вогнутых переломов продольного профиля

Количество воды, поступающей за сутки в основание на 1 м2 проезжей части, определяют по формуле

,                                                             (20)

а за весь срок запаздывания оттаивания водоотводящих устройств - по формуле

,                                                            (21)

где qр - объем воды, поступающей в основание за сутки (см. табл. 5), м32;

Кпер - коэффициент, характеризующий накопление воды у перелома продольного профиля.

92. Когда уклоны у перелома профиля имеют одинаковое направление, величину коэффициента Кпер определяют по номограмме рис. 25. На номограмме величины Кпер даны в зависимости от отношения  (кривые на номограмме) и  (горизонтальная ось), где п - пористость материала, доли единицы; i1 и i2 - продольные уклоны выше и ниже перелома профиля.

При встречных уклонах продольного профиля величину Кпер определяют по формуле

.                                               (22)

Для определения hнас. вог. используют номограммы рис. 23 и 24 и формулу (15).

4. ОСОБЕННОСТИ ПРОЕКТИРОВАНИЯ ОСУШЕНИЯ РЕКОНСТРУИРУЕМЫХ ДОРОГ

Ограничение увлажнения

93. Для обоснованного назначения мероприятий по ограничению увлажнения одежды и земляного полотна при проектировании реконструкции существующих дорог необходимо располагать подробными данными об их конструкции, поведении в эксплуатации этих дорог, о прочности дорожной одежды, состоянии проезжей части и земляного полотна, о наличии и эффективности морозозащитных элементов, дренирующих слоев и водоотводящих устройств. Указанные данные получают на основании специальных инженерно-геологических обследований, изучения материалов службы дорог, визуальных и инструментальных определений параметров и прочности дорог.

94. Действующую дорогу обследуют в весенний, наиболее неблагоприятный период работы дорожной одежды и земляного полотна, по методике, изложенной в ВСН 46-62 и в работе /10/. По этой же методике с учетом полученных фактических данных, перечисленных в п. 93, оценивают прочность, морозоустойчивость и осушающую способность дорожной одежды и земляного полотна, устанавливают причины развития деформаций, выявляют условия, при которых на отдельных участках продолжительное время не возникало существенных повреждений и эксплуатационные качества проезжей части удовлетворяли требованиям движения.

95. На участках, где основной причиной деформаций дорожной одежды является переувлажнение и неравномерное пучение грунта земляного полотна, должны быть приняты меры по ограничению увлажнения грунта в активной зоне поверхностными и грунтовыми водами.

Предусматриваемые в этом случае мероприятия зависят от характера работ по реконструкции.

96. Если предстоит только усилить дорожную одежду без уширения проезжей части и земляного полотна, то наиболее рациональным может оказаться утолщение одежды стабильными материалами до пределов, требуемых для обеспечения морозоустойчивости конструкции (ВСН 46-72).

Кроме того, в необходимых случаях целесообразны мероприятия по дренированию.

При определении общей толщины слоев из стабильных материалов к ним не следует относить песчаный слой существующей одежды (песок перемешан с грунтом), загрязненные материалы основания, а также неморозостойкие слабопрочные каменные материалы.

97. На участках с заниженным земляным полотном, возведенным из морозоопасных грунтов, миграцию влаги в активную зону ограничивают:

- сооружением земляного полотна поверх существующей конструкции с устройством новой дорожной одежды;

- перестройкой участка с заменой морозоопасного грунта верхней, активной зоны земляного полотна;

- введением в новую дорожную одежду слоев из теплоизоляционных материалов;

- повышением водостойкости, морозоустойчивости и прочности существующей конструкции путем закрепления грунта земляного полотна нагнетанием растворов (пп. 99 - 106).

Во всех случаях должна быть обеспечена морозоустойчивость сооружаемых конструкций в соответствии с требованиями ВСН 46-72.

98. На участках, где, кроме усиления дорожной одежды, предусмотрено также уширение проезжей части и земляного полотна, должны быть обеспечены равнопрочность одежды в пределах существовавшей ранее конструкции и новых полос уширения.

99. На коротких (до 100 пог. м) участках, где деформация существующей дорожной одежды обусловлена главным образом сильным переувлажнением грунта земляного полотна, в случае, когда традиционные способы уменьшения влагонакопления неэффективны, целесообразно закреплять грунт путем нагнетания в него специальных растворов /11/.

При решении этого вопроса следует учитывать свойства грунта земляного полотна и материалов существующей дорожной одежды, фильтрационную способность их, влажность и плотность в период производства работ, а также прочностные характеристики грунта, которые желательно получить в результате его закрепления.

100. Для придания грунту гидрофобных свойств земляное полотно нагнетают водный раствор этил- и метилсиликанатов натрия (ГКЖ- 10, ГКЖ-11 - ГОСТ 13004-67) или разжиженные битумы, дегти и другие материалы и отходы промышленности, имеющие маслянистые составляющие.

Для более существенного закрепления грунта в него вводят химические реагенты, которые в течение заданного времени превращаются в гелеобразующие вещества, цементирующие грунт. Такими реагентами являются водный раствор силиканата натрия (ГОСТ 13078-67) с технической серной кислотой (ГОСТ 2184-67), водный раствор концентрата сульфитно-спиртовой барды (ГОСТ 8518-57) с двухромовокислым калием (ГОСТ 4220-65) и др.

101. Подобные мероприятия возможны на незасоленных грунтах с коэффициентом фильтрации 0,01 - 0,2 м/сутки и коэффициентом пучения не более 1 %.

Вязкость раствора не должна превышать 8 сантипуаз, а время гелеобразования*) должно находиться в пределах 10 - 20 час.

*) Началом гелеобразования считают момент перехода раствора из жидкого состояния в желеобразное.

При испытании закрепленного грунта на водонасыщение-высушивание (водостойкость) потеря в весе не должна превышать 1 %, а прочность при сжатии после 30-суточного влажного хранения должна быть не менее 2 кгс/см2.

Перечисленные свойства при химическом закреплении можно придать даже таким грунтам, как пылеватые пески, супеси пылеватые, суглинки легкие и суглинки легкие пылеватые.

102. Для производства работ по закреплению грунта следует применять оборудование, приборы и инструмент, серийно выпускаемые промышленностью.

Оборудование должно обеспечивать возможность установки и извлечения инъекторов, приготовления растворов и нагнетания их в грунт.

Для вскрытия дорожной одежды применяют буровые машины и станки, электромолотки, отбойные молотки, бетоноломы; для бурения скважин - электро- и пневмосверла со змеевиками, буровые машины и станки; для питания силового оборудования - электростанции, компрессоры и др.

103. Работы, связанные с нагнетанием растворов, производят в такой последовательности:

- в летнее время вскрывают дорожную одежду и устанавливают ее состав и толщины слоев, отбирают пробы для определения коэффициента фильтрации, влажности, плотности, пористости грунтов и материалов слоев;

- подбирают составы закрепляющих растворов;

- устанавливают радиус распространения растворов, с уютом которого составляют схему расположения точек инъектирования на участке дороги;

- устанавливают в проезжую часть инъекторы и нагнетают закрепляющие растворы;

- через 7 - 10 суток в нескольких местах между инъекционными скважинами вскрывают одежду и определяют эффект закрепления грунтов.

104. При закреплении грунтов необходимо соблюдать правила техники безопасности /11/, особенно при обращении с электрооборудованием (см. "Инструкцию по заземлению передвижных строительных механизмов и электрифицированного инструмента" СН 38-68).

Особая осторожность целесообразна при использовании химических реагентов. На всех емкостях для хранения химических растворов должны быть сделаны надписи несмываемой краской "Яд", "Огнеопасно", рабочих необходимо обеспечить спецодеждой, защитными очками, респираторами типа Ф45, Ф46, ПРБ-1 и др.

105. Радиус распространения раствора определяют по формуле

,                                                       (23)

где  - коэффициент фильтрации грунта, м/сутки;

Р - давление нагнетания, м водяного столба;

 - время нагнетания, сутки;

 - коэффициент заполнения пор грунта раствором: для разжиженных битумов  = 0,15¸0,20, для ГКЖ-10  = 0,08¸0,12, для химических растворов  = 0,2¸0,25;

п - пористость грунта;

,  - соответственно кинематические коэффициенты вязкости воды и раствора, сек.

С уменьшением радиуса распространения раствора эффект закрепления грунта повышается и требуется меньше времени для нагнетания. Практикой установлено, что наиболее рациональны радиусы 50, 100, 150 см, причем для грунтов с лучшими фильтрационными свойствами принимают наибольший радиус.

106. Давление нагнетания должно быть таким, чтобы на покрытии не возникали деформации вздутия, трещины и т.п. Допустимую величину его устанавливают из условия равновесия системы сил: веса вышележащих слоев одежды и давления раствора в порах грунта.

Расчеты и опыт показывают, что давление нагнетания для асфальтобетонных покрытий не должно превышать 2 ати.

Дренирование

107. При реконструкции дороги дренажные устройства (рис. 26) назначают с учетом наличия и состояния поверхностного водоотвода и дренирующих слоев, а также принятых технических решений по перестройке дороги (усиление дорожной одежды, уширение проезжей части и земляного полотна, устройство укрепительных полос и др.) /12/.

108. На участках, где дренирующий слой под каменной частью существующей дорожной одежды устроен только на ширину проезжей части, рациональна конструкция нового дренажного устройства (рис. 26,а), в котором для отвода воды служит песчаный слой, устроенный на всю ширину обочин.

На старых дорогах песок в подстилающем слое дорожной одежды бывает обычно мелким, частично заиленным, поэтому для усиления фильтрации воды в нем новый дренирующий слой на обочинах и под полосами уширения и укрепления следует заглубить относительно низа старого песчаного слоя на (0,6 - 0,8)hк, где hк - высота капиллярного поднятия в песке старого подстилающего слоя.

109. В случаях, когда в существующей одежде нет песчаного слоя (или песок заилился так, что утратил фильтрационные свойства), новый дренирующий слой устраивают в пределах уширения проезжей части, укрепительных полос и обочин с некоторым заглублением относительно низа старой одежды (не менее 5 см), если для обеспечения прочности уширяемой части одежды не потребуется более толстый слой песка.

110. На участках, где существующий дренирующий слой выполнен на всю ширину земляного полотна и фильтрационные свойства песка удовлетворяют требованиям пп. 71, 72, имеющуюся конструкцию дренажа, в целях максимального ее использования, перестраивают по рис. 26,б. В этом случае покрытие в пределах уширения и укрепительные полосы устраивают на новом каменном основании по существующему песчаному слою. Ввиду утолщения дорожной одежды производится соответствующая подсыпка обочин песком.

Рис. 26. Дренаж на реконструированной дороге с новым песчаным водоотводящим слоем на всю ширину обочин (а), с верхней частью земляного полотна из песка (б) не отводом воды продольными дренами (в):

1 - существующая дорожная одежда (покрытие, основание, дренирующий слой); 2, 3 - вновь устроенные покрытие и основание; 4 - укрепительная полоса; 5 - новый дренирующий слой на всю ширину обочины; 6 - укрепленная обочина; 7 - засев трав; 8 - бетонный оголовок; 9 - укрепление в месте сброса воды из дрены, 10 - каменное основание; 11 - поперечная выпускная труба; 12 - продольная трубчатая дрена, 13 - фильтровая обсыпка

Если же фильтрационные свойства песка существующего дренирующего слоя не удовлетворяют требованиям пп. 71, 72, то следует устраивать дренажную систему аналогично тому, как указано на рис. 26,а.

111. На участках полной перестройки дороги и значительного подъема земляного полотна с засыпкой существующей дорожной одежды грунтом мероприятия по обеспечению осушения активной зоны и новой одежды существенно не отличаются от применяемых при новом строительстве.

112. В выемках и на участках с нулевыми отметками при неблагоприятных грунтово-гидрологических условиях, обусловливающих значительный приток воды в основание проезжей части, для быстрого удаления воды из дренирующего слоя может быть применен продольный трубчатый дренаж с трубчатыми поперечными выпусками (рис. 26,в).

113. При значительных продольных уклонах (более 0,03), если дорожную одежду усиливают и устраивают новый дренирующий слой поверх старой дорожной одежды, для перехвата воды, движущейся в песчаном слое вдоль дороги, должны быть устроены поперечные дрены из крупнопористого материала под проезжей частью на всю ее ширину (см. п. 65). В этом случае применим вариант дрен в виде призм или валиков, так как заглубление прорезей (п. 65, рис. 21) в старую дорожную одежду затруднено и нецелесообразно.

114. Когда предусмотрено усиление дорожной одежды с неплохо сохранившимся водонепроницаемым покрытием, следует учитывать, что это покрытие в дальнейшем будет выполнять роль изолирующей прослойки, препятствующей прониканию воды в новый дренирующий слой из оттаивающего грунта под проезжей частью. Поэтому при расчете количества поступающей в новый песчаный слой воды величиной q1 (см. приложение 2) можно пренебречь, а учитывать следует только воду, поступающую из грунта, находящегося под обочинами, q2 и с поверхности дороги от атмосферных осадков q3; если обочины отсыпаны из песчаного грунта, то нет надобности учитывать и q2.

115. При усилении водопроницаемой дорожной одежды (гравийной, щебеночной, булыжной и др.) гидроизолирующая, а также капилляропрерывающая роль ее будет весьма ничтожной и ею можно пренебречь. Тем не менее нужно проанализировать, в какой мере толщина слоев старой дорожной одежды и качество ее материалов (чистота или загрязненность песчаного слоя, возможность зимнего влагонакопления в нем) окажут влияние на поступление воды в дренирующий слой.

116. Принципы расчета дренирующего слоя реконструируемых дорог остаются такими же, как и новых дорог: должно быть обеспечено и временное размещение воды в начальный весенний период, и своевременный отвод ее дренами в последующей стадии (пп. 82 - 84). При значительных продольных уклонах необходимо предотвратить движение воды в песчаном подстилающем слое по уклону в соответствии с указаниями пп. 65, 91, 92.

5. ТЕХНИКО-ЭКОНОМИЧЕСКОЕ ОБОСНОВАНИЕ ПРОЕКТНЫХ РЕШЕНИЙ

117. Регулировать влажностный режим земляного полотна автомобильных дорог можно различными способами. Поэтому большое значение приобретает технико-экономическое обоснование выбора соответствующей конструкции или проектного решения, в котором выгодно сочетаются несколько мероприятий.

Проектные решения обосновывают путем сравнения вариантов, равноценных как по морозоустойчивости, так и по прочности дорожной одежды /6, 13/.

118. Применительно к условиям избыточного увлажнения и сезонного промерзания грунтов при неглубоком залегании грунтовых вод наиболее целесообразной является следующая методика обоснования проектных решений:

а) по допускаемой величине пучения (ВСН 46-72) с помощью номограммы рис. 5 (правая часть) намечают конструкции, равноценные по условиям морозоустойчивости (зимнего влагонакопления), но различные в отношении высоты насыпи, общей толщины слоев из стабильных материалов, вида грунта, применяемого для возведения земляного полотна, глубины промерзания;

б) для каждой из равноценных по морозоустойчивости конструкций с помощью номограмм рис. 5 (левая часть) и формул (4), (5) определяют влажность грунта земляного полотна;

в) в зависимости от значений влажности находят (ВСН 46-72) для каждого варианта величины деформационных и прочностных характеристик грунта: модуля упругости E, угла внутреннего трения  и сцепления С;

г) с учетом установленных значений прочностных и деформационных характеристик грунта конструируют и рассчитывают на прочность дорожную одежду. Требуемую прочность одежды принимают одинаковой для всех вариантов; величину ее назначают в соответствии с перспективными размерами движения.

Если общая толщина одежды, полученная расчетом на прочность, укладывается в величину Z1, (Z1 - эквивалентная толщина слоев из стабильных материалов), определенную расчетом на морозоустойчивость, а влажность грунта не превышает значения Wmax, определенного по формуле (3), то на этом заканчивают составление данного варианта. В противном случае изменяют конструкцию одежды либо задаются другой величиной Z1 и повторяют расчет на морозоустойчивость и прочность;

д) после расчета конструкции на морозоустойчивость и прочность оценивают дренирующую способность для каждого варианта. Для этого находят общее количество воды, поступающей весной в основание проезжей части за сутки, и устанавливают расчетом, какое количество воды может быть отведено дренирующим слоем или в необходимых случаях временно размещено в нем. Одновременно решается вопрос о типе и конструкции устройств для отвода воды из дренирующего слоя.

Если вариант не удовлетворяет требованиям в отношении дренирования, приходится вносить в конструкцию необходимые изменения;

е) для всех рассчитанных вариантов определяют необходимые затраты на строительство. Наиболее дешевый в данных условиях вариант является оптимальным.

119. Обеспечить требуемую водопропускную способность дренирующего слоя можно различными путями: применением дренирующего материала с тем или иным коэффициентом фильтрации, назначением различной толщины дренирующего слоя, изменением длины пути фильтрации и др. Поэтому в сложных случаях при проектировании дренирующего слоя приходится разрабатывать ряд вариантов и сравнивать их.

Для того чтобы упростить решение вопроса о целесообразности использования в дренирующем слое того или иного материала, можно пользоваться номограммой рис. 27.

На горизонтальной оси отложено отношение коэффициентов фильтрации имеющихся материалов, а на вертикальной - отношение стоимостей этих материалов. Цифры у лучей обозначают величины , где  - больший (из сравниваемых) коэффициент фильтрации материала, м/сутки;  - приток воды на 1 м ширины потока, м3/сутки;  - коэффициент, учитывающий степень крупности материала и величину уклона (табл. 10).

Рис. 27. Номограмма для выбора дренирующего материала. Числа при лучах обозначают

Если точка, найденная на номограмме рис. 27 по отношению коэффициентов фильтрации  и отношению стоимостей материалов C12, находится ниже луча , то целесообразно использовать в рассматриваемых условиях первый материал с более высоким коэффициентом фильтрации; если же указанная точка окажется выше луча, то более рационально применение второго материала.

120. Изложенная в п. 118 методика вполне приемлема для обоснования мероприятий по регулированию водного режима в случаях, когда тип покрытия и степень капитальности конструкции регламентированы, а строительство намечается вести в один этап.

Если же в задачу проектирования входят выбор типа покрытия, обоснование целесообразности стадийного строительства и степени капитальности конструкции на каждой стадии, эта методика является лишь частью, хотя и основной, общей методики технико-экономического обоснования дорожных конструкций.

В этом случае основными варьируемыми позициями являются тип покрытия, стадийность строительства одежды проезжей части и период между стадиями.

Таблица 10

Величина коэффициента

Песок по СНиП 1-Д.2-70, ГОСТ 8736-67

Уклон

Коэффициент

Мелкий и средней крупности

0,00

0,0005

0,02

0,0021

0,04

0,0035

Крупный

0,00

0,0000

0,02

0,0007

0,04

0,0019

По каждой из указанных позиций составляют варианты с различными сочетаниями мероприятий по регулированию водно-теплового режима и отбирают из них наиболее дешевый по затратам на строительство. Здесь расчет ведут по приведенной выше методике.

Далее отобранные по каждой позиции варианты сопоставляют между собой по приведенной сумме капитальных вложений, дорожных и транспортных эксплуатационных затрат (суммарные капитальные вложения и эксплуатационные затраты с учетом фактора времени). Наилучшим вариантом признают вариант с минимальными приведенными затратами /13/.

6. ПРИМЕРЫ

Пример 1. Назначить и обосновать мероприятия по ограничению увлажнения земляного полотна и отводу избытка воды из основания проезжей части.

Исходные данные. Дорога II категории с двускатным поперечным профилем и укрепленными обочинами будет построена в Ленинградской области. По характеру и степени увлажнения местность относится к 3-му типу (СНиП II-Д.5-72).

Среднее многолетнее значение осеннего уровня грунтовых вод - 0,5 м от поверхности земли. Грунт в пределах дорожной полосы - суглинок тяжелый: Wт = 0,30; Wопт = 0,15; dmax = 1,7 г/см3; dлет = 0,98dmax; dвес = 0,92dmax; В = 3,5 см2/сутки.

Покрытие намечено устроить из асфальтобетона с модулем упругости Е = 18000 кгс/см2 и сопротивлением растяжению при изгибе с учетом усталостных явлений Rизг = 20 кгс/см2. Стоимость 1 м3 асфальтобетона для верхнего слоя - 40 руб., для нижнего - 28 руб.

В основание одежды будет уложен гравийный материал, укрепленный цементом (6 % цемента), с модулем упругости Е = 5000 кгс/см2 и сопротивлением изгибу Rизг = 3 кгс/см2. Стоимость 1м3 - 1,0 руб.

Для подстилающего слоя будет применен мелкий песок с коэффициентом фильтрации Кф = 4 м/сутки, модулем упругости Е = 1300 кгс/см2, углом внутреннего трения  = 35° и сцеплением С = 0,06 кгс/см2. Стоимость 1 м3 песка - 2,0 руб. Стоимость 1 м3 грунта в насыпи - 1,0 руб.

Стоимость дана для 1 м3 материала и грунта в yплотненном состоянии с учетом затрат на укладку в конструкцию.

Расчеты, связанные с обоснованием мероприятий по регулированию водно-теплового режима, ведут в такой последовательности.

1. Находят среднее многолетние значения факторов (, , , ), формирующих водно-тепловой режим грунта земляного полотна, а также их стандартные отклонения (S1, S2, S3, S4).

Количество осенних осадков  определяют по графику (рис. 10) как разность интегральных сумм между осадками на конец периода осевшего влагонакопления и на его начало. Величина  = 125 мм. Стандартное отклонение осенних осадков S составляет, согласно рис. 11 30 мм.

Рис. 28. Варианты (I - III) конструкций дорожной одежды и земляного полотна (к примеру 1):

1 - асфальтобетон; 2 - гравийный материал, укрепленный цементом; 3 - мелкий песок; 4 - тяжелый пылеватый суглинок

Для определения нормативной глубины промерзания  используют номограмму рис. 8. Предварительно на картах (см. рис. 6) для района г. Ленинграда находят, что средние многолетние суммы отрицательных  и положительных  температур воздуха соответственно равны 850 и 2250 градусо-суткам; .

По расстоянию до уровня грунтовых вод (рис. 28) в предзимний период, считая от поверхности покрытия, и отношению  находят по номограмме рис. 8, что средняя глубина промерзания конструкции  по каждому из вариантов равна*): 1,83; 1.8; 1,76.

*) Здесь для повышения надежности расчета отношение эквивалентной толщины слоев из стабильных материалов к Z1, принято равным 1.

По формуле  (п. 43) определяют стандартное отклонение от нормативной глубины промерзания : для всех трех вариантов  м.

Осенний уровень грунтовых вод  для трех вариантов конструкций (см. рис. 28) принят, в соответствии с фактическими измерениями, равными 2,25 м, 2,00 и 1,90. По данным Ленинградской станции водно-теплового режима, стандартное отклонение от среднего значения осеннего уровня грунтовых вод  для северо-западных районов европейской части СССР при глубине расположения этих вод от поверхности земли до 1,0 м составляет S2 = 0,07 м.

Период зимнего влагонакопления устанавливают по графику рис. 12. Стандартное отклонение получают по фактическим данным (для района г. Ленинграда S4 = 10 дням).

2. Для всех трех вариантов (см. рис. 28) находят общую эквивалентную толщину слоев из стабильных материалов, исходя из условия, что все конструкции будут равноценны по морозоустойчивости (lпуч. доп = 4 см).

Предварительно вычисляют отношение

; 0,54; 0,55.

Затем по номограмме (рис. 5) при  = 0,53; 0,54, 0,55 и  = 0,82; 0,90; 0,93 находят соответственно величины  = 0,35; 0,48; 0,57, откуда Z1 = 0,35×1,83 = 0,64 м; 0,87 и 1,00 м.

Далее определяют для этих же вариантов высоту насыпи Ннас из тяжелого суглинка

Ннас =  - Z1 - 0,50 = 2,25 - 0,64 - 0,50 = 1,11 м; 0,63 и 0,40 м.

3. Для каждого из вариантов определяют расчетную влажность грунта земляного полотна.

Для этого вычисляют осеннюю влажность грунта:

.

Начальная относительная влажность грунта (до периода осеннего влагонакопления):

,

тогда

 = 0,50 + 0,006×125×(1 - 0,8) = 0,50 + 0,15 = 0,65.

Затем определяют величины показателя

;

А2 = 0,155; А3 = 0,187

Далее при  = 0,53; 0,54; 0,55 и полученных значениях А по номограмме рис. 5 (левая часть) находят, что относительная влажность грунта за счет зимнего влагонакопления  = 0,07; 0,085; 0,105.

Следовательно, среднее значение расчетной (весенней) влажности грунта, слагающееся из осенней влажности и влажности, накопившейся за зиму, соответственно равно:  = 0,72;  = 0,735;  = 0,755.

Максимальное значение весенней влажности с повторяемостью один раз в 20 лет (t = 1,64) определяют по формуле (3)

 = 0,72(1 + 1,64×0,099) = 0,72×1,16 = 0,835.

Таблица 11

Номер варианта (см. рис. 28)

, см

, см

Ннас, см

А

Е, кгс/см2

j, град.

С, кгс/см2

I

0,82

225

0,35

64

111

0,13

0,07

0,835

225

12

0,085

II

0,90

200

0,48

87

63

0,155

0,085

0,85

210

11

0,07

III

0,93

190

0,57

100

40

0,187

0,105

0,88

200

10

0,06

Сомножитель, находящийся в скобках, и для других вариантов практически не отличается от 1,16. Поэтому:

;

.

4. В приложении 2 ВСН 46-72 находят величины прочностных и деформационных характеристик грунта. Эти величины, а также результаты определения для вариантов высоты насыпи, толщины слоев из стабильных материалов и влажности грунта земляного полотна сведены в табл. 11.

5. В соответствии с ВСН 46-72 назначают толщину слоев одежды и рассчитывают ее на прочность по трем критериям.

Приведенные на рис. 28 конструкции получены в результате такого расчета с учетом установленных для разных вариантов значений прочностных и деформационных характеристик грунта земляного полотна, а также размеров движения и их изменения в перспективе.

6. Оценивают дренирующую способность конструкции разных вариантов (см. рис. 28).

Для этого определяют общее количество воды (л/сутки на 1 м2 проезжей части), поступающей весной в песчаный слой (), по методике, изложенной в приложении 2:

Значения параметров формулы применительно к данным условиям: Wвec = Wтах×wt = 0,835×0,3 = 0,25 (весовых);  = 0,92 mox = 0,92×1,7 = 1,56 г/см3; коэффициент b для суглинистого грунта составляет 0,75; яет = 0,98 mox = 0,98×1,7 = 1,65 г/см3;  = 1,5; Kг = 1,2; h1 = 0,05 м.

При указанных величинах параметров: q1 = 0,05(0,25×1,56 - 0,75×0,30×1,65)1,5×1,2×1000 = 1,8 л/сутки на 1 м2 проезжей части; q2 = 0,03 (0,39 - 0,37)×1,5×1,2×1000 = 1,1 л/сутки; q3 = 2×1,1 = 2,2 л/сутки (табл. 1 приложения 1); qp = 1,8 + 1,1 + 2,2 = 5,1 л/сутки на 1 м2 проезжей части.

Поскольку в подстилающем слое используется мелкий песок, расчет толщины дренирующего слоя производят по номограмме рис. 24. Для этого предварительно найденную величину qp в л на 1 м2 проезжей части переводят в м3 на 1 пог. м дороги: qp = 5,1×7,5×0,001 = 0,038 м3 в сутки на 1 пог. м дороги.

Определяют отношение q'/Kф =  = 0,0047.

При q'/Kф = 0,0047, поперечном уклоне i = 0,02 и длине пути фильтрации 3,75 м находят по номограмме рис. 24, что hнас = 0,05 м; hn = hнас + hзап = 0,05 + 0,20 = 0,25 м (0,20 м - hзап для мелкого песка; п. 83).

Найденная толщина дренирующего слоя (0,25 м) обеспечивает своевременный отвод воды при пути фильтрации от оси до кромки проезжей части, где вода должна быть беспрепятственно сброшена, например, продольными дренами; она меньше толщины песчаного слоя, установленного по условиям морозоустойчивости и прочности конструкции для 1-го и других вариантов (см. рис. 28) Следовательно, запроектированная толщина слоя обеспечит дренирование основания.

Необходимо также проверить, достаточна ли толщина запроектированного песчаного слоя для временного размещения воды, поступающей в основание за время запаздывания оттаивания конструкций у краев проезжей части (tзап = 5 суток).

Для расчетов используют формулу (15):

, м.

Расчетные параметры: для данной толщины слоя  = 0,42 (табл. 7);  = 0,70; n = 0,36.

Q = qp×tзап = 5,1×5 = 25,5 л/м2 или 0,0255 м32;

 = 0,22 м.

Таким образом, и эта толщина слоя меньше запроектированной по условиям морозоустойчивости и прочности.

Может быть рассмотрен также способ дренирования с помощью сплошного песчаного слоя на всю ширину земляного полотна. В этом случае длина пути фильтрации составит

Z = 3,75 + 3,75 + 1,0 = 8,5 м.

При полученном выше значении q'/Kф; i = 0,02 и Z = 8,5 м по номограмме рис. 24 находят, что:

 м.

В этом случае hп = 0,12 + 0,20 = 0,32 м, что не отличается от толщины песчаного слоя, назначенного по условиям обеспечения требуемых морозоустойчивости и прочности дорожной одежды.

Сравнение затрат на устройство дренирующего слоя на ширину проезжей части, если для отвода из него воды служат продольные трубчатые дрены с поперечными выпусками, с расходами на устройство песчаного слоя на всю ширину земляного полотна показало, что по строительной стоимости оба способа дренирования примерно равноценны. Учитывая, однако, дефицитность дренажных труб, сложность технологии устройства продольных дрен, а также высокие требования к содержанию такого дренажа, отдается предпочтение второму способу дренирования.

Толщина песчаного слоя в вариантах II и III, полученная исходя из обеспечения морозоустойчивости и прочности конструкций, значительно больше, чем в первом варианте (см. рис. 28). Очевидно, поэтому их дренирующая способность в сравнении с вариантом I выше и вполне достаточна как для своевременного отвода поступающей весной в основание проезжей части воды, так и для временного размещения ее до оттаивания песка у краев проезжей части и на обочинах.

7. Затраты на строительство 1 км дороги по варианту I (см. рис. 28) составляют 77 тыс. руб., по варианту II - 73 тыс. руб. и по варианту III - 68,5 тыс. руб. Таким образом, наиболее выгодным оказался вариант III. Однако при иных расходах на сооружение отдельных элементов конструкции может оказаться более выгодным другой вариант. В частности, при стоимости 1 м3 песка 4,0 руб. наиболее целесообразным является вариант I, по которому на строительство 1 км дороги затрачивается 95,5 тыс. руб.; II и III варианты оказались примерно равноценными, но более дорогими (около 97 тыс. руб. на 1 км дороги).

Пример 2. Определить безопасное расстояние от бровки земляного полотна до уреза застаивающейся воды (lу) для улучшения водного режима земляного полотна в условиях 2-го типа увлажнения местности (см. п. 17).

Исходные данные. Дорога проходит по территории Московской области на участке с необеспеченным поверхностным стоком. Весной и осенью наблюдается длительный (более 20 суток) застой воды в микропонижениях местности. Грунтовые воды не оказывают влияния на увлажнение почвогрунтов. Летом верхняя толща грунтов (до 1,5 м) с ненарушенной структурой просыхает до оптимальной влажности и ниже. Высота насыпи 1,3 м, крутизна откосов 1:3, грунт земляного полотна - суглинок легкий с числом пластичности 8; грунт в основании насыпи тот же, что и в земляном полотне. Объемный вес скелета грунта d = 1,80 г/см3, коэффициент фильтрации Кф = 0,0005 м/сутки, влажность при полной влагоемкости Wn.в = 0,16, оптимальная влажность W0 = 0,12.

Ввиду отсутствия фактических данных о продолжительности стояния воды принимают максимальное ее значение, равное 230 суткам.

Величину безопасного расстояния lу находим по формуле (1):

м.

В данном примере заложение откоса составляет 1,3´3 = 3,9 м, что больше величины безопасного расстояния lу = 2,7 м. При таких соотношениях не требуется устройства берм или уположения откосов.

В этом случае величина притока воды в дренирующий слой может быть принята соответственно 1-му типу увлажнения земляного полотна, что составляет, по табл. 1 приложения 1, 2 л/сутки на 1 м2 проезжей части.

Пример 3. Найти толщину дренирующего слоя из мелкого песка для участка дороги, проходящего в выемке.

Исходные данные. Дорога III категории проходит в выемке на территории Московской области. Грунт земляного полотна - суглинок тяжелый пылеватый.

Расчетный уровень грунтовых вод в осенний период находится на расстоянии 3,1 м от поверхности покрытия, расчетная глубина промерзания - 1,8 м.

Дренирующий слой (см. рис. 16,б) будет устроен из мелкого песка с коэффициентом фильтрации 1,1 м/сутки.

Поперечный уклон основания слоя - 0,02; глубина ровика до основания дренажной трубы - 0,2 м; заложение откоса ровика - 0,5 м.

Расстояние по горизонтали от оси проезжей части до середины дренажной трубы 5,8 м.

Толщину дренирующего слоя находят следующим образом:

1. По карте приложения 1 определяют, что выемка находится в районе 2-II.

2. В соответствии с п. 6 "безопасная" глубина залегания грунтовых вод в осенний период равна 1,8 + 2,5 = 3,8 м. По табл. 2 приложения 1 при расчетном уровне грунтовых вод (3,1 м) выше "безопасной" глубины (3,8 м) устанавливают, что земляное полотно находится в условиях 3-го типа увлажнения.

3. Определяют величину среднесуточного притока воды в дренирующий слой; по табл. 1 приложения 1 он равен 6,0 л/сутки на 1 м2 проезжей части.

4. Находят глубину потока свободной воды в дренирующем слое по оси проезжей части. Ввиду того, что песок дренирующего слоя обладает малым значением коэффициента фильтрации, расчет производят по формулам п. 90 .

Предварительно вычисляют параметры:

;

*) = 0,159;

*) 1,1 - величина, определяемая по табл. 9.

;

.

*) 0,7 - величина, определяемая по табл. 9.

Затем по формуле (19) получают искомую величину

 м.

5. По формуле (13) полная толщина дренирующего слоя по оси проезжей части равна

hп = 0,30 + 0,20 = 0,50 м.

Пример 4. Установить, достаточна ли толщина песчаного слоя в конструкции рис. 29 для размещения на продолжительное время (20 суток) поступающей в него воды.

Рис. 29. Схема дорожной конструкции к примеру 4

Исходные данные. Дорога II категории находится во II дорожно-климатической зоне, район 2- II (карта приложения 1); тип увлажнения местности - 3-й; грунт - пылеватый суглинок. Дренирующий слой устроен из мелкого песка с коэффициентом фильтрации 1,5 м/сутки. Поперечный уклон основания дренирующего слоя - 0,04, крутизна откосов земляного полотна - 1:3.

По данным гидрометеослужбы дефицит влажности воздуха с 5 %-ной обеспеченностью составляет 2,0 мб, скорость ветра - 4 м/сек; на основании этих данных qи (по табл. 8) равно 1,9 л/сутки на 1 м2 откоса.

Известно, что при малом значении коэффициента фильтрации песка, особенно при долговременной эксплуатации дороги, движение воды в дренирующем слое происходит весьма медленно. Кроме того, нередко не обеспечивается свободное истечение воды из дренирующего слоя на откосы. В этих случаях период накопления воды в дренирующем слое оказывается более длительным, чем tзап. Следовательно, нужно проверить, обеспечит ли подстилающий слой песка размещение воды, поступающей за 20 суток (п. 90). При таком длительном периоде нахождения воды в дренирующем слое следует учесть также величину испарения ее через откосы.

По формуле (17)

, м3

где n - 0,36;  - 0,37;  - 0,7;  - 0,20 м; в + 2а = 15 м.

По данным рис. 29, для половины ширины дороги

 м2.

На всю ширину земляного полотна F составит 7,3 м2

Qдоп = 0,36[7,3(1 - 0,37) - 15×0,2×0,3] = 1,3 м3.

По формула (18)

, м3,

где q = 6 л/сутки на 1 м2 (табл. 1 приложения 1 район 2-II); Sи = 2,4 м (см. рис. 29);

 м3.

Так как допустимый объем пор в песчаном слое для размещения воды составляет 1,3 м3, а количество поступающей воды с учетом испарения равно 0,720 м3, т.е. почти в 2 раза меньше допустимого, то опасаться переувлажнения песка в подстилающем слое и грунта земляного полотна за указанные 20 суток нет основания.

Приложение 1

ПРИТОК ВОДЫ В ДРЕНИРУЮЩИЙ СЛОЙ В ВЫЕМКАХ И НА УЧАСТКАХ С НУЛЕВЫМИ ОТМЕТКАМИ

Таблица 1

Среднесуточный приток воды в дренирующий слой на участках с нулевыми отметками и в выемках в зависимости от погодных условий, л/сутки на 1 м2 проезжей части

№ района и дорожно-климатической зоны (карта)

Тип увлажнения земляного полотна

Песок, супеси непылеватые

Суглинки непылеватые и глины

Супеси пылеватые

Суглинки пылеватые

1-II

1

4,0

2,5

7,0

4,0

2

5,0

4,0

8,0

5,0

3

6,5

5,5

9,5

6,5

2-II

1

3,0

2,0

6,0

3,5

2

4,0

3,5

7,0

4,5

3

5,5

5,0

8,5

6,0

3-II

1

2,0

1,5

5,0

3,0

2

3,0

3,0

6,0

4,0

3

4,5

4,5

7,5

5,5

4-II

1

1,0

1,0

4,0

2,5

2

2,0

2,5

5,0

3,5

3

3,5

4,0

6,5

5,0

5-II

1

-

-

3,0

2,0

2

1,0

2,0

4,0

3,0

3

2,5

3,5

6,5

4,5

2-III

1

3,0

2,0

4,5

2,0

2

3,0

2,0

6,0

3,0

3

3,0

2,0

6,0

3,0

3-III

1

2,0

1,5

3,5

1,5

2

2,0

1,5

5,0

2,5

3

2,0

1,5

5,0

2,5

4-III

1

1,0

1,0

2,5

1,0

2

1,0

1,0

4,0

2,0

3

1,0

1,0

4,0

2,0

5-III

1

-

-

1,5

-

2

-

-

3,0

1,5

3

-

-

3,0

1,5

Примечания: 1. Приток воды дан:

а) для первого месяца весны с повторяемостью 1 раз в 20 лет; за начало весны принимают время наступления устойчивых среднесуточных температур выше 0 °С;

б) для дорог с усовершенствованными типами покрытия; при переходных покрытиях табличные величины следует увеличить на 20 %.

2. При наличии газонов или разделительной полосы табличные значения притока воды следует повысить на 20 %.

Номера районов (арабские цифры в табл. 1) и дорожно-климатических зон (римские цифры) находят по карте. По условиям увлажнения атмосферными осадками территория II дорожно-климатической зоны подразделена на 5 районов, а III зона - на 4 (табл. 2).


Карта районирования территории II и III дорожно-климатических зон СССР по условиям увлажнения атмосферными осадками


Таблица 2

Районирование территории II и III дорожно-климатических зон СССР по условиям увлажнения атмосферными осадками

№ района и дорожно-климатической зоны (карта)

Географические границы района

1-II

Европейская часть II дорожно-климатической зоны западнее линии: Мерсрагс (Латвийская ССР) - Биржай-Укмерге-Лаздняй (Литовская ССР)

2-II

Европейская часть II дорожно-климатической зоны до границы районов 1- II и 3- II

3-II

Европейская часть II дорожно-климатической зоны к югу от линии: Ковров (Владимирская область) - Чухлома (Костромская область) - Никольск (Вологодская область) - Опарино-Лойно (Кировская область) - Кудымкар-Оса (Пермская область)

Азиатская часть II дорожно-климатической зоны севернее линии: Североуральск (Свердловская область)-Урай-Болчары (Ханты-Мансийский национальный округ) - Кунтики-Новая жизнь (Томская область)

4-II

Азиатская часть II дорожно-климатической зоны к югу от границы района 3- II до линии: Артемовский-Тугулым (Свердловская область) - Омутинский (Тюменская область)

5-II

Азиатская часть II дорожно-климатической зоны к югу от границы района 4-II

2-III

Европейская часть III дорожно-климатической зоны севернее линии: Окница (Молдавская ССР) - Лохвица (Полтавская область) - Обоянь (Курская область) - Задонск (Липецкая область) - Ковров (Владимирская область) - Оса (Пермская область) - Аскино (Башкирская АССР) - Куса (Челябинская область)

3-III

Европейская часть III дорожно-климатической зоны до границы районов 2-III и 4-III

4-III

Европейская часть III дорожно-климатической зоны к югу от линии: Новоспасское-Ульяновск (Ульяновская область) - Чистополь (Татарская АССР) - Сарапул (Удмуртская АССР) - Дюртюли-Миндяк (Башкирская АССР)

Азиатская часть III дорожно-климатической зоны между линиями: Называевск-Марьяновка (Омская область) и Базой (Томская область) - Лебедево (Новосибирская область)

5-III

Азиатская часть III дорожно-климатической зоны к западу от границы района 4-III до линии Фершампенуаз-Аргаяш (Челябинская область)

Тип увлажнения земляного полотна, в отличие от типа местности по СНиП II-Д.5-72, устанавливают по признакам, приведенным в табл. 3.

Таблица 3

Типы увлажнения земляного полотна в выемках и на участках с нулевыми отметками

Тип

Условия увлажнения земляного полотна

признаки

1

Нормальные условия увлажнения (главный источник - атмосферные осадки, выпадающие на дорожное полотно и откосы)

На участках с нулевыми отметками: поверхностный сток местности обеспечен, а почвы здесь без признаков заболачивания. В выемках - продольный уклон дороги 20  и более.

Грунтовые воды в осенний период залегают на "безопасной" глубине от поверхности покрытия (п. 6)

2

Повышенное увлажнение в отдельные периоды года вследствие поступления влаги от поверхностных вод, застаивающихся вблизи дороги

На участках с нулевыми отметками: поверхностный сток местности не обеспечен; весной и осенью наблюдается длительный (более 20 суток) застой воды только в микропонижениях; почвы с признаками поверхностного заболачивания.

В выемках - продольный уклон дороги менее 20 . Отсутствуют специальные инженерные мероприятия по защите земляного полотна от увлажнения поверхностными водами.

Положение расчетного уровня грунтовых вод то же, что и при 1-м типе увлажнения

3

Постоянное повышенное увлажнение из-за притока влаги от грунтовых вод или поверхностных вод, застаивающихся вблизи дороги

На участках с нулевыми отметками: длительное стояние (более 20 суток) воды на поверхности земли, почвы с признаками заболачивания и болотные почвы. Расчетный уровень грунтовых вод залегает выше "безопасной" глубины.

Отсутствуют специальные инженерные мероприятия по защите земляного полотна от увлажнения грунтовыми и поверхностными водами

Приложение 2

ПРИТОК ВОДЫ В ДРЕНИРУЮЩИЙ СЛОЙ ИЗ РАЗЛИЧНЫХ ИСТОЧНИКОВ

Вода из оттаивающего земляного полотна поступает в дренирующий слой, если влажность грунта в результате зимнего влагонакопления превысит величину, соответствующую полной влагоемкости его при требуемой плотности.

Объем воды (л/сутки на 1 м2 проезжей части), освобождающейся при оттаивании грунта под проезжей частью, определяют по формуле

,

где h1 - толщина слоя грунта, оттаивающего за одни сутки в активной зоне земляного полотна; во II и III климатических зонах эта величина для грунта, находящегося под проезжей частью, может быть принята равной 0,05 м/сутки;

Wвес - расчетная весенняя влажность грунта земляного полотна, зависящая от характера влагонакопления за осенне-зимний сезон в данных условиях (пп. 35, 40 настоящих "Методических рекомендаций"), в долях единицы по весу;

Wт - влажность, соответствующая границе текучести грунта, в долях единицы по весу;

b - коэффициент, показывающий, какое количество воды удерживается в порах грунта, уплотненного до требуемой плотности, в долях от влажности при границе текучести грунта; для супесчаных грунтов он принимается равным 0,7, а для суглинистых и глинистых - 0,75;

dвес - объемный вес скелету грунта при расчетной влажности, г/см3,

d - то же при влажности, равной bWт, г/см3;

К - коэффициент пик; для II дорожно-климатической зоны при 1-м типе местности по характеру увлажнения равен 1,4, при 2-м - 1,45 и при 3-м - 1,5, а для III климатической зоны соответственно равен 1,3; 1,35; 1,4;

Кг - коэффициент гидрологического запаса; для непылеватых грунтов Кг = 1,0, а для пылеватых соответственно трем типам местности по характеру увлажнения в обеих климатических зонах составляет 1,0; 1,1 и 1,2.

Приток воды в дренирующий слой при оттаивании грунта обочин q2 (обусловленный наличием мерзлого донника с уклоном в сторону проезжей части) определяют также по приведенной выше формуле, но введя в нее сомножитель  (а - ширина обочины, в - ширина проезжей части) и приняв, что расчетная толщина слоя грунта, оттаивающего под обочинами за одни сутки h1, составляет 0,03 м. Приток воды в данном случае так же, как и при исчислении q1, получают в литрах за сутки на 1 м2 проезжей части.

Количество воды, проникающей в основание проезжей части с поверхности дороги q3, можно принимать по данным таблицы.

Приток воды с основание проезжей части от атмосферных осадков, выпадающих на поверхность дороги в весенний период

№ района и дорожно-климатической зоны по приложению 1)

Грунты земляного полотна

Приток воды, л/сутки на 1 м2 проезжей части

1-II

Песок, супесь

4,0

Суглинок, глина

2,5

2-II, 2-III

Песок, супесь

3,0

Суглинок, глина

2,0

3-II, 3-III

Песок, супесь

2,0

Суглинок, глина

1,5

4-II, 4-III

Песок, супесь

1,0

Суглинок, глина

1,0

5-II, 5-Ш

Песок, супесь

-

Суглинок, глина

-

Примечания: 1. Величины притока даны для дорог III категории с усовершенствованными типами покрытия при плотности верхних слоев земляного полотна 0,98dmax.

2. Для дорог 1-II категории табличные величины притока увеличивают на 10 % при земляном полотне из суглинка и глины и на 30 % - из супесей и песка.

3. При переходных типах покрытия табличные величины следует увеличить на 20 %.

4. Приведенные значения притока даны с учетом повторяемости 1 раз в 20 лет.

Приложение 3

СОДЕРЖАНИЕ ДРЕНАЖНЫХ УСТРОЙСТВ

Дренажные устройства могут нормально выполнять свои функции по удалению воды из основания проезжей части лишь при надлежащем состоянии их. Дренажным устройствам должно быть уделено внимания не меньше, чем остальным элементам дороги. Нарушение их работы вызывает преждевременные деформации дорожной одежды.

При неудовлетворительном надзоре дрены заиливаются, выпуски их закупориваются грунтом, осыпающимся по откосам земляного полотна, листьями, опадающими с деревьев.

Данные о дренажных устройствах должны быть занесены в технический паспорт дороги с точной привязкой к километражу с указанием даты постройки, конструкции их, качества примененных материалов (песок, щебень, дренажные трубы и др.).

Дорожно-ремонтная служба обязана:

- систематически осматривать дренажные устройства;

- составлять дефектную ведомость, которая служит основным документом для определения объема ремонтных работ;

- проводить соответствующие эксплуатационные мероприятия и выполнять текущий ремонт дренажа;

- наблюдать за эффективностью работы дрен;

- уточнять паспорт дренажных устройств.

В осенне-предзимний период необходимо поперечные выпускные трубы очистить от листьев, сухой травы, мышиных гнезд и другого мусора. Трава вокруг выпусков должна быть выкошена. Выходные отверстия труб на зиму следует закрыть специально для этой цели изготовленными крышками (если при трубах нет самозакрывающихся заслонок), в крайнем случае, любым подручным материалом: соломой, бумагой, тряпками и др.

Весной до начала таяния снега трубчатые выпуски из дрен должны быть очищены от снега, крышки с выходных отверстий сняты (кроме самозакрывающихся, если они исправны и свободно вращаются на шарнирах, на которых они подвешены), выходные отверстия труб освобождены от снега и льда.

Для ускорения оттаивания земляного полотна с поверхности обочин удаляют снеговой покров. В период оттаивания не реже двух раз в неделю осматривают выпуски из дрен, наблюдают за истечением воды из них; помутнение воды свидетельствует о внутреннем нарушении дренажной системы на данном участке; необходимо установить место и выявить причину повреждений и в возможно короткий срок отремонтировать.

Для очистки поперечных выпускных труб целесообразно изготовить металлические скребки. Один из возможных видов скребка показан на рисунке.

Скребок для очистки поперечных выпусков продольных дрен:

1 - шарнир; 2 - скребок из листового железа толщиной 2 мм; 3 - металлический прут диаметром 8 мм; 4 - ручка

При перемещении скребка в трубу полукруглая лопатка его принимает горизонтальное положение, а при извлечении врезается в наносы, принимает отвесное положение и хорошо очищает трубу.

Скребки эффективны в работе при 3,5 - 4-метровой их длине. Более длинные скребки тяжелы. Для облегчения их вместо металлического прутка применяют алюминиевые или дюралюминиевые трубки диаметром 20 - 25 мм, что позволяет несколько увеличить длину скребка.

ЛИТЕРАТУРА

1. Рувинский В.И. Каким должен быть поперечный уклон обочин. - "Автомобильные дороги", 1970, № 12.

2. Предложения по совершенствованию дренажа автомобильных дорог в выемках. Балашиха, Союздорнии, 1969.

3. Предложения по укреплению пучинистых грунтов для устройства морозозащитных слоев. М., Союздорнии, 1967.

4. Митропольский А.К. Техника статистических вычислений. М., "Наука", 1971.

5. Методические указания по проектированию морозозащитных и дренирующих слоев в основании проезжей части автомобильных дорог. М., Оргтрансстрой, 1965.

6. Пузаков Н.А. и др. Водно-тепловой режим земляного полотна и дорожных одежд. М., "Транспорт", 1971.

7. Справочник по климату СССР, вып. 1 - 13, 28, 29, часть 1 - 5, 1964 - 1968.

8. Предложения по оценке и учету источников увлажнения и регулированию водного режима земляного полотна автомобильных дорог. Балашиха, Союздорнии, 1957.

9. Рекомендации по осушению дорожных одежд и верхней части земляного полотна автомобильных дорог. (Обзорная информация). М. ЦБТИ Минавтотранса РСФСР, 1970.

10. Корсунский М.Б. Оценка прочности дорог с нежесткими одеждами. М., "Транспорт", 1966.

11. Методические рекомендации по борьбе с пучинами инъекцией закрепляющих растворов. Минск, 1973, Белдорнии.

12. Методические рекомендации по осушению земляного полотна при реконструкции и капитальном ремонте автомобильных дорог. Минск, Белдорнии, 1972.

13. Корсунский М.Б. Технико-экономическое обоснование конструкций дорожных одежд. М., "Транспорт", 1964.

СОДЕРЖАНИЕ

Предисловие. 1

1. Общие положения. 2

2. Мероприятия по ограничению притока воды в земляное полотно и дорожную одежду. 4

3. Дренажные конструкции для отвода воды из основания. 22

4. Особенности проектирования осушения реконструируемых дорог. 42

5. Технико-экономическое обоснование проектных решений. 47

6. Примеры.. 50

Приложение 1 Приток воды в дренирующий слой в выемках и на участках с нулевыми отметками. 57

Приложение 2 Приток воды в дренирующий слой из различных источников. 61

Приложение 3 Содержание дренажных устройств. 62

Литература. 63

 



уроки по алготрейдингу на Python с нуля



Яндекс цитирования

   Copyright © 2008-2026 ,  www.infosait.ru

backtrader - уроки алготрейдинга на python