ИНФОСАЙТ.ру
Госты, стандарты, нормативы. В библиотеке 60000 документов. Регулярное обновление. Круглосуточный бесплатный доступ!
БИБЛИОТЕКА ГОСТОВ, СТАНДАРТОВ И НОРМАТИВОВ

:: АЛГОТРЕЙДИНГ ::


АЛГОТРЕЙДИНГ
шаг за шагом


БЕСПЛАТНЫЕ УРОКИ по созданию торговых роботов на PYTHON с нуля, шаг за шагом.


Минимальные знания на PYTHON.
Библиотеки BackTrader и Pandas, сигналы с Pine Script из TradingView.
Связка с брокерами, телеграм.
Создание простых интерфейсов.

 

Все документы, представленные в каталоге, не являются их официальным изданием и предназначены исключительно для ознакомительных целей. Электронные копии этих документов могут распространяться без всяких ограничений. Вы можете размещать информацию с этого сайта на любом другом сайте.


ГОСУДАРСТВЕННЫЙ СТАНДАРТ СОЮЗА ССР

ФОРМЫ СТАЛЬНЫЕ
ДЛЯ ИЗГОТОВЛЕНИЯ
ЖЕЛЕЗОБЕТОННЫХ ИЗДЕЛИЙ

МЕТОДЫ ИСПЫТАНИЙ НА ДЕФОРМАТИВНОСТЬ

ГОСТ 26438-85

ГОСУДАРСТВЕННЫЙ КОМИТЕТ СССР
ПО ДЕЛАМ СТРОИТЕЛЬСТВА

Москва

РАЗРАБОТАН

Научно-исследовательским институтом бетона и железобетона (НИИЖБ) Госстроя СССР

Всесоюзным Государственным проектным институтом по строительному машиностроению для сборного железобетона «Гипростроммаш» Минстройдормаша

ИСПОЛНИТЕЛИ

Г. С. Митник, канд. техн. наук (руководитель темы); Ю. Д. Златоверов; В. И. Рашап; О. В. Дубцов

ВНЕСЕН Научно-исследовательским институтом бетона и железобетона (НИИЖБ) Госстроя СССР

Зам. директора Б. А. Крылов

УТВЕРЖДЕН И ВВЕДЕН В ДЕЙСТВИЕ Постановлением Государственного комитета СССР по делам строительства от 23 января 1985 г. № 12

ГОСУДАРСТВЕННЫЙ СТАНДАРТ СОЮЗА ССР

ФОРМЫ СТАЛЬНЫЕ
ДЛЯ ИЗГОТОВЛЕНИЯ ЖЕЛЕЗОБЕТОННЫХ ИЗДЕЛИЙ

Методы испытаний на деформативность

Steel moulds for reinforced concrete members. Methods of tests for deformability

ГОСТ
26438-85

Постановлением Государственного комитета СССР по делам строительства от 23 января 1985 г. № 12 срок введения установлен

с 01.01.86

Настоящий стандарт распространяется на стальные формы с горизонтальным расположением формовочного отсека (далее - формы), предназначенные для изготовления железобетонных и бетонных изделий и конструкций (далее - изделий), и устанавливает методы определения их деформативности при эксплуатационных нагрузках.

1. ОБЩИЕ ПОЛОЖЕНИЯ

1.1. Испытания форм на деформативность проводят для определения:

прогиба формы от вертикальной нагрузки;

деформаций формы от продольной нагрузки;

прогиба свободного угла поддона при диагональном опирании;

прогиба бортов.

1.2. Испытания форм проводят на сборочной плите или площадке, размеры которой должны обеспечивать возможность свободного выполнения всех операций, предусмотренных методикой испытания.

1.3. Опоры, на которые устанавливают формы для испытания, должны быть устойчивы и опираться по всей площади основания.

2. ОПРЕДЕЛЕНИЕ ПРОГИБА ФОРМЫ ОТ ВЕРТИКАЛЬНОЙ НАГРУЗКИ

2.1. Метод основан на установлении фактической жесткости формы на изгиб, по которой подсчитывают прогиб от вертикальной нагрузки.

2.2. Аппаратура

2.2.1. Для проведения испытания применяют:

нивелир по ГОСТ 10528-76;

подставку для нивелира по ГОСТ 16740-79;

штатив для нивелира по ГОСТ 11897-78;

нивелирную рейку по рекомендуемому приложению 1;

измерительную металлическую рулетку по ГОСТ 7502-80.

2.3. Подготовка и проведение испытания

2.3.1. Форму устанавливают на две линейные опоры длиной не менее ширины поддона, расположенные на расстоянии 30 - 50 мм от торцов. Опоры устанавливают по нивелиру. Отклонения от горизонтальной плоскости не должны превышать 2 мм.

2.3.2. На рабочей поверхности поддона формы отмечают шесть точек согласно черт. 1 и с одной станции нивелирования определяют начальные отметки этих точек.

Расположение точек нивелирования

D № 1 и D № 2 - станции нивелирования

Черт. 1

Нивелирование проводят в соответствии с рекомендуемым приложением 1.

2.3.3. На поддон симметрично продольной и поперечной осей укладывают две деревянные подкладки одинакового поперечного сечения и форму загружают грузом согласно черт. 2.

Схема загружения формы

1 - форма; 2 - опора; 3 - груз; 4 - подкладка

Черт. 2

2.3.4. Повторно определяют отметки трех точек по линии I - I, ближайшей к станции нивелирования № 1. После перестановки нивелира на станцию нивелирования № 2 определяют отметки трех точек по линии II - II.

2.4. Обработка результатов

2.4.1. По отметкам точек до загружения формы грузом определяют превышения h1 и  в миллиметрах по формулам:

;                                                         (1)

,                                                       (2)

где А1, B1 и C1 - отметки точек по линии I - I, мм;

 и  - отметки точек по линии II - II, мм.

2.4.2. По отметкам точек после загружения формы грузом определяют превышения h2 и  в миллиметрах по формулам:

;                                                      (3)

,                                                      (4)

где А2, B2 и C2 - отметки точек по линии I - I, мм;

 и  - отметки точек по линии II - II, мм.

2.4.3. Средний прогиб формы у в миллиметрах определяют по формуле

.                                                    (5)

2.4.4. Жесткость формы ЕI в Н×см2 определяют по формуле

,                                                          (6)

где Qr - вес груза, Н (кгс);

l - расстояние между опорами, см;

у - средний прогиб, см;

s - коэффициент, принимаемый по таблице в зависимости от отношения d/l (см. черт. 2).

d/l

0,1

0,2

0,3

0,4

0,5

s

0,0062

0,0118

0,0165

0,0197

0,0208

2.5. Допускается определение жесткости формы на изгиб без загружения по рекомендуемому приложению 2.

2.6. Прогиб формы от вертикальной нагрузки определяют по фактической жесткости формы расчетным путем в соответствии с нормативно-технической документацией по расчету и конструированию стальных форм.

3. ОПРЕДЕЛЕНИЕ ДЕФОРМАЦИЙ ФОРМЫ ОТ ПРОДОЛЬНОЙ НАГРУЗКИ

3.1. Метод основан на нивелировании точек рабочей поверхности поддона до и после натяжения арматуры и позволяет определить прогиб (выгиб) формы и сближение упоров по оси напряженной арматуры.

3.2. Аппаратура

3.2.1. Для проведения испытания применяют:

нивелир по ГОСТ 10528-76;

подставку для нивелира по ГОСТ 16740-79;

штатив для нивелира по ГОСТ 11897-78;

нивелирную рейку по рекомендуемому приложению 1;

измерительную металлическую рулетку по ГОСТ 7502-80;

средство измерения для определения усилий натяжения в арматуре.

3.3. Подготовка и проведение испытания

3.3.1. Форму устанавливают на сборочную плиту или на две линейные опоры, расположенные по краям или под устройствами для строповки.

3.3.2. Нивелированием по рекомендуемому приложению 1 определяют начальные отметки шести точек, показанных на черт. 1.

3.3.3. Производят натяжение арматуры с расчетным усилием.

3.3.4. Для безопасного выполнения измерений на напряженные стержни следует уложить металлическую сетку и привязать ее проволочными скрутками.

3.3.5. Усилия в натянутых стержнях определяют по ГОСТ 22362-77.

3.3.6. Повторно определяют отметки шести точек.

3.3.7. Если форма с натянутой арматурой после завершения испытания не подается на пост формования, то арматуру следует удалить, предварительно сняв напряжение в ней с помощью домкрата или других устройств. При невозможности выполнения этой операции напряженную арматуру следует перерезать газовой резкой, предварительно нагрев стержни на участке длиной не менее 200 мм.

3.4. Обработка результатов

3.4.1. По начальным отметкам точек определяют превышения h1 и , используя формулы (1) и (2).

3.4.2. По повторным отметкам точек, снятым после натяжения стержней, определяют превышения h2 и , используя формулы (3) и (4).

3.4.3. Прогиб (выгиб) формы от силы натяжения арматуры в миллиметрах определяют по формуле (5).

3.4.4. Сближение упоров по оси равнодействующих усилий в предварительно напряженной арматуре Dl в сантиметрах определяют по формуле

,                                                              (7)

где уN - деформация формы, определенная при испытании, см;

е - эксцентриситет приложения силы N относительно центральной плоскости, см;

N - фактическая сила натяжения арматуры, определенная при испытании, Н (кгс);

l - расстояние между внутренними гранями упоров, см;

Е - модуль упругости стали, Н/см2 (кгс/см2);

F - площадь поперечного сечения поддона, см2.

Примечание. Знак плюс перед первым слагаемым принимают, когда под воздействием силы N форма изгибается вниз, а минус - при выгибе формы.

3.5. Допускается определение деформативности формы от продольной нагрузки с помощью индикаторов по рекомендуемому приложению 3.

4. ОПРЕДЕЛЕНИЕ ПРОГИБА СВОБОДНОГО УГЛА ПОДДОНА ПРИ ДИАГОНАЛЬНОМ ОПИРАНИИ

4.1. Метод определения прогиба свободного угла поддона симметричной или несимметричной формы при диагональном опирании (опирание по двум точкам, расположенным по концам диагонали) основан на измерении с помощью нивелира вертикальных перемещений угла поддона, под которым при испытании установлен домкрат.

4.2. Аппаратура

4.2.1. Для проведения испытания применяют:

нивелир по ГОСТ 10528-76;

подставку для нивелира по ГОСТ 16740-79;

штатив для нивелира по ГОСТ 11897-78;

нивелирную рейку по рекомендуемому приложению 1;

гидравлический или механический домкрат, предельное усилие которого не меньше половины массы формы.

4.3. Подготовка и проведение испытания

4.3.1. Симметричную форму устанавливают на четыре опоры высотой 300 - 500 мм, расположенные под устройствами для строповки или колесами (при испытании формы-вагонетки). В качестве одной опоры используют домкрат, а три неподвижные опоры должны обеспечивать точечное опирание (черт. 3).

4.3.2. Несимметричную по массе форму устанавливают на четыре опоры, из которых две - домкраты.

Два домкрата при испытании несимметричной формы следует располагать по концам одной из диагоналей. Диагональ выбирают в зависимости от положения несимметричной массы: ближайшей к более тяжелой части формы должна быть одна из неподвижных опор.

Допускается испытание несимметричной формы с одним домкратом, располагая его при испытании последовательно в двух углах (с заменой домкрата на неподвижную опору).

4.3.3. Перед опусканием одного из углов формы противоположный угол должен быть предварительно пригружен, чтобы компенсировать возможную разность масс двух половин формы. Симметричную по массе форму пригружают грузом массой 30 - 40 кг, а несимметричную форму допускается не пригружать, если опускается более легкая половина формы.

4.3.4. Для приведения формы в исходное положение, при котором определяют отметку точки А (см. черт. 3), домкрат выдвигают до отрыва поддона от смежной опоры (первое перемещение).

4.3.5. Второе перемещение домкрата должно обеспечить опускание поддона на смежную опору.

Схема расположения опор и последовательность перемещения домкрата

1 - неподвижная опора; 2 - точка нивелирования; 3 - домкрат; 4 - нивелирная рейка; г, и - горизонт инструмента (нивелира)

Черт. 3

Момент соприкосновения поддона с опорой определяют листом тонкой бумаги, уложенным на опору, по усилию, прикладываемому для его смещения.

4.3.6. Нивелиром по рекомендуемому приложению 1 определяют отметку Н1 точки А. Повторную отметку Н2 той же точки определяют после опускания домкрата до отрыва от поддона (третье перемещение).

4.3.7. Испытание с определением отметок H1 и Н2 точки А повторяют 3 - 4 раза.

4.3.8. Испытание несимметричной формы выполняют также, как и симметричной, только описанные в пп. 4.3.4 - 4.3.6 операции повторяют сначала с одним и затем со вторым домкратом, определяя последовательно отметки точек на противоположных углах.

4.4. Обработка результатов

4.4.1. По отметкам А, зафиксированным при перемещении домкрата, определяют для данного испытания прогиб свободного угла при диагональном опирании у'Д в миллиметрах по формуле

,                                                              (8)

где H1 и Н2 - отметки точки, мм.

4.4.2. Прогиб свободного угла при диагональном опирании симметричной формы уД в миллиметрах определяют по формуле

,                                                                 (9)

где у'Д - прогиб свободного угла, мм;

п - число испытаний.

4.4.3. Средний прогиб свободного угла при диагональном опирании несимметричной формы уД в миллиметрах определяют по формуле

,                                                       (10)

где уД(1) и уД(2) - прогибы свободных углов, определенные по отметкам противоположных точек, используя формулы (8) и (9).

4.4.4. Прогиб свободного угла при диагональном опирании от полной вертикальной нагрузки  в миллиметрах определяют по формуле

,                                                     (11)

где уД - прогиб свободного угла, мм, определяемый по формулам (9) или (10);

Qи - масса изделия, кг;

Q - масса формы, кг.

4.4.5. Допускается определение прогиба свободного угла поддона при диагональном опирании измерением вертикальных перемещений угла без нивелира по рекомендуемому приложению 4.

5. ОПРЕДЕЛЕНИЕ ПРОГИБА БОРТОВ

5.1. Метод определения прогиба бортов основан на измерении расстояний между их наружными гранями до заполнения формы бетонной смесью и после завершения процесса формования.

5.2. Аппаратура

5.2.1. Для проведения испытания применяют штангенинструмент по рекомендуемому приложению 5.

5.3. Подготовка и проведение испытания

5.3.1. Форму, подготовленную к бетонированию, устанавливают на формовочный пост.

5.3.2. На бортах отмечают три сечения, в которых предполагают проводить измерения: по поперечной оси и на расстоянии 30 5 мм от бортов противоположного направления.

5.3.3. Штангенинструментом измеряют расстояние между наружными гранями бортов в трех сечениях (черт. 4).

Измерение прогиба бортов штангенинструментом

1 - поддон; 2 - борт; 3 - штангенинструмент

Черт. 4

5.3.4. Форму заполняют бетонной смесью и проводят ее уплотнение с помощью механизма, установленного на посту формования.

5.3.5. Штангенинструментом повторно измеряют в тех же сечениях расстояние между наружными гранями бортов.

5.4. Обработка результатов

5.4.1. Прогиб борта d в миллиметрах определяют по формуле

,                                                      (12)

где d2 - приращение ширины (длины) в середине пролета, мм;

d2 и d3 - то же, по краям пролета, мм.

5.4.2. Податливость замковых соединений определяют как

 и .

5.5. Допускается определение прогиба борта с использованием измерительной базы по рекомендуемому приложению 6.

ПРИЛОЖЕНИЕ 1

Рекомендуемое

ПРОВЕДЕНИЕ НИВЕЛИРОВАНИЯ ПРИ ИСПЫТАНИИ ФОРМЫ

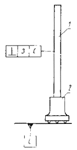
1. При испытании формы следует применять нивелир по ГОСТ 10528-76 и подставку по ГОСТ 16740-79.

2. Нивелирная рейка должна иметь миллиметровые деления.

Рекомендуемый тип нивелирной рейки показан на черт. 1 настоящего приложения.

3. Участки рабочей поверхности поддона, на которых отмечают точки для нивелирования, должны быть предварительно очищены от грязи, ржавчины и остатков бетона (для форм, находящихся в эксплуатации).

Установка нивелирной рейки на неровные участки рабочей поверхности поддона не допускается.

4. Для повышения точности отсчета нивелир устанавливают как можно ближе к точкам нивелирования. Минимальное расстояние от ближайшей точки определяют возможностями оптической системы нивелира.

5. При нивелировании точек по всей площади поддона нивелир устанавливают на продолжении поперечной оси формы. При испытании, когда определяют отметку одной угловой точки, нивелир устанавливают вблизи от этого угла.

6. При нивелировании отсчеты по линейке следует снимать с погрешностью: до 0,5 мм - при расстоянии до точки отсчета более 10 м; до 0,2 мм - при расстоянии 4 - 10 м; до 0,1 мм - при расстоянии до 4 м.

7. При испытании формы отметки всех точек определяют два раза, чтобы исключить ошибку при измерениях.

Если результаты отличаются более чем на 0,5, 0,2 или 0,1 мм (в зависимости от расстояния до нее от нивелира, см. п. 6), то снимают третий отсчет и отбрасывают ошибочный.

8. Последовательность нивелирования точек принимают в зависимости от вида испытания такой, чтобы обеспечить минимум перефокусировки зрительной трубы при обходе точек.

Нивелирная рейка

1 - линейка длиной 250 - 500 мм; 2 - подставка по черт. 2

Черт. 1

Подставка под линейку

1 - винт 2М4´16.36 ГОСТ 1491-80

Черт. 2

ПРИЛОЖЕНИЕ 2

Рекомендуемое

ОПРЕДЕЛЕНИЕ ЖЕСТКОСТИ ФОРМЫ НА ИЗГИБ БЕЗ ЗАГРУЖЕНИЯ

1. Жесткость формы без загружения (под воздействием собственной массы) определяют путем измерения отметок точек рабочей поверхности поддона при двух схемах опирания.

2. Форму устанавливают на четыре точечные опоры по краям и на рабочей поверхности поддона отмечают точки для нивелирования (черт. 1 настоящего приложения).

Расположение точек нивелирования

Черт. 1

3. Нивелирование точек рабочей поверхности поддона проводят при расположении опор по краям (черт. 2а настоящего приложения).

4. Превышение h1 в миллиметрах при первой схеме расположения опор (черт. 2а) определяют по формуле

,                                                        (1)

где В1 - средняя арифметическая отметка трех центральных точек, мм;

A1 и C1 - то же, крайних точек, мм.

5. Перестановку двух опор к середине рекомендуется проводить без подъема формы краном. Для этого в качестве одной из опор применяют домкрат.

Пригружают неподвижные опоры, чтобы компенсировать возможные колебания масс двух половин формы. Домкрат поднимают до отрыва от смежной опоры и эту опору смещают к середине. На поперечной оси ставят вторую опору, после чего домкрат опускают.

6. Превышение h2 в миллиметрах при второй схеме расположения опор (черт. 2б) определяют по формуле

,                                                      (2)

где В2 - средняя арифметическая отметка трех центральных точек, мм;

А2 и C2 - то же, крайних точек, мм.

Схемы расположения опор

Черт. 2

7. По превышениям h1 и h2 определяют жесткость формы ЕI в Н×см2 по формуле

,                                                      (3)

где Q - вес формы, Н (кгс);

l - расстояние между опорами при их расположении по краям, см;

h1 и h2 - превышения, мм, по формулам (1) и (2) настоящего приложения.

8. При испытании несимметричной формы, у которой разность масс двух половин поддона может быть компенсирована соответствующим пригрузом двух неподвижных опор, применяют методику, описанную в пп. 1 - 7 настоящего приложения, однако испытание проводят в два этапа с последовательным смещением к середине одной и второй пары крайних опор. При испытании несимметричной формы в формулу (3) вводят среднюю разность перемещений (h1 - h2), определенную по результатам подсчета h1 и h2 на двух этапах испытаний.

ПРИЛОЖЕНИЕ 3

Рекомендуемое

ОПРЕДЕЛЕНИЕ ДЕФОРМАТИВНОСТИ ФОРМЫ ОТ ПРОДОЛЬНОЙ НАГРУЗКИ С ПОМОЩЬЮ ИНДИКАТОРОВ

1. Для проведения испытания применяют индикаторы по ГОСТ 577-68.

2. Форму для испытания устанавливают на сборочную плиту или пол цеха.

3. Места установки индикаторов зависят от характера деформации при приложении продольной нагрузки. Если под действием момента, создаваемого силой натяжения арматуры, приподнимаются торцы формы, то на расстоянии 30 - 50 мм от краев (черт. 1 настоящего приложения) устанавливают четыре индикатора, а если под действием момента форма приподнимается в середине, то по поперечной оси (черт. 2 настоящего приложения) устанавливают два индикатора.

4. При установке штоки индикаторов, закрепленных в стойках, должны упираться в нижние полки продольных швеллеров или выступающие наружу детали формы, а стойки - закрепляться на плите или к полу так, чтобы полностью исключить перемещение прибора в процессе испытания.

5. После снятия начальных отсчетов по индикаторам производят натяжение арматуры и определяют усилия в ней (пп. 3.3.3 и 3.3.5 настоящего стандарта).

Схема расположения индикаторов при прогибе формы

ui - номер индикатора

Черт. 1

Схема расположения индикаторов при выгибе формы

Ui - номер индикатора

Черт. 2

6. Определяют деформацию формы от силы натяжения арматуры уN в миллиметрах по формуле

,                                                            (1)

где hi - приращение показателей i-го индикатора;

n - число индикаторов.

7. Сближение упоров по оси равнодействующих усилий в предварительно напряженной арматуре определяют по формуле (7) настоящего стандарта.

ПРИЛОЖЕНИЕ 4

Рекомендуемое

ИЗМЕРЕНИЕ ВЕРТИКАЛЬНЫХ ПЕРЕМЕЩЕНИЙ УГЛА ФОРМЫ БЕЗ НИВЕЛИРА

1. При испытании применяют штангенциркуль по ГОСТ 166-80, измеряя с его помощью расстояние от точки поддона А до измерительной базы.

2. Расстояние от точки А до измерительной базы измеряют дважды при тех же положениях формы, как и при нивелировании (пп. 4.3.2 - 4.3.4 настоящего стандарта).

3. Обработку результатов измерений проводят также, как при нивелировании, только в формулу (8) настоящего стандарта вместо отметок H1 и H2 вводят расстояния до измерительной базы b1 и b2.

1 - стойка; 2 - уголок (измерительная база); 3 - штангенциркуль; 4 - форма; 5 - домкрат

ПРИЛОЖЕНИЕ 5

Рекомендуемое

ШТАНГЕНИНСТРУМЕНТ

Штангенинструмент для измерения расстояния между наружными гранями бортов выполняют в виде балки (деревянный брус, стальная труба, угольник из алюминиевого сплава и т.п.) и двух упоров - неподвижного и подвижного. Подвижный упор должен перемещаться в пределах участка, на котором прикреплена линейка с миллиметровыми делениями.

1 - неподвижный упор; 2 - балка (брус, труба); 3 - линейка с миллиметровыми делениями; 4 - подвижной упор

ПРИЛОЖЕНИЕ 6

Рекомендуемое

ОПРЕДЕЛЕНИЕ ПРОГИБА БОРТА С ИСПОЛЬЗОВАНИЕМ ИЗМЕРИТЕЛЬНОЙ БАЗЫ

1. Для выявления прогиба борта отсчитывают расстояния от него до измерительной базы, в качестве которой используют деревянную рейку таврового сечения, сбитую из досок, или любой прокатный профиль (желательно из легкого сплава). Длина рейки должна превышать длину измеряемого борта, как минимум, на ширину двух бортов противоположного направления.

2. Расстояние от внутренней грани борта до рейки измеряют в тех же сечениях, что и при работе с штангенинструментом (п. 5.3.1 настоящего стандарта), до заполнения формы бетонной смесью и после завершения процесса формования (чертеж настоящего приложения).

3. Рейку устанавливают на борта противоположного направления на расстоянии 100 - 200 мм от измеряемого борта, при этом относительно него рейка занимает случайное положение. С помощью измерительной линейки по ГОСТ 427-75 или штангенциркуля по ГОСТ 166-80 измеряют расстояние до борта в трех сечениях.

4. Повторные измерения в тех же сечениях производят после завершения процесса формования при новом также случайном относительно борта положения рейки.

Чтобы на точность измерений не влияла кривизна самой рейки, необходимо исключить ее смещение вдоль измеряемого борта (при повторной установке), для чего при первой установке рейки следует рисками отметить места ее опирания на борта противоположного направления.

Измерение прогиба борта с помощью рейки

1 - поддон; 2 - борт; 3 - линейка; 4 - рейка

5. По результатам измерения расстояний деформацию борта d в миллиметрах определяют по формуле

,

где d2 - разность расстояний от рейки до борта при первом и втором измерениях в середине пролета, мм;

d1 и d3 - то же, по краям пролета, мм.

СОДЕРЖАНИЕ

1. Общие положения. 2

2. Определение прогиба формы от вертикальной нагрузки. 2

3. Определение деформаций формы от продольной нагрузки. 4

4. Определение прогиба свободного угла поддона при диагональном опирании. 5

5. Определение прогиба бортов. 7

Приложение 1 Проведение нивелирования при испытании формы.. 8

Приложение 2 Определение жесткости формы на изгиб без загружения. 10

Приложение 3 Определение деформативности формы от продольной нагрузки с помощью индикаторов. 12

Приложение 4 Измерение вертикальных перемещений угла формы без нивелира. 13

Приложение 5 Штангенинструмент. 14

Приложение 6 Определение прогиба борта с использованием измерительной базы.. 14

 



уроки по алготрейдингу на Python с нуля



Яндекс цитирования

   Copyright © 2008-2026 ,  www.infosait.ru

backtrader - уроки алготрейдинга на python