ИНФОСАЙТ.ру
Госты, стандарты, нормативы. В библиотеке 60000 документов. Регулярное обновление. Круглосуточный бесплатный доступ!
БИБЛИОТЕКА ГОСТОВ, СТАНДАРТОВ И НОРМАТИВОВ

:: АЛГОТРЕЙДИНГ ::


АЛГОТРЕЙДИНГ
шаг за шагом


БЕСПЛАТНЫЕ УРОКИ по созданию торговых роботов на PYTHON с нуля, шаг за шагом.


Минимальные знания на PYTHON.
Библиотеки BackTrader и Pandas, сигналы с Pine Script из TradingView.
Связка с брокерами, телеграм.
Создание простых интерфейсов.

 

Все документы, представленные в каталоге, не являются их официальным изданием и предназначены исключительно для ознакомительных целей. Электронные копии этих документов могут распространяться без всяких ограничений. Вы можете размещать информацию с этого сайта на любом другом сайте.


ГОСУДАРСТВЕННЫЙ СТАНДАРТ СОЮЗА ССР

ОКНА

МЕТОД ОПРЕДЕЛЕНИЯ СОПРОТИВЛЕНИЯ ТЕПЛОПЕРЕДАЧЕ

ГОСТ 26602¾85

 

ГОСУДАРСТВЕННЫЙ КОМИТЕТ СССР

ПО ДЕЛАМ СТРОИТЕЛЬСТВА

 

 

РАЗРАБОТАН

 

Научно-исследовательским   институтом строительной   физики (НИИСФ) Госстроя СССР

Центральным научно-исследовательским и проектным институтом типового и экспериментального проектирования жилища (ЦНИИЭП жилища) Госгражданстроя

Московским научно-исследовательским и проектным институтом типового и экспериментального проектирования (МНИИТЭП) Мосгорисполкома

 

ИСПОЛНИТЕЛИ

 

В. К. Савин, канд. техн. наук (руководитель темы); И. Н. Бутовский, канд. техн. наук; В. С. Беляев, канд. техн. наук; Е. И. Семенова, канд. техн. наук; К. П. Копылов, канд. техн. наук; А. Н. Лушников; Н. В. Шведов

 

ВНЕСЕН Научно-исследовательским институтом строительной физики (НИИСФ) Госстроя СССР

 

Директор В. А. Дроздов

 

УТВЕРЖДЕН И ВВЕДЕН В ДЕЙСТВИЕ Постановлением Государст­венного комитета СССР по делам строительства от 11 июля 1985 г. № 118

 

ГОСУДАРСТВЕННЫЙ СТАНДАРТ СОЮЗА ССР

ОКНА                                                     ГОСТ

  Метод определения сопротивления теплопередаче    26602¾85

                                                                                         

Windows. Method for determination

of heat transfer resistance 

Постановлением Государственного комитета СССР по делам строительства от 11 июля 1985 г. № 118 срок введения установлен

с 01.01.86

 

Несоблюдение стандарта преследуется по закону

 

Настоящий стандарт распространяется на окна   жилых, об­щественных, производственных и сельскохозяйственных зданий и сооружений, остекленные листовым стеклом или стеклопакетами, и устанавливает метод определения сопротивления теплопередаче в лабораторных условиях.

Метод может быть применен для определения  сопротивления теплопередаче балконных дверей, фонарей, стеклоблоком и других светопрозрачных ограждающих конструкций, разделяющих поме­щения с различными температурно-влажностными режимами.

1. СУЩНОСТЬ МЕТОДА

1.1. Метод заключается в создании постоянного перепада тем­ператур воздуха по обе стороны испытываемого окна, установлен­ного в климатической камере, в измерении температуры воздуха и поверхностей окна, а также плотности тепловых потоков, проходя­щих через него при стационарных условиях теплопередачи, и пос­ледующем вычислении приведенного сопротивления теплопереда­че.

2. ОТБОР ОБРАЗЦОВ

2.1. Сопротивление теплопередаче определяют на образцах раз­мером не более 3Х3 м и не менее 0,6Х1 м.

2.2. Образцами для испытания служат оконные блоки или дру­гие светопрозрачные изделия, соответствующие требованиям стан­дартов или технических условий на эти изделия.

2.3. Сопротивление теплопередаче определяют на одном образ­це, отобранном из числа прошедших испытание на воздухопрони­цаемость по ГОСТ 25891—83.

3. АППАРАТУРА И ОБОРУДОВАНИЕ

3.1. Для испытания применяют:

климатическую камеру (черт. 1), имеющую теплое и холодное отде­ления и оборудованную холодильными агрегатами по ГОСТ 7475—77 или ГОСТ 10890—75, нагревательным оборудованием по ГОСТ 13268¾83, ГОСТ 16617—80 или ГОСТ 17083—81 и электро­увлажнителем по ГОСТ 22787—77;

измеритель плотности теплового потока ИТП-11 (тепломер) по ГОСТ 25380—82. Допускается применять измерители теплового потока по ГОСТ 7076—78;

датчики температуры термоэлектрические преобразователи (термопары) по ГОСТ 6616—74;

потенциометр постоянного тока по ГОСТ 9245—79 или милли­вольтметр по ГОСТ 9736—80;

стеклянные термометры по ГОСТ 112—78, ГОСТ 13646—68, ГОСТ 9177—74 или ГОСТ 215—73;

аспирационный психрометр;

сосуд Дьюара вместимостью 1,5—2 л;

щитовые 20-точечные переключателя типа ПНТ;

метеорологический недельный  термограф М-16И по ГОСТ 6416—75;

метеорологический недельный гигрограф М21Н или М32Н.

 

Схема климатической камеры

 

I теплое отделение камеры; II холодное отделение камеры; III машинный зал; IV помещение с измерительной аппаратурой;

1 система автоматического сбора данных; 2 нагревательные приборы;

3 увлажняющее оборудование; 4 испытываемое окно; 5 испаритель;

6 холодильная установка; 7 утепленные герметичные двери;

8 утеплитель

Черт. 1

4. ПОДГОТОВКА К ИСПЫТАНИЮ

4.1. Подготовку к испытанию начинают с составления програм­мы испытаний, в которую включают  требования к температуре воздуха в теплом и холодном отделениях климатической камеры, относительную влажность воздуха в ее теплом отделении, а также схему размещения термопар и тепломеров.

4.2. Температуру и относительную влажность воздуха в клима­тической камере назначают в соответствии с климатическими усло­виями эксплуатации испытываемого окна.

4.3. Для составления схемы расположения термопар и тепло­меров поверхность образца (оконного блока) предварительно раз­бивают на термически однородные зоны.

Пример разбивки на зоны оконного блока с двойным остекле­нием и спаренными переплетами и схемы размещения в них термо­пар и тепломеров приведен на черт. 2.

При испытании других типов оконных блоков разбивку на зоны и составление схемы размещения термопар осуществляют по ана­логии со схемой, приведенной на черт. 2.

4.4. В проем стены, разделяющей теплое и холодное отделения климатической камеры, устанавливают образец. Заделка образ­ца в проеме должна быть выполнена в соответствии с проектом.

4.5. Для измерения температуры на поверхностях образца уста­навливают термопары в соответствии с составленной схемой.

4.6. Для измерения температуры воздуха в теплом и холодном отделениях климатической камеры на расстоянии 150 см от поверх­ности стекла по вертикальной оси образца устанавливают с каж­дой стороны не менее трех термопар.

4.7. Для измерения плотности тепловых потоков устанавливают тепломеры в центре термически однородных зон.

4.8. Сдай каждой термопары крепят к поверхности стекла при помощи прозрачной липкой ленты по ГОСТ 16214—70, а к непроз­рачной поверхности при помощи пластилина, толщина слоя ко­торого должна быть не более 2 мм.

Тепломеры крепят при помощи вазелина, наносимого тонким слоем на поверхность тепломера.

4.9. Для измерения относительной влажности воздуха в теплом отделении камеры устанавливают гигрометр на расстоянии 150 см от пола в центре помещения.

4.10. Нагревательные приборы располагают в теплом отделении камеры таким образом, чтобы исключить лучистый теплообмен между приборами и поверхностью образца.

Не допускается располагать нагревательные приборы под об­разцом.

4.11. Термопары и тепломеры подключают к системе автомати­ческого сбора данных, обеспечивающей возможность  вывода ин­формации па печатающее устройство или перфоленту (см. черт. 2).

 

Схема размещения термопар и тепломеров

 

1 ¾ окно; 2 рабочий спай термодатчика; 3 холодный спай; 4 сосуд Дьюара; 5 термометр, 0°С; 6 — коммутатор; 7 милливольтметр;

8 ¾ транскриптор;   9 электроуправляемая пишущая машинка;

10 перфоратор; FI, FII, FIII, FIV, FV, FVI, FVII, FVIII ¾

термически однородные зоны

Черт. 2

 

Перфоленту вводят в ЭВМ, где обрабатывают полученные данные.

4.12. До проведения  испытаний все измерительные и регули­рующие приборы должны быть оттарированы.

5. ПРОВЕДЕНИЕ ИСПЫТАНИЙ

5.1. После проверки готовности к испытанию оборудования и аппаратуры в отделениях климатической камеры устанавливают температуру и влажность воздуха, указанные в программе испы­таний.

5.2. Измерение температуры и плотности тепловых потоков производят после установления стационарного режима теплопереда­чи. Режим теплопередачи следует считать стационарным, если ре­зультаты двух последовательных с интервалом 3 ч измерений тем­пературы на поверхностях стекла и переплета со стороны теплого отделения отличаются друг от друга не более чем на 0,3 °С, а коле­бания влажности воздуха в теплом отделении камеры составляют не более 5 %.

5.3. Измерение температуры и плотности тепловых потоков про­водят не менее десяти раз после установления стационарного ре­жима.

Влажность воздуха в теплом отделении камеры измеряют по окончании температурных измерений, одновременно отмечая нали­чие конденсата или наледи на стекле, переплете и брусках коробки.

5.4. Плотность тепловых потоков, проходящих через испытывае­мый образец, определяют по ГОСТ 25380—82.

5.5. Результаты измерений заносят в журнал испытаний, форма которого приведена в рекомендуемом приложении 1.

6. ОБРАБОТКА РЕЗУЛЬТАТОВ

6.1. За расчетные значения температуры и плотности тепловых потоков для каждой термически однородной зоны принимают сред­ние арифметические значения измеренных величин.

6.2. Приведенное сопротивление теплопередаче , м2 · °С/Вт, определяют по формуле

 

 

где Fсв, Fнепр. площади поверхности светопропускающей и непрозрачной частей образца, м2,

приведенные сопротивления теплопередаче све­топропускающей и непрозрачной частей образ­ца, м2 · °С/Вт.

6.3. Приведенное сопротивление теплопередаче светопропускаю­щей и непрозрачной части  м2 · °С/Вт, определяют по формуле

 

 

где п число однородных зон в светопропускающей (непрозрач­ной) части образца;

Fi площадь i-й однородной зоны;

R0i сопротивление  теплопередаче i   однородной зоны, м2 · °С/Вт.

6.4. Сопротивление  теплопередаче i-й однородной зоны R0i, м2 · °С/Вт, определяют по формуле

 

 

где Rвi и Rнi термические сопротивления соответственно внут­ренней и наружной поверхности i-й зоны, м2 · °С/Вт;

Rкi термическое сопротивление конструкции i-й зо­ны, м2 · °С/Вт;

tвi, tнi средние за период измерений температуры соот­ветственно внутреннего и наружного воздуха, °С;

tвi, tнi средние за период измерений температуры соот­ветственно внутренней и наружной поверхностей i-й зоны, °С;

qi средняя за период измерений плотность теплово­го потока, проходящего через i-ю зону, Вт2.

6.5. Допускается определять приведенное сопротивление тепло­передаче окон и других светопрозрачных ограждающих конструк­ций по приведенному тепловому потоку в соответствии с рекомен­дуемым приложением 2.

 


ПРИЛОЖЕНИЕ 1

Рекомендуемое

ФОРМА ЖУРНАЛА ИСПЫТАНИЙ

 

Тип окна ________________________________________________________________

 

Температура в теплом отделении камеры tв, °С_________________________________

 

Температура в холодном отделении камеры tн, °С ______________________________

 

Номер терми-чески однород-ной зоны

Площадь i-ой зоны Fi, м2

Номер термо-датчиков

Текущие значения температур поверхностей

Средняя температура однородной зоны

Номер датчиков тепловых потоков

Текущие значения плотности тепловых потоков

Средняя плотность теплового потока однородной зоны

Текущие значения относительной влажности воздуха, %

Термические сопротивления поверхностей

Терми­ческое сопро­тивление конст­рукции

Сопротивление тепло­переда­че

Приведенное сопротивление теплопередаче

 

 

 

tвi

tнi

tвi

tнi

 

 

 

 

 

 

 

 

 

Rвi

 

Rнi

 

Rкi

 

Roi

 

 

 

 

 

 

 

мВ

 

°С

 

мВ

 

°С

 

°C

 

мВ

Вт/м2

Вт/м2

 

 

 

 

 

 

 

 

 

 

 

 

 

 

 

 

 

 

 

 

 

м2 · °С/Вт

 

 

 

 

 

 

 

 

 

 

 

 

 

 

 

 

 

 

 

 


 

 

ПРИЛОЖЕНИЕ 2

Рекомендуемое

ОПРЕДЕЛЕНИЕ ПРИВЕДЕННОГО СОПРОТИВЛЕНИЯ ТЕПЛОПЕРЕДАЧЕ ОКОН И ДРУГИХ СВЕТОПРОЗРАЧНЫХ ОГРАЖДАЮЩИХ КОНСТРУКЦИЙ ПО ПРИВЕДЕННОМУ ТЕПЛОВОМУ ПОТОКУ

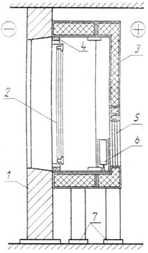
1. Для определения приведенного теплового потока, проходящего через светопрозрачную ограждающую конструкцию, используют  климатическую ка­меру, которая оснащена вспомогательной камерой (см. чертеж настоящего приложения).

Внутри вспомогательной камеры устанавливают электронагреватель по ГОСТ 18476—81 для поддержания заданной постоянной температуры воздуха, рав­ной температуре воздуха в теплом отделении климатической камеры.

2. Значение приведенного теплового потока определяют по расходу элект­роэнергии, измеряемому с помощью электросчетчика по ГОСТ 6570—75.

3. После установления стационарного режима  производят не менее де­сяти измерений температур.

4. Приведенное сопротивление теплопередаче , м2 · °С/Вт, определяют по формуле

 

 

где tв и tн температуры воздуха во вспомогательной камере и в холод­ном отделении климатической камеры, °С;

qпр приведенный тепловой поток, Вт/м2, определяемый по формуле

 

 

где а1 и а2 показания электросчетчика в начале и в конце испытания, Вт;

п продолжительность испытаний, ч;

lм теплопроводность теплоизоляционного материала, Вт/(м2 · °С);

dм толщина слоя теплоизоляционного материала, м;

fм площадь поверхности теплоизоляционного материала;

Fо площадь испытываемого образца, м2.

 

Схема установки вспомогательной камеры и размещения испытываемой светопрозрачной конструкции

 

1 стена, разделяющая в кли­матической камере теплое отде­ление от холодного; 2 испытывае­мая   светопрозрачная   конструк­ция; 3 вспомогательная  камера, стенки которой состоят из внеш­них фанерных обшивок и внутрен­него слоя из пенополистирола; 4 эффективный    теплоизоляцион­ный материал   (пенополистирол); 5 — смотровое   окно  с четверным остеклением;

6 — нагреватель с эк­раном; 7 подставка.



уроки по алготрейдингу на Python с нуля



Яндекс цитирования

   Copyright © 2008-2026 ,  www.infosait.ru

backtrader - уроки алготрейдинга на python