ИНФОСАЙТ.ру
Госты, стандарты, нормативы. В библиотеке 60000 документов. Регулярное обновление. Круглосуточный бесплатный доступ!
БИБЛИОТЕКА ГОСТОВ, СТАНДАРТОВ И НОРМАТИВОВ

:: АЛГОТРЕЙДИНГ ::


АЛГОТРЕЙДИНГ
шаг за шагом


БЕСПЛАТНЫЕ УРОКИ по созданию торговых роботов на PYTHON с нуля, шаг за шагом.


Минимальные знания на PYTHON.
Библиотеки BackTrader и Pandas, сигналы с Pine Script из TradingView.
Связка с брокерами, телеграм.
Создание простых интерфейсов.

 

Все документы, представленные в каталоге, не являются их официальным изданием и предназначены исключительно для ознакомительных целей. Электронные копии этих документов могут распространяться без всяких ограничений. Вы можете размещать информацию с этого сайта на любом другом сайте.


ГОСУДАРСТВЕННЫЙ СТАНДАРТ СОЮЗА ССР

ОКНА И БАЛКОННЫЕ ДВЕРИ ДЕРЕВЯННЫЕ СО СТЕКЛОПАКЕТАМИ И СТЕКЛАМИ ДЛЯ ЖИЛЫХ И ОБЩЕСТВЕННЫХ ЗДАНИЙ

Типы, конструкция и размеры

ГОСТ 24700-81

Москва

ГОСУДАРСТВЕННЫЙ СТАНДАРТ СОЮЗА ССР

ОКНА И БАЛКОННЫЕ ДВЕРИ ДЕРЕВЯННЫЕ

СО СТЕКЛОПАКЕТАМИ И СТЕКЛАМИ ДЛЯ          ГОСТ

ЖИЛЫХ И ОБЩЕСТВЕННЫХ ЗДАНИЙ                24700-81

Типы, конструкция и размеры

Wooden windows and balcony doors with double glazing

units for dwelling and public buildings.

Types, structure and dimensions

Дата введения 01.01.84

Настоящий стандарт распространяется на деревянные окна и балконные двери со стеклопакетами, предназначаемые для жилых и общественных зданий, а также для вспомогательных зданий и помещений предприятий различных отраслей народного хозяйства.

1. ТИПЫ, РАЗМЕРЫ И МАРКИ

1.1. Окна и балконные двери по настоящему стандарту изготовляются одинарной конструкции с однокамерными клееными стеклопакетами.

1.2. Габаритные размеры окон и балконных дверей и размеры проемов для них должны соответствовать: для жилых зданий - указанным на черт. 1 и в приложении 1; для общественных зданий - указанным на черт. 2 и в приложении 2.

Окна и балконные двери, приведенные на черт. 1, могут применяться и для общественных зданий.

1.3. Заполнение оконных проемов общественных зданий шириной 18М (М - модуль, равный 100 мм) и более следует осуществлять набором окон, приведенных на черт. 2.

1.4. По требованию потребителей одностворные окна и балконные двери, в т.ч. с форточными створками и фрамугами, должны изготовляться также и левыми, а многостворные окна с несимметричным рисунком - в негативном (зеркальном) изображении.

1.5. Устанавливают следующую структуру условного обозначения (марки) окон и балконных дверей:

Примеры условных обозначений

Окно правое серии СП для проема высотой 15 и шириной 9 дм:

ОСП15-9 ГОСТ 24700-81

То же, левое:

ОСП15-9Л ГОСТ 24700-81

Дверь балконная правая серии СП для проема высотой 22 и шириной 9 дм:

БСП22-9 ГОСТ 24700-81

Окно серии СП для проема высотой 18 и шириной 15 дм, с несимметричным рисунком (вариант А):

ОСП18-15А ГОСТ 24700-81

То же, в негативном (зеркальном) исполнении:

ОСП18-15АН ГОСТ 24700-81

Габаритные размеры окон и балконных дверей жилых зданий

Примечания:

1. Схемы изделия изображены со стороны фасада.

2. Цифры над схемами изделий означают размеры проемов в модулях.

3. Окна типов 15-12; 15-13,5; 15-15; 15-18 и 15-21 - с клапанами.

Черт. 1

Габаритные размеры окон и балконных дверей общественных зданий

Примечания:

1. Схемы изделия изображены со стороны фасада.

2. Цифры над схемами изделий означают размеры проемов в модулях.

Черт. 2

2. ТРЕБОВАНИЯ К КОНСТРУКЦИИ

2.1. Окна и балконные двери должны изготовляться в соответствии с требованиями ГОСТ 23166 и настоящего стандарта по рабочим чертежам, утвержденным в установленном порядке.

2.2. Конструкция, форма, основные размеры и марки окон и балконных дверей для жилых зданий должны соответствовать указанным на черт. 3 - 5, для общественных зданий - на черт. 6 - 8, а размеры сечений деталей - на черт. 9 - 20.

2.3. Размеры окон и балконных дверей на черт. 1 - 8 даны по наружным сторонам коробок, в свету, и по наружным сторонам створок, фрамуг и клапанов.

На чертежах, приведенных в настоящем стандарте, указаны размеры неокрашенных деталей и изделий в миллиметрах.

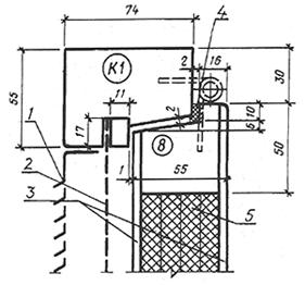
2.4. Для отвода дождевой воды сверлят отверстия диаметром 10 мм, которые должны располагаться в верхних брусках подфорточных створок, в нижних брусках коробок и горизонтальных импостах на расстоянии 50 мм от вертикальных брусков коробок и импостов, а под клапанами - одно отверстие посередине.

Конструкция, форма, основные размеры и марки окон и балконных дверей жилых зданий

Черт. 3

Черт. 4

Черт. 5

2.5. Створки окон высотой 1350 мм при ширине более 600 мм, а также высотой более 1000 мм при ширине более 850 мм должны быть навешены на три петли.

Примеры расположения приборов в окнах и балконных дверях приведены в приложении 3.

2.6. Для остекления окон и балконных дверей жилых и общественных зданий следует применять клееные однокамерные стеклопакеты по действующей НТД.

2.7. Толщину стекла в стеклопакетах уточняют в проекте с учетом ветровых нагрузок в районе строительства.

2.8. Последовательность выполнения операций при монтаже стеклопакетов и схемы расположения опорных, распорных и боковых прокладок, устанавливаемых по периметру стеклопакетов, приведены в приложениях 4 и 5.

Монтаж стеклопакетов и выбор материалов для прокладок следует выполнять в соответствии с инструкцией по применению, монтажу и эксплуатации стеклопакетов в гражданском строительстве.

2.9. Места прикрепления уплотняющих пенополиуретановых прокладок в притворах окон и балконных дверей указаны на чертежах сечений деталей.

2.10. Приклеивание облицовок к каркасу клапана должно выполняться на клеях повышенной водостойкости (фенолформальдегидном типа КБ-3, мочевиномеламиновом типа ММС и др.).

2.11. Клапаны должны быть оснащены пластмассовой сеткой и жалюзийной решеткой или облицованы с наружной стороны обшивкой типа О-2 по ГОСТ 8242.

Пример облицовки клапана обшивкой приведен в приложении 6.

2.12. Клеи и мастики, используемые при изготовлении окон, должны быть разрешены к применению в установленном порядке.

2.13. По требованию потребителя по периметру коробок на боковых поверхностях допускается выборка четверти, заполняемой теплоизоляционным материалом и заделываемой наличником при соединении изделий друг с другом.

2.14. Спецификации стеклопакетов для окон и балконных дверей жилых и общественных зданий приведены в приложении 7 и 8.

Конструкция, форма, основные размеры и марки окон и балконных дверей общественных зданий

Черт. 6

Черт. 7

Черт. 8

Сечения по притворам окон и балконных дверей жилых и общественных зданий

Сечение

а

Деталь

А1

67

1

Б1

72

2

1 ¾ четверть для соединения изделий; 2 ¾ уплотняющая прокладка по ГОСТ 10174

Черт. 9

Сечение

а

Деталь

А2

67

3

Б2

72

4

1 ¾ отверстие диаметром 10 мм для отвода воды (см. п. 2.4); 2 ¾ опорные, распорные и боковые прокладки; 3 ¾ уплотняющая прокладка по ГОСТ 10174

Черт. 10

1 ¾ отверстие диаметром 10 мм для отвода воды (см. п. 2.4); 2 ¾ уплотняющая прокладка по ГОСТ 10174

Черт. 11

Сечение

а

б

в

Деталь

А4

20

67

70

1; К3

А5

10

67

60

1; К4

Б3

20

72

70

2; К3

1 ¾ уплотняющие прокладки по ГОСТ 10174

Черт. 12

1 — решетка жалюзийная; 2 — сетка (см. п. 2.11); 3 — твердая ДВП марки Т группы А толщиной 3,2 мм по ГОСТ 4598; 4 — уплотняющая прокладка по ГОСТ 10174; 5 — мягкая ДВП толщиной 12 мм, 4 слоя по ГОСТ 4598*

_____________

* Вариант. Допускается заполнение полужесткими минераловатными плитами на синтетическом связующем по ГОСТ 9573

Черт. 13

1 — сетка (см. п.2.11); 2 — уплотняющая прокладка по ГОСТ 10174

Черт. 14

1 — сетка (см. п. 2.11); 2 — решетка жалюзийная; 3 — уплотняющая прокладка по ГОСТ 10174

Черт. 15

1 — уплотняющие прокладки по ГОСТ 10174

Черт. 16

1 — отверстие диаметром 10 мм для отвода воды (см. п. 2.4); 2 уплотняющие прокладки по ГОСТ 10174

Черт. 17

Сечение

а

Деталь

А10

67

1

Б5

72

2

1 — уплотняющая прокладка по ГОСТ 10174; 2 — твердая ДВП марки Т группы А толщиной 3,2 мм по ГОСТ 4598*; 3 — мягкая ДВП толщиной 12 мм, 3 слоя по ГОСТ 4598; 4 — обшивка типа О—2 по ГОСТ 8242; 5 пергамин по ГОСТ 2697; 6 — распорная рейка

________________

* Вариант. Допускается заполнение полужесткими минераловатными плитами на синтетическом связующем по ГОСТ 9573

Черт. 18

Сечение

а

Деталь

А11

67

6

Б6

72

7

Черт. 19

Сечение

а

Деталь

А12

67

3

Б7

72

4

1 — уплотняющая прокладка по ГОСТ 10174-90

Черт. 20

ПРИЛОЖЕНИЕ 1
Справочное

ГАБАРИТЫ ПРОЕМОВ ОКОН И БАЛКОННЫХ ДВЕРЕЙ В НАРУЖНЫХ СТЕНАХ ЖИЛЫХ ЗДАНИЙ

ПРИЛОЖЕНИЕ 2
Справочное

ГАБАРИТЫ ПРОЕМОВ ОКОН И БАЛКОННЫХ ДВЕРЕЙ В НАРУЖНЫХ СТЕНАХ ОБЩЕСТВЕННЫХ ЗДАНИЙ

Примечание к приложениям 1 и 2. Размеры ширины проемов указаны для стен из панелей и модульного кирпича.

ПРИЛОЖЕНИЕ 3
Рекомендуемое

Примеры расположения приборов в окнах и балконных дверях

1 ¾ завертка ЗР2-1; 2 ¾ ПВ2-100-1; 3 ¾ ПВ4-60-1; 4 ¾ ПВ4-90-1; 5 ¾ ограничитель фрамужный; 6 ¾ ПФ2; 7 ¾ ПВ4-90-2

Черт. 1

1 ¾ ПВ2-100-1; 2 ¾ завертка ЗР2-1; 3 ¾ ручка РС80; 4 ¾ ограничитель фрамужный; 5 ¾ ПФ2; 6 ¾ ПВ4-90-2

Примечания:

1. Приборы для окон и дверей должны соответствовать ГОСТ 538, ГОСТ 5087, ГОСТ 5088, ГОСТ 5089, ГОСТ 5090 и ГОСТ 5091.

2. Завертки показаны в открытом положении.

3. Ручки РС 80 устанавливают на полотно со стороны балкона.

4. Фрамужный прибор ПФ2 показан условно.

5. Угольники устанавливают в соответствии с п. 2.13 ГОСТ 23166.

6. При ширине фрамуг более 830 мм устанавливают два фрамужных ограничителя.

Черт. 2

ПРИЛОЖЕНИЕ 4
Справочное

ПОСЛЕДОВАТЕЛЬНОСТЬ ВЫПОЛНЕНИЯ ОПЕРАЦИЙ ПРИ МОНТАЖЕ СТЕКЛОПАКЕТОВ

а — наклеить боковые прокладки; б — установить стеклопакет, опорные и распорные прокладки; в — нанести пистолетом слой нетвердеющей герметизирующей мастики; г — установить боковые прокладки и штапики; д — зазоры уплотнить мастикой; 1 — боковая прокладка; 2 — опорная или распорная прокладка; 3 — стеклопакет; 4 переплет; 5 — пистолет; 6 — штапик

ПРИЛОЖЕНИЕ 5
Справочное

РАСПОЛОЖЕНИЕ ОПОРНЫХ, РАСПОРНЫХ И БОКОВЫХ ПРОКЛАДОК, УСТАНАВЛИВАЕМЫХ ПО ПЕРИМЕТРУ СТЕКЛОПАКЕТОВ

а) Опорных и распорных прокладок

1 ¾ распорная прокладка 5´В´50 мм; 2 ¾ опорная прокладка 5´В´100 мм (В - толщина стеклопакета)

б) Боковых прокладок 4´15´50 мм

Примечания:

1. Боковые прокладки устанавливают симметрично с обеих сторон стеклопакетов.

2. Опорные, распорные и боковые прокладки должны изготовляться из древесины твердолиственных пород, пропитанных гидрофобным составом, или из полимера "Агат".

ПРИЛОЖЕНИЕ 6
Рекомендуемое

ОБЛИЦОВКА КЛАПАНА ОБШИВКОЙ СЕЧЕНИЯ КЛАПАНА ПО ПРИТВОРАМ ОКОН


а — по верхнему притвору; б — по нижнему притвору; в — по боковому притвору; г — по среднему притвору; 1 — обшивка типа О-2 по ГОСТ 8242; 2 — пергамин по ГОСТ 2697; 3 — мягкая ДВП толщиной 12 мм, 4 слоя по ГОСТ 4598 (допускается вариант, см. черт. 18); 4 — твердая ДВП марки Т группы А толщиной 3,2 мм по ГОСТ 4598


ПРИЛОЖЕНИЕ 7
Справочное

СПЕЦИФИКАЦИЯ СТЕКЛОПАКЕТОВ ДЛЯ ОКОН И БАЛКОННЫХ ДВЕРЕЙ ЖИЛЫХ ЗДАНИЙ

Марка

Размер, мм

Кол.

 

Высота

Ширина

 

ОСП9-9

 

700

1

ОСП9-12

690

440

 

ОСП9-13,5

 

510

2

ОСП9-15

 

590

 

ОСП15-6

400

400

 

 

800

 

 

ОСП15-7,5

400

550

 

 

800

 

 

ОСП15-9

400

700

1

 

800

 

 

ОСП15-12

 

780

 

ОСП15-13,5

 

930

 

ОСП15-15

 

1080

 

ОСП15-18

1290

630

2

ОСП15-21

 

780

 

ОСП15-7,5А

 

550

 

ОСП15-9А

 

700

1

БСП22-7,5

 

550

 

БСП22-9

 

700

 

ПРИЛОЖЕНИЕ 8
Справочное

СПЕЦИФИКАЦИЯ СТЕКЛОПАКЕТОВ ДЛЯ ОКОН И БАЛКОННЫХ ДВЕРЕЙ ОБЩЕСТВЕННЫХ ЗДАНИЙ

Марка

Размер, мм

Кол.

 

Высота

Ширина

 

ОСП12-9

 

690

 

ОСП12-12

 

990

 

ОСП12-13,5

980

1140

 

ОСП12-15

 

690

 

 

 

460

 

ОСП18-9

400

690

 

 

1040

 

 

ОСП18-12

400

990

 

 

1040

 

 

ОСП18-13,5

400

1140

 

 

1140

 

 

 

400

690

 

ОСП18-15

1040

 

 

 

 

460

 

ОСП18-9А

 

690

 

ОСП18-12А

1580

990

 

ОСП18-13,5А

 

1140

 

ОСП18-15А

 

690

 

 

 

460

 

ОСП21-9

400

690

1

 

1340

 

 

ОСП21-12

400

990

 

 

1340

 

 

ОСП21-13,5

400

1140

 

 

1340

 

 

 

400

690

 

ОСП21-15

1340

 

 

 

 

460

 

ОСП21-9А

 

690

 

ОСП21-12А

 

990

 

ОСП21-13,5А

1880

1140

 

ОСП21-15А

 

690

 

 

 

460

 

БСП24-9

1580

 

 

БСП28-9

400

690

 

 

1340

 

 

БСП28-12

400

990

 

 

1340

 

 

ИНФОРМАЦИОННЫЕ ДАННЫЕ

1. РАЗРАБОТАН И ВНЕСЕН Государственным комитетом по гражданскому строительству и архитектуре при Госстрое СССР

РАЗРАБОТЧИКИ

Б.А.Филозофович (руководитель темы); Г.Г.Коваленко; И.С.Посельская; З.А.Буркова; С.П.Соловьев, канд. архит., И.Ф.Савченко; М.Д.Артемов, канд. техн. наук; К.П.Копылов, канд. техн. наук; Я.С.Щулов; Н.Д.Крылов; Ю.М.Щипанов; Г.В.Левушкин

2. УТВЕРЖДЕН И ВВЕДЕН В ДЕЙСТВИЕ постановлением Государственного комитета СССР по делам строительства от 03.02.81 № 11

3. ВВЕДЕН ВПЕРВЫЕ

4. ССЫЛОЧНЫЕ НОРМАТИВНО-ТЕХНИЧЕСКИЕ ДОКУМЕНТЫ

Обозначение НТД, на который дана ссылка

Номер пункта, приложения

ГОСТ 538-88

Приложение 3

ГОСТ 2697-83

2.2, приложение 6

ГОСТ 4598-86

2.2, приложение 6

ГОСТ 5087-80

Приложение 3

ГОСТ 5088-78

»

ГОСТ 5089-90

»

ГОСТ 5090-86

»

ГОСТ 5091-78

Приложение 3

ГОСТ 8242-88

2.10, приложение 6

ГОСТ 9573-82

2.2

ГОСТ 10174-90

2.2

ГОСТ 23166-78

2.1, приложение 3

5. ПЕРЕИЗДАНИЕ. Октябрь 1991 г.

Приложение к письму Минстроя России от 17 апрели 1997 г. № СП-232/13

РЕКОМЕНДАЦИИ

по применению окон и балконных дверей с различными значениями сопротивления теплопередаче (Rо, м2 С/Вт) для жилых и общественных зданий

Градусосутки отопительного периода

Планируемое значение Rотр

Рекомендуемые конструкции деревянных и поливинилхлоридных (ПВХ) окон и балконных дверей

Справочное значение Rо

до 2500

0,38

Деревянные по ГОСТ 24700 и ПВХ окна с однокамерными стеклопакетами (СПО)

0,38

 

 

Деревянные спаренные по ГОСТ 11214

0,40

 

 

Деревянные раздельные по ГОСТ 11214

0,43

до 4000

0,50

Деревянные по ГОСТ 24700 и ПВХ окна с двухкамерными стеклопакетами (СПД)

0,50

 

 

Деревянные по ГОСТ 24700 и ПВХ окна с СПО и теплоотражающим покрытием внутреннего стекла (ТОП)

0,53

до 5000

0,55

Деревянные с тройным остеклением по ГОСТ 16289

0,55

 

 

Деревянные со стеклом и СПО по ГОСТ 24699

0,55

 

 

Деревянные по ГОСТ 24700 и ПВХ окна с СПД и ТОП

0,57

 

 

Деревянные по ГОСТ 24700 и ПВХ окна с СПО и ТОП, заполнение - аргон

0,60

до 6000

0,65

Деревянные по ГОСТ 24700 и ПВХ окна с СПД и ТОП, межстекольные расстояния 12 и 8 мм.

0,65

 

 

с усиленными сечениями профилей

0,55

 

 

Деревянные спаренные по ГОСТ 11214 с установкой теплового экрана между стекол

0,65

 

 

Деревянные с тройным остеклением по ГОСТ 16289 с ТОП

0,65

 

 

Деревянные со стеклом и СПО с ТОП по ГОСТ 24699

0,65

до 8000

0,75

Деревянные со стеклом и СПО с ТОП по ГОСТ 24699, заполнение - аргон, с усиленным сечением профилей

0,75

 

 

Деревянные со стеклом и СПД с ТОП по ГОСТ 24699, межстекольные расстояния 12 и 8 мм, аргон, с усиленным сечением профилей

0,75

свыше 8000

0,85

Деревянные с тройным остеклением с ТОП по ГОСТ 16289 и установкой в спаренной части теплового экрана

0,85

 

 

Деревянные со стеклом и СПО с ТОП по ГОСТ 24699, заполнение - криптон, с усиленным сечением профилей

1,0

Примечания:

1. До внесения изменений в ГОСТ 11214-86, ГОСТ 16289-86, ГОСТ 24699-81, ГОСТ 24700-81 рекомендуется по согласованию с Минстроем России проводить работы по модернизации конструктивных решений окон с учетом современного опыта их производства и применения. При этом в конструкциях окон с сопротивлением теплопередаче выше 0,4 м2 С/Вт рекомендуется применять 2 ряда уплотнительных прокладок.

2. Сопротивление теплопередаче глухой части балконных дверей должно быть не менее чем в 1,5 раза выше сопротивления теплопередаче светопрозрачной части этих изделий.

3. Справочное значение Rо приведено для конструкции с отношением площади остекления к площади заполнения светового проема 0,7-0,75.



уроки по алготрейдингу на Python с нуля



Яндекс цитирования

   Copyright © 2008-2026 ,  www.infosait.ru

backtrader - уроки алготрейдинга на python