ИНФОСАЙТ.ру
Госты, стандарты, нормативы. В библиотеке 60000 документов. Регулярное обновление. Круглосуточный бесплатный доступ!
БИБЛИОТЕКА ГОСТОВ, СТАНДАРТОВ И НОРМАТИВОВ

:: АЛГОТРЕЙДИНГ ::


АЛГОТРЕЙДИНГ
шаг за шагом


БЕСПЛАТНЫЕ УРОКИ по созданию торговых роботов на PYTHON с нуля, шаг за шагом.


Минимальные знания на PYTHON.
Библиотеки BackTrader и Pandas, сигналы с Pine Script из TradingView.
Связка с брокерами, телеграм.
Создание простых интерфейсов.

 

Все документы, представленные в каталоге, не являются их официальным изданием и предназначены исключительно для ознакомительных целей. Электронные копии этих документов могут распространяться без всяких ограничений. Вы можете размещать информацию с этого сайта на любом другом сайте.


Система нормативных документов в строительстве

ТЕРРИТОРИАЛЬНЫЕ СТРОИТЕЛЬНЫЕ НОРМЫ МОСКОВСКОЙ
ОБЛАСТИ

ПРОЕКТИРОВАНИЕ,
СТРОИТЕЛЬСТВО И РЕКУЛЬТИВАЦИЯ
ПОЛИГОНОВ ТВЕРДЫХ БЫТОВЫХ ОТХОДОВ В
МОСКОВСКОЙ ОБЛАСТИ

ТСН 30-308-2002
МОСКОВСКОЙ ОБЛАСТИ

МИНИСТЕРСТВО СТРОИТЕЛЬНОГО КОМПЛЕКСА МОСКОВСКОЙ
ОБЛАСТИ
Москва
2002

ПРЕДИСЛОВИЕ

1. РАЗРАБОТАНЫ Московским государственным строительным университетом, Академией коммунального хозяйства им. Памфилова, при участии Министерства строительного комплекса Московской области, Центра государственного санитарно-эпидемиологического надзора Московской области, Лицензионно-экспертного управления по лицензированию строительной области и экспертизе, Главного управления архитектуры и градостроительства, ГО и ЧС МО.

ВНЕСЕНЫ Министерством строительного комплекса Московской области.

2. ПРИНЯТЫ И ВВЕДЕНЫ В ДЕЙСТВИЕ распоряжением Министерства строительного комплекса Московской области от 16.10.2000 г. № 132.

3. ВПЕРВЫЕ

4. ЗАРЕГИСТРИРОВАНЫ Госстроем России, письмо от 28.03.2003 г. № 9-29/245

СОДЕРЖАНИЕ

ВВЕДЕНИЕ. 1

1. Область применения. 2

2. Нормативные ссылки. 2

3. Определения. 3

4. Общие положения. 3

5. Размещение полигонов ТБО.. 4

6. Инженерные изыскания под полигоны ТБО.. 5

7. Планировочные и конструктивные требования. 7

8. Рекультивация полигонов. 9

9. Защитные экраны полигона. 9

Приложение А. Термины и определения. 15

Приложение Б. Классификационный каталог отходов потребления (твердых бытовых отходов), находящихся в технологическом цикле объектов инженерной инфраструктуры  городских и сельских поселений (утвержден Госстроем 27.12.02, постановление № 169) 17

Приложение В. Оценка воздействия на окружающую среду. 19

Приложение Г. Особо охраняемые природные территории (ООПТ) 20

Приложение Д. Сбор и обработка фильтрата и поверхностных вод. 21

Приложение Е. Перечень методов обработки фильтрата и границы их применимости. 22

Приложение Ж. Сбор и утилизация биогаза. 23

Приложение И. Геоэкологический мониторинг. 24

Приложение К. Технология сортировки древесно-растительных отходов. 25

ВВЕДЕНИЕ

Неотъемлемым звеном функционирования города как антропогенной экосистемы является образование отходов производства и потребления. Объемы этих отходов растут из года в год и в значительной мере зависят от размеров города, численности его населения, особенностей сосредоточенных в нем производств. Москва, как один из крупнейших мировых мегаполисов, естественно не является исключением, в силу особенностей как своих размеров, так и географо-климатического расположения. Объемы отходов в Московском регионе складываются как из поступающих из города Москвы, так и образующихся в городах и населенных пунктах собственно Московской области, которая также является зоной высокой концентрации населения и различного рода промышленного производства. В целом ежегодно необходимо размещать на полигонах хранения более 12 млн. тонн отходов.

Основная масса бытовых и промышленных отходов в настоящее время не подвергается какой-либо переработке и вторичному использованию, а размещается на полигонах хранения, на санкционированных и несанкционированных свалках, скапливается на территориях промышленных предприятий, что в значительной мере усугубляет общую экологическую ситуацию, создает серьезную опасность для здоровья населения и работников предприятий, влечет за собой экономический ущерб за счет безвозвратных потерь потенциальных вторичных ресурсов.

Настоящие территориальные строительные нормы регламентируют строительную деятельность в области управления обращения с отходами и являются нормативной основой для повышения качества возведения полигонов ТБО, оздоровления сложившейся экологической ситуации на территории Московской области.

Нормы не распространяются на полигоны по обезвреживанию и захоронению промышленных и радиоактивных отходов.

1. Область применения

1.1. Настоящие территориальные строительные нормы разработаны на основании действующего законодательства РФ.

1.2. Настоящие нормы распространяются на проектирование, строительство и рекультивацию полигонов по обезвреживанию и захоронению твердых бытовых отходов (в дальнейшем полигоны ТБО).

1.3. Нормы должны соблюдаться на территории Московской области при проектировании, строительстве, рекультивации полигонов ТБО российскими и иностранными юридическими и физическими лицами независимо от формы собственности.

2. Нормативные ссылки

2.1. В настоящих нормах использованы ссылки на следующие нормативные документы:

СНиП 2.07.01-89 «Градостроительство. Планировка и застройка городских и сельских поселений».

СНиП 3.01.01-85 Организация строительного производства.

СНиП 3.02.01-87 Земляные сооружения, основания и фундаменты.

СНиП 11-01-95 «Инструкция о порядке разработки, согласования, утверждения и составе проектной документации на строительство предприятий, зданий и сооружений».

положения», 1994.

СНиП 11-02-96 «Инженерные изыскания для строительства. Основные положения».

СП 11-102-97 «Инженерно-экологические изыскания для строительства».

СП 11-105-97 «Инженерно-геологические изыскания для строительства».

ГОСТ 3351-74 «Вода питьевая. Методы определения вкуса, запаха, цветности и мутности».

ГОСТ 4011-72 «Вода питьевая. Метод определения общего железа».

ГОСТ 4151-72 «Вода питьевая. Метод определения общей жесткости».

ГОСТ 4245-72 «Вода питьевая. Метод определения содержания хлоридов».

ГОСТ 4386-89 «Вода питьевая. Метод определения массовой концентрации фторидов».

ГОСТ 4389-72 «Вода питьевая. Метод определения содержания сульфатов».

ГОСТ 4979-49 «Вода хозяйственно-питьевого и промышленного водоснабжения. Методы химического анализа. Отбор, хранение и транспортировка проб» (Переиздание 1997).

ГОСТ 5180-84 «Грунты. Методы лабораторного определения физических характеристик».

ГОСТ 12071-84 «Грунты. Отбор, упаковка, транспортировка и хранение образцов».

ГОСТ 12248-96 «Грунты. Методы лабораторного определения характеристик прочности и деформируемости».

ГОСТ 12536-79 «Грунты. Методы лабораторного определения гранулометрического (чернового) и микроагрегатного состава».

ГОСТ 18164-72 «Вода питьевая. Метод определения сухого остатка».

ГОСТ 18826-73 «Вода питьевая. Метод определения содержания нитратов».

ГОСТ 19912-81 «Грунты. Метод полевого испытания динамическим зондированием».

ГОСТ 20069-81 «Грунты. Метод полевого испытания статическим зондированием».

ГОСТ 20276-85 «Грунты. Метод полевого испытания статическими нагрузками».

ГОСТ 21719-80 «Грунты. Метод полевых испытаний на срез в скважинах и в массиве».

ГОСТ 22584-83 «Метод лабораторного определения коэффициента фильтрации».

ГОСТ 22733-77 «Грунты. Метод лабораторного определения максимальной плотности».

ГОСТ 23001-90 «Грунты. Методы лабораторных определений плотности и влажности».

ГОСТ 23740-79 «Грунты. Методы лабораторного определения содержания органических веществ».

ГОСТ 25100-95 «Грунты. Классификация».

ГОСТ 27751-88 «Надежность строительных конструкций и оснований. Основные положения по расчету».

ГОСТ 30416-96 «Грунты. Лабораторные испытания. Общие положения».

ГОСТ 30772-2001 «Ресурсосбережение. Обращение с отходами. Термины и определения».

СанПиН 1746-77 «Санитарные правила проектирования, строительства и эксплуатации полигонов захоронения неутилизируемых промышленных отходов».

СанПиН 2.01.7.728-99 «Правила сбора, хранения и удаления отходов лечебно-профилактических учреждений».

СП 2.6.1.758-99 (ОСПОРБ-99) «Основные санитарные правила обеспечения радиационной безопасности».

СП 2.1.7.1038-01 «Гигиенические требования к устройству и содержанию полигонов для ТБО».

ТСН ППС-99 МО «Порядок предпроектной и проектной подготовки в Московской области».

3. Определения

Термины и определения приведены в приложении А.

4. Общие положения

4.1. Полигоны твердых бытовых отходов - комплексы природоохранных сооружений, предназначенные для централизованного сбора, обезвреживания и захоронения ТБО, предотвращающие попадание вредных веществ в окружающую среду, загрязнения атмосферы, почвы, поверхностных и грунтовых вод, препятствующие распространению грызунов, насекомых и болезнетворных микроорганизмов.

В зависимости от состава отходов полигоны подразделяются на два класса. Классификационный каталог ТБО приведен в приложении Б.

4.2. На полигоны ТБО 1 класса принимаются:

- бытовые отходы и отходы потребления из жилых зданий, учреждений и предприятий общественного назначения, объектов оптово-розничной торговли промышленными и продовольственными товарами, уличный, садово-парковый смет;

- отходы лечебно-профилактических учреждений (ЛПУ) в соответствии с СанПиН 2.01.7.728.

Суммарное содержание в отходах органических веществ не должно превышать 25 %, а образуемые выбросы в пределах ПДК.

4.3. На полигоны ТБО 2 класса принимаются отходы, перечисленные в п. 1.2, а также:

- строительные отходы при сносе, реконструкции, новом строительстве зданий и сооружений, древесно-строительные отходы;

- твердые промышленные отходы III - IV класса опасности по согласованию с Центром государственного санитарно-эпидемиологического надзора Московской области (ЦГСЭН МО) и учреждениями коммунальной службы;

- грунты и почвы, твердые строительные и промышленные IV класса опасности отходы, содержащие радионуклиды в количествах, не превышающих установленные для радиоактивных отходов пределы, по отдельному проекту, согласованному с ЦГСЭН МО и территориальным отделением Министерства природных ресурсов от специальных организаций, имеющих лицензии на соответствующие виды деятельности;

- неопасные отходы, класс которых устанавливается экспериментальными методами. Список этих отходов согласуется с ЦГСЭН МО.

4.4. В составе полигона следует предусматривать:

- участок захоронения отходов;

- участок для размещения цеха по сортировке и переработке отходов;

- участок компостирования;

- административно-хозяйственную зону;

- инженерные сооружения и коммуникации для жизнеобеспечения полигона и экологической безопасности;

- экспресс-лабораторию;

- участок радиационного контроля за отходами.

4.5. Подготовка проектной документации на размещение участка полигона ТБО производится в соответствии с ТСН 11-303-2001 (ТСН ППС 99МО). Намеченный для полигона участок проходит согласование с территориальными отделениями министерства природных ресурсов, с Главархитектурой, Мособлкомводом, Геоцентром «Москва» в части согласования выборов земельных участков.

5. Размещение полигонов ТБО

5.1. Размещение полигонов ТБО должно осуществляться по территориальному принципу, предусматриваться при разработке территориальных комплексных схем градостроительного планирования развития территории Московской области. Для решения вопроса о возможности размещения ТБО на земельном участке, Заказчиком в соответствии с положениями градостроительной документации разрабатывается градостроительное обоснование объекта строительства.

5.2. Выявление участков перспективных для размещения полигонов производится на основании анализа карты специального типологического зонирования территории района М 1 : 200 000, которая составляется с привлечением имеющихся геологических, гидрогеологических и других карт соответствующего масштаба. При составлении карты используются две группы критериев: а) исключающие размещение полигонов, б) благоприятствующие размещению полигонов.

5.3. Размещение полигонов исключается:

- на территории природно-заповедного фонда Российской Федерации (государственные природные заповедники, заказники, национальные природные парки, памятники природы) и его охранной зоны (Приложение В);

- в пределах округов санитарной охраны курортных и лечебно-оздоровительных зон;

- на территории зеленых зон городов и промышленных поселков;

- на землях, занятых или предназначенных под занятие лесами, лесопарками и другими зелеными насаждениями, выполняющими средозащитные, санитарно-гигиенические и рекреационные функции;

- на сельскохозяйственных угодьях с кадастровой оценкой выше среднерайонного уровня;

- на землях историко-культурного назначения;

- в пределах водоохранных зон водных объектов;

- в пределах I и II поясов зон санитарной охраны водных объектов, использующихся для хозяйственно-питьевого водоснабжения (СП 2.1.7.1038-01);

- в пределах городской черты;

- на территории, загрязненной органическими и радиоактивными отходами, до истечения сроков, установленных органами санитарно-эпидемиологической службы;

- на территориях со сложными геологическими и гидрогеологическими условиями (развитых склоновых процессов, суффозионно-неустойчивых грунтов; заболоченных участках и зонах подтопления и т.п.).

5.4. В Московской области благоприятными для размещения полигонов признаются участки:

- открытые, хорошо проветриваемые, незатопляемые и неподтапливаемые, допускающие осуществление мероприятий и инженерных решений, исключающих загрязнение окружающей среды (СаНПиН 1746-77);

- расположение с подветренной стороны (для ветров преобладающего направления) по отношению к населенным пунктам и рекреационным зонам;

- расположение ниже мест водозаборов хозяйственно-питьевого водоснабжения, рыбоводных хозяйств, мест нереста, массового нагула и зимовальных ям рыбы;

- удаленные от аэропортов на 15 и более км, от сельскохозяйственных угодий и транзитных магистральных дорог на 200 м, от лесных массивов и лесопосадок, не предназначенных для рекреации на 50 м;

- обеспечивающие соблюдение 500 м санитарно-защитной зоны от жилой застройки до границ полигона;

- с уклоном в сторону населенных пунктов, промышленных предприятий, сельскохозяйственных угодий, лесных массивов не более 1,5 %;

- с залеганием грунтовых вод при наибольшем подъеме, с учетом эксплуатации полигона, не менее 2 м от нижнего уровня захороняемых отходов;

- с преобладанием в разрезе четвертичных отложений экранирующих пород (в т.ч. мореные суглинки), характеризующиеся коэффициентом фильтрации не более 10-7 м/с;

- оценка гидрогеологической обстановки производится полевыми методами исследований в конкретных геологических условиях, включая трещиноватость пород, наличие гидрогеологических окон и т.п.;

- с развитым региональным водоупором (юрские глины), характеризующимся отсутствием «гидравлических окон» и значительных по площади трещиноватых зон;

- с отсутствием опасных геологических процессов (оползневые, карстово-суффозионные, овражная эрозия и т.д.).

5.5. При размещении полигонов учитывается опыт функционирования объектов-аналогов, которые устанавливаются, исходя из природных условий размещения полигонов (в том числе геологическое строение, гидрогеологические условия, свойства грунтов, развитие опасных геологических процессов) и технологических особенностей складирования ТБО (площадь полигона, мощность складированных ТБО, схема складирования).

5.6. Размер участка размещения полигона устанавливается, исходя из условия срока его эксплуатации не менее 20 лет.

5.7. Для оценки возможности размещения полигона, реализации хозяйственной деятельности и гарантии соблюдения природоохранных норм и правил по каждому полигону следует разрабатывать обоснование инвестиций с составлением ОВОС и проведением по ним экспертизы в Государственной вневедомственной экспертизе Московской области и Государственной экологической экспертизе Минэкологии Московской области. Указания к разработке раздела ОВОС приведено в Приложении В.

Аналогичная процедура осуществляется на стадиях ТЭО (проект), утверждаемой части РП в соответствии с порядком проведения государственной вневедомственной экспертизы проектной документации на строительство, расширение и реконструкцию предприятий, зданий и сооружений в Московской области.

5.8. При размещении полигонов анализируется транспортная структура района, и намечаются подъезды к нему вне существующих населенных пунктов.

5.9. Полигоны ТБО классифицируются как новые строительные сооружения 1-го уровня ответственности (по ГОСТ 27751).

6. Инженерные изыскания под полигоны ТБО

6.1. Область использования

Настоящие требования распространяются на организацию и порядок проведения инженерных изысканий (инженерно-геодезических, инженерно-геологических, инженерно-гидрометеорологических и инженерно-экологических) для образования предпроектной документации, проектирования, строительства новых и рекультивации действующих полигонов ТБО, как вида строительной деятельности, согласно СНиП 11.02.96 и соответствующих полигонов ему СП 11-102; СП 11-103; СП 11-104; СП 11-105.

6.2. Общие положения

6.2.1. Инженерные изыскания обеспечивают комплексное изучение природных и техногенных условий площадки предполагаемого строительства полигона ТБО; прогноза его взаимодействия с окружающей средой; обоснование их инженерной защиты и безопасных условий жизни населения, а также выбора альтернативных вариантов размещения полигона.

Материалы инженерных изысканий являются основой для разработки всех видов предпроектной и проектной документации в соответствии с принятыми правилами ее подготовки согласно СНиП 11-01.

6.2.2. В связи с тем, что полигоны ТБО относятся к сооружениям 1-го уровня ответственности, т.е. повышенного социального и экологического риска, то выполнение инженерных изысканий под их проектирование и строительство следует проводить с помощью специализированных изыскательских организаций или физических лиц, имеющих лицензии на выполнение как комплексных инженерных изысканий, так и их отдельных видов согласно п. 4.4. СНиП 11-02.

6.2.3. Проведение инженерных изысканий осуществляется при наличии всех необходимых регистрационных, разрешительных документов и согласований в соответствии с п. 4.5 - 4.7; СНиП 11-02 и согласно требованиям п. 4.9 - 4.10; СНиП 11-02, и после заключения договорных отношений по п. 4.11 СНиП 11-02.

6.2.4. Инженерные изыскания под полигоны ТБО выполняются при наличии технического задания, составляемого заказчиком. Состав технического задания на выполнение инженерных изысканий для полигонов ТБО должен отвечать требованиям п. 4.13 СНиП 11-02.

6.2.5. В связи с повышенным социальным и экологическим риском полигонов ТБО программа инженерных изысканий является обязательным документом и должна быть согласована с заказчиком. В случае размещения полигона в сложных геологических условиях программу изысканий рекомендуется подвергать вневедомственной экспертизе. Состав программы инженерных изысканий под полигоны ТБО в целом должен отвечать п. 4.14 СНиП 11-02.

6.2.6. После окончания инженерных изысканий все земельные участки должны быть приведены в состояние, пригодное для их целевого использования либо рекультивированы, согласно требованиям СНиП 11.02.

6.2.7. Состав и требования к инженерным изысканиям по строительству полигонов ТБО для предпроектной, проектной и рабочей документации корректируются в соответствии со СНиП 11-01.

6.3. Основные требования к инженерно-геодезическим изысканиям

6.3.1. Все виды работ данного вида инженерных изысканий регламентируются положениями разд. 5 СНиП 11-02.

6.3.2. Инженерно-геодезические изыскания должны обеспечивать получение топографо-геодезических материалов, данных о ситуации, рельефе местности, существующих зданиях и сооружениях, элементах планировки для выполнения проектирования и строительства полигонов ТБО.

6.3.3. Состав инженерно-геодезических изысканий для строительства полигонов ТБО в целом должен отвечать требованиям п. 5.3 СНиП 11-02.

6.3.4. Техническое задание и программа инженерно-геодезических изысканий должны отвечать пп. 5.5, 5.6 СНиП 11-02.

6.3.5. Топографическая съемка для строительства полигонов ТБО выполняется в масштабах от 1 : 200 до 1 : 10000.

6.3.6. Технический отчет по проведенным инженерно-геодезическим изысканиям выполняется по п. 5.13 СНиП 11-02 с приложением картографических материалов в соответствии с техническим заданием в зависимости от стадии проектирования согласно пп. 5.15 - 5.18 СНиП 11-02.

6.4. Основные требования к инженерно-геологическим изысканиям

6.4.1. Инженерно-геологические изыскания для строительства полигонов ТБО в целом регламентируются разделом 6 СНиП 11-02.

6.4.2. Инженерно-геологические изыскания должны обеспечивать комплексное изучение инженерно-геологических условий площадки строительства полигонов ТБО в полном соответствии с требованиями п. 6.1 СНиП 11-02. Необходимым является разработка специальной программы гидрогеологических изысканий, включая полевое опробывание, лабораторные исследования подземных вод и стационарные наблюдения в период строительства, эксплуатации и рекультивации полигонов ТБО.

6.4.3. Техническое задание и программа инженерно-геологических изысканий должны учитывать стадии проектирования, а также требования пп. 6.9 - 6.22 СНиП 11-02 по особенностям ведения инженерно-геологических процессов и явлений.

6.4.4. Технический отчет по инженерно-геологическим изысканиям (пояснительная записка и графическая часть) должны отвечать п. 6.3 СНиП 11-02.

6.5. Основные требования к инженерно-гидрометеорологическим изысканиям

6.5.1. Полученные данные при этом виде изысканий должны обеспечить комплексное изучение гидрометеорологического режима площадки строительства полигона ТБО согласно разд. 7 СНиП 11-02.

6.5.2. В связи со значительным влиянием гидрологических и метеорологических факторов на взаимодействие полигона ТБО с окружающей средой техническое задание и программа инженерных изысканий данного вида должны учитывать требования пп. 7.2 - 7.5 и 7.7 СНиП 11-02.

6.5.3. Технический отчет в полном объеме, включая графические материалы, в зависимости от стадии проектирования и требований п. 7.8 СНиП 11-02, должен в целом отвечать п. 7.14 указанного СНиПа.

6.6. Основные требования к инженерно-экологическим изысканиям

6.6.1. В связи со значительным социальным и экологическим воздействием на окружающую среду выполнение инженерно-экологических изысканий для полигонов ТБО должно проводиться в полном соответствии с требованиями раздела 8 СНиП 11-02.

6.6.2. В целом инженерно-экологические изыскания для строительства полигонов ТБО должны обеспечивать комплексное изучение взаимодействия полигона ТБО с окружающей средой; влияние окружающей среды на проектные решения по полигону ТБО, а также полигона ТБО на окружающую среду.

6.6.3. Состав инженерно-экологических изысканий определяется техническим заданием и программой работ, которые в свою очередь, определяются стадией проектирования, конкретными условиями площадки строительства и предполагаемого проектного решения полигона ТБО согласно пп. 8.1 - 8.13 СНиП 11-02.

6.6.4. Технический отчет (пояснительная записка и графические приложения) выполняются в соответствии с пп. 8.16 - 8.28 СНиП 11-02.

7. Планировочные и конструктивные требования

7.1. Проект предусматривает разделение участка под полигон на производственную и административно-хозяйственную зоны. Расстояние между зданиями и сооружениями зон должно быть не менее 25 м. Среди основных элементов полигона выделяются: подъездная дорога, участок складирования ТБО с кавальерами (складами) грунта для промежуточной изоляции ТБО, инженерные сооружения (в т.ч. очистные) и коммуникации, участок по сортировке отходов, участок компостирования древесно-растительных отходов, а при необходимости - пруды, административно-хояйственная зона, участок радиационного контроля за отходами.

7.2. Полигон для захоронения отходов по периметру должен иметь ограждение высотой не менее 180 см.

На полигоне по его периметру, начиная от ограждения, должны последовательно размещаться:

- кольцевой канал;

- кольцевая автодорога с высококачественным твердым покрытием;

- ливнеотводные лотки вдоль дороги или кюветы.

7.3 Внешний кольцевой канал должен рассчитываться на расход 1 % обеспеченности паводка с прилегающей водосборной площади.

7.4. Плотность застройки административно-хозяйственной зоны полигона должна быть не менее 30 %. В административно-хозяйственной зоне размещаются:

- административно-бытовые помещения, лаборатория;

- теплая стоянка для спецмашин и механизмов (навес);

- мастерская для текущего ремонта спецмашин и механизмов;

- склад топливных материалов;

- маслосклад;

- автомобильные весы (на полигонах свыше 100 тыс. т/год);

- контрольно-пропускной пункт;

- котельная (при необходимости);

- контрольно-дезинфицирующая ванна;

- противопожарный резервуар;

- трансформаторная подстанция (дизельная электростанция);

- артезианская скважина (резервуар для питьевой воды);

- очистные сооружения (при необходимости);

- участок радиационного контроля за отходами, включая: рамку радиационного автоматизированного контроля; место углубленного радиационного обследования; площадку для отстоя техники с фоном, превышающим требования НРБ (норм радиационной безопасности); место для размещения контейнеров (СП 2.6.1.758-99).

7.5. Подъездная дорога соединяет существующую транспортную магистраль с участком складирования ТБО. Подъездная дорога рассчитывается на двустороннее движение. Категория и основные параметры подъездной автодороги определяются в соответствии с расчетной интенсивностью движения, авт-ль/сут.

7.6. Основное сооружение полигона - участок складирования ТБО. Он занимает основную площадь полигона, в зависимости от объема принимаемых ТБО. Участок складирования разбивается на очереди эксплуатации с учетом обеспечения приема отходов в течение 3 - 5 лет, в составе первой очереди выделяется пусковой комплекс на первые 1 - 2 года.

Эксплуатация последующей очереди заключается в увеличении насыпи ТБО до проектируемой отметки. Разбивка участка складирования на очереди выполняется с учетом рельефа местности.

Участки складирования должны быть защищены от стоков поверхностных вод с вышерасположенных земельных массивов. Для перехвата дождевых и паводковых вод по границе участка проектируется водоотводная канава.

По периметру полигона на полосе шириной 5 - 8 м предусматривается посадка деревьев, прокладываются инженерные коммуникации (водопровод, канализация), устанавливаются мачты электроосвещения; при отсутствии инженерных сооружений на этой полосе отсыпаются кавальеры (склады) грунта для использования его на изоляцию ТБО, в любом случае не более 5 % всей площади полигона.

7.7. Административно-хозяйственная зона проектируется на пересечении подъездной дороги с границей полигона, что обеспечивает возможность эксплуатации зоны на любой стадии заполнения полигона ТБО. На участках с конфигурацией, близкой к квадрату, зона размещается у проектируемой последней очереди складирования ТБО. На участках вытянутой формы зона размещается посередине длинной стороны. Административно-хозяйственная зона занимает, в зависимости от количества принимаемых полигоном ТБО, площадь - до 5 % от всей площади.

7.8. Участок для размещения производства по сортировке отходов.

Участок для сортировки отходов примыкает к административно-хозяйственной зоне полигона. На участке располагаются:

- производственный корпус;

- навес для складирования брикетов;

- участок подготовки вторичного сырья;

- весовая площадка.

Все объекты на площадке расположены с учетом транспортных развязок с минимальным радиусом разворота транспортных средств и требований по пожарной безопасности (пожарные проезды).

7.9. Участок компостирования древесно-растительных отходов.

На участке компостирования древесно-растительных отходов размещаются:

- Инвентарное здание;

- Площадка для приема и сортировки древесных отходов;

- Участок измельчения древесных отходов;

- Участок приготовления компостируемой массы;

- Площадка штабелирования и созревания компостируемой массы.

В инвентарном здании иногда используется мобильная строительная бытовка размерами 6 ´ 3 м или подобное сооружение. Здание предназначено для размещения оборудования, обеспечивающего аэрацию компостируемой массы.

7.10. В зависимости от мощности полигона ТБО следует предусматривать строительство зданий и сооружений с учетом экологических, технологических и архитектурно-строительных требований.

Перечень необходимых зданий и сооружений, в зависимости от мощности полигона, приведен в таблице 7.1.

Таблица 7.1

Перечень зданий и сооружений

Мощность полигона, тыс. т/год

До 10

10-20

20-100

100-200

Более 200

1

2

3

4

5

6

Инвентарное здание

+

+

-

-

-

Здание административно-бытовых помещений

-

-

+

+

+

Автовесы

-

-

+

+

+

Контрольно-пропускной пункт, пункт радиационного контроля

+

+

+

+

+

Дезинфицирующая ванна

+

+

+

+

+

Очистные сооружения

-

-

+

+

+

Навес для механизмов

+

+

+

+

+

Котельная

-

-

-

+

+

Склад горючесмазочных материалов

+

+

+

+

+

Противопожарный резервуар

+

+

+

+

+

Артезианская скважина

-

-

-

+

+

Резервуар для питьевой воды

+

+

+

-

-

Производственный корпус для сортировки

-

+

+

+

+

Навес для складирования вторичного сырья

-

+

+

+

+

8. Рекультивация полигонов

8.1. Рекультивация полигонов содержит комплекс природоохранных и инженерно-технических мероприятий, направленных на восстановление территорий, занятых под полигон с целью дальнейшего их использования. Работы по рекультивации полигонов составляют систему мероприятий, осуществляемых в период строительства, эксплуатации и закрытия полигона.

8.2. Направление рекультивации определяют дальнейшее целевое использование рекультивируемых территорий в народном хозяйстве.

8.3. Наиболее приемлемыми направлениями дальнейшего использования территорий служат сельскохозяйственное, лесохозяйственное, рекреационное и строительное применение.

8.4. Рекультивацию территории полигона проводит организация, эксплуатирующая полигон, на основании предварительного разрешения на проведение работ органов санитарно-эпидемиологического надзора и государственного комитета по охране окружающей среды Московской области с участием предприятия, выполняющего дальнейшее использование земель.

8.5. Рекультивация полигонов выполняется в два этапа: технического и биологического.

8.6. Технический этап заключается в разработке технологических и строительных мероприятий, решений и конструкций по устройству защитных экранов основания и поверхности полигона, сбору и утилизации биогаза, сбору и обработке фильтрата и поверхностных сточных вод.

Биологический этап рекультивации предусматривает агротехнические и фитомелиоративные мероприятия, направленные на восстановление нарушенных земель. Биологический этап осуществляется вслед за инженерно-техническим этапом рекультивации.

9. Защитные экраны полигона

9.1. Общие положения.

9.1.1. Защитные экраны основания и поверхности карт складирования отходов - это основные конструктивные элементы, обеспечивающие природоохранную функцию - защиту грунта, грунтовых и поверхностных вод от проникновения фильтрата, а также атмосферы от выделяющего газа, пыли, запахов, распространения болезнетворных микробов. Конструкции защитных экранов, расположенных на бортах котлованов и на откосах насыпей ТБО должны удовлетворять требованиям расчета геокомпозиционных систем по I предельному состоянию с коэффициентом запаса устойчивости Kst ³ 1,2.

9.1.2. Охрана грунта, грунтовых и поверхностных вод во время эксплуатации достигается благодаря сочетанию геологического барьера и основной системы гидроизоляции полигона. В период пассивной фазы, после закрытия полигона и вывода его из эксплуатации охрана грунта, грунтовых и поверхностных вод, воздушного пространства обеспечивается сочетанием системы верхней гидроизоляции (защитный экран поверхности полигона) с защитным экраном основания полигона.

9.1.3. Геологические барьеры.

Геологическим барьером называется естественное грунтовое основание, расположенное ниже планировочной отметки карты, которое обладает свойствами и размерами, достаточными для препятствия распространения вредных веществ в грунтовой среде.

Геологический барьер состоит из тонкодисперсных грунтов, обладающих низким коэффициентом фильтрации, менее 1×10-7 м/с, и низкой адсорбционной способностью по отношению к загрязнителям и токсикантам.

Геологический барьер должен быть распространен за границы полигона на расстояние, обеспечивающее невозможность расположения (внешнего или преднамеренного) тела полигона вне его предела, а также с расчетом удлинения пути фильтрации фильтрата, соответствующего коэффициенту фильтрации не менее 1×10-7 м/с. Минимальная мощность геологического барьера должна быть не менее 1 м, если это условие не выполняется, то необходима укладка однородного глинистого экрана толщиной не менее 0,5 м, с коэффициентом фильтрации Кf £ 1×10-7 м/с.

Наличие геологического барьера является необходимым условием при выборе места строительства полигона. Если это условие невыполнимо, то необходимо использование дополнительных инженерных мероприятий.

В случае необходимости, возможно применение технологической мелиорации грунтов основания полигона, решение о которой принимается по результатам инженерных изысканий, после чего разрабатывается соответствующий раздел проекта.

9.1.4. Защитные экраны полигона или равноценные системы должны быть запроектированы в соответствии с пунктами 9.2. и 9.3.

9.1.5. Деформации основания полигона, обусловленные нагрузкой от полигона и влиянием изменения режима подземных вод, не должны влиять на функциональную пригодность защитных экранов. Осадки и деформации основания полигона необходимо рассчитывать на стадии проектирования и контролировать наблюдениями во время эксплуатации за установленными глубинными реперами либо по специальным датчикам перемещений, заложенным в процессе подготовки основания полигона, согласно СНиП 3.02.01.

9.1.6. Дренажная система, обеспечивающая сбор и удаление фильтрата, должна быть запроектирована таким образом, чтобы обеспечить возможность ее контроля и промывки во время эксплуатации.

9.1.7. Для устройства защитных экранов допускается применять материалы, допущенные для использования в этих конструкциях и имеющие соответствующие сертификаты. Основные требования к материалам приведены в п. 9.4.

9.1.8. На строительство защитных экранов полигона назначается один ответственный подрядчик.

На время строительства разрабатываются специальные мероприятия, обеспечивающие защиту конструктивных элементов и экрана в целом от механических повреждений и атмосферных воздействий (в т.ч. града, наледей, ветра) путем отсыпки защитного слоя грунта. Эти мероприятия, заключающиеся в установке ограждений и специальных настилов по путям перемещения техники и персонала, применяются в случае необходимости.

9.1.9. Перед строительством защитных экранов полигона проектировщиком разрабатывается проект контроля качества, определяющий параметры качества материалов и исполнения конструктивных элементов экранов; данный проект подлежит утверждению заказчиком. Контролю подлежит материал минерального и дренажного слоев; прочность и стойкость к агрессивным воздействиям дренажных труб; качества синтетического материала (прочность на разрыв и продавливание), а также качество сварки отдельных полотен синтетических материалов (так называемых геосинтетиков).

9.2. Защитные экраны основания полигона.

На проектной отметке основания карты размещения отходов и по откосам бортов котлована (выемки) устраивается защитный экран основания полигона.

Конструкция экрана определяется в зависимости от класса полигона на основе технико-экономического сравнения альтернативных вариантов.

9.2.1. Защитный экран основания полигона 1-го класса.

Защитный экран основания полигона 1-го класса должен состоять из конструктивных элементов, установленных опытом эксплуатации полигонов ТБО данного класса и представленных на рис. 9.1, или равноценной изоляционной системы.

Минимальный изоляционный слой устраивается из природных глин или равноценных минеральных материалов, укладываемых с уплотнением в два слоя, обеспечивающих коэффициент фильтрации Кf £ 5 10-7 м/сек при градиенте напора i = 30.

Коэффициент фильтрации определяется на основе лабораторных испытаний проб, взятых непосредственно из конструкции защитного экрана.

Для дренажного слоя применяются гравий и щебень изверженных пород фракций 16 - 32 мм, обеспечивающих коэффициент фильтрации Kf ³ 1×10-3 м/сек.

Дренажные трубы должны обладать достаточной прочностью и быть изготовлены из материалов, устойчивых к агрессивному воздействию фильтрата.

Рис. 9.1. Конструкция защитного экрана основания полигона 1-го класса

1 - свалочный грунт, 2 - дренажный слой, 3 - дренажная труба, 4 - минеральный изоляционный слой, 5 - геологический барьер, 6 - планировочная отметка основания карты

9.2.2. Защитный экран основания полигона 2-го класса.

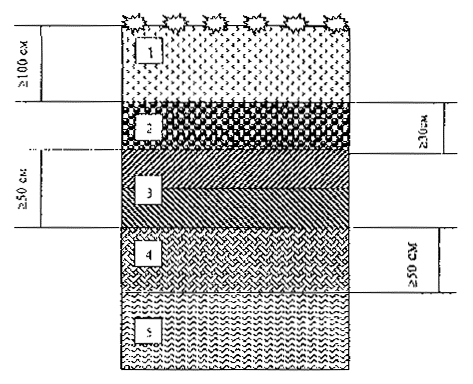
Защитный экран основания полигона 2-го класса должен состоять из конструктивных элементов (по данным эксплуатации полигонов этого класса), представленных на рис. 9.2, или равноценной системы.

Рис. 9.2. Конструкция защитного экрана основания полигона 2-го класса

1 - свалочный грунт, 2 - дренажный слой, 3 - дренажная труба. 4 - защитный слой, 5 - синтетическая гидроизоляция, 6 - минеральный изоляционный слой, 7 -геологический барьер, 8 - планировочная отметка основания карты полигона

Толщина минерального изоляционного слоя должна быть не менее 0,75 м и состоять минимум из трех слоев глины, уложенных с уплотнением. Коэффициент фильтрации Kf £ 5×10-7 м при градиенте напора i = 30 по данным лабораторных испытаний проб грунтов, взятых непосредственно из конструкции экрана.

Синтетическая гидроизоляция должна быть выполнена из рулонных гидроизоляционных материалов толщиной не менее 2,0 мм. Синтетическая гидроизоляция должна быть изготовлена из полимеров, устойчивых к химической и биологической агрессии. Синтетическая гидроизоляция должна обладать достаточной прочностью на растяжения, деформируемостью и долговечностью, а также устойчивостью относительно воздействия грызунов.

Для защиты синтетической гидроизоляции на ее поверхности располагается слой мелкого песка с частицами не крупнее 0,5 мм, толщиной не менее 0,15 м, иные защитные материалы с аналогичными параметрами - геотекстили с поверхностной плотностью не менее 700 г/м2.

9.3. Защитный экран поверхности полигона

9.3.1. Защитные экраны поверхности полигона устраиваются для минимизации количества фильтрата, сбора и откола поверхностной (чистой) воды, сбора и утилизации свалочного газа.

Технологический экран поверхности полигона устраивается из минеральных и других материалов на отдельных этапах эксплуатации полигона.

Защитный (постоянный) экран поверхности полигона устраивается после вывода полигона из эксплуатации на этапе рекультивации.

Принципиальная схема конструкции защитного экрана поверхности полигона 1 класса представлена на рис. 9.3; для полигона 2-го класса - на рис. 9.4.

Рис. 9.3. Принципиальная схема конструкции защитного экрана поверхности полигона 1-го класса

1 - рекультивационный слой, 2 - дренажный слой, 3 - минеральный гидроизоляционный слой, 4 - выравнивающий слой, дренаж для биогаза; 5 - свалочный грунт

9.3.2. Отдельные элементы защитного экрана поверхности полигона должны отвечать следующим требованиям:

а) для минеральной гидроизоляции в качестве основания укладывается уплотненный выравнивающий слой из однородного, несвязанного материала. Толщина выравнивающего слоя должна быть не меньше 0,5 метра. При образовании большого количества свалочного газа, который необходимо собрать и отвести, по выравнивающему слою должен быть предусмотрен слой, выполняющий специальную функцию дренажа для образующегося биогаза. Минимальная толщина этого дренажного слоя из природных минеральных материалов составляет не менее 30 см, материал газового дренажа должен содержать не более 10 % по массе карбоната кальция.

б) для полигонов 1-го класса минеральный слой выполняет функцию гидроизоляции. Толщина минерального гидроизоляционного слоя должна быть не менее 0,5 м и состоять минимум из двух слоев уплотненной глины. Коэффициент фильтрации, установленный на основании лабораторных испытаний образцов, взятых непосредственно на строительной площадке, должен быть не более Kf £ 5×10-6 м. При соответствующем технико-экономическом обосновании также возможно применение альтернативных материалов.

Рис. 9.4. Принципиальная схема конструкции защитного экрана поверхности полигона 2-го класса

1 - рекультивационный слой, 2 - дренажный слой, 3 - защитный слой (из песка мелкого 15 см, из геотекстиля - не менее 2 см), 4 - синтетическая гидроизоляция, 5 - минеральный гидроизоляционный слой, 6 - выравнивающий слой, дренаж для биогаза; 7 - свалочный грунт

в) Для полигонов 2-го класса изоляция защитного экрана поверхности полигона должна быть комбинированной и состоять из минеральной и синтетической гидро- и газоизоляции (рис. 9.4). При технико-экономическом обосновании допускается применение альтернативных материалов.

Коэффициент фильтрации минеральной гидроизоляции должен быть не более Кf < 5×10-6 м/с при градиенте напора i = 30, установленного по данным лабораторных испытаний.

Толщина синтетической гидроизоляции должна быть не менее 2,0 мм, а сама синтетическая изоляция должна быть устойчивой к химической и биологической агрессии и к повреждению грызунами.

г) После стабилизации осадок поверхности полигона защитный экран должен иметь уклон не менее 5 %.

д) На дренажный слой распространяются требования п. 9.2.1.

е) Рекультивационный слой, толщиной не менее 1 м, должен иметь на поверхности слой растительного грунта не менее 10 см для посева трав и кустарников. Толщина рекультивационного слоя зависит от района строительства и должна быть уточнена из условия глубины промерзания, т. к. рекультивационный слой должен обеспечивать морозозащитную функцию для гидроизоляционной системы (особенно минеральный слой) защитного экрана поверхности полигона.

ж) Семена трав и тип растений выбираются согласно местным климатическим условиям таким образом, чтобы обеспечить защиту склонов полигона от водной и ветровой эрозии и минимизировать количество осадочных вод, поступающих в дренажную систему.

9.4. Требования к материалам и производству работ и контроль качества сооружения экрана

9.4.1. Минеральный гидроизоляционный слой

Минеральный гидроизоляционный слой не допускается укладывать при погодных условиях, которые могут оказать негативное влияние на качество изоляции, (влажность, степень уплотнения грунта, коэффициент фильтрации).

С наступлением зимнего периода готовые площади гидроизоляции необходимо защищать от воздействия отрицательных температур с применением морозозащитных покрытий.

Минеральный фунт, применяемый для гидроизоляции, должен быть однородным. Если при естественном перемешивании или размельчении необходимой однородности не достигается, следует применять принудительное перемешивание.

Толщина уложенного слоя не должна превышать проектную более, чем на 10 % и определяется на основе натурных измерений. Мощность одного слоя при укладке глинистых грунтов не должна быть более 0,25 м.

Качество связи между минеральными слоями контролируется. Для этого и для контроля качества укладки минеральной гидроизоляции отрываются шурфы.

Пробы грунта для определения плотности, влажности и коэффициента фильтрации отбираются из нижней трети каждого слоя на каждые 1000 м2 как минимум в трех местах.

Для контроля плотности допускается применение радиометрического зонда.

Шурфы и места отбора проб, оставшиеся после проведения испытаний, должны быть закрыты с соблюдением всех требований СНиП 11-02.

При укладке минеральной гидроизоляции на откосах более 1 : 2,5 минеральные слои укладываются горизонтально. Мощность минерального слоя должна быть не менее 1,70 м. Недостаточно уплотненную кромку минерального слоя следует срезать перед укладкой синтетической гидроизоляции или дренажного слоя.

9.4.2. Синтетическая изоляция

Синтетическая изоляция должна быть изготовлена из полимерных материалов, устойчивых к агрессивным воздействиям биогаза и фильтрата, обладать достаточной прочностью. Срок службы синтетической гидроизоляции определен не менее в 50 лет.

Расчеты деформаций и напряжений синтетической гидроизоляции выполняются для заключительной стадии строительства.

Транспортировка и укладка гидроизоляции должна проводиться таким образом, чтобы исключить повреждения вследствие механических или температурных и иных воздействий.

Каждая партия материала сопровождается документацией, предоставленной поставщиком и регламентирующей вид транспортировки и хранения. Для обеспечения защиты от неблагоприятных погодных условий хранение на открытом воздухе ограничивается тремя месяцами.

Укладка гидроизоляции производится по заранее разработанному проекту, входящему в ПОС. Укладка гидроизоляции и устройство минеральной гидроизоляции должны быть согласованы друг с другом.

Сварочные работы должны проводиться только квалифицированными рабочими.

Сварочные работы могут проводиться при температуре не ниже + 5 °С. Материал при сварке должен быть сухим.

Поверхность материала в зоне сварочных швов должна быть чистой. Для проверки качества сварки двойного шва должен быть предусмотрен проверочный канал.

При сварке швов необходимо контролировать:

- соблюдение условий работы, например: давление, скорость подачи, температуру, погодные условия;

- постоянные испытания на герметичность стыковых швов без их разрушения;

- однородность и ширину сварочных швов,

- выборочно из сварочного шва отбираются образцы для испытаний и проверяются на прочность и плотность.

Требования к дренажным материалам изложены в п. 9.2 и 9.4

9.4.3. Геотехнический контроль

Геотехнический контроль (ГТК) осуществляется с целью обеспечения качественной реализации проектных решений по производству земляных работ и созданию защитных экранов основания и поверхности полигона.

Основными задачами ГТК являются:

- проверка соответствия проекту характеристик грунтов и технологии производства земляных работ, а также характеристик негрунтовых материалов и технологии их укладки в защитные экраны полигона;

- обоснование при необходимости корректировки проектных решений в ходе создания полигона ТБО на основании результатов производственного контроля или опытно-производственных исследований, выполняемых на картах полигона;

- проверка проектных краткосрочных прогнозов изменения со временем характеристик грунтов и материалов защитных экранов;

- накопление банка геотехнической информации по полигону ТБО.

Геотехническому контролю подлежат:

- инженерная подготовка территории размещения полигона (планировка местности, замена грунтов основания, устройство дренажных систем и т.д.);

- укладка грунтов в дамбы обвалования и пригрузочные призмы;

- техническая мелиорация грунтов основания;

- устройство защитных экранов из грунтовых и негрунтовых материалов;

- технология укладки ТБО в тело полигона.

Геотехнический контроль подразделяется на:

- входной (контроль качества вскрытых грунтов основания, грунтов, поступающих из карьеров, используемых негрунтовых материалов, в том числе для использования в защитных экранах);

- операционный систематический и периодический (режимный, выполняемый в процессе работ по возведению полигона (технологический и грунтовый);

- приемочный, выполняемый по завершению каждого этапа работ и приемки их по актам.

Методы геотехнического контроля подразделяются на визуальные и инструментальные, в том числе с применением контрольно-измерительной аппаратуры неразрушающих и дистанционных способов измерений.

Геотехнический контроль организует генеральная подрядная организация, создающая на объекте специальную геотехническую службу (лаборатория, посты), которая осуществляет свою деятельность во взаимодействии с группами рабочего проектирования, авторского надзора, а также с изыскательской организацией, проводящей геоэкологический мониторинг территории размещения полигона.

Служба геотехнического контроля руководствуется в своей работе специальной инструкцией, разрабатываемой проектной организацией, согласованной и утвержденной дирекцией полигона.

ПРИЛОЖЕНИЯ

Приложение А
(обязательное)

ТЕРМИНЫ И ОПРЕДЕЛЕНИЯ

Отходы*

Остатки продуктов или дополнительный продукт, образующиеся в процессе или по завершении определенной деятельности и не используемые в непосредственной связи с этой деятельностью

Геотехнический контроль

Контроль соответствия проекту характеристик грунтов, технологии производства земляных работ, а также характеристик негрунтовых материалов и технологии их укладки в защитные экраны основания и поверхности полигонов ТБО

Захоронение отходов*

Размещение отходов в назначенном месте для хранения в течение неограниченного срока, исключающее опасное воздействие захороненных отходов на незащищенных и окружающую природную среду

Карты дли захоронения отходов

Специально оборудованные на полигоне участки складирования отходов, на которых отходы хранятся неограниченное время

Классификатор отходов*

Информационно справочный документ прикладного характера, в котором для удобства восприятия и хранения данные распределены и закодированы по определенным признакам в виде таблиц, графиков, описаний в соответствии с результатами классификации отходов

Лимит на размещение отходов*

Предельное количество отходов конкретного вида, разрешенное уполномоченными органами для размещения определенным способом в определенном месте (территория, емкость и т.п.) на установленный срок физическому и/или юридическому лицу

Места обработки отходов

Участки территории полигона, на которых находятся установки для обработки отходов

Место поступления отходов на полигон

Участок территории полигона, куда поступают отходы, регистрируются и контролируются по весу или по объему

Обезвреживание отходов*

Обработка отходов, имеющая целью исключение их опасности или снижения ее уровня до допустимого значения

Округ санитарной охраны

Территория, примыкающая к курортным и лечебно-оздоровительным зонам, в пределах которой устанавливается особый режим использования и охраны компонентов природной среды, определяющих лечебные свойства указанных зон, с целью их защиты от порчи, загрязнения и преждевременного истощения

Отходы опасные*

Отходы, существование которых и (или) обращение с которыми представляет опасность для жизни, здоровья человека и окружающей природной среды

Отходы медицинские**

Материалы, вещества, изделия, утратившие частично или полностью свои первоначальные потребительские свойства в ходе осуществления медицинских манипуляций, проводимых над людьми или животными в медицинских или ветеринарных учреждениях

Отходы производства*

Остатки сырья, материалов, веществ, изделий, предметов, образовавшихся в процессе производства продукции, выполнения работ (услуг) и утратившие полностью или частично исходные потребительские свойства

Примечание: К отходам производства относят образующиеся в процессе производства попутные вещества, не находящие применения в данном производстве: вскрышные породы, образующиеся при добыче полезных ископаемых, отходы сельского хозяйства, твердые вещества, улавливаемые при очистке отходящих технологических газов и сточных вод, и т.п.

Паспорт отходов технический*

Информационно-нормативный машинно-ориентированный документ, в котором представлены основные характеристики конкретных отходов, определяющие современную инфраструктуру работ, безопасность и ресурсосбережение при обращении с ними

Примечание: Технический паспорт отходов содержит следующие сведения:

- происхождение и агрегатное состояние отходов;

- физико-химические, в том числе опасные свойства отходов для здоровья людей и окружающей среды, улучшение показателей ресурсосбережения при утилизации отхода как товарного продукта, другие аналитические данные, полученные из справочных, экспериментальных и других источников;

- нормативно методическое обеспечение обращения с отходами;

- направления ликвидации отходов с учетом опасной и ресурсной составляющих

Перевозчик отходов*

Любое юридическое лицо, индивидуальный предприниматель, осуществляющие транспортирование опасных или других отходов

Полигоны ТБО

Комплексы природоохранных сооружений, предназначенные для централизованного сбора, обезвреживания и захоронения ТБО, предотвращающие попадание вредных веществ в окружающую среду, загрязнения атмосферы, почвы, поверхностных и грунтовых вод, препятствующие распространению грызунов, насекомых и болезнетворных организмов

Полигон ТБО класса I

Полигон, на котором можно хранить отходы, содержащие очень незначительные органические примеси (25 %), при разложении которых образуется незначительное количество вредных веществ, не превышающее допустимые ПДК

Полигон ТБО класса II

Полигон, на котором можно складировать отходы с высоким содержанием органики, а также отходы, при разложении которых образуется большое количество вредных веществ. В этом случае к защитным экранам полигона предъявляются повышенные требования

Природно-заповедный фонд

Изъятые навсегда из хозяйственного использования и не подлежащие изъятию ни для каких иных целей, особо охраняемые законом природные комплексы (земля, недра, воды, растительный и животный мир), имеющие природоохранное, научное, эколого-просветительское значение как эталоны естественной природной среды

Производитель отходов*

Любое юридическое лицо, индивидуальный предприниматель, которые производят отходы, или, если эти лица неизвестны, лицо, которое владеет данными отходами или на чьей территории они расположены

Рабочие участки

Участки на территории полигонов или установок по переработке отходов, на которых можно открыто манипулировать с отходами. Рабочие участки могут находиться на территории приемного участка, участка для хранения и обработки отходов

Размещение отходов*

Деятельность, связанная с завершением комплекса операций по осуществлению хранения и/или захоронения отходов

Санитарно-защитная зона

Территория между границами объекта загрязнения (полигона ТБО) и селитебной застройки с учетом перспективы их расширения

Сортировка отходов*

Разделение и/или смешение отходов согласно определенным критериям на качественно различающиеся составляющие

Сортировочная установка

Установка, в которой смешанные отходы разделяются на фракции для последующей переработки вторичного сырья

Старые полигоны или установки по переработке отходов

Полигоны или установки по переработке отходов, эксплуатация которых не завершена, или строительство и эксплуатация которых на момент вступления в силу этого ТСН были официально утверждены

Строительные отходы

Минеральные вещества, образующиеся в результате строительной деятельности

Типологическое зонирование

Территориальное обобщение каких-либо групп сходных явлений или объектов по определенным общим свойствам и пространственное отчленение их от других подобных групп

Транспортирование отходов*

Деятельность, связанная с перемещением отходов между местами или объектами их образования, накопления, хранения, утилизации, захоронения и/или уничтожения

Удаление опасных или других отходов*

Сбор, сортировка, транспортирование и переработка опасных или других отходов с уничтожением и/или захоронением их способом специального хранения

Установки для обработки отходов

Установки, в которых обрабатываются с использованием химико-физических, биологических, термических или механических способов, а также комбинацией их

Установки для производства компоста

Установки, в которых природные органические отходы превращаются в используемый компост

Хранение отходов*

Режим (вид) существования отходов, заключающийся в их нахождении в определенном месте, в определенных заданных или последующих условиях, в течение определенного интервала времени с целью последующей обработки, транспортирования, использования или захоронения

Примечание: При хранении отходов необходимо выполнять требуемые условия безопасности для персонала, осуществляющего операции, сопутствующие хранению, и окружающей природной среды

Примечание: * - термины приведены в соответствии с ГОСТ 30772;

** - термины приведены в соответствии с Классификац. Каталогом ТБО № 169 от 27.12.02, утвержд. Госстроем.

Приложение Б
(обязательное)

КЛАССИФИКАЦИОННЫЙ КАТАЛОГ ОТХОДОВ ПОТРЕБЛЕНИЯ (ТВЕРДЫХ БЫТОВЫХ ОТХОДОВ), НАХОДЯЩИХСЯ В ТЕХНОЛОГИЧЕСКОМ ЦИКЛЕ ОБЪЕКТОВ ИНЖЕНЕРНОЙ ИНФРАСТРУКТУРЫ ГОРОДСКИХ И СЕЛЬСКИХ ПОСЕЛЕНИЙ
(утвержден Госстроем 27.12.02, постановление № 169)

код

наименование

10 000 00 0

ОТХОДЫ СЛОЖНОГО, КОМБИНИРОВАННОГО СОСТАВА В ВИДЕ СМЕСЕЙ

10 001 00 4

Отходы жилищного фонда

10 001 10 4

Отходы многоквартирного жилищного фонда

10 001 20 4

Отходы индивидуального (односемейного) жилищного фонда

10 001 30 4

Отходы садово-дачных объектов

10 002 00 4

Отходы предприятий оптово-розничной торговли промышленными товарами

10 003 00 4

Отходы предприятий оптово-розничной торговли продовольственными товарами

10 004 00 4

Отходы предприятий общественного питания

10 005 00 4

Отходы медицинских учреждений

10 006 00 4

Отходы дошкольных и учебных учреждений, учреждений культуры и отдыха

10 007 00 4

Отходы предприятий бытового обслуживания

10 008 00 4

Отходы транспортной сферы

10 008 10 4

отходы автозаправочных станций

10 008 20 4

отходы станций технического обслуживания и автопредприятий

10 008 30 4

отходы транспортных пассажирских узлов

10 009 00 4

Отходы административных зданий, учреждений, контор и бытовых помещений

10 010 00 4

Отходы уборки территорий

10 010 10 4

отходы уборки территорий в зимний период

10 010 20 4

отходы уборки территорий в летний период

10 011 00 4

Смеси твердых отходов потребления прочих объектов и предприятий

20 000 00 0

ОТХОДЫ СЛОЖНОГО, КОМБИНИРОВАННОГО СОСТАВА В ВИДЕ ИЗДЕЛИЙ, УТРАТИВШИХ СВОИ ПОТРЕБИТЕЛЬСКИЕ СВОЙСТВА

20 001 00 3

Лампы электрические и электронные (исключая ртутные)

20 002 00 4

Автопокрышки

20 002 10 4

автопокрышки грузовые (посадочный диаметр 20’’ и более)

20 002 20 4

автопокрышки легковые (посадочный диаметр 20’’)

20 003 00 4

Изделия из древесины крупногабаритные

20 003 10 4

изделия из древесины крупногабаритные строительные

20 003 20 4

изделия из древесины крупногабаритные мебельные

20 004 00 4

Изделия бытовой техники крупногабаритные

20 005 00 4

Транспортные средства и крупногабаритные детали от них

20 005 10 4

грузовые транспортные средства и их крупногабаритные детали

20 005 20 4

легковые транспортные средства и их крупногабаритные детали

20 006 00 4

Станки, оборудование и их крупногабаритные узлы

20 007 00 4

Остатки железобетонных конструкций

20 008 00 3

Элементы электропитания и аккумуляторы (крупные)

20 008 10 3

Элементы электропитания и аккумуляторы щелочные

20 008 20 3

Элементы электропитания и аккумуляторы кислотные

20 008 30 3

Элементы электропитания и аккумуляторы прочие

20 009 00 4

Кабели изолированные (длиной более 0,5 м)

20 010 00 4

Лом асфальтовый

20 011 00 4

Упаковка крупногабаритная смешанного состава

20 012 00 0

Прочие изделия, утратившие свои потребительские свойства

30 000 00 0

КОМПОНЕНТЫ СМЕСЕЙ ИЗДЕЛИЙ

30 001 00 4

Отходы черных металлов и их сплавов (металлолом)

30 001 10 4

отходы черного металла - толщиной до 1 мм

30 001 20 4

отходы черного металла - толщиной от 1 до 6 мм

30 001 30 4

отходы стали нержавеющей

30 001 40 4

отходы чугуна

30 001 50 4

Отходы цветных металлов и их сплавов

30 002 00 4

отходы алюминия коммунальные

30 002 10 4

алюминиевые банки

30 002 20 4

отходы меди и ее сплавов

30 002 30 4

отходы прочие

30 002 40 4

Отходы радио- и электрических изделий

30 003 00 4

Отходы элементов электропитания (мелкие)

30 004 00 3

никель-кадмиевые аккумуляторы

30 004 10 3

алкалиновые элементы

30 004 20 3

Отходы минеральные

30 005 00 4

отходы керамические

30 005 10 4

отходы строительных смесей

30 005 20 4

отходы минеральные прочие

30 005 30 4

Отходы стекла

30 006 00 4

отходы стекла бесцветного

30 006 11 4

отходы стекла коричневого

30 006 12 4

Отходы стекла зеленого

30 006 13 4

отходы стекла цветного (смешанного)

30 006 20 4

Отходы резины (кроме автопокрышек)

30 007 00 4

резинотканевые отходы

30 007 10 4

резинометаллические отходы

30 007 20 4

прочие резиновые изделия

30 007 30 4

Отходы полимеров

30 008 00 4

ПЭТФ чистый

30 008 11 4

ПЭТФ зеленый

30 008 12 4

ПЭТФ коричневый

30 008 20 4

ПВХ

30 008 30 4

капрон

30 008 40 4

полистирол

30 008 50 4

поликарбонад

30 008 60 4

ПЭВД

30 008 70 4

полипропилен

30 008 80 4

полимеры неопределенного состава и смешанные

30 009 00 4

Отходы бумаги (макулатура)

30 009 10 4

отходы бумаги газетной

30 009 20 4

отходы бумаги книжной

30 009 30 4

отходы бумаги офисной

30 009 40 4

отходы картона, гофра

30 009 50 4

отходы бумаги прочие

30 010 00 4

Отходы текстиля

30 010 10 4

текстиль из синтетических волокон

30 010 20 4

текстиль из натуральных волокон

30 010 30 4

текстиль из смешанных волокон

30 011 00 4

Отходы от изделий из кожи

30 012 00 4

Отходы пищевые

30 012 10 4

отходы пищевые без заводской упаковки

30 012 20 4

отходы пищевые в стеклянной упаковке

30 012 30 4

отходы пищевые в металлической упаковке

30 012 40 4

отходы пищевые в упаковке из полимерных материалов

30 012 50 4

отходы пищевые в упаковке из материалов с бумажной основой

30 013 00 3

Отходы биологические

30 013 10 4

отходы содержания животных (птицы, рыбы и пр.)

30 013 20 4

отходы убоя и падшие животные (птица, рыба и пр.)

30 014 00 2

Отходы медицинские

30 014 10 2

лекарственные средства с истекшим сроком годности и неидентифицируемые

30 014 20 2

перевязочные материалы

30 014 30 2

инструменты медицинские

30 014 40 2

отходы медицинские прочие

30 015 00 4

Отходы древесины и садово-паркового хозяйства

30 015 10 4

отходы лиственно-травянистые

30 015 20 4

отходы древесные

30 015 30 4

дом изделий из древесины

30 016 00 4

Отходы мусорообразующие

30 016 10 4

отходы упаковочные мелкогабаритные

30 016 20 4

отходы употребления табачной продукции

30 016 30 4

отходы жевательной резины

30 015 40 4

отходы употребления алкогольной и слабоалкогольной продукции

30 017 00 4

Отсев

40 000 00 0

Отходы прочие опасные

40 001 00 1

Отходы прочие 1-го класса опасности

40 002 00 2

Отходы прочие 2-го класса опасности

40 003 00 3

Отходы прочие 3-го класса опасности

Приложение В
(обязательное)

ОЦЕНКА ВОЗДЕЙСТВИЯ НА ОКРУЖАЮЩУЮ СРЕДУ

Общие положения

«Оценка воздействия на окружающую среду» является одним из основных разделов материалов обоснования инвестиций и предназначена для выявления характера, интенсивности, степени опасности влияния планируемого вида хозяйственной деятельности (строительство полигона ТБО) на состояние окружающей среды и здоровье населения.

В соответствии с действующей практикой и распорядительными документами Правительства Московской области проведение процедуры ОВОС обязательно при разработке обоснования инвестиций в строительство полигонов ТБО.

Оценка воздействия на окружающую среду (ОВОС) выполняется в соответствии с требованиями природоохранного законодательства, нормативных документов, утвержденных Госстроем России, Министерством природных ресурсов России и ее территориальным органом для Московской области, а также нормативных актов местной администрации, регулирующих природоохранную деятельность в пределах района предполагаемого размещения объекта (полигона ТБО).

Раздел ОВОС разрабатывается заказчиком с привлечением проектно-изыскательских организаций, получивших в установленном законом порядке лицензии на право разработки природоохранной документации.

Основные функции заказчика:

- организация проведения опроса мнения населения по вопросу размещения полигона;

- подготовка документации для разработки ОВОС;

- подготовка исходных данных при проведении ОВОС и ответственность за их достоверность;

- своевременное согласование исходно-разрешительной документации с органами надзора и контроля;

- представление материалов ОВОС на Государственную экологическую экспертизу.

Основные функции разработчика:

- подготовка заявительных документов в рамках ОВОС;

- определение предполагаемого воздействия на окружающую среду;

- анализ альтернативных участков размещения полигона;

- определение необходимых направлений изысканий и исследований;

- реализация инженерных изысканий;

- ответственность за полноту, качество оценки и достоверность используемых при разработке ОВОС данных и материалов;

- участие в рассмотрении материалов ОВОС органами надзора и контроля.

Содержание ОВОС

- Оценка существующего состояния окружающей среды.

- Оценка воздействия проектируемого полигона ТБО на окружающую среду.

Представление материалов ОВОС на Государственную экологическую экспертизу

- Раздел ОВОС в составе материалов обоснования инвестиций подлежит Государственной экологической экспертизе, проводимой Государственным комитетом по охране окружающей среды Московской области, которая является обязательным актом по охране окружающей среды по установленной им процедуре и регламентирующим документам.

- Результаты рассмотрения материалов обоснования инвестиций оформляются в виде Заключения Государственной экологической экспертизы.

- Ответственность за выполнение требований Заключения Государственной экологической экспертизы возлагается на заказчика (инвестора).

Приложение Г
(обязательное)

ОСОБО ОХРАНЯЕМЫЕ ПРИРОДНЫЕ ТЕРРИТОРИИ (ООПТ)

Особо охраняемые природные территории федерального значения, расположенные на территории Московской области:

1. Приокско-террасный государственный биосферный заповедник (Серпуховской район) площадью 4945 га.

2. Национальный парк «Лосиный остров» (Балашихинский, Пушкинский, Мытищинский районы, г. Москва) общей площадью 11000 га, из них в Московской области около 7800 га.

3. Госкомплекс «Завидово» со статусом национального парка (Клинский, Волоколамский, Лотошинский районы, Тверская область) общей площадью 125400 га, из них в Московской области 56700 га.

ООПТ регионального значения, расположенные на территории Московской области: государственные природные заказники - 155 объектов, памятники природы - 73 объекта. В таблице приведены данные по количеству и площадям ООПТ по районам.

Особо охраняемые природные территории Московской области

Таблица 1

Районы

Государственные природные заказники

Памятники природы

Площадь, га

Балашихинский

-

3

228,8

Волоколамский

6

2

6504

Воскресенский

2

1

2863

Дмитровский

12

1

6526,5

Домодедовский

ООПТ нет

Егорьевский

11

1

16436

Зарайский

2

-

230

Истринский

6

2

3793

Каширский

ООПТ нет

Клинский

1

-

2170

Красногорский

-

4

190,06

Ленинский

-

2

83,01

Лотошинский

3

4

1783,8

Луховицкий

2

4

4078

Люберецкий

ООПТ нет

Можайский

10

6

12967

Мытищинский

-

1

22

Наро-Фоминский

8

1

2674

Ногинский

2

2

1936

Одинцовский

2

6

4459

Озерский

3

1

715

Орехово-Зуевский

7

2

3756

Павлово-Посадский

3

1

2234

Подольский

7

-

1691

Пушкинский

-

1

91

Раменский

-

6

408,5

Рузский

6

3

14243

Сергиево-Посадский

11

-

11282

Серебряно-Прудский

12

-

2720

Серпуховский

2

7

1219,75

Солнечногорский

4

2

1725

Ступинский

-

2

20

Талдомский

4

2

12447

Химкинский

ООПТ нет

Чеховский

1

2

370

Шатурский

17

1

39884,8

Шаховской

5

2

3031

Щелковский

4

1

915

Приложение Д
(рекомендуемое)

СБОР И ОБРАБОТКА ФИЛЬТРАТА И ПОВЕРХНОСТНЫХ ВОД

1. Для обеспечения требования по охране окружающей среды на полигоне должна быть предусмотрена раздельная система сбора фильтрата и поверхностных вод.

2. Отвод внутренних, дождевых и талых вод, собранных на территории полигона, следует предусматривать в контрольно-регулирующие пруды, состоящие из двух секций. Вместимость каждой секции пруда следует рассчитывать на объем максимального суточного дождя повторяемостью раз в 10 лет. Осветленные воды после контроля следует направлять: чистые - на производственные нужды, при отсутствии потребителя - в сбросной канал; загрязненные - в пруд-испаритель, либо на общерайонные или специальные сооружения по очистке сточных вод.

3. Пруды-испарители, контрольно-регулирующие пруды и регулирующие водоемы должны иметь противофильтрационные экраны или завесы в соответствии с классом опасности стоков.

4. При проектировании полигона следует предусматривать мероприятия, направленные на уменьшение количества фильтрата: временные противофильтрационные завесы, дамбы, а также предусматривать такие схемы складирования ТБО, при которых обеспечивается минимальное поступление воды с незаполненной площади карт к ТБО.

5 Количество образующегося фильтрата зависит от количества атмосферных осадков; условий испарения их с поверхности; влажности ТБО; притока воды с окружающей территории.

Потенциальное количество фильтрата может быть определено из уравнения водного баланса полигона.

6. Для сбора и отвода фильтрата с площадок складирования отходов проектируется дренажная система, состоящая из пластового дренажа и дренажных труб.

7. Материалы, применяемые для устройства пластового дренажа и дренажных труб, должны быть химически и биологически устойчивы и подбираются таким образом, чтобы химико-физические свойства фильтрата и механические воздействия от ТБО не привели бы к отказам в работе системы.

8. Для водоотводящего слоя должны применяться промытые материалы. Предпочтение отдается материалам с частицами круглой формы. Содержание карбоната кальция в водоотводящем слое не должно превышать 20 % от общего веса.

Размеры частиц материала, применяемого для водоотводящего слоя, должны находиться в пределах 16/32 мм. Если гранулометрический состав не соответствует данному требованию, то грунт необходимо подбирать по количеству пор, характерному для грунта 16/32, например, при размере частиц 8/16 мм.

9. Для отведения фильтрата используются трубы, 2/3 которых перфорированы или прорезаны. Наименьший диаметр дренажных труб должен быть 300 мм. Трубы должны быть уложены таким образом на поверхности синтетической гидроизоляции, чтобы фильтрат отводился со всей поверхности полигона. Прочность труб на сжатие должна быть определена расчетом.

10. Устройство в теле полигона водоотводящих колодцев (шахт) избегается. Если устройство их необходимо, то они должны быть рассчитаны по несущей способности и устойчивости. Осадки водоотводящих шахт не должны отличаться от осадок защитного экрана основания полигона.

11. Расчет дренажной системы (уклоны и частота расположения дренажных труб) проводится на основании проекта дренажной системы полигона, исходя из геологической, гидрогеологической, гидрологической обстановки.

12. Собираемый и отводимый с полигона фильтрат собирается в контрольные пруды и затем подвергается очистке.

13. Метод или способ очистки и обезвреживания фильтрата определяется на основе предварительного анализа его свойств по следующим параметрам: расходу фильтрата, кислотности рН, электропроводности, ХПК, БПК5, концентрации аммиака, нитритов, нитратов, фенола, хлоридов, сульфатов, цианидов, в том числе легко высвобождающихся, содержанию общего азота, фосфата и хрома, концентрации тяжелых металлов, содержанию углеводородов, в том числе хлорсодержащих; наличию галогенированных органических соединений.

Возможные методы обработки фильтрата приведены в приложении Б. До стадии очистки должны быть предусмотрены: грубая сепарация, седиментация, распределение фаз.

14. Спуск в городскую водоотводящую сеть допускается только в случае, когда объем и состав фильтрата отвечает правилам приема производственных сточных вод в системы канализации населенных мест.

Приложение Е
(справочное)

Перечень методов обработки фильтрата и границы их применимости

Метод обработки фильтрата

Подходящие составы

Неподходящие составы

Производные и остаточные продукты и их утилизация

Возможные сочетания методов

Адсорбция активированного угля

Органические галонены; фенолы; ароматические углеводороды; органические растворители; пестициды; детергенты

Соли, металлы, аммоний, механические загрязнения

Груженный активированный уголь ® регенерация ® экстрактивная обработка ® термическая обработка Захоронение

До адсорбции:

флокуляция / осаждение; механическая фильтрация; реверсивный осмос; биологическая обработка: выпаривание

Во время адсорбции:

умеренная флокуляция / осаждение с помощью адсорбции

После адсорбции:

реверсивный осмос; сообработка в биологической канализационной очистной установке

Мембранный способ (реверсивный осмос)

«Свободная» от твердых веществ вода; настоящие растворы

Органические кислоты: < 10 %; органический сложный эфир / кетоны: < 0 - 5 %; алифатические спирты: < 5 - 40 %; ароматические компоненты: < 0 - 5 %; неполярные органические компоненты: < 5 - 40 %; формальдегиды: < 5 %;

Концентрат ® обработка Отработанный воздух ® обработка

До мембранного способа:

механическая фильтрация; выпаривание (дистиллят); смолы адсорберы

После мембранного способа (пермеат):

отпаривание; биологическая обработка; смолы адсорберы; обработка активированного угля

Приложение Ж
(рекомендуемое)

СБОР И УТИЛИЗАЦИЯ БИОГАЗА

1. Складирование ТБО на полигонах сопровождается выделением биогаза (свалочного газа), количество которого может достигать больших объемов на протяжении десятков лет.

Сбор биогаза и его обработка необходимы:

- для предотвращения пожаро- и взрывоопасной ситуации, которая может возникнуть на полигоне в стадии его эксплуатации или рекультивации;

- для максимально возможного уменьшения попадания его в атмосферу с целью снижения негативного влияния на окружающую среду, угнетающего развития растений вокруг полигона и на его поверхности.

2. Биогаз - это смесь, которая состоит из метана (до 55 %), углекислого газа (до 45 %) и других летучих веществ. На практике содержание метана часто ниже, так как при сборе и выходе газа происходит его разжижение в воздухе. При нормальных условиях работы содержание метана от 35 до 55 объемных процентов. Теплота сгорания такого количества метана составляет около 3,5 - 5,5 кВт×час/м3. Согласно лабораторным исследованиям потенциал свалочного газа для влажного домашнего мусора составляет от 70 до 100 м3 газа/тонну мусора.

3. Система сбора и утилизации биогаза может предусматривать активную и пассивную схемы, а также получение биогаза на эксплуатируемых и закрытых полигонах.

Наиболее полного и эффективного сбора газа можно достичь с помощью активной дегазации. Пассивную дегазацию, при которой биогаз перемешается благодаря собственному давлению, следует применять на старых полигонах и полигонах с незначительным количеством биогаза - полигонах первого класса.

4. Активную дегазацию следует начинать уже на стадии строительства полигона. Установки для дегазации должны быть готовы к эксплуатации не позднее шести месяцев после захоронения ТБО.

5. Для проектирования системы сбора, обработки и утилизации биогаза должно быть рассчитано время и количество выхода биогаза. Необходимые расчеты выполняются на основе математического моделирования и прогнозирования. Параметры моделей должны быть уточнены и конкретизированы на основании проектных данных полигона при использовании результатов полевых наблюдений, проводимых на существующих полигонах-аналогах.

6. Для оптимизации обработки биогаза целесообразно в устройстве дегазации предусматривать разделение на систему защитной дегазации, в которую собирается биогаз с повышенным содержанием воздуха, и систему дегазации полезного действия.

7. При проектировании систем газового дренажа и газосборников следует предусматривать дренажи для отвода воды, т. к. наличие воды в этих системах снижает их эффективность.

8. Конструкции газосборников должны быть надежными и функционировать при незначительных эксплуатационных затратах. Следует стремиться проектировать дренажные системы газа и воды с естественными уклонами, как более надежные и экономичные, чем системы с принудительной откачкой.

9. Системы сбора биогаза не должны наносить ущерб защитным экранам основания и поверхности полигона. Особое внимание следует уделять системам с вертикальными элементами сбора газа, которые вследствие уплотнения ТБО будут передавать дополнительные нагрузки на защитные экраны основания поверхности полигона.

10. Установки для сбора газа должны быть надежно изолированы от проникновения воздуха, так это может привести к образованию взрывоопасной смеси.

11. Материалы, из которых изготавливаются газосборники, должны быть из коррозионно стойкого материала и устойчивы к механическим, физическим, химическим и биологическим воздействиям.

Механические воздействия - это результат нагрузки собственного веса конструкции ТБО с учетом уплотнения ТБО и неравномерности осадок, обусловленной неоднородностью отходов.

Физические воздействия возникают в результате температурного режима в теле полигона, возможна температура до 70 °С.

Химические воздействия - агрессивные воздействия, как снаружи газосборника, так и вызванные химическим составом биогаза и фильтрата.

Биологические воздействия - агрессивное действие микроорганизмов, содержащихся в ТБО.

12. Не допускается использование дренажной системы сбора фильтрата для газового дренажа. Дегазация через систему сбора фильтрата приводит к изменению температурного режима, давления, химического состава, соотношения извести и угольной кислоты в фильтрате, что способствует быстрому зарастанию дренажа солями.

13. Для обеспечения сбора биогаза по системе пассивной дегазации в пластовом газовом дренаже - элемент 4 конструкции защитного экрана поверхности полигона, приведенной на рис. 9.3 - располагается система гофрированных труб диаметром 125 - 150 мм, объединенных в систему промежуточных и магистральных газопроводов, по которым биогаз собирается и за счет самотяги выбрасывается в атмосферу через дегазационную трубу высотой не менее 30 м.

Приложение И
(справочное)

ГЕОЭКОЛОГИЧЕСКИЙ МОНИТОРИНГ

1. Организация и ведение государственного экологического контроля осуществляется с целью обеспечения экологически безопасного обращения с отходами и предотвращения их отрицательного влияния на окружающую среду на основании Российского законодательства.

Московским областным комитетом охраны окружающей среды и природных ресурсов издан приказ № 77 от 19 мая 1995 года о временных правилах об отходах производства и потребления.

Для полигона ТБО разрабатывается специальный проект мониторинга, предусматривающий: контроль за состоянием подземных и поверхностных вод, почвы, растительности, уровня шума работающего мусоровозного транспорта и техники на полигоне и зоны возможного неблагоприятного влияния полигона.

2. Элементами водного баланса являются:

- стоки поверхностных вод;

- осадки;

- приток поверхностных вод;

- приток грунтовых вод;

- влагоемкость отходов;

- образование фильтрата;

- взаимодействие фильтрата со сточными водами.

При организации и ведении контроля за полигонами ТБО необходимы наблюдения за элементами водного баланса, атмосферы, почвогрунтами, растительностью, а также режимный контроль за радиационным и ртутным загрязнением.

3. Экологический мониторинг должен быть предусмотрен проектом полигона ТБО и осуществляется по специально разработанной программе. Экологический мониторинг базируется на данных инженерных изысканий, определяющих начальное состояние природно-техногенной среды на территории размещения полигона ТБО. В процессе мониторинга уточняются прогнозы изменения условий среды для принятия необходимых решений при эксплуатации полигона ТБО. Экологический мониторинг целесообразно проводить в два этапа:

1 этап - период эксплуатации полигона;

2 этап - послерекультивационный, продолжительностью 5 лет.

4. Характер и количество наблюдаемых пунктов на полигоне в зависимости от этапа различный. По полной программе за всеми компонентами окружающей среды ведутся наблюдения в течение 1 этапа, по результатам которого оценивается влияние полигона на окружающую среду. На втором этапе ряд наблюдений отпадает в связи с проведением рекультивационных работ.

5. Наблюдения за подземными водами ведутся по сети режимных скважин на различные водоносные горизонты. Скважины располагаются с той стороны периметра полигона, в сторону которой осуществляется движение потока грунтовых вод. Количество скважин устанавливается расчетом, но должно быть не менее двух. Наблюдательные скважины современного типа должны пересекать всю мощность ближайшего к основанию полигона водоносного горизонта (наблюдения за загрязнениями тяжелыми металлами не нужны, т. к. это исключается в принципе). Режимные гидрогеологические и гидромеханические наблюдения включают в себя ежеквартальные замеры.

6. Наблюдения за поверхностными водами ведутся по сети режимных пунктов, расположенных на ближайших водотоках.

7. Для наблюдения за содержанием тяжелых металлов в почвогрунтах и растительности в зоне влияния полигона закладываются геохимические профили и режимные площадки. Рекомендуется закладка одной площадки на 2 - 4 га (площадь одной площадки 50 ´ 50 м). На каждом профиле и на каждой площадке один раз в год отбирают на содержание тяжелых металлов по 5 проб почвогрунтов и одну пробу растительности.

8. Радиометрическую съемку поверхности тела полигона рекомендуется производить 1 раз в год в период эксплуатации. Работы ведутся в масштабе 1 : 2000 (75 %) и 1 : 1000 (25 %). По профилям на расстоянии 25 м друг от друга производится сплошное прослушивание через головные телефоны с помещением гильзы радиометра СРП-68-01 в полосе шириной 1 м у поверхности земли. Аномальные участки прослушиваются по сетке 10 ´ 10 м.

9. Изучение зоны загрязнения радионуклидами почвогрунтов и наземной растительности в зоне влияния полигона проводится по 1 - 3 профилям длиной до 1,0 км в масштабе 1 : 5000. На каждом профиле 1 раз в год на содержание радионуклидов отбирается в среднем по 5 проб почвогрунтов и по 4 пробы наземной растительности. Пробы донных отложений и водных растений из поверхностных водотоков и водоемов отбираются 1 раз в год в тех же пунктах, что и пробы поверхностной воды.

10. Для оценки степени загрязнения атмосферы парами ртути необходимо проводить площадное газохимическое обследование.

В процессе обследования пробы отбираются на уровне дыхательных путей человека (1,30 - 1,5 м) и из шпуров в теле полигона (с глубины 15 - 20 см). Опробование производится по сетке с шагом 200 м со сгущением до 50 м на аномальных участках. Необходимо производить опробование воздуха на границе полигона и в санитарно-защитной зоне (в соответствии с розой ветров с удалением 100, 200, 300 и 400 метров от границы полигона).

Опробования проводятся в теплый период года, один раз в квартал, в сухую погоду.

Приложение К
(справочное)

ТЕХНОЛОГИЯ СОРТИРОВКИ ДРЕВЕСНО-РАСТИТЕЛЬНЫХ ОТХОДОВ

- Площадка для приема и сортировки древесных отходов, доставленных на полигон. На площадке производится сортировка отходов по диаметру комля и длине. Из крупногабаритных древесных отходов заготавливают дрова, более мелкие обрезаются в размер, необходимый для проведения дальнейшей переработки. Площадка, предназначенная для формирования штабелей, должна быть заранее подготовлена: спланирована, уплотнена, на ней должна быть осуществлена подсыпка из измельченных древесных отходов; по площадке должны быть разведены воздуховоды, размеры и количество которых зависят от объема штабеля.

Заготовленные дрова укладываются в поленницы на специально отведенной площадке и используются в холодное время года в качестве топлива, загружаемого в печь, обеспечивающую подогрев воздуха для аэрации в холодное время года.

Заготовленные мелкогабаритные древесные отходы направляются на участок измельчения.

- Участок измельчения древесных отходов, отобранные и обрезанные в размер малогабаритные древесные отходы подаются на участок измельчения. На участке установлено устройство, осуществляющее измельчение отходов данного типа.

- Площадка промежуточного складирования измельченных древесно-растительных отходов.

- Участок приготовления компостируемой массы; сырье с площадок промежуточного складирования подается на участок приготовления компостируемой массы, где, соблюдая соотношения древесной и растительной частей, производится перемешивание отходов. Кроме того, на этой стадии технологического процесса осуществляют добавление необходимого количества минеральных удобрений в компостируемую массу.

Площадка штабелирования и созревания компостируемой массы; приготовленная в смесителе компостируемая масса подается на специально отведенную площадку, где производится ее укладка в штабели. Площадка, предназначенная для формирования штабелей, должна быть заранее подготовлена: на ней должны быть разведены воздуховоды и осуществлена подсыпка из измельченных древесных отходов.

Полигоны, твердые бытовые отходы, геосинтетические материалы, природный геологический барьер, биогаз, фильтрат



уроки по алготрейдингу на Python с нуля



Яндекс цитирования

   Copyright © 2008-2026 ,  www.infosait.ru

backtrader - уроки алготрейдинга на python