ИНФОСАЙТ.ру
Госты, стандарты, нормативы. В библиотеке 60000 документов. Регулярное обновление. Круглосуточный бесплатный доступ!
БИБЛИОТЕКА ГОСТОВ, СТАНДАРТОВ И НОРМАТИВОВ

:: АЛГОТРЕЙДИНГ ::


АЛГОТРЕЙДИНГ
шаг за шагом


БЕСПЛАТНЫЕ УРОКИ по созданию торговых роботов на PYTHON с нуля, шаг за шагом.


Минимальные знания на PYTHON.
Библиотеки BackTrader и Pandas, сигналы с Pine Script из TradingView.
Связка с брокерами, телеграм.
Создание простых интерфейсов.

 

Все документы, представленные в каталоге, не являются их официальным изданием и предназначены исключительно для ознакомительных целей. Электронные копии этих документов могут распространяться без всяких ограничений. Вы можете размещать информацию с этого сайта на любом другом сайте.


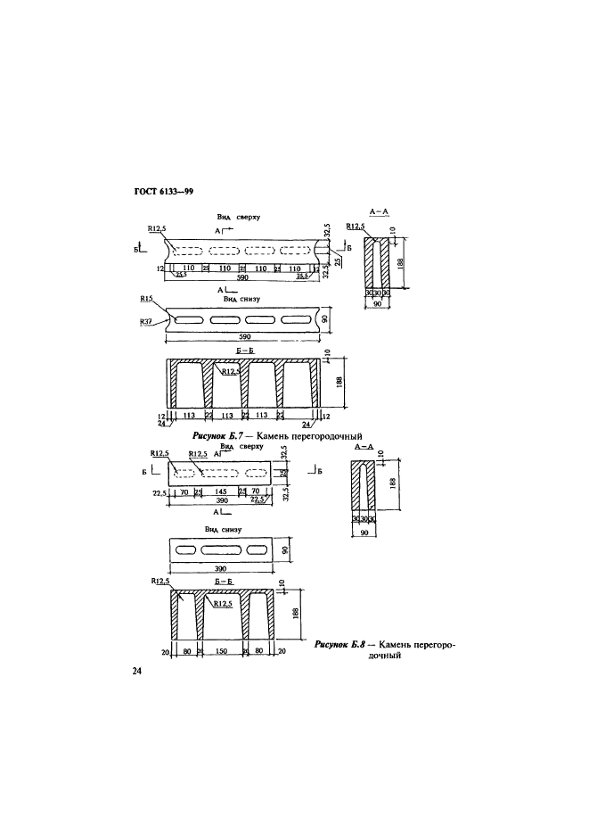
ГОСТ 6133-99

Камни бетонные стеновые. Технические условия

Обозначение стандарта:ГОСТ 6133-99
Статус стандарта:действующий
Название рус.:Камни бетонные стеновые. Технические условия
Название англ.:Concrete wall stone. Specifications
Дата введения в действие:01.01.2002
Область и условия применения:Настоящий стандарт распространяется на стеновые бетонные камни, изготовленные вибропрессованием, прессованием, формованием или другими способами из легких, тяжелых и мелкозернистых бетонов.
Камни применяют в соответствии с действующими строительными нормами и правилами при возведении стен и других конструкций зданий и сооружений различного назначения
Взамен:ГОСТ 6133-84
Список изменений:№0 от --2002-07-01 (рег. --2002-07-01) «Дата введения перенесена»
Приложение №1:Поправка к ГОСТ 6133-99
c=&f2=3&f1=II001&l='>ОКС Общероссийский классификатор стандартов
  • c=&f2=3&f1=II001091&l='>91 СТРОИТЕЛЬНЫЕ МАТЕРИАЛЫ И СТРОИТЕЛЬСТВО
  • c=&f2=3&f1=II001091100&l='>91.100 Строительные материалы *Продукция из чугуна и стали см. 77.140 *Продукция из цветных металлов см. 77.150 *Пиломатериалы см. 79.040 *Древесные плиты см. 79.060 *Стекло см. 81.040.20 *Пластмассовые изделия см. 83.140
  • c=&f2=3&f1=II001091100030&l='>91.100.30 Бетон и изделия из бетона
  • c=&f2=3&f1=II002&l='>КГС Классификатор государственных стандартов
  • c=&f2=3&f1=II002007&l='>Ж Строительство и стройматериалы
  • c=&f2=3&f1=II002007001&l='>Ж1 Строительные материалы
  • c=&f2=3&f1=II002007001001&l='>Ж11 Стеновые материалы


  • ГОСТ 6133-99
    ГОСТ 6133-99
    ГОСТ 6133-99
    ГОСТ 6133-99
    ГОСТ 6133-99
    ГОСТ 6133-99
    ГОСТ 6133-99
    ГОСТ 6133-99
    ГОСТ 6133-99
    ГОСТ 6133-99
    ГОСТ 6133-99
    ГОСТ 6133-99
    ГОСТ 6133-99
    ГОСТ 6133-99
    ГОСТ 6133-99
    ГОСТ 6133-99
    ГОСТ 6133-99
    ГОСТ 6133-99
    ГОСТ 6133-99
    ГОСТ 6133-99
    ГОСТ 6133-99
    ГОСТ 6133-99
    ГОСТ 6133-99
    ГОСТ 6133-99
    ГОСТ 6133-99
    ГОСТ 6133-99
    ГОСТ 6133-99
    ГОСТ 6133-99
    ГОСТ 6133-99
    ГОСТ 6133-99
    ГОСТ 6133-99
    ГОСТ 6133-99
    ГОСТ 6133-99
    ГОСТ 6133-99
    ГОСТ 6133-99
    ГОСТ 6133-99
    ГОСТ 6133-99
    ГОСТ 6133-99
    ГОСТ 6133-99
    ГОСТ 6133-99
    ГОСТ 6133-99
    ГОСТ 6133-99
    ГОСТ 6133-99
    ГОСТ 6133-99


    Поправка к ГОСТ 6133-99

    Обозначение стандарта:Поправка к ГОСТ 6133-99
    Дата введения в действие:01.07.2002
    Дата актуализации:15.01.2008


    Поправка к ГОСТ 6133-99




    уроки по алготрейдингу на Python с нуля



    Яндекс цитирования

       Copyright © 2008-2026 ,  www.infosait.ru

    backtrader - уроки алготрейдинга на python