ИНФОСАЙТ.ру
Госты, стандарты, нормативы. В библиотеке 60000 документов. Регулярное обновление. Круглосуточный бесплатный доступ!
БИБЛИОТЕКА ГОСТОВ, СТАНДАРТОВ И НОРМАТИВОВ

:: АЛГОТРЕЙДИНГ ::


АЛГОТРЕЙДИНГ
шаг за шагом


БЕСПЛАТНЫЕ УРОКИ по созданию торговых роботов на PYTHON с нуля, шаг за шагом.


Минимальные знания на PYTHON.
Библиотеки BackTrader и Pandas, сигналы с Pine Script из TradingView.
Связка с брокерами, телеграм.
Создание простых интерфейсов.

 

Все документы, представленные в каталоге, не являются их официальным изданием и предназначены исключительно для ознакомительных целей. Электронные копии этих документов могут распространяться без всяких ограничений. Вы можете размещать информацию с этого сайта на любом другом сайте.


ГОСТ 27218-87

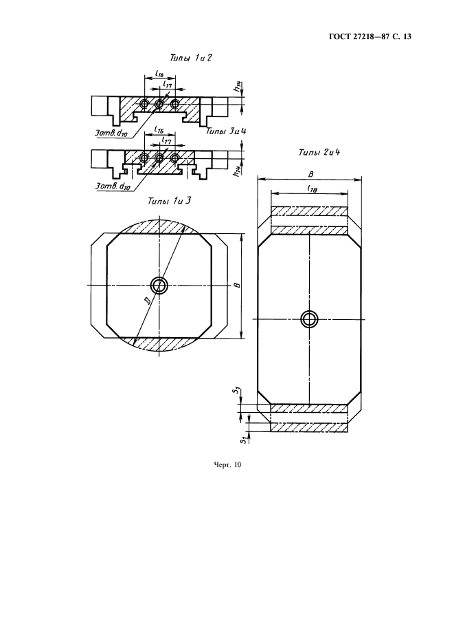
Гибкие производственные модули и многоцелевые станки. Столы-спутники для крепления обрабатываемой заготовки. Основные и присоединительные размеры

Обозначение стандарта:ГОСТ 27218-87
Статус стандарта:действующий
Название рус.:Гибкие производственные модули и многоцелевые станки. Столы-спутники для крепления обрабатываемой заготовки. Основные и присоединительные размеры
Название англ.:Flexible manufacturing modules and machining centres. Workholding pallets. Basic and coupling dimensions
Дата введения в действие:01.01.1989
Область и условия применения:Настоящий стандарт распространяется на столы-спутники для крепления обрабатываемых заготовок корпусных и плоских (призматических) заготовок или технологической оснастки (ТО), применяемые на многоцелевых станках (МС), в гибких производственных модулях (ГПМ), и гибких производственных системах (ГПС), изготавливаемые для потребностей экономики страны и экспорта.
Стандарт не распространяется на столы-спутники для МС, ГПМ и ГПС, разработанные до 01.07.86
Список изменений:№1 от --1989-01-01 (рег. --1988-08-18) «Срок действия продлен»
c=&f2=3&f1=II001&l='>ОКС Общероссийский классификатор стандартов
  • c=&f2=3&f1=II001025&l='>25 МАШИНОСТРОЕНИЕ *Эта область включает стандарты общего назначения
  • c=&f2=3&f1=II001025060&l='>25.060 Станочные системы
  • c=&f2=3&f1=II001025060010&l='>25.060.10 Модули и другие устройства
  • c=&f2=3&f1=II002&l='>КГС Классификатор государственных стандартов
  • c=&f2=3&f1=II002004&l='>Г Машины, оборудование и инструмент
  • c=&f2=3&f1=II002004008&l='>Г8 Машины и оборудование универсального применения
  • c=&f2=3&f1=II002004008001&l='>Г81 Станки металлообрабатывающие


  • ГОСТ 27218-87
    ГОСТ 27218-87
    ГОСТ 27218-87
    ГОСТ 27218-87
    ГОСТ 27218-87
    ГОСТ 27218-87
    ГОСТ 27218-87
    ГОСТ 27218-87
    ГОСТ 27218-87
    ГОСТ 27218-87
    ГОСТ 27218-87
    ГОСТ 27218-87
    ГОСТ 27218-87
    ГОСТ 27218-87
    ГОСТ 27218-87
    ГОСТ 27218-87
    ГОСТ 27218-87
    ГОСТ 27218-87
    ГОСТ 27218-87




    уроки по алготрейдингу на Python с нуля



    Яндекс цитирования

       Copyright © 2008-2026 ,  www.infosait.ru

    backtrader - уроки алготрейдинга на python