ИНФОСАЙТ.ру
Госты, стандарты, нормативы. В библиотеке 60000 документов. Регулярное обновление. Круглосуточный бесплатный доступ!
БИБЛИОТЕКА ГОСТОВ, СТАНДАРТОВ И НОРМАТИВОВ

:: АЛГОТРЕЙДИНГ ::


АЛГОТРЕЙДИНГ
шаг за шагом


БЕСПЛАТНЫЕ УРОКИ по созданию торговых роботов на PYTHON с нуля, шаг за шагом.


Минимальные знания на PYTHON.
Библиотеки BackTrader и Pandas, сигналы с Pine Script из TradingView.
Связка с брокерами, телеграм.
Создание простых интерфейсов.

 

Все документы, представленные в каталоге, не являются их официальным изданием и предназначены исключительно для ознакомительных целей. Электронные копии этих документов могут распространяться без всяких ограничений. Вы можете размещать информацию с этого сайта на любом другом сайте.


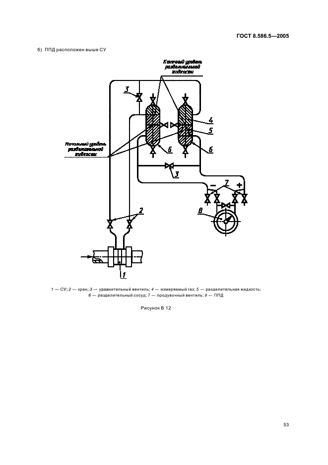
ГОСТ 8.586.5-2005

Государственная система обеспечения единства измерений. Измерение расхода и количества жидкостей и газов с помощью стандартных сужающих устройств. Часть 5. Методика выполнения измерений

Обозначение стандарта:ГОСТ 8.586.5-2005
Статус стандарта:действующий
Название рус.:Государственная система обеспечения единства измерений. Измерение расхода и количества жидкостей и газов с помощью стандартных сужающих устройств. Часть 5. Методика выполнения измерений
Название англ.:State system for ensuring the uniformity of measurements. Measurements of liquids and gases flow rate and quantity by means of orifice instruments. Part 5. Measurement procedure
Дата введения в действие:01.01.2007
Область и условия применения:Стандарт устанавливает методику выполнения измерений расхода и количества жидкостей и газов с помощью следующих технических средств:
- стандартного сужающего устройства;
- измерительного трубопровода;
- средств измерений перепада давления, параметров состояния среды и ее характеристик;
- средств обработки результатов измерений;
- соединительных линий;
- вспомогательных технических устройств.
Стандарт распространяется на измерения расхода и количества среды с помощью технических средств как отечественного, так и зарубежного производства, изготовленных в соответствии с требованиями настоящего стандарта.
Настоящий стандарт применяют совместно с ГОСТ 8.586.1 и в зависимости от типа сужающего устройства - ГОСТ 8.586.2, ГОСТ 8.586.3 или ГОСТ 8.586.4
Список изменений:№0 от --2007-06-01 (рег. --2007-06-01) «Дата введения перенесена»
Приложение №1:Поправка к ГОСТ 8.586.5-2005
c=&f2=3&f1=II001&l='>ОКС Общероссийский классификатор стандартов
  • c=&f2=3&f1=II001017&l='>17 МЕТРОЛОГИЯ И ИЗМЕРЕНИЯ. ФИЗИЧЕСКИЕ ЯВЛЕНИЯ
  • c=&f2=3&f1=II001017020&l='>17.020 Метрология и измерения в целом *Включая измерительные приборы в целом, предпочтительные числа, эталонные меры, общие аспекты эталонных материалов и т. д. *Величины и единицы измерений см. 01.060 *Химические эталонные материалы см. 71.040.30
  • c=&f2=3&f1=II002&l='>КГС Классификатор государственных стандартов
  • c=&f2=3&f1=II002016&l='>Т Общетехнические и организационно-методические стандарты
  • c=&f2=3&f1=II002016008&l='>Т8 Государственная система измерений
  • c=&f2=3&f1=II002016008006&l='>Т86 Методики выполнения измерений
  • c=&f2=3&f1=II003&l='> Тематические сборники
  • c=&f2=3&f1=II003008&l='>ГСОЕИ Государственная система обеспечения единства измерений.


  • ГОСТ 8.586.5-2005
    ГОСТ 8.586.5-2005
    ГОСТ 8.586.5-2005
    ГОСТ 8.586.5-2005
    ГОСТ 8.586.5-2005
    ГОСТ 8.586.5-2005
    ГОСТ 8.586.5-2005
    ГОСТ 8.586.5-2005
    ГОСТ 8.586.5-2005
    ГОСТ 8.586.5-2005
    ГОСТ 8.586.5-2005
    ГОСТ 8.586.5-2005
    ГОСТ 8.586.5-2005
    ГОСТ 8.586.5-2005
    ГОСТ 8.586.5-2005
    ГОСТ 8.586.5-2005
    ГОСТ 8.586.5-2005
    ГОСТ 8.586.5-2005
    ГОСТ 8.586.5-2005
    ГОСТ 8.586.5-2005
    ГОСТ 8.586.5-2005
    ГОСТ 8.586.5-2005
    ГОСТ 8.586.5-2005
    ГОСТ 8.586.5-2005
    ГОСТ 8.586.5-2005
    ГОСТ 8.586.5-2005
    ГОСТ 8.586.5-2005
    ГОСТ 8.586.5-2005
    ГОСТ 8.586.5-2005
    ГОСТ 8.586.5-2005
    ГОСТ 8.586.5-2005
    ГОСТ 8.586.5-2005
    ГОСТ 8.586.5-2005
    ГОСТ 8.586.5-2005
    ГОСТ 8.586.5-2005
    ГОСТ 8.586.5-2005
    ГОСТ 8.586.5-2005
    ГОСТ 8.586.5-2005
    ГОСТ 8.586.5-2005
    ГОСТ 8.586.5-2005
    ГОСТ 8.586.5-2005
    ГОСТ 8.586.5-2005
    ГОСТ 8.586.5-2005
    ГОСТ 8.586.5-2005
    ГОСТ 8.586.5-2005
    ГОСТ 8.586.5-2005
    ГОСТ 8.586.5-2005
    ГОСТ 8.586.5-2005
    ГОСТ 8.586.5-2005
    ГОСТ 8.586.5-2005
    ГОСТ 8.586.5-2005
    ГОСТ 8.586.5-2005
    ГОСТ 8.586.5-2005
    ГОСТ 8.586.5-2005
    ГОСТ 8.586.5-2005
    ГОСТ 8.586.5-2005
    ГОСТ 8.586.5-2005
    ГОСТ 8.586.5-2005
    ГОСТ 8.586.5-2005
    ГОСТ 8.586.5-2005
    ГОСТ 8.586.5-2005
    ГОСТ 8.586.5-2005
    ГОСТ 8.586.5-2005
    ГОСТ 8.586.5-2005
    ГОСТ 8.586.5-2005
    ГОСТ 8.586.5-2005
    ГОСТ 8.586.5-2005
    ГОСТ 8.586.5-2005
    ГОСТ 8.586.5-2005
    ГОСТ 8.586.5-2005
    ГОСТ 8.586.5-2005
    ГОСТ 8.586.5-2005
    ГОСТ 8.586.5-2005
    ГОСТ 8.586.5-2005
    ГОСТ 8.586.5-2005
    ГОСТ 8.586.5-2005
    ГОСТ 8.586.5-2005
    ГОСТ 8.586.5-2005
    ГОСТ 8.586.5-2005
    ГОСТ 8.586.5-2005
    ГОСТ 8.586.5-2005
    ГОСТ 8.586.5-2005
    ГОСТ 8.586.5-2005
    ГОСТ 8.586.5-2005
    ГОСТ 8.586.5-2005
    ГОСТ 8.586.5-2005
    ГОСТ 8.586.5-2005
    ГОСТ 8.586.5-2005
    ГОСТ 8.586.5-2005
    ГОСТ 8.586.5-2005
    ГОСТ 8.586.5-2005
    ГОСТ 8.586.5-2005
    ГОСТ 8.586.5-2005
    ГОСТ 8.586.5-2005


    Поправка к ГОСТ 8.586.5-2005

    Обозначение стандарта:Поправка к ГОСТ 8.586.5-2005
    Дата введения в действие:01.06.2007
    Дата актуализации:15.01.2008


    Поправка к ГОСТ 8.586.5-2005




    уроки по алготрейдингу на Python с нуля



    Яндекс цитирования

       Copyright © 2008-2026 ,  www.infosait.ru

    backtrader - уроки алготрейдинга на python