ИНФОСАЙТ.ру
Госты, стандарты, нормативы. В библиотеке 60000 документов. Регулярное обновление. Круглосуточный бесплатный доступ!
БИБЛИОТЕКА ГОСТОВ, СТАНДАРТОВ И НОРМАТИВОВ

:: АЛГОТРЕЙДИНГ ::


АЛГОТРЕЙДИНГ
шаг за шагом


БЕСПЛАТНЫЕ УРОКИ по созданию торговых роботов на PYTHON с нуля, шаг за шагом.


Минимальные знания на PYTHON.
Библиотеки BackTrader и Pandas, сигналы с Pine Script из TradingView.
Связка с брокерами, телеграм.
Создание простых интерфейсов.

 

Все документы, представленные в каталоге, не являются их официальным изданием и предназначены исключительно для ознакомительных целей. Электронные копии этих документов могут распространяться без всяких ограничений. Вы можете размещать информацию с этого сайта на любом другом сайте.


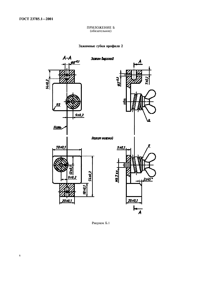
ГОСТ 23785.1-2001

Ткань кордная. Метод определения разрывной нагрузки и удлинения при разрыве

Обозначение стандарта:ГОСТ 23785.1-2001
Статус стандарта:действующий
Название рус.:Ткань кордная. Метод определения разрывной нагрузки и удлинения при разрыве
Название англ.:Cord fabric. Method for determination of breaking strength and elongations at rupture
Дата введения в действие:01.12.2002
Область и условия применения:Настоящий стандарт распространяется на кордную ткань, вырабатываемую по основе из химических кордных нитей, и устанавливает метод определения разрывной нагрузки и удлинения при разрыве основной нити пробы кордной ткани, наработанной для испытаний
Взамен:ГОСТ 23785.1-79
c=&f2=3&f1=II001&l='>ОКС Общероссийский классификатор стандартов
  • c=&f2=3&f1=II001059&l='>59 ТЕКСТИЛЬНОЕ И КОЖЕВЕННОЕ ПРОИЗВОДСТВО
  • c=&f2=3&f1=II001059080&l='>59.080 Изделия текстильной промышленности *Материалы для усиления композитов см. 59.100 *Рыболовные сети см. 65.150 *Обивочный материал см. 97.140 *Бытовые швейные изделия и белье см. 97.160
  • c=&f2=3&f1=II001059080030&l='>59.080.30 Текстильные изделия *Включая нетканые полотна, войлок, кружева и т.д.
  • c=&f2=3&f1=II002&l='>КГС Классификатор государственных стандартов
  • c=&f2=3&f1=II002011&l='>М Текстильные и кожевенные материалы и изделия
  • c=&f2=3&f1=II002011009&l='>М9 Ткани шелковые и штучные изделия
  • c=&f2=3&f1=II002011009009&l='>М99 Методы испытаний. Упаковка. Маркировка


  • ГОСТ 23785.1-2001
    ГОСТ 23785.1-2001
    ГОСТ 23785.1-2001
    ГОСТ 23785.1-2001
    ГОСТ 23785.1-2001
    ГОСТ 23785.1-2001
    ГОСТ 23785.1-2001
    ГОСТ 23785.1-2001
    ГОСТ 23785.1-2001
    ГОСТ 23785.1-2001
    ГОСТ 23785.1-2001




    уроки по алготрейдингу на Python с нуля



    Яндекс цитирования

       Copyright © 2008-2026 ,  www.infosait.ru

    backtrader - уроки алготрейдинга на python