ИНФОСАЙТ.ру
Госты, стандарты, нормативы. В библиотеке 60000 документов. Регулярное обновление. Круглосуточный бесплатный доступ!
БИБЛИОТЕКА ГОСТОВ, СТАНДАРТОВ И НОРМАТИВОВ

:: АЛГОТРЕЙДИНГ ::


АЛГОТРЕЙДИНГ
шаг за шагом


БЕСПЛАТНЫЕ УРОКИ по созданию торговых роботов на PYTHON с нуля, шаг за шагом.


Минимальные знания на PYTHON.
Библиотеки BackTrader и Pandas, сигналы с Pine Script из TradingView.
Связка с брокерами, телеграм.
Создание простых интерфейсов.

 

Все документы, представленные в каталоге, не являются их официальным изданием и предназначены исключительно для ознакомительных целей. Электронные копии этих документов могут распространяться без всяких ограничений. Вы можете размещать информацию с этого сайта на любом другом сайте.


ГОСТ Р 52862-2007

Методы испытаний на стойкость к механическим внешним воздействующим факторам машин, приборов и других технических изделий. Испытания на воздействие акустического шума (вибрация, акустическая составляющая)

Обозначение стандарта:ГОСТ Р 52862-2007
Статус стандарта:действующий
Название рус.:Методы испытаний на стойкость к механическим внешним воздействующим факторам машин, приборов и других технических изделий. Испытания на воздействие акустического шума (вибрация, акустическая составляющая)
Название англ.:Mechanical environment stability test methods for machines, instruments and other industrial products. Test methods for acoustic noise (vibration, acoustic component)
Дата введения в действие:01.07.2008
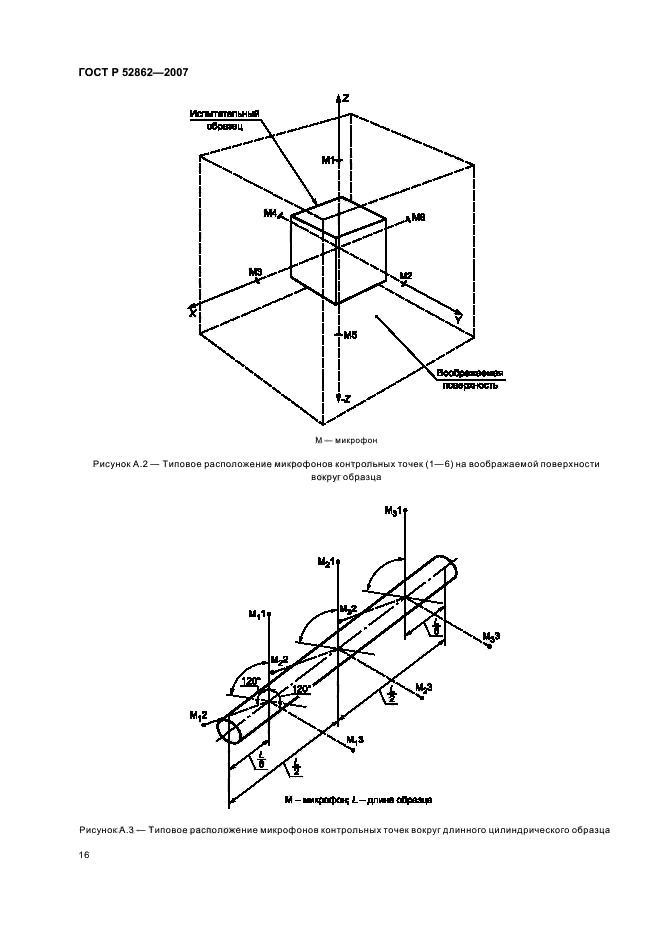
Область и условия применения:Настоящий стандарт распространяется на машины, приборы и другие технические изделия всех видов и устанавливает методы их испытаний на воздействие акустического шума (акустической составляющей воздействия вибрации), в том числе на соответствие требованиям по данному воздействию, установленному в нормативных документах на изделия (в частности требованиям по ГОСТ 30631). Стандарт применяют также для проведения исследовательских испытаний по определению стойкости изделий или их деталей и узлов к воздействию акустического шума.
Стандарт применяют совместно с ГОСТ 30630.0.0
c=&f2=3&f1=II001&l='>ОКС Общероссийский классификатор стандартов
  • c=&f2=3&f1=II001019&l='>19 ИСПЫТАНИЯ *Эта область включает стандарты только общего назначения *Аналитическая химия см. 71.040
  • c=&f2=3&f1=II001019060&l='>19.060 Механические испытания *Включая испытательное оборудование *Механические испытания металлов см. 77.040.10
  • c=&f2=3&f1=II002&l='>КГС Классификатор государственных стандартов
  • c=&f2=3&f1=II002016&l='>Т Общетехнические и организационно-методические стандарты
  • c=&f2=3&f1=II002016005&l='>Т5 Система документации
  • c=&f2=3&f1=II002016005001&l='>Т51 Система документации, определяющая показатели качества, надежности и долговечности продукции


  • ГОСТ Р 52862-2007
    ГОСТ Р 52862-2007
    ГОСТ Р 52862-2007
    ГОСТ Р 52862-2007
    ГОСТ Р 52862-2007
    ГОСТ Р 52862-2007
    ГОСТ Р 52862-2007
    ГОСТ Р 52862-2007
    ГОСТ Р 52862-2007
    ГОСТ Р 52862-2007
    ГОСТ Р 52862-2007
    ГОСТ Р 52862-2007
    ГОСТ Р 52862-2007
    ГОСТ Р 52862-2007
    ГОСТ Р 52862-2007
    ГОСТ Р 52862-2007
    ГОСТ Р 52862-2007
    ГОСТ Р 52862-2007
    ГОСТ Р 52862-2007
    ГОСТ Р 52862-2007
    ГОСТ Р 52862-2007
    ГОСТ Р 52862-2007
    ГОСТ Р 52862-2007
    ГОСТ Р 52862-2007
    ГОСТ Р 52862-2007
    ГОСТ Р 52862-2007
    ГОСТ Р 52862-2007




    уроки по алготрейдингу на Python с нуля



    Яндекс цитирования

       Copyright © 2008-2026 ,  www.infosait.ru

    backtrader - уроки алготрейдинга на python