ИНФОСАЙТ.ру
Госты, стандарты, нормативы. В библиотеке 60000 документов. Регулярное обновление. Круглосуточный бесплатный доступ!
БИБЛИОТЕКА ГОСТОВ, СТАНДАРТОВ И НОРМАТИВОВ

:: АЛГОТРЕЙДИНГ ::


АЛГОТРЕЙДИНГ
шаг за шагом


БЕСПЛАТНЫЕ УРОКИ по созданию торговых роботов на PYTHON с нуля, шаг за шагом.


Минимальные знания на PYTHON.
Библиотеки BackTrader и Pandas, сигналы с Pine Script из TradingView.
Связка с брокерами, телеграм.
Создание простых интерфейсов.

 

Все документы, представленные в каталоге, не являются их официальным изданием и предназначены исключительно для ознакомительных целей. Электронные копии этих документов могут распространяться без всяких ограничений. Вы можете размещать информацию с этого сайта на любом другом сайте.


ГОСТ 19240-73

Рельсы для наземных и подвесных путей. Сортамент

Обозначение стандарта:ГОСТ 19240-73
Статус стандарта:действующий
Название рус.:Рельсы для наземных и подвесных путей. Сортамент
Название англ.:Rails for ground and suspended tracks. Dimensions
Дата введения в действие:01.01.1975
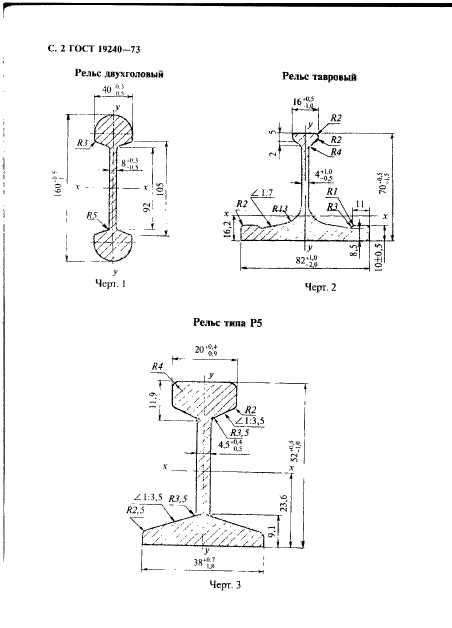
Область и условия применения:Настоящий стандарт распространяется на рельсы двухголовые, тавровые и типа Р5, предназначенные для наземных и подвесных путей
Взамен в части:ГОСТ 5157-53 в части рельсов двухголовых, тавровых и типа Р5 для наземных и подвесных путей
Список изменений:№1 от --1985-07-01 (рег. --1984-12-20) «Срок действия продлен»
c=&f2=3&f1=II001&l='>ОКС Общероссийский классификатор стандартов
  • c=&f2=3&f1=II001045&l='>45 ЖЕЛЕЗНОДОРОЖНАЯ ТЕХНИКА
  • c=&f2=3&f1=II001045080&l='>45.080 Рельсы и компоненты железных дорог *Включая компоненты рельсового пути
  • c=&f2=3&f1=II002&l='>КГС Классификатор государственных стандартов
  • c=&f2=3&f1=II002003&l='>В Металлы и металлические изделия
  • c=&f2=3&f1=II002003002&l='>В2 Сталь углеродистая обыкновенного качества (рядовой прокат)
  • c=&f2=3&f1=II002003002002&l='>В22 Сортовой и фасонный прокат


  • ГОСТ 19240-73
    ГОСТ 19240-73
    ГОСТ 19240-73
    ГОСТ 19240-73
    ГОСТ 19240-73
    ГОСТ 19240-73




    уроки по алготрейдингу на Python с нуля



    Яндекс цитирования

       Copyright © 2008-2026 ,  www.infosait.ru

    backtrader - уроки алготрейдинга на python