ИНФОСАЙТ.ру
Госты, стандарты, нормативы. В библиотеке 60000 документов. Регулярное обновление. Круглосуточный бесплатный доступ!
БИБЛИОТЕКА ГОСТОВ, СТАНДАРТОВ И НОРМАТИВОВ

:: АЛГОТРЕЙДИНГ ::


АЛГОТРЕЙДИНГ
шаг за шагом


БЕСПЛАТНЫЕ УРОКИ по созданию торговых роботов на PYTHON с нуля, шаг за шагом.


Минимальные знания на PYTHON.
Библиотеки BackTrader и Pandas, сигналы с Pine Script из TradingView.
Связка с брокерами, телеграм.
Создание простых интерфейсов.

 

Все документы, представленные в каталоге, не являются их официальным изданием и предназначены исключительно для ознакомительных целей. Электронные копии этих документов могут распространяться без всяких ограничений. Вы можете размещать информацию с этого сайта на любом другом сайте.


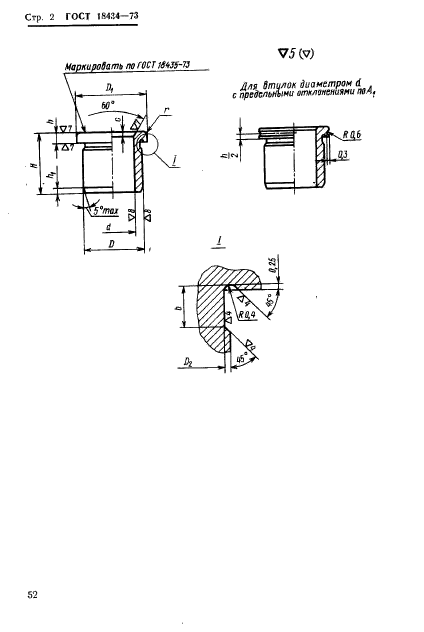
ГОСТ 18434-73

Втулки промежуточные с буртиком. Конструкция и размеры

Обозначение стандарта:ГОСТ 18434-73
Статус стандарта:действующий
Название рус.:Втулки промежуточные с буртиком. Конструкция и размеры
Название англ.:Collar intermediate bushes. Design and dimensions
Дата введения в действие:01.07.1974
Область и условия применения:Настоящий стандарт распространяется на промежуточные втулки с буртиком для установки сменных и быстросменных кондукторных втулок по ГОСТ 18431-73 и ГОСТ 18432-73 в приспособления металлорежущих станков, разработанных до 1 января 1986 года
Список изменений:№1 от --1980-01-01 (рег. --1979-08-02) «Срок действия продлен»
№2 от --1985-01-01 (рег. --1984-06-29) «Срок действия продлен»
c=&f2=3&f1=II001&l='>ОКС Общероссийский классификатор стандартов
  • c=&f2=3&f1=II001025&l='>25 МАШИНОСТРОЕНИЕ *Эта область включает стандарты общего назначения
  • c=&f2=3&f1=II001025060&l='>25.060 Станочные системы
  • c=&f2=3&f1=II001025060020&l='>25.060.20 Делительные головки и зажимные приспособления для обрабатываемых деталей и инструментов
  • c=&f2=3&f1=II002&l='>КГС Классификатор государственных стандартов
  • c=&f2=3&f1=II002004&l='>Г Машины, оборудование и инструмент
  • c=&f2=3&f1=II002004002&l='>Г2 Инструмент промышленный и приспособления
  • c=&f2=3&f1=II002004002007&l='>Г27 Приспособления и вспомогательный инструмент


  • ГОСТ 18434-73
    ГОСТ 18434-73
    ГОСТ 18434-73
    ГОСТ 18434-73
    ГОСТ 18434-73
    ГОСТ 18434-73
    ГОСТ 18434-73
    ГОСТ 18434-73
    ГОСТ 18434-73
    ГОСТ 18434-73
    ГОСТ 18434-73
    ГОСТ 18434-73




    уроки по алготрейдингу на Python с нуля



    Яндекс цитирования

       Copyright © 2008-2026 ,  www.infosait.ru

    backtrader - уроки алготрейдинга на python