ИНФОСАЙТ.ру
Госты, стандарты, нормативы. В библиотеке 60000 документов. Регулярное обновление. Круглосуточный бесплатный доступ!
БИБЛИОТЕКА ГОСТОВ, СТАНДАРТОВ И НОРМАТИВОВ

:: АЛГОТРЕЙДИНГ ::


АЛГОТРЕЙДИНГ
шаг за шагом


БЕСПЛАТНЫЕ УРОКИ по созданию торговых роботов на PYTHON с нуля, шаг за шагом.


Минимальные знания на PYTHON.
Библиотеки BackTrader и Pandas, сигналы с Pine Script из TradingView.
Связка с брокерами, телеграм.
Создание простых интерфейсов.

 

Все документы, представленные в каталоге, не являются их официальным изданием и предназначены исключительно для ознакомительных целей. Электронные копии этих документов могут распространяться без всяких ограничений. Вы можете размещать информацию с этого сайта на любом другом сайте.


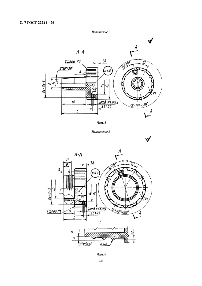
ГОСТ 22241-76

Заглушки транспортировочные. Общие технические условия

Обозначение стандарта:ГОСТ 22241-76
Статус стандарта:действующий
Название рус.:Заглушки транспортировочные. Общие технические условия
Название англ.:Transportation plugs. General specifications
Дата введения в действие:01.01.1978
Область и условия применения:Настоящий стандарт распространяется на транспортировочные заглушки, предназначенные для предохранения трубопроводов, штуцеров и наконечников агрегатов от засорения и механических повреждений при транспортировании, хранении, регламентных и других работах
Список изменений:№1 от --1981-01-01 (рег. --1980-07-24) «Срок действия продлен»
№2 от --1983-07-01 (рег. --1982-10-29) «Срок действия продлен»
№3 от --1988-01-01 (рег. --1987-06-24) «Поправка»
№4 от --1991-07-01 (рег. --1990-10-29) «Срок действия продлен»
№5 от --1993-03-01 (рег. --1992-10-01) «Срок действия продлен»
c=&f2=3&f1=II001&l='>ОКС Общероссийский классификатор стандартов
  • c=&f2=3&f1=II001023&l='>23 ГИДРАВЛИЧЕСКИЕ И ПНЕВМАТИЧЕСКИЕ СИСТЕМЫ И КОМПОНЕНТЫ ОБЩЕГО НАЗНАЧЕНИЯ *Измерение потока жидкости см. 17.120
  • c=&f2=3&f1=II001023060&l='>23.060 Клапаны
  • c=&f2=3&f1=II001023060030&l='>23.060.30 Задвижки
  • c=&f2=3&f1=II002&l='>КГС Классификатор государственных стандартов
  • c=&f2=3&f1=II002004&l='>Г Машины, оборудование и инструмент
  • c=&f2=3&f1=II002004001&l='>Г1 Общие детали и узлы машин
  • c=&f2=3&f1=II002004001008&l='>Г18 Арматура и соединения трубопроводов


  • ГОСТ 22241-76
    ГОСТ 22241-76
    ГОСТ 22241-76
    ГОСТ 22241-76
    ГОСТ 22241-76
    ГОСТ 22241-76
    ГОСТ 22241-76
    ГОСТ 22241-76
    ГОСТ 22241-76
    ГОСТ 22241-76
    ГОСТ 22241-76
    ГОСТ 22241-76
    ГОСТ 22241-76
    ГОСТ 22241-76
    ГОСТ 22241-76
    ГОСТ 22241-76
    ГОСТ 22241-76
    ГОСТ 22241-76
    ГОСТ 22241-76




    уроки по алготрейдингу на Python с нуля



    Яндекс цитирования

       Copyright © 2008-2026 ,  www.infosait.ru

    backtrader - уроки алготрейдинга на python