ИНФОСАЙТ.ру
Госты, стандарты, нормативы. В библиотеке 60000 документов. Регулярное обновление. Круглосуточный бесплатный доступ!
БИБЛИОТЕКА ГОСТОВ, СТАНДАРТОВ И НОРМАТИВОВ

:: АЛГОТРЕЙДИНГ ::


АЛГОТРЕЙДИНГ
шаг за шагом


БЕСПЛАТНЫЕ УРОКИ по созданию торговых роботов на PYTHON с нуля, шаг за шагом.


Минимальные знания на PYTHON.
Библиотеки BackTrader и Pandas, сигналы с Pine Script из TradingView.
Связка с брокерами, телеграм.
Создание простых интерфейсов.

 

Все документы, представленные в каталоге, не являются их официальным изданием и предназначены исключительно для ознакомительных целей. Электронные копии этих документов могут распространяться без всяких ограничений. Вы можете размещать информацию с этого сайта на любом другом сайте.


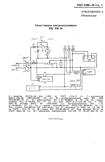
ГОСТ 8.286-78

Государственная система обеспечения единства измерений. Секундомеры электрические. Методы и средства поверки

Обозначение стандарта:ГОСТ 8.286-78
Статус стандарта:действующий
Название рус.:Государственная система обеспечения единства измерений. Секундомеры электрические. Методы и средства поверки
Название англ.:State system for ensuring the uniformity of measurements. Electrical timemeters. Methods and means for verification
Дата введения в действие:01.01.1979
Область и условия применения:Настоящий стандарт распространяется на электрические секундомеры (ЭС) с пределами измерений до 10 с, до 10 мин, до 20 мин и устанавливает методы и средства их первичной и периодической поверок
Взамен:ГОСТ 12117-66
c=&f2=3&f1=II001&l='>ОКС Общероссийский классификатор стандартов
  • c=&f2=3&f1=II001039&l='>39 ТОЧНАЯ МЕХАНИКА. ЮВЕЛИРНОЕ ДЕЛО
  • c=&f2=3&f1=II001039040&l='>39.040 Часовое дело
  • c=&f2=3&f1=II002&l='>КГС Классификатор государственных стандартов
  • c=&f2=3&f1=II002016&l='>Т Общетехнические и организационно-методические стандарты
  • c=&f2=3&f1=II002016008&l='>Т8 Государственная система измерений
  • c=&f2=3&f1=II002016008008&l='>Т88 Методики поверки и метрологической аттестации
  • c=&f2=3&f1=II003&l='> Тематические сборники
  • c=&f2=3&f1=II003008&l='>ГСОЕИ Государственная система обеспечения единства измерений.


  • ГОСТ 8.286-78
    ГОСТ 8.286-78
    ГОСТ 8.286-78
    ГОСТ 8.286-78
    ГОСТ 8.286-78
    ГОСТ 8.286-78
    ГОСТ 8.286-78




    уроки по алготрейдингу на Python с нуля



    Яндекс цитирования

       Copyright © 2008-2026 ,  www.infosait.ru

    backtrader - уроки алготрейдинга на python