ИНФОСАЙТ.ру
Госты, стандарты, нормативы. В библиотеке 60000 документов. Регулярное обновление. Круглосуточный бесплатный доступ!
БИБЛИОТЕКА ГОСТОВ, СТАНДАРТОВ И НОРМАТИВОВ

:: АЛГОТРЕЙДИНГ ::


АЛГОТРЕЙДИНГ
шаг за шагом


БЕСПЛАТНЫЕ УРОКИ по созданию торговых роботов на PYTHON с нуля, шаг за шагом.


Минимальные знания на PYTHON.
Библиотеки BackTrader и Pandas, сигналы с Pine Script из TradingView.
Связка с брокерами, телеграм.
Создание простых интерфейсов.

 

Все документы, представленные в каталоге, не являются их официальным изданием и предназначены исключительно для ознакомительных целей. Электронные копии этих документов могут распространяться без всяких ограничений. Вы можете размещать информацию с этого сайта на любом другом сайте.


ГОСТ 22689.2-89

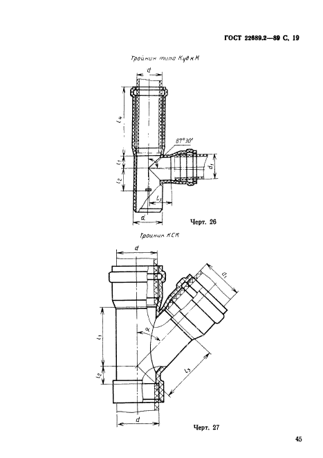
Трубы полиэтиленовые канализационные и фасонные части к ним. Конструкция

Обозначение стандарта:ГОСТ 22689.2-89
Статус стандарта:действующий
Название рус.:Трубы полиэтиленовые канализационные и фасонные части к ним. Конструкция
Название англ.:Polyethylene waste-pipes and fittings. Construction
Дата введения в действие:01.10.1989
Область и условия применения:Настоящий стандарт распространяется на трубы и фасонные части к ним из полиэтилена низкого и полиэтилена высокого давления, предназначенные для внутренней канализации зданий, и комплектующие детали к ним
Взамен:ГОСТ 22689.2-77
c=&f2=3&f1=II001&l='>ОКС Общероссийский классификатор стандартов
  • c=&f2=3&f1=II001091&l='>91 СТРОИТЕЛЬНЫЕ МАТЕРИАЛЫ И СТРОИТЕЛЬСТВО
  • c=&f2=3&f1=II001091140&l='>91.140 Установки в зданиях *Промышленные горелки и котлы см. 27.060 *Тепловые насосы см. 27.080
  • c=&f2=3&f1=II001091140080&l='>91.140.80 Дренажные системы *Удаление и очистка сточных вод см. 13.060.30 *Дренажные системы для дождевой воды см. 91.060.20 *Наружные канализационные системы см. 93.030
  • c=&f2=3&f1=II002&l='>КГС Классификатор государственных стандартов
  • c=&f2=3&f1=II002007&l='>Ж Строительство и стройматериалы
  • c=&f2=3&f1=II002007002&l='>Ж2 Санитарное, инженерное и противопожарное оборудование зданий
  • c=&f2=3&f1=II002007002001&l='>Ж21 Водоснабжение и канализация


  • ГОСТ 22689.2-89
    ГОСТ 22689.2-89
    ГОСТ 22689.2-89
    ГОСТ 22689.2-89
    ГОСТ 22689.2-89
    ГОСТ 22689.2-89
    ГОСТ 22689.2-89
    ГОСТ 22689.2-89
    ГОСТ 22689.2-89
    ГОСТ 22689.2-89
    ГОСТ 22689.2-89
    ГОСТ 22689.2-89
    ГОСТ 22689.2-89
    ГОСТ 22689.2-89
    ГОСТ 22689.2-89
    ГОСТ 22689.2-89
    ГОСТ 22689.2-89
    ГОСТ 22689.2-89
    ГОСТ 22689.2-89
    ГОСТ 22689.2-89
    ГОСТ 22689.2-89
    ГОСТ 22689.2-89
    ГОСТ 22689.2-89
    ГОСТ 22689.2-89
    ГОСТ 22689.2-89
    ГОСТ 22689.2-89
    ГОСТ 22689.2-89
    ГОСТ 22689.2-89
    ГОСТ 22689.2-89
    ГОСТ 22689.2-89
    ГОСТ 22689.2-89
    ГОСТ 22689.2-89
    ГОСТ 22689.2-89
    ГОСТ 22689.2-89
    ГОСТ 22689.2-89
    ГОСТ 22689.2-89
    ГОСТ 22689.2-89
    ГОСТ 22689.2-89
    ГОСТ 22689.2-89
    ГОСТ 22689.2-89
    ГОСТ 22689.2-89
    ГОСТ 22689.2-89
    ГОСТ 22689.2-89
    ГОСТ 22689.2-89
    ГОСТ 22689.2-89
    ГОСТ 22689.2-89
    ГОСТ 22689.2-89
    ГОСТ 22689.2-89
    ГОСТ 22689.2-89
    ГОСТ 22689.2-89
    ГОСТ 22689.2-89
    ГОСТ 22689.2-89
    ГОСТ 22689.2-89




    уроки по алготрейдингу на Python с нуля



    Яндекс цитирования

       Copyright © 2008-2026 ,  www.infosait.ru

    backtrader - уроки алготрейдинга на python