ИНФОСАЙТ.ру
Госты, стандарты, нормативы. В библиотеке 60000 документов. Регулярное обновление. Круглосуточный бесплатный доступ!
БИБЛИОТЕКА ГОСТОВ, СТАНДАРТОВ И НОРМАТИВОВ

:: АЛГОТРЕЙДИНГ ::


АЛГОТРЕЙДИНГ
шаг за шагом


БЕСПЛАТНЫЕ УРОКИ по созданию торговых роботов на PYTHON с нуля, шаг за шагом.


Минимальные знания на PYTHON.
Библиотеки BackTrader и Pandas, сигналы с Pine Script из TradingView.
Связка с брокерами, телеграм.
Создание простых интерфейсов.

 

Все документы, представленные в каталоге, не являются их официальным изданием и предназначены исключительно для ознакомительных целей. Электронные копии этих документов могут распространяться без всяких ограничений. Вы можете размещать информацию с этого сайта на любом другом сайте.


ГОСТ 20537-75

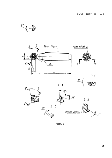
Фрезы концевые диаметром от 12,5 до 50 мм с коническим хвостовиком, оснащенные винтовыми твердосплавными пластинами . Конструкция и размеры

Обозначение стандарта:ГОСТ 20537-75
Статус стандарта:действующий
Название рус.:Фрезы концевые диаметром от 12,5 до 50 мм с коническим хвостовиком, оснащенные винтовыми твердосплавными пластинами . Конструкция и размеры
Название англ.:Taper shank end mills of 12,5-50 mm diameter with spiral carbide blades. Construction and dimensions
Дата введения в действие:01.01.1977
Область и условия применения:Настоящий стандарт распространяется на концевые фрезы, оснащенные винтовыми твердосплавными пластинами, предназначенные для обработки стали, чугуна и бронзы, а также труднообрабатываемых сталей и сплавов
Взамен:МН 4164-62
Взамен в части:ГОСТ 8720-69 в части типа 2 исполнения 1
Список изменений:№1 от --1980-03-01 (рег. --1980-01-28) «Срок действия продлен»
№2 от --1987-05-01 (рег. --1986-12-20) «Срок действия продлен»
c=&f2=3&f1=II001&l='>ОКС Общероссийский классификатор стандартов
  • c=&f2=3&f1=II001025&l='>25 МАШИНОСТРОЕНИЕ *Эта область включает стандарты общего назначения
  • c=&f2=3&f1=II001025100&l='>25.100 Режущие инструменты *Включая природные и синтетические алмазы *Деревообрабатывающие инструменты см. 79.120.20
  • c=&f2=3&f1=II001025100020&l='>25.100.20 Фрезы
  • c=&f2=3&f1=II002&l='>КГС Классификатор государственных стандартов
  • c=&f2=3&f1=II002004&l='>Г Машины, оборудование и инструмент
  • c=&f2=3&f1=II002004002&l='>Г2 Инструмент промышленный и приспособления
  • c=&f2=3&f1=II002004002003&l='>Г23 Инструмент для обработки резанием


  • ГОСТ 20537-75
    ГОСТ 20537-75
    ГОСТ 20537-75
    ГОСТ 20537-75
    ГОСТ 20537-75
    ГОСТ 20537-75
    ГОСТ 20537-75




    уроки по алготрейдингу на Python с нуля



    Яндекс цитирования

       Copyright © 2008-2026 ,  www.infosait.ru

    backtrader - уроки алготрейдинга на python