ИНФОСАЙТ.ру
Госты, стандарты, нормативы. В библиотеке 60000 документов. Регулярное обновление. Круглосуточный бесплатный доступ!
БИБЛИОТЕКА ГОСТОВ, СТАНДАРТОВ И НОРМАТИВОВ

:: АЛГОТРЕЙДИНГ ::


АЛГОТРЕЙДИНГ
шаг за шагом


БЕСПЛАТНЫЕ УРОКИ по созданию торговых роботов на PYTHON с нуля, шаг за шагом.


Минимальные знания на PYTHON.
Библиотеки BackTrader и Pandas, сигналы с Pine Script из TradingView.
Связка с брокерами, телеграм.
Создание простых интерфейсов.

 

Все документы, представленные в каталоге, не являются их официальным изданием и предназначены исключительно для ознакомительных целей. Электронные копии этих документов могут распространяться без всяких ограничений. Вы можете размещать информацию с этого сайта на любом другом сайте.


ГОСТ 22061-76

Машины и технологическое оборудование. Система классов точности балансировки. Основные положения

Обозначение стандарта:ГОСТ 22061-76
Статус стандарта:заменён
Название рус.:Машины и технологическое оборудование. Система классов точности балансировки. Основные положения
Название англ.:Machines and technological equipment. Balance quality grade system. General
Дата введения в действие:01.07.1977
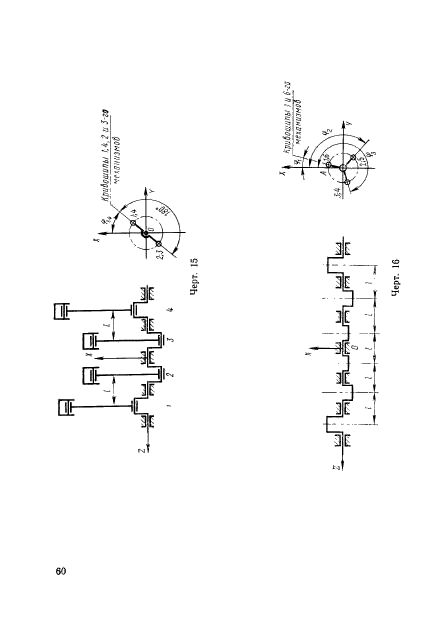
Область и условия применения:Настоящий стандарт устанавливает классы точности балансировки для жестких роторов изделий, а также требования к балансировке и методы расчета дисбалансов
Заменяющий:ГОСТ ИСО 1940-1-2007
Список изменений:№1 от --1983-06-01 (рег. --1983-01-25) «Срок действия продлен»
c=&f2=3&f1=II001&l='>ОКС Общероссийский классификатор стандартов
  • c=&f2=3&f1=II001003&l='>03 СОЦИОЛОГИЯ. УСЛУГИ. ОРГАНИЗАЦИЯ ФИРМ И УПРАВЛЕНИЕ ИМИ. АДМИНИСТРАЦИЯ. ТРАНСПОРТ
  • c=&f2=3&f1=II001003120&l='>03.120 Качество
  • c=&f2=3&f1=II001021&l='>21 МЕХАНИЧЕСКИЕ СИСТЕМЫ И УСТРОЙСТВА ОБЩЕГО НАЗНАЧЕНИЯ
  • c=&f2=3&f1=II001021020&l='>21.020 Характеристика и конструкция механизмов, приборов и оборудования *Включая надежность, безотказность, ремонтопригодность, долговечность и т. д. *Безопасность механизмов см. 13.110
  • c=&f2=3&f1=II002&l='>КГС Классификатор государственных стандартов
  • c=&f2=3&f1=II002004&l='>Г Машины, оборудование и инструмент
  • c=&f2=3&f1=II002004000&l='>Г0 Общие правила и нормы по машиностроению
  • c=&f2=3&f1=II002004000002&l='>Г02 Нормы расчета и проектирования


  • ГОСТ 22061-76
    ГОСТ 22061-76
    ГОСТ 22061-76
    ГОСТ 22061-76
    ГОСТ 22061-76
    ГОСТ 22061-76
    ГОСТ 22061-76
    ГОСТ 22061-76
    ГОСТ 22061-76
    ГОСТ 22061-76
    ГОСТ 22061-76
    ГОСТ 22061-76
    ГОСТ 22061-76
    ГОСТ 22061-76
    ГОСТ 22061-76
    ГОСТ 22061-76
    ГОСТ 22061-76
    ГОСТ 22061-76
    ГОСТ 22061-76
    ГОСТ 22061-76
    ГОСТ 22061-76
    ГОСТ 22061-76
    ГОСТ 22061-76
    ГОСТ 22061-76
    ГОСТ 22061-76
    ГОСТ 22061-76
    ГОСТ 22061-76
    ГОСТ 22061-76
    ГОСТ 22061-76
    ГОСТ 22061-76
    ГОСТ 22061-76
    ГОСТ 22061-76
    ГОСТ 22061-76
    ГОСТ 22061-76
    ГОСТ 22061-76
    ГОСТ 22061-76
    ГОСТ 22061-76
    ГОСТ 22061-76
    ГОСТ 22061-76
    ГОСТ 22061-76
    ГОСТ 22061-76
    ГОСТ 22061-76
    ГОСТ 22061-76
    ГОСТ 22061-76
    ГОСТ 22061-76
    ГОСТ 22061-76
    ГОСТ 22061-76
    ГОСТ 22061-76
    ГОСТ 22061-76
    ГОСТ 22061-76
    ГОСТ 22061-76
    ГОСТ 22061-76
    ГОСТ 22061-76
    ГОСТ 22061-76
    ГОСТ 22061-76
    ГОСТ 22061-76
    ГОСТ 22061-76
    ГОСТ 22061-76
    ГОСТ 22061-76
    ГОСТ 22061-76
    ГОСТ 22061-76
    ГОСТ 22061-76
    ГОСТ 22061-76
    ГОСТ 22061-76
    ГОСТ 22061-76
    ГОСТ 22061-76
    ГОСТ 22061-76
    ГОСТ 22061-76
    ГОСТ 22061-76
    ГОСТ 22061-76
    ГОСТ 22061-76
    ГОСТ 22061-76
    ГОСТ 22061-76
    ГОСТ 22061-76
    ГОСТ 22061-76
    ГОСТ 22061-76
    ГОСТ 22061-76
    ГОСТ 22061-76
    ГОСТ 22061-76
    ГОСТ 22061-76
    ГОСТ 22061-76
    ГОСТ 22061-76
    ГОСТ 22061-76
    ГОСТ 22061-76
    ГОСТ 22061-76
    ГОСТ 22061-76
    ГОСТ 22061-76
    ГОСТ 22061-76
    ГОСТ 22061-76
    ГОСТ 22061-76
    ГОСТ 22061-76
    ГОСТ 22061-76
    ГОСТ 22061-76
    ГОСТ 22061-76
    ГОСТ 22061-76
    ГОСТ 22061-76
    ГОСТ 22061-76
    ГОСТ 22061-76
    ГОСТ 22061-76
    ГОСТ 22061-76
    ГОСТ 22061-76
    ГОСТ 22061-76
    ГОСТ 22061-76
    ГОСТ 22061-76
    ГОСТ 22061-76
    ГОСТ 22061-76
    ГОСТ 22061-76
    ГОСТ 22061-76
    ГОСТ 22061-76
    ГОСТ 22061-76
    ГОСТ 22061-76
    ГОСТ 22061-76
    ГОСТ 22061-76
    ГОСТ 22061-76
    ГОСТ 22061-76
    ГОСТ 22061-76
    ГОСТ 22061-76
    ГОСТ 22061-76
    ГОСТ 22061-76
    ГОСТ 22061-76
    ГОСТ 22061-76
    ГОСТ 22061-76
    ГОСТ 22061-76
    ГОСТ 22061-76
    ГОСТ 22061-76
    ГОСТ 22061-76
    ГОСТ 22061-76
    ГОСТ 22061-76
    ГОСТ 22061-76
    ГОСТ 22061-76
    ГОСТ 22061-76
    ГОСТ 22061-76
    ГОСТ 22061-76
    ГОСТ 22061-76
    ГОСТ 22061-76
    ГОСТ 22061-76




    уроки по алготрейдингу на Python с нуля



    Яндекс цитирования

       Copyright © 2008-2026 ,  www.infosait.ru

    backtrader - уроки алготрейдинга на python