ИНФОСАЙТ.ру
Госты, стандарты, нормативы. В библиотеке 60000 документов. Регулярное обновление. Круглосуточный бесплатный доступ!
БИБЛИОТЕКА ГОСТОВ, СТАНДАРТОВ И НОРМАТИВОВ

:: АЛГОТРЕЙДИНГ ::


АЛГОТРЕЙДИНГ
шаг за шагом


БЕСПЛАТНЫЕ УРОКИ по созданию торговых роботов на PYTHON с нуля, шаг за шагом.


Минимальные знания на PYTHON.
Библиотеки BackTrader и Pandas, сигналы с Pine Script из TradingView.
Связка с брокерами, телеграм.
Создание простых интерфейсов.

 

Все документы, представленные в каталоге, не являются их официальным изданием и предназначены исключительно для ознакомительных целей. Электронные копии этих документов могут распространяться без всяких ограничений. Вы можете размещать информацию с этого сайта на любом другом сайте.


ГОСТ 26620-85

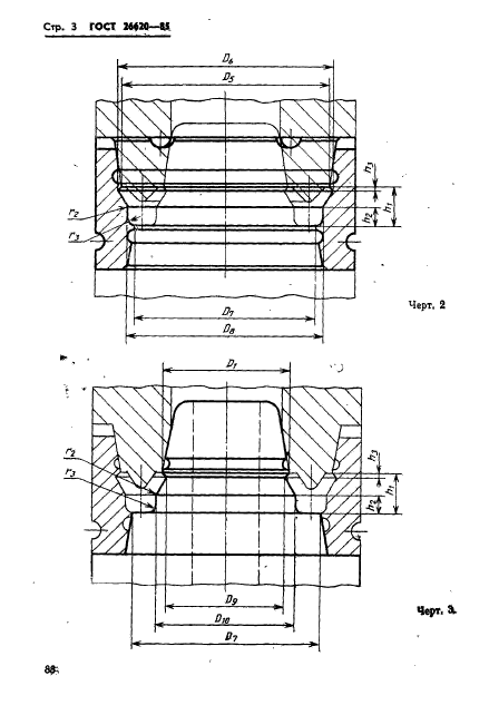
Пакеты съемных многоместных и кассетных пресс-форм и пресс-формы одноместные для изготовления манжет гидравлических устройств. Исполнительные размеры формообразующих деталей

Обозначение стандарта:ГОСТ 26620-85
Статус стандарта:действующий
Название рус.:Пакеты съемных многоместных и кассетных пресс-форм и пресс-формы одноместные для изготовления манжет гидравлических устройств. Исполнительные размеры формообразующих деталей
Название англ.:Sets of portable multi-impression and casseta press-moulds and single impression for manufacturing rubber upacking seals. Executive dimensions of formed articies
Дата введения в действие:01.07.1987
Область и условия применения:Настоящий стандарт устанавливает исполнительные размеры формообразующих деталей пакетов съемных многоместных пресс-форм по ГОСТ 26616-85, трехкассетных пресс-форм по ГОСТ 26617-85, двухкассетных пресс-форм по ГОСТ 26618-85 и одноместных пресс-форм по ГОСТ 26619-85 для изготовления уплотнительных манжет по ГОСТ 14896-84 из резины с линейной послевулканизационной усадкой от 0,8 до 3,2 %
c=&f2=3&f1=II001&l='>ОКС Общероссийский классификатор стандартов
  • c=&f2=3&f1=II001083&l='>83 РЕЗИНОВАЯ, РЕЗИНОТЕХНИЧЕСКАЯ, АСБЕСТО-ТЕХНИЧЕКАЯ И ПЛАСТМАССОВАЯ ПРОМЫШЛЕННОСТЬ
  • c=&f2=3&f1=II001083200&l='>83.200 Оборудование для производства резины и пластмасс
  • c=&f2=3&f1=II002&l='>КГС Классификатор государственных стандартов
  • c=&f2=3&f1=II002004&l='>Г Машины, оборудование и инструмент
  • c=&f2=3&f1=II002004002&l='>Г2 Инструмент промышленный и приспособления
  • c=&f2=3&f1=II002004002001&l='>Г21 Инструмент и приспособления для горячей обработки


  • ГОСТ 26620-85
    ГОСТ 26620-85
    ГОСТ 26620-85
    ГОСТ 26620-85
    ГОСТ 26620-85
    ГОСТ 26620-85
    ГОСТ 26620-85
    ГОСТ 26620-85
    ГОСТ 26620-85
    ГОСТ 26620-85
    ГОСТ 26620-85
    ГОСТ 26620-85
    ГОСТ 26620-85
    ГОСТ 26620-85
    ГОСТ 26620-85
    ГОСТ 26620-85
    ГОСТ 26620-85
    ГОСТ 26620-85
    ГОСТ 26620-85
    ГОСТ 26620-85
    ГОСТ 26620-85
    ГОСТ 26620-85
    ГОСТ 26620-85
    ГОСТ 26620-85
    ГОСТ 26620-85
    ГОСТ 26620-85
    ГОСТ 26620-85
    ГОСТ 26620-85
    ГОСТ 26620-85
    ГОСТ 26620-85
    ГОСТ 26620-85
    ГОСТ 26620-85
    ГОСТ 26620-85
    ГОСТ 26620-85
    ГОСТ 26620-85
    ГОСТ 26620-85
    ГОСТ 26620-85
    ГОСТ 26620-85
    ГОСТ 26620-85
    ГОСТ 26620-85
    ГОСТ 26620-85
    ГОСТ 26620-85
    ГОСТ 26620-85
    ГОСТ 26620-85
    ГОСТ 26620-85
    ГОСТ 26620-85
    ГОСТ 26620-85
    ГОСТ 26620-85
    ГОСТ 26620-85
    ГОСТ 26620-85
    ГОСТ 26620-85
    ГОСТ 26620-85
    ГОСТ 26620-85
    ГОСТ 26620-85
    ГОСТ 26620-85
    ГОСТ 26620-85
    ГОСТ 26620-85
    ГОСТ 26620-85
    ГОСТ 26620-85




    уроки по алготрейдингу на Python с нуля



    Яндекс цитирования

       Copyright © 2008-2026 ,  www.infosait.ru

    backtrader - уроки алготрейдинга на python