ИНФОСАЙТ.ру
Госты, стандарты, нормативы. В библиотеке 60000 документов. Регулярное обновление. Круглосуточный бесплатный доступ!
БИБЛИОТЕКА ГОСТОВ, СТАНДАРТОВ И НОРМАТИВОВ

:: АЛГОТРЕЙДИНГ ::


АЛГОТРЕЙДИНГ
шаг за шагом


БЕСПЛАТНЫЕ УРОКИ по созданию торговых роботов на PYTHON с нуля, шаг за шагом.


Минимальные знания на PYTHON.
Библиотеки BackTrader и Pandas, сигналы с Pine Script из TradingView.
Связка с брокерами, телеграм.
Создание простых интерфейсов.

 

Все документы, представленные в каталоге, не являются их официальным изданием и предназначены исключительно для ознакомительных целей. Электронные копии этих документов могут распространяться без всяких ограничений. Вы можете размещать информацию с этого сайта на любом другом сайте.


ГОСТ 22687.1-85

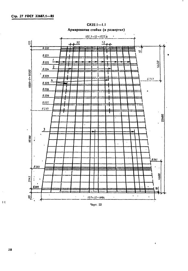
Стойки конические железобетонные центрифугированные для опор высоковольтных линий электропередачи. Конструкция и размеры

Обозначение стандарта:ГОСТ 22687.1-85
Статус стандарта:действующий
Название рус.:Стойки конические железобетонные центрифугированные для опор высоковольтных линий электропередачи. Конструкция и размеры
Название англ.:Centrifugal reinforced conic reinforced concrete posts for high-voltage transmission lines. Structure and dimensions
Дата введения в действие:01.01.1986
Область и условия применения:Настоящий стандарт распространяется на железобетонные предварительно напряженные конические стойки кольцевого сечения, изготовляемые методом центрифугирования из тяжелого бетона и предназначенные для опор линий электропередачи напряжением 35-750 кВ, и устанавливает конструкцию указанных стоек
c=&f2=3&f1=II001&l='>ОКС Общероссийский классификатор стандартов
  • c=&f2=3&f1=II001091&l='>91 СТРОИТЕЛЬНЫЕ МАТЕРИАЛЫ И СТРОИТЕЛЬСТВО
  • c=&f2=3&f1=II001091080&l='>91.080 Конструкции зданий *Включая проектирование, нагружение и расчет конструкций
  • c=&f2=3&f1=II001091080040&l='>91.080.40 Бетонные конструкции
  • c=&f2=3&f1=II002&l='>КГС Классификатор государственных стандартов
  • c=&f2=3&f1=II002007&l='>Ж Строительство и стройматериалы
  • c=&f2=3&f1=II002007003&l='>Ж3 Строительные конструкции и детали
  • c=&f2=3&f1=II002007003003&l='>Ж33 Каменные, кирпичные, бетонные и железобетонные конструкции и детали


  • ГОСТ 22687.1-85
    ГОСТ 22687.1-85
    ГОСТ 22687.1-85
    ГОСТ 22687.1-85
    ГОСТ 22687.1-85
    ГОСТ 22687.1-85
    ГОСТ 22687.1-85
    ГОСТ 22687.1-85
    ГОСТ 22687.1-85
    ГОСТ 22687.1-85
    ГОСТ 22687.1-85
    ГОСТ 22687.1-85
    ГОСТ 22687.1-85
    ГОСТ 22687.1-85
    ГОСТ 22687.1-85
    ГОСТ 22687.1-85
    ГОСТ 22687.1-85
    ГОСТ 22687.1-85
    ГОСТ 22687.1-85
    ГОСТ 22687.1-85
    ГОСТ 22687.1-85
    ГОСТ 22687.1-85
    ГОСТ 22687.1-85
    ГОСТ 22687.1-85
    ГОСТ 22687.1-85
    ГОСТ 22687.1-85
    ГОСТ 22687.1-85
    ГОСТ 22687.1-85
    ГОСТ 22687.1-85
    ГОСТ 22687.1-85
    ГОСТ 22687.1-85
    ГОСТ 22687.1-85
    ГОСТ 22687.1-85
    ГОСТ 22687.1-85
    ГОСТ 22687.1-85
    ГОСТ 22687.1-85
    ГОСТ 22687.1-85
    ГОСТ 22687.1-85
    ГОСТ 22687.1-85
    ГОСТ 22687.1-85
    ГОСТ 22687.1-85
    ГОСТ 22687.1-85
    ГОСТ 22687.1-85
    ГОСТ 22687.1-85
    ГОСТ 22687.1-85
    ГОСТ 22687.1-85
    ГОСТ 22687.1-85
    ГОСТ 22687.1-85
    ГОСТ 22687.1-85
    ГОСТ 22687.1-85
    ГОСТ 22687.1-85
    ГОСТ 22687.1-85
    ГОСТ 22687.1-85
    ГОСТ 22687.1-85
    ГОСТ 22687.1-85
    ГОСТ 22687.1-85
    ГОСТ 22687.1-85
    ГОСТ 22687.1-85
    ГОСТ 22687.1-85
    ГОСТ 22687.1-85
    ГОСТ 22687.1-85
    ГОСТ 22687.1-85
    ГОСТ 22687.1-85
    ГОСТ 22687.1-85
    ГОСТ 22687.1-85
    ГОСТ 22687.1-85
    ГОСТ 22687.1-85
    ГОСТ 22687.1-85
    ГОСТ 22687.1-85
    ГОСТ 22687.1-85
    ГОСТ 22687.1-85
    ГОСТ 22687.1-85
    ГОСТ 22687.1-85
    ГОСТ 22687.1-85




    уроки по алготрейдингу на Python с нуля



    Яндекс цитирования

       Copyright © 2008-2026 ,  www.infosait.ru

    backtrader - уроки алготрейдинга на python