ИНФОСАЙТ.ру
Госты, стандарты, нормативы. В библиотеке 60000 документов. Регулярное обновление. Круглосуточный бесплатный доступ!
БИБЛИОТЕКА ГОСТОВ, СТАНДАРТОВ И НОРМАТИВОВ

:: АЛГОТРЕЙДИНГ ::


АЛГОТРЕЙДИНГ
шаг за шагом


БЕСПЛАТНЫЕ УРОКИ по созданию торговых роботов на PYTHON с нуля, шаг за шагом.


Минимальные знания на PYTHON.
Библиотеки BackTrader и Pandas, сигналы с Pine Script из TradingView.
Связка с брокерами, телеграм.
Создание простых интерфейсов.

 

Все документы, представленные в каталоге, не являются их официальным изданием и предназначены исключительно для ознакомительных целей. Электронные копии этих документов могут распространяться без всяких ограничений. Вы можете размещать информацию с этого сайта на любом другом сайте.


ГОСТ 12815-80

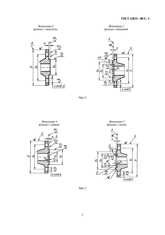
Фланцы арматуры, соединительных частей и трубопроводов на Ру от 0,1 до 20,0 МПа (от 1 до 200 кгс/см кв.). Типы. Присоединительные размеры и размеры уплотнительных поверхностей

Обозначение стандарта:ГОСТ 12815-80
Статус стандарта:действующий
Название рус.:Фланцы арматуры, соединительных частей и трубопроводов на Ру от 0,1 до 20,0 МПа (от 1 до 200 кгс/см кв.). Типы. Присоединительные размеры и размеры уплотнительных поверхностей
Название англ.:Flanges for valves, fittings and pipelines for Pnom from 0,1 to 20 MPa (from 1 to 200kgf/sq sm). Types. Connecting dimensions and dimensions of sealing surfaces
Дата введения в действие:01.01.1983
Область и условия применения:Настоящий стандарт распространяется на фланцы трубопроводов и соединительных частей, а также на присоединительные фланцы арматуры, машин, приборов, патрубков аппаратов и резервуаров на условное давление Py от 0,1 до 20,0 МПа (от 1 до 200 кгс/см кв.) и температуру среды от 20 до 873 К (от минус 253 до 600 град. С) и на фланцы с прокладками из фторопласта-4 на условное давление Py от 0,1 до 20,0 МПа (от 1 до 200 кгс/см кв.) и температуру среды от 73 до 473 К (от минус 200 до плюс 200 град. С) и может быть использован для их сертификации.
Стандарт не распространяется на фланцы трубопроводов транспортных машин, если эти фланцы не предназначены для присоединения арматуры или приборов общего назначения, а также фланцы, стандартизованные ГОСТ 1536-76 и ГОСТ 4433-76
Взамен:ГОСТ 1233-67
Список изменений:№0 от --2005-11-01 (рег. --2005-11-01) «Дата введения перенесена»
№1 от --1983-07-01 (рег. --1983-03-11) «Срок действия продлен»
№2 от --1984-07-01 (рег. --1983-12-15) «Срок действия продлен»
№3 от --1988-07-01 (рег. --1987-12-25) «Срок действия продлен»
№4 от --1990-04-01 (рег. --1989-09-08) «Срок действия продлен»
№5 от --1992-10-01 (рег. --1992-04-15) «Срок действия продлен»
Приложение №1:Поправка к ГОСТ 12815-80
c=&f2=3&f1=II001&l='>ОКС Общероссийский классификатор стандартов
  • c=&f2=3&f1=II001023&l='>23 ГИДРАВЛИЧЕСКИЕ И ПНЕВМАТИЧЕСКИЕ СИСТЕМЫ И КОМПОНЕНТЫ ОБЩЕГО НАЗНАЧЕНИЯ *Измерение потока жидкости см. 17.120
  • c=&f2=3&f1=II001023040&l='>23.040 Трубопроводы и их компоненты *Трубопроводы и их компоненты для нефтепродуктов и природного газа см. 75.200
  • c=&f2=3&f1=II001023040060&l='>23.040.60 Фланцы, муфты и соединения
  • c=&f2=3&f1=II002&l='>КГС Классификатор государственных стандартов
  • c=&f2=3&f1=II002004&l='>Г Машины, оборудование и инструмент
  • c=&f2=3&f1=II002004001&l='>Г1 Общие детали и узлы машин
  • c=&f2=3&f1=II002004001008&l='>Г18 Арматура и соединения трубопроводов


  • ГОСТ 12815-80
    ГОСТ 12815-80
    ГОСТ 12815-80
    ГОСТ 12815-80
    ГОСТ 12815-80
    ГОСТ 12815-80
    ГОСТ 12815-80
    ГОСТ 12815-80
    ГОСТ 12815-80
    ГОСТ 12815-80
    ГОСТ 12815-80
    ГОСТ 12815-80
    ГОСТ 12815-80
    ГОСТ 12815-80
    ГОСТ 12815-80
    ГОСТ 12815-80
    ГОСТ 12815-80
    ГОСТ 12815-80
    ГОСТ 12815-80


    Поправка к ГОСТ 12815-80

    Обозначение стандарта:Поправка к ГОСТ 12815-80
    Дата введения в действие:01.11.2005
    Дата актуализации:15.01.2008


    Поправка к ГОСТ 12815-80




    уроки по алготрейдингу на Python с нуля



    Яндекс цитирования

       Copyright © 2008-2026 ,  www.infosait.ru

    backtrader - уроки алготрейдинга на python