ИНФОСАЙТ.ру
Госты, стандарты, нормативы. В библиотеке 60000 документов. Регулярное обновление. Круглосуточный бесплатный доступ!
БИБЛИОТЕКА ГОСТОВ, СТАНДАРТОВ И НОРМАТИВОВ

:: АЛГОТРЕЙДИНГ ::


АЛГОТРЕЙДИНГ
шаг за шагом


БЕСПЛАТНЫЕ УРОКИ по созданию торговых роботов на PYTHON с нуля, шаг за шагом.


Минимальные знания на PYTHON.
Библиотеки BackTrader и Pandas, сигналы с Pine Script из TradingView.
Связка с брокерами, телеграм.
Создание простых интерфейсов.

 

Все документы, представленные в каталоге, не являются их официальным изданием и предназначены исключительно для ознакомительных целей. Электронные копии этих документов могут распространяться без всяких ограничений. Вы можете размещать информацию с этого сайта на любом другом сайте.


ГОСТ 270-75

Резина. Метод определения упругопрочностных свойств при растяжении

Обозначение стандарта:ГОСТ 270-75
Статус стандарта:действующий
Название рус.:Резина. Метод определения упругопрочностных свойств при растяжении
Название англ.:Rubber. Method of the determination elastic and tensile stress-strain properties
Дата введения в действие:01.01.1978
Область и условия применения:Настоящий стандарт распространяется на резину и устанавливает метод определения упругопрочностных свойств при растяжении по показателям: прочности при растяжении, относительному удлинению при разрыве, напряжению при заданном удлинении
Взамен:ГОСТ 270-64
Список изменений:№1 от --1983-01-01 (рег. --1982-02-03) «Срок действия продлен»
№2 от --1988-01-01 (рег. --1987-06-29) «Срок действия продлен»
№3 от --1993-04-01 (рег. --1992-10-15) «Срок действия продлен»
c=&f2=3&f1=II001&l='>ОКС Общероссийский классификатор стандартов
  • c=&f2=3&f1=II001083&l='>83 РЕЗИНОВАЯ, РЕЗИНОТЕХНИЧЕСКАЯ, АСБЕСТО-ТЕХНИЧЕКАЯ И ПЛАСТМАССОВАЯ ПРОМЫШЛЕННОСТЬ
  • c=&f2=3&f1=II001083060&l='>83.060 Резина
  • c=&f2=3&f1=II002&l='>КГС Классификатор государственных стандартов
  • c=&f2=3&f1=II002010&l='>Л Химические продукты и резиноасбестовые изделия
  • c=&f2=3&f1=II002010006&l='>Л6 Резиновые и асбестовые изделия
  • c=&f2=3&f1=II002010006009&l='>Л69 Методы испытаний. Упаковка. Маркировка


  • ГОСТ 270-75
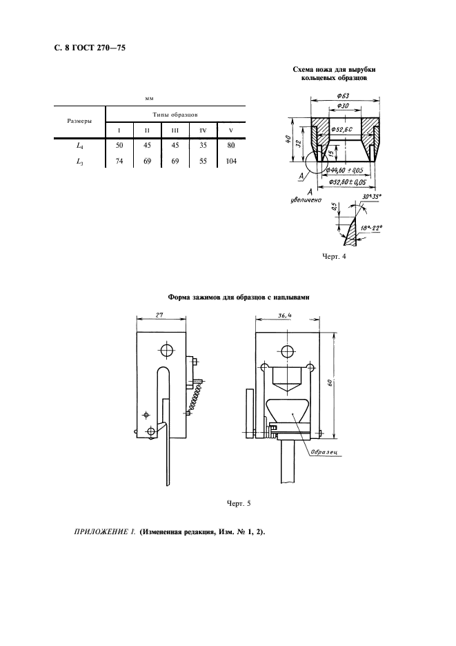
    ГОСТ 270-75
    ГОСТ 270-75
    ГОСТ 270-75
    ГОСТ 270-75
    ГОСТ 270-75
    ГОСТ 270-75
    ГОСТ 270-75
    ГОСТ 270-75
    ГОСТ 270-75
    ГОСТ 270-75




    уроки по алготрейдингу на Python с нуля



    Яндекс цитирования

       Copyright © 2008-2026 ,  www.infosait.ru

    backtrader - уроки алготрейдинга на python