ИНФОСАЙТ.ру
Госты, стандарты, нормативы. В библиотеке 60000 документов. Регулярное обновление. Круглосуточный бесплатный доступ!
БИБЛИОТЕКА ГОСТОВ, СТАНДАРТОВ И НОРМАТИВОВ

:: АЛГОТРЕЙДИНГ ::


АЛГОТРЕЙДИНГ
шаг за шагом


БЕСПЛАТНЫЕ УРОКИ по созданию торговых роботов на PYTHON с нуля, шаг за шагом.


Минимальные знания на PYTHON.
Библиотеки BackTrader и Pandas, сигналы с Pine Script из TradingView.
Связка с брокерами, телеграм.
Создание простых интерфейсов.

 

Все документы, представленные в каталоге, не являются их официальным изданием и предназначены исключительно для ознакомительных целей. Электронные копии этих документов могут распространяться без всяких ограничений. Вы можете размещать информацию с этого сайта на любом другом сайте.


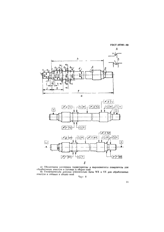
ГОСТ 22780-93

Оси для вагонов железных дорог колеи 1520 (1524) мм. Типы, параметры и размеры

Обозначение стандарта:ГОСТ 22780-93
Статус стандарта:действующий
Название рус.:Оси для вагонов железных дорог колеи 1520 (1524) мм. Типы, параметры и размеры
Название англ.:Car axles for 1520 (1524) mm gauge main-line railways. Types, parameters and dimensions
Дата введения в действие:01.01.1995
Область и условия применения:Настоящий стандарт распространяется на оси колесных пар груховых и пассажирских вагонов, вагонов электропоездов и немоторных вагонов дизель-поездов магистральных железных дорог колеи 1520 (1524) мм.
Стандарт не распространяется на оси, предназначенные для ремонта колесных пар
Взамен:ГОСТ 22780-77
c=&f2=3&f1=II001&l='>ОКС Общероссийский классификатор стандартов
  • c=&f2=3&f1=II001045&l='>45 ЖЕЛЕЗНОДОРОЖНАЯ ТЕХНИКА
  • c=&f2=3&f1=II001045060&l='>45.060 Подвижной состав железных дорог *Включая материалы, компоненты, электрическое и электронное оборудование для подвижного состава железных дорог
  • c=&f2=3&f1=II001045060020&l='>45.060.20 Прицепной состав * Включая вагоны-цистерны
  • c=&f2=3&f1=II002&l='>КГС Классификатор государственных стандартов
  • c=&f2=3&f1=II002005&l='>Д Транспортные средства и тара
  • c=&f2=3&f1=II002005005&l='>Д5 Железнодорожный транспорт
  • c=&f2=3&f1=II002005005005&l='>Д55 Арматура, узлы и детали подвижного состава железных дорог


  • ГОСТ 22780-93
    ГОСТ 22780-93
    ГОСТ 22780-93
    ГОСТ 22780-93
    ГОСТ 22780-93
    ГОСТ 22780-93
    ГОСТ 22780-93
    ГОСТ 22780-93
    ГОСТ 22780-93
    ГОСТ 22780-93
    ГОСТ 22780-93
    ГОСТ 22780-93
    ГОСТ 22780-93
    ГОСТ 22780-93
    ГОСТ 22780-93
    ГОСТ 22780-93
    ГОСТ 22780-93
    ГОСТ 22780-93
    ГОСТ 22780-93
    ГОСТ 22780-93




    уроки по алготрейдингу на Python с нуля



    Яндекс цитирования

       Copyright © 2008-2026 ,  www.infosait.ru

    backtrader - уроки алготрейдинга на python