ИНФОСАЙТ.ру
Госты, стандарты, нормативы. В библиотеке 60000 документов. Регулярное обновление. Круглосуточный бесплатный доступ!
БИБЛИОТЕКА ГОСТОВ, СТАНДАРТОВ И НОРМАТИВОВ

:: АЛГОТРЕЙДИНГ ::


АЛГОТРЕЙДИНГ
шаг за шагом


БЕСПЛАТНЫЕ УРОКИ по созданию торговых роботов на PYTHON с нуля, шаг за шагом.


Минимальные знания на PYTHON.
Библиотеки BackTrader и Pandas, сигналы с Pine Script из TradingView.
Связка с брокерами, телеграм.
Создание простых интерфейсов.

 

Все документы, представленные в каталоге, не являются их официальным изданием и предназначены исключительно для ознакомительных целей. Электронные копии этих документов могут распространяться без всяких ограничений. Вы можете размещать информацию с этого сайта на любом другом сайте.


ГОСТ 17026-71

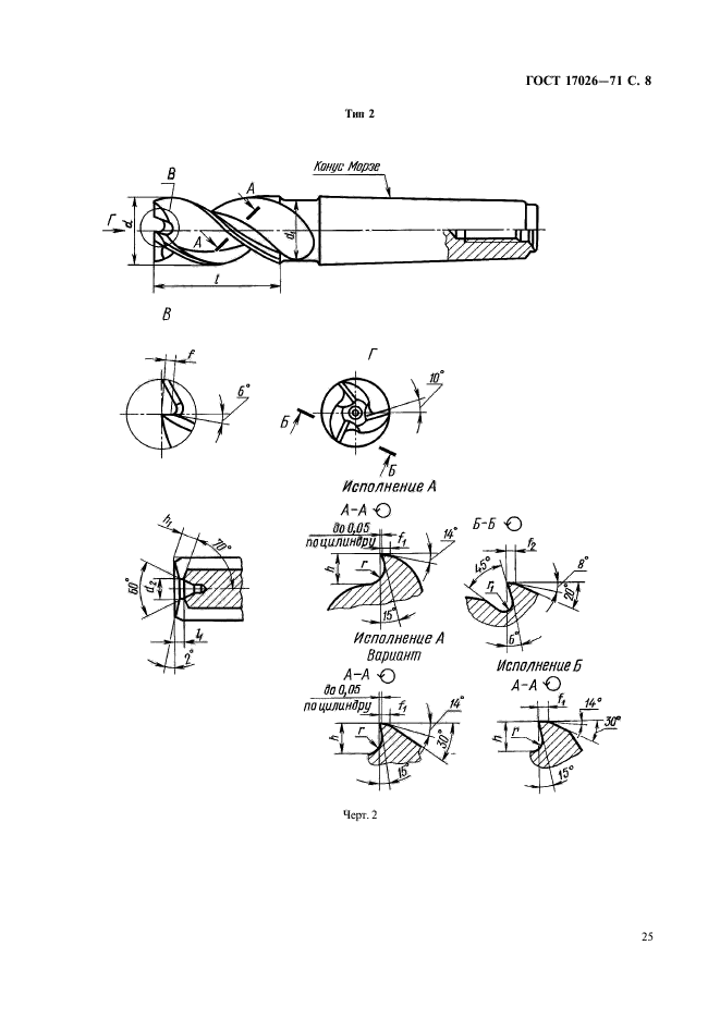
Фрезы концевые с коническим хвостовиком. Конструкция и размеры

Обозначение стандарта:ГОСТ 17026-71
Статус стандарта:действующий
Название рус.:Фрезы концевые с коническим хвостовиком. Конструкция и размеры
Название англ.:End mills with tapered shank. Design and dimensions
Дата введения в действие:01.01.1973
Область и условия применения:Настоящий стандарт распространяется на концевые фрезы с коническим хвостовиком, предназначенные для обработки поверхностей и уступов
Взамен:МН 411-65
Взамен в части:ГОСТ 8237-57 в части фрез с коническим хвостовиком
Список изменений:№0 от --2010-01-01 (рег. --2008-11-11) «Поправка к изменению»
№1 от --1973-02-01 (рег. --1973-01-09) «Срок действия продлен»
№2 от --1977-01-15 (рег. --1977-01-10) «Срок действия продлен»
№3 от --1983-01-01 (рег. --1982-03-24) «Срок действия продлен»
№4 от --1985-09-01 (рег. --1985-04-23) «Срок действия продлен»
№5 от --1996-01-01 (рег. --1995-09-13) «Срок действия продлен»
c=&f2=3&f1=II001&l='>ОКС Общероссийский классификатор стандартов
  • c=&f2=3&f1=II001025&l='>25 МАШИНОСТРОЕНИЕ *Эта область включает стандарты общего назначения
  • c=&f2=3&f1=II001025100&l='>25.100 Режущие инструменты *Включая природные и синтетические алмазы *Деревообрабатывающие инструменты см. 79.120.20
  • c=&f2=3&f1=II001025100020&l='>25.100.20 Фрезы
  • c=&f2=3&f1=II002&l='>КГС Классификатор государственных стандартов
  • c=&f2=3&f1=II002004&l='>Г Машины, оборудование и инструмент
  • c=&f2=3&f1=II002004002&l='>Г2 Инструмент промышленный и приспособления
  • c=&f2=3&f1=II002004002003&l='>Г23 Инструмент для обработки резанием


  • ГОСТ 17026-71
    ГОСТ 17026-71
    ГОСТ 17026-71
    ГОСТ 17026-71
    ГОСТ 17026-71
    ГОСТ 17026-71
    ГОСТ 17026-71
    ГОСТ 17026-71
    ГОСТ 17026-71
    ГОСТ 17026-71
    ГОСТ 17026-71
    ГОСТ 17026-71
    ГОСТ 17026-71




    уроки по алготрейдингу на Python с нуля



    Яндекс цитирования

       Copyright © 2008-2026 ,  www.infosait.ru

    backtrader - уроки алготрейдинга на python