ИНФОСАЙТ.ру
Госты, стандарты, нормативы. В библиотеке 60000 документов. Регулярное обновление. Круглосуточный бесплатный доступ!
БИБЛИОТЕКА ГОСТОВ, СТАНДАРТОВ И НОРМАТИВОВ

:: АЛГОТРЕЙДИНГ ::


АЛГОТРЕЙДИНГ
шаг за шагом


БЕСПЛАТНЫЕ УРОКИ по созданию торговых роботов на PYTHON с нуля, шаг за шагом.


Минимальные знания на PYTHON.
Библиотеки BackTrader и Pandas, сигналы с Pine Script из TradingView.
Связка с брокерами, телеграм.
Создание простых интерфейсов.

 

Все документы, представленные в каталоге, не являются их официальным изданием и предназначены исключительно для ознакомительных целей. Электронные копии этих документов могут распространяться без всяких ограничений. Вы можете размещать информацию с этого сайта на любом другом сайте.


ГОСТ 633-80

Трубы насосно-компрессорные и муфты к ним. Технические условия

Обозначение стандарта:ГОСТ 633-80
Статус стандарта:действующий
Название рус.:Трубы насосно-компрессорные и муфты к ним. Технические условия
Название англ.:Tubing pipes and couplings for them. Specifications
Дата введения в действие:01.01.1983
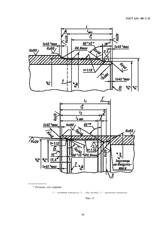
Область и условия применения:Настоящий стандарт распространяется на стальные бесшовные насосно-компрессорные трубы гладкие и муфты к ним, с высаженными наружу концами и муфты к ним, гладкие высокогерметичные и муфты к ним, а также безмуфтовые трубы с высаженными наружу концами, применяемые для эксплуатации нефтяных и газовых скважин
Взамен:ГОСТ 633-63
Список изменений:№1 от --1984-01-01 (рег. --1983-08-02) «Срок действия продлен»
№2 от --1986-08-01 (рег. --1986-01-24) «Срок действия продлен»
№3 от --1988-06-01 (рег. --1987-12-22) «Срок действия продлен»
c=&f2=3&f1=II001&l='>ОКС Общероссийский классификатор стандартов
  • c=&f2=3&f1=II001023&l='>23 ГИДРАВЛИЧЕСКИЕ И ПНЕВМАТИЧЕСКИЕ СИСТЕМЫ И КОМПОНЕНТЫ ОБЩЕГО НАЗНАЧЕНИЯ *Измерение потока жидкости см. 17.120
  • c=&f2=3&f1=II001023040&l='>23.040 Трубопроводы и их компоненты *Трубопроводы и их компоненты для нефтепродуктов и природного газа см. 75.200
  • c=&f2=3&f1=II001023040010&l='>23.040.10 Чугунные и стальные трубы *Стальные трубы и трубки специального назначения см. 77.140.75
  • c=&f2=3&f1=II002&l='>КГС Классификатор государственных стандартов
  • c=&f2=3&f1=II002003&l='>В Металлы и металлические изделия
  • c=&f2=3&f1=II002003006&l='>В6 Трубы металлические и трубные изделия
  • c=&f2=3&f1=II002003006002&l='>В62 Трубы стальные и соединительные части к ним


  • ГОСТ 633-80
    ГОСТ 633-80
    ГОСТ 633-80
    ГОСТ 633-80
    ГОСТ 633-80
    ГОСТ 633-80
    ГОСТ 633-80
    ГОСТ 633-80
    ГОСТ 633-80
    ГОСТ 633-80
    ГОСТ 633-80
    ГОСТ 633-80
    ГОСТ 633-80
    ГОСТ 633-80
    ГОСТ 633-80
    ГОСТ 633-80
    ГОСТ 633-80
    ГОСТ 633-80
    ГОСТ 633-80
    ГОСТ 633-80
    ГОСТ 633-80
    ГОСТ 633-80
    ГОСТ 633-80
    ГОСТ 633-80
    ГОСТ 633-80
    ГОСТ 633-80
    ГОСТ 633-80
    ГОСТ 633-80
    ГОСТ 633-80
    ГОСТ 633-80




    уроки по алготрейдингу на Python с нуля



    Яндекс цитирования

       Copyright © 2008-2026 ,  www.infosait.ru

    backtrader - уроки алготрейдинга на python