ИНФОСАЙТ.ру
Госты, стандарты, нормативы. В библиотеке 60000 документов. Регулярное обновление. Круглосуточный бесплатный доступ!
БИБЛИОТЕКА ГОСТОВ, СТАНДАРТОВ И НОРМАТИВОВ

:: АЛГОТРЕЙДИНГ ::


АЛГОТРЕЙДИНГ
шаг за шагом


БЕСПЛАТНЫЕ УРОКИ по созданию торговых роботов на PYTHON с нуля, шаг за шагом.


Минимальные знания на PYTHON.
Библиотеки BackTrader и Pandas, сигналы с Pine Script из TradingView.
Связка с брокерами, телеграм.
Создание простых интерфейсов.

 

Все документы, представленные в каталоге, не являются их официальным изданием и предназначены исключительно для ознакомительных целей. Электронные копии этих документов могут распространяться без всяких ограничений. Вы можете размещать информацию с этого сайта на любом другом сайте.


ГОСТ 17752-81

Гидропривод объемный и пневмопривод. Термины и определения

Обозначение стандарта:ГОСТ 17752-81
Статус стандарта:действующий
Название рус.:Гидропривод объемный и пневмопривод. Термины и определения
Название англ.:Hydraulic and pneumatic drive. Terms and definitions
Дата введения в действие:01.01.1982
Область и условия применения:Настоящий стандарт устанавливает основные термины и определения в области объемных гидроприводов и пневмоприводов.
Установленные настоящим стандартом термины обязательны для применения в документации всех видов, научно-технической, учебной и справочной литературе
Взамен:ГОСТ 17752-72
Список изменений:№1 от --1985-01-01 (рег. --1984-03-05) «Срок действия продлен»
№2 от --1987-01-01 (рег. --1986-07-09) «Срок действия продлен»
c=&f2=3&f1=II001&l='>ОКС Общероссийский классификатор стандартов
  • c=&f2=3&f1=II001001&l='>01 ОБЩИЕ ПОЛОЖЕНИЯ. ТЕРМИНОЛОГИЯ. СТАНДАРТИЗАЦИЯ. ДОКУМЕНТАЦИЯ
  • c=&f2=3&f1=II001001040&l='>01.040 Словари *Стандарты,включенные в эту группу, следует также включать в другие группы и/или подгруппы в соответствии с их объектами
  • c=&f2=3&f1=II001001040023&l='>01.040.23 Гидравлические и пневматические системы и компоненты общего назначения (Словари)
  • c=&f2=3&f1=II001023&l='>23 ГИДРАВЛИЧЕСКИЕ И ПНЕВМАТИЧЕСКИЕ СИСТЕМЫ И КОМПОНЕНТЫ ОБЩЕГО НАЗНАЧЕНИЯ *Измерение потока жидкости см. 17.120
  • c=&f2=3&f1=II001023100&l='>23.100 Объемные гидроприводы и пневмоприводы
  • c=&f2=3&f1=II002&l='>КГС Классификатор государственных стандартов
  • c=&f2=3&f1=II002004&l='>Г Машины, оборудование и инструмент
  • c=&f2=3&f1=II002004000&l='>Г0 Общие правила и нормы по машиностроению
  • c=&f2=3&f1=II002004000000&l='>Г00 Термины и обозначения


  • ГОСТ 17752-81
    ГОСТ 17752-81
    ГОСТ 17752-81
    ГОСТ 17752-81
    ГОСТ 17752-81
    ГОСТ 17752-81
    ГОСТ 17752-81
    ГОСТ 17752-81
    ГОСТ 17752-81
    ГОСТ 17752-81
    ГОСТ 17752-81
    ГОСТ 17752-81
    ГОСТ 17752-81
    ГОСТ 17752-81
    ГОСТ 17752-81
    ГОСТ 17752-81
    ГОСТ 17752-81
    ГОСТ 17752-81
    ГОСТ 17752-81
    ГОСТ 17752-81
    ГОСТ 17752-81
    ГОСТ 17752-81
    ГОСТ 17752-81
    ГОСТ 17752-81
    ГОСТ 17752-81
    ГОСТ 17752-81
    ГОСТ 17752-81
    ГОСТ 17752-81
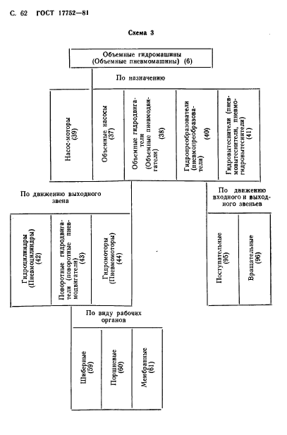
    ГОСТ 17752-81
    ГОСТ 17752-81
    ГОСТ 17752-81
    ГОСТ 17752-81
    ГОСТ 17752-81
    ГОСТ 17752-81
    ГОСТ 17752-81
    ГОСТ 17752-81
    ГОСТ 17752-81
    ГОСТ 17752-81
    ГОСТ 17752-81
    ГОСТ 17752-81
    ГОСТ 17752-81
    ГОСТ 17752-81
    ГОСТ 17752-81
    ГОСТ 17752-81
    ГОСТ 17752-81
    ГОСТ 17752-81
    ГОСТ 17752-81
    ГОСТ 17752-81
    ГОСТ 17752-81
    ГОСТ 17752-81
    ГОСТ 17752-81
    ГОСТ 17752-81
    ГОСТ 17752-81
    ГОСТ 17752-81
    ГОСТ 17752-81
    ГОСТ 17752-81
    ГОСТ 17752-81
    ГОСТ 17752-81
    ГОСТ 17752-81
    ГОСТ 17752-81
    ГОСТ 17752-81
    ГОСТ 17752-81
    ГОСТ 17752-81
    ГОСТ 17752-81
    ГОСТ 17752-81
    ГОСТ 17752-81
    ГОСТ 17752-81
    ГОСТ 17752-81
    ГОСТ 17752-81
    ГОСТ 17752-81
    ГОСТ 17752-81
    ГОСТ 17752-81
    ГОСТ 17752-81




    уроки по алготрейдингу на Python с нуля



    Яндекс цитирования

       Copyright © 2008-2026 ,  www.infosait.ru

    backtrader - уроки алготрейдинга на python