ИНФОСАЙТ.ру
Госты, стандарты, нормативы. В библиотеке 60000 документов. Регулярное обновление. Круглосуточный бесплатный доступ!
БИБЛИОТЕКА ГОСТОВ, СТАНДАРТОВ И НОРМАТИВОВ

:: АЛГОТРЕЙДИНГ ::


АЛГОТРЕЙДИНГ
шаг за шагом


БЕСПЛАТНЫЕ УРОКИ по созданию торговых роботов на PYTHON с нуля, шаг за шагом.


Минимальные знания на PYTHON.
Библиотеки BackTrader и Pandas, сигналы с Pine Script из TradingView.
Связка с брокерами, телеграм.
Создание простых интерфейсов.

 

Все документы, представленные в каталоге, не являются их официальным изданием и предназначены исключительно для ознакомительных целей. Электронные копии этих документов могут распространяться без всяких ограничений. Вы можете размещать информацию с этого сайта на любом другом сайте.


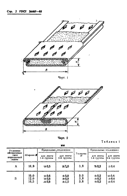
ГОСТ 26467-85

Лента порошковая наплавочная. Общие технические условия

Обозначение стандарта:ГОСТ 26467-85
Статус стандарта:действующий
Название рус.:Лента порошковая наплавочная. Общие технические условия
Название англ.:Hard-surfacing flux-cored strip. General specifications
Дата введения в действие:01.07.1986
c=&f2=3&f1=II001&l='>ОКС Общероссийский классификатор стандартов
  • c=&f2=3&f1=II001025&l='>25 МАШИНОСТРОЕНИЕ *Эта область включает стандарты общего назначения
  • c=&f2=3&f1=II001025160&l='>25.160 Сварка, пайка твердым и мягким припоем *Включая газовую сварку, электрическую сварку, плазменную сварку, электронно-лучевую сварку, плазменную резку и т. д.
  • c=&f2=3&f1=II001025160020&l='>25.160.20 Сварочные расходуемые материалы *Включая электроды, присадочные материалы, газы и т. д.
  • c=&f2=3&f1=II002&l='>КГС Классификатор государственных стандартов
  • c=&f2=3&f1=II002003&l='>В Металлы и металлические изделия
  • c=&f2=3&f1=II002003000&l='>В0 Общие правила и нормы по металлургии
  • c=&f2=3&f1=II002003000005&l='>В05 Сварка и резка металлов. Пайка, клепка


  • ГОСТ 26467-85
    ГОСТ 26467-85
    ГОСТ 26467-85
    ГОСТ 26467-85
    ГОСТ 26467-85
    ГОСТ 26467-85
    ГОСТ 26467-85
    ГОСТ 26467-85
    ГОСТ 26467-85
    ГОСТ 26467-85
    ГОСТ 26467-85
    ГОСТ 26467-85
    ГОСТ 26467-85
    ГОСТ 26467-85




    уроки по алготрейдингу на Python с нуля



    Яндекс цитирования

       Copyright © 2008-2026 ,  www.infosait.ru

    backtrader - уроки алготрейдинга на python