ИНФОСАЙТ.ру
Госты, стандарты, нормативы. В библиотеке 60000 документов. Регулярное обновление. Круглосуточный бесплатный доступ!
БИБЛИОТЕКА ГОСТОВ, СТАНДАРТОВ И НОРМАТИВОВ

:: АЛГОТРЕЙДИНГ ::


АЛГОТРЕЙДИНГ
шаг за шагом


БЕСПЛАТНЫЕ УРОКИ по созданию торговых роботов на PYTHON с нуля, шаг за шагом.


Минимальные знания на PYTHON.
Библиотеки BackTrader и Pandas, сигналы с Pine Script из TradingView.
Связка с брокерами, телеграм.
Создание простых интерфейсов.

 

Все документы, представленные в каталоге, не являются их официальным изданием и предназначены исключительно для ознакомительных целей. Электронные копии этих документов могут распространяться без всяких ограничений. Вы можете размещать информацию с этого сайта на любом другом сайте.


ГОСТ 27214-87

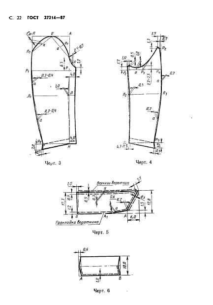
Пальто мужское госпитальное. Технические условия

Обозначение стандарта:ГОСТ 27214-87
Статус стандарта:действующий
Название рус.:Пальто мужское госпитальное. Технические условия
Название англ.:Hospital coats for men. Specifications
Дата введения в действие:01.07.1988
c=&f2=3&f1=II001&l='>ОКС Общероссийский классификатор стандартов
  • c=&f2=3&f1=II001061&l='>61 ШВЕЙНАЯ ПРОМЫШЛЕННОСТЬ
  • c=&f2=3&f1=II001061020&l='>61.020 Одежда *Включая нижнее, ночное, трикотажное белье, военную одежду, чулки и т.д. и их маркировку и таблицы кодов размеров *Защитная одежда см. 13.340.10 *Медицинская одежда см. 11.140
  • c=&f2=3&f1=II002&l='>КГС Классификатор государственных стандартов
  • c=&f2=3&f1=II002011&l='>М Текстильные и кожевенные материалы и изделия
  • c=&f2=3&f1=II002011003&l='>М3 Швейные изделия
  • c=&f2=3&f1=II002011003008&l='>М38 Прозодежда, спецодежда и форменная одежда из тканей


  • ГОСТ 27214-87
    ГОСТ 27214-87
    ГОСТ 27214-87
    ГОСТ 27214-87
    ГОСТ 27214-87
    ГОСТ 27214-87
    ГОСТ 27214-87
    ГОСТ 27214-87
    ГОСТ 27214-87
    ГОСТ 27214-87
    ГОСТ 27214-87
    ГОСТ 27214-87
    ГОСТ 27214-87
    ГОСТ 27214-87
    ГОСТ 27214-87
    ГОСТ 27214-87
    ГОСТ 27214-87
    ГОСТ 27214-87
    ГОСТ 27214-87
    ГОСТ 27214-87
    ГОСТ 27214-87
    ГОСТ 27214-87
    ГОСТ 27214-87
    ГОСТ 27214-87
    ГОСТ 27214-87
    ГОСТ 27214-87
    ГОСТ 27214-87
    ГОСТ 27214-87
    ГОСТ 27214-87
    ГОСТ 27214-87
    ГОСТ 27214-87
    ГОСТ 27214-87
    ГОСТ 27214-87
    ГОСТ 27214-87
    ГОСТ 27214-87
    ГОСТ 27214-87
    ГОСТ 27214-87




    уроки по алготрейдингу на Python с нуля



    Яндекс цитирования

       Copyright © 2008-2026 ,  www.infosait.ru

    backtrader - уроки алготрейдинга на python