ИНФОСАЙТ.ру
Госты, стандарты, нормативы. В библиотеке 60000 документов. Регулярное обновление. Круглосуточный бесплатный доступ!
БИБЛИОТЕКА ГОСТОВ, СТАНДАРТОВ И НОРМАТИВОВ

:: АЛГОТРЕЙДИНГ ::


АЛГОТРЕЙДИНГ
шаг за шагом


БЕСПЛАТНЫЕ УРОКИ по созданию торговых роботов на PYTHON с нуля, шаг за шагом.


Минимальные знания на PYTHON.
Библиотеки BackTrader и Pandas, сигналы с Pine Script из TradingView.
Связка с брокерами, телеграм.
Создание простых интерфейсов.

 

Все документы, представленные в каталоге, не являются их официальным изданием и предназначены исключительно для ознакомительных целей. Электронные копии этих документов могут распространяться без всяких ограничений. Вы можете размещать информацию с этого сайта на любом другом сайте.


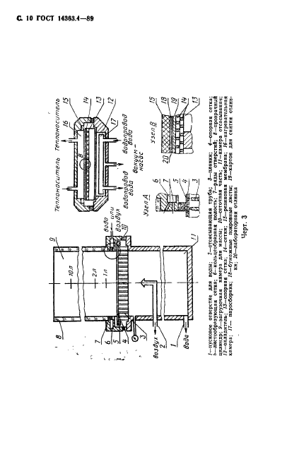
ГОСТ 14363.4-89

Целлюлоза. Метод подготовки проб к физико-механическим испытаниям

Обозначение стандарта:ГОСТ 14363.4-89
Статус стандарта:действующий
Название рус.:Целлюлоза. Метод подготовки проб к физико-механическим испытаниям
Название англ.:Pulp. Preparation of samples for physical and mechanical tests
Дата введения в действие:01.01.1993
Область и условия применения:Настоящий стандарт распространяется на целлюлозу и устанавливает метод подготовки проб к физико-механическим испытаниям
Взамен:ГОСТ 14363.4-79
c=&f2=3&f1=II001&l='>ОКС Общероссийский классификатор стандартов
  • c=&f2=3&f1=II001085&l='>85 ЦЕЛЛЮЛОЗНО-БУМАЖНАЯ ПРОМЫШЛЕННОСТЬ
  • c=&f2=3&f1=II001085040&l='>85.040 Целлюлоза
  • c=&f2=3&f1=II002&l='>КГС Классификатор государственных стандартов
  • c=&f2=3&f1=II002009&l='>К Лесоматериалы. Изделия из древесины. Целлюлоза. Бумага, картон
  • c=&f2=3&f1=II002009005&l='>К5 Целлюлоза и полуфабрикаты для бумажной промышленности
  • c=&f2=3&f1=II002009005009&l='>К59 Методы испытаний. Упаковка. Маркировка


  • ГОСТ 14363.4-89
    ГОСТ 14363.4-89
    ГОСТ 14363.4-89
    ГОСТ 14363.4-89
    ГОСТ 14363.4-89
    ГОСТ 14363.4-89
    ГОСТ 14363.4-89
    ГОСТ 14363.4-89
    ГОСТ 14363.4-89
    ГОСТ 14363.4-89
    ГОСТ 14363.4-89
    ГОСТ 14363.4-89
    ГОСТ 14363.4-89
    ГОСТ 14363.4-89




    уроки по алготрейдингу на Python с нуля



    Яндекс цитирования

       Copyright © 2008-2026 ,  www.infosait.ru

    backtrader - уроки алготрейдинга на python