ИНФОСАЙТ.ру
Госты, стандарты, нормативы. В библиотеке 60000 документов. Регулярное обновление. Круглосуточный бесплатный доступ!
БИБЛИОТЕКА ГОСТОВ, СТАНДАРТОВ И НОРМАТИВОВ

:: АЛГОТРЕЙДИНГ ::


АЛГОТРЕЙДИНГ
шаг за шагом


БЕСПЛАТНЫЕ УРОКИ по созданию торговых роботов на PYTHON с нуля, шаг за шагом.


Минимальные знания на PYTHON.
Библиотеки BackTrader и Pandas, сигналы с Pine Script из TradingView.
Связка с брокерами, телеграм.
Создание простых интерфейсов.

 

Все документы, представленные в каталоге, не являются их официальным изданием и предназначены исключительно для ознакомительных целей. Электронные копии этих документов могут распространяться без всяких ограничений. Вы можете размещать информацию с этого сайта на любом другом сайте.


ГОСТ 19811-90

Краны консольные электрические стационарные. Типы

Обозначение стандарта:ГОСТ 19811-90
Статус стандарта:действующий
Название рус.:Краны консольные электрические стационарные. Типы
Название англ.:Stationary electric cantilever cranes. Types
Дата введения в действие:01.01.1991
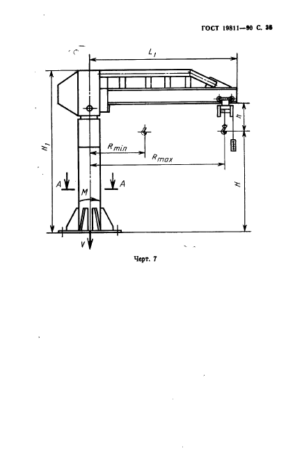
Область и условия применения:Настоящий стандарт распространяется на консольные электрические стационарные поворотные краны общего назначения.
Стандарт не распространяется на краны, предназначенные для работы во взрывоопасной и пожароопасной средах, в помещениях с парами кислот и щелочей.
Стандарт устанавливает типы, основные параметры и размеры кранов и присоединительные размеры их опорных частей
Взамен:ГОСТ 19811-82
c=&f2=3&f1=II001&l='>ОКС Общероссийский классификатор стандартов
  • c=&f2=3&f1=II001053&l='>53 ПОДЪЕМНО-ТРАНСПОРТНОЕ ОБОРУДОВАНИЕ
  • c=&f2=3&f1=II001053020&l='>53.020 Подъемное оборудование *Лифты и эскалаторы см. 91.140.90 *Подъемное оборудование, используемое в судостроении см. 47.020.40
  • c=&f2=3&f1=II001053020020&l='>53.020.20 Краны *Включая самоходные краны, башенные краны, консольные краны, мостовые краны и т.д.
  • c=&f2=3&f1=II002&l='>КГС Классификатор государственных стандартов
  • c=&f2=3&f1=II002004&l='>Г Машины, оборудование и инструмент
  • c=&f2=3&f1=II002004008&l='>Г8 Машины и оборудование универсального применения
  • c=&f2=3&f1=II002004008006&l='>Г86 Подъемно-транспортное оборудование


  • ГОСТ 19811-90
    ГОСТ 19811-90
    ГОСТ 19811-90
    ГОСТ 19811-90
    ГОСТ 19811-90
    ГОСТ 19811-90
    ГОСТ 19811-90
    ГОСТ 19811-90
    ГОСТ 19811-90
    ГОСТ 19811-90
    ГОСТ 19811-90
    ГОСТ 19811-90
    ГОСТ 19811-90
    ГОСТ 19811-90
    ГОСТ 19811-90
    ГОСТ 19811-90
    ГОСТ 19811-90
    ГОСТ 19811-90
    ГОСТ 19811-90
    ГОСТ 19811-90
    ГОСТ 19811-90
    ГОСТ 19811-90
    ГОСТ 19811-90
    ГОСТ 19811-90
    ГОСТ 19811-90
    ГОСТ 19811-90
    ГОСТ 19811-90
    ГОСТ 19811-90
    ГОСТ 19811-90
    ГОСТ 19811-90
    ГОСТ 19811-90
    ГОСТ 19811-90
    ГОСТ 19811-90
    ГОСТ 19811-90
    ГОСТ 19811-90
    ГОСТ 19811-90
    ГОСТ 19811-90
    ГОСТ 19811-90
    ГОСТ 19811-90
    ГОСТ 19811-90
    ГОСТ 19811-90
    ГОСТ 19811-90
    ГОСТ 19811-90
    ГОСТ 19811-90
    ГОСТ 19811-90
    ГОСТ 19811-90
    ГОСТ 19811-90
    ГОСТ 19811-90
    ГОСТ 19811-90
    ГОСТ 19811-90
    ГОСТ 19811-90
    ГОСТ 19811-90




    уроки по алготрейдингу на Python с нуля



    Яндекс цитирования

       Copyright © 2008-2026 ,  www.infosait.ru

    backtrader - уроки алготрейдинга на python