ИНФОСАЙТ.ру
Госты, стандарты, нормативы. В библиотеке 60000 документов. Регулярное обновление. Круглосуточный бесплатный доступ!
БИБЛИОТЕКА ГОСТОВ, СТАНДАРТОВ И НОРМАТИВОВ

:: АЛГОТРЕЙДИНГ ::


АЛГОТРЕЙДИНГ
шаг за шагом


БЕСПЛАТНЫЕ УРОКИ по созданию торговых роботов на PYTHON с нуля, шаг за шагом.


Минимальные знания на PYTHON.
Библиотеки BackTrader и Pandas, сигналы с Pine Script из TradingView.
Связка с брокерами, телеграм.
Создание простых интерфейсов.

 

Все документы, представленные в каталоге, не являются их официальным изданием и предназначены исключительно для ознакомительных целей. Электронные копии этих документов могут распространяться без всяких ограничений. Вы можете размещать информацию с этого сайта на любом другом сайте.


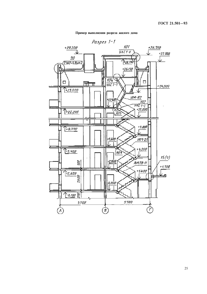
ГОСТ 21.501-93

Система проектной документации для строительства. Правила выполнения архитектурно-строительных рабочих чертежей

Обозначение стандарта:ГОСТ 21.501-93
Статус стандарта:действующий
Название рус.:Система проектной документации для строительства. Правила выполнения архитектурно-строительных рабочих чертежей
Название англ.:System of design documents for construction. Rules for execution of architectural and construction working drawings
Дата введения в действие:01.09.1994
Область и условия применения:Настоящий стандарт устанавливает состав и правила оформления архитектурно-строительных рабочих чертежей, зданий и сооружений различного назначения
Взамен:ГОСТ 21.107-78
c=&f2=3&f1=II001&l='>ОКС Общероссийский классификатор стандартов
  • c=&f2=3&f1=II001001&l='>01 ОБЩИЕ ПОЛОЖЕНИЯ. ТЕРМИНОЛОГИЯ. СТАНДАРТИЗАЦИЯ. ДОКУМЕНТАЦИЯ
  • c=&f2=3&f1=II001001080&l='>01.080 Графические обозначения
  • c=&f2=3&f1=II001001080030&l='>01.080.30 Графические обозначения для машиностроительных и строительных чертежей, диаграмм, планов, карт и соответствующей технической документации на продукцию *Стандарты, включенные в эту подгруппу, следует также включать в другие группы и/или подгруппы в соответствии с их объектами
  • c=&f2=3&f1=II001001100&l='>01.100 Технические чертежи *Графические обозначения для технических чертежей см. 01.080.30 *Автоматизированное проектирование см. 35.240.10
  • c=&f2=3&f1=II001001100030&l='>01.100.30 Строительные чертежи *Включая чертежи для гражданского строительства
  • c=&f2=3&f1=II002&l='>КГС Классификатор государственных стандартов
  • c=&f2=3&f1=II002007&l='>Ж Строительство и стройматериалы
  • c=&f2=3&f1=II002007000&l='>Ж0 Общие правила и нормы по строительству и стройматериалам
  • c=&f2=3&f1=II002007000001&l='>Ж01 Техническая документация. Строительные чертежи


  • ГОСТ 21.501-93
    ГОСТ 21.501-93
    ГОСТ 21.501-93
    ГОСТ 21.501-93
    ГОСТ 21.501-93
    ГОСТ 21.501-93
    ГОСТ 21.501-93
    ГОСТ 21.501-93
    ГОСТ 21.501-93
    ГОСТ 21.501-93
    ГОСТ 21.501-93
    ГОСТ 21.501-93
    ГОСТ 21.501-93
    ГОСТ 21.501-93
    ГОСТ 21.501-93
    ГОСТ 21.501-93
    ГОСТ 21.501-93
    ГОСТ 21.501-93
    ГОСТ 21.501-93
    ГОСТ 21.501-93
    ГОСТ 21.501-93
    ГОСТ 21.501-93
    ГОСТ 21.501-93
    ГОСТ 21.501-93
    ГОСТ 21.501-93
    ГОСТ 21.501-93
    ГОСТ 21.501-93
    ГОСТ 21.501-93
    ГОСТ 21.501-93
    ГОСТ 21.501-93
    ГОСТ 21.501-93
    ГОСТ 21.501-93
    ГОСТ 21.501-93
    ГОСТ 21.501-93
    ГОСТ 21.501-93
    ГОСТ 21.501-93
    ГОСТ 21.501-93
    ГОСТ 21.501-93
    ГОСТ 21.501-93
    ГОСТ 21.501-93




    уроки по алготрейдингу на Python с нуля



    Яндекс цитирования

       Copyright © 2008-2026 ,  www.infosait.ru

    backtrader - уроки алготрейдинга на python